Movatterモバイル変換


[0]ホーム

URL:


CN102681448A - Electronic device - Google Patents

Electronic device
Download PDF

Info

Publication number
CN102681448A
CN102681448ACN2011100725089ACN201110072508ACN102681448ACN 102681448 ACN102681448 ACN 102681448ACN 2011100725089 ACN2011100725089 ACN 2011100725089ACN 201110072508 ACN201110072508 ACN 201110072508ACN 102681448 ACN102681448 ACN 102681448A
Authority
CN
China
Prior art keywords
mentioned
power
link
electronic installation
switch
Prior art date
Legal status (The legal status is an assumption and is not a legal conclusion. Google has not performed a legal analysis and makes no representation as to the accuracy of the status listed.)
Granted
Application number
CN2011100725089A
Other languages
Chinese (zh)
Other versions
CN102681448B (en
Inventor
陈彦名
王维鲁
Current Assignee (The listed assignees may be inaccurate. Google has not performed a legal analysis and makes no representation or warranty as to the accuracy of the list.)
Pegatron Corp
Original Assignee
Pegatron Corp
Priority date (The priority date is an assumption and is not a legal conclusion. Google has not performed a legal analysis and makes no representation as to the accuracy of the date listed.)
Filing date
Publication date
Application filed by Pegatron CorpfiledCriticalPegatron Corp
Priority to CN201110072508.9ApriorityCriticalpatent/CN102681448B/en
Publication of CN102681448ApublicationCriticalpatent/CN102681448A/en
Application grantedgrantedCritical
Publication of CN102681448BpublicationCriticalpatent/CN102681448B/en
Activelegal-statusCriticalCurrent
Anticipated expirationlegal-statusCritical

Links

Images

Landscapes

Abstract

An electronic device comprises a power switch, a switch unit, a power supply unit and a control unit. Two power ends of the power switch are connected with two connecting ends of the switch unit in parallel. The power supply unit generates a system voltage by using power from the power switch or the switching unit. When the two power terminals of the power switch are conducted for a preset time, the power is provided to the power supply unit and the electronic device is turned on. In addition, the control unit controls the switch unit to conduct the two connection ends, so that after the two power supply ends are disconnected, the power is still provided to the power supply unit through the switch unit. When the electronic device is shut down, the control unit controls the switch unit to open and close the two connecting ends. The electronic device of the invention can achieve the effect of zero power consumption in the shutdown state, thereby improving the power saving efficiency of the system.

Description

Electronic installation
Technical field
The present invention relates to a kind of electronic installation, and be particularly related to a kind of electronic installation with complete electricity-saving mechanism.
Background technology
Electronic installation is provided with corresponding supply unit mostly, to provide system required power supply, for example: the power supply unit (power supplier) that power adapter that mobile phone and notebook computer are used (power adapter) and computer are used.Generally speaking, supply unit needs to change direct current transducer (AC/DC converter) or DC-DC converter (DC/DC converter) through exchanging mostly, comes the required voltage of generation system.Exchanging the commentaries on classics direct current transducer is through voltage device and regulator rectifier circuit, converts alternating voltage to system required DC voltage, therefore has the bigger loss of power.
For effective use of energy sources, existing supply unit can provide two kinds of power supply-primary powers (main power) and standby power (standby power) mostly.When electronic installation shut down, supply unit also can provide standby power constantly, and the state so that the internal control unit that causes electronic installation detection power switch capable of using is pressed determines whether carrying out boot program.That is to say, when electronic installation in shutdown or when waiting for start, supply unit itself still has certain power consumption.For example: under the state of notebook computer shutdown and battery full charging, power adapter still has the power consumption of 100~300 milliwatts; When present panel computer under off-mode, panel computer still has the power consumption of 20 milliwatts approximately.
In other words, existing electronic installation is in shutdown or wait under the state of start, still can produce certain power consumption, and then causes the power supply waste and environment is damaged.In addition,, plug attaching plug often and not only cause the power lead or the damage of plug bond easily though the mode of pulling out attaching plug capable of using avoids electronic installation at the power consumption in when shutdown, and the also easy trigger wire risk of cocking off.In addition, for some plate type computer (iPAD Like), the power supply of these devices can't be pulled out; It is when dispatching from the factory, and battery possibly just charge to half the electric power at least, therefore under the situation that power supply can't be pulled out; Whole plate type computer will continue to consume the power consumption of about 20 milliwatts, so, surpass under the situation of two or three months in the time; When the user buys plate type computer, must charge again again, and can't use at once.
Summary of the invention
The present invention provides a kind of electronic installation, when electronic installation is carried out shutdown, cuts off the power supply that is supplied to electronic installation, to improve province's electrical efficiency of system.
The present invention proposes a kind of electronic installation, comprises power switch, switch element, power-supply unit and control module.Power switch has first power end and second source end, and first power end is in order to receive power supply.Switch element has first link and second link, and first link of switch element and second link are parallel to first power end and the second source end of power switch.Power-supply unit connects the second source end of power switch and second link of switch element.Control module connects power-supply unit and switch element.When first power end and one section Preset Time of second source end conducting, power supply provides to power-supply unit, and the electronic installation start.In addition, control module control switch unit conducting first link and second link, after causing first power end and second source end to open circuit, power supply still provides to power-supply unit via switch element.When electronic installation shuts down, control module control switch unit open circuit first link and second link.
In one embodiment of this invention, above-mentioned power supply is an alternating voltage, and power-supply unit comprises power adapter and power circuit.Power adapter connects the second source end of power switch, and converts alternating voltage into DC voltage.Moreover power circuit connects power adapter, and converts DC voltage into system voltage.
In one embodiment of this invention, above-mentioned power supply is a DC voltage, and above-mentioned power-supply unit comprises power circuit.Power circuit connects the second source end of power switch, and converts DC voltage into system voltage.
In one embodiment of this invention, above-mentioned electronic installation also comprises power adapter, connects first power end of power switch, and converts alternating voltage to DC voltage.
In one embodiment of this invention, above-mentioned control module comprises embedded controller and on-off circuit.When embedded controller is started shooting at electronic installation, the one of which of a plurality of status signals is maintained first level, and when electronic installation shuts down, these status signals are maintained second level.In addition, on-off circuit connects embedded controller.Wherein, when the one of which of these status signals was first level, on-off circuit provided the setting signal with second level, with control switch unit conducting first link and second link.When these status signals were second level, on-off circuit provided the setting signal with first level, with control switch unit open circuit first link and second link.
In one embodiment of this invention, when embedded controller takes place in particular event, make the one of which of a plurality of status signals maintain first level.
In one embodiment of this invention, a plurality of status signals comprise and wake control signal and a plurality of dormant control signal up.
In one embodiment of this invention, on-off circuit comprises first resistance and a plurality of first switch.First resistance has first end and second end, and first termination is received first voltage, and second end provides setting signal.These first switches are connected between second end and earth terminal of first resistance, and these first switches determine its conducting state according to a plurality of status signals.
In one embodiment of this invention, above-mentioned switch element comprises relay, control circuit and second switch.Relay has first link and second link.Control circuit connects relay.In addition, second switch connects the on-off circuit of control circuit and control module respectively.
Based on above-mentioned, the present invention is that the two ends of two links of switch element and power switch are parallel with one another, and when electronic installation is carried out shutdown, and the power supply that is supplied to electronic installation is cut off in the not conducting of two links through switch element.Thus, electronic installation can reach the effect of zero power consumption under off-mode, and then improve province's electrical efficiency of system.
For letting the above-mentioned feature and advantage of the present invention can be also obviously understandable, hereinafter is special lifts embodiment, and conjunction with figs. elaborates as follows.
Description of drawings
Fig. 1 is the block scheme according to the electronic installation of one embodiment of the invention;
Fig. 2 is the block scheme according to the electronic installation of another embodiment of the present invention;
Fig. 3 is the circuit diagram according to the on-off circuit of one embodiment of the invention;
Fig. 4 is the circuit diagram according to the switch element of one embodiment of the invention;
Fig. 5 is the block scheme according to the electronic installation of another embodiment of the present invention.
Embodiment
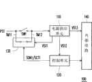
Fig. 1 is the block scheme according to the electronic installation of one embodiment of the invention.With reference to Fig. 1,electronic installation 100 comprises power switch SW1, power-supply unit 110,control module 120,switch element 130 and internal circuit 140.Saidelectronic installation 100 can for example be the computer of panel computer, desktop computer (desktop computer), notebook computer (notebook computer) or multimachine one (all in one).
With reference to Fig. 1, first power end of power switch SW1 receivespower ps 1, and the second source end of power switch SW1 is connected to power-supply unit 110.In operation, when power switch SW1 was pressed, first power end and second source end were with conducting one Preset Time (for example: hundreds of milliseconds).At this moment,power ps 1 will be provided to power-supply unit 110, andelectronic installation 100 starts.In addition, power-supply unit 110 will provide a plurality of system voltage VS11~VS13 according topower ps 1, use forswitch element 130,control module 120 andinternal circuit 140.
Also further, system voltage VS12 operates to causecontrol module 120 in order to driving control unit 120.In the present embodiment,control module 120 might need cost a period of time just can be driven by system voltage VS12.Therefore; Can beforecontrol module 120 is driven, system voltage VS12 be provided constantly in order to ensure power-supply unit 110; In the present embodiment, at the initial stage ofelectronic installation 100 starts,switch element 130 can utilize system voltage VS11 to come its first link TM11 of conducting and the second link TM12 earlier; Causing power-supply unit 110 can receivepower ps 1 constantly, and then causecontrol module 120 intactly to be driven.
In addition, aftercontrol module 120 is driven, the operator scheme thatcontrol module 120 is understood according toelectronic installation 100, and provide power-off signal SCT1 or power supply signal SON1 to switch element 130.For instance, whenelectronic installation 100 is in start/duty,control module 120 will provide a power supply signal SON1 to switch element 130.At this moment,switch element 130 will be according to the power supply signal SON1 conducting first link TM11 and the second link TM12, and then cause power-supply unit 110 can receivepower ps 1 constantly.In other words;Control module 120 meetingcontrol switch unit 130 conductings, the first link TM11 and the second link TM12; After opening circuit with first power end that causes power switch SW1 and second source end,power ps 1 still can provide to power-supply unit 110 viaswitch element 130.
On the other hand, whenelectronic installation 100 shutdown,control module 120 will provide power-off signal SCT1 to switch element 130.At this moment,switch element 130 will be according to power-off signal SCT1 the open circuit first link TM11 and the second link TM12, and then cause power-supply unit 110 can't receive power ps 1.In other words, whenelectronic installation 100 shutdown, thepower ps 1 that is supplied toelectronic installation 100 will fully be cut off, and then causeselectrons device 100 electric consumption not.Thus, theelectronic installation 100 of present embodiment can reach the effect of zero power consumption under the mode of not pulling out attaching plug.In view of the above, theelectronic installation 100 of present embodiment not only can improve province's electrical efficiency of system, also can reduce the risk that electric wire that the damage because of plug bond causes cocks off.
Fig. 2 is the block scheme according to the electronic installation of another embodiment of the present invention.With reference to Fig. 2,electronic installation 200 comprises power switch SW2, power-supply unit 210,control module 220,switch element 230 and internal circuit 240.Saidelectronic installation 200 can for example be the computer (AIO) of panel computer, desktop computer, notebook computer or multimachine one.
Please with reference to Fig. 2, when power switch SW2 was pressed, first power end and second source end were with conducting one Preset Time.At this moment, power ps 2 will provide to power-supply unit 210, andelectronic installation 200 starts.In addition, power-supply unit 210 power ps 2 capable of using provide a plurality of system voltage VS21~VS23.For instance, in the present embodiment, power-supply unit 210 comprisespower adapter 211 andpower circuit 212, and said power ps 2 is an alternatingvoltage.Power adapter 211 connects the second source end of power switch SW2, and will convert DC voltage into from the power ps 2 (alternating voltage) of power switch SW2.In addition,power circuit 212 connectspower adapter 211, and converts DC voltage into system voltage VS21~VS23.
On the other hand,control module 220 can be driven by system voltage VS22, with the running of being correlated with.In addition; Can intactly be driven in order to ensurecontrol module 220; At the initial stage ofelectronic installation 200 starts;Switch element 230 can utilize system voltage VS21 to come the conducting first link TM21 and the second link TM22 earlier, can constantly be received power ps 2 before to cause power-supply unit 210control module 220 complete drivings.
In addition, whencontrol module 220 is driven and when operating,control module 220 will be according to the operator scheme ofelectronic installation 200, and power-off signal SCT2 or power supply signal SON2 are provided.For instance, in the present embodiment,control module 220 comprises on-offcircuit 221 and embedded controller 222.On-offcircuit 221 connects embeddedcontroller 222 andswitch element 230, and embeddedcontroller 222 connects power-supply unit 210 andinternal circuit 240.
In integrated operation, whenelectronic installation 200 was in start/duty, embeddedcontroller 222 can (for example: logical one) maintain first level with the one of which of a plurality of status signals.On the other hand, as far as on-offcircuit 221, when the one of which of said a plurality of status signals maintain first level (for example: in the time of logical one), on-offcircuit 221 will provide and have second level (for example: setting signal logical zero), with as power supply signal SON2.
For instance, Fig. 3 is the circuit diagram according to the on-off circuit of one embodiment of the invention.With reference to Fig. 3, on-offcircuit 221 comprises resistance R 3 and a plurality of switch SW 31~SW34.First power end of resistance R 3 receives voltage V3, and the second source end of resistance R 3 produces setting signal S31.In addition, switch SW 31~SW34 is connected between the second source end and earth terminal of resistance R 3.Moreover said a plurality of status signals comprise dormant control signal slp-s3#, dormant control signal slp-s4#, wake control signal wake# and specific control signal GPO up.The specific control signal GPO person of being to use passes through the specific function that Basic Input or Output System (BIOS) (BIOS) sets, and maintains first level to guarantee the signal that general I/O port (GPIO) is provided.
In overall operation, whenelectronic installation 200 was in dormant state, dormant control signal slp-s3# (for example: logical one) can be maintained at first level.Thus, switch SW 31 is conducting, and then the level of setting signal S31 is pulled down to ground voltage.That is to say that the on-offcircuit 221 of this moment (for example: setting signal S31 logical zero), and it will be regarded as power supply signal SON2 has second level with generation.In addition; When particular event takes place; For example: whenelectronic installation 200 switches to the special state that holding state, dormant state, sleep state or user set voluntarily, dormant control signal slp-s4#, wake control signal wake# up or specific control signal GPO also (for example: logical one) will be switched to first level.At this moment, the switch SW 31~SW34 of part is with conducting, and then 221 generations of causes switch circuit (for example: setting signal S31 logical zero), just power supply signal SON2 have second level.
On the other hand, whenelectronic installation 200 shutdown, embeddedcontroller 222 can (for example: logical zero) maintain second level with said a plurality of status signals.In addition, when said a plurality of status signals maintain second level (for example: logical zero), on-offcircuit 221 will provide and have first level (for example: setting signal logical one), with as power-off signal SCT2.
For instance; As shown in Figure 3; Whenelectronic installation 200 is carried out shutdown; Described a plurality of status signal, for example: dormant control signal slp-s3#, dormant control signal slp-s4#, wake control signal wake# and specific control signal GPO etc. up, (for example: logical zero) all will maintain second level.Thus, not conductings of switch SW 31~SW34, and then cause the level of setting signal S31 to be pulled up to voltage V3.That is to say that the on-offcircuit 221 of this moment (for example: setting signal S31 logical one), and it will be regarded as power-off signal SCT2 has first level with generation.
Please continue with reference to Fig. 2; The power supply signal SON2 and the power-off signal SCT2 that are produced to on-offcircuit 221;Switch element 230 will be according to the power supply signal SON2 conducting first link TM21 and the second link TM22, and then cause power-supply unit 210 can receive power ps 2 constantly.In addition,switch element 230 can be according to power-off signal SCT2 the open circuit first link TM21 and the second link TM22, and then cut-out is supplied to thepower ps 1 ofelectronic installation 200.
For instance, Fig. 4 is the circuit diagram according to the switch element of one embodiment of theinvention.Switch element 230 comprisesrelay 410,control circuit 420 and switch SW 4.Wherein,relay 410 has the first link TM21 and the second linkTM22.Control circuit 420 connects relay 410.In addition, switch SW 4 connects the on-offcircuit 221 incontrol circuit 420 and thecontrol module 220 respectively.
Further,control circuit 420 comprises diode D4, N channel transistor MN4, resistance R 41 and R42 and capacitor C 4.In addition,relay 410 comprises coil L4, common joint CO1, normally closed contact NC1 and normal opened contact N01.On connecting, the common joint CO1 ofrelay 410 and normal opened contact N01 are connected the first link TM21 and the second link TM22 ofrelay 410 respectively, to control the conducting state of the first link TM21 and the second link TM22 thus.
Moreover first power end of the coil L4 ofrelay 410 connects power-supply unit 210, and with receiving system voltage VS1, and the second source end of the coil L4 ofrelay 410 connects the drain electrode of N channel transistor MN4.First power end of the negative electrode connecting coil L4 of diode D4, and the second source end of the anode connecting coil L4 of diode D4.First power end of resistance R 41 connects the source electrode of N channel transistor MN4, and the second source end of resistance R 41 connects earth terminal.First power end of capacitor C 4 connects power-supply unit 210, and the second source end of capacitor C 4 connects the grid of N channel transistor MN4.First power end of resistance R 42 connects the second source end of capacitor C 4, and the second source end of resistance R 42 connects earth terminal.First power end of switch SW 4 connects first power end of capacitor C 4, and the second source end of switch SW 4 connects the second source end of capacitor C 4.
In integrated operation, capacitor C 4, resistance R 41 are the bias point in order to decision N channel transistor MN4 with resistance R 42.In addition, N channel transistor MN4 is in order to drive coil L4, and diode D4 is in order to the discharge path of coil L4 to be provided.At this, whenswitch element 230 received power supply signal SON2, switch SW 4 was conducting, and then caused the voltage that is positioned at node N4 to be pulled up to system voltage VS21.Along with the lifting of the voltage of node N4, N channel transistor MN4 is with conducting, and then drive coil L4, and causes the common joint CO1 ofrelay 410 to be connected to normal opened contact N01.That is to say that whenswitch element 230 received power supply signal SON2, the first link TM21 ofswitch element 230 and the second link TM22 were with mutual conduction.
On the other hand, whenswitch element 230 received power-off signal SCT2, switch SW 4 was with not conducting.At this moment, system voltage VS21 will begin capacitor C 4 is charged, and the voltage that causes being positioned at node N4 begins toward descending.Along with the decline of the voltage of node N4, N channel transistor MN4 can't conducting, and then causes the common joint CO1 ofrelay 410 to be connected to normally closed contact NC1.In other words, when switchelement 230 received power-off signal SCT2, the first link TM21 and the second link TM22 ofswitch element 230 can't mutual conduction.
What deserves to be mentioned is that beforecontrol module 220 was not driven as yet,switch element 230 was to receive power supply signal SON2 and power-off signal SCT2.Therefore;Electronic installation 200 is at the initial stage of start;Switch element 230 will utilize capacitor C 4 and resistance R 42 formed delay mechanism, impel N channel transistor MN4 to keep of short duration conducting, and then cause the first link TM21 and the second link TM22 to be electrical connected momently.Thus, power-supply unit 210 can receive power ps 2 constantly beforecontrol module 220 complete drivings.
Why the first link TM21 ofswitch element 230 and the second link TM22 can keep of short duration being electrical connected at the initial stage of start; Chief reason is; Under the direct current transient response, the capacitor C 4 that receives system voltage VS2 at the beginning is to be regarded as short circuit, therefore; At the initial stage ofelectronic installation 200 starts, the voltage that is positioned at node N4 maintains system voltage VS21.In addition, capacitor C 4 just can charge to system voltage VS2 after must waiting for a time delay.That is to say that the voltage that is positioned at node N4 can be past gradually decline time delay.
Wherein, the size of time delay is the resistance value that depends on capacitor C 4 and resistance R 42.Therefore, the adjustment of the resistance value of capacitor C 4 capable of using and resistance R 42 will be set at the driving time greater thancontrol module 220 time delay.Thus; Beforecontrol module 220 is not driven as yet; Through the transient response of capacitor C 4, switch SW 4 will maintain the state of conducting in time delay, and then the first link TM21 ofcauses switch unit 230 and the second link TM22 keep of short duration being electrical connected at the initial stage of start.
In sum,electronic installation 200 is under the open state, and the first link TM21 ofswitch element 230 and the second link TM22 can provide system voltage VS21~VS23 with mutual conduction to cause power-supply unit 210 constantly.Otherwise whenelectronic installation 200 shutdown, the first link TM21 and the second link TM22 ofswitch element 230 will open circuit, and then cut off the power supply that is supplied toelectronic installation 200.
Thus, theelectronic installation 200 of present embodiment can reach the effect of zero power consumption under off-mode, and then improve province's electrical efficiency of system.In addition, becauseelectronic installation 200 is not power consumption under off-mode, therefore in the process of start, the embeddedcontroller 222 of present embodiment is under the situation that receives for the first time system voltage VS22, to carry out boot program.That is to say that when embeddedcontroller 222 is driven by system voltage VS22, embeddedcontroller 222 will be carried out boot program.
Fig. 5 is the block scheme according to the electronic installation of another embodiment of the present invention.With reference to Fig. 5,electronic installation 500 comprises power switch SW5, power-supply unit 510,control module 520,switch element 530,internal circuit 540 and power adapter 550.Wherein, power-supply unit 510 comprisespower circuit 511, andcontrol module 520 comprises on-offcircuit 521 and embeddedcontroller 522.
With reference to Fig. 5, first power end of power switch SW5 connectspower adapter 550, and with reception power ps 5, and the second source end of power switch SW5 is connected to power-supply unit 510.Wherein, the described power ps 5 of present embodiment is a direct current voltage, and described power ps 5 (DC voltage) is changed and produced by 550 pairs of alternating voltages of power adapter.In addition, when power switch SW5 was pressed, first power end was with conducting second source end one Preset Time.At this moment, power ps 5 will provide to power-supply unit 510, andelectronic installation 500 starts.In addition, thepower circuit 511 in the power-supply unit 510 can convert power ps 5 (DC voltage) into system voltage VS51~VS53, uses forswitch element 530,control module 520 andinternal circuit 540.
Moreovercontrol module 520 can be driven by system voltage VS52, to operate relatively.In addition;Electronic installation 500 is at the initial stage of start;Switch element 530 can utilize system voltage VS51 to come the conducting first link TM51 and the second link TM52 earlier, can constantly be received power ps 5 before to cause power-supply unit 510control module 520 complete drivings.In addition, aftercontrol module 520 was driven,control module 520 will be according to the operator scheme ofelectronic installation 500, and provides power-off signal SCT5 or power supply signal SON5 to switchelement 530.
Detail operations with regard tocontrol module 520; Whenelectronic installation 500 is in open state; Embeddedcontroller 522 can maintain first level with the one of which of a plurality of status signals, to cause on-offcircuit 521 to provide to have the setting signal of second level, also is power supply signal SON5.In addition, whenelectronic installation 500 shutdown, embeddedcontroller 522 can maintain second level with said a plurality of status signals, to cause on-offcircuit 521 to provide to have the setting signal of first level, also is power-off signal SCT5.
The power supply signal SON5 and the power-off signal SCT5 that are produced to on-offcircuit 521;Switch element 530 will be according to the power supply signal SON5 conducting first link TM51 and the second link TM52, and then cause power-supply unit 510 can receive power ps 5 constantly.In other words,control module 520 meetingcontrol switch unit 530 conductings, the first link TM51 and the second link TM52, after causing first power end and second source end to open circuit, power ps 5 still provides to power-supply unit 510 viaswitch element 530.
In addition,switch element 530 can be supplied to the power ps 5 ofelectronic installation 500 according to power-off signal SCT5 the open circuit first link TM51 and the second link TM52 with cut-out.In other words, whenelectronic installation 500 shutdown, the first link TM51 and the second link TM52 ofswitch element 530 will open circuit, and then cut off the power supply that is supplied to electronic installation 500.Thus, theelectronic installation 500 of present embodiment can reach the effect of zero power consumption under off-mode, and then improve province's electrical efficiency of system.Be included among above-mentioned each embodiment, as for the detail operations of present embodiment and the enforcement kenel of partial circuit square frame so do not repeat them here.
In sum, the present invention is that the two ends of two links of switch element and power switch are parallel with one another, and when electronic installation is carried out shutdown, and the power supply that is supplied to electronic installation is cut off in the not conducting of two links through switch element.Thus, electronic installation can reach the effect of zero power consumption under off-mode, and then improve province's electrical efficiency of system.In addition, in order to let electronic installation under standby, dormancy, sleep or special state, still can keep power supply, the present invention also when particular event takes place, utilizes the setting of a plurality of status signals to cause control module to produce power supply signal.Thus, but the electricity-saving mechanism of causes electrons device is also had elasticity in the use.
Though the present invention discloses as above with embodiment; Yet it is not in order to limit the present invention; Those of ordinary skill in the technical field under any; Do not breaking away from the spirit and scope of the present invention, when can doing a little also moving and retouching, be as the criterion so protection scope of the present invention ought be looked the scope that claim defines.

Claims (9)

Wherein, When above-mentioned first power end and one section Preset Time of above-mentioned second source end conducting; Above-mentioned power supply provides to above-mentioned power-supply unit and the start of above-mentioned electronic installation; Above-mentioned control module is controlled above-mentioned first link of above-mentioned switch element conducting and above-mentioned second link, and after causing above-mentioned first power end and above-mentioned second source end to open circuit, above-mentioned power supply still provides to above-mentioned power-supply unit via above-mentioned switch element; When the shutdown of above-mentioned electronic installation, above-mentioned control module is controlled above-mentioned switch element open circuit above-mentioned first link and above-mentioned second link.
CN201110072508.9A2011-03-172011-03-17Electronic deviceActiveCN102681448B (en)

Priority Applications (1)

Application NumberPriority DateFiling DateTitle
CN201110072508.9ACN102681448B (en)2011-03-172011-03-17Electronic device

Applications Claiming Priority (1)

Application NumberPriority DateFiling DateTitle
CN201110072508.9ACN102681448B (en)2011-03-172011-03-17Electronic device

Publications (2)

Publication NumberPublication Date
CN102681448Atrue CN102681448A (en)2012-09-19
CN102681448B CN102681448B (en)2015-05-13

Family

ID=46813525

Family Applications (1)

Application NumberTitlePriority DateFiling Date
CN201110072508.9AActiveCN102681448B (en)2011-03-172011-03-17Electronic device

Country Status (1)

CountryLink
CN (1)CN102681448B (en)

Citations (8)

* Cited by examiner, † Cited by third party
Publication numberPriority datePublication dateAssigneeTitle
JP2001332149A (en)*2000-05-242001-11-30Nec Yonezawa LtdMulti-contact switch and power source control/function control apparatus
KR20020094262A (en)*2001-06-082002-12-18백석일Computer System with Power saving type power supply installed
KR100626359B1 (en)*1999-09-102006-09-20삼성전자주식회사 Power Management Methods for Computer Systems
CN2909698Y (en)*2006-01-042007-06-06康佳集团股份有限公司Energy-saving on-off circuit
CN101174136A (en)*2006-10-312008-05-07佛山市顺德区顺达电脑厂有限公司Electricity-saving circuit of electronic device and its electricity-saving method
CN101178583A (en)*2007-12-062008-05-14顾宝兴Standby free programmable power supply on-off circuit with single push button
CN101334644A (en)*2008-06-112008-12-31郑林全Zero power consumption standby solving scheme after manual boot-strap and auto-shut-off
CN101676825A (en)*2008-09-192010-03-24宏碁股份有限公司Electronic system and power supply device thereof

Patent Citations (8)

* Cited by examiner, † Cited by third party
Publication numberPriority datePublication dateAssigneeTitle
KR100626359B1 (en)*1999-09-102006-09-20삼성전자주식회사 Power Management Methods for Computer Systems
JP2001332149A (en)*2000-05-242001-11-30Nec Yonezawa LtdMulti-contact switch and power source control/function control apparatus
KR20020094262A (en)*2001-06-082002-12-18백석일Computer System with Power saving type power supply installed
CN2909698Y (en)*2006-01-042007-06-06康佳集团股份有限公司Energy-saving on-off circuit
CN101174136A (en)*2006-10-312008-05-07佛山市顺德区顺达电脑厂有限公司Electricity-saving circuit of electronic device and its electricity-saving method
CN101178583A (en)*2007-12-062008-05-14顾宝兴Standby free programmable power supply on-off circuit with single push button
CN101334644A (en)*2008-06-112008-12-31郑林全Zero power consumption standby solving scheme after manual boot-strap and auto-shut-off
CN101676825A (en)*2008-09-192010-03-24宏碁股份有限公司Electronic system and power supply device thereof

Also Published As

Publication numberPublication date
CN102681448B (en)2015-05-13

Similar Documents

PublicationPublication DateTitle
CN101471599B (en)Drive circuit, power management device for MOS tube and method for driving MOS tube
CN100588077C (en) A complementary uninterruptible power supply system of solar energy and commercial power
CN103890681B (en)Voltage regulator, electronic equipment and be the method for power electronic equipment
CN103872719A (en)Method for reducing power consumption of static battery
CN108306345B (en)Intelligent energy-saving device of energy storage inverter system
US8897044B2 (en)Electronic device having complete power-saving mechanism
CN211827189U (en)Power supply control circuit
CN110196628A (en)It is a kind of for extend tablet computer shutdown after service time of battery method and system
WO2021258366A1 (en)Control circuit, battery management system and electrochemical device
CN201173551Y (en)Air conditioner controller and air conditioning system thereof
CN201177349Y (en)Air conditioner controller and air conditioning system
CN103294159A (en)Method and device for realizing shutdown zero power consumption of electronic equipment
CN101749835A (en)Air conditioner controller with auxiliary control chip and using solar cell and air conditioning system thereof
CN101685895A (en)Battery charging method and device
CN102593908B (en)Backup power supply system
CN102025282B (en)Power control circuit and electronic device provided with same
CN108418275A (en) an energy storage device
CN103078354A (en)Backup battery protection system
CN102299550A (en)Power supply method of electronic device
CN109347101B (en)Power supply controller for subway gate
CN201732338U (en)Electricity-saving portable device power supply switch control system
US20070025128A1 (en)Power supplying apparatus and electronic device using the same
CN2904457Y (en) Three-state feedback power supply control circuit
CN203104016U (en)Power supply circuit of remote controller and air-conditioning system having the same
CN102681448A (en)Electronic device

Legal Events

DateCodeTitleDescription
C06Publication
PB01Publication
C10Entry into substantive examination
SE01Entry into force of request for substantive examination
C14Grant of patent or utility model
GR01Patent grant

[8]ページ先頭

©2009-2025 Movatter.jp