Movatterモバイル変換


[0]ホーム

URL:


CN102661723A - Six-axial numerical-control three-dimensional quick laser measurer - Google Patents

Six-axial numerical-control three-dimensional quick laser measurer
Download PDF

Info

Publication number
CN102661723A
CN102661723ACN2012101718513ACN201210171851ACN102661723ACN 102661723 ACN102661723 ACN 102661723ACN 2012101718513 ACN2012101718513 ACN 2012101718513ACN 201210171851 ACN201210171851 ACN 201210171851ACN 102661723 ACN102661723 ACN 102661723A
Authority
CN
China
Prior art keywords
measuring
laser
guide track
guide rail
measuring instrument
Prior art date
Legal status (The legal status is an assumption and is not a legal conclusion. Google has not performed a legal analysis and makes no representation as to the accuracy of the status listed.)
Pending
Application number
CN2012101718513A
Other languages
Chinese (zh)
Inventor
杨超翔
杨振步
Current Assignee (The listed assignees may be inaccurate. Google has not performed a legal analysis and makes no representation or warranty as to the accuracy of the list.)
SHANGHAI DALIANG PHOTOELECTRIC TECHNOLOGY Co Ltd
SHANGHAI QUPU PLASTIC HARDWARE CO Ltd
SHANGHAI TROOP ELECTRONICS EQUIPMENT CO Ltd
Original Assignee
SHANGHAI DALIANG PHOTOELECTRIC TECHNOLOGY Co Ltd
SHANGHAI QUPU PLASTIC HARDWARE CO Ltd
SHANGHAI TROOP ELECTRONICS EQUIPMENT CO Ltd
Priority date (The priority date is an assumption and is not a legal conclusion. Google has not performed a legal analysis and makes no representation as to the accuracy of the date listed.)
Filing date
Publication date
Application filed by SHANGHAI DALIANG PHOTOELECTRIC TECHNOLOGY Co Ltd, SHANGHAI QUPU PLASTIC HARDWARE CO Ltd, SHANGHAI TROOP ELECTRONICS EQUIPMENT CO LtdfiledCriticalSHANGHAI DALIANG PHOTOELECTRIC TECHNOLOGY Co Ltd
Priority to CN2012101718513ApriorityCriticalpatent/CN102661723A/en
Publication of CN102661723ApublicationCriticalpatent/CN102661723A/en
Pendinglegal-statusCriticalCurrent

Links

Images

Landscapes

Abstract

The invention discloses a six-axial numerical-control three-dimensional quick laser measurer which comprises a measurer mechanical system. The measurer mechanical system comprises a measurement operating table, a base and a vertical column portal frame. The measurer is characterized in that the measurer mechanical system further comprises a guide rail system and two groups of rotatable precision positioning clamp devices. The guide rail system comprises an X-direction guide rail system, a Y-direction guide rail system and a Z-directional guide rail system in mutual orthogonality, wherein the X-direction guide rail system is mounted on the measurement operating table, the Y-direction guide rail system is disposed on a movable bridge crossbeam, and the Z-directional guide rail system is mounted in a central sliding frame. The rotatable precision positioning clamp devices are disposed on the measurement operating table and comprises 360-degree rotatable clamps and 90-degree rotatable clamps, wherein the 360-degree rotatable clamps are capable of rotating in a plane of the X and Y directions, and the 90-degree rotatable clamps are mounted in the Z direction and capable of rotating in a plane of the Y and Z directions or a plane of the Z and X directions.

Description

The quick 3 D measuring instrument of six Shaft and NC Machining Test laser
Technical field
The present invention relates to a kind of measuring instrument, especially the quick 3 D measuring instrument of six Shaft and NC Machining Test laser.
Background technology
Be unable to do without in the industries such as precision workpiece, part, mould and various product manufacturings and detected.Big to picture automobile, steamer, aircraft, mill construction, parts or integral body, also all use detector everywhere to wiring board, electronics spare part for a short time.Natural or industrial manufacturing finished product: no matter metal, nonmetal, plastic, rubber, silica gel, woodwork, glassware, stone product, utensil, stationery, leather article; Even it is trickle to tangible objects such as film, cotton yarns; Must lean on survey instruments such as various measurer, rule tool, measuring tool, magnifier, projector, electronic console as long as wonder its size, thickness, length, thickness, shape etc., detecting instrument goes to ask answer.
Chinese has been at present the manufacturing big country that generally acknowledge in the whole world, and the finished product of manufacturing out, semi-manufacture comprise clothing, food, live, go various products, from design, processing, assembling, are packaged into maintenance and all will check the flow process and the technology that all must possess measurement.
Its manufacturing cost of various products requires more and more lower, and quality is more accurate, produce quicker, noise still less, the energy is more saved, the more attractive in appearance and hommization of moulding, more durable, maintenance is more prone to.Each requirement all needs best design and better work flow and packaging technology, and these also just rely on more fine measuring instrument and detect, to improve and to strengthen all above-mentioned technical fields that need.
At present; General object is measured employed instrument, instrument except measuring appliances such as measurer (chi, slide calliper rule), gauge (step gage), clock gauge; The image measurer that the projection of utilizing is still arranged, the numerical control measuring microscope can be measured the 2-D data (Quadratic Finite Element) of object.Three-dimensional (three-D) profile measurement is then used the instrument and equipments such as laser (tracking) interference measuring instrument of probe contact-type 3 D measuring instrument, portable laser scanning measurement appearance, catoptron.Two dimension, three-dimensional measurement are to measure in the point-to-point air line distance of tradition, and development is come out on the also so-called dimension Fundamentals of Measurement.Two-dimensional measurement, object is borrowed the effect of light projection and magnifier, can manifest the surface profile of object and the two-dimensional coordinate comparison of setting, and that is surveyed is digital not accurate enough.The advantage of two-dimensional measurement appearance is can measure the result fast under the not high prerequisite of precision prescribed, and this kind measuring instrument is easy to learn, is used on less, as to hang down precision object, the workpiece calibration.Its cost is more a lot of than cheap with three-dimensional measuring instrument, and China is domestic to have a lot of factories, so higher utilization rate is arranged on the market.
Just because of the two-dimensional measurement appearance does not detect the object precision of having relatively high expectations, also can not measure the true three-dimensional data of object, so the three-dimensional measurement technology is used for direction and the trend that accurate manufacturing is development with measuring instrument.
At present used three coordinate measuring machine all is that linear motion axis by three quadratures constitutes; Go to touch the surface of measured object with measuring head (ball, ball or probe), the contact induction device through sensitivity passes to the signal that touches on corresponding display or the computer.The three-dimension curved surface that the three coordinate measuring machine of this type is used for comparison rule is more convenient; But want accurate measuring complex three-dimension curved surface then relatively more difficult; Not only measure translational speed and receive limit value; And measuring accuracy is difficult to guarantee that particularly there is the complex three-dimensional curved surface of depression in some side, even can't carry out.
When using the contact three coordinate measuring engine measurement; Need to lean on than those skilled in the art; Probe or probe ball are obtained data (the three-dimensional position of each point) at tested object surface as best one can; Also must the initial point of probe or probe ball and setting be obtained corresponding data and record before each measuring point, with foundation as computed in software.Because no matter each the touching with the measured object surface of probe or probe ball a little all has the ball curved surface, the reason of probe angle, the factor that strength is big or small; Whether add the skilled specialty of operating personnel; The result of often each measurement or everyone measurement can have error, and must collect bigger data volume, and data are many more accurate more; Also need be stronger, calculating more accurately, software supports.And this kind measuring instrument is to food, inflatable substrate rubber silica type flexible material energy measurement not.Though some above-mentioned problems are arranged, before difficulty did not overcome, this kind measuring instrument current comparatively ideal three-dimensional measurement instrument of can yet be regarded as also was extensive received 3 D measuring instrument.
Portable laser scanning measurement uses in large-scale object measurement with laser interferometry mostly, though portable measuring speed is fast, precision is not high, the automobile external form of being everlasting, and the moulding of big member is used in measuring.Measured object volume is bigger, and needed space is also bigger during measurement, operating personnel's picked-up data of walking about with then needing top to bottom, left and right, front and rear.
Laser interference (tracking) is measured and then is used in the precision measure of machine tool; Can measure higher repetitive positioning accuracy; Can measure dynamic object shift position, but the unsuitable three-dimensional coordinate position of measuring each point is not suitable for three-dimensional measurements such as precision component, workpiece, mould yet yet.
The three-dimensional laser measuring machine of using at present also is contactless quick scanning survey, because of adopting laser measuring head; Want accurate measuring complex three-dimension curved surface also relatively more difficult; Not only measuring accuracy is difficult to guarantee, has the complex three-dimensional curved surface of depression for some side, even can't carry out.
Summary of the invention
To the problems referred to above; The invention provides the quick 3 D measuring instrument of a kind of six Shaft and NC Machining Test laser, when the complex three-dimensional object was accurately measured, it was high to embody measuring accuracy; Operation fast, make things convenient for, saves time, reduces the consistance that rate, raising repeated measurement data, and comparable reciprocity advantage.
Another goal of the invention of the present invention is; Can be applicable on other immeasurable objects of 3 D measuring instrument institute, but the inflatable substrate of similar breathing, the food that the surface is softening; Semifluid, accurate plastics, rubber, silica gel, paper product, leather, cotton yarn or the like finished product, semi-manufacture.
Another goal of the invention of the present invention is that the three-dimensional that is applied to complex-shaped object is accurately measured, like the sharp comer profile, and thin slice, dark, narrow, narrow endoporus, blind hole, finedraw, polygonal star-shaped aperture, deep mixed shrinkage pool, the three-dimension curved surface that depression is complicated etc.; The screw rod of the automobile of various sizes shape, tank, train, steamer, aircraft, bent axle, transmission shaft, blade etc.Shape is complicated, needs to obtain in the short time multidata amount more more, also more will be applied to this six Shaft and NC Machining Test fast precise laser scanner.
In order to realize the foregoing invention purpose; The invention discloses the quick 3 D measuring instrument of 1, six Shaft and NC Machining Test laser; Comprise a measuring machine mechanical system, said measuring machine mechanical system comprises a surveying work platform, a pedestal and a column portal frame; It is characterized in that said measuring machine mechanical system further comprises:
One guide track system; The X that comprises quadrature each other to guide track system, Y to guide track system and Z to guide track system; Said three guide track systems can both rectilinear motion, and wherein, said X is contained on the said surveying work platform to guide track system; Said Y is arranged on one to guide track system and moves the crane span structure crossbeam, and said Z is in guide track system is contained in a central balladeur train;
Two groups of rotatable precision location clamp devices; Be arranged on the said surveying work platform; Comprising can be at said X, Y to the 360 degree rolling clamp that constitute the plane rotation; And be placed in said Z upwards, can be at said Y, Z to constituting plane or said Z, X to the 90 degree rolling clamps that constitute the plane rotation.
Reasonable is that said measuring instrument pedestal, said column portal frame and said surveying work platform adopt the natural granite material.
Reasonable is that said measuring instrument further comprises: a Laser Transmission measuring system, form by laser instrument, Optical Fiber Transmission and laser measuring head.
The present invention is directed to the required spare and accessory parts production of tail vane, screw propeller, blade and the aircraft industry of steamer, aircraft, assembling, maintenance and research and develop.The object of precision, precious metal; All get hundred-percent measurement during every manufacturing; The maintenance of jet plane engine volute blade too very heavy surveying work amount arranged, this sharp weapon are arranged, to design, produce, the various technologies of maintenance and flow process can raise the efficiency greatly.The online detection that is applied in above-mentioned various career fields is the final purpose of invention.
Description of drawings
Below, with reference to accompanying drawing, for those skilled in the art that, from detailed description of the present invention, above-mentioned and other purposes of the present invention, feature and advantage will be obvious.
Fig. 1 is a structural representation of the present invention;
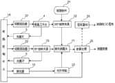
Fig. 2 is the quick 3 D measuring instrument principle of work of six a Shaft and NC Machining Test laser of the present invention block diagram.
Description of reference numerals is following:
1, support; 2, pedestal;
3, grating chi; 4, surveying work platform;
5, column; 6, crossbeam;
7, X axis rail; 8, central balladeur train;
9, Z axis rail; 10,90 ° of rolling clamps;
11; Laser measuring head; 12,360 ° of rolling clamps;
13, display screen; 14, computer control center;
15, laser instrument
Embodiment
See also the quick 3 D measuring instrument of six Shaft and NC Machining Test laser shown in Figure 1, comprise four systems, respectively as follows:
1) measuring machine mechanical system:
By grouan is that X, Y, Z three-shaft linkage pedestal 2 and thesurveying work platform 4 of main body formed, and wherein, the linear motion axis of three quadratures constitutes: Y is below guide track system is contained insurveying work platform 4, and guiding measuringworktable 4 moves forward and backward; Crossbeam 6 on thecolumn 5 is equipped with Xaxis rail system 7, makeslaser measuring head 11 move left and right; 9 of Z axis rail systems are contained on thecentral balladeur train 8, and 90 ° ofrolling clamps 10 that guiding is equipped withlaser measuring head 11 move up and down; Two groups of rotatable precision location clamp devices, promptly one group of 360 ° of rollingclamp 12 is placed on thesurveying work platform 4, can drive measured object and in the XY plane, rotate 360 °; 90 ° ofrolling clamps 10 of another group are placed on the Z axle centralauthorities balladeur train 8, can drivelaser measuring head 11 on the YZ plane or ZX plane half-twist;
2) Laser Transmission measuring system: form bylaser instrument 15, Optical Fiber Transmission andlaser measuring head 11;
3) computer control center 14: comprise industrial computer and data processing thereof, motion control and 3D graphics software;
4) electrical control drive system: comprise grating chi, electrical driver and AC servo motor etc.
In said structure, following design feature of the present invention constitutes technical scheme of the present invention.
(1) grouan is X, Y, the Z three-shaft linkage pedestal of main body:
With the natural granite material is themeasuring instrument pedestal 1 that main member is made; X, Y, three of Z are installed on respectively on the base of main body and oncolumn 5 and the crossbeam 6 (planer-type); Three set drives and servomotor order about three through-drive structures separately and on base andcrossbeam 6, move respectively or three-shaft linkage.Drive mechanism also each free three groups of accurate screw rod adds line slideway or travelling belt and adds the floating device of vapour and form.The present invention when measuring workpieces or object can with this workpiece or object and laser sensor (traditional employed contact type probe) do corresponding about, front and back, three-dimensional displacement up and down.
Above-mentionedmeasuring instrument pedestal 1 granite is taken from natural material, can finishing, and steady quality after the moulding; Thermal deformation is little, can be durable in use, as the measuring instrument agent structure; Accurate requirement when guaranteeing to measure; The all drive disk assemblies of also convenient installation, wear-resisting, the hardness height constitutes the optimum structure body of the floating device of vapour especially.
Drive disk assembly adopts accurate screw rod to add line slideway or driving-belt adds the floating group of vapour device; Three also must be added grating or magnetic grid simultaneously; So that can adjust, revise, compensate when rotating because of screw pitch; The error that parts such as driving-belt gear cause is guaranteed the accuracy requirement of each displacement or resetting.
Two groups of rotatable precision location clamp devices comprise tworolling clamps 12 and 10.Wherein, 360 ° of rollingclamps 12 can be adjusted rotating speed and have scale and the rotating disk of workpiece mounting hole site; Be installed in also synchronous thereupon, the concentric rotation of measured workpiece (like screw rod, bent axle, transmission shaft etc.) on the anchor clamps rotating disk, the anglec of rotation is selected according to the measurement needs.360 ° of rotating disc sizes are also looked the size decision of measured workpiece.Another is 90 ° of rollingclamps 10, is installed on the Z axle, can be on the YZ plane or 90 ° of rotations of ZX plane rotation, and the anglec of rotation is looked measured workpiece shape and installation requirement and is decided.
Laser measuring head 11 adopts high precision 2D laser displacement sensor, is fixed on the below of 90 ° of positioning of rotatinganchor clamps 10 of Z axle.The rotational positioning anchor clamps can constitute measured object the complete scan of two dimension (2D) during operation, detect the data of each point of measured object, carry out exporting accurate three-dimensional data after data operation is handled throughcomputer control center 14.
Computer control center 14 employing functions are strong, capacity big, the operation fast, the computer (computing machine) of high definition screen, and motion control and laser measurement Control Software, data processing software and 3 dimension figure reconstruction softwares are installed.
Adopt optical fiber technology that the laser beam thatlaser instrument 15 produces is transferred to laser measuring head 11 (high precision 2D laser displacement sensor) flexibly; And allowlaser measuring head 11 to move arbitrarily and rotation, created condition for realizing the quick three-dimensional measurement of six Shaft and NC Machining Test laser.
In addition, six motion control softwares are controlled the motor of three of X, Y, Z respectively, order about three-shaft linkage, displacement exactly.Software must be exported with grating or magnetic grid signal on three, the loading routine interconnection.The rotation of two positioning fixtures that workpiece places rotating disc and clamping sensor on the worktable is installed also by software control.The present invention also possesses and can accept from the scan-data of laser sensor and the special software putting in order, screen and calculate.The required software at present whole world does not still have ready-made can using, and remains own and many universities and scientific research team cooperation, on existing basis, carries out secondary development and accomplishes.Aforementioned two-part software compatiblity, interactive ability precision used the quick 3 D measuring instrument of six Shaft and NC Machining Test laser of the present invention exactly, obtain the anticipation effect.
See also the laser measurement course of work shown in Figure 2.Specific as follows:
At first, measured object is placed on 360 ° ofrolling clamps 12 on thegranite test desk 4, the operator then is provided with the motion path and the track while scan oflaser measuring head 11 relative measured objects according to shape, the size of measured object; The data that 11 of laser measuring heads are surveyed scanning send tocomputer control center 14 perform mathematical calculations with data processing after, just exportable measured object the whole three-dimensional geometry numerical value that will survey.Export corresponding three-dimensional picture like need, then should flow to measured numerical value 3D figure reconstruction module, export the three-dimensional picture of measured object again.
If measured object is very complicated, even side existence depression and shrinkage pool, lean onlaser measuring head 11 to scan detection from the top down and can't obtain accurate measurement data.This moment convertible coordinate system; Through being installed in the precision location clamp device on the Z axle; Make laser measuring head aim at the surface that measured object need be measured; Detect the measurement data obtained through scanning, flow to carry out the coordinate system transformation computing in thecomputer control center 14 after, also can accurately export measured object the whole three-dimensional geometry numerical value that will survey.
Adopt the present invention of technique scheme to have the following advantages:
The first, the natural granite materials hot deformation is little, is the basic building block that the precision measurement industry generally adopts, and the condition of present domestic processing possesses, and starting material more need not import.Popularizing the 3 D measuring instrument that uses this invention in an all-round way improves domestic Technology of Precision Measurement level; Or when all playing in the process of energy-saving and emission-reduction and industrial automation day, the advantage of land productivity; The technology that possesses autonomous innovation also can be in China, Asia, even the positive effect of the Technology of Precision Measurement in whole world performance.Make numerous precision, the quick measuring technique talents of cultivation in the big country in the world, in process of production, save a large amount of product detection times; Detect the accuracy requirement of higher product and parts; To the manufacturing center of China by the whole world, develop into research and development centre, play certain help.
The second, soft, application technology that hardware is skilled in addition of the present invention, the effect of its enforcement can be expected.After the extensive enforcement in the whole world, especially accurate the manufacturing with the precision measurement industry of all industry played huge technological improvement, effect is also considerable certainly aspect saving human resources and increase yield-power.
The 3rd, the present invention helps to solve the complex three-dimensional curved surface and accurately measures a difficult problem after implementing, and not only can guarantee measuring accuracy, and exists the complex three-dimensional curved surface of depression also can carry out precision measurement for some side.
In addition, in embodiment of the present invention scheme shown in Figure 1, though as feel that the precise clamp of two groups of electronic controls among Fig. 1 can be according to the selected arbitrarily anglec of rotation of different measured piece forms, coordinate conversion and data processing be difficulty.Also available precision positioning rolling clamp substitutes.
Though 360 ° of rolling clamps rotate in 360 ° of scopes, only measure the simplified measurement data processing 0,90,180,270 4 certain location.Four certain location precision are then guaranteed by the precise clamp location.
Be installed in 90 ° of rolling clamps on the Z axle, " positioning of rotating anchor clamps " (patent No. ZL2008 2 00560840) of available our company exploitation substitute.Be installed in 90 ° of rolling clamps on the Z axle, have only before the rotation and the back two kinds of states of rotation, facing to the measurement of XY flat scanning, then measure facing to YZ plane or ZX flat scanning after the rotation before the rotation, the measurement data conversion process is very convenient.
2, be the measuring instrument pedestal (like " 1 " among Fig. 1) that main member is made with the natural granite material: it is moving that its surveying work platform is only made y-axis shift, and Y, Z shaft device are on column and crossbeam (planer-type).To some small-sized measuring machines; Also can X, Y axle be arranged at the base upper support surveying work platform of main body; Only the Z axle is arranged on column and the crossbeam (planer-type), still orders about three through-drive structures separately by three set drives and servomotor respectively and on base and crossbeam, moves respectively or three-shaft linkage.Drive mechanism also each free three groups of accurate screw rod adds line slideway or travelling belt and adds the floating device of vapour and form.This structure when measuring workpieces or object can with this workpiece or object and laser sensor (traditional employed contact type probe) do corresponding about, front and back, three-dimensional displacement up and down.
More than all embodiment only supply to explain the present invention's usefulness; But not limitation of the present invention; The technician in relevant technologies field; Under the situation that does not break away from the spirit and scope of the present invention, can also make various conversion or variation, so all technical schemes that are equal to also should belong to category of the present invention and should be limited each claim.

Claims (3)

CN2012101718513A2012-05-292012-05-29Six-axial numerical-control three-dimensional quick laser measurerPendingCN102661723A (en)

Priority Applications (1)

Application NumberPriority DateFiling DateTitle
CN2012101718513ACN102661723A (en)2012-05-292012-05-29Six-axial numerical-control three-dimensional quick laser measurer

Applications Claiming Priority (1)

Application NumberPriority DateFiling DateTitle
CN2012101718513ACN102661723A (en)2012-05-292012-05-29Six-axial numerical-control three-dimensional quick laser measurer

Publications (1)

Publication NumberPublication Date
CN102661723Atrue CN102661723A (en)2012-09-12

Family

ID=46771258

Family Applications (1)

Application NumberTitlePriority DateFiling Date
CN2012101718513APendingCN102661723A (en)2012-05-292012-05-29Six-axial numerical-control three-dimensional quick laser measurer

Country Status (1)

CountryLink
CN (1)CN102661723A (en)

Cited By (24)

* Cited by examiner, † Cited by third party
Publication numberPriority datePublication dateAssigneeTitle
CN103792520A (en)*2013-01-302014-05-14杨洋Terahertz target scattering characteristic test equipment and test method thereof
CN104503364A (en)*2014-11-212015-04-08苏州大学Cutter path measurer for all-ceramic denture grinding system
CN104654968A (en)*2013-11-222015-05-27南京汽车零件有限公司Multi-functional detecting platform for automobile exhaust pipe assembly
CN104677325A (en)*2015-02-142015-06-03浙江大学Measuring instrument and measuring method of complex rotating part profile
CN105043280A (en)*2015-05-182015-11-11北京理工大学Rotating center measuring apparatus and spacing measuring method thereof
CN105222708A (en)*2015-09-292016-01-06爱佩仪中测(成都)精密仪器有限公司A kind of beam with both ends built-in formula 3 D measuring instrument
CN105259178A (en)*2015-11-202016-01-20云南卡索实业有限公司Shearing type linear trace laser detection system
CN105290926A (en)*2014-12-162016-02-03电子科技大学Blade intelligent grinding flexible manufacturing system
CN106595511A (en)*2015-10-192017-04-26沈阳新松机器人自动化股份有限公司Robot laser vision three-dimensional measurement method
CN106895782A (en)*2017-05-052017-06-27苏州天准科技股份有限公司A kind of rapid measurement device of 3D bend glasses
CN106908014A (en)*2017-05-052017-06-30苏州天准科技股份有限公司A kind of five axle measurement apparatus of 3D bend glasses
CN107345791A (en)*2017-09-082017-11-14江苏利普机械有限公司A kind of more size servo detection devices of laser and its detecting system
CN108180851A (en)*2017-12-222018-06-19中国航空工业集团公司北京航空精密机械研究所A kind of five axis image measuring devices for being used to measure air film hole morpheme parameter
WO2018201591A1 (en)*2017-05-052018-11-08苏州天准科技股份有限公司Rapid measurement method for 3d curved glass
CN109539986A (en)*2018-12-312019-03-29为度科创检测技术(苏州)有限公司The coordinate measuring system of three coordinate measuring machine
CN109798864A (en)*2019-01-022019-05-24煤炭科学技术研究院有限公司A kind of deflection measuring device of hydraulic support
CN111226089A (en)*2017-10-232020-06-02格里森计量系统股份有限公司Measuring toothed articles on a compound machine test platform using non-contact sensors
CN111646204A (en)*2020-06-152020-09-11武汉惟景三维科技有限公司Multi-station crankshaft automatic three-dimensional measuring system
CN111664804A (en)*2020-07-062020-09-15中国人民解放军国防科技大学High-precision three-dimensional profile scanning and measuring platform based on glass guide rail
CN112097727A (en)*2020-09-162020-12-18中南大学 A sensor installation fixture and installation method for deformation test of high-speed train skirt
CN112325766A (en)*2020-10-092021-02-05宜兴高泰克精密机械有限公司Image measuring instrument convenient for workpiece moving and positioning
CN112432608A (en)*2020-11-242021-03-02无锡市夸克微智造科技有限责任公司3D measurement system of miniature part
CN115127491A (en)*2022-07-212022-09-30上海市高级技工学校 A kind of numerical control automatic clamping fast measuring system device
CN115235359A (en)*2022-08-062022-10-25中原内配集团安徽有限责任公司Cylinder sleeve inner hole size laser measuring equipment

Citations (6)

* Cited by examiner, † Cited by third party
Publication numberPriority datePublication dateAssigneeTitle
CN1062035A (en)*1990-09-281992-06-17株式会社三丰3 D measuring instrument
JPH09178437A (en)*1995-12-211997-07-11Yunisun:KkThree-dimensional measuring device
CN2608939Y (en)*2003-02-262004-03-31台智精密科技股份有限公司 Three-dimensional measuring instrument
CN201168887Y (en)*2008-03-112008-12-24上海大量光电科技有限公司Rotating localization jigs
CN101846504A (en)*2009-03-262010-09-29有进Instec株式会社The shape inspection method and the testing fixture of sheet material volume
CN202599362U (en)*2012-05-292012-12-12上海大量电子设备有限公司Six-axis numerical control laser fast three-dimensional measuring device

Patent Citations (6)

* Cited by examiner, † Cited by third party
Publication numberPriority datePublication dateAssigneeTitle
CN1062035A (en)*1990-09-281992-06-17株式会社三丰3 D measuring instrument
JPH09178437A (en)*1995-12-211997-07-11Yunisun:KkThree-dimensional measuring device
CN2608939Y (en)*2003-02-262004-03-31台智精密科技股份有限公司 Three-dimensional measuring instrument
CN201168887Y (en)*2008-03-112008-12-24上海大量光电科技有限公司Rotating localization jigs
CN101846504A (en)*2009-03-262010-09-29有进Instec株式会社The shape inspection method and the testing fixture of sheet material volume
CN202599362U (en)*2012-05-292012-12-12上海大量电子设备有限公司Six-axis numerical control laser fast three-dimensional measuring device

Non-Patent Citations (1)

* Cited by examiner, † Cited by third party
Title
李柏奎: "触针式三维粗糙度测量仪的开发及应用", 《润滑与密封》, no. 4, 30 April 2006 (2006-04-30), pages 140 - 142*

Cited By (36)

* Cited by examiner, † Cited by third party
Publication numberPriority datePublication dateAssigneeTitle
CN103792520A (en)*2013-01-302014-05-14杨洋Terahertz target scattering characteristic test equipment and test method thereof
CN104654968A (en)*2013-11-222015-05-27南京汽车零件有限公司Multi-functional detecting platform for automobile exhaust pipe assembly
CN104654968B (en)*2013-11-222018-06-15南京汽车零件有限公司A kind of automobile exhaust pipe assembly multifunctional examining scaffold tower
CN104503364A (en)*2014-11-212015-04-08苏州大学Cutter path measurer for all-ceramic denture grinding system
CN104503364B (en)*2014-11-212017-09-29珠海市晶彩医疗科技有限公司The cutter path measuring instrument of full porcelain artificial tooth grinding system
CN105290926A (en)*2014-12-162016-02-03电子科技大学Blade intelligent grinding flexible manufacturing system
CN104677325B (en)*2015-02-142017-05-17浙江大学Measuring instrument and measuring method of complex rotating part profile
CN104677325A (en)*2015-02-142015-06-03浙江大学Measuring instrument and measuring method of complex rotating part profile
CN105043280B (en)*2015-05-182018-03-09北京理工大学A kind of centre of gyration measurement method for distance
CN105043280A (en)*2015-05-182015-11-11北京理工大学Rotating center measuring apparatus and spacing measuring method thereof
CN105222708A (en)*2015-09-292016-01-06爱佩仪中测(成都)精密仪器有限公司A kind of beam with both ends built-in formula 3 D measuring instrument
CN106595511A (en)*2015-10-192017-04-26沈阳新松机器人自动化股份有限公司Robot laser vision three-dimensional measurement method
CN105259178A (en)*2015-11-202016-01-20云南卡索实业有限公司Shearing type linear trace laser detection system
CN105259178B (en)*2015-11-202019-03-15云南卡索实业有限公司A kind of shearing class linear trace laser detection system
WO2018201591A1 (en)*2017-05-052018-11-08苏州天准科技股份有限公司Rapid measurement method for 3d curved glass
WO2018201590A1 (en)*2017-05-052018-11-08苏州天准科技股份有限公司Rapid measurement device for 3d curved-surface glass
CN106908014A (en)*2017-05-052017-06-30苏州天准科技股份有限公司A kind of five axle measurement apparatus of 3D bend glasses
CN106895782A (en)*2017-05-052017-06-27苏州天准科技股份有限公司A kind of rapid measurement device of 3D bend glasses
CN106908014B (en)*2017-05-052020-04-21苏州天准科技股份有限公司Five-axis measuring device for 3D curved glass
CN107345791B (en)*2017-09-082023-09-29江苏利普机械有限公司Laser multi-size servo detection device and detection system thereof
CN107345791A (en)*2017-09-082017-11-14江苏利普机械有限公司A kind of more size servo detection devices of laser and its detecting system
CN111226089A (en)*2017-10-232020-06-02格里森计量系统股份有限公司Measuring toothed articles on a compound machine test platform using non-contact sensors
CN108180851A (en)*2017-12-222018-06-19中国航空工业集团公司北京航空精密机械研究所A kind of five axis image measuring devices for being used to measure air film hole morpheme parameter
CN108180851B (en)*2017-12-222020-06-05中国航空工业集团公司北京航空精密机械研究所Five-axis image measuring device for measuring shape and position parameters of air film hole
CN109539986A (en)*2018-12-312019-03-29为度科创检测技术(苏州)有限公司The coordinate measuring system of three coordinate measuring machine
CN109798864A (en)*2019-01-022019-05-24煤炭科学技术研究院有限公司A kind of deflection measuring device of hydraulic support
CN111646204A (en)*2020-06-152020-09-11武汉惟景三维科技有限公司Multi-station crankshaft automatic three-dimensional measuring system
CN111646204B (en)*2020-06-152021-11-26武汉惟景三维科技有限公司Multi-station crankshaft automatic three-dimensional measuring system
CN111664804A (en)*2020-07-062020-09-15中国人民解放军国防科技大学High-precision three-dimensional profile scanning and measuring platform based on glass guide rail
CN112097727A (en)*2020-09-162020-12-18中南大学 A sensor installation fixture and installation method for deformation test of high-speed train skirt
CN112097727B (en)*2020-09-162021-07-27中南大学 A sensor installation fixture and installation method for deformation test of high-speed train skirt
CN112325766A (en)*2020-10-092021-02-05宜兴高泰克精密机械有限公司Image measuring instrument convenient for workpiece moving and positioning
CN112325766B (en)*2020-10-092023-12-29宜兴高泰克精密机械有限公司Image measuring instrument convenient for workpiece moving and positioning
CN112432608A (en)*2020-11-242021-03-02无锡市夸克微智造科技有限责任公司3D measurement system of miniature part
CN115127491A (en)*2022-07-212022-09-30上海市高级技工学校 A kind of numerical control automatic clamping fast measuring system device
CN115235359A (en)*2022-08-062022-10-25中原内配集团安徽有限责任公司Cylinder sleeve inner hole size laser measuring equipment

Similar Documents

PublicationPublication DateTitle
CN102661723A (en)Six-axial numerical-control three-dimensional quick laser measurer
CN106354094B (en)Lathe slave laser scanning coordinate scaling method based on space criteria ball
CN201503259U (en)Full-automatic multifunctional sensor geometric measurement system
CN100387931C (en) A high-precision measurement method for large-scale free-form surfaces
CN109458958A (en)A kind of scaling method of turntable center position in four axis vision measurement device
CN109520420A (en)A kind of space coordinate at rotation of rotary table center determines method
CN108507466B (en) A method of obtaining accurate 3D data by using a 2D line laser scanner
CN102937409B (en)Polar coordinate gear measurement center and zero calibrating method thereof
CN202869440U (en)Five-shaft system solid of revolution measuring instrument
CN106125774A (en)Biaxial synchronous motion control device based on laser displacement sensor feedback and method
CN102589492B (en)A kind of large-scale curved flexible detection device
CN102175177A (en)Five-axis optical aspheric surface detection device driven by linear motor
CN110487179A (en)Truss-like industrial measuring system and measurement method based on optical tracking scanner and PLC control system
CN101419044B (en)Micron-nano grade three-dimensional measurement '331' system and measurement method thereof
CN113513986B (en)Geometric tolerance measuring device and measuring method thereof
CN109520417A (en)Lathe geometric error and turntable corner position error calibrating installation and method
CN103196386A (en)Non-contact type rotation part shape error precision detection device and detection method
Iwasawa et al.Development of a measuring method for several types of programmed tool paths for NC machine tools using a laser displacement interferometer and a rotary encoder
CN202599362U (en)Six-axis numerical control laser fast three-dimensional measuring device
CN117526767A (en)Magnetic suspension plane motor and mover six-degree-of-freedom position and posture measuring method thereof
CN102353539A (en)Photoelectric measuring machine for precision transmission chain
CN103630082A (en)Method for measuring inner diameter of steering shaft based on three-dimensional scanning data
CN210464367U (en)Truss type industrial measurement system based on optical tracking scanner and PLC
CN209459530U (en) A device for verification of vernier universal angle ruler
CN114018174B (en)Complex curved surface contour measuring system

Legal Events

DateCodeTitleDescription
C06Publication
PB01Publication
C10Entry into substantive examination
SE01Entry into force of request for substantive examination
C02Deemed withdrawal of patent application after publication (patent law 2001)
WD01Invention patent application deemed withdrawn after publication

Application publication date:20120912


[8]ページ先頭

©2009-2025 Movatter.jp