








技术领域technical field
本发明涉及信号处理领域,更具体地,涉及一种移动终端以及启动移动终端语音操作的方法,实现了移动终端操作的便捷性。The present invention relates to the field of signal processing, and more specifically, to a mobile terminal and a method for starting voice operation of the mobile terminal, which realizes the convenience of mobile terminal operation.
背景技术Background technique
用户通过操作键盘或者点击触摸屏启动移动终端的操作。但是用户还需要注视着移动终端的较小的屏幕来执行上述操作。从而在用户不能双手操作键盘或者点击触摸屏等情况下,不能很方便地开启移动终端的操作功能。The user starts the operation of the mobile terminal by operating the keyboard or clicking the touch screen. But the user also needs to watch the smaller screen of the mobile terminal to perform the above operations. Therefore, when the user cannot operate the keyboard or click on the touch screen with both hands, the operation function of the mobile terminal cannot be opened very conveniently.
触屏移动终端由于屏幕较小,通常会面临操作困难的问题,为提升操作便捷性,手势技术在移动终端上得到较好的应用效果,此外,语音技术也在移动终端上得到了较为广泛的应用。例如,google的语音搜索,用户可以通过语音来完成搜索功能;浏览器的手势操作,可以利用一个特定的手势执行某个复杂操作。Touch-screen mobile terminals usually face the problem of difficult operation due to their small screens. In order to improve the convenience of operation, gesture technology has been better applied on mobile terminals. In addition, voice technology has also been widely used on mobile terminals. application. For example, in Google's voice search, users can complete the search function through voice; in the browser's gesture operation, a specific gesture can be used to perform a certain complex operation.
当前用于移动终端触摸屏的语音控制启动方法主要有以下几种:Currently, there are mainly the following methods for starting voice control on the touch screen of a mobile terminal:
1)点击按钮启动:点击特定的语音控制按钮启动语音控制是最常见的语音启动方式,google voice采用点击语音控制按钮启动。1) Click the button to start: Clicking a specific voice control button to start voice control is the most common voice activation method, and Google Voice is started by clicking the voice control button.
2)长按按钮或特定区域启动:长按物理硬件、屏幕特定区域、按钮启动语音控制也是常见的语音控制启动方式,siri采用了长按主页(home)键启动语音控制。qq采用了长按工具栏(toolbar)启动语音控制。2) Long press the button or a specific area to start: Long press the physical hardware, a specific area of the screen, or a button to start voice control is also a common way to start voice control. Siri uses a long press of the home (home) button to start voice control. Qq uses a long press on the toolbar (toolbar) to start voice control.
3)滑动特定区域启动:uc采用了滑动工具栏启动语音控制。3) Swipe a specific area to start: uc uses a sliding toolbar to start voice control.
上述几种方法启动语音控制的方式仍然依赖于用户采用手动的方式。然而,无论是手势操作还是语音操作,目的都是实现人与移动终端之间的自由交互,而现有技术仅仅有人与移动终端单通道的交互界面,用户只能通过语音操作完成与移动终端的互动性,或者,只能通过手势操作完成与移动终端的互动性。但是在一些难以对触屏移动终端进行精确控制的场合,如步行时,用户无法对移动终端执行操作。The methods for starting the voice control in the above-mentioned several methods still rely on the manual mode adopted by the user. However, whether it is gesture operation or voice operation, the purpose is to realize free interaction between people and mobile terminals, while the existing technology only has a single-channel interaction interface between people and mobile terminals, and users can only complete the interaction with mobile terminals through voice operations. Interactivity, or, the interaction with the mobile terminal can only be accomplished through gesture operations. However, in some occasions where it is difficult to precisely control the touch-screen mobile terminal, such as when walking, the user cannot perform operations on the mobile terminal.
发明内容Contents of the invention
实现了本发明,用户无需操作键盘或者点击触摸屏即可实现开启语音操作功能。本发明的目的是提出一种移动终端以及启用移动终端的方法。实现用户通过晃动、贴近面部或者大声说话,语音输入,即可开启移动终端的语音操作功能,使得人与移动终端的交互更加自然和便捷。After realizing the present invention, the user can start the voice operation function without operating the keyboard or clicking the touch screen. The object of the invention is to propose a mobile terminal and a method of enabling the mobile terminal. Realize that the user can turn on the voice operation function of the mobile terminal by shaking, close to the face or speaking loudly, and voice input, making the interaction between people and the mobile terminal more natural and convenient.
用户通过动作或音量控制语音操作的开启,从而,用户对移动终端的操作非常便捷,无需注视移动终端的屏幕以及无需双手点击键盘或者触摸屏来开启语音操作功能。The user controls the opening of the voice operation through motion or volume, so that the user operates the mobile terminal very conveniently, without looking at the screen of the mobile terminal and clicking the keyboard or touch screen with both hands to activate the voice operation function.
根据本发明的第一方面,提出一种移动终端,包括检测单元,与所述检测单元连接的控制单元以及与所述控制单元连接的启动单元,其中:所述检测单元用于检测触发事件;所述控制单元用于基于触发事件向所述启动单元发出启动信号;所述启动单元用于根据控制单元发出的启动信号启动语音操作。According to the first aspect of the present invention, a mobile terminal is proposed, including a detection unit, a control unit connected to the detection unit, and a start unit connected to the control unit, wherein: the detection unit is used to detect a trigger event; The control unit is configured to send an activation signal to the activation unit based on a trigger event; the activation unit is configured to activate the voice operation according to the activation signal sent by the control unit.
根据本发明的第二方面,提出一种启动移动终端语音操作的方法,所述移动终端包括检测单元,与所述检测单元连接的控制单元以及与所述控制单元连接的启动单元,所述方法包括:检测步骤,检测单元检测触发事件;控制步骤,控制单元基于触发事件向所述启动单元发出启动信号;启动步骤,所述启动单元根据所述控制单元发出的启动信号启动语音操作。According to the second aspect of the present invention, a method for starting a voice operation of a mobile terminal is proposed, the mobile terminal includes a detection unit, a control unit connected to the detection unit, and a start unit connected to the control unit, the method It includes: a detection step, the detection unit detects a trigger event; a control step, the control unit sends a start signal to the start unit based on the trigger event; a start step, the start unit starts the voice operation according to the start signal sent by the control unit.
附图说明Description of drawings
从下面结合附图的详细描述中,本发明的上述特征和优点将更明显,其中:From the following detailed description in conjunction with the accompanying drawings, the above-mentioned features and advantages of the present invention will be more apparent, wherein:
图1a示出根据本发明第一实施例的移动终端的方框图;Figure 1a shows a block diagram of a mobile terminal according to a first embodiment of the present invention;
图1b示出根据本发明第二实施例的移动终端的方框图;Figure 1b shows a block diagram of a mobile terminal according to a second embodiment of the present invention;
图1c示出根据本发明第三实施例的移动终端的方框图;Figure 1c shows a block diagram of a mobile terminal according to a third embodiment of the present invention;
图1d示出根据本发明第三实施例的移动终端的方框图;Figure 1d shows a block diagram of a mobile terminal according to a third embodiment of the present invention;
图2a示出根据本发明第一实施例的启动移动终端语音操作的流程图;Fig. 2a shows the flowchart of starting the voice operation of the mobile terminal according to the first embodiment of the present invention;
图2b示出根据本发明第二实施例的启动移动终端语音操作的流程图;Fig. 2b shows the flowchart of starting the voice operation of the mobile terminal according to the second embodiment of the present invention;
图2c示出根据本发明第三实施例的启动移动终端语音操作的流程图;Fig. 2c shows the flowchart of starting the voice operation of the mobile terminal according to the third embodiment of the present invention;
图3a是通过摇晃启动移动终端语音操作的一个示例;Figure 3a is an example of starting a mobile terminal voice operation by shaking;
图3b是通过贴近面部启动移动终端语音操作的一个示例;Figure 3b is an example of starting a mobile terminal voice operation by being close to the face;
图3c是通过音量启用动终端语音操作的一个示例。Fig. 3c is an example of activating the voice operation of the terminal through volume activation.
具体实施方式Detailed ways
下面,将参考附图描述本发明的优选实施例。在附图中,相同的元件将由相同的参考符号或数字表示。此外,在本发明的下列描述中,将省略对已知功能和配置的具体描述,以避免使本发明的主题不清楚。Hereinafter, preferred embodiments of the present invention will be described with reference to the accompanying drawings. In the drawings, the same elements will be denoted by the same reference symbols or numerals. Also, in the following description of the present invention, detailed descriptions of known functions and configurations will be omitted to avoid making the subject matter of the present invention unclear.
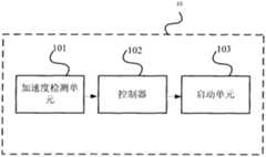
图1a示出了根据本发明第一实施例的移动终端的示意图。移动终端10包括:加速度检测单元101,用于检测移动终端的加速度;控制器102,用于在检测的加速度大于移动终端预先设定的加速度阈值时向启动单元103发送启动命令;以及启动单元103,用于根据接收到的启动命令,启动相应的语音操作。移动终端10还包括输入单元、输出单元、通信单元、存储单元等,出于清楚的目的,在此并未示出。加速度检测单元101可以采用已知的加速度传感器实现。Fig. 1a shows a schematic diagram of a mobile terminal according to a first embodiment of the present invention. The
图2a示出根据本发明第一实施例的启用移动终端语音操作的流程图。在步骤S21,加速度检测单元101检测移动终端的加速度。当移动终端运动时,加速度检测单元101将捕捉加速度的变化。速度检测单元101可以对检测的加速度进行低通滤波,得到在空间X/Y/Z三个轴上的连续变化值(例如,X方向从1.0,1.2,1.5到2.0)。通常从加速度传感器取得的值,受各方面外界轻微震动影响(比如人手),即使平放不动,加速度的值也不会是一直恒定的,而是呈现出轻微的波动。这种波动属于长波形式,为了去掉这种长波干扰的影响采用低通滤波机制。Fig. 2a shows a flow chart of enabling voice operation of a mobile terminal according to the first embodiment of the present invention. In step S21, the
在步骤S22,控制器102判断检测到的移动终端的加速度数值是否大于移动终端预先设定的加速度阈值,本发明的用户可以在X轴、Y轴或者Z轴方向上通过摇一摇移动终端启动语音操作,例如沿着移动终端的X轴、Y轴或者Z轴方向转动移动终端。控制器102可以对任意轴方向加速度值是否超过设定的阈值进行判断。如果判断结果则在步骤S23,控制器102向启动单元103发送启动命令。在步骤S24,启动单元103接收到启动命令时,启动对应的语音操作。可选地,控制器102还可以对任意轴方向加速度值是否超过设定的阈值变化是否从小到大然后到小进行判断。可选地,若有插件使用“摇一摇”,优先响应启动语音操作,除非用户关闭摇一摇启动语音操作。In step S22, the
图3a是通过采用摇一摇方式启动移动终端语音操作的一个示例。Fig. 3a is an example of starting the voice operation of the mobile terminal by adopting a shake method.
本发明启动的语音操作包括,但不限于,启动语音输入操作,启动语音浏览器、启动语音电话本以及启动语音操作界面。The voice operation activated in the present invention includes, but not limited to, voice input operation activation, voice browser activation, voice phonebook activation, and voice operation interface activation.
采用根据本发明第一实施例的移动终端,当用户摇一摇该移动终端时,该移动终端可以自动识别出用户的动作开启语音操作。从而用户通过特定动作即可实现对语音操作的开启,无需用户手动操作移动终端的键盘或者触摸屏。用户更方便地使用移动终端,尤其是在一些难以对触屏移动终端进行精确控制的情况下。With the mobile terminal according to the first embodiment of the present invention, when the user shakes the mobile terminal, the mobile terminal can automatically recognize the user's action and start voice operation. Thus, the user can enable the voice operation through a specific action, without the need for the user to manually operate the keyboard or touch screen of the mobile terminal. It is more convenient for the user to use the mobile terminal, especially in some situations where it is difficult to precisely control the touch screen mobile terminal.
图1b是根据本发明第二实施例的移动终端的示意图。移动终端20包括:加速度检测单元101,用于检测移动终端的加速度并将其数值作为第一数据传送至控制器102;接近传感器(proximity sensor)201,用于检测设备与用户之间的距离作为第二数据传送至控制器102;环境光传感器(ambient light sensor)202,用于检测移动终端的环境光信号作为第三数据传送至控制器102;控制器102,用于在第一数据大于预定的第一阈值,第二数据与第三数据分别小于预定的第二阈值与三阈值时,向启动单元103发送启动命令;以及,启动单元103,用于根据接收到的启动命令,启动相应的语音操作。移动终端20还包括输入单元、输出单元、通信单元、存储单元等,出于清楚的目的,在此并未示出。Fig. 1b is a schematic diagram of a mobile terminal according to a second embodiment of the present invention. The
图2b示出根据本发明第二实施例的启用移动终端语音操作的流程图。在步骤S31,加速度检测单元101检测移动终端的加速度传送至控制器102。在步骤S32,接近传感器201检测移动终端与用户面部的距离或者移动终端与用户耳部的距离传送至控制器102。在步骤S33,环境光传感器202检测用户的环境光感数据传送至控制器102。在步骤S34,控制器102基于接收到的上述数据执行下列判断:加速度变化数值是否在X轴、Y轴或者Z轴的任一轴超过预定的第一阈检测的距离是否小于预定的第二阈值以及环境光感数据是否小于预定的第三阈值,在步骤S35,如果上述判断结果为是,则控制器102向启动单元103发送启动命令;最后,在步骤S36,启动单元103根据接收到的启动命令,启动相应的语音操作。其中,步骤S31,S32,S33执行顺序可以变化。可选地,控制器可以判断加速度变化数值是否在X轴、Y轴或者Z轴的任一轴超过预定的第一阈值并且速度变化是否从小到大。Fig. 2b shows a flow chart of enabling a voice operation of a mobile terminal according to a second embodiment of the present invention. In step S31 , the
图3b是通过贴近面部启动移动终端语音操作的一个示例。Fig. 3b is an example of starting a voice operation of a mobile terminal by approaching the face.
采用根据本发明第二实施例的移动终端,当用户做出将该移动终端贴近耳部或者靠近面部的动作时,该移动终端可以自动识别出用户的动作开启语音操作。从而用户通过特定动作即可实现对语音操作的开启,无需手动操作移动终端的键盘或者触摸屏。With the mobile terminal according to the second embodiment of the present invention, when the user puts the mobile terminal close to the ear or close to the face, the mobile terminal can automatically recognize the user's action and start the voice operation. In this way, the user can enable the voice operation through a specific action, without manually operating the keyboard or touch screen of the mobile terminal.
图1c示出根据本发明第三实施例的移动终端的方框图。移动终端30包括:充电检测电路401,用于检测移动终端充电状态,并将充电状态信号发送至控制器102;语音监听单元402,用于接收用户输入的语音;控制器102,用于根据充电状态信号打开/关闭语音监听单元以及在用户输入的语音满足预定条件时向启动单元103发送启动命令;以及启动单元103,用于启动语音操作。Fig. 1c shows a block diagram of a mobile terminal according to a third embodiment of the present invention. The
图2c示出根据本发明第三实施例的启动移动终端语音操作的流程图。首先,在步骤S41,充电检测电路401检测移动终端充电状态,并将充电状态信号发送至控制器102。充电状态包括充电/断电。在步骤S42,如果控制器102接收到的状态信号是充电信号,则打开语音监听单元402。在步骤S43,语音监听单元402监听用户输入的语音。在步骤S44,控制器102对用户输入的语音执行下列判断:语音的分贝值是否大于预定的阈值或者语音与移动终端中预先设置的语音命令匹配,例如,移动终端中预先设置的语音命令包括“海豚”、“浏览器”等,而用户输入的语音命令是“海豚”,其与预先设置的语音命令匹配。在步骤S45,在控制器102判断出语音的分贝值大于预定的阈值或者语音与移动终端中预先设置的语音命令匹配时,控制器102向启动单元103发送启动命令。在步骤S46,启动单元103接收到启动命令时,启动对应的语音操作。如果控制器102接收到的状态信号是断电信号,则关闭语音监听单元402,以节省电能。Fig. 2c shows a flow chart of starting a voice operation of a mobile terminal according to a third embodiment of the present invention. First, in step S41 , the charging
本发明的移动终端可以采用一直语音监听的方式,但是由于语音控制的监听过程需要持续录制声音会产生电量损耗,可选地,在充电状态下保持语音控制的监听,一方面可以解决电量损耗的问题,另一方面可以让用户的语音控制便捷性最大化。The mobile terminal of the present invention can adopt the mode of continuous voice monitoring, but because the voice-controlled monitoring process requires continuous recording of sound, power consumption will be generated. Optionally, the voice-controlled monitoring can be maintained in the charging state, on the one hand, it can solve the problem of power consumption. On the other hand, it can maximize the convenience of the user's voice control.
图3c是通过音量启动移动终端语音操作的一个示例。Fig. 3c is an example of starting the voice operation of the mobile terminal by volume.
采用根据本发明第三实施例的移动终端,用户仅通过音量或者语音即可控制启动语音操作。而在充电状态下保持对语音控制的监听,实现了用户的语音控制便捷性最大化,也解决了电量损耗的问题。With the mobile terminal according to the third embodiment of the present invention, the user can control and start the voice operation only through volume or voice. In the charging state, the monitoring of the voice control is maintained, which maximizes the convenience of the user's voice control and solves the problem of power consumption.
图1d示出根据本发明第四实施例的移动终端的示意图。其与第一至第三实施例的移动终端的区别在于,该移动终端集成了加速度检测单元101,接近传感器201,环境光传感器202,充电检测电路401以及语音监听单元402。可选地,可以在移动终端内设置一可供用户操控的元件,该元件可以是硬件或者软件,用户可以通过该元件从摇一摇方式、贴近面部或耳部方式、或者音量或语音方式中选择一种使用,也可以选择关闭上述三种启动语音操作的方式中的任一种。从而用户可以通过多种方式实现对移动终端语音操作的控制。Fig. 1d shows a schematic diagram of a mobile terminal according to a fourth embodiment of the present invention. The difference between it and the mobile terminals in the first to third embodiments is that the mobile terminal integrates an
通过采用本发明的移动终端以及启动移动终端语音操作的方法,用户无需按键或者点击屏幕即可实现对语音操作的控制,增加了移动终端的便捷性以及增强了用户与移动终端的交互性。By adopting the mobile terminal and the method for starting the voice operation of the mobile terminal of the present invention, the user can control the voice operation without pressing keys or clicking the screen, which increases the convenience of the mobile terminal and enhances the interaction between the user and the mobile terminal.
应该指出,本发明不局限于上面所描述的实施例,还可以扩展到其它技术领域,涉及语音信号处理的领域均可考虑本发明,或者可以将本发明的技术方案应用到其它相关产品或者方法。虽然已经结合优选实施例对本发明进行了描述,但是这样的描述仅出于说明的目的,应该理解,本领域技术人员在不脱离所附权利要求的精神和范围的情况下可以进行其它的修改、替换和变化。It should be pointed out that the present invention is not limited to the above-described embodiments, and can also be extended to other technical fields. The field of speech signal processing can consider the present invention, or the technical solution of the present invention can be applied to other related products or methods . While the invention has been described in connection with preferred embodiments, such description is for illustrative purposes only, and it is to be understood that other modifications may be made by those skilled in the art without departing from the spirit and scope of the following claims. Substitutions and Variations.
| Application Number | Priority Date | Filing Date | Title |
|---|---|---|---|
| CN2012100297945ACN102609091A (en) | 2012-02-10 | 2012-02-10 | Mobile terminal and method for starting voice operation thereof |
| Application Number | Priority Date | Filing Date | Title |
|---|---|---|---|
| CN2012100297945ACN102609091A (en) | 2012-02-10 | 2012-02-10 | Mobile terminal and method for starting voice operation thereof |
| Publication Number | Publication Date |
|---|---|
| CN102609091Atrue CN102609091A (en) | 2012-07-25 |
| Application Number | Title | Priority Date | Filing Date |
|---|---|---|---|
| CN2012100297945APendingCN102609091A (en) | 2012-02-10 | 2012-02-10 | Mobile terminal and method for starting voice operation thereof |
| Country | Link |
|---|---|
| CN (1) | CN102609091A (en) |
| Publication number | Priority date | Publication date | Assignee | Title |
|---|---|---|---|---|
| CN102857612A (en)* | 2012-08-30 | 2013-01-02 | 广东欧珀移动通信有限公司 | A method and mobile phone for automatic recording during a call |
| CN102938808A (en)* | 2012-11-23 | 2013-02-20 | 北京小米科技有限责任公司 | Information recording method and device of mobile terminal |
| CN103116412A (en)* | 2013-02-05 | 2013-05-22 | 广东欧珀移动通信有限公司 | Method and system for starting music player |
| CN103150671A (en)* | 2013-04-09 | 2013-06-12 | 上海合合信息科技发展有限公司 | Method and system for TV shopping using mobile terminal |
| CN103152474A (en)* | 2013-01-30 | 2013-06-12 | 深圳市金立通信设备有限公司 | Mobile terminal recording method and mobile terminal |
| CN103227865A (en)* | 2013-04-10 | 2013-07-31 | 深圳市金立通信设备有限公司 | Display method of voice recognition interface and mobile terminal |
| CN103345347A (en)* | 2013-07-17 | 2013-10-09 | 华为技术有限公司 | Method and device for commenting page content |
| CN103558916A (en)* | 2013-11-07 | 2014-02-05 | 百度在线网络技术(北京)有限公司 | Man-machine interaction system, method and device |
| CN103581419A (en)* | 2012-08-06 | 2014-02-12 | 百度在线网络技术(北京)有限公司 | Mobile communication device and control method thereof |
| CN103714811A (en)* | 2013-12-29 | 2014-04-09 | 广州视声电子科技有限公司 | Voice-control real-estate system method and device |
| CN103905638A (en)* | 2014-03-10 | 2014-07-02 | 联想(北京)有限公司 | Information processing method and electronic device |
| CN104144252A (en)* | 2013-11-28 | 2014-11-12 | 腾讯科技(深圳)有限公司 | Voice communication method and mobile terminal |
| CN104219388A (en)* | 2014-08-28 | 2014-12-17 | 小米科技有限责任公司 | Voice control method and device |
| CN104252330A (en)* | 2013-06-28 | 2014-12-31 | 联想(北京)有限公司 | Information processing method and electronic equipment |
| CN104360872A (en)* | 2014-10-15 | 2015-02-18 | 深圳市学立佳教育科技有限公司 | External device for starting app under IOS (Iphone Operation System) environment by utilizing audio interface |
| CN104503691A (en)* | 2014-11-27 | 2015-04-08 | 小米科技有限责任公司 | Equipment control method and device |
| CN104571529A (en)* | 2015-01-28 | 2015-04-29 | 锤子科技(北京)有限公司 | Application wake method and mobile terminal |
| CN104731315A (en)* | 2013-12-20 | 2015-06-24 | 联想(新加坡)私人有限公司 | Enabling device features according to gesture input |
| CN104750233A (en)* | 2013-12-27 | 2015-07-01 | 联想(北京)有限公司 | Information processing method and information processing device |
| CN104811610A (en)* | 2015-04-01 | 2015-07-29 | 广东欧珀移动通信有限公司 | Method and device for controlling rotation of camera |
| CN104954525A (en)* | 2014-03-31 | 2015-09-30 | 长沙神府智能科技有限公司 | Support capable of starting siri function of iphone |
| CN105827804A (en)* | 2015-08-28 | 2016-08-03 | 维沃移动通信有限公司 | Control method and device of mobile terminal |
| US9467403B2 (en) | 2013-11-28 | 2016-10-11 | Tencent Technology (Shenzhen) Company Limited | Method and mobile terminal for speech communication |
| CN106228797A (en)* | 2016-09-30 | 2016-12-14 | 捷开通讯(深圳)有限公司 | Remote control system based on mobile device and remote control thereof thereof |
| CN106383644A (en)* | 2016-09-19 | 2017-02-08 | 广东小天才科技有限公司 | Voice recognition starting method and device of electronic equipment |
| CN107390851A (en)* | 2016-04-25 | 2017-11-24 | 感官公司 | Support the accurate intelligent listening pattern listened to all the time |
| CN111443717A (en)* | 2020-04-24 | 2020-07-24 | 张咏 | An inspection robot system based on voice recognition control |
| CN112558915A (en)* | 2020-12-25 | 2021-03-26 | 北京百度网讯科技有限公司 | Voice broadcasting method and device, electronic equipment, medium and product |
| CN118870263A (en)* | 2024-09-26 | 2024-10-29 | 成都航天通信设备有限责任公司 | Intelligent head-mounted transmitter and receiver and communication method |
| Publication number | Priority date | Publication date | Assignee | Title |
|---|---|---|---|---|
| EP0999542A1 (en)* | 1998-11-02 | 2000-05-10 | Ncr International Inc. | Methods of and apparatus for hands-free operation of a voice recognition system |
| JP2003131691A (en)* | 2001-10-23 | 2003-05-09 | Fujitsu Ten Ltd | Voice interactive system |
| JP2004294945A (en)* | 2003-03-28 | 2004-10-21 | Toshiba Corp | Voice recognition device |
| US20100121636A1 (en)* | 2008-11-10 | 2010-05-13 | Google Inc. | Multisensory Speech Detection |
| CN102291487A (en)* | 2011-07-08 | 2011-12-21 | 中国联合网络通信集团有限公司 | Short message reading method and mobile terminal equipment |
| Publication number | Priority date | Publication date | Assignee | Title |
|---|---|---|---|---|
| EP0999542A1 (en)* | 1998-11-02 | 2000-05-10 | Ncr International Inc. | Methods of and apparatus for hands-free operation of a voice recognition system |
| JP2003131691A (en)* | 2001-10-23 | 2003-05-09 | Fujitsu Ten Ltd | Voice interactive system |
| JP2004294945A (en)* | 2003-03-28 | 2004-10-21 | Toshiba Corp | Voice recognition device |
| US20100121636A1 (en)* | 2008-11-10 | 2010-05-13 | Google Inc. | Multisensory Speech Detection |
| CN102291487A (en)* | 2011-07-08 | 2011-12-21 | 中国联合网络通信集团有限公司 | Short message reading method and mobile terminal equipment |
| Publication number | Priority date | Publication date | Assignee | Title |
|---|---|---|---|---|
| CN103581419A (en)* | 2012-08-06 | 2014-02-12 | 百度在线网络技术(北京)有限公司 | Mobile communication device and control method thereof |
| CN102857612A (en)* | 2012-08-30 | 2013-01-02 | 广东欧珀移动通信有限公司 | A method and mobile phone for automatic recording during a call |
| CN102938808B (en)* | 2012-11-23 | 2016-03-23 | 小米科技有限责任公司 | Information method for recording in mobile terminal and device |
| CN102938808A (en)* | 2012-11-23 | 2013-02-20 | 北京小米科技有限责任公司 | Information recording method and device of mobile terminal |
| US9553968B2 (en) | 2012-11-23 | 2017-01-24 | Xiaomi Inc. | Method and device for recording information |
| WO2014079217A1 (en)* | 2012-11-23 | 2014-05-30 | 小米科技有限责任公司 | Method and device for recording information in mobile terminal |
| CN103152474A (en)* | 2013-01-30 | 2013-06-12 | 深圳市金立通信设备有限公司 | Mobile terminal recording method and mobile terminal |
| CN103116412A (en)* | 2013-02-05 | 2013-05-22 | 广东欧珀移动通信有限公司 | Method and system for starting music player |
| CN103150671A (en)* | 2013-04-09 | 2013-06-12 | 上海合合信息科技发展有限公司 | Method and system for TV shopping using mobile terminal |
| CN103227865A (en)* | 2013-04-10 | 2013-07-31 | 深圳市金立通信设备有限公司 | Display method of voice recognition interface and mobile terminal |
| CN104252330A (en)* | 2013-06-28 | 2014-12-31 | 联想(北京)有限公司 | Information processing method and electronic equipment |
| CN104252330B (en)* | 2013-06-28 | 2019-12-24 | 联想(北京)有限公司 | Information processing method and electronic equipment |
| CN103345347A (en)* | 2013-07-17 | 2013-10-09 | 华为技术有限公司 | Method and device for commenting page content |
| CN103345347B (en)* | 2013-07-17 | 2016-03-30 | 华为技术有限公司 | A kind of method and apparatus that content of pages is commented on |
| CN103558916A (en)* | 2013-11-07 | 2014-02-05 | 百度在线网络技术(北京)有限公司 | Man-machine interaction system, method and device |
| CN104144252A (en)* | 2013-11-28 | 2014-11-12 | 腾讯科技(深圳)有限公司 | Voice communication method and mobile terminal |
| US9467403B2 (en) | 2013-11-28 | 2016-10-11 | Tencent Technology (Shenzhen) Company Limited | Method and mobile terminal for speech communication |
| CN104144252B (en)* | 2013-11-28 | 2016-04-20 | 腾讯科技(深圳)有限公司 | A kind of voice communication method and mobile terminal |
| US9971412B2 (en) | 2013-12-20 | 2018-05-15 | Lenovo (Singapore) Pte. Ltd. | Enabling device features according to gesture input |
| CN104731315A (en)* | 2013-12-20 | 2015-06-24 | 联想(新加坡)私人有限公司 | Enabling device features according to gesture input |
| CN104731315B (en)* | 2013-12-20 | 2018-10-30 | 联想(新加坡)私人有限公司 | Equipment feature is enabled according to gesture input |
| CN104750233B (en)* | 2013-12-27 | 2017-12-29 | 联想(北京)有限公司 | Information processing method and message processing device |
| CN104750233A (en)* | 2013-12-27 | 2015-07-01 | 联想(北京)有限公司 | Information processing method and information processing device |
| CN103714811B (en)* | 2013-12-29 | 2016-09-14 | 广州视声智能科技有限公司 | A kind of Voice-control real-estate system method and device |
| CN103714811A (en)* | 2013-12-29 | 2014-04-09 | 广州视声电子科技有限公司 | Voice-control real-estate system method and device |
| CN103905638A (en)* | 2014-03-10 | 2014-07-02 | 联想(北京)有限公司 | Information processing method and electronic device |
| CN103905638B (en)* | 2014-03-10 | 2016-10-05 | 联想(北京)有限公司 | A kind of information processing method and electronic equipment |
| CN104954525A (en)* | 2014-03-31 | 2015-09-30 | 长沙神府智能科技有限公司 | Support capable of starting siri function of iphone |
| CN104954525B (en)* | 2014-03-31 | 2018-06-05 | 长沙神府智能科技有限公司 | A kind of stent that can start iPhone siri functions |
| CN104219388A (en)* | 2014-08-28 | 2014-12-17 | 小米科技有限责任公司 | Voice control method and device |
| CN104360872B (en)* | 2014-10-15 | 2018-02-13 | 深圳市学立佳教育科技有限公司 | Start app method using COBBAIF under IOS environment according to external device (ED) |
| CN104360872A (en)* | 2014-10-15 | 2015-02-18 | 深圳市学立佳教育科技有限公司 | External device for starting app under IOS (Iphone Operation System) environment by utilizing audio interface |
| CN104503691B (en)* | 2014-11-27 | 2018-11-30 | 小米科技有限责任公司 | Apparatus control method, device and intelligent terminal |
| CN104503691A (en)* | 2014-11-27 | 2015-04-08 | 小米科技有限责任公司 | Equipment control method and device |
| CN104571529A (en)* | 2015-01-28 | 2015-04-29 | 锤子科技(北京)有限公司 | Application wake method and mobile terminal |
| CN104811610B (en)* | 2015-04-01 | 2017-11-17 | 广东欧珀移动通信有限公司 | A kind of method and device for controlling camera rotation |
| CN104811610A (en)* | 2015-04-01 | 2015-07-29 | 广东欧珀移动通信有限公司 | Method and device for controlling rotation of camera |
| CN105827804A (en)* | 2015-08-28 | 2016-08-03 | 维沃移动通信有限公司 | Control method and device of mobile terminal |
| CN107390851A (en)* | 2016-04-25 | 2017-11-24 | 感官公司 | Support the accurate intelligent listening pattern listened to all the time |
| US10880833B2 (en) | 2016-04-25 | 2020-12-29 | Sensory, Incorporated | Smart listening modes supporting quasi always-on listening |
| CN106383644A (en)* | 2016-09-19 | 2017-02-08 | 广东小天才科技有限公司 | Voice recognition starting method and device of electronic equipment |
| CN106228797A (en)* | 2016-09-30 | 2016-12-14 | 捷开通讯(深圳)有限公司 | Remote control system based on mobile device and remote control thereof thereof |
| CN111443717A (en)* | 2020-04-24 | 2020-07-24 | 张咏 | An inspection robot system based on voice recognition control |
| CN111443717B (en)* | 2020-04-24 | 2021-07-06 | 南京硅基智能科技有限公司 | An inspection robot system based on voice recognition control |
| CN112558915A (en)* | 2020-12-25 | 2021-03-26 | 北京百度网讯科技有限公司 | Voice broadcasting method and device, electronic equipment, medium and product |
| CN118870263A (en)* | 2024-09-26 | 2024-10-29 | 成都航天通信设备有限责任公司 | Intelligent head-mounted transmitter and receiver and communication method |
| Publication | Publication Date | Title |
|---|---|---|
| CN102609091A (en) | Mobile terminal and method for starting voice operation thereof | |
| CN108762954B (en) | Object sharing method and mobile terminal | |
| KR102126181B1 (en) | An ultra low power apparatus and method to wake up a main processor | |
| CN109643203B (en) | A method and terminal for lighting a screen of a dual-screen terminal | |
| CN108431756B (en) | Method and electronic device for responding to gestures acting on a touchscreen of an electronic device | |
| CN110456911B (en) | Electronic device control method and device, electronic device, and readable storage medium | |
| WO2019120087A1 (en) | Processing method for reducing power consumption and mobile terminal | |
| WO2018027501A1 (en) | Terminal, touch response method, and device | |
| CN104657057A (en) | Terminal waking method and device | |
| CN110413315A (en) | Application program control method and electronic device | |
| EP3764254B1 (en) | Fingerprint unlocking method, and terminal | |
| KR20140089224A (en) | Device and method for executing operation based on touch-input | |
| CN108132749B (en) | Image editing method and mobile terminal | |
| CN109032447A (en) | A kind of icon processing method and mobile terminal | |
| CN107635072A (en) | Method for controlling mobile terminal and mobile terminal | |
| CN110209275A (en) | Terminal control method and terminal | |
| WO2019034110A1 (en) | Button control method, storage medium, and smart terminal | |
| CN101604203A (en) | Handheld electronic product and control method for automatically switching operation modes | |
| WO2017035818A1 (en) | Method of controlling electronic apparatus, and device and electronic apparatus utilizing same | |
| CN105242867A (en) | Handset and control method therefor | |
| CN107340996A (en) | Screen lights method and device | |
| CN108170360B (en) | Control method of gesture function and mobile terminal | |
| CN106980558A (en) | Backup data cleaning method and mobile terminal | |
| CN109491741A (en) | A kind of method and terminal switching background skin | |
| WO2022217591A1 (en) | Function wake-up method, terminal and storage medium |
| Date | Code | Title | Description |
|---|---|---|---|
| C06 | Publication | ||
| PB01 | Publication | ||
| C10 | Entry into substantive examination | ||
| SE01 | Entry into force of request for substantive examination | ||
| ASS | Succession or assignment of patent right | Owner name:BAINA (WUHAN) INFORMATION TECHNOLOGY CO., LTD. Free format text:FORMER OWNER: BEIJING BAINA INFORMATION TECHNOLOGY CO., LTD. Effective date:20130924 | |
| C41 | Transfer of patent application or patent right or utility model | ||
| COR | Change of bibliographic data | Free format text:CORRECT: ADDRESS; FROM: 100083 HAIDIAN, BEIJING TO: 430074 WUHAN, HUBEI PROVINCE | |
| TA01 | Transfer of patent application right | Effective date of registration:20130924 Address after:430074, No. 77 Optics Valley Avenue, Hubei, Optics Valley, Wuhan finance port, A2 building, 3 floor Applicant after:All China (Wuhan) Information Technology Co., Ltd. Address before:100083, Beijing, Haidian District, a clear road No. 38 Gold Hotel, room 607-608, room 6 Applicant before:Beijing Mobo Tap Technology Co., Ltd. | |
| RJ01 | Rejection of invention patent application after publication | ||
| RJ01 | Rejection of invention patent application after publication | Application publication date:20120725 |