Movatterモバイル変換


[0]ホーム

URL:


CN102595269A - Loss prevention method based on Bluetooth device and assorted Bluetooth headset - Google Patents

Loss prevention method based on Bluetooth device and assorted Bluetooth headset
Download PDF

Info

Publication number
CN102595269A
CN102595269ACN2011104542937ACN201110454293ACN102595269ACN 102595269 ACN102595269 ACN 102595269ACN 2011104542937 ACN2011104542937 ACN 2011104542937ACN 201110454293 ACN201110454293 ACN 201110454293ACN 102595269 ACN102595269 ACN 102595269A
Authority
CN
China
Prior art keywords
bluetooth
blue
software
bluetooth earphone
flag
Prior art date
Legal status (The legal status is an assumption and is not a legal conclusion. Google has not performed a legal analysis and makes no representation as to the accuracy of the status listed.)
Pending
Application number
CN2011104542937A
Other languages
Chinese (zh)
Inventor
吴东辉
Current Assignee (The listed assignees may be inaccurate. Google has not performed a legal analysis and makes no representation or warranty as to the accuracy of the list.)
Individual
Original Assignee
Individual
Priority date (The priority date is an assumption and is not a legal conclusion. Google has not performed a legal analysis and makes no representation as to the accuracy of the date listed.)
Filing date
Publication date
Application filed by IndividualfiledCriticalIndividual
Priority to CN2011104542937ApriorityCriticalpatent/CN102595269A/en
Publication of CN102595269ApublicationCriticalpatent/CN102595269A/en
Pendinglegal-statusCriticalCurrent

Links

Images

Landscapes

Abstract

The invention relates to the fields of electrons, mobile phone software, information processing methods and procedures, in particular to a loss prevention method based on a Bluetooth device, software based on the method and hardware and software of an assorted Bluetooth headset. The loss prevention method is characterized in that the software is installed in a mobile phone and used for continuously detecting a connection state of the Bluetooth, if the Bluetooth is disconnected, an audio file is started or called to sound an alarm, and if the Bluetooth is of contact, the audio file stops sounding the alarm. The loss prevention method has the advantages that a loss prevention function can be realized without changing any hardware so long as the software is installed in the mobile phone; the conventional Bluetooth headset is changed slightly, so that the Bluetooth headset with an alarm function can be implemented; and furthermore, a sales pattern of the Bluetooth headset and a commercial profit pattern can be formed by the software by adopting a client mode.

Description

A kind of anti-loss method and supporting bluetooth earphone based on blue-tooth device
Technical field
The present invention relates to electronic applications, software, cell phone software, information processing method and program, particularly relate to a kind of based on bluetooth cellular phone anti-loss method and based on the software of said method, and the hardware and software of supporting bluetooth earphone.
Background technology
The system configuration of Bluetooth technology is divided into three parts: bottom hardware module, intermediate protocol layer and higher layer applications.Bottom hardware partly comprises wireless frequency hopping (RF), base band (BB) and link management (LM).HCI layer (HCI) is the interface between the software and hardware in the Bluetooth protocol, and it provides a unity of command interface that calls hardware such as base band, link management, state and control register.When communicating between the bluetooth equipment, the above protocol software entity of HCI moves on main frame, and the function below the HCI is accomplished by bluetooth equipment, through one the transparent transport layer in two ends is carried out alternately between the two.The Bluetooth technology application programming interfaces (Application Programming Interface, API) accomplished by the designer of developing instrument, can programme to the application mode like this by the exploitation of function.Concrete implementation can multiple choices, like RF module/RF chip+baseband module/baseband chip/base band ASIC/ base band COT, and monolithic embedded Bluetooth chip, the IPR that buys bluetooth is integrated into form such as go among the ASIC of main frame with it.
The connection that Bluetooth system can provide point-to-point or a bit arrive multiple spot; On one point in the connection of multiple spot; Share same channel by several bluetooth units, constitute a piconet, one of them is as the master unit of this piconet; And all the other are for (can activate 7 at most) from the unit, and channel access is controlled by master unit.
Chinese patent bulletin 200820214289.7 discloses the anti-machine of giving up of a kind of bluetooth, it is characterized in that being made up of anti-loss device and bluetooth cellular phone based on bluetooth, be a kind ofly to prevent losing hardware unit, and be a kind of anti-loss device specifically.
Chinese patent bulletin 200920220582.9 discloses a kind of antitheft bluetooth earphone, it is characterized in that increasing range finder, and bluetooth prevents specifically that as transmission means losing function is based on range finder, and bluetooth is only as transmission means.
Chinese patent bulletin 200610003522.2 discloses a kind of burglary-resisting system and method for portable terminal, it is characterized in that depending on the radio receiving transmitting module that is provided with respectively in portable terminal and the wireless anti-theft supervising device, belongs to hardware unit.
Through analysis, can find out that such scheme all is a hardware unit, or a kind of anti-loss device, or the bluetooth earphone of anti-theft feature is arranged above-mentioned theft preventing method.Actual conditions are: the bluetooth earphone system itself is exactly a kind of short-range transmission; So as long as in mobile phone install software, change without any need for hardware and just can realize preventing losing that function, the function of said software are the connection status of detection of handset and bluetooth earphone constantly; If it is out of touch; Then call audio file and report to the police, like this: bluetooth earphone is carry-on, and mobile phone is lost then mobile phone alarm; Or bluetooth earphone puts into and anti-loses thing, and like handbag, then handbag is lost, mobile phone alarm; Or at least 2 mobile phones all install said software, then form 2 or a plurality of anti-relation of losing, and lose as team is anti-, and child is anti-to lose.Simultaneously can do a small amount of change to existing bluetooth earphone; Promptly add one section and connect signal detection program (through HCI layer (HCI)); And the increase warning circuit, then can realize the bluetooth earphone (difference with Chinese patent bulletin 200920220582.9) of warning function.
Summary of the invention
blue-tooth device of the present invention refers to: bluetooth cellular phone, the intelligent terminal that Bluetooth function is arranged, the portable terminal that Bluetooth function is arranged, the PDA that Bluetooth function is arranged, the notebook that Bluetooth function is arranged, the panel computer that Bluetooth function is arranged, the computer that Bluetooth function is arranged, carry-on digital device that Bluetooth function is arranged etc. have the device of Bluetooth function.Certainly, said blue-tooth device can install software.
Method of the present invention is: install software in blue-tooth device, said software constantly detects the connection status of bluetooth, if out of touch, then open or calls audio file and report to the police, and stops to report to the police if recovery is got in touch.
Software steps of the present invention is: after at least 2 blue-tooth devices are set up the pairing contact, and 1, call the bluetooth instruction; 2, read connection quality numerical value; 3, read preset comparison value; 4, current connection quality numerical value and preset comparison value compare, if current connection quality numerical value is lower than preset comparison value then opens or call audio file and report to the police, otherwise then return step 2.
Owing to be provided with program or the code that detects the bluetooth connection status in blue-tooth device or the bluetooth cellular phone operating system; Operating system program is generally to connect the flag sign; Flag value=1 expression is in connection status; Flag value=0 expression is broken off, so program step of the present invention also can be: after at least 2 blue-tooth devices are set up the pairing contact, 1, read the connection flag value; 2, judge flag value, if flag value=0 then open or call audio file and report to the police, if flag value=1 then return step 1.
Further; Increase the step of obtaining blue-tooth device or the built-in GPS latitude and longitude information of bluetooth cellular phone or obtaining base station information; And the information of obtaining is sent to preset receiving terminal, receiving terminal comprises SMS, e-mail, site for service, third party's map web site etc.
The method of the invention and software also comprise user interface and user side self-check program; User interface can be designed as client end interface; That is to say that client is to link to each other with the site for service of the Internet; Can carry out value-added service like this, client end interface comprises bluetooth interface, web site url, sale web page interlinkage, advertisement caption, payment link etc. is set.
Said software is installed in the blue-tooth device; Corresponding software is installed by different systems; The software of iOS establishment is installed like the apple system; The Android environment software of establishment is down installed by the An Zhuo system, and the Installation of W indows Mobile of Windows Mobile system environment is the system of establishment down, and the Symbian environment system of establishment is down installed by the Saipan system.Nearly all mobile phone is all supported java software at present, so almost can support all mobile phones with the software according to the invention of java establishment.
The present invention can use common bluetooth earphone; The supporting bluetooth earphone that also can use the present invention to propose; The bluetooth earphone that warning function is promptly arranged, the technical scheme of bluetooth earphone of the present invention is: through host controller interface (Host Controller Interface, HCI) one section program of adding of Bluetooth chip; Said program reads bluetooth and connects the alarm flag scale value; Alarm flag scale value=1 expression connects breaks off or connects overtimely, then through programmable I/O output unblanking electronic switch, is reported to the police by the warning device that buzzer circuit and loud speaker are formed; If alarm flag scale value=0 then expression good connection continue to return to carry out and read the operation that bluetooth connects the alarm flag scale value.It is characterized in that: be provided with the warning device that links to each other with electronic switch in the bluetooth earphone; The open and close of said electronic switch are triggered by the connection status of bluetooth; Be that electronic switch is normally then closed in the bluetooth connection; Stop to report to the police, bluetooth connects disconnection or connects overtime then unlocking electronic switch, starts and reports to the police.Or being provided with the warning device that links to each other with electronic switch in the bluetooth earphone, the open and close of said electronic switch connect the caution flag by bluetooth and trigger.
Further, bluetooth earphone configuration base according to the invention is provided with a larger capacity rechargeable battery in the base; Bluetooth earphone can be placed on the base and charge like this; Longer stand-by time is arranged, be placed with magnet in said bluetooth earphone body or the base, the contact that can guarantee like this to charge well contacts.
Further; Sealing links to each other bluetooth earphone electro-acoustic conversion device of the present invention (being receiver) with a hollow tubing conductor, and the other end of hollow tubing conductor is the voice output mouth, and the voice output mouth is placed in user's the duct; The opening that can open with closed is set on said hollow tubing conductor; Hollow tubing conductor and external sound communicated when opening was opened, and hollow tubing conductor and external sound were isolated when opening was closed, and said opening form can be slide block baffle plate, cast slide cartridge, piston type, fulcrum open type etc.The user just will not take out duct by the voice output mouth like this, unlatching through operation aperture and the closure source that selects a sound.In the stroke of slide block baffle plate, touch switch is set; Opening is opened with the external world and is communicated so at ordinary times, if any incoming call then the sliding slider baffle plate make the shedding motion closure, touch touch switch simultaneously; Said touch switch is to answer button, so just can receive calls by the closing any opening device.It is characterized in that: a hollow tubing conductor is arranged, and the receiver sealing of hollow tubing conductor one end and earphone links to each other, and the other end is the voice output mouth, and the shedding motion that can open with closed is set on hollow tubing conductor, and said shedding motion is defined as valve.It is characterized in that: the sound valve is made up of opening and the slide block baffle plate that can on opening, slide, and on the stroke of slide block baffle plate, touch switch is set.
Further, the sound valve is provided with magnetostrictive material or piezoceramic material (PZT) or rare earth ultra-magnetostriction material or electromagnet, or the sound valve drags by micromachine, or the sound valve adopts the dry reed-pipe structure form.The insulated conductor of said magnetostrictive material or piezoceramic material (PZT) or rare earth ultra-magnetostriction material or electromagnet or micromachine or dry reed-pipe structure form is connected on the electronic switch; The control signal of electronic switch derives from the standby of bluetooth earphone or the status signal of answering; Sound opening of valves during standby, hollow tubing conductor and external sound communicate, and the sound valve is closed when answering; Hollow tubing conductor and external sound are isolated, and the hollow tubing conductor transmission is from the sound of receiver.
Another kind of situation; The control signal of electronic switch derives from signal processing circuit; The input of signal processing circuit is connected on the audio output circuit of bluetooth earphone; The function of signal processing circuit is to detect bluetooth earphone whether audio frequency output is arranged, if having then export control signal and give electronic switch, by the closure of electronic switch guide sound valve.
Above-mentioned the hollow tubing conductor of the bluetooth earphone of hollow tubing conductor is arranged is the hangers support, and hollow tubing conductor has two effects like this, the one, and conduction sound, the 2nd, the hangers support, hollow tubing conductor can be selected for use transparent, can hide earphone like this behind user hard of hearing.
The anti-fit system of losing of the inventive method is: blue-tooth device and common bluetooth earphone that 1, said software is installed cooperate.2, cooperate between the blue-tooth device of the said software of installation.3, the blue-tooth device and the said supporting bluetooth earphone cooperation of said software are installed.4, said supporting bluetooth earphone and any blue-tooth device cooperate.5, two above blue-tooth device contacts form and prevent losing network of personal connections, and can carry out logic determines: any one blue-tooth device is lost warning or some blue-tooth devices are reported to the police after losing other all blue-tooth devices.
The invention has the beneficial effects as follows: need only install software in blue-tooth device or bluetooth cellular phone, change without any need for hardware and just can realize preventing losing function, like this: bluetooth earphone is carry-on, and mobile phone is lost then mobile phone alarm; Or bluetooth earphone puts into and anti-loses thing, and like handbag, then handbag is lost, mobile phone alarm; Or at least 2 mobile phones all install said software, then form 2 or a plurality of anti-relation of losing, and lose as team is anti-, and child is anti-to lose.Simultaneously can do a small amount of change, then can realize the bluetooth earphone of warning function existing bluetooth earphone.The software adopted client mode can form the sales mode of commercial profit model and bluetooth earphone in addition.
 
Description of drawings
Fig. 1 is a software flow pattern of the present invention.
Fig. 2 is the software flow pattern that the present invention is based on flag.
Fig. 3 increases the software flow pattern that sends geography information for the present invention.
Fig. 4 the present invention is based on flag to increase the software flow pattern that sends geography information.
Fig. 5 is client self check flow process of the present invention and client end interface sketch map.
Fig. 6 is the supporting bluetooth earphone theory diagram of the present invention.
Fig. 7 is the supporting bluetooth earphone software flow pattern of the present invention.
Fig. 8 is supporting bluetooth earphone of the present invention and base configuration schematic diagram.
Fig. 9 adopts hollow tubing conductor for the supporting bluetooth earphone of the present invention and increases the manually embodiment of sound valve.
Figure 10 adopts the embodiment (control signal mode) of electrostriction material for the sound valve of the supporting bluetooth earphone of the present invention.
Figure 11 adopts the embodiment (control signal mode) of electromagnet for the sound valve of the supporting bluetooth earphone of the present invention.
Figure 12 adopts the embodiment (audio signal control mode) of electrostriction material for the sound valve of the supporting bluetooth earphone of the present invention.
Figure 13 adopts the embodiment (audio signal control mode) of electromagnet for the sound valve of the supporting bluetooth earphone of the present invention.
Figure 14 is a kind of circuit of the signal processing of the supporting bluetooth earphone of the present invention.
Figure 15 is the sketch map of the hollow tubing conductor of the supporting bluetooth earphone of the present invention as the hangers support.
Figure 16 wears sketch map for hollow tubing conductor of the present invention as the supporting bluetooth earphone of hangers support.
Figure 17 adopts the embodiment sketch map of dry reed-pipe structure form for the sound valve of the supporting bluetooth earphone of the present invention.
 
Embodiment
Below in conjunction with accompanying drawing and embodiment the present invention is further specified.
Fig. 1 is a software flow pattern of the present invention.Behind the program start, at first detect bluetooth module and whether start, if otherwise start bluetooth module; If then detect or set up pairing with another blue-tooth device and get in touch, then call the bluetooth instruction, said bluetooth instruction is the instruction that the Bluetooth protocol instruction set is supported; Said bluetooth instruction can be checked the connection quality numerical value of bluetooth, calls command adapted thereto and reads the operation that connects quality numerical value, and read preset comparison value; Then two numerical value are compared; Judge whether the connection quality numerical value that reads is lower than comparison value, if otherwise return and proceed to read the operation that connects quality numerical value, report to the police if then call or start audio file.
Fig. 2 is the software flow pattern that the present invention is based on flag.Behind the program start, at first detect bluetooth module and whether start, if otherwise start bluetooth module; If then detect or set up pairing with another blue-tooth device and get in touch, because all having the bluetooth of oneself, blue-tooth device or bluetooth cellular phone operating system connects flag, said program reads the connection flag; If flag value=1 then expression connects normal; Program is returned and is continued to read the connection flag, if flag value=0 then expression bluetooth connect to be broken off or connected overtimely, then calls or starts audio file and report to the police.
Fig. 3 increases the software flow pattern that sends geography information for the present invention.Software flow increases and reads the GPS longitude and latitude or read the base station information step, and send information to preset receiving terminal with shown in Figure 1 consistent.For blue-tooth device that built-in GPS is arranged or mobile phone, software reads GPS longitude and latitude data, or (mobile phone that comprises no GPS) read base station information, for example:
On PPC, can obtain base station information with RIL:
C# code (PPC): string info=CellId.RIL.GetCellTowerInfo (); PrintFunc (" base station is: "+info); //xxxx-xxxx-0
C++ code (Symbian): in Symbian S60v3 system, can obtain base station information with CTelephony.
GPS information of obtaining like this or base station information can show the geographical position on third party's Map Services website.Further, constantly send GPS information or base station information, motion track that can the tracing display mobile phone to preset receiving terminal.
Preset receiving terminal comprises phone number, e-mail, site for service etc.
Fig. 4 the present invention is based on flag to increase the software flow pattern that sends geography information.Software flow increases and reads the GPS longitude and latitude or read the base station information step, and send information to preset receiving terminal with shown in Figure 2 consistent.
Fig. 5 is client self check flow process of the present invention and client end interface sketch map.Comprise after program begins that client self-check program and client loading procedure form client end interface, self-check program comprises environment measuring, i.e. bluetooth port detection, GPS port detect, and carry out the corresponding ports setting; Client end interface comprises bluetooth and is provided with that interface, GPS are provided with the interface, receiving terminal is provided with interface, web site url, payment link, advertisement caption; Bluetooth is provided with the interface and comprises preset comparison value inputting interface; This value can be regulated the anti-distance of losing, and maximum distance is the distance of the intrinsic bluetooth of blue-tooth device or bluetooth cellular phone system when connecting flag and changing, and the pattern that bluetooth is provided with the interface has: normal bluetooth answer mode; Answer, prevent losing compatibility mode; The anti-pattern of losing, anti-lost network pattern, anti-lost network pattern is the anti-relation of losing that the bluetooth equipment more than 2 is connected to form.Web site url can be realized the business model of online propaganda, purchase, can introduce supporting bluetooth earphone such as the website, and the payment link can provide the quick means of payment, sells web page interlinkage and can be linked on the webpage of sales platform, like the sale webpage of Taobao.Software interface provides the recommendation button, and said button can start the SMS function, and the download address of in cell phone address book, selecting the good friend to send the said software of messages recommendation.In addition,, can push the correspondent advertisement captions, be not precluded within certainly and just be built in advertisement caption or the image in the software when software is installed by far-end server as client.Receiving terminal is provided with the interface can preset e-mail, phone number, when article lost, can geographical location information be sent to corresponding receiving terminal like this.Perhaps the dial-up program of software startup mobile phone when article lost is directly dialed preset telephone number.
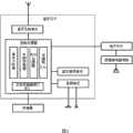
Fig. 6 is the supporting bluetooth earphone theory diagram of the present invention.The tradition bluetooth earphone is made up of Bluetooth chip and transmitter, receiver etc.; Bluetooth chip comprises blue teeth wireless unit, processor controls, bluetooth baseband unit, audio unit; Processor controls comprises event timer, interrupt control unit, risc processor, programmable I/O, host controller interface HCI, outside Bluetooth chip or interior generally provide the programming use memory, function program to be stored in the memory; The supporting bluetooth earphone of the present invention is through host controller interface (the Host Controller Interface of Bluetooth chip; HCI) add one section program, said program reads bluetooth and connects the alarm flag scale value, and alarm flag scale value=1 expression connects disconnection or connects overtime; Then, report to the police by the warning device that buzzer circuit and loud speaker are formed through programmable I/O output unblanking electronic switch; If alarm flag scale value=0 then expression good connection continue to return to carry out and read the operation that bluetooth connects the alarm flag scale value.In addition, compare, increase electronic switch, alarm buzzer circuit, alarm speaker on the hardware with traditional bluetooth earphone.
Fig. 7 is the supporting bluetooth earphone software flow pattern of the present invention.Read the alarm flag scale value that bluetooth connects after program begins, and the alarm flag scale value is judged, if caution flag=0; The bluetooth good connection is described, is returned and continue to read the alarm flag scale value that bluetooth connects, if caution flag=1; Explain that bluetooth connects disconnection or overtime, then exports start signal, unlocking electronic switch through programmable I/O; The alarm buzzer circuit working drives alarm speaker and reports to the police.Said flow process software loading or be connected in the former bluetooth earphone operation sequence, said software is stored in the memory, can be the Bluetooth chip built-in storage, also can be the Bluetooth chip external memory.
Fig. 8 is supporting bluetooth earphone of the present invention and base configuration schematic diagram.Consider the size of bluetooth earphone, its internal battery can not be too big, so propose the embodiment of configuration base; The 801st, the bluetooth earphone body; Comprise 802 rechargeable batteries, 803 armature, 804 alarm speakers, 805 receivers, 810 transmitters in 801 bodies, the 806th, the base body comprises 807 magnet, 808 subsequent use rechargeable batteries in the 806 base bodies; The 809th, charging connecting terminal, the 811st, the power supply adaptor that AC charging is used.803 armature and 807 magnet are formed the adhesive device, and the contact and the bluetooth earphone of the contact that so more helps charging are placed in the base.
Fig. 9 adopts hollow tubing conductor for the supporting bluetooth earphone of the present invention and increases the manually embodiment of sound valve.In this embodiment: 901 is receiver, and what link to each other with receiver sealing has ahollow tubing conductor 902, and the other end of hollow tubing conductor is avoice output mouth 903; Valve 904 is set onhollow tubing conductor 902, and the sound valve is can open on the hollow tubing conductor and closed shedding motion, the 905th, the opening of valve; The 906th, transportable slide block baffle plate, when slideblock baffle plate 906 moves to when covering opening 905, hollow tubing conductor and external sound are isolated; When slideblock baffle plate 906 moves to when opening wide 905 openings, hollow tubing conductor communicates with external sound, like thistouch switch 907 can be set in the shift motion of slideblock baffle plate 906; Slideblock baffle plate 906 is positioned at and makes 905 openings be in unlimited position at ordinary times, and the hollow tubing conductor and the external world communicate like this, can hear external sound; If incoming call is arranged; Slidingslider baffle plate 906sealings 905 openings, slideblock baffle plate 906touches touch switch 907 simultaneously, andtouch switch 907 is as answering switch.It is characterized in that: sealing links to each other hollow tubing conductor one end with the earphone receiver, and the other end is the voice output mouth, and hollow tubing conductor is provided with the shedding motion that can open with closed, i.e. the sound valve.Further, be provided with touch switch in the sound valve, the action of said touch switch is touched with closure by the unlatching of shedding motion.
The slide block baffle plate of sound valve can be manually to move, and also can drag with micromachine.The micromachine scheme of dragging will increase electronic switch; The control signal of said electronic switch derives from the standby of bluetooth earphone or the status signal of answering, i.e. control signal is 0 during standby, the sound opening of valves; Hollow tubing conductor communicates with the external world; Control signal is 1 when answering, and the sound valve is closed, and hollow tubing conductor is isolated from the outside.Or control signal derives from having or not of audio signal, and audio signal drives the open and close of electronic switch through signal processing, thereby the closure of guide sound valve and unlatching is characterized in that: the closure of sound valve is controlled by having or not of audio signal with opening.
Figure 10 adopts the embodiment (control signal mode) of electrostriction material for the sound valve of the supporting bluetooth earphone of the present invention.The action execution unit that it is characterized in that valve is processed by electrostriction or deformable material; Optional material has: magnetostrictive material, or piezoceramic material (PZT), or rare earth ultra-magnetostriction material; Prevailing selection can be piezoceramic material (PZT); The action execution unit of the sound valve that is made up of PZT is made up of electrode and piezoceramic material, and piezoceramic material makes piezoceramic material flexible or be out of shape through two electrode application voltage between two electrodes.101 is receiver among the figure, and 102 is the hollow tubing conductor that sealing links to each other with receiver, and 103 is sound valve opening; 108 is sound valve valve, and 104 are the voice output mouth, and 105 is an electrode; 106 is electrostriction material; 107 is another electrode, because the stroke of electrostriction material is very small, on version, can adopt lever that stroke is amplified.Electrostriction material is designed to electricity and causes contraction among this figure, if electricity causes elongation, then electrostriction material is installed in opposite position, i.e. the outside of lever.The unlatching of sound valve is controlled through electronic switch with closed; The control signal of electronic switch derives from the standby of bluetooth earphone or the status signal of answering, i.e. control signal is 0 during standby, the sound opening of valves; Hollow tubing conductor communicates with the external world; Control signal is 1 when answering, and the sound valve is closed, and hollow tubing conductor is isolated from the outside.
Figure 11 adopts the embodiment (control signal mode) of electromagnet for the sound valve of the supporting bluetooth earphone of the present invention.This embodiment is consistent with the embodiment principle that Figure 10 describes; Just the action execution unit with the sound valve substitutes the electrostriction material form of the composition by the electromagnet form of the composition, and among the figure, 1101 is electromagnet; 1102 is armature; Armature is connected on the valve of valve, and armature 1102 constitutes the adhesive device with electromagnet 1101, by the unlatching and the closure of adhesive device execution sound valve.It is characterized in that: the action execution unit of sound valve is made up of electromagnet.
Figure 12 adopts the embodiment (audio signal control mode) of electrostriction material for the sound valve of the supporting bluetooth earphone of the present invention.This embodiment sound valve arrangement is identical with the scheme that Fig. 9 describes; Different is that the control signal source is different; Control signal in this embodiment derives from having or not of audio signal, and audio signal is through the open and close of signal processing driving electronic switch, thus the closure of guide sound valve and unlatching.This is a kind of rear end solution, as long as the just closed sound valve of audio signal is arranged, hollow tubing conductor is isolated with extraneous.It is characterized in that: the closure of sound valve is controlled by having or not of audio signal with unlatching.
Figure 13 adopts the embodiment (audio signal control mode) of electromagnet for the sound valve of the supporting bluetooth earphone of the present invention.This embodiment sound valve is made up of electromagnet, and the action of said sound valve is controlled by audio signal.
Figure 14 is a kind of circuit of the signal processing of the supporting bluetooth earphone of the present invention.This figure is the front end circuit of signal processing, and the function of signal processing is the monitoring audio signal, if do not have audio signal then do not export control signal; If audio signal is arranged then export control signal and give electronic switch; And the signal to output keeps time-delay, promptly exports signal and can not disappear immediately with the disappearance of the audio signal of importing, and keeps the regular hour at least; Because audio signal is constantly to change; Moment possibly be 0, in order to keep the switching signal in the certain hour stable, needs certain maintenance delay time.R1 is a current-limiting resistance among the figure, and effect is to reduce the influence of signal processing circuit to audio signal, and D is a rectifier diode; Its effect is that audio signal is carried out rectification, makes AC signal become direct current signal, so that capacitor C is charged; Resistance R 2 is formed the RC circuit that the certain hour constant is arranged with capacitor C, and this front end circuit is a kind of integrating circuit, and the audio signal of so continuous variation is imported at input; Output can obtain the inhibit signal of certain time-delay, and delay time is determined by the RC value.
Figure 15 is the sketch map of the hollow tubing conductor of the supporting bluetooth earphone of the present invention as the hangers support.This embodiment hollow core conduit is directly as the hangers support, and 1501 is the earphone body, and 1502 are the voice output mouth; The 1504th, hollow tubing conductor, 1503 is the sound valve, can be manual or electronic; Electronic as: micromachine drags; Or electrostriction material version, or the electromagnet structure form, or dry reed-pipe structure is joined the insulated conductor winding configuration.If manual sound valve can be provided with touch switch in the sound valve, manually the sound valve as: slide block baffle-type, cast slide tube type, piston type, fulcrum open type, seesaw type, rotary shaft, dry reed-pipe structure are joined permanent magnet formula etc.
The position of sound valve can be in any position of hollow tubing conductor, even can be installed in the bluetooth earphone body, like this can global design.
This embodiment can dispose the base of respective shapes equally, in the said base rechargeable battery is arranged.
Figure 16 wears sketch map for hollow tubing conductor of the present invention as the supporting bluetooth earphone of hangers support.
Figure 17 adopts the embodiment sketch map of dry reed-pipe structure form for the sound valve of the supporting bluetooth earphone of the present invention.Electronic switch control model and manual two kinds of patterns of permanent magnet control model are arranged here; The electronic switch control model is identical with aforementioned electric magnet embodiment; This programme characteristic is: the pair of magnetic material is arranged, i.e. and the magnetic material of two pairings, the valve of sound valve is installed on one of them magnetic material; Be full of one group of insulated conductor in said magnetic material periphery, said insulated conductor is connected on the electronic switch.Manually permanent magnet control model characteristic is: the pair of magnetic material is arranged, and the valve of sound valve is installed on one of them magnetic material, on said magnetic material limit transportable permanent magnet is set, the unlatching of sound valve and closed magnetic control by permanent magnet; Further, described pair of magnetic material is an electric conducting material, and two magnetic materials are respectively two electrodes, and said two electrodes form switch, and said switch inserts in the circuit of bluetooth earphone.Magnetic material is a ferrimagnet, or ferrous material, and conducts electricity, and under the action of a magnetic field, can produce magnetic, and restorable soft magnetic material after magnetic field disappears can adopt the irony reed among the present invention.
One of said pair of magnetic material is the ferrous material reed, and an end is fixed on the inner surface of valve, and the other end is unsettled, and another magnetic material of said pair of magnetic material can be the hard ferrous material, is fixed on the inwall of valve.Further, said magnetic material conducts electricity, and is two electrodes of switch.
1701 is magnetic materials among Figure 17, the 1702nd, and valve, 1702 are installed on 1701, and the 1703rd, valve opening; The 1704th, another magnetic material, the 1705th, insulated conductor,insulated conductor 1705 is connected on the electronic switch, ifinsulated conductor 1705 is given in energising; 1705 produce magnetic, thereby make 1701 and 1704 adhesives, thus closedsound valve opening 1703; If outage, then 1701 and 1704 separate under elastic reaction, and the valve opening and the external world are communicated.It is characterized in that: the sound valve structurally is that dry reed-pipe structure is joined the insulated conductor winding configuration, and the pair of magnetic material is promptly arranged, and the valve of sound valve is connected on one of them magnetic material, and the periphery of said pair of magnetic material is wound with insulated conductor.
Said dry reed-pipe structure is joined the unlatching and the closed standby of bluetooth earphone or the status signal of listening to of being controlled by of insulated conductor winding configuration sound valve.
Or the said dry reed-pipe structure closure of joining insulated conductor winding configuration sound valve is controlled by having or not of audio signal with opening.
If removeinsulated conductor 1705, can use the unlatching and closure of the magnetic guide sound valve of permanent magnet, permanent magnet is near then 1701 and 1704 adhesives; The sound valve is closed, and 1701 and 1704 conduct electricity switch closure simultaneously; Permanent magnet is away from then opening sound opening of valves, 1701 and 1704 disconnections simultaneously in 1701 and 1704 minutes; Switch breaks off, and can control answering of bluetooth earphone through this switch like this.It is characterized in that: the sound valve structurally is the dry reed-pipe structure form, and the pair of magnetic material is promptly arranged, and the valve of sound valve is connected on one of them magnetic material; The surface of sound valve is fit to the position and is provided with transportable permanent magnet; The closure of sound valve is by the magnetic field control of permanent magnet, and the unlatching of sound valve is under the elasticity of magnetic material, to open voluntarily, and said magnetic material is the ferrous material reed; Conducting electricity, is two electrodes of switch.
Adopt this programme sound valve that two preferable embodiments are arranged: 1, dispose the base of subsequent use rechargeable battery and magnet, bluetooth earphone is the hollow tubing conductor supra-aural, and the sound valve adopts dry reed-pipe structure form sound valve with the permanent magnet control mode, and anti-losing device is arranged simultaneously.2, dispose the base of subsequent use rechargeable battery and magnet, bluetooth earphone is the hollow tubing conductor supra-aural, and the sound valve adopts dry reed-pipe structure to join the insulated conductor form, and anti-losing device is arranged simultaneously.Said dry reed-pipe structure is joined the unlatching and the closed standby of bluetooth earphone or the status signal of listening to of being controlled by of insulated conductor winding configuration sound valve.Like this, the same with existing bluetooth earphone, bluetooth earphone is provided with answers button, if incoming call is arranged; Then press and answer button, bluetooth earphone gets into the state of listening to by holding state, and is closed through electronic switch driving sound valve; Listen to the sound from receiver, behind the end of conversation, bluetooth earphone gets into holding state by listening to state; Electronic switch breaks off, the sound opening of valves, and the user needn't extract earphone can listen to outside sound.
The bluetooth earphone that above-mentioned Fig. 9-Figure 15 describes is not limited to the bluetooth earphone of Bluetooth chip; Can be reduced to common wired earphone, the earphone that promptly has only tone frequency channel wire and electroacoustic reforming unit to form, that is: a kind of earphone of forming by tone frequency channel wire and electroacoustic reforming unit; It is characterized in that: hollow tubing conductor is arranged, and sealing links to each other with the electroacoustic reforming unit; Hollow tubing conductor is provided with can be opened and closed sound valve, and said sound valve is manually, or electronic.Said sound valve is provided with electrostriction material or magnetostrictive material or electromagnet.
The inventive method and program are not limited to based on bluetooth, can derive simply to be applied to wireless WIFI, or other short-range wireless protocol, as: IEEE802.11, IEEE802.11a, IEEE802.11b, IEEE802.11g, IEEE802.11n etc.
The inventive method and program also are not limited to mobile phone, can be intelligent terminal, notebook computer etc.
Programming language of the present invention can be existing any language form, like VC++, and C, Delphi, FORTRAN, Pascal, FOXPRO, Clipper, EXE; WIN16:C, and C++ (Visual, C++Builder, Borland), Visual BASIC; WIN32:C, and C++ (Visual, Borland), FORTRAN (LAHEY, Visual), Java, Visual BASIC, VisualFoxpro, PowerBuilder, Delphi, JavaScript, VBScript installshield, VB.net, VC.net; Linux:C, C++, Java; Microsoft XML Web services platform; The method of html, the ASP.NET method; Mac OS X operating system; Mobile phone operating system: Windows Mobile, Symbian, Android, iOS, mobile phone Mac OS X operating system etc.What propose especially is: the exploitation of android application layer can rely on java, and bottom can be used c, and jni calls.
Can adopt the programming of server, client on the programming framework, also can adopt the control mode to use or the mode of invoke script program or, or adopt the cloud computing mode to programme, be i.e. the SaaS pattern to the server requests mode.

Claims (10)

CN2011104542937A2011-12-302011-12-30Loss prevention method based on Bluetooth device and assorted Bluetooth headsetPendingCN102595269A (en)

Priority Applications (1)

Application NumberPriority DateFiling DateTitle
CN2011104542937ACN102595269A (en)2011-12-302011-12-30Loss prevention method based on Bluetooth device and assorted Bluetooth headset

Applications Claiming Priority (1)

Application NumberPriority DateFiling DateTitle
CN2011104542937ACN102595269A (en)2011-12-302011-12-30Loss prevention method based on Bluetooth device and assorted Bluetooth headset

Publications (1)

Publication NumberPublication Date
CN102595269Atrue CN102595269A (en)2012-07-18

Family

ID=46483399

Family Applications (1)

Application NumberTitlePriority DateFiling Date
CN2011104542937APendingCN102595269A (en)2011-12-302011-12-30Loss prevention method based on Bluetooth device and assorted Bluetooth headset

Country Status (1)

CountryLink
CN (1)CN102595269A (en)

Cited By (20)

* Cited by examiner, † Cited by third party
Publication numberPriority datePublication dateAssigneeTitle
CN103297918A (en)*2012-12-202013-09-11王琦凡Method and system for automatically recording article loss position
CN103746758A (en)*2014-01-092014-04-23北京智谷睿拓技术服务有限公司Monitoring method and equipment
CN103841514A (en)*2014-01-262014-06-04北京自在科技有限责任公司Article search and loss prevention method, article terminal and article management terminal
CN103869346A (en)*2012-12-172014-06-18联想(北京)有限公司Positioning and tracking electronic equipment and method
CN103986833A (en)*2014-05-222014-08-13小米科技有限责任公司Abnormal condition monitoring method and device
CN104574068A (en)*2015-01-282015-04-29中国工商银行股份有限公司Bluetooth earphone and mobile phone Bluetooth payment authentication system and method
CN104939447A (en)*2015-04-302015-09-30成都迈奥信息技术有限公司Anti-lost inductive-charging watchband
TWI503671B (en)*2012-07-232015-10-11Giga Byte Tech Co LtdRemote control system and remote control method thereof
CN105842657A (en)*2016-03-292016-08-10林小军Bluetooth earphone auxiliary searching realizing method
CN106663359A (en)*2014-09-042017-05-10皇家飞利浦有限公司Monitoring living beings
CN106899896A (en)*2017-02-132017-06-27浙江海高思通信科技有限公司One kind bridge joint A GPS intercoms application systems and its application process
CN107911792A (en)*2017-11-242018-04-13深圳市舜宝科技有限公司A kind of anti-lost method and device of electronic cigarette equipment
CN108683998A (en)*2018-06-122018-10-19歌尔科技有限公司TWS earphones anti-lost method, TWS earphones, terminal and anti-lose system
CN108831125A (en)*2018-06-112018-11-16江苏食品药品职业技术学院A kind of anti-theft anti-loss system of Intelligent campus
CN108879804A (en)*2017-05-102018-11-23广西三诺数字科技有限公司A kind of earphone automatic charge device
CN109068227A (en)*2018-10-122018-12-21歌尔科技有限公司A kind of earphone localization method and earphone
CN110213759A (en)*2019-06-112019-09-06桃芯科技(苏州)有限公司Anti-lost detection method, storage medium and electronic equipment based on broadcast
CN111031524A (en)*2019-12-132020-04-17歌尔股份有限公司Bluetooth headset loss prevention device and method and Bluetooth headset charging box
CN112109474A (en)*2020-08-312020-12-22邵罡铭Anti-lost application pen
CN112839281A (en)*2021-02-252021-05-25董玉贵Ear-hanging type Bluetooth earphone

Citations (8)

* Cited by examiner, † Cited by third party
Publication numberPriority datePublication dateAssigneeTitle
CN1437329A (en)*2002-02-062003-08-20致福股份有限公司 Warning method for bluetooth device connection abnormality
US20060220834A1 (en)*2005-04-012006-10-05Joon MaengWireless event status communication system, device and method
CN101246417A (en)*2007-02-132008-08-20艾威梯软件技术(北京)有限公司 Method and system for uninterrupted software switching of audio data stream input/output
CN101309318A (en)*2008-06-272008-11-19嘉兴闻泰通讯科技有限公司Bluetooth earphone
CN100570658C (en)*2004-12-092009-12-16维多利亚·奥多诺休mobile slave transceiver, mobile master transceiver and communication system thereof
CN201402510Y (en)*2009-04-132010-02-10中山市泰丰金属制品有限公司 Anti-lost alarm device
CN201830425U (en)*2010-09-092011-05-11吴东辉Sound wave guide tube type Bluetooth earphone
CN102595268A (en)*2011-12-302012-07-18吴东辉Bluetooth headset with loss prevention function

Patent Citations (8)

* Cited by examiner, † Cited by third party
Publication numberPriority datePublication dateAssigneeTitle
CN1437329A (en)*2002-02-062003-08-20致福股份有限公司 Warning method for bluetooth device connection abnormality
CN100570658C (en)*2004-12-092009-12-16维多利亚·奥多诺休mobile slave transceiver, mobile master transceiver and communication system thereof
US20060220834A1 (en)*2005-04-012006-10-05Joon MaengWireless event status communication system, device and method
CN101246417A (en)*2007-02-132008-08-20艾威梯软件技术(北京)有限公司 Method and system for uninterrupted software switching of audio data stream input/output
CN101309318A (en)*2008-06-272008-11-19嘉兴闻泰通讯科技有限公司Bluetooth earphone
CN201402510Y (en)*2009-04-132010-02-10中山市泰丰金属制品有限公司 Anti-lost alarm device
CN201830425U (en)*2010-09-092011-05-11吴东辉Sound wave guide tube type Bluetooth earphone
CN102595268A (en)*2011-12-302012-07-18吴东辉Bluetooth headset with loss prevention function

Cited By (27)

* Cited by examiner, † Cited by third party
Publication numberPriority datePublication dateAssigneeTitle
TWI503671B (en)*2012-07-232015-10-11Giga Byte Tech Co LtdRemote control system and remote control method thereof
CN103869346A (en)*2012-12-172014-06-18联想(北京)有限公司Positioning and tracking electronic equipment and method
WO2014094617A1 (en)*2012-12-202014-06-26He LiliMethod and system for automatically recording loss location of item
CN104471963A (en)*2012-12-202015-03-25何丽丽Method and system for automatically recording loss location of item
CN103297918A (en)*2012-12-202013-09-11王琦凡Method and system for automatically recording article loss position
CN103746758A (en)*2014-01-092014-04-23北京智谷睿拓技术服务有限公司Monitoring method and equipment
CN103841514A (en)*2014-01-262014-06-04北京自在科技有限责任公司Article search and loss prevention method, article terminal and article management terminal
CN103986833A (en)*2014-05-222014-08-13小米科技有限责任公司Abnormal condition monitoring method and device
CN106663359A (en)*2014-09-042017-05-10皇家飞利浦有限公司Monitoring living beings
CN104574068B (en)*2015-01-282018-10-16中国工商银行股份有限公司Bluetooth headset, Bluetooth of mobile phone payment authentication system and method
CN104574068A (en)*2015-01-282015-04-29中国工商银行股份有限公司Bluetooth earphone and mobile phone Bluetooth payment authentication system and method
CN104939447A (en)*2015-04-302015-09-30成都迈奥信息技术有限公司Anti-lost inductive-charging watchband
CN105842657A (en)*2016-03-292016-08-10林小军Bluetooth earphone auxiliary searching realizing method
CN106899896A (en)*2017-02-132017-06-27浙江海高思通信科技有限公司One kind bridge joint A GPS intercoms application systems and its application process
CN106899896B (en)*2017-02-132020-11-03浙江海高思通信科技有限公司Bridge connection A-GPS interphone application system and application method thereof
CN108879804A (en)*2017-05-102018-11-23广西三诺数字科技有限公司A kind of earphone automatic charge device
CN108879804B (en)*2017-05-102024-03-19广西三诺数字科技有限公司Automatic earphone charging device
CN107911792A (en)*2017-11-242018-04-13深圳市舜宝科技有限公司A kind of anti-lost method and device of electronic cigarette equipment
CN108831125A (en)*2018-06-112018-11-16江苏食品药品职业技术学院A kind of anti-theft anti-loss system of Intelligent campus
CN108683998A (en)*2018-06-122018-10-19歌尔科技有限公司TWS earphones anti-lost method, TWS earphones, terminal and anti-lose system
CN109068227A (en)*2018-10-122018-12-21歌尔科技有限公司A kind of earphone localization method and earphone
CN110213759B (en)*2019-06-112021-12-14桃芯科技(苏州)有限公司 Broadcast-based anti-lost detection method, storage medium and electronic device
CN110213759A (en)*2019-06-112019-09-06桃芯科技(苏州)有限公司Anti-lost detection method, storage medium and electronic equipment based on broadcast
CN111031524A (en)*2019-12-132020-04-17歌尔股份有限公司Bluetooth headset loss prevention device and method and Bluetooth headset charging box
CN112109474A (en)*2020-08-312020-12-22邵罡铭Anti-lost application pen
CN112839281A (en)*2021-02-252021-05-25董玉贵Ear-hanging type Bluetooth earphone
CN112839281B (en)*2021-02-252023-05-09深圳市金斯达实业有限公司Hanging type Bluetooth headset

Similar Documents

PublicationPublication DateTitle
CN102595269A (en)Loss prevention method based on Bluetooth device and assorted Bluetooth headset
JP5187764B2 (en) Communication terminal device and program
JP5414008B2 (en) Communication terminal device and program
US20100144277A1 (en)Portable electronic device
CN203057292U (en)Alarm bell voice-control detector and alarm bell voice-control alarm system
CN201590902U (en)Mobile phone
CN105306714B (en)A kind of Intellisense control method and terminal
CN105553036A (en)Rapid charging device and method
CN104601201B (en)The method and terminal of information are sent based on Bluetooth Low Energy BLE technologies
CN102215294A (en)Prompting method and device
CN103581853A (en)Method and device for voice broadcast of text message on mobile phone
US20250284251A1 (en)Wearable device management method, related apparatus, and communication system
CN102595268A (en)Bluetooth headset with loss prevention function
CN101257535A (en)Split type mobile terminal alarm clock prompting method and split type mobile terminal
CN201114268Y (en)Mobile phones possessing voice decibel test function
CN101784063A (en)Mobile phone with non-signal prompt function and implementation method thereof
CN106331301A (en)Method and equipment for adding contact
CN204795008U (en)Visitor fixes a position communication device
CN202535501U (en)Bluetooth earphone with loss prevention function
CN203377919U (en)Wrist-worn touch control intelligent telephone
CN203118191U (en)Mobile terminal remote control device
JP2010011044A (en)Portable communication terminal and charger, and charging system
CN103076735A (en)Bluetooth watch capable of reminding mobile phone ringing
CN211152179U (en)Communication equipment
CN203368539U (en)Fixed telephone capable of being used as mobile phone

Legal Events

DateCodeTitleDescription
C06Publication
PB01Publication
SE01Entry into force of request for substantive examination
SE01Entry into force of request for substantive examination
C02Deemed withdrawal of patent application after publication (patent law 2001)
WD01Invention patent application deemed withdrawn after publication

Application publication date:20120718


[8]ページ先頭

©2009-2025 Movatter.jp