



















本发明是申请日为2007年10月3日、名称为“在交互媒体导引应用程序中获得、分类以及传送媒体的系统和方法”的第2007800373448号专利申请的分案申请。The present invention is a divisional application of the No. 2007800373448 patent application with the filing date of October 3, 2007, entitled "System and Method for Obtaining, Classifying, and Transmitting Media in an Interactive Media Guidance Application".
背景技术Background technique
本发明大体上涉及媒体导引应用程序(media guidanceapplication),且更具体地,涉及为从互联网获得的媒体提供导引。The present invention relates generally to media guidance applications and, more particularly, to providing guidance for media obtained from the Internet.
互联网是一种用于获得娱乐媒体和信息的越来越受欢迎的资源。互联网上有惊人数量的资料来源,其提供不同类型的媒体,比如可下载的电视剧和电影、或流式(streaming)电视预告片以及电影预告片等。而且,几乎互联网上的所有媒体以及相关的信息都是经请求可得到的。所以,用户可以确信所感兴趣的媒体总是可得到的。The Internet is an increasingly popular resource for obtaining entertainment media and information. There are an astounding number of sources on the Internet that offer different types of media, such as downloadable TV series and movies, or streaming TV trailers and movie trailers, and the like. Moreover, nearly all media and related information on the Internet is available on request. Therefore, users can be sure that the media of interest is always available.
然而,大量的在线媒体和媒体提供者也造成了在定位所感兴趣的媒体方面的困难。为了在没有导引的情况下定位特定的在线媒体内容,用户可能需要知道关于该媒体的大量信息。例如,如果用户想要找到关于电视节目的特定的情节(episode)的媒体,则用户可能需要直接找到媒体提供者,在这种情况下媒体提供者为电视网的网站。然后,用户可能需要知道该情节的原始播出日期或该情节的名称,以便在网络网站上有效地定位媒体。此过程不仅对于用户来说很不方便,而且对那些没有搜索特定媒体的用户来说也不提供帮助。因此,为了允许或帮助用户轻松而有效地定位所感兴趣的媒体,用于互联网传送的媒体内容的导引是必要的。However, the large number of online media and media providers also creates difficulties in locating media of interest. In order to locate specific online media content without guidance, a user may need to know a great deal about the media. For example, if a user wants to find media about a particular episode of a television show, the user may need to go directly to a media provider, which in this case is a television network's website. The user may then need to know the original air date of the episode or the title of the episode in order to efficiently locate the media on the network site. Not only is this process inconvenient for users, but it is also unhelpful for those users who are not searching for specific media. Therefore, guidance for Internet-delivered media content is necessary in order to allow or assist users to easily and efficiently locate media of interest.
用于互联网上提供的媒体内容的一些形式的导引已经是可得到的。很多用于在线媒体的导引应用程序限于关键词搜索和提供精选的(featured)媒体的列表。这些技术都不提供用于减少互联网上可获得的极大量的媒体的有效的或系统的手段(means)。因此,现有导引应用程序的用户经常受到过多的列表的轰击,这些列表中的许多可能是不令人感兴趣的或者不相关的。因此,需要一种导引应用程序,其不仅能提供关键词搜索和显示精选的在线媒体,而且还提供了一种系统的方法,该方法用于将可获得的在线媒体减少到使用户感兴趣的适当的小的媒体集。Some forms of guidance for media content provided on the Internet are already available. Many navigation applications for online media are limited to keyword searches and providing listings of featured media. None of these techniques provide efficient or systematic means for reducing the enormous amount of media available on the Internet. Thus, users of existing guidance applications are often bombarded with a plethora of lists, many of which may be uninteresting or irrelevant. Therefore, there is a need for a navigation application that not only provides keyword search and display of curated online media, but also provides a systematic method for reducing the available online media to a level that the user feels An appropriate small media set of interest.
由现有导引应用程序所产生的媒体列表通常不利于浏览。视频搜索可能给出混乱、无条理的、难于导航(navigate)或未聚焦的结果。不同类型的视频可通过类似的格式呈现,而使得它们实际上难以区分。举例来说,专业地生成的媒体内容可以类似于用户生成的媒体内容的格式来显示,而高质量的媒体内容可以类似于低质量媒体内容的格式来显示。因此,用户可能需要花费相当多的时间来审阅每一媒体列表。因而,需要一种在线媒体导引应用程序,其允许用户快速浏览在线媒体列表的集合。Media lists generated by existing navigation applications are generally not conducive to browsing. Video searches may give confusing, unorganized, difficult to navigate, or unfocused results. Different types of video can be presented in similar formats, making them virtually indistinguishable. For example, professionally generated media content may be displayed in a format similar to user-generated media content, while high quality media content may be displayed in a format similar to low quality media content. Therefore, the user may need to spend considerable time reviewing each media listing. Thus, there is a need for an online media guidance application that allows a user to quickly browse a collection of online media listings.
另外,许多现有导引应用程序只为互联网上有限的视频集合提供导引。因此,所述的有限集合可能不包括用户所感兴趣的可获得的在线媒体。一些导引应用程序是受限的,因为它们只为它们在主机上存有(host)的媒体内容提供导引。从第三方站点获得媒体的其他应用程序依赖于与媒体提供者的合作,这同样导致十分有限的媒体数据集。因此,需要一种导引应用程序,其为包含内容众多的在线媒体内容集提供导引。Additionally, many existing guidance applications only provide guidance for a limited collection of videos on the Internet. Thus, the limited set may not include available online media of interest to the user. Some navigation applications are limited in that they only provide guidance for the media content they host on the host. Other applications that obtain media from third-party sites rely on cooperation with media providers, which also results in very limited media data sets. Therefore, there is a need for a guidance application that provides guidance for content-rich collections of online media content.
发明内容Contents of the invention
因此,提供了多种系统和方法,所述系统和方法用于识别并获得用于在互联网上提供的媒体集合的信息且在列表中显示被识别的媒体的子集。还提供了多种系统和方法,所述系统和方法基于用户感兴趣的标准系统地缩减提供给用户的在线媒体列表的集合。Accordingly, systems and methods are provided for identifying and obtaining information for a collection of media offered on the Internet and displaying a subset of the identified media in a list. Also provided are systems and methods that systematically narrow down the set of online media listings provided to a user based on criteria of interest to the user.
依据本发明的一个原理,在线媒体导引应用程序在用户界面内提供可选择的标准单元(例如,动作/冒险、喜剧、ABC、喜剧中心等)。通过接收对可选择的标准单元的一个或更多的选择,可将可获得的在线视频的集合系统地缩减为使用户感兴趣的视频的合理大小的集合。可选择的标准单元可被组织成分类(例如种类、频道、节目)。分类也可显示在用户界面中,且相应的可选择的标准单元可呈现在相应的分类附近或下方的窗口中。为避免用户界面混乱,一个分类中的标准单元可在给定的时间是可见的。当用户选择不同的分类时,可关闭当前呈现的标准单元的窗口,而呈现相应于选择的分类的可选择的标准单元的新窗口。In accordance with one principle of the present invention, an online media guidance application provides selectable standard units (eg, Action/Adventure, Comedy, ABC, Comedy Central, etc.) within a user interface. By receiving a selection of one or more selectable standard units, the set of available online videos can be systematically reduced to a reasonably sized set of videos of interest to the user. Selectable standard units can be organized into categories (eg genre, channel, program). Categories may also be displayed in the user interface, and corresponding selectable standard units may be presented in a window adjacent to or below the corresponding category. To avoid cluttering the user interface, standard cells within a category can be visible at a given time. When the user selects a different category, the currently presented window of standard cells may be closed and a new window of selectable standard cells corresponding to the selected category may be presented.
当媒体导引应用程序接收到用户选择标准单元时,基于被选择的标准单元以及任何先前选择的标准单元识别视频的集合。在一些实施方式中,上述被识别的媒体的集合可包括符合所有的被选择的标准单元的可获得的媒体。在其他实施方式中,所述的被识别的媒体的集合可包括符合一个或更多的选择的标准单元的可获得的媒体。所述的媒体的集合可显示在列表中,例如显示在视频镶嵌图案或文本列表中。在一些实施方式中,各列表被显示在可选择的框(frame)中,且当接收到用户对框的选择时,导引应用程序将用户指引到相应的媒体提供者的网站。When the media guidance application receives a user selection of a standard cell, a collection of videos is identified based on the selected standard cell and any previously selected standard cells. In some implementations, the set of identified media described above may include available media that conform to all of the selected criteria units. In other implementations, the set of identified media may include available media conforming to one or more selected criteria units. Said collection of media may be displayed in a list, such as a video mosaic or a text list. In some implementations, each list is displayed in a selectable frame, and upon receiving a user's selection of a frame, the guidance application directs the user to the corresponding media provider's website.
在本发明的一些实施方式中,在缩减列表的数量后,被显示的标准单元还可改变以反映新的被识别的视频的集合。例如,当呈现可选择的标准单元的新窗口时,只在选择标准单元将产生重新定义的集合中的至少一个视频的情况下,标准单元可被显示在窗口中。在一些情况下,在被识别的视频集中有符合标准单元以及所有先前选择的标准单元的视频的情况下,标准单元可被显示在窗口中。In some embodiments of the invention, after reducing the number of lists, the displayed standard cells may also change to reflect the new set of identified videos. For example, when a new window of selectable standard cells is presented, the standard cells may be displayed in the window only if selecting the standard cell would result in at least one video in the redefined set. In some cases, a standard cell may be displayed in a window where there are videos in the identified video set that conform to the standard cell and all previously selected standard cells.
依据本发明的另一个原理,通过爬行通过多个网站并获得关于各网站提供的媒体的信息,确定导引应用程序提供导引所用于的在线媒体的集合。获得的信息可包括相应于各视频的元数据(例如名称、运行时间、描述等)。According to another principle of the invention, a set of online media for which a guidance application provides guidance is determined by crawling through a plurality of websites and obtaining information about the media provided by each website. The obtained information may include metadata (eg, title, runtime, description, etc.) corresponding to each video.
对于从互联网获得的每个视频,媒体导引应用程序将视频元数据与来自例如媒体导引应用程序数据库的媒体导引应用程序数据关联。可通过比较视频元数据与导引应用程序数据库中的导引数据而确定关联。基于上面描述的范围缩小机制、关键词搜索、用户个性化数据或编辑的偏好指定,可选择可获得的在线视频的子集。选择的在线视频可以显示在媒体列表中,例如显示在视频镶嵌图案或文本列表中。包括在用于各视频的列表内的是来自导引应用程序数据库的相关联的导引应用程序数据。For each video obtained from the Internet, the media guidance application associates the video metadata with the media guidance application data from, for example, the media guidance application database. Associations may be determined by comparing video metadata with guidance data in a guidance application database. A subset of available online videos may be selected based on the above-described narrowing mechanisms, keyword searches, user personalization data, or editorial preference designations. Selected online videos may be displayed in a media list, for example in a video mosaic or text list. Included in the list for each video is the associated guidance application data from the guidance application database.
附图说明Description of drawings
通过考虑下面详细的描述,结合附图理解,本发明的以上以及其他的目的和优点将是明显的,其中自始至终同样的参考符号指的是同样的部分,以及其中:The above and other objects and advantages of the present invention will become apparent by consideration of the following detailed description, understood in conjunction with the accompanying drawings, wherein like reference characters refer to like parts throughout, and wherein:
图1显示了使用网格格式(grid format)的说明性的显示屏,所述网格格式可用于为在线视频和其他类型的媒体提供导引;Figure 1 shows an illustrative display screen using a grid format that can be used to provide guidance for online videos and other types of media;
图2显示了使用镶嵌图案(mosaic)的说明性的显示屏,所述镶嵌图案可用于为在线视频提供导引;Figure 2 shows an illustrative display screen using a mosaic that can be used to provide guidance for an online video;
图3显示了图2的镶嵌图案中的列表的更详细的视图;Figure 3 shows a more detailed view of the list in the tessellation of Figure 2;
图4-5是图2的显示屏的一部分的两个说明性的实施方式;4-5 are two illustrative embodiments of a portion of the display screen of FIG. 2;
图6显示了用于查看和更新用户收藏夹和偏好的说明性的显示屏;Figure 6 shows an illustrative display screen for viewing and updating user favorites and preferences;
图7显示了图8A-AC、9A和9B使用的可获得的在线视频的维恩图(Venn diagram)。Figure 7 shows a Venn diagram of available online videos used in Figures 8A-AC, 9A and 9B.
图8A-8C是处于典型的使用环境中的图2中的显示屏的一部分的说明性的阶段;8A-8C are illustrative stages of a portion of the display screen in FIG. 2 in a typical use environment;
图9A和9B是处于典型的使用环境中的图2中的显示屏的一部分的说明性的阶段;9A and 9B are illustrative stages of a portion of the display screen in FIG. 2 in a typical environment of use;
图10显示了依据本发明的一个实施方式的说明性的用户装备设备;Figure 10 shows an illustrative user equipment device in accordance with an embodiment of the present invention;
图11显示了依据本发明的一个实施方式的说明性的用户装备设备;Figure 11 shows an illustrative user equipment device in accordance with an embodiment of the present invention;
图12-13显示了说明性的媒体导引资料来源(source)的详细视图;Figures 12-13 show detailed views of illustrative media guide sources (source);
图14显示了用于获得、选择以及显示列表的说明性的流程图;Figure 14 shows an illustrative flowchart for obtaining, selecting and displaying lists;
图15显示了用于把用户指引到在线媒体内容的提供者的说明性的流程图;FIG. 15 shows an illustrative flow diagram for directing a user to a provider of online media content;
图16显示了用于基于用户选择的标准单元来获得、选择以及显示列表的说明性的流程图;FIG. 16 shows an illustrative flow diagram for obtaining, selecting, and displaying a list based on user-selected standard cells;
图17显示了用于显示标准单元以及识别在线媒体的说明性的流程图;以及Figure 17 shows an illustrative flow diagram for displaying standard cells and identifying online media; and
图18显示了用于基于用户输入的检索术语来选定标准单元的说明性的流程图。18 shows an illustrative flow diagram for selecting standard cells based on user-entered search terms.
具体实施方式Detailed ways
在任何给定的媒体传送系统中的用户可获得的媒体数量可能是相当多的。因此,许多用户期望通过界面的一种形式的媒体导引,所述的界面允许用户有效地导航媒体选项并轻松地识别他们期望的媒体。这里,提供这种导引的应用程序称为交互媒体导引应用程序,或者有时称为媒体导引应用程序或导引应用程序。类似地,为互联网内容以及可能地其他类型的内容提供导引的媒体导引应用程序在这里称为在线媒体导引应用程序或在线导引应用程序。The amount of media available to users in any given media delivery system can be considerable. Accordingly, many users desire a form of media guidance through an interface that allows users to efficiently navigate media options and easily identify their desired media. An application that provides such guidance is referred to herein as an interactive media guidance application, or sometimes as a media guidance application or guidance application. Similarly, media guidance applications that provide guidance for Internet content and possibly other types of content are referred to herein as online media guidance applications or online guidance applications.
不同形式的交互媒体导引应用程序可为互联网上的媒体内容(例如流媒体、可下载的媒体、网络广播等)提供导引。为在线媒体提供导引的一种典型类型的媒体导引应用程序是交互式电视节目指南。交互式电视节目指南(有时称为电子节目指南)是公知的导引应用程序,除其他外,其允许用户在许多类型的媒体内容间导航以及定位许多类型的媒体内容。不同于在线媒体,这样的内容可包括常见的电视节目编排(经由传统广播、有线、卫星或其他手段来提供),以及按次付费收看的节目、点播节目(如在视频点播(VOD)系统中),以及其他类型的媒体或视频内容。导引应用程序还允许用户在与视频内容相关的内容间导航以及定位与视频内容相关的内容,所述的视频内容包括,例如视频选录、商品(article)、广告、聊天会话、游戏,等等。Different forms of interactive media guidance applications can provide guidance to media content (eg, streaming media, downloadable media, webcasts, etc.) on the Internet. One typical type of media guidance application that provides guidance to online media is an interactive television program guide. Interactive television program guides (sometimes referred to as electronic program guides) are well known navigation applications that, among other things, allow users to navigate among and locate many types of media content. Unlike online media, such content may include common television programming (delivered via traditional broadcast, cable, satellite, or other means), as well as pay-per-view programming, on-demand programming (such as in video-on-demand (VOD) systems ), and other types of media or video content. The navigation application also allows the user to navigate among and locate content related to the video content, including, for example, video selections, articles, advertisements, chat sessions, games, etc. .
随着互联网、移动计算以及高速无线网络的出现,用户访问在个人电脑(PC)以及其他设备上的媒体,传统上用户不访问所述其他设备上的媒体,所述其他设备如手提电脑、个人数字助理(PDA)、移动电话或其他的移动设备。借助这些设备,用户能够在通过电视可获得的相同的媒体间导航以及定位上述相同的媒体。因此,在这些设备上媒体导引也是必要的。提供的导引可用于仅通过电视可获得的媒体内容,用于仅通过一个或更多的这些设备可获得的媒体内容,或用于既可通过电视又可通过一个或更多的这些设备而获得的媒体内容。媒体导引应用程序可被提供作为在线应用程序(即在网站上提供),或提供作为独立(stand-alone)应用程序或作为手提电脑、PDA、移动电话或其他移动设备上的客户端(client)。下面更详细地描述了可执行媒体导引应用程序的各种设备和平台。With the advent of the Internet, mobile computing, and high-speed wireless networks, users access media on personal computers (PCs) and other devices that users traditionally do not access, such as laptops, personal Digital assistants (PDAs), mobile phones or other mobile devices. With these devices, users are able to navigate among and locate the same media available through televisions. Therefore, media guidance is also necessary on these devices. Guides are provided for media content available only through television, for media content available only through one or more of these devices, or for media content available through both television and one or more of these devices Acquired media content. A media guidance application may be provided as an online application (i.e., provided on a website), or as a stand-alone application or as a client (client) on a laptop computer, PDA, mobile phone or other mobile device. ). The various devices and platforms on which the media guidance application can be executed are described in more detail below.
媒体导引应用程序的功能之一是向用户提供媒体列表和媒体信息。图1-2显示了说明性的显示屏,其可用于提供媒体导引,并特别地提供媒体列表。在图1-2中显示的显示屏可以在任何适合的设备或平台上实现。尽管图1-2的显示被示为全屏显示,但它们也可以是全部地或部分地覆盖在正被显示的媒体内容上。用户可通过选择在显示屏中提供的可选择的选项(例如,菜单选项、列表选项、图标、超链接等)或按下遥控或其他用户输入界面或设备上的专用按钮(例如,导引(GUIDE)按钮),来指示访问媒体信息的请求。响应于用户的指示,媒体导引应用程序可提供具有以几种方式中的一种方式来组织的媒体信息的显示屏,所述方式例如按网格中的时间和频道、按时间、按频道、按媒体类型、按分类(例如,电影、体育运动、新闻、儿童、或其他节目编排的分类),或其他预定的,用户定义的或其他组织标准。One of the functions of the media guidance application is to provide media listings and media information to the user. 1-2 show illustrative display screens that may be used to provide media guidance, and in particular media listings. The displays shown in Figures 1-2 can be implemented on any suitable device or platform. Although the displays of FIGS. 1-2 are shown as full screen displays, they may also be fully or partially overlaid on the media content being displayed. The user can select a selectable option (for example, a menu option, a list option, an icon, a hyperlink, etc.) GUIDE) button) to indicate a request to access media information. In response to user instructions, the media guidance application may provide a display screen with media information organized in one of several ways, such as by time and channel in a grid, by time, by channel , by media type, by category (eg, movies, sports, news, children's, or other programming categories), or other predetermined, user-defined, or other organizational criteria.
图1显示了按时间和频道安排的说明性的网格节目列表显示100,所述显示100还允许访问单个显示中的不同类型的媒体内容(例如在线视频)。显示100可包括网格102,网格102具有:(1)一列频道/媒体类型标识符104,其中各频道/媒体类型标识符(其是列中的单格)识别可获得的不同频道或媒体类型;以及(2)一行时间标识符106,其中各时间标识符(其是行中的单格)识别节目编排的时间块(time block)。网格102还包括节目列表的单格,例如节目列表108,其中各列表提供关于列表的关联频道和时间的所提供的节目的名称。使用用户输入设备,用户可通过移动高亮区110来选择节目列表。与由高亮区110选择的节目列表相关的信息可被提供在节目信息区域112中。区域112可包括,例如节目名称、节目说明、提供节目的时间(若可用),节目所在频道(若可用),节目的级别,以及其他期望的信息。FIG. 1 shows an illustrative grid program listings display 100 arranged by time and channel, which also allows access to different types of media content (eg, online video) in a single display.
除了提供对根据时间表提供的线性节目编排的访问,媒体导引应用程序还提供对不根据时间表提供的非线性节目编排的访问。非线性节目编排可包括来自不同媒体源的内容,包括来自不同的在线资料来源的互联网内容(例如,流媒体,可下载的媒体等)、点播媒体内容(例如VOD)、本地存储的媒体内容(例如,储存在数字视频录像机(DVR)、数字视频盘(DVD),盒式录像带、光盘(CD)等上的视频内容),或其他对时间不敏感(time-insensitive)的媒体内容。点播内容可包括由特定的媒体提供者(例如提供“The Sopranos”和“Curb Your Enthusiasm”的HBO点播服务(HBO On Demand))提供的电影和原始的媒体内容。HBO ON DEMAND、THE SOPRANOS以及CURB YOUR ENTHUSIASM是Home Box Office公司所有的商标。互联网内容可包括Web事件,例如聊天会话或网络广播,或通过互联网网站或其他互联网访问(例如FTP)作为流媒体或可下载的媒体可点播获得的内容。In addition to providing access to linear programming that is provided according to a schedule, the media guidance application also provides access to non-linear programming that is not provided according to a schedule. Non-linear programming may include content from various media sources, including Internet content (e.g., streaming media, downloadable media, etc.), on-demand media content (e.g., VOD), locally stored media content (e.g., For example, video content stored on a digital video recorder (DVR), digital video disc (DVD), video cassette, compact disc (CD), etc.), or other time-insensitive media content. On-demand content may include movies and original media content provided by particular media providers, such as HBO On Demand, which offers "The Sopranos" and "Curb Your Enthusiasm." HBO ON DEMAND, THE SOPRANOS and CURB YOUR ENTHUSIASM are trademarks owned by Home Box Office, Inc. Internet content may include web events, such as chat sessions or webcasts, or content available on-demand as streaming or downloadable media through an Internet website or other Internet access (eg, FTP).
网格102可提供用于非线性节目编排的列表,包括点播列表114、记录的媒体列表116以及互联网内容列表118。结合用于来自不同类型的媒体源的内容的列表的显示有时称为“混合媒体(mixed-media)”显示。不同于显示100的、可被显示的列表类型的各种排列可基于用户选择或导引应用程序定义(例如,只有记录的和广播的列表的显示,只有点播的和广播的列表的显示,等等)。如所示,列表114、116和118显示为跨越显示在网格102中的整个时间块,以指示这些列表的选择可分别提供对用于点播列表、记录的列表,或互联网列表的显示的访问。如图1所示,当访问这样的列表时,信息区域112可显示可提供的关于显示的类型的信息。在其他实施方式中,这些媒体类型的列表可直接包括在网格102中。附加的列表可响应于用户选择导航图标120中之一而被显示。(按下用户输入设备上的箭头键可以类似于选择导航图标120的方式来影响显示。)
显示100也可包括视频区域122、广告124和选项区域126。视频区域122可允许用户查看及/或预览用户当前可获得的、将可获得的或以前可获得的节目。视频区域122的内容可相应于,或独立于显示在网格102中的列表的其中之一。包括视频区域的网格显示有时称为导引画面(picture-in-guide)(PIG)显示。PIG显示及其功能在2003年5月13日发布的Satterfield等人的第6,564,378号美国专利,以及2001年5月29日发布的Yuen等人的第6,239,794号美国专利中有更详细的描述,所述的这两个美国专利在此通过引用全部并入。PIG显示可包括在本发明的其他媒体导引应用程序显示屏中。
广告124可为媒体内容提供广告,取决于观看者的访问权限(例如,对于订购节目编排),该媒体内容是当前可用于观看的、将来可用于观看的,或可能根本不会用于观看的,以及可能相应于或无关于网格102中的一个或更多的媒体列表。广告124也可用于关于或无关于显示在网格102中的媒体内容的产品或服务。广告124可以是可选择的,且提供关于媒体内容的更多的信息,提供关于产品或服务的信息,允许购买媒体内容、产品或服务,提供广告相关的媒体内容,等等。基于用户的简介/偏好、监测到的用户活动、提供的显示的类型,或基于其他适合的目标广告,广告124可被作为目标。
尽管广告124显示为矩形或横幅形,但广告可被以任何适合的尺寸、形状,以及导引应用程序显示中的任何位置提供。例如,广告124可被提供为水平地邻近网格102的矩形形状。这有时称为面板广告。此外,广告可覆盖在媒体内容或导引应用程序显示上,或嵌入显示中。广告也可包括文本、图像、旋转图像、视频选录或其他类型的媒体内容。广告可存储在具有导引应用程序的用户装备中,存储在连接到用户装备的数据库中,存储在远程位置(包括流媒体服务器),或存储在其他存储器装置或这些位置的组合上。在例如2003年1月17日提交的Knudson等人的第10/347,673号美国专利申请,2004年6月29日发布的Ward,III等人的第6,756,997号美国专利,以及2002年5月14日发布的Schein等人的第6,388,714号美国专利中,对在媒体导引应用程序中提供广告进行了更详细的讨论,上述专利及专利申请均通过引用而全部并入。应认识到,广告可包括在本发明的其他媒体导引应用程序显示屏中。Although the
选项区域126可允许用户访问不同类型的媒体内容(例如互联网内容)、媒体导引应用程序显示,及/或媒体导引应用程序特征(feature)。选项区域126可以是显示100(及本发明的其他显示屏)的部分,或可以通过用户选择屏幕上的选项或按下用户输入设备上专用或可指定的按钮而调用。选项区域126内的可选择的选项可涉及网格102中的节目列表的相关特征,或可包括可从主菜单显示获得的选项。节目列表的相关特征可包括搜索接收节目的其他播出时间或方式、录制节目、允许系列录制(series recording)节目、设置节目及/或频道为收藏、购买节目,或其他特征。可从主菜单显示获得的选项可包括搜索选项、VOD选项、家长控制选项、对不同类型的列表显示的访问、对额外付费服务的订购、编辑用户的简介、访问浏览覆盖图(browseoverlay),或其他选项。
图2中显示了用于提供导引的另一个显示安排。显示200为互联网传送的视频提供导引,并可被提供作为在线媒体导引应用程序中的显示,或作为客户端-服务器或独立的(例如,基于机顶盒的)导引应用程序中的显示。尽管所公开的实施方式可为电影、用户生成的内容或任何其他类型的媒体内容提供导引,但在这里的一些例子中,提供了互联网传送的电视节目。在一些实施方式中,显示200显示了用户选择显示100中的列表118的结果(图1)。为了清楚和有条理的目的,显示200可分为三列。中心列204包含在镶嵌图案208中安排的媒体列表。左列202允许用户为镶嵌图案208中提供的视频定义标准(例如特定的种类、节目(show),等等)。右列206向用户提供推荐。下面将结合图2-7、8A-8C以及9A-9B来更详细的讨论这些列中的每一列。Another display arrangement for providing guidance is shown in FIG. 2 .
左列202允许用户基于感兴趣的标准选择视频。左列202提供可选择的分类210的列表。这些分类可包括种类、频道、节目、热站列表,类型(例如,电视剧、电影,等等)或任何其他这样的分类。分类的一种可处于被选择的状态。分类可基于用户指示被选择,或可默认为被选择。在被选择的状态下,可以有相应于被选择的分类的可选择的标准单元212的窗口214。该窗口可位于分类名称下方以指示选择了哪一分类。使用用户输入设备,用户可以选择窗口214中的标准单元212(例如通过将高亮区域216移动到期望的标准单元并按下键,或通过直接点击期望的标准单元)。一旦被选择,除了被显示在窗口214内以外,被选择的标准单元还可在218出现。也就是,被选择的标准单元可出现在其相应分类210的下方及窗口214的上方。这指示用户:标准单元已经被成功选择。当在相同的分类内选择了多个标准单元时,各标准单元可按某个顺序(例如,按标准单元被选择的顺序,按字母表顺序,等等)在分类下方列出。即使在分类没被选择时,被选择的标准单元也可在其相应分类的下方列出,如由被选择的标准单元222所指示的。可选择的按钮220可被提供为靠近各被选择的标准单元218和222。选择按钮220可取消对相应的被选择的标准单元的选择。The
对用户来说选择标准单元的可选方法是手动地输入检索术语/关键词。用户可使用用户输入设备将一个或更多的关键词输入搜索条224中。可选择的按钮226可被选择以使用输入的关键词来开始搜索。如果期望,搜索条224可结合左列202使用(例如,用户可基于列202中被选择的标准单元和输入搜索条224中的关键词来定义标准单元)。An alternative method for the user to select standard cells is to manually enter search terms/keywords. A user may enter one or more keywords into the
中心列204可在镶嵌图案208中显示视频集,其中该视频集基于接收搜索条224的用户输入及/或左列202而确定。与图1的列表不同,显示200中的列表不限于描述媒体的简单的文本(例如节目名称)和图标。更确切地,在显示200中,列表可提供包括封面主题(cover art)的图形图像、来自媒体内容的静止图像、视频选录预告片、来自媒体内容的实况视频,或向用户指示由列表描述的媒体内容的其他类型的媒体。每个图形列表还可附有文本以提供关于与列表关联的媒体内容的更多的信息。为避免使附图过于复杂,在图3中显示了镶嵌图案208中列表228的更详细的视图。
图3示出了镶嵌图案208(图2)中的媒体列表228的一个实施方式。视频可由图形标识符302(例如,视频的缩略图/屏幕截图、视频的预告片、视频本身等)表示。视频的级别304可覆盖在图形标识符302的部分上。级别可反映来自所有用户的级别指定,所述的所有用户已经从他们各自的媒体导引应用程序或相关的/关联节目对视频进行了评级。视觉指示器也可附有文本框/覆盖图306以提供关于媒体内容的更多信息。例如,文本描述308可包括媒体名称、视频变为可获得的日期,以及视频的长度。文本框也可包括简单的图标310及/或312。如果媒体花费一定量的金钱以从媒体提供者下载或流出,则可能存在简单的美元符号图标310。如果图标310不存在,则视频是免费的。类似地,如果视频是编辑(例如,电视或电影评论家)推荐的视频,则例如复选标记312的图标可以存在。否则,复选标记310可不存在。FIG. 3 illustrates one embodiment of a
回到图2,在区域230中显示了在应用选择的或输入的标准后全部被识别的视频的数量。区域230显示为处于左列202中,但可以显示在用户界面200上的任何地方。如果识别了比当前在镶嵌图案208中可见的视频更多的视频,则可选择的箭头234和236可用于观看更多的可获得的视频。可选择的箭头234允许用户观看被识别的视频的新的子集,而可选择的箭头236使用户返回到被识别的视频的先前观看的子集。用户可通过选择类别链接238中之一来改变呈现视频的顺序。可根据视频变得可获得的日期(例如最近的在先或最老的在先)、视频的人气(例如基于视频被其他用户选择的总次数)、按随机顺序或使用用于分类视频集的任何其他机制,来分类被识别的视频。Returning to FIG. 2, in area 230 is displayed the number of videos that were fully recognized after applying the selected or entered criteria. Region 230 is shown in
用户界面200还允许用户使用滑块240和242指示期望的最大视频长度和期望的新度。滑块240设置最大视频长度。当滑块240在极右端时,对视频长度没有限制。随着滑块左移,只有越来越短的视频可包括在结果中。例如,如果滑块240处于刻度的中点,则结果中只包含小于30分钟的视频选录。如果滑块在极左端,则结果中只包含小于5分钟的视频片段。类似地,滑块242设置最大日期范围。当滑块242在极右端时,对视频有多老没有限制。随着滑块左移,只有越来越近期的视频可以包括在最后的显示中。
镶嵌图案208是列表228的二乘二的网格。然而,也可使用任何其他的安排,例如三乘三或二乘三的网格。另外,尽管各列表228显示为相同的尺寸,但他们的尺寸也可以不同。按照媒体提供者的期望或基于用户偏好,列表可具有不同尺寸或图形化地突出以指示用户感兴趣的程度、搜索后的各被识别的视频的相关性,或强调某一内容。在例如2005年12月29日提交的Yates的第11/324,202号美国专利申请中讨论了用于图形化地突出媒体列表的不同的系统和方法,该申请在此通过引用被全部并入。
各列表228可以是可选择的框架。在本发明的一个实施方式中,当用户选择可选择的框架时,用户被指引到相应的视频可以被下载或流出的网站。网站可在覆盖图中或在新屏幕中显示。在本发明的另一个实施方式中,当用户选择列表228时,关于视频的附加的信息,例如对节目的描述,可以在覆盖图中或在右列206中呈现给用户。基于该附加的信息,用户可以选择被指引到提供视频的网站,可将视频添加到我的收藏视频列表,或可将视频添加到观看队列244。
观看队列244显示了用户已经选择以在稍后的时间观看的视频的列表。每个视频可由图形标识符,例如屏幕截图/缩略图、视频预告片,或视频本身来表示。在本发明的一个实施方式中,各视频标识符246是可选择的,其向用户提供对用户想要观看的视频的轻松访问。当来自观看队列的视频被选中时,用户可被指引到提供视频的网站。当视频被选中时,视频可自动地从观看队列中移除,或者用户可手动地将视频从观看队列中移除。在本发明的另一个实施方式中,观看队列244起“播放列表”的作用。当用户准备观看来自观看队列的视频时,用户被指引到观看队列中第一个视频的网站。Watch queue 244 displays a list of videos that the user has selected to watch at a later time. Each video can be represented by a graphical identifier, such as a screenshot/thumbnail, a video trailer, or the video itself. In one embodiment of the invention, each
右列206可显示两种类型的信息。其可(1)向用户呈现推荐的视频,或(2)显示关于所选择的视频的附加的信息。图2和图4显示了执行向用户显示推荐的前一功能的最右边的列206。下面将结合图5详细描述后一功能。列206的标题250显示“今日首选(TODAY’S TOPPICKS)”,指示基于一天中最受欢迎的视频而选定的推荐。向用户提供推荐的其他方法将在下面结合图4来详细描述。可通过提供类似于在上面并结合图3讨论的列表228的格式,向用户呈现推荐的视频。可选地,通过列出视频的名称252、具有级别覆盖图256的视频的图形标识符254以及视频的简要的节目描述258,可显示推荐的视频。可为列202中的每一视频提供其他信息。The
当用户最初进入导引应用程序时,首选可基于在任何分类中所有的可获得的视频中最受欢迎的视频。在用户通过搜索关键词或选择左列202中的标准单元来限定感兴趣的视频类型时,右列206中推荐的视频可以改变以反映用户的操作。例如,如果用户选定窗口214中的“动作/冒险(Action/Adventure)”标准单元,则“今日首选”下的视频可以被改变以包括当天最受欢迎的动作/冒险视频中的最前的一个或更多个视频。Preference may be based on the most popular video of all available videos in any category when the user initially enters the guidance application. As the user defines video types of interest by searching keywords or selecting standard cells in the
右列206中提供的推荐可基于除了受欢迎程度之外的标准。例如,推荐可基于编辑的推荐,如在图4的列400中所示。标题402显示“编辑精选(EDITOR’S PICKS)”以反映选定推荐的视频的方式。编辑可以是著名的电影或电视评论家,或用户可认同的任何其他的名人。与本发明的一个实施方式相一致,列400可比镶嵌图案208中的列表(图2)提供更多关于各推荐的视频的信息。例如,对于各推荐的视频,显示了名称404、具有级别408覆盖图的图形标识符(例如,缩略图/屏幕截图等)406以及简要描述410。各视频的等级406可基于用户输入的等级。关于该视频的其他信息可包括来自最初播放该视频的网络的网络符号412(例如FOX)、种类(例如动作/冒险、戏剧,等等)或类型414(例如电视剧、电影,等等)、视频的长度416,以及下载或流出视频的费用418。FOX是福克斯广播公司(FOXBroadcast Company)所有的注册商标。列400只是说明性的,因而可显示关于视频的多于或少于上述信息的信息。The recommendations provided in the
可使用技术(technique)而不是基于受欢迎的程度或编辑精选来为用户选定推荐。推荐可基于用户的兴趣。可通过监测用户在媒体导引应用程序上的行为、通过明白的用户指定,或根据用户简介,来得到用户的兴趣。例如,如果用户不喜欢动作/冒险视频,则推荐的视频可以是排除动作/冒险视频之外的最受欢迎的两个或三个视频。如果用户通常观看以Roger Ebert突出显示的视频,则推荐的视频可以是最新的以Roger Ebert突出显示的两个或三个视频。Recommendations may be selected for the user using techniques rather than based on popularity or editorial picks. Recommendations may be based on the user's interests. A user's interest can be derived by monitoring the user's behavior on the media guidance application, by explicit user designation, or from a user profile. For example, if the user does not like action/adventure videos, the recommended videos may be the two or three most popular videos excluding action/adventure videos. If the user usually watches videos highlighted by Roger Ebert, the suggested videos could be the latest two or three videos highlighted by Roger Ebert.
当用户从镶嵌图案208或推荐的视频选择视频时,右列206(图2)可向用户显示用于被选择的视频的选项,如图5所示。另外,可显示关于视频的更多信息。图5显示了选择图4中的第一个视频或镶嵌图案208中的视频之一的结果。除了关于被选择的视频的信息内容外,还向用户呈现可选择的选项504、506、508、510、516和518。可选择的按钮504打开新的显示或覆盖图并把用户指引到提供视频的网站。可选择的按钮506将当前视频添加到观看队列244(图2),并且可选择的按钮508将视频添加到用户的收藏列表。When a user selects a video from
选项510提供与当前所显示的视频相关的链接。因此,如果用户喜爱视频,则用户可被指引到相关的视频。相关视频作为关键词512呈现给用户。关键词512可以是演员或与视频关联的其他名人、节目所在的网络、相关网络,或与视频关联的任何其他关键词。靠近列表中各关键词的是数字514,其相应于与关键词相关的可获得的视频的数量。例如,在图5中,Kiefer Sutherland是在被选择的节目中的演员,而有392个可获得的该演员的视频。如果用户选定可选择的链接520,则镶嵌图案208(图2)反映为包括该392个视频。最右列206可随后基于被选择的关键词(图4)返回到向用户提供推荐。Option 510 provides links related to the currently displayed video. Thus, if a user likes a video, the user can be directed to related videos. Related videos are presented to the user as keywords 512 . Keywords 512 may be actors or other celebrities associated with the video, the network the show is on, related networks, or any other keywords associated with the video. Next to each keyword in the list is a
列500可呈现与被选择的视频相关的其他选项,包括“发送给友人(Send to Friend)”516以及“关于此视频的博客(Blog about thisVideo)”518特征。特征516允许用户向友人通知当前的视频。在本发明的一个实施方式中,提供视频的网站的URL可被发送到友人的电子邮件地址或可使用任何其他适合的方法被发送给友人。在本发明的另一个实施方式中,视频可被添加到友人的用户简介中的推荐列表,友人可在他或她访问他的或她的在媒体导引应用程序上的帐户时,访问所述推荐列表。电子邮件或用于分发信息的任何其他方法也可被发送给友人,以通知该友人已经添加了新的推荐。
特征518可把用户指向新的显示屏(未图示)。显示屏可允许用户在观看视频后,输入他或她对于视频的想法或评论。这些想法可保存在与用户关联的博客中。博客可包含不同的项目(entry),其中各项目相应于特定的视频或关于视频的相关媒体信息(例如,特定的种类、节目(show)、频道、演员等)。在一些实施方式中,通过选择选项518,关于视频的项目可自动启动。博客可被存储在用户简介中。博客可保存在用户的设备上,且可只是该用户可访问的。可选地,博客可以被远程保存,且博客可以是被指定为友人的用户可访问的,或可以对公众开放来进行阅读。Feature 518 may point the user to a new display screen (not shown). The display screen may allow the user to enter his or her thoughts or comments on the video after watching the video. These thoughts can be saved in a blog associated with the user. A blog may contain different entries, where each entry corresponds to a particular video or related media information about a video (eg, a particular genre, show, channel, actor, etc.). In some implementations, by selecting
通过列500可提供给用户其他特征,但为避免使附图混乱而没有显示这些其他特征,所述其他特征是对视频进行评级的选项,访问关于视频的论坛的选项,或前往关于视频的可修改的(wiki-able)页面的选项。按需要,用户可被指引到论坛以讨论视频或与视频相关的话题(例如,电视节目、提供视频的网络、视频中的演员,等等)。用户也可前往关于视频的可修改的页面或与视频相关的话题以与其他导引应用程序用户分享信息。Other features that may be offered to the user through
媒体导引应用程序,例如提供图2的显示屏200的应用程序,可基于用户的偏好而被个性化。个性化的媒体导引应用程序允许用户定制显示和特征以借助媒体导引应用程序生成个性化的“体验(experience)”。通过允许用户输入这些定制及/或通过媒体导引应用程序监测用户操作以确定各种用户偏好,可生成此个性化的体验。用户可通过登录或以其他方式向导引应用程序确认他们自身而访问他们的个性化导引应用程序。媒体导引应用程序的定制可依据用户简介而制定。定制可包括不同的呈现方案(例如显示的配色方案、文本的字体大小,等等)、显示的媒体内容列表的方面(例如推荐的媒体内容,等等)、显示的标准单元的方面(例如分类或标准单元的排序,等等)、家长控制设置,以及其他期望的定制。A media guidance application, such as the application providing
媒体导引应用程序可允许用户提供用户简介信息或可自动地编制用户简介信息。例如,媒体导引应用程序可监测用户访问的媒体及/或用户可能与导引应用程序的其他交互。另外,媒体导引应用程序可获得与特定用户相关的所有或部分的其他用户简介(例如从用户访问的互联网上的其他网站(web site),比如www.tvguide.com,从用户访问的其他媒体导引应用程序,从用户访问的其他交互式应用程序,从用户的手持设备,等等)及/或从媒体导引应用程序可访问的其他资料来源获得关于用户的信息。结果,在用户的不同设备上,可为用户提供统一的导引应用程序体验。下面结合图11更详细地描述了此类型的用户体验。附加的个性化媒体导引应用程序特征在2005年7月11日提交的Ellis等人的第11/179,410号美国专利申请,1999年11月9日提交的Boyer等人的第09/437,304号美国专利申请,以及2002年2月21日提交的Ellis等人的第10/105,128号美国专利申请中作出了更详细的描述,这些美国专利申请在此通过引用被全部并入。The media guidance application may allow the user to provide user profile information or may automatically compile user profile information. For example, the media guidance application may monitor the media accessed by the user and/or other interactions the user may have with the guidance application. Additionally, the media guide application may obtain all or part of other user profiles related to a particular user (e.g., from other web sites on the Internet that the user visits, such as www.tvguide.com, from other media sites that the user visits information about the user from other interactive applications accessed by the user, from the user's handheld device, etc.) and/or from other sources accessible to the media guidance application. As a result, the user may be provided with a unified guided application experience across the user's different devices. This type of user experience is described in more detail below in connection with FIG. 11 . Additional Personalized Media Guidance Application Features U.S. Patent Application No. 11/179,410 to Ellis et al., filed July 11, 2005, and U.S. Patent Application No. 09/437,304 to Boyer et al., filed November 9, 1999. patent application, and in US Patent Application Serial No. 10/105,128, Ellis et al., filed February 21, 2002, which are hereby incorporated by reference in their entirety.
用户可输入偏好以定制由导引应用程序提供的显示,例如通过图6中的显示600。用户偏好可保存在与该用户关联的用户简介中。用户界面600可显示用户的喜爱的视频、用户的显示偏好,且可允许用户添加或移除偏好。我的收藏视频列表602是视频的列表,其中用户通过例如选择“添加到我的收藏夹(Add to My Favorites)”可选择的按钮508(图5)来将各视频标记为喜爱的视频。列表中的各项目可由图形标识符604(例如屏幕截图/缩略图)和文本信息606标识。文本信息606可包括视频名称、视频长度、视频变得可获得的日期,以及任何其他相关信息。靠近列表602中各视频的“关闭”指示符608允许用户从列表中移除任何单独的视频。我的收藏视频列表602可不同于观看队列246,至少因为收藏列表被保存得更长久(例如,在用户简介中)。因此用户可离开导引应用程序而在稍后的时间返回应用程序,而不丢失保存在显示600中的信息。收藏列表602下方是“发送给友人”的链接610。链接610允许用户将用户的收藏列表中的视频发送给友人。可使用结合图5中的链接516描述的任何技术,将收藏列表602发送给友人。A user may enter preferences to customize the display provided by the guidance application, such as through
用户可在我的偏好列表612中输入观看偏好。我的偏好列表612可包括一个或更多的用户的喜爱的(favorite)编辑614。我的偏好列表612可包括一个或更多收藏的视频类型616。用户界面200的左列202(图2)中可获得的任何可选择的标准单元(例如,种类、频道、节目、热站列表、视频类型,等等中的标准单元)都可包括在我的偏好列表中。用户输入的任何偏好可通过选择相应于偏好的按钮618而被移除,并且可通过选择链接620添加偏好。链接620可把用户带到允许用户选定附加的选项以包括在我的偏好中的新的屏幕(未图示)或覆盖图。A user may enter viewing preferences in my
链接622可用于在可获得用户感兴趣的新的视频时设置警报。当符合我的偏好列表612中的一个或更多标准单元的新的视频变得可获得时,可通知用户。用户可设置警报,以使得任何或所有的标准单元被用于触发警报。警报可以是以用于传送消息的电子邮件、文本消息的形式或其他适合的形式,所传送的消息是:用户感兴趣的新的视频已变得可获得。
用户界面200(图2)可基于输入列表624和626中的偏好而被定制。列表624阻止显示不具有列表中至少一个标准单元的性质的任何视频。例如,在说明性的用户界面600中,用户已经指定他或她只想观看动作/冒险类型的结果。列表624的过滤作用只可在至少一个标准单元被选择的情况下发生。User interface 200 ( FIG. 2 ) can be customized based on preferences entered in
列表626可阻止把满足列表中的任何标准单元的视频呈现给用户。因此,如果列表620为空,则列表620对呈现给用户的视频没有影响。通过使用列表624或列表626,用户可以有效地控制在任何搜索中可以返回或不可以返回什么类型的视频。显示600也可包括用于定制用户界面200的其他选项。在一些实施方式中,用户可以改变左列202的格式或选项。用户可包括分类或阻止分类被显示。用户可选择显示分类或标准单元的顺序。
图7显示了在新闻分类中的可获得的视频的说明性维恩图700。如维恩图700中所示,在新闻种类702中,可显示给用户的有2000个视频。在这2000个新闻视频中,139个视频与频道-喜剧中704相关。另外,2000个新闻视频中的518个与频道-C-SPAN(公共事务卫星有线电视网)706有关。有比在维恩图中所显示的更多的与这两个频道相关的视频,但它们不在新闻种类中。其用延伸出新闻框702的虚线710显示。最后,如框708所显示的,新闻种类中的30个视频与喜剧中心和C-SPAN都相关。FIG. 7 shows an illustrative Venn diagram 700 of available videos in the news category. As shown in Venn diagram 700, within
在图8A-8C和图9A-9B中显示的示例性显示屏示出了用户界面200,且更具体地左列202(图2)的典型的使用环境。参考图7中的维恩图700对该环境进行描述。在不同的阶段,列202(图2)可采取图8A-8C中的列800A-800C的形式。在此环境中,使用列202(图2)作为范围缩小机制,由此被识别的视频的数量随着各个被选择的标准单元而减小。最初,列202可包括用于种类、频道、节目和热站列表的分类。种类分类可默认为被选择的,并且显示种类分类的标准单元。(见图2)当用户选择种类分类中的标准单元“新闻”802时,标准单元在种类分类标题下方以及可选择的单元的窗口上方列出。靠近被选择的标准单元804的是“关闭”按钮806,该按钮可用于取消对标准单元的选择,并将标准单元从窗口812上方的位置移除。在用户选择新闻种类之后,新闻种类中可获得的在线视频被识别。被识别的视频的数量,或者说2000,被显示在708处,该数量与在维恩图700中可获得的新闻视频的数量一致。The exemplary display screens shown in FIGS. 8A-8C and 9A-9B illustrate a typical usage environment for
如果接收到用户选择了分类-频道810,则相应于种类分类的可选择的单元的窗口812被关闭。相应于频道分类的窗口814呈现在频道分类标题下方。窗口814中的标准单元的每一个都具有新闻种类中的视频。不具有新闻种类中的视频的频道不被包括在窗口814中。当接收到用户选择了标准单元816(喜剧中心)时,与之前一样,标准单元818被移动到分类标题下方,且靠近标准单元提供“关闭”按钮820。在用户选择喜剧中心频道标准单元之后,识别既在新闻种类内又与喜剧中心相关的可获得的在线视频。在822处显示被识别的视频的数量,或者说139。因此,在新闻种类内的2000个视频中,只有其中的139个与喜剧中心相关,而视频集的范围相应缩小。这与维恩图700中的704一致。If it is received that the user selects the category-
在选择了频道分类中的C-SPAN后,在图8C的824中显示视频的剩余数量,或者说30。因此,对于既符合新闻又符合喜剧中心标准的139个视频来说,其中只有30个视频同时与C-SPAN相关。此数量与维恩图700中的708一致。如果选择了节目分类,则窗口814被关闭,并且相应于电视节目的新窗口-窗口826被呈现在节目分类标题的下方。注意到只有一个节目,每日秀(The Daily Show)在窗口中列出。这表明基于新闻的、与喜剧中心相关的并与C-SPAN相关的所有30个视频出现在每日秀中,或者至少与每日秀相关。After selecting C-SPAN in the channel category, the remaining number of videos, or 30, are displayed in 824 of FIG. 8C. So, of the 139 videos that met both News and Comedy Central criteria, only 30 of them were also C-SPAN-related. This quantity is consistent with 708 in Venn diagram 700 . If a program category is selected,
如果接收到移除喜剧中心标准单元的用户指示(例如,如果接收到用户选择了按钮820),则被识别的视频只需要符合新闻和C-SPAN标准,根据维恩图700,这将产生818个视频。这随后可反映在用户界面上(未图示)。标准单元将相应地改变,且将包括具有既符合新闻又符合C-SPAN标准的可获得的视频的节目。If a user indication to remove a Comedy Central standard cell is received (e.g., if it is received that the user selected button 820), the identified video need only conform to the News and C-SPAN standards, which would yield 818 according to the Venn diagram 700 videos. This can then be reflected on a user interface (not shown). Standard cells will change accordingly and will include programs with video available that conform to both news and C-SPAN standards.
列202(图2)也可采取图9A和9B中的900A和900B的形式。在此使用环境中,范围缩小机制可不时地随着随后对标准单元的选择而增加被识别的视频集。达到在图9A中显示的配置所涉及的步骤可通过上面结合图8A和8B所描述的步骤而实现。因此,为了方便起见,图8B被复制为图9A。在图9A中,选择种类分类的新闻标准单元以及频道分类的喜剧中心标准单元,并且显示频道分类的标准单元。这产生139个视频,与维恩图700一致。Column 202 (FIG. 2) may also take the form of 900A and 900B in FIGS. 9A and 9B. In this context of use, the narrowing mechanism may from time to time increase the set of identified videos with subsequent selections of standard cells. The steps involved in arriving at the configuration shown in Figure 9A can be achieved by the steps described above in connection with Figures 8A and 8B. Therefore, Figure 8B is reproduced as Figure 9A for convenience. In FIG. 9A , news standard cells of category classification and Comedy Central standard cells of channel classification are selected, and the standard cells of channel classification are displayed. This yields 139 videos, consistent with a Venn diagram of 700.
在频道分类中选择C-SPAN之后,被识别的视频被扩大以包括喜剧中心或C-SPAN中与新闻相关的视频。相应地,在904显示的被识别的视频的数量从139增加到627个视频。如通过观看节目分类中可选择的标准单元的窗口906(例如,通过选择节目分类)可以看到的,列出了既来自喜剧中心又来自C-SPAN的、与新闻相关的节目。注意到在窗口906中,分开了来自各频道的视频(节目908来自喜剧中心,而节目910来自C-SPAN),以便显示它们符合别的分类中的不同标准单元。在一些实施方式中,标准单元被一起显示(例如按字母表的顺序),而不考虑其他分类中被选择的标准单元。After selecting C-SPAN in the channel category, the identified videos were expanded to include news-related videos from Comedy Central or C-SPAN. Accordingly, the number of identified videos displayed at 904 increases from 139 to 627 videos. As can be seen by viewing the window 906 of selectable standard cells in the program category (eg, by selecting the program category), news-related programs from both Comedy Central and C-SPAN are listed. Note that in window 906, the videos from each channel (show 908 from Comedy Central and show 910 from C-SPAN) are separated to show that they fit into different standard units in other categories. In some implementations, standard cells are displayed together (eg, in alphabetical order) regardless of selected standard cells in other categories.
如果接收到移除喜剧中心标准单元的用户指示(例如如果接收到用户选择了按钮914),则视频集可被缩小。这种情况下,被识别的视频将需要符合新闻和C-SPAN标准,根据维恩图700,这将使视频集从627减少到518。这随后可反映在用户界面上(未图示)。标准单元将相应地改变,且将包括具有既符合新闻又符合C-SPAN标准的可获得的视频的节目。If a user indication to remove a Comedy Central standard unit is received (eg, if a user selection of
用户可从他们的用户装备设备中的一个或更多来访问媒体内容以及媒体导引应用程序(及其上面描述的显示屏)。图10显示了说明性的用户装备设备1000的一般化的实施方式。用户装备设备的更具体的实现在下面结合图11进行讨论。用户装备设备1000可经由输入/输出(下文中的“I/O”)通道1002接收媒体内容和数据。I/O通道1002可向控制电路1004提供媒体内容(例如,广播节目编排、点播节目编排、互联网内容,以及其他视频或音频)和数据,所述控制电路1004包括处理电路1006和存储器1008。利用I/O通道1002,控制电路1004可用于发送和接收命令、请求以及其他适合的数据。I/O通道1002可将控制电路1004(且特别是处理电路1006)连接到一个或更多的通信通道(在下面描述)。I/O功能可通过这些通信通道中的一个或更多来提供,但在图10中显示为单一的通道以避免使附图过于复杂。Users may access media content as well as media guidance applications (and the display screens described above) from one or more of their user equipment devices. FIG. 10 shows a generalized implementation of an illustrative
控制电路1004可基于任何适合的处理电路1006,例如基于一个或更多的微处理器、微控制器、数字信号处理器、可编程逻辑器件等的处理电路。在一些实施方式中,控制电路1004执行用于存储在存储器(即,存储器1008)中的媒体导引应用程序的指令。在基于客户机-服务器的实施方式中,控制电路1004可包括适合与导引应用程序服务器或其他网络或服务器通信的通信电路。通信电路可包括电缆调制解调器、综合服务数字网(ISDN)调制解调器、数字用户线路(DSL)调制解调器、电话调制解调器,或用于与其他设备通信的无线调制解调器。这样的通信涉及互联网以便至少获得在线媒体内容,且附加地可涉及任何其他适合的通信网络或通道(结合图11进行了更详细的描述)。此外,通信电路可包括允许用户装备设备的对等通信,或位置相互远离的位置的用户装备设备的通信的电路(下面更详细的描述)。
存储器(例如随机存取存储器、只读存储器或任何其他适合的存储器)、硬盘驱动器、光驱或任何其他适合的固定的或可移动的存储设备(例如DVD记录器、CD记录器、盒式磁带录像机或其他适合的记录设备)可被提供作为控制电路1004的部分的存储器1008。存储器1008可包括一个或更多的以上类型的存储设备。例如,用户装备设备1000可包括用于DVR的硬盘驱动器(有时称为个人录像机,或PVR)和作为辅助存储设备的DVD记录器。存储器1008可用于存储在此描述的各种类型的媒体和导引应用程序数据,包括节目信息、导引应用程序设置、用户偏好或简介信息,或在操作导引应用程序时使用的其他数据。也可使用非易失性存储器(例如以运行启动例行程序和其他指令)。memory (such as random access memory, read-only memory, or any other suitable memory), hard drives, optical drives, or any other suitable fixed or removable storage devices (such as DVD recorders, CD recorders, video cassette recorders or other suitable recording device) may be provided as part of the memory 1008 of the
控制电路1004可包括视频产生电路和调谐电路,例如一个或更多的模拟调谐器(analog tuner)、一个或更多的MPEG-2解码器或其他数字解码电路、高清调谐器,或任何其他适合的调谐或视频电路,或这种电路的组合。也可提供编码电路(例如用于将无线电(over-the-air)模拟或数字信号转换成MPEG信号以便存储)。控制电路1004也可包括缩放器电路(scaler circuitry),用于将媒体上变频(upconverting)和下变频(downconverting)成用户装备1000的优选的输出格式。电路1004也可包括数模转换器电路和模数转换器电路以便在数字信号和模拟信号之间进行转换。用户装备可使用调谐和编码电路来接收和显示、播放或记录媒体内容。调谐和编码电路也可用于接收导引数据。在此描述的电路,包括例如调谐、视频产生、编码、解码、缩放器,和模拟/数字电路,这些电路可使用在一个或更多的通用的或专用的处理器上运行的软件而实现。可提供多个调谐器以处理同时的调谐功能(例如,观看和记录功能、画中画(PIP)功能、多调谐器记录等)。如果存储器1008被提供为与用户装备1000分离的装置,则调谐和编码电路(包括多个调谐器)可以与存储器1008关联。
用户可使用用户输入接口1010来控制控制电路1004。用户输入接口1010可以是任何适合的用户接口,例如遥控器、鼠标、轨迹球、小键盘、键盘、触摸屏、触摸板、指示笔输入器、操纵杆、声音识别接口或其他用户输入接口。显示器1012可提供为独立的设备或与用户装备设备1000的其他单元集成。显示器1012可以是监视器、电视、移动设备的液晶显示器(LCD),或用于显示视觉图像的任何其他适合的设备中的一种或更多种。在一些实施方式中,显示器1012可以是HDTV可用的(HDTV-capable)。扬声器1014可提供为与用户装备设备1000的其他单元集成,或可以是独立的部件。在显示器1012上显示的视频和其他媒体内容的音频成分可通过扬声器1014播放。在一些实施方式中,音频可分送给接收器(未显示),该接收器处理音频并经由扬声器1014输出音频。A user may control the
图10的用户装备设备1000可以在图11的系统1100中实现为用户电视装备1102、用户计算机装备1104、无线用户通信设备1106或适合于访问媒体的任何其他类型的用户装备,例如非便携的游戏机。为简单起见,在这里这些设备可统称为用户装备或用户装备设备。用户装备设备(媒体导引应用程序在其上执行)可起独立设备的作用,或可以是设备网络的部分。可实现设备的各种网络配置,下面将更详细的讨论。
用户电视设备1102可包括机顶盒、用于处理卫星电视的综合解码接收机(IRD)、电视机、数字存储设备、DVD记录器、盒式磁带录像机(VCR)、本地媒体服务器,或其他用户电视装备。按需要,一个或更多的这些设备可集成为单个设备。用户计算机装备1104可包括PC、膝上型电脑、图形输入板(tablet)、网络电视盒(WebTV box)、个人计算机电视(PC/TV)、PC媒体服务器、PC媒体中心,或其他用户计算机装备。WEBTV是Microsoft Corp所有的商标。无线用户通信设备1106可包括PDA、移动电话、便携式视频播放器、便携式音乐播放器、便携式游戏机,或其他无线设备。
应注意到,随着用于PC的电视调谐卡(television tuner card)、网络电视的出现以及视频结合到其他用户装备设备中,在试图将一种设备归类为以上设备中的一种时,界限已经变得模糊了。实际上,用户电视装备1102、用户计算机装备1104,和无线用户通信设备1106中的每一个都可使用结合图10在上面描述的系统特征中的至少一些特征,并且因此,包括与这种设备上可获得的媒体内容的类型相关的适应性(flexibility)。例如,用户电视装备1102可以是具有互联网功能的(Internet-enabled)、允许访问互联网内容的,而用户计算机装备1104可包括允许访问电视节目编排的调谐器。媒体导引应用程序还可在各种不同类型的用户装备上具有相同的布置,或可以是适合用户装备的显示能力的。例如,在用户计算机装备上,导引应用程序可提供为通过网络浏览器访问的网站。在另一个例子中,导引应用程序可按比例缩小用于无线用户通信设备。It should be noted that with the advent of television tuner cards for PCs, Internet TV, and the incorporation of video into other consumer equipment devices, the boundaries has become blurred. In practice, each of
在系统1100中,通常有多于一个的各类型的用户装备设备,但在图11中各类型只显示了一个,以避免使附图过于复杂。此外,各用户可使用多于一种类型的用户装备设备(例如用户可以有电视机和计算机)以及同样的可使用多于一个的各类型的用户装备设备(例如用户可以有PDA和移动电话及/或多个电视机)。In
用户还可设定各种设置以在家用设备和远程设备上保持一致的媒体导引应用程序设置。设置包括这里所描述的,以及导引应用程序用来制作节目编排推荐、显示偏好的频道和节目收藏、节目编排偏好,及其他期望的导引设置。例如,如果用户在他们的办公室他们的个人电脑上的例如网站www.tvguide.com上将频道设置为收藏,则相同的频道将作为收藏出现在用户的家用设备(例如,用户电视装备和用户计算机装备)上,以及用户的移动设备上,如果期望的话。因此,在一个用户装备设备上作出的改变可改变在另一个用户装备设备上的导引体验,而不考虑这些装备设备是否为相同的或不同类型的用户装备设备。此外,作出的改变可基于用户输入的设置,以及导引应用程序监测到的用户的操作。Users can also set various settings to maintain consistent media guidance application settings on home and remote devices. Settings include those described herein, and are used by the guidance application to make programming recommendations, display preferred channel and program favorites, programming preferences, and other desired guidance settings. For example, if a user sets a channel as a favorite on, for example, the website www.tvguide.com on their personal computer at their office, the same channel will appear as a favorite on the user's home devices (e.g., user television equipment and user computer device), and, if desired, on the user's mobile device. Thus, changes made on one user equipment device can change the navigation experience on another user equipment device, regardless of whether the equipment devices are the same or different types of user equipment devices. In addition, the changes made may be based on settings entered by the user, as well as user actions monitored by the guidance application.
用户装备设备可耦合到通信网络1114。即,用户电视装备1102、用户计算机装备1104和无线用户通信设备1106分别经由通信通道1108、1110和1112耦合到通信网络1114。通信网络1114包括互联网,且附加地可以是一个或更多的其他网络,所述其他网络包括移动电话网、移动设备(例如黑莓机(Blackberry))网、电缆网(cable network),公共交换电话网或其他类型的通信网络或通信网络的组合。BLACKBERRY是Research In Motion有限公司所有的商标。通道1108、1110和1112可分别地或共同地包括一个或更多的通信通道,例如卫星通道、光纤通道、电缆通道、支持互联网通信的通道(例如,IPTV)、自由空间连接(例如用于广播或其他无线信号),或任何其他适合的有线或无线通信通道或这些的通道的组合。通道1112用虚线画出以指示在图11所示的示例性的实施方式中,通道1112是无线通道,而通道1108和1110用实线画出以指示它们是有线通道(尽管按需要,这些通道可以是无线通道)。与用户装备设备的通信可以由这些通信通道中的一个或更多提供,但在图11中被显示为单一的通道,以避免使附图过于复杂。A user equipment device may be coupled to a
尽管在用户装备设备之间没有画出通信通道,但这些设备可以经由通信通道彼此直接进行通信,所述通信通道例如结合通道1108、1110和1112在以上所描述的通道,以及其他短程点对点通信通道,例如USB电缆、IEEE1394电缆、无线通道(例如,蓝牙、红外线、IEEE 802-11x,等等),或经由有线或无线通道的其他短程通信。BLUETOOTH是Bluetooth SIG公司所有的商标。用户装备设备也可借助通信网络1114通过间接通道而彼此直接进行通信。Although no communication channels are drawn between user equipment devices, these devices may communicate directly with each other via communication channels such as those described above in connection with
系统1100包括分别经由通信通道1120和1122耦合到通信网络1114的网络服务器1116和媒体导引数据源1118。通道1120和1122可包括结合通道1108、1110和1112而在以上描述的任何的通信通道。与网络服务器1116和媒体导引数据源1118的通信可在一个或更多的通信通道上交换,但在图11中只显示了单一的通道以避免使附图过于复杂。此外,可以有多于一个的网络服务器1116和媒体导引数据源1118中的每一个,但在图11中网络服务器1116和媒体导引数据源1118都只显示了一个,以避免使附图过于复杂。(在下面讨论了这些源中的每一个的不同类型。)如果需要,网络服务器1116和媒体导引数据源1118可集成为一个源设备。尽管源1116和1118与用户装备设备1102、1104和1106之间的通信被显示为通过通信网络1114,但在一些实施方式中,源1116和1118可以经由通信通道(未显示)与用户装备设备1102、1104和1106直接进行通信,所述通信通道例如结合通道1108、1110和1112在以上所描述的通道。
在线媒体可由网络服务器1116提供。网络服务器1116可提供在线媒体提供者的网站(例如电视网网站、娱乐网站、电影网站或集合来自多个源的内容的网站)。在线媒体提供者可在主机上存有(host)多种内容(例如,未经删节的电影/电视剧、电影/情节的部分、预告片/预告、演员/导演/制片人访谈、音乐视频、原始的仅在线的内容、网络或节目的推广,等等)。在线媒体提供者可以在主机上存有不同类型的媒体(例如流媒体、可下载的媒体、用户生成的媒体、专业生成的媒体,等等)。提供的在线媒体可本地存储在网络服务器1116或存储在远程媒体服务器中。除了媒体内容外,网络服务器1116还可为各被提供的媒体存储元数据(例如名称、描述、URL,等等)。Online media may be provided by
一个或更多的其他媒体源(未显示)也可向用户装备提供媒体内容,并通过一个或更多的通道连接到通信网络,所述一个或更多的通道可包括结合通道1108、1110和1112在上面所描述的任何的通信通道。其他媒体源可包括一个或更多类型的媒体分发装备,包括电视分发设施,电缆系统前端(cable system headend)、卫星分发设施、节目编排源(例如电视广播,比如NBC、ABC、HBO,等等),中间分发设施(intermediate distribution eq uipment)及/或服务器,点播媒体服务器以及其他媒体内容提供者。NBC是National BroadcastingCompany(国家广播公司)所有的商标,ABC是ABC公司(美国广播公司)所有的商标,而HBO是Home Box Office(家庭票房)公司所有的商标。其他媒体源可以是媒体内容的创作者(例如电视广播公司、网络广播提供者等),或可以不是媒体内容的创作者(例如点播媒体内容的提供者等)。其他媒体源可包括电缆资料来源、卫星提供者、点播提供者或媒体内容的其他提供者。其他媒体源也可包括远程媒体服务器,其用于将不同类型的媒体内容(包括用户选择的视频内容)存储在远离于任何的用户装备设备的位置。用于远程存储媒体内容并向用户装备提供远程存储的媒体内容的系统和方法结合1999年6月11日提交的Ellis等人的第09/332,244号美国专利申请进行了更详细的讨论,该美国专利申请在此通过引用被全部并入。One or more other media sources (not shown) may also provide media content to the user equipment and be connected to the communication network through one or more channels, which may include combining
媒体导引数据源1118可为媒体导引应用程序提供媒体导引数据。媒体导引数据源1118包括数据存储装置(data store)1124和1126,并可提供来自任一数据存储装置的导引数据。导引数据可包括节目信息,例如节目名称、情节名称、情节概要、编辑评论等,这通常可在,例如TV Guide Magazine(电视指南杂志)或在www.tvguide.com上找到。数据存储装置1124和1126可以是一个或更多关系数据库或其他适合的存储机构。数据存储装置1124和1126可以是本地的(如系统1100所示),或处于远程位置。Media
数据存储装置1126存储在线可获得或不可获得的媒体导引数据。所存储的媒体导引数据可包括媒体列表、与媒体相关的信息(例如广播时间、播放频道、媒体名称、媒体描述、等级信息(例如家长控制等级、评论家的等级等)、种类或分类信息、演员信息,广播公司或提供者的商标的商标数据等)、媒体格式(例如MPEG)、广告信息(例如文本、图像、媒体选录等)以及有助于用户在期望的媒体选择间导航并定位期望的媒体选择的任何其他类型的导引数据。数据存储装置1126也可将给相关媒体加附注的标识符存储到数据存储装置1124中。
媒体导引数据源1118也可包括数据存储装置1124。数据存储装置1124存储与在网络服务器1116上可获得的视频相关的信息。数据存储装置1124可存储与来自网络服务器1116的各视频关联的元数据(例如名称、描述、URL等),或可以存储得自元数据的信息。数据存储装置1124也可存储不是从网络服务器1116提供的元数据(例如输入到数据存储装置1124中的数据、受欢迎的程度、用户生成的标签/关键词等)。数据存储装置1124可以将标识符存储到数据存储装置1126中以指示与从网络服务器1116上找到的视频相关的附加媒体导引数据。在一些实施方式中,数据存储装置1124存储由网络服务器1116提供的网在线媒体连同关于该媒体的信息。Media
媒体导引应用程序数据可使用任何适合的方法提供给用户装备设备。在一些实施方式中,导引应用程序可以是独立的交互式电视节目指南,其经由数据传送专线(data feed)(例如连续传送专线(continuous feed)、连续补充式传送专线(trickle feed),或频道的垂直消隐期中的数据)接收节目指南数据。可在电视频道边带上,在电视频道的垂直消隐期间,使用带内数字信号,使用带外数字信号,或通过任何其他适合的数据传输技术,来向用户装备提供节目时间表数据和其他导引数据。可在多个模拟或数字电视频道上向用户装备提供节目时间表数据和其他导引数据。可以任何适合的频率(例如,连续地、每天地、用户规定的时间段、系统规定的时间段、响应于来自用户装备的请求等)向用户装备提供节目时间表数据和其他导引数据。在一些方法中,可使用客户端-服务器的方法向用户装备提供来自媒体导引数据源1118及/或其他媒体源的导引数据。例如,用户装备上存在的导引应用程序客户端可在需要时发起与源1118的会话以便获得导引数据。媒体导引数据源1118可向用户设备装置1102、1104和1106提供媒体导引应用程序本身或用于媒体导引应用程序的软件更新。Media guidance application data may be provided to the user equipment device using any suitable method. In some implementations, the navigation application may be a stand-alone interactive television program guide that is routed via a data feed (e.g., a continuous feed, a trickle feed, or data in the channel's vertical blanking interval) to receive program guide data. Program schedule data and other information may be provided to the user equipment on the television channel sideband, during the vertical blanking period of the television channel, using an in-band digital signal, using an out-of-band digital signal, or by any other suitable data transmission technique bootstrap data. Program schedule data and other guidance data may be provided to user equipment on a plurality of analog or digital television channels. Program schedule data and other guidance data may be provided to user equipment at any suitable frequency (eg, continuously, daily, for user-specified time periods, system-specified time periods, in response to a request from user equipment, etc.). In some approaches, a client-server approach may be used to provide user equipment with guidance data from media
举例来说,媒体导引应用程序可以是在用户装备设备上实现的独立的应用程序。在其他实施方式中,媒体导引应用程序可以是客户端-服务器应用程序,其中只有客户端存在于用户装备设备上。例如,媒体导引应用程序可部分地实现为用户装备设备1000的控制线路1011上的客户端应用程序,以及部分地实现为远程服务器上的服务器应用程序(例如媒体导引数据源1118)。导引应用程序显示可由媒体导引数据源1118产生并传输到用户装备设备。媒体导引数据源1118也可传输数据以便在用户装备上存储,其随后基于由控制电路处理的指令来产生导引应用程序显示。For example, a media guidance application may be a stand-alone application implemented on a user equipment device. In other implementations, the media guidance application may be a client-server application, where only the client resides on the user equipment device. For example, a media guidance application may be implemented partly as a client application on control line 1011 of
媒体导引系统1100旨在说明一些方法或网络配置,通过这些方法和网络配置,用户装备设备以及媒体内容和导引数据的源可以相互通信,以便于访问包括互联网传送的内容的媒体以及提供媒体导引。本发明可应用在这些方法中的任何一种或这些方法的子集中,或者可以应用在使用传送媒体并提供媒体导引的其他方法的系统中。下面三种方法提供了对图11的一般化的实例的具体的说明。
在一种方法中,用户装备设备可在家庭网络内相互通信。用户装备设备可以经由上面描述的短程点对点通信方案,经由通过在家庭网络上提供的集线器或其他类似设备的间接通道,或经由通信网络1114,而直接相互通信。在单个家庭中的多个个人中的每一个人都可以操作家庭网络上的不同用户装备设备。结果,可能期望不同的媒体导引信息(包括用于互联网传送内容的媒体导引信息或者设置),在不同的用户装备设备之间传递。例如,用户可期望在家庭网络中的不同用户设备装置上保持一致的媒体导引应用程序设置,就如在2005年7月11日提交的Ellis等人的第11/179,410号美国专利申请中所更加详细描述的。家庭网络中的不同类型的用户装备设备也可相互通信以传输媒体内容。例如,用户可将来自用户计算机装备的在线媒体内容传输给便携式视频播放器或便携式音乐播放器。In one approach, user equipment devices may communicate with each other within a home network. The user equipment devices may communicate directly with each other via the short-range point-to-point communication schemes described above, via an indirect channel through a hub or other similar device provided on the home network, or via the
在第二种方法中,用户可具有多种类型的用户装备,用户通过这些装备访问包括互联网传送的媒体内容的媒体内容,并获得媒体导引。例如,一些用户可以具有由家用设备和移动设备访问的家庭网络。用户可以经由在远程设备上执行的媒体导引应用程序控制家用设备。例如,经由用户办公室的个人电脑,或移动设备(例如PDA或具有网络功能的移动电话),用户可以访问网站上的在线媒体导引应用程序。用户可以在在线导引应用程序上设定各种设置(例如记录、提醒或其他设置),以控制用户的家用装备。在线导引可直接地控制用户的装备,或通过与用户的家用装备上的媒体导引应用程序进行通信来控制用户的装备。用于用户装备设备通信的各种系统和方法(其中用户装备设备处于相互远离的位置)在例如2004年8月26日提交的Ellis等人的第10/927,814号美国专利申请中进行了讨论,该美国专利申请在此通过引用被全部并入。In a second approach, a user may have various types of user equipment through which the user accesses media content, including Internet-delivered media content, and obtains media guidance. For example, some users may have a home network accessed by home devices and mobile devices. A user can control the home device via a media guidance application executing on the remote device. For example, via a personal computer at the user's office, or a mobile device such as a PDA or web-enabled mobile phone, the user can access an online media guidance application on the website. Users can set various settings (such as records, reminders or other settings) on the online guidance application to control the user's home equipment. The online guide can control the user's equipment directly, or by communicating with a media guidance application on the user's home equipment. Various systems and methods for user equipment device communication, where the user equipment devices are located remotely from each other, are discussed, for example, in U.S. Patent Application No. 10/927,814 to Ellis et al., filed August 26, 2004, This US patent application is hereby incorporated by reference in its entirety.
在第三种方法中,在家中和不在家中的用户装备设备的用户能够使用他们的媒体导引应用程序以直接与网络服务器1116或其他媒体内容源进行通信,以便访问互联网传送的内容以及其他媒体内容。具体地,在家中时,用户电视装备1104和用户计算机装备1106的用户可访问媒体导引应用程序以在期望的媒体内容之间导航并定位期望的媒体内容。用户也可在不在家时使用无线用户通信设备1106访问媒体导引应用程序,以在期望的媒体内容之间导航并定位期望的媒体内容。In a third approach, users of user equipment devices, both at home and away, can use their media guidance applications to communicate directly with
应认识到,尽管对媒体内容的讨论集中在了视频内容上,但媒体导引的原理也可被应用到其他类型的媒体内容,例如应用到音乐、图像,等等。It should be appreciated that although the discussion of media content has focused on video content, the principles of media guidance can also be applied to other types of media content, such as to music, images, and the like.
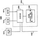
图12中显示了媒体导引数据源1118的一个实施方式的更详细的视图。除数据存储装置1124和1126之外,媒体导引数据源1118还可包含网络爬虫(web crawler)设备1202和网络服务器1204。网络爬虫设备1202和网络服务器1204每一个都可包括一个或更多的处理电路1214和1208以及存储器1216和1210。它们可包括结合图10在上面描述的用户装备设备的任何的特征和组件。它们另外可包括任何电路或存储的软件(例如数据库驱动程序、网络爬虫设备应用程序、网络服务器应用程序等)。网络爬虫设备1202和网络服务器1204通过I/O通道1210、1218、1220和1222与数据存储装置1124和1126进行交互。网络爬虫设备1202和网络服务器1204通过I/O通道1206和1212与通信网络1114通信,I/O通道1206和1212在图11中统称为链接1122。I/O通道1206、1210、1212、1218、1220和1222可以是结合1108、1116和1112在上面描述的任何适合的通信通道。尽管网络爬虫设备1202和网络服务器1204被显示成分离的实体,但它们的功能可由单个部件来实现。A more detailed view of one embodiment of a media
在一典型的环境中,网络爬虫设备1202获得在线媒体信息(例如,元数据),以及在一些实施方式中,其获得在网络服务器1116上最初提供的网络媒体内容。也就是,网络爬虫设备1202获取关于在互联网上可获得的在线媒体的信息。在图12中,在链接1206和网络服务器1116之间显示虚线以表明网络爬虫设备1202从网络服务器1116直接请求媒体和媒体信息。网络爬虫设备1202可随后将关于可获得的在线媒体的信息存储在数据存储装置1124中。这样做的话,网络爬虫设备1202可以从数据存储装置1124访问、取回(retrieve)、添加、更新或移除数据。网络爬虫设备1202可将网络服务器1116上的信息存储在存储器1210中。因此,网络爬虫设备1202可以将捕获的信息直接存储在数据存储装置1124中,或者可以首先使用数据存储装置1126及/或存储器1210中的相关数据处理捕获的信息。In a typical environment, the
在一典型的环境中,网络服务器1204可从数据存储装置1124和1126访问或取回数据。网络服务器1204可以使用来自数据存储装置中任一个或两个的取回的数据,来为媒体导引应用程序提供媒体导引应用程序数据。网络服务器1204可以将用户个性化数据(例如用户简介)存储在存储器1216中,以及存储用于准备显示及/或数据的任何其他适合的信息。网络服务器1204可使用结合图11在上面描述的任何的方法,通过I/O链接1212提供数据。例如,取决于用户装备及/或导引应用程序的类型,网络服务器1204可以发送原始数据、处理后的数据,或可准备显示。In a typical environment,
图13中的系统1300是媒体导引数据源1118的另一个说明性的实施方式。图13包括图12的组件,但还包括数据管理器用户装备1302,编辑用户装备1310,以及编辑精选数据存储装置1308。
数据管理器用户装备1302可包括处理电路1304和存储器1306。数据管理器用户装备可以是用户装备设备1102、1104或1106中的一个。数据管理器用户装备1302可包括用户装备设备中的任何或所有的组件。在图13中,数据管理器用户装备1302本地于数据存储装置1124,且可通过结合I/O通道1108、1116和1112所描述的任何通道而与数据存储装置1124通信。在一些实施方式中,数据管理器用户装备是远离于系统1300的标准用户装备(例如膝上型电脑、移动设备等),且数据管理器可登录以通过网络爬虫设备1202或网络服务器1204获得访问权限。一般在系统1300中有多于一个的数据管理器用户装备,但只显示了一个,以避免使附图过于复杂。Data manager user equipment 1302 may include
在一典型的使用环境中,数据管理器可使用数据管理器用户装备来访问、取回、添加、移除或更新数据存储装置1124中的项目。数据管理器可改正关于在线视频的错误信息,移除变得不可获得的视频,添加在线媒体信息及/或在线媒体内容,添加与数据存储装置1126中的项目相关的标签,或添加网络爬虫设备1202和网络服务器1204可使用的任何信息。例如,数据管理器可标记某些网络服务器1116,这样任何来自这些标记过的网络服务器的列表被在列表中突出。In a typical usage environment, the data manager may use the data manager user equipment to access, retrieve, add, remove or update items in the
编辑精选数据存储装置1308可以是一个或更多的关系数据库或其他适合的存储机构。编辑精选数据库1308可包含用于每个编辑的独立的存储空间。编辑精选数据库1308可包含用于单个在线媒体的编辑偏好指定。此外,编辑精选数据库1304可包含用于每个编辑的热站列表,其中热站列表是编辑喜爱或偏好的媒体的列表。对于编辑精选数据库1308中的每个编辑偏好指定,编辑精选数据库1308都可将链接存储到数据存储装置1124和1126中。所述链接可在为媒体导引应用程序产生显示或收集数据时被网络服务器1204使用。在一些实施方式中,编辑精选数据存储装置1308是网络服务器1204中存储器1216的部分。Editors'
编辑用户装备1310可包括处理电路1312和存储器1314。编辑用户装备1310可包括结合数据管理器用户装备1302讨论的特征及/或组件。编辑用户装备可通过结合I/O通道1108、1116和1112描述的任何通道,远程地或本地地与编辑精选数据存储装置1308进行通信。在一些实施方式中,编辑用户装备可访问网络服务器1214中的存储器1216的一部分,且编辑偏好指定可存储在存储器1216中。在一典型的使用环境中,编辑可以类似于用户将媒体输入我的收藏列表的方式(见图5),输入偏好指定。一般在系统1300中有多于一个的编辑器用户装备,但只显示了一个,以避免使附图过于复杂。Editing
在本发明中,在线媒体导引应用程序可选定视频集,并且关于选定视频的信息可显示给用户。图14中显示了获得并提供媒体导引数据所涉及的说明性步骤的流程图1400。在步骤1402,识别并访问来自一个或更多的在线媒体提供者(例如网络服务器1116)的在线视频。用于各被识别的视频的信息可从在线媒体提供者获得。在一些实施方式中,多个互联网站点(internet site)被爬行(crawl),且相应于可获得的视频的元数据被从互联网站点挖出(scrape)。互联网站点可包括在线媒体提供者的网站。视频元数据可包括视频名称、描述、视频URL、源名称、源URL、种类、节目类型(例如,选录、未经删节的情节、仅在线可用、电影预告)、屏幕截图/缩略图、视频中的演员、运行时间、角色名称、视频格式(例如REAL、WMV、Flash、Quicktime等),有效/失效日期、流出/下载、DRM、价格以及分辨率(例如,全屏幕、320×240等)。In the present invention, an online media guidance application can select a collection of videos, and information about the selected videos can be displayed to the user. A
在步骤1404,用于各被识别的视频的收集到的元数据可被存储(例如在数据存储装置1124中)。另外,除了收集到的元数据外,也可存储没有从媒体提供者获得的其他元数据(例如,由数据管理器添加的关键词或标签(例如来自于数据管理器用户装备1310)、用户等级、受欢迎的程度、互联网上找到视频的日期、编辑偏好指定,可修改的内容数据等)。存储的元数据可以持续地、以固定或变化的时间间隔更新,或可以完全不更新。在一些实施方式中,也存储被识别的在线视频本身(例如实际的视频文件/选录/资料(asset))。At
在步骤1406,用于视频中的每一个视频的元数据可以与媒体导引数据关联,其中媒体导引数据可存储在媒体导引数据库中。关联可基于比较视频元数据与媒体导引数据库(例如数据存储装置1126)中的元数据来确定,或者关联可通过数据管理器添加。在一些实施方式中,收集到的元数据中的一些元数据用于与媒体导引数据建立关联,且在步骤1404没有实际被存储。又在其他实施方式中,可存储关联度,而不是只存储关联。例如,可比较元数据,并且可给予匹配大部分元数据的在线视频较高的关联度。At
在步骤1406,各视频可与媒体导引数据库中一个或更多的项目关联。例如,用于电视剧的视频的元数据可与关于电视节目、电视剧、节目中的演员、电视网络或任何对电视剧或节目作评论的编辑的导引数据关联。通过存储视频元数据与来自媒体导引数据库的标签来进行关联。可选地,存储的元数据和媒体导引数据之间的关联或链接可被远程地保存。At
在步骤1408,可选择视频的子集。所述子集可基于编辑的偏好指定(例如根据编辑精选数据库1308)或基于用户个性化数据而自动选定。用户个性化数据可从监测用户行为、从用户简介或从用户进行的明确指定(见图6)而获得。视频集也可基于例如视频受欢迎的程度或新度这样的标准(见图2的列206)而自动选定。At
在步骤1408,可响应于接收用户命令而选择视频的子集。用户可输入一个或更多的搜索术语或关键词(例如在搜索条224中),并且可基于关键词和储存的与各视频关联的元数据的比较而确定视频的子集。用户可选择感兴趣的特定的标准单元(例如种类、节目、频道、选录长度等)(例如使用图2的列202)。视频的子集可以是符合标准的子集,且可基于检查储存的元数据来确定。At
存在与媒体导引数据和在线视频都关联的元数据。因此,可通过比较搜索术语或其他标准与任一元数据的源而确定视频的子集。在一个实施方式中,搜索术语及/或其他标准单元与媒体导引应用程序的元数据比较。该比较返回相关的媒体导引数据。因为有将媒体导引数据链接到相关网络视频的关联,所以可确定视频的子集。在本发明的另一个实施方式中,基于搜索关键词及/或其他标准与视频的元数据的比较而确定视频的子集。决定于收集到的元数据是怎样存储的、用于各收集到的视频的元数据量以及关联是怎样建立的,两种技术可以返回或可以不返回相同的视频子集。There is metadata associated with both the media guidance data and the online video. Thus, a subset of videos may be determined by comparing search terms or other criteria to either source of metadata. In one embodiment, search terms and/or other criteria elements are compared to the media guidance application's metadata. The comparison returns the relevant media guide data. Because there are associations linking the media guidance data to related web videos, a subset of videos can be determined. In another embodiment of the invention, the subset of videos is determined based on a comparison of search keywords and/or other criteria with the metadata of the videos. Depending on how the collected metadata is stored, the amount of metadata used for each collected video, and how the association is established, both techniques may or may not return the same subset of videos.
在一些实施方式中,媒体导引数据库不止包括媒体导引数据。媒体导引数据库还包括媒体,例如视频媒体。在这种情况下,在步骤1408中识别的视频的子集可包括来自互联网的识别的视频及/或存储在媒体导引数据库中的视频。In some implementations, the media guidance database includes more than just media guidance data. The media guide database also includes media, such as video media. In this case, the subset of videos identified in
在步骤1410产生指示视频子集中的每个视频的显示。子集中每个视频的显示包括来自导引应用程序数据库的导引应用程序数据。基于在1406生成的关联,确定导引应用程序数据。显示也可包括一些或全部的收集到的及/或产生的视频元数据(例如在图3的文本框308中,在图4的列400中,如图5中的关键词512等)。在一些实施方式中,显示为镶嵌图案,其中子集中的各视频由至少一个图形标识符(例如来自视频的静态图像)表示。在其他实施方式中,显示可以是纯文本。另外,显示的媒体列表可指示各列表的关联性,其中可基于数据管理器的指示(见图13)或在步骤1406列表与媒体导引数据关联时评定的关联度而确定关联。At step 1410 a display is generated indicating each video in the subset of videos. The display of each video in the subset includes lead application data from the lead application database. Based on the associations generated at 1406, referral application data is determined. The display may also include some or all of the collected and/or generated video metadata (eg, in
在一些实施方式中,在线媒体导引应用程序可将用户指引到该用户感兴趣的媒体内容。图15的流程图1500显示了用于提供这样的特征的说明性的步骤。基于在图14中的步骤1404至1406讨论的策略可获得并处理在线媒体信息。在步骤1502可使用在步骤1408中讨论的任何的技术来识别视频的子集,包括基于用户个性化数据、编辑的偏好指定、用户输入的搜索术语(例如在图2的搜索条224中)或用户选择的标准单元(例如在图2的左列202中)选定视频。在步骤1504,使用来自被识别的视频中的每一个视频的帧来产生显示。显示可类似于显示在图2中的显示屏200。在步骤1506,在线媒体导引应用程序接收用户对帧的选择。基于该选择,在步骤1508,导引应用程序将用户指引到提供被选择的媒体内容的网站。网站可以在覆盖图、导引应用程序中的框内提供,或可以显示在整个屏幕上。In some implementations, an online media guidance application can direct a user to media content of interest to the user.
依据本发明的原理,基于用户对可选择的标准单元的选择,视频集可以被识别,并被进一步提炼。图16的流程图1600示出了这样的过程。基于在步骤1404至1406讨论的策略可获得并处理在线媒体信息。在步骤1602,标准单元(例如动作/冒险、新闻、ABC、喜剧中心等)可显示给用户,例如在图2的窗214中显示给用户。在一些实施方式中,可选择的标准单元可以是预定的总被显示的标准单元的集合。在其他实施方式中,可选择的标准单元可只包括符合在步骤1402从互联网识别的媒体的标准单元。In accordance with the principles of the present invention, video collections can be identified and further refined based on user selections of selectable standard cells.
在步骤1604,媒体导引应用程序接收可选择的标准单元中的一个的用户指示。基于被选择的标准单元,在步骤1606选择被识别的媒体的子集。因为被选择的标准单元是用户选定的第一个标准,因此子集只基于此被选择的标准单元而选定。然而,如果其他选择的标准单元已被接收到,则可基于所有被选择的标准单元中的一个或更多个来选定视频的子集。可基于结合图14的步骤1408在上面描述的任何的策略来选定被识别的视频的子集。At
在视频的子集被选定后,在步骤1410可产生指示子集中的各视频的显示,例如在图2的镶嵌图案208中产生所述显示。此步骤可使用结合图14讨论的任何的技术来进行。媒体导引应用程序可随后在1604接收用户对另一个可选择的标准单元的选择。这将在步骤1606提炼选定的视频的子集,以及改变的子集将反映在步骤1410产生的显示中。After the subset of videos is selected, at step 1410 a display may be generated indicating each video in the subset, such as in
在一些实施方式中,导引应用程序可显示集合成各分类的可选择的标准单元。基于用户选择,用户感兴趣的视频可以被识别,且显示的标准单元可相应地被更新。因此被识别的视频可不仅取决于选择了哪些标准单元,还取决于什么分类选择了标准单元。图17的流程图1700是依据本发明的原理的说明性的流程图。如将在下面所详细描述的,流程图1700可采取多种实施方式。In some implementations, the guidance application can display selectable standard units grouped into categories. Based on user selections, videos of interest to the user can be identified and the displayed standard cells can be updated accordingly. Thus the video that is recognized may depend not only on which standard units are selected, but also on what category the standard units are selected from.
在流程图1700的一个实施方式中,被识别的视频集只取决于最新选择的标准单元。当用户最初进入导引应用程序时,在步骤1702,多个分类被显示给用户。举例来说,分类可以是种类、频道、节目和热站列表(见图2的列202)。此外,分类之一可以默认为被选择的阶段(stage),其中分类中标准单元的窗口被显示。在一些实施方式中,用于被选择的分类的标准单元仅在数据库中的至少一个视频符合该标准单元时才被显示。In one embodiment of
当在步骤1704接收用户的选择时,如果该选择是被选择的分类中的标准单元(例如图2中的标准单元212),则在步骤1706识别符合被选择的标准的视频。视频可基于结合图14讨论的任何的策略而被识别。被识别的视频可显示在镶嵌图案中,例如显示在图2的显示屏200中。媒体导引应用程序可随后接收用户对当前分类中另一个标准的选择或接收对不同分类的选择(步骤1704)。When a user's selection is received at
当在步骤1704接收用户选择时,如果该选择是不同于当前所选择的分类的分类,则在步骤1708,关闭相应于当前所选择的分类的可选择的标准单元的窗口。在步骤1710呈现新的窗口,而相应于新选分类的可选择的标准单元显示在新的窗口中。窗口可直接位于分类下方以显示窗口相应于该分类。用户界面可随后接收用户对新选分类中的标准单元的选择,或接收对不同分类的选择(步骤1704)。When a user selection is received at
在流程图1700的另一个实施方式中,媒体导引应用程序可记录被选择的标准单元,并使用各选择的标准单元来缩小被识别的视频的范围。当用户最初进入导引应用程序时,在步骤1702向用户显示多个分类。例如,分类可以是种类、频道、节目和热站列表(见图2的列202)。此外,分类之一可以默认为被选择的阶段,其中分类中标准单元的窗口被显示。In another embodiment of
当在步骤1704接收用户选择时,如果选择是被选择的分类内的标准单元,则符合被选择的标准和所有之前选择的标准的视频被识别(步骤1706)。因为选择标准单元添加了所有被识别的视频必须符合的条件,所以选择标准单元缩小视频集并减少被识别的视频的数量。举例来说,见对图8B和8C的列800B和800C的讨论,其中被识别的视频集从139个(图8B中的822)减少到30个(图8C中的824)。当从一个或更多的分类选择多个标准单元时,被识别的视频满足布尔表达式:When a user selection is received at
(SC1与(AND)SC2与...与新选标准),其中“SCX”代表“选择的标准X”。可选地,可使用其他适合的多个选择标准方案,例如属于多个选择标准中的任何一个的所有被识别的视频的包括(inclusive)选择;被识别的视频可满足布尔表达式:(SC1 and (AND) SC2 and ... and the newly selected standard), where "SCX" stands for "selected standard X". Alternatively, other suitable multiple selection criteria schemes may be used, such as an inclusive selection of all identified videos belonging to any one of the multiple selection criteria; identified videos may satisfy a Boolean expression:
(SC1或(OR)SC2或...或新选标准),其中“SCX”代表“选择的标准X”。(SC1 or (OR)SC2 or ... or newly selected criteria), where "SCX" stands for "selected criteria X".
当在步骤1704接收用户选择时,如果选择是“关闭”先前选择的标准单元的指示(例如通过选择显示屏200的按钮220),则取消对相应于关闭指示的标准的选择(步骤1712)。这样,在步骤1714,被识别的视频的集合扩大以包括符合剩余的选择的标准单元但不符合被取消选择的标准单元的所有视频。When a user selection is received at
当在步骤1704接收用户选择时,如果选择是不同于当前选择的分类的分类,则在步骤1708,可关闭相应于当前选择的分类的窗口(例如图8B的窗口814)。新窗口被呈现(例如图8C的窗口826),并且相应于新选分类的可选择的标准单元显示在新窗口中(步骤1710)。可选择的标准单元可包括如果被选择则将产生至少一个被识别的视频的标准单元。也就是,如果存在符合标准单元以及所有先前选择的标准单元的可获得的视频,则可显示新选分类中的可选择的标准单元。When a user selection is received at
类似地,当在1704用户选择标准单元时,连同在步骤1706减少被识别的视频,也可减少分类中剩余的可选择的标准单元。也就是,在缩小被识别的视频集后,如果在缩小的集合中没有同时符合可选择的标准单元的视频,则可选择的标准单元可从列表移除。Similarly, when the user selects a standard unit at 1704, in conjunction with reducing the identified videos at
在流程图1700的另一个实施方式中,选择多个标准单元可扩大被识别的视频的集合。当用户最初进入导引应用程序时,在步骤1702,媒体导引应用程序可显示多个分类。例如,分类可以是种类、频道、节目和热站列表。此外,分类之一可默认为被选择的阶段,其中分类中标准单元的窗口被显示。In another embodiment of
当在步骤1704接收用户选择时,如果选择是被选择的分类中的标准单元,则识别视频集,其中各视频符合(1)被选择的标准单元或相同分类的任何的先前选择的标准单元,以及(2)具有至少一个选择的标准单元的其他分类中的每一个分类中的至少一个选择的标准单元(步骤1706)。视频集可被扩大以包括只符合分类中新选标准单元且不符合先前选择的标准单元的视频。举例来说,见对图9A和9C的列900A和900B的讨论,其中被识别的视频集从139个(图9A中的902)扩大到627个(图9B中的904)。因此,当从一个或更多的分类选择多个标准单元时,被识别的视频满足布尔表达式:When a user selection is received at
(SC1分类1或(OR)...或SCN分类1)与(SC1分类2或...或SCN分类2)...,其中“SCX分类Y”表示“分类Y中选择的标准X”。(SC1Classification 1 or (OR)...or SCNClassification 1 ) and (SC1Classification 2 or...or SCNClassification 2 )..., where "SCXClassification Y " means "Criteria X selected in Classification Y ".
当在步骤1704接收用户选择时,如果选择是“关闭”先前选择的标准单元的指示(例如通过选择显示屏200的按钮220),则取消对相应于关闭指示的标准的选择(步骤1712)。因为被识别的视频的子集可能只符合分类中被取消选择的标准,而不符合剩余的所选择的标准单元,所以在该子集中的视频不再被识别并呈现给用户(步骤1714)。因此,取消对标准单元的选择可缩小视频集并减少被识别的视频的数量。When a user selection is received at
当在步骤1704接收用户选择时,如果选择是不同于当前选择的分类的分类,则在1708,相应于当前选择的分类的窗口被关闭。新窗口呈现在新选分类下方,例如图9B的窗口906,且相应于新选分类的可选择的标准单元(例如图9B的908或910)可显示在新窗口中(步骤1710)。可选择的标准单元的列表可包括如果被选择则将返回至少一个视频的标准单元。也就是,如果在数据库中有符合(1)相同分类中可选择的标准单元或任何其他先前选择的标准单元,以及(2)具有至少一个选择的单元的剩余分类的每一个分类中的至少一个选择的标准单元的视频,则可显示新选分类中的可选择的标准单元。When a user selection is received at
在流程图1700的另一个实施方式中,选择标准单元的效果可取决于标准单元在哪个分类中。例如,选择一些分类(例如种类)中的多个标准单元可使导引应用程序在步骤1706识别符合所有被选择的标准单元的视频。选择另一个分类(例如频道和节目)中的多个标准单元可使导引应用程序识别符合任何的被选择的标准单元的视频。实质上,此实施方式是先前讨论的两种实施方式的组合。因此,当从一个或更多的分类选择多个标准单元时,被识别的视频可满足布尔表达式:In another implementation of
(SC1分类1或...或SCN分类1)与(SC1分类2与...与SCN分类2)...,其中“SCX分类Y”代表“在分类Y中选择的标准X”。(SC1category 1 or ... or SCNcategory 1 ) and (SC1category 2 and ... and SCNcategory 2 ) ..., where "SCXcategory Y " stands for "standard X selected in category Y".
媒体导引应用程序也可使用用户输入的关键词以界定视频集。图18显示说明性的流程图1800,其用于在接收到一个或更多的关键词后提供视频和标准单元。在步骤1802,媒体导引应用程序接收一个或更多的关键词。在步骤1804,基于此一个或更多的关键词识别视频集。可基于结合图14在上面描述的任何的策略而选择视频集。分类(例如从图17的步骤1710选择的分类)的标准单元的集合可在步骤1806被显示。显示的标准单元只可包括符合在步骤1804识别的视频集的单元。用户可随后基于结合流程图1700所描述的策略,继续改变该视频集。The media guidance application may also use user-entered keywords to define video collections. FIG. 18 shows an
前述内容描述了用于使用交互式媒体导引应用程序来获得、分类并传送在线媒体内容的系统和方法。本发明的上述实施方式的提出是为了说明的目的,而不是限制的目的。The foregoing describes systems and methods for obtaining, categorizing, and delivering online media content using an interactive media guidance application. The above-described embodiments of the present invention have been presented for purposes of illustration and not limitation.
| Application Number | Priority Date | Filing Date | Title |
|---|---|---|---|
| US84998806P | 2006-10-06 | 2006-10-06 | |
| US60/849,988 | 2006-10-06 | ||
| US11/641,976US8381249B2 (en) | 2006-10-06 | 2006-12-18 | Systems and methods for acquiring, categorizing and delivering media in interactive media guidance applications |
| US11/641,987 | 2006-12-18 | ||
| US11/641,976 | 2006-12-18 | ||
| US11/641,987US8832742B2 (en) | 2006-10-06 | 2006-12-18 | Systems and methods for acquiring, categorizing and delivering media in interactive media guidance applications |
| CN200780037344.8ACN101523390B (en) | 2006-10-06 | 2007-10-03 | System and method for acquiring, sorting and delivering media in an interactive media guidance application |
| Application Number | Title | Priority Date | Filing Date |
|---|---|---|---|
| CN200780037344.8ADivisionCN101523390B (en) | 2006-10-06 | 2007-10-03 | System and method for acquiring, sorting and delivering media in an interactive media guidance application |
| Publication Number | Publication Date |
|---|---|
| CN102591912Atrue CN102591912A (en) | 2012-07-18 |
| CN102591912B CN102591912B (en) | 2015-11-04 |
| Application Number | Title | Priority Date | Filing Date |
|---|---|---|---|
| CN201110410242.4AActiveCN102591912B (en) | 2006-10-06 | 2007-10-03 | System and method for acquiring, sorting and delivering media in an interactive media guidance application |
| CN201510639136.1APendingCN105260430A (en) | 2006-10-06 | 2007-10-03 | Systems and methods for acquiring, categorizing and delivering media in interactive media guidance applications |
| CN200780037344.8AActiveCN101523390B (en) | 2006-10-06 | 2007-10-03 | System and method for acquiring, sorting and delivering media in an interactive media guidance application |
| Application Number | Title | Priority Date | Filing Date |
|---|---|---|---|
| CN201510639136.1APendingCN105260430A (en) | 2006-10-06 | 2007-10-03 | Systems and methods for acquiring, categorizing and delivering media in interactive media guidance applications |
| CN200780037344.8AActiveCN101523390B (en) | 2006-10-06 | 2007-10-03 | System and method for acquiring, sorting and delivering media in an interactive media guidance application |
| Country | Link |
|---|---|
| EP (1) | EP2080117A2 (en) |
| JP (7) | JP5377315B2 (en) |
| KR (6) | KR20180050761A (en) |
| CN (3) | CN102591912B (en) |
| AU (1) | AU2007307132A1 (en) |
| BR (1) | BRPI0720348A2 (en) |
| CA (2) | CA2665131C (en) |
| MX (1) | MX2009003767A (en) |
| WO (1) | WO2008045305A2 (en) |
| Publication number | Priority date | Publication date | Assignee | Title |
|---|---|---|---|---|
| CN103686235A (en)* | 2012-09-26 | 2014-03-26 | 索尼公司 | System and method for correlating audio and/or images presented to a user with facial characteristics and expressions of the user |
| CN105830048A (en)* | 2013-12-16 | 2016-08-03 | 纽昂斯通讯公司 | Systems and methods for providing a virtual assistant |
| CN105898355A (en)* | 2015-12-08 | 2016-08-24 | 乐视网信息技术(北京)股份有限公司 | Block content displaying method and device and server |
| CN107079138A (en)* | 2014-09-10 | 2017-08-18 | 弗莱耶有限公司 | Storage and editing of event video using sensors and participant and audience tag data |
| CN107430630A (en)* | 2015-06-11 | 2017-12-01 | 谷歌公司 | Methods, systems and media for aggregating and presenting content related to a particular video game |
| CN110019934A (en)* | 2017-09-20 | 2019-07-16 | 微软技术许可有限责任公司 | Identify the correlation of video |
| US10534623B2 (en) | 2013-12-16 | 2020-01-14 | Nuance Communications, Inc. | Systems and methods for providing a virtual assistant |
| CN111866553A (en)* | 2020-07-24 | 2020-10-30 | 聚好看科技股份有限公司 | Media asset information calibration method and server |
| US10999335B2 (en) | 2012-08-10 | 2021-05-04 | Nuance Communications, Inc. | Virtual agent communication for electronic device |
| Publication number | Priority date | Publication date | Assignee | Title |
|---|---|---|---|---|
| CN1867068A (en) | 1998-07-14 | 2006-11-22 | 联合视频制品公司 | Client-server based interactive television program guide system with remote server recording |
| WO2002031701A2 (en) | 2000-10-11 | 2002-04-18 | United Video Properties, Inc. | Systems and methods for providing storage of data on servers in an on-demand media delivery system |
| US7493646B2 (en) | 2003-01-30 | 2009-02-17 | United Video Properties, Inc. | Interactive television systems with digital video recording and adjustable reminders |
| US8832742B2 (en) | 2006-10-06 | 2014-09-09 | United Video Properties, Inc. | Systems and methods for acquiring, categorizing and delivering media in interactive media guidance applications |
| US8381249B2 (en) | 2006-10-06 | 2013-02-19 | United Video Properties, Inc. | Systems and methods for acquiring, categorizing and delivering media in interactive media guidance applications |
| EP2080117A2 (en)* | 2006-10-06 | 2009-07-22 | United Video Properties, Inc. | Systems and methods for acquiring, categorizing and delivering media in interactive media guidance applications |
| US10063934B2 (en) | 2008-11-25 | 2018-08-28 | Rovi Technologies Corporation | Reducing unicast session duration with restart TV |
| JP2013520868A (en)* | 2010-02-19 | 2013-06-06 | トムソン ライセンシング | Enhanced content search |
| US8806346B2 (en) | 2010-03-30 | 2014-08-12 | Itxc Ip Holdings S.A.R.L. | Configurable workflow editor for multimedia editing systems and methods therefor |
| US9281012B2 (en) | 2010-03-30 | 2016-03-08 | Itxc Ip Holdings S.A.R.L. | Metadata role-based view generation in multimedia editing systems and methods therefor |
| US8788941B2 (en) | 2010-03-30 | 2014-07-22 | Itxc Ip Holdings S.A.R.L. | Navigable content source identification for multimedia editing systems and methods therefor |
| US8463845B2 (en) | 2010-03-30 | 2013-06-11 | Itxc Ip Holdings S.A.R.L. | Multimedia editing systems and methods therefor |
| US20110289422A1 (en)* | 2010-05-21 | 2011-11-24 | Live Matrix, Inc. | Interactive calendar of scheduled web-based events and temporal indices of the web that associate index elements with metadata |
| US8312055B2 (en) | 2010-06-11 | 2012-11-13 | Sony Corporation | Content alert upon availability for internet-enabled TV |
| CN102291373B (en)* | 2010-06-15 | 2016-08-31 | 华为技术有限公司 | The update method of meta data file, device and system |
| KR20120010433A (en)* | 2010-07-26 | 2012-02-03 | 엘지전자 주식회사 | Operation method of video display device |
| US8769434B2 (en) | 2010-08-11 | 2014-07-01 | Nike, Inc. | Intelligent display of information in a user interface |
| US9743149B2 (en) | 2010-11-02 | 2017-08-22 | Sony Corporation | Search query column for internet-connected TV's |
| CN102073678B (en)* | 2010-12-03 | 2013-02-27 | 厦门市美亚柏科信息股份有限公司 | System and method for analyzing information of websites |
| US8838767B2 (en)* | 2010-12-30 | 2014-09-16 | Jesse Lakes | Redirection service |
| CN102609294A (en)* | 2011-01-20 | 2012-07-25 | 鸿富锦精密工业(深圳)有限公司 | Method for realizing coexisting of TV broadcasting and forum in virtual environment and device therefor |
| EP2487925A3 (en) | 2011-02-10 | 2012-09-19 | LG Electronics Inc. | Multi-functional display device and method for displaying content on the same |
| EP2487921A3 (en) | 2011-02-10 | 2014-05-28 | LG Electronics Inc. | Multi-functional display device having a channel scan interface and a method for controlling the same |
| EP2487922B1 (en) | 2011-02-10 | 2015-06-24 | LG Electronics Inc. | Multi-functional display device having an electronic programming guide and method for controlling the same |
| EP2487923A3 (en) | 2011-02-10 | 2014-03-05 | LG Electronics Inc. | Multi-functional display device an method for contolling the same |
| EP2487924A3 (en) | 2011-02-10 | 2013-11-13 | LG Electronics Inc. | Multi-functional display device having a channel map and method for controlling the same |
| CN102685583B (en)* | 2011-02-16 | 2014-12-17 | Lg电子株式会社 | Display device for performing virtual channel browsing and control method thereof |
| US20120278329A1 (en)* | 2011-04-29 | 2012-11-01 | Google Inc. | Tracking feeds in a social network |
| CN102769634B (en)* | 2011-05-03 | 2016-08-17 | 腾讯科技(北京)有限公司 | A kind of web online information management method and system |
| KR101824991B1 (en) | 2011-05-20 | 2018-02-02 | 엘지전자 주식회사 | Display apparatus connected to multiple source devices and method for controlling the same |
| CN102932690B (en)* | 2011-08-12 | 2016-07-06 | 联想(北京)有限公司 | The rendering method of a kind of electronic program list and device |
| US8805418B2 (en) | 2011-12-23 | 2014-08-12 | United Video Properties, Inc. | Methods and systems for performing actions based on location-based rules |
| GB2486600A (en)* | 2012-02-21 | 2012-06-20 | British Sky Broadcasting Ltd | An interactive user interface for a television display with a video data display region |
| CN102685572B (en)* | 2012-04-28 | 2017-02-15 | Tcl集团股份有限公司 | System and method for playing and interacting videoland |
| TWI520595B (en) | 2013-03-11 | 2016-02-01 | 緯創資通股份有限公司 | Method for providing an electronic program guide, multimedia reproduction system, and computer readable storage medium |
| JP2014239359A (en)* | 2013-06-10 | 2014-12-18 | 日立マクセル株式会社 | Display device and content viewing system |
| US10080060B2 (en) | 2013-09-10 | 2018-09-18 | Opentv, Inc. | Systems and methods of displaying content |
| US20150074728A1 (en)* | 2013-09-10 | 2015-03-12 | Opentv, Inc. | Systems and methods of displaying content |
| KR20160115264A (en)* | 2015-03-26 | 2016-10-06 | 삼성전자주식회사 | Displaying apparatus, server and operation method of the same |
| US20170272825A1 (en) | 2016-03-16 | 2017-09-21 | Rovi Guides, Inc. | System and method for locating content related to a media asset |
| US10708664B2 (en) | 2016-06-21 | 2020-07-07 | Rovi Guides, Inc. | Methods and systems for recommending to a first user media assets for inclusion in a playlist for a second user based on the second user's viewing activity |
| US11423103B2 (en)* | 2019-07-08 | 2022-08-23 | Valve Corporation | Content-item recommendations |
| CN115299069A (en) | 2020-09-16 | 2022-11-04 | 谷歌有限责任公司 | Digital video analysis |
| US12158914B2 (en) | 2020-09-16 | 2024-12-03 | Google Llc | User interfaces for refining video group packages |
| KR102378161B1 (en)* | 2021-07-16 | 2022-03-28 | 주식회사 비즈니스캔버스 | Method and apparatus for providing a document editing interface for providing resource information related to a document using a backlink button |
| EP4369162A4 (en) | 2022-01-10 | 2024-12-04 | Samsung Electronics Co., Ltd. | ELECTRONIC DEVICE AND CONTROL METHOD THEREFOR |
| Publication number | Priority date | Publication date | Assignee | Title |
|---|---|---|---|---|
| DE69739566D1 (en)* | 1996-12-10 | 2009-10-15 | United Video Properties Inc | Internet television program control system |
| US6005565A (en)* | 1997-03-25 | 1999-12-21 | Sony Corporation | Integrated search of electronic program guide, internet and other information resources |
| JP3693085B2 (en)* | 1997-08-11 | 2005-09-07 | 富士ゼロックス株式会社 | Information reproducing apparatus and broadcast program related information reproducing method |
| CA2331705C (en)* | 1998-05-07 | 2007-08-07 | Samsung Electronics Co., Ltd. | Method and apparatus for user and device command and control in a network |
| US6898762B2 (en)* | 1998-08-21 | 2005-05-24 | United Video Properties, Inc. | Client-server electronic program guide |
| TW499816B (en)* | 1998-11-30 | 2002-08-21 | United Video Properties Inc | Interactive program guide system and method |
| AU7588100A (en)* | 1999-09-16 | 2001-04-17 | Ixl Enterprises, Inc. | System and method for linking media content |
| US7260564B1 (en)* | 2000-04-07 | 2007-08-21 | Virage, Inc. | Network video guide and spidering |
| TW543327B (en)* | 2000-10-11 | 2003-07-21 | United Video Properties Inc | Systems and methods for supplementing on-demand media |
| US7925967B2 (en)* | 2000-11-21 | 2011-04-12 | Aol Inc. | Metadata quality improvement |
| US8046799B2 (en)* | 2000-11-27 | 2011-10-25 | The Directv Group, Inc. | Daypart based navigation paradigm |
| JP2002335473A (en)* | 2001-05-10 | 2002-11-22 | Webstream:Kk | Retrieval information extraction system for moving image contents, retrieved information extraction means, retrieved information storage system, and method for distributing streaming of moving image contents |
| JP2002369108A (en)* | 2001-06-07 | 2002-12-20 | Pioneer Electronic Corp | Information record/reproduction device and information retrieval program |
| JP2002374506A (en)* | 2001-06-13 | 2002-12-26 | Matsushita Electric Ind Co Ltd | Information acquisition method, information acquisition system, medium, and program |
| US7793326B2 (en)* | 2001-08-03 | 2010-09-07 | Comcast Ip Holdings I, Llc | Video and digital multimedia aggregator |
| EP1417836A1 (en)* | 2001-08-06 | 2004-05-12 | Koninklijke Philips Electronics N.V. | System and method for combining several epg sources to one reliable epg |
| JP2003067226A (en)* | 2001-08-29 | 2003-03-07 | Cybozu Inc | File management system and program |
| JP2003076598A (en)* | 2001-09-04 | 2003-03-14 | Sony Corp | Information processor, information processing method, information processing program and information processing program storage medium |
| KR100471927B1 (en)* | 2001-10-08 | 2005-03-08 | 학교법인 한국정보통신학원 | System for searching image data being based on web and method thereof |
| KR20030067135A (en)* | 2002-02-07 | 2003-08-14 | (주)지토 | Internet broadcasting system using a content based automatic video parsing |
| JP3975768B2 (en)* | 2002-02-13 | 2007-09-12 | 松下電器産業株式会社 | Content recommendation device, content recommendation method, program thereof, and program storage medium thereof |
| US20030160770A1 (en)* | 2002-02-25 | 2003-08-28 | Koninklijke Philips Electronics N.V. | Method and apparatus for an adaptive audio-video program recommendation system |
| JP2003271639A (en)* | 2002-03-14 | 2003-09-26 | Hitachi Ltd | Information value evaluation support method, its implementation system, and its processing program |
| WO2003084186A1 (en)* | 2002-03-27 | 2003-10-09 | International Business Machines Corporation | Dynamic addressing in transient networks |
| US20040003403A1 (en)* | 2002-06-19 | 2004-01-01 | Marsh David J. | Methods and systems for reducing information in electronic program guide and program recommendation systems |
| JP4039158B2 (en)* | 2002-07-22 | 2008-01-30 | ソニー株式会社 | Information processing apparatus and method, information processing system, recording medium, and program |
| US20040103434A1 (en)* | 2002-11-25 | 2004-05-27 | United Video Properties, Inc. | Interactive television systems with conflict management capabilities |
| JP2004234128A (en)* | 2003-01-28 | 2004-08-19 | Matsushita Electric Ind Co Ltd | Information terminal device and server device thereof |
| US7389243B2 (en)* | 2003-01-31 | 2008-06-17 | Gross John N | Notification system and method for media queue |
| KR100542881B1 (en)* | 2003-02-11 | 2006-01-20 | 이예분 | Location based multimedia broadcasting contents service system and method using mobile multimedia broadcasting |
| US7181468B2 (en)* | 2003-04-28 | 2007-02-20 | Sony Corporation | Content management for rich media publishing system |
| JP4151487B2 (en)* | 2003-06-13 | 2008-09-17 | ソニー株式会社 | Information retrieval system, meta information providing apparatus, information providing apparatus, information receiving apparatus, and information retrieving method |
| GB0318290D0 (en)* | 2003-08-05 | 2003-09-10 | Koninkl Philips Electronics Nv | Shared experience of media content |
| JP2005115790A (en)* | 2003-10-09 | 2005-04-28 | Sony Corp | Information retrieval method, information display and program |
| ES2448400T3 (en)* | 2003-11-26 | 2014-03-13 | Sony Corporation | System to access content elements on a network |
| US7685134B2 (en)* | 2003-12-31 | 2010-03-23 | Nokia Corporation | Media file sharing, correlation of metadata related to shared media files and assembling shared media file collections |
| JP2005332265A (en)* | 2004-05-20 | 2005-12-02 | Sony Corp | Information processing system and method, information processor and method, and program |
| JP4461915B2 (en)* | 2004-06-09 | 2010-05-12 | ソニー株式会社 | Information distribution system, information distribution server device, information distribution method, program, and recording medium |
| JP2006018755A (en)* | 2004-07-05 | 2006-01-19 | Stardust Promotion:Kk | Information delivery device and information delivery method |
| US20060085826A1 (en)* | 2004-10-18 | 2006-04-20 | Funk James M | Aggregated program guide for download and view video on demand service |
| JP2006135811A (en)* | 2004-11-08 | 2006-05-25 | Make It:Kk | Network-type video delivery system |
| KR100898353B1 (en)* | 2004-11-25 | 2009-05-20 | 가부시키가이샤 스퀘어.에닉스 | Method for searching content serving as a user selection candidate |
| JP2006185286A (en)* | 2004-12-28 | 2006-07-13 | Shigeto Sekizuka | Portal site providing system |
| US7818350B2 (en)* | 2005-02-28 | 2010-10-19 | Yahoo! Inc. | System and method for creating a collaborative playlist |
| JP2006244002A (en)* | 2005-03-02 | 2006-09-14 | Sony Corp | Content reproduction device and content reproduction method |
| EP2080117A2 (en)* | 2006-10-06 | 2009-07-22 | United Video Properties, Inc. | Systems and methods for acquiring, categorizing and delivering media in interactive media guidance applications |
| Publication number | Priority date | Publication date | Assignee | Title |
|---|---|---|---|---|
| US11388208B2 (en) | 2012-08-10 | 2022-07-12 | Nuance Communications, Inc. | Virtual agent communication for electronic device |
| US10999335B2 (en) | 2012-08-10 | 2021-05-04 | Nuance Communications, Inc. | Virtual agent communication for electronic device |
| CN103686235B (en)* | 2012-09-26 | 2017-04-12 | 索尼公司 | System and method for correlating audio and/or images presented to a user with facial characteristics and expressions of the user |
| CN103686235A (en)* | 2012-09-26 | 2014-03-26 | 索尼公司 | System and method for correlating audio and/or images presented to a user with facial characteristics and expressions of the user |
| US10534623B2 (en) | 2013-12-16 | 2020-01-14 | Nuance Communications, Inc. | Systems and methods for providing a virtual assistant |
| CN105830048A (en)* | 2013-12-16 | 2016-08-03 | 纽昂斯通讯公司 | Systems and methods for providing a virtual assistant |
| CN107079138A (en)* | 2014-09-10 | 2017-08-18 | 弗莱耶有限公司 | Storage and editing of event video using sensors and participant and audience tag data |
| US10277861B2 (en) | 2014-09-10 | 2019-04-30 | Fleye, Inc. | Storage and editing of video of activities using sensor and tag data of participants and spectators |
| CN107430630A (en)* | 2015-06-11 | 2017-12-01 | 谷歌公司 | Methods, systems and media for aggregating and presenting content related to a particular video game |
| CN107430630B (en)* | 2015-06-11 | 2022-03-11 | 谷歌有限责任公司 | Methods, systems and media for aggregating and presenting content related to a specific video game |
| US11523187B2 (en) | 2015-06-11 | 2022-12-06 | Google Llc | Methods, systems, and media for aggregating and presenting content relevant to a particular video game |
| US12170821B2 (en) | 2015-06-11 | 2024-12-17 | Google Llc | Methods, systems, and media for aggregating and presenting content relevant to a particular video game |
| CN105898355A (en)* | 2015-12-08 | 2016-08-24 | 乐视网信息技术(北京)股份有限公司 | Block content displaying method and device and server |
| CN110019934A (en)* | 2017-09-20 | 2019-07-16 | 微软技术许可有限责任公司 | Identify the correlation of video |
| CN111866553A (en)* | 2020-07-24 | 2020-10-30 | 聚好看科技股份有限公司 | Media asset information calibration method and server |
| CN111866553B (en)* | 2020-07-24 | 2022-07-08 | 聚好看科技股份有限公司 | Media information calibration method and server |
| Publication number | Publication date |
|---|---|
| MX2009003767A (en) | 2009-09-30 |
| CA3119868A1 (en) | 2008-04-17 |
| JP2019032853A (en) | 2019-02-28 |
| KR20170036110A (en) | 2017-03-31 |
| KR20180050761A (en) | 2018-05-15 |
| JP2017120651A (en) | 2017-07-06 |
| BRPI0720348A2 (en) | 2020-08-18 |
| JP6266818B2 (en) | 2018-01-24 |
| JP2010506299A (en) | 2010-02-25 |
| CA2665131A1 (en) | 2008-04-17 |
| AU2007307132A1 (en) | 2008-04-17 |
| CA2665131C (en) | 2022-06-21 |
| KR101895062B1 (en) | 2018-09-05 |
| JP2017120652A (en) | 2017-07-06 |
| JP5377315B2 (en) | 2013-12-25 |
| EP2080117A2 (en) | 2009-07-22 |
| KR101718971B1 (en) | 2017-03-23 |
| KR20090061664A (en) | 2009-06-16 |
| CN101523390A (en) | 2009-09-02 |
| JP2013080507A (en) | 2013-05-02 |
| JP2015146212A (en) | 2015-08-13 |
| CN102591912B (en) | 2015-11-04 |
| CN101523390B (en) | 2012-02-08 |
| KR20140138838A (en) | 2014-12-04 |
| WO2008045305A3 (en) | 2008-09-25 |
| KR20120130248A (en) | 2012-11-29 |
| KR101455417B1 (en) | 2014-11-03 |
| JP6382144B2 (en) | 2018-08-29 |
| CN105260430A (en) | 2016-01-20 |
| WO2008045305A2 (en) | 2008-04-17 |
| JP2019179558A (en) | 2019-10-17 |
| KR20180104140A (en) | 2018-09-19 |
| Publication | Publication Date | Title |
|---|---|---|
| CN101523390B (en) | System and method for acquiring, sorting and delivering media in an interactive media guidance application | |
| US9615138B2 (en) | Systems and methods for acquiring, categorizing and delivering media in interactive media guidance applications | |
| US8381249B2 (en) | Systems and methods for acquiring, categorizing and delivering media in interactive media guidance applications | |
| AU2018241142B2 (en) | Systems and Methods for Acquiring, Categorizing and Delivering Media in Interactive Media Guidance Applications | |
| AU2013201160B2 (en) | Systems and Methods for Acquiring, Categorizing and Delivering Media in Interactive Media Guidance Applications | |
| AU2013203417B9 (en) | Systems and Methods for Acquiring, Categorizing and Delivering Media in Interactive Media Guidance Applications |
| Date | Code | Title | Description |
|---|---|---|---|
| C06 | Publication | ||
| PB01 | Publication | ||
| C10 | Entry into substantive examination | ||
| SE01 | Entry into force of request for substantive examination | ||
| ASS | Succession or assignment of patent right | Owner name:TV GUIDE INC. Free format text:FORMER OWNER: UV CORP. Effective date:20150707 Owner name:UV CORP. Free format text:FORMER OWNER: PREVUE INTERNATIONAL INC. Effective date:20150707 Owner name:LEWEI GUIDE COMPANY Free format text:FORMER OWNER: TV GUIDE INC. Effective date:20150707 | |
| C41 | Transfer of patent application or patent right or utility model | ||
| TA01 | Transfer of patent application right | Effective date of registration:20150707 Address after:American California Applicant after:ROVI GUIDES, Inc. Address before:American California Applicant before:TV guide Co. Effective date of registration:20150707 Address after:American California Applicant after:TV guide Co. Address before:American California Applicant before:UV company Effective date of registration:20150707 Address after:American California Applicant after:UV company Address before:American California Applicant before:UNITED VIDEO PROPERTIES, Inc. | |
| C14 | Grant of patent or utility model | ||
| GR01 | Patent grant |