







技术领域technical field
本发明涉及一种遥控系统及遥控方法,特别涉及一种能够通过无线移动终端实现遥控功能的遥控系统及遥控方法。The invention relates to a remote control system and a remote control method, in particular to a remote control system and a remote control method capable of realizing a remote control function through a wireless mobile terminal.
背景技术Background technique
目前,随着经济的发展,越来越多的家庭开始使用数字家电,且数字家电都相应地配备遥控器,以方便用户在一定范围内进行远距离的操作,但随之产生的问题是,随着数字家电的增加,家庭中的遥控器也越来越多,用户在操控家电时往往会出现用错遥控器的情况。另外,也会发生因找不着配套的控制器而无法遥控家电的情况,并且,现有的遥控器的遥控范围以及环境都有很大限制,用户必须对家电进行现场遥控,而不能实现远程控制,如,用户处于一个房间时不能对位于另一房间的家电进行遥控。因此,由于数字家电具有上述的弊端,给用户在一定程度上带来不便。At present, with the development of the economy, more and more families start to use digital home appliances, and the digital home appliances are equipped with remote controls to facilitate users to perform long-distance operations within a certain range, but the resulting problems are, With the increase of digital home appliances, there are more and more remote controls in the family, and users often use the wrong remote control when controlling home appliances. In addition, it may happen that the home appliance cannot be remotely controlled due to the absence of a matching controller. Moreover, the remote control range and environment of the existing remote control are very limited. , For example, when the user is in one room, he cannot remotely control the home appliances in another room. Therefore, due to the above-mentioned disadvantages of digital home appliances, it brings inconvenience to users to a certain extent.
发明内容Contents of the invention
有鉴于此,有必要提供一种遥控系统及遥控方法,能够方便用户对家电等具有遥控功能的设备进行操作。In view of this, it is necessary to provide a remote control system and a remote control method, which can facilitate users to operate devices with remote control functions such as home appliances.
本发明提供一种遥控系统,用于通过一遥控装置遥控至少一个被遥控终端,该遥控系统包括一服务器,该服务器用于通过无线网络与一第一移动终端和一第二移动终端进行通信连接。该服务器包括数据库单元,用于存储包括记录该至少一个被遥控终端的第一列表以及记录每一被遥控终端功能的第二列表。通信单元,用于接收该第一移动终端对该第一列表和第二列表内容的选择操作发送的无线信号。及命令解析单元,用于解析该无线信号,确认该第一移动终端的该选择操作并确定对应的操作指令,并通过通信单元发送具有该操作指令的无线信号至该第二移动终端,该操作指令包括该被选择的被遥控终端的身份信息及待执行功能。该无线信号用于启动该第二移动终端发送一具有红外遥控编码的无线信号至该遥控装置,该红外遥控编码对应于被遥控终端的身份及待执行功能,以使该遥控装置发送搭载有该红外遥控编码的红外信号至被遥控终端,控制该被遥控终端执行该待执行功能。The present invention provides a remote control system for remote control of at least one remote-controlled terminal through a remote control device, the remote control system includes a server, and the server is used for communicating with a first mobile terminal and a second mobile terminal through a wireless network . The server includes a database unit for storing a first list recording the at least one remote-controlled terminal and a second list recording functions of each remote-controlled terminal. The communication unit is configured to receive a wireless signal sent by the first mobile terminal when selecting the contents of the first list and the second list. and a command analysis unit, configured to analyze the wireless signal, confirm the selection operation of the first mobile terminal and determine the corresponding operation instruction, and send the wireless signal with the operation instruction to the second mobile terminal through the communication unit, the operation The instruction includes the identity information of the selected remote-controlled terminal and the function to be executed. The wireless signal is used to start the second mobile terminal to send a wireless signal with an infrared remote control code to the remote control device. The infrared remote control code corresponds to the identity of the remote terminal and the function to be executed, so that the remote control device sends The infrared signal of the infrared remote control code is sent to the remote-controlled terminal, and the remote-controlled terminal is controlled to execute the function to be executed.
本发明还提供一种遥控方法,应用于一由一服务器、一第一移动终端、一第二移动终端以及一遥控装置构成的遥控系统,以通过该遥控系统遥控至少一被遥控终端,该遥控方法包括:The present invention also provides a remote control method, which is applied to a remote control system composed of a server, a first mobile terminal, a second mobile terminal and a remote control device, so as to remotely control at least one remote-controlled terminal through the remote control system, the remote control Methods include:
在该第一移动终端上访问该服务器,根据该服务器提供的记录该至少一个被遥控终端的第一列表以及记录每一被遥控终端功能的第二列表对第一列表与第二列表内容进行选择操作并发送无线信号给该服务器。Access the server on the first mobile terminal, and select the contents of the first list and the second list according to the first list that records the at least one remote-controlled terminal and the second list that records the functions of each remote-controlled terminal provided by the server Operate and send wireless signals to the server.
在该服务器上解析该无线信号,确认该第一移动终端的该选择操作并确定对应的操作指令,并通过通信单元发送具有该操作指令的无线信号至该第二移动终端,该操作指令包括该被选择的被遥控终端的身份信息及待执行功能。Analyze the wireless signal on the server, confirm the selection operation of the first mobile terminal and determine the corresponding operation instruction, and send the wireless signal with the operation instruction to the second mobile terminal through the communication unit, the operation instruction includes the Identity information and functions to be executed of the selected remote-controlled terminal.
在该第二移动终端上解析该操作指令,根据该第二移动终端上存储的列表确定该被选择的被遥控终端的待执行功能的红外遥控编码,并发送具有该红外遥控编码的无线信号至该遥控装置,该第二移动终端上存储的列表记录有被遥控终端身份信息、功能项目与红外遥控编码的对应关系。及Analyze the operation instruction on the second mobile terminal, determine the infrared remote control code of the function to be executed by the selected remote-controlled terminal according to the list stored on the second mobile terminal, and send a wireless signal with the infrared remote control code to In the remote control device, the list stored on the second mobile terminal records the corresponding relationship between the identity information of the remote controlled terminal, function items and infrared remote control codes. and
在该遥控装置上生成搭载有该红外遥控编码的红外信号至被遥控终端,控制该被遥控终端执行该待执行功能。An infrared signal carrying the infrared remote control code is generated on the remote control device to the remote-controlled terminal, and the remote-controlled terminal is controlled to execute the function to be executed.
相对于现有技术,本发明的一种遥控系统及遥控方法,用户可通过具有无线通信功能的第一移动终端或第二移动终端进行被遥控终端及功能的选择,并由服务器进行遥控指令的确定与管控,遥控装置将具有确定的操作指令的无线信号转换成具有相应的红外遥控编码的红外信号,以对所选定的被遥控终端进行遥控,执行相应的功能,从而使得用户可以不受地点的限制从远端遥控家电,方便用户使用。Compared with the prior art, in the remote control system and remote control method of the present invention, the user can select the remote control terminal and its function through the first mobile terminal or the second mobile terminal with wireless communication function, and the server can perform remote control instruction Determination and control, the remote control device converts the wireless signal with the determined operation command into an infrared signal with the corresponding infrared remote control code, so as to remotely control the selected remote-controlled terminal and perform corresponding functions, so that the user can Location restrictions Remote control home appliances for the convenience of users.
附图说明Description of drawings
图1为本发明一实施方式中的遥控系统的硬件架构示意图。FIG. 1 is a schematic diagram of a hardware architecture of a remote control system in an embodiment of the present invention.
图2为本发明另一实施方式中的遥控系统的硬件架构示意图。FIG. 2 is a schematic diagram of the hardware architecture of the remote control system in another embodiment of the present invention.
图3为本发明一实施方式中的遥控系统的功能模块示意图。FIG. 3 is a schematic diagram of functional modules of the remote control system in an embodiment of the present invention.
图4为一实施方式中的第一移动终端进行家电选择的使用状态示意图。Fig. 4 is a schematic diagram of the use state of the first mobile terminal in an embodiment for selecting a home appliance.
图5为一实施方式中的第一移动终端显示家电遥控器的使用状态示意图。Fig. 5 is a schematic diagram of a first mobile terminal displaying a use status of a remote control of a home appliance in an embodiment.
图6为本发明一实施方式中的导光元件的结构示意图。FIG. 6 is a schematic structural diagram of a light guide element in an embodiment of the present invention.
图7为本发明另一实施方式中的遥控系统的硬件架构示意图。FIG. 7 is a schematic diagram of the hardware architecture of the remote control system in another embodiment of the present invention.
图8为本发明一实施方式中的遥控方法的流程图。Fig. 8 is a flowchart of a remote control method in an embodiment of the present invention.
主要元件符号说明Description of main component symbols
如下具体实施方式将结合上述附图进一步说明本发明。The following specific embodiments will further illustrate the present invention in conjunction with the above-mentioned drawings.
具体实施方式Detailed ways
下面将结合附图,对本发明作进一步的详细说明。The present invention will be further described in detail below in conjunction with the accompanying drawings.
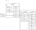
请同时参见图1、2,是一实施方式中的本发明的遥控系统的示意图。该遥控系统10包括第一移动终端20、第二移动终端21、服务器30、遥控装置40及至少一个家电50。其中,该第一移动终端20和第二移动终端21分别通过网络60与服务器30进行通讯连接,该遥控装置40通过网络60与该第二移动终端21通讯连接,该网络60可以为WiFi、蓝牙、或者无线个域网(ZigBee)或者其他类型的无线网络。在本实施方式中,该第一移动终端20和第二移动终端21位于不同的场所,该第一移动终端20用于响应用户的操作,发送无线信号至服务器30。该第一移动终端20和第二移动终端21为具有无线通讯功能的电子书、手机、平板电脑等,其中,在本实施方式中,该服务器30为一云端服务器。Please refer to Figs. 1 and 2 at the same time, which are schematic diagrams of the remote control system of the present invention in an embodiment. The
在本实施方式中,如图1所示,该遥控装置40对应家电50的红外接收窗口(图未示),安装在家电50上,或设置在家电50的前方。在另一实施方式中,如图2所示,该遥控装置40独立于家电50设置,该红外发射单元43包括多个红外发射模块(图未示),与多个家电50分别对应。In this embodiment, as shown in FIG. 1 , the
请参见图3,是一实施方式中的遥控系统的功能模块示意图。该服务器30包括控制单元31、数据库单元32和命令解析单元33。其中,该数据库单元32用于存储包括多个家电的第一列表以及每一家电所具有的功能项目的第二列表。用户可通过第一移动终端20或第二移动终端21下载该第一列表和第二列表,以及修改该列表并上传至服务器30,以更新数据库单元32中所存储的第一列表和第二列表。Please refer to FIG. 3 , which is a schematic diagram of functional modules of the remote control system in an embodiment. The
请同时参见图4、5,是本发明一实施方式中的第一移动终端进行家电遥控的用户界面示意图。当用户需要进行家电遥控时,该第一移动终端20响应用户的操作通过网络60获取数据库单元32存储的第一列表并显示在第一用户界面上,以供用户选择。当用户选择其中一种家电时,如空调,该第一移动终端20还用于通过网络60从数据库单元32中获取该被选择的家电的功能项目的第二列表并显示在第二用户界面上。当用户选择第二用户界面中一项功能时,该第一移动终端20识别该用户操作动作,并发送相应的无线控制信号至服务器30。Please refer to FIG. 4 and FIG. 5 at the same time, which are schematic diagrams of the user interface of the first mobile terminal performing remote control of home appliances in an embodiment of the present invention. When the user needs to remotely control the home appliance, the first
命令解析单元33通过网络60接收第一移动终端20所发送的无线控制信号确定该对应操作指令,即被选择的家电及需执行的功能。该服务器30还包括通信单元35,控制单元31控制通信单元35通过网络60发送具有该操作指令的无线信号至第二移动终端21。其中,该无线信号亦包含一代表该家电的身份信息。在本实施方式中,每一可被遥控装置40遥控的家电50均被分配有一唯一的身份代码,服务器30所发送的无线控制信号中的身份信息即对应该家电的身份代码。The
在本实施方式中,该服务器30还包括语音识别单元34,该第一移动终端20能够接收用户输入的声音信号,并将该声音信号发送至服务器30。该语音识别单元34用于根据该声音信号及数据库单元32存储的第一列表和第二列表确定其对应的操作指令。In this embodiment, the
在另一实施方式中,服务器30的数据库单元32中还用于存储用户信息、控制权限及特定家电的第三列表。用户可以通过第一移动终端20或第二移动终端21设置该对应关系,并通过网络60上传至服务器30,存储在数据库单元32中。例如,设定该特定家电包括微波炉、电暖器等,该第三列表中存储的用户信息包括用户名为A、B、C的三名用户,且每个用户名具有对应的密码。控制权限设置为用户A和B输入匹配的用户名和密码时能够控制该特定家电的全部功能,而用户C输入匹配的用户名和密码后只能够控制关闭该特定家电。当一用户使用该第一移动终端20显示的第一列表及第二列表选择需要遥控的特定家电以及执行的功能时,该第一移动终端20显示一用户界面,提示用户输入用户名及密码,并通过网络60将包括该输入的用户名和密码以及用户操作动作的无线信号发送至服务器30中。该服务器30的命令解析单元33根据操作动作确定被选择的家电及需要执行的功能,以及根据用户名、密码及该数据库单元32中存储的第三列表确定该用户能否控制该家电执行该功能。当确定用户信息与权限匹配时,则控制单元31通过网络60将具有该确定的操作指令的无线信号发送至第二移动终端21。当确定用户信息与权限不匹配时,控制单元31发送一拒绝执行该指令的信息至第一移动终端20,该第一移动终端20显示该指令信息提示用户此次请求被拒绝。In another embodiment, the
该第二移动终端21包括处理单元210和存储单元211。其中,该存储单元211存储第四列表,该第四列表定义了身份信息、功能项目与红外遥控编码的对应关系。当第二移动终端21通过网络60接收到由服务器30发送的无线信号后,处理单元210根据第四列表确定对应的红外遥控编码,并通过网络60发送至遥控装置40。The second
该遥控装置40包括信号接收单元41、信号转换单元42和红外发射单元43。信号接收单元41用于接收由第二移动终端21发送的具有红外遥控编码的无线信号。当信号接收单元41接收到该无线信号时,信号转换单元42将该无线信号转换成具有该红外遥控编码的红外信号,其中,搭载所述红外遥控编码的红外信号用于启动该家电50执行相应功能。红外发射单元43将该红外信号发送至对应的家电50,以控制该家电50执行所需执行的功能。The
在本实施方式中,该遥控装置40还包括电源44,用于为该遥控装置40供电,该电源44可以为太阳能电池,安装在该遥控装置40的表面。In this embodiment, the
请参见图6,在本实施方式中,该遥控装置40还包括一导光元件45,该导光元件45具有一反射面450和一透射面451,在本实施方式中,该导光元件45的反射面450与红外发射单元43相对应,该红外发射单元43所发送的红外遥控信号被该反射面450反射后被家电50接收。该遥控装置40还设置一红外信号接收窗口(图未示),与透射面451对应,使得来自于一遥控器70的红外遥控信号能够由该红外信号接收窗口射入,并穿过导光元件45入射到家电50,使得安装该遥控装置40的家电50还能够由原匹配的遥控器70遥控。在其他实施方式中,反射面450与红外信号接收窗口相对应,由遥控器70发射的红外信号被该反射面450反射后进入对应家电50,该透射面451与红外发射单元43对应,该红外发射单元43所发送的红外遥控信号穿过该导光元件45后被家电50接收。Please refer to FIG. 6, in this embodiment, the
请参见图7,在另一实施方式中,当用户与家电50位于同一场所时,用户可以通过第二移动终端21从服务器30中获取第一列表及第二列以进行家电及功能的选择,并发送该操作动作对应的无线信号至服务器30,经过命令解析单元33的解析确定该无线信号的操作指令,即被选择的家电及需执行的功能,并由控制单元31通过网络60发送具有身份信息的无线信号至该第二移动终端21。处理单元210根据第四列表确定对应的红外遥控编码,并通过网络60发送至遥控装置40。当遥控装置40的信号接收单元41接收到该无线信号时,信号转换单元42将该无线信号转换成具有该红外遥控编码的红外信号,并由红外发射单元43将该红外信号发送至对应的家电50,以控制该家电50执行所需执行的功能。Please refer to FIG. 7 , in another embodiment, when the user and the
请参见图8,为本发明的遥控方法的流程图。Please refer to FIG. 8 , which is a flow chart of the remote control method of the present invention.
步骤S80,第一移动终端20响应用户操作通过网络60访问服务器30,获取数据库单元32存储的第一列表及第二列表,并当用户选择第一列表中的一家电时相应地显示第二列表以供用户选择相应待执行功能,并根据该第一移动终端20识别的该操作动作发送无线信号至服务器。Step S80, the first
步骤S81,命令解析单元33解析该接收到的无线信号,确定对应的操作指令,并通过通信单元35发送具有该操作指令的无线信号至第二移动终端21,该述操作指令包括被选择的家电的身份信息及待执行功能。Step S81, the
在另一实施方式中,服务器30的数据库单元32中还用于存储用户信息、控制权限及特定家电的第三列表。当一用户使用该第一移动终端20显示的第一列表及第二列表选择需要遥控的特定家电以及执行的功能时,该第一移动终端20显示一用户界面,提示用户输入用户名及密码,并通过网络60将包括该输入的用户名和密码以及用户操作动作的无线信号发送至服务器30中。命令解析单元33根据操作动作确定被选择的家电及需要执行的功能,以及根据用户名、密码及该数据库单元32中存储的第三列表确定该用户能否控制该家电执行该功能。当确定用户信息与权限匹配时,则控制单元31通过网络60将具有该确定的操作指令的无线信号发送至第二移动终端21。当确定用户信息与权限不匹配时,控制单元31发送一拒绝执行该指令的信息至第一移动终端20,该第一移动终端20显示该指令信息提示用户此次请求被拒绝。In another embodiment, the
步骤S82,第二移动终端21的处理单元210根据第四列表确定被选择的家电的待执行功能的红外遥控编码,并发送具有该红外遥控编码的无线信号至遥控装置40。Step S82 , the
步骤S83,遥控装置40的信号接收单元41接收到该具有红外遥控编码的无线信号,由信号转换单元42将该无线信号转换成搭载有该红外遥控编码的红外信号,并红外发射单元43将该红外信号发送至对应的家电,控制该家电执行所需的待执行功能。Step S83, the
使用上述的遥控系统,用户可通过具有无线通信功能的第一移动终端或第二移动终端进行家电及功能的选择,并由服务器进行遥控指令的确定与管控,遥控装置将具有确定的操作指令的无线信号转换成具有相应的红外遥控编码的红外信号,以对所选定的家电进行遥控,执行相应的功能,从而使得用户可以不受地点的限制从远端遥控家电,方便用户使用。Using the above-mentioned remote control system, the user can select home appliances and functions through the first mobile terminal or the second mobile terminal with wireless communication function, and the server can determine and control the remote control command, and the remote control device will have the function of the determined operation command. The wireless signal is converted into an infrared signal with a corresponding infrared remote control code to remotely control the selected home appliance and perform corresponding functions, so that the user can remotely control the home appliance from a remote location without being restricted by the location, which is convenient for the user.
可以理解的是,对于本领域的普通技术人员来说,可以根据本发明的技术构思做出其它各种相应的改变与变形,而所有这些改变与变形都应属于本发明权利要求的保护范围。It can be understood that those skilled in the art can make various other corresponding changes and modifications according to the technical concept of the present invention, and all these changes and modifications should belong to the protection scope of the claims of the present invention.
| Application Number | Priority Date | Filing Date | Title |
|---|---|---|---|
| CN201110444428.1ACN102568178B (en) | 2011-12-27 | 2011-12-27 | Remote control system and remote control method |
| Application Number | Priority Date | Filing Date | Title |
|---|---|---|---|
| CN201110444428.1ACN102568178B (en) | 2011-12-27 | 2011-12-27 | Remote control system and remote control method |
| Publication Number | Publication Date |
|---|---|
| CN102568178Atrue CN102568178A (en) | 2012-07-11 |
| CN102568178B CN102568178B (en) | 2015-05-20 |
| Application Number | Title | Priority Date | Filing Date |
|---|---|---|---|
| CN201110444428.1AActiveCN102568178B (en) | 2011-12-27 | 2011-12-27 | Remote control system and remote control method |
| Country | Link |
|---|---|
| CN (1) | CN102568178B (en) |
| Publication number | Priority date | Publication date | Assignee | Title |
|---|---|---|---|---|
| CN102748836A (en)* | 2012-07-25 | 2012-10-24 | 广东志高空调有限公司 | Air conditioning system and water-cooling and direct-cooling unit |
| CN103177557A (en)* | 2012-12-28 | 2013-06-26 | 吴玉胜 | Household appliance control method and system based on intelligent device |
| CN103795745A (en)* | 2012-10-30 | 2014-05-14 | 天讯天网(福建)网络科技有限公司 | Monitoring method and monitoring system of intelligent mobile terminal |
| CN103942935A (en)* | 2013-01-18 | 2014-07-23 | 伍轮实业股份有限公司 | Remote control method, remote control device and remote control system for infant care apparatus |
| CN104200625A (en)* | 2014-08-20 | 2014-12-10 | 惠州Tcl移动通信有限公司 | System and method for wirelessly controlling mobile terminal and AP control device |
| CN105469590A (en)* | 2015-12-29 | 2016-04-06 | 广东欧珀移动通信有限公司 | A method, device and mobile terminal for remotely controlling electrical appliances |
| CN106650471A (en)* | 2016-10-11 | 2017-05-10 | 纳恩博(北京)科技有限公司 | Safe processing method, equipment and system |
| CN106952466A (en)* | 2017-04-28 | 2017-07-14 | 环球智达科技(北京)有限公司 | User terminal for many equipment infrared remote controls |
| CN107016847A (en)* | 2017-03-31 | 2017-08-04 | 厦门盈趣科技股份有限公司 | A kind of intelligent home control system and method based on infrared technique |
| CN107038856A (en)* | 2017-04-28 | 2017-08-11 | 环球智达科技(北京)有限公司 | Remote control mode distribution method for infrared remote control |
| CN107123254A (en)* | 2017-04-28 | 2017-09-01 | 环球智达科技(北京)有限公司 | Many equipment infrared remote control methods based on user terminal |
| CN107123250A (en)* | 2017-05-27 | 2017-09-01 | 太仓埃特奥数据科技有限公司 | A kind of burnisher wireless remote control method |
| CN107331145A (en)* | 2017-06-27 | 2017-11-07 | 广州市威士丹利智能科技有限公司 | A kind of remote control based on multi-protocols |
| TWI609588B (en)* | 2016-02-17 | 2017-12-21 | Grand Mate Co Ltd | Actuation control method of wireless control system |
| CN107579885A (en)* | 2017-08-31 | 2018-01-12 | 广东美的制冷设备有限公司 | Information interacting method, device and computer-readable recording medium |
| CN108074383A (en)* | 2016-11-18 | 2018-05-25 | 上海小吉互联网科技有限公司 | A kind of interaction systems of the general screen of internet of things home appliance |
| CN108154668A (en)* | 2017-12-28 | 2018-06-12 | 江苏惠通集团有限责任公司 | Remote control, remote control thereof and remote control system |
| CN109346072A (en)* | 2018-09-27 | 2019-02-15 | 珠海格力电器股份有限公司 | Voice interaction method, electronic equipment and computer storage medium |
| CN109544877A (en)* | 2018-12-28 | 2019-03-29 | 江苏惠通集团有限责任公司 | Find method and device, storage medium, intelligent terminal, server, the remote control system of remote control equipment |
| CN109615843A (en)* | 2018-11-30 | 2019-04-12 | 浙江工商大学 | Home appliance infrared remote control system |
| CN110087203A (en)* | 2013-03-15 | 2019-08-02 | 脸谱公司 | Communication system, communication means and storage medium |
| Publication number | Priority date | Publication date | Assignee | Title |
|---|---|---|---|---|
| US20070279248A1 (en)* | 2005-10-14 | 2007-12-06 | Sanyo Electric Co., Ltd. | Remote control apparatus and portable communication terminal |
| CN101127155A (en)* | 2006-08-15 | 2008-02-20 | 何进 | Selective intelligent remote control system and method |
| CN101727735A (en)* | 2008-10-23 | 2010-06-09 | 爱思开电讯投资(中国)有限公司 | Remote control system |
| CN201716837U (en)* | 2009-12-30 | 2011-01-19 | 华旗移动通讯科技(北京)有限公司 | Digital appliance remote control equipment |
| Publication number | Priority date | Publication date | Assignee | Title |
|---|---|---|---|---|
| US20070279248A1 (en)* | 2005-10-14 | 2007-12-06 | Sanyo Electric Co., Ltd. | Remote control apparatus and portable communication terminal |
| CN101127155A (en)* | 2006-08-15 | 2008-02-20 | 何进 | Selective intelligent remote control system and method |
| CN101727735A (en)* | 2008-10-23 | 2010-06-09 | 爱思开电讯投资(中国)有限公司 | Remote control system |
| CN201716837U (en)* | 2009-12-30 | 2011-01-19 | 华旗移动通讯科技(北京)有限公司 | Digital appliance remote control equipment |
| Publication number | Priority date | Publication date | Assignee | Title |
|---|---|---|---|---|
| CN102748836A (en)* | 2012-07-25 | 2012-10-24 | 广东志高空调有限公司 | Air conditioning system and water-cooling and direct-cooling unit |
| CN103795745A (en)* | 2012-10-30 | 2014-05-14 | 天讯天网(福建)网络科技有限公司 | Monitoring method and monitoring system of intelligent mobile terminal |
| CN103177557A (en)* | 2012-12-28 | 2013-06-26 | 吴玉胜 | Household appliance control method and system based on intelligent device |
| CN103177557B (en)* | 2012-12-28 | 2016-05-11 | 吴玉胜 | Household electric appliance control method based on smart machine and system |
| CN103942935A (en)* | 2013-01-18 | 2014-07-23 | 伍轮实业股份有限公司 | Remote control method, remote control device and remote control system for infant care apparatus |
| CN110087203A (en)* | 2013-03-15 | 2019-08-02 | 脸谱公司 | Communication system, communication means and storage medium |
| CN104200625B (en)* | 2014-08-20 | 2017-10-24 | 惠州Tcl移动通信有限公司 | System, method and the AP controlling equipments of wireless manipulation mobile terminal |
| CN104200625A (en)* | 2014-08-20 | 2014-12-10 | 惠州Tcl移动通信有限公司 | System and method for wirelessly controlling mobile terminal and AP control device |
| CN105469590A (en)* | 2015-12-29 | 2016-04-06 | 广东欧珀移动通信有限公司 | A method, device and mobile terminal for remotely controlling electrical appliances |
| TWI609588B (en)* | 2016-02-17 | 2017-12-21 | Grand Mate Co Ltd | Actuation control method of wireless control system |
| CN106650471A (en)* | 2016-10-11 | 2017-05-10 | 纳恩博(北京)科技有限公司 | Safe processing method, equipment and system |
| CN108074383A (en)* | 2016-11-18 | 2018-05-25 | 上海小吉互联网科技有限公司 | A kind of interaction systems of the general screen of internet of things home appliance |
| CN107016847A (en)* | 2017-03-31 | 2017-08-04 | 厦门盈趣科技股份有限公司 | A kind of intelligent home control system and method based on infrared technique |
| CN107123254A (en)* | 2017-04-28 | 2017-09-01 | 环球智达科技(北京)有限公司 | Many equipment infrared remote control methods based on user terminal |
| CN106952466A (en)* | 2017-04-28 | 2017-07-14 | 环球智达科技(北京)有限公司 | User terminal for many equipment infrared remote controls |
| CN107038856A (en)* | 2017-04-28 | 2017-08-11 | 环球智达科技(北京)有限公司 | Remote control mode distribution method for infrared remote control |
| CN107123250A (en)* | 2017-05-27 | 2017-09-01 | 太仓埃特奥数据科技有限公司 | A kind of burnisher wireless remote control method |
| CN107331145A (en)* | 2017-06-27 | 2017-11-07 | 广州市威士丹利智能科技有限公司 | A kind of remote control based on multi-protocols |
| CN107579885A (en)* | 2017-08-31 | 2018-01-12 | 广东美的制冷设备有限公司 | Information interacting method, device and computer-readable recording medium |
| CN108154668A (en)* | 2017-12-28 | 2018-06-12 | 江苏惠通集团有限责任公司 | Remote control, remote control thereof and remote control system |
| CN109346072A (en)* | 2018-09-27 | 2019-02-15 | 珠海格力电器股份有限公司 | Voice interaction method, electronic equipment and computer storage medium |
| CN109615843A (en)* | 2018-11-30 | 2019-04-12 | 浙江工商大学 | Home appliance infrared remote control system |
| CN109544877A (en)* | 2018-12-28 | 2019-03-29 | 江苏惠通集团有限责任公司 | Find method and device, storage medium, intelligent terminal, server, the remote control system of remote control equipment |
| Publication number | Publication date |
|---|---|
| CN102568178B (en) | 2015-05-20 |
| Publication | Publication Date | Title |
|---|---|---|
| CN102568178B (en) | Remote control system and remote control method | |
| TW201328249A (en) | Remote control system and method thereof | |
| US9547980B2 (en) | Smart gateway, smart home system and smart controlling method thereof | |
| CN102610076B (en) | Remote control system and remote control device | |
| CN102411840B (en) | Remote control device | |
| US20140121786A1 (en) | Smart gateway, smart home system and smart remote control method thereof | |
| EP3679690B1 (en) | Control and/or registration of smart devices, locally by an assistant client device | |
| KR101909498B1 (en) | Control Station for Remote Control of Home Appliances by Recognition of Natural Language Based Command and Method thereof | |
| CN108648431B (en) | Method and device for configuring functions of remote controller, terminal equipment and readable storage medium | |
| EP2579627B1 (en) | System and method for remote household appliance control based on mobile communication network | |
| US20140066062A1 (en) | Smart home network system and register controller and method for registering home devices | |
| US20140064737A1 (en) | Smart switch and remote control system using the same | |
| TW201414226A (en) | Smart home network system and its signal conversion device | |
| US20130035077A1 (en) | Electronic device, storage medium and method for remotely controlling household electric appliances | |
| CN104122806A (en) | Household appliance control method and system | |
| CN104480676A (en) | Smart clothes hanger system and smart clothes hanging control method and device | |
| KR102173242B1 (en) | Local wireless data communication system, method and apparatus for automactic setup of imformation | |
| CN110912911B (en) | Air conditioning equipment authority control method, user equipment and control system | |
| WO2013131477A1 (en) | Remote monitoring device and method | |
| CN104110895A (en) | Water heater system, water heater, controller method of water heater, intelligent terminal and server | |
| JP2019062374A (en) | Management device, management system, management method and program | |
| TWM449417U (en) | Smart home network system and its registration controller | |
| US20160142258A1 (en) | Methods and systems for verifying installation of a device | |
| CN109615843A (en) | Home appliance infrared remote control system | |
| CN104281078A (en) | Infrared device centralized control system |
| Date | Code | Title | Description |
|---|---|---|---|
| C06 | Publication | ||
| PB01 | Publication | ||
| C10 | Entry into substantive examination | ||
| SE01 | Entry into force of request for substantive examination | ||
| ASS | Succession or assignment of patent right | Owner name:SCIENBIZIP CONSULTING (SHENZHEN) CO., LTD. Free format text:FORMER OWNER: HONGFUJIN PRECISE INDUSTRY (SHENZHEN) CO., LTD. Effective date:20150309 Owner name:ZHONGSHAN YUNCHUANG INTELLECTUAL PROPERTY SERVICE Free format text:FORMER OWNER: SCIENBIZIP CONSULTING (SHENZHEN) CO., LTD. Effective date:20150309 Free format text:FORMER OWNER: HONGFUJIN PRECISE INDUSTRY CO., LTD. Effective date:20150309 | |
| C41 | Transfer of patent application or patent right or utility model | ||
| COR | Change of bibliographic data | Free format text:CORRECT: ADDRESS; FROM: 513181 SHENZHEN, GUANGDONG PROVINCE TO: 528437 ZHONGSHAN, GUANGDONG PROVINCE Free format text:CORRECT: ADDRESS; FROM: 518109 SHENZHEN, GUANGDONG PROVINCE TO: 513181 SHENZHEN, GUANGDONG PROVINCE | |
| TA01 | Transfer of patent application right | Effective date of registration:20150309 Address after:528437 Guangdong province Zhongshan Torch Development Zone, Cheung Hing Road 6 No. 222 north wing trade building room Applicant after:Zhongshan yunchuang Intellectual Property Service Co.,Ltd. Address before:513181 Guangdong province Shenzhen city Longhua District Dragon Road No. 83 wing group building 11 floor Applicant before:SCIENBIZIP CONSULTING (SHEN ZHEN) Co.,Ltd. Effective date of registration:20150309 Address after:513181 Guangdong province Shenzhen city Longhua District Dragon Road No. 83 wing group building 11 floor Applicant after:SCIENBIZIP CONSULTING (SHEN ZHEN) Co.,Ltd. Address before:518109 Guangdong city of Shenzhen province Baoan District Longhua Town Industrial Zone tabulaeformis tenth East Ring Road No. 2 two Applicant before:HONG FU JIN PRECISION INDUSTRY (SHENZHEN) Co.,Ltd. Applicant before:HON HAI PRECISION INDUSTRY Co.,Ltd. | |
| C14 | Grant of patent or utility model | ||
| GR01 | Patent grant | ||
| C41 | Transfer of patent application or patent right or utility model | ||
| TR01 | Transfer of patent right | Effective date of registration:20160601 Address after:518000 Guangdong Province, Shenzhen New District of Longhua City, Dalang street, Hua Sheng Lu Yong Jingxuan commercial building 1608 Patentee after:Jinyang Shenzhen sea Network Intelligent Technology Co.,Ltd. Address before:528437 Guangdong province Zhongshan Torch Development Zone, Cheung Hing Road 6 No. 222 north wing trade building room Patentee before:Zhongshan yunchuang Intellectual Property Service Co.,Ltd. | |
| TR01 | Transfer of patent right | ||
| TR01 | Transfer of patent right | Effective date of registration:20180507 Address after:515000 one or two building, Yingbin South Road Industrial Zone, Wai Sha town, Longhu District, Shantou, Guangdong, China, 2 Patentee after:SHANTOU PIENXI PLASTIC PRODUCTS Co.,Ltd. Address before:518000 Guangdong province Shenzhen Longhua New District big wave Street Huasheng road Yong Jing Xuan commercial building 1608 Patentee before:Jinyang Shenzhen sea Network Intelligent Technology Co.,Ltd. |