


技术领域technical field
本发明涉及客运车辆驾驶安全领域,特别涉及一种客运车辆车道偏离预警装置及其判断方法。 The invention relates to the field of driving safety of passenger vehicles, in particular to a lane departure warning device for passenger vehicles and a judging method thereof. the
背景技术Background technique
近年来,在我国公路运输业快速发展的同时,道路交通事故也居高不下,给社会造成了大量的人身伤亡和财产损失,公路客运交通事故造成的社会影响尤为严重。客车驾驶员的驾驶行为是保障客运车辆行驶安全的充要条件。而大多数公路客运交通事故的主要直接原因是驾驶员的违章操作、疏忽大意或疲劳驾驶,这些行为不经意间就会导致车辆偏离车道,从而引发交通事故。 In recent years, with the rapid development of my country's road transport industry, road traffic accidents have also remained high, causing a large number of personal casualties and property losses to the society, and the social impact caused by road passenger traffic accidents is particularly serious. The driving behavior of bus drivers is a necessary and sufficient condition to ensure the safety of passenger vehicles. The main direct cause of most road passenger traffic accidents is the driver's illegal operation, negligence or fatigue driving, these behaviors will inadvertently cause the vehicle to deviate from the lane, thus causing traffic accidents. the
目前,客运车辆针对车道偏离预警技术,仅仅是使用汽车行驶记录仪,但是它的缺点是:第一它采用非图像的技术,精确度低;第二,它一般要与GPS监管平台结合使用,使用成本高,第三,它没有驾驶员违规图像存储功能,当交通事故发生时,不能很好的为交管部门提供判决依据。 At present, passenger vehicles only use car travel recorders for lane departure warning technology, but its disadvantages are: first, it uses non-image technology, which has low accuracy; second, it generally needs to be used in combination with GPS monitoring platforms. The use cost is high, and the 3rd, it does not have the image storage function of driver's violation, when a traffic accident occurs, it cannot provide a good basis for the traffic control department to judge. the
发明内容Contents of the invention
本发明的目的在于,在于提供一套适合客运车辆的车道偏离预警装置及其判断方法,该车道偏离预警装置采用图像技术、控制精确度高、使用成本低、适合规模化推广,还具有驾驶员违规图像存储功能,为交管部门提供判决依据。 The object of the present invention is to provide a set of lane departure warning device suitable for passenger vehicles and its judging method. The lane departure warning device adopts image technology, has high control accuracy, low use cost, is suitable for large-scale promotion, and has the advantages of driver The illegal image storage function provides the judgment basis for the traffic control department. the
该装置可以有效管理和规范公路客运车辆驾驶人的驾驶操作行为,切实提高公路客运安全管理的科技含量与能力,进而达到有效改善我国公路客运安全性和提高公路客运的营运效益及保持行业可持续发展的目的。 The device can effectively manage and standardize the driving behavior of road passenger transport vehicle drivers, effectively improve the technological content and ability of road passenger transport safety management, and then effectively improve the safety of road passenger transport in my country, improve the operating efficiency of road passenger transport, and maintain the sustainable development of the industry. purpose of development. the
本发明的基本原理是通过使用CCD图像传感器在短时间内拍摄前方环境的瞬时图像,然后经过图像解码芯片把图像信号传输到高速信号数字处理器中, 高速信号数字处理器通过程序判断车辆是否已经偏离车道,如果在转向灯未开启的情况下偏离车道,系统装置将会通过使用发光二级管和蜂鸣器向驾驶人进行提示,为客运车辆在道路上的安全行驶提供辅助帮助;此外,系统装置还会把此时的驾驶人驾驶违规图像传输到存储硬盘中,当发生交通事故时,可以为交管部门提供判决依据。 The basic principle of the present invention is to use the CCD image sensor to capture the instantaneous image of the front environment in a short time, and then transmit the image signal to the high-speed signal digital processor through the image decoding chip, and the high-speed signal digital processor judges whether the vehicle has passed through the program. Deviating from the lane, if you deviate from the lane when the turn signal is not turned on, the system device will prompt the driver by using light-emitting diodes and buzzers to provide assistance for the safe driving of passenger vehicles on the road; in addition, The system device will also transmit the image of the driver's driving violation at this time to the storage hard disk, and when a traffic accident occurs, it can provide a basis for judgment for the traffic control department. the
为了实现上述任务,本发明采取如下的技术解决方案: In order to achieve the above tasks, the present invention takes the following technical solutions:
一种客运车辆车道偏离预警装置,其特征在于,包括: A lane departure warning device for passenger vehicles, characterized in that it comprises:
图像采集模块,主要由CCD传感器和图像解码器组成,其中,CCD传感器安装在车辆前部挡风玻璃的内侧,斜指向前方的车道; The image acquisition module is mainly composed of a CCD sensor and an image decoder, wherein the CCD sensor is installed on the inside of the windshield at the front of the vehicle, pointing obliquely to the front lane;
转向信号采集模块,该转向信号采集模块采用单片机,用于从客运车辆仪表盘下方的总线中读取客运车辆CAN总线里的转向通断信号; Steering signal acquisition module, the steering signal acquisition module adopts a single-chip microcomputer, which is used to read the steering on-off signal in the CAN bus of the passenger vehicle from the bus under the dashboard of the passenger vehicle;
液晶显示器,通过USB接口与高速数字信号处理器连接; LCD display, connected with high-speed digital signal processor through USB interface;
存储硬盘,用来存储驾驶人的违规图像; Storage hard disk, used to store the driver's violation image;
报警模块,由发光二极管和蜂鸣器组成; Alarm module, composed of LED and buzzer;
高速数字信号处理器分别通过USB接口电连接图像采集模块和液晶显示器的视频线,通过I/O口电连接转向信号采集模块、存储硬盘以及报警模块。 The high-speed digital signal processor is electrically connected to the image acquisition module and the video line of the liquid crystal display through the USB interface, and is electrically connected to the steering signal acquisition module, the storage hard disk and the alarm module through the I/O port. the
上述客运车辆车道偏离预警装置用于客运车辆车道偏离判断方法,其特征在于,包括以下步骤: The above-mentioned passenger vehicle lane departure warning device is used for the passenger vehicle lane departure judgment method, and it is characterized in that, comprising the following steps:
(1)CCD传感器标定: (1) CCD sensor calibration:
首先制作标定板,标定板上设置标定图像,CCD传感器拍摄标定板,采集图像进行标定,然后得到CCD传感器的内部参数以及外部参数; First make a calibration board, set a calibration image on the calibration board, the CCD sensor shoots the calibration board, collects the image for calibration, and then obtains the internal parameters and external parameters of the CCD sensor;
(2)图像采集: (2) Image acquisition:
CCD传感器采集车道图像,并将采集到的道路图像通过图像解码器传输至高速数字信号处理器中; The CCD sensor collects the lane image, and transmits the collected road image to the high-speed digital signal processor through the image decoder;
(3)图像预处理: (3) Image preprocessing:
将采集到的道路图像进行滤波,滤除部分随机噪声; Filter the collected road images to remove some random noise;
(4)车道线提取: (4) Lane line extraction:
利用阀值法对预处理后的图像进行分割,利用Sobel算子检测车道边缘,再利用Hough变换算法实现车道线的提取; Use the threshold method to segment the preprocessed image, use the Sobel operator to detect the edge of the lane, and then use the Hough transform algorithm to realize the extraction of the lane line;
(5)车道偏离判断: (5) Lane departure judgment:
依据车辆在当前道路中的横向位置和方向参数来判断车辆是否偏离车道行驶,通过发光二极管和蜂鸣器提醒客运车辆偏离车道行驶,并把违规驾驶图像保存到存储硬盘中。 According to the lateral position and direction parameters of the vehicle in the current road, it is judged whether the vehicle deviates from the lane, and the LED and buzzer are used to remind the passenger vehicle to deviate from the lane, and the illegal driving image is saved to the storage hard disk. the
本发明的客运车辆道路偏离预警装置,体积小、操作简单、产品制造成本价低,具有较大的市场竞争力。基于上述客运车辆道路偏离预警装置的车辆车道偏离判断方法,其道路图像的处理及车道偏离的预警都是由高速数字信号处理器完成,可靠性以及智能性高,还可以把驾驶人的驾驶违规图像传输到存储硬盘中,当发生交通事故时,可以为交管部门提供判决依据。 The road departure warning device for passenger vehicles of the invention has the advantages of small volume, simple operation, low manufacturing cost and high market competitiveness. Based on the vehicle lane departure judgment method of the above-mentioned passenger vehicle road departure warning device, the road image processing and lane departure warning are all completed by a high-speed digital signal processor, which has high reliability and intelligence, and can also detect the driver's driving violations. The image is transmitted to the storage hard disk, and when a traffic accident occurs, it can provide a basis for judgment for the traffic control department. the
附图说明Description of drawings
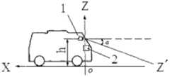
图1为本发明的CCD传感器安装示意图。 FIG. 1 is a schematic diagram of the installation of the CCD sensor of the present invention. the
图2为本发明的硬件结构示意图。 Fig. 2 is a schematic diagram of the hardware structure of the present invention. the
图3为本发明建立的车辆在道路中坐标系示意图。 Fig. 3 is a schematic diagram of a coordinate system of a vehicle on a road established by the present invention. the
图中的标记分别表示:1、图像采集模块,2、金属壳体,3、高速数字信号处理器,4、单片机,5、液晶显示器,6、报警模块,7、存储硬盘。 The marks in the figure represent respectively: 1. image acquisition module, 2. metal casing, 3. high-speed digital signal processor, 4. single-chip microcomputer, 5. liquid crystal display, 6. alarm module, 7. storage hard disk. the
以下结合附图和实施例对本发明作进一步的详细说明。 The present invention will be further described in detail below in conjunction with the accompanying drawings and embodiments. the
具体实施方式Detailed ways
参照图1,在客运车辆车道偏离预警装置中,本实施例的图像采集模块包括CCD传感器和图像解码器,CCD传感器与图像解码器相连接。其中,CCD传感器依靠支架固定在车辆前部挡风玻璃的内侧,CCD传感器的安装高度h为1.66米,倾斜角α为15.4°,镜头朝向前方偏下(图1中的标记Z′)。 Referring to FIG. 1 , in the lane departure warning device for passenger vehicles, the image acquisition module of this embodiment includes a CCD sensor and an image decoder, and the CCD sensor is connected to the image decoder. Among them, the CCD sensor is fixed on the inner side of the front windshield of the vehicle by means of a bracket. The installation height h of the CCD sensor is 1.66 meters, the inclination angle α is 15.4°, and the lens faces forward and downward (mark Z' in Figure 1). the
高速数字信号处理器3、单片机4、液晶显示器5、报警模块6、存储硬盘7分别通过螺栓固定在一个金属壳体2内,其中,报警模块6由发光二极管和蜂鸣器组成,金属壳体2通过支架以及螺栓固定在客运车辆仪表盘的上方。 A high-speed digital signal processor 3, a single-chip microcomputer 4, a liquid crystal display 5, an
本实施例CCD传感器采用1/4″SONY机器视觉专用的WAT-231S2工业摄像机,有效像素600万,图像解码芯片的型号为TVP5145。图像解码器的输出信号通过USB2.0数据线与高速数字信号处理器3的VP1口连接。 The present embodiment CCD sensor adopts 1/4 " SONY machine vision special WAT-231S2 industrial video camera, effective pixel 6,000,000, the model of image decoder chip is TVP5145. The output signal of image decoder passes USB2.0 data line and high-speed digital signal Connect to the VP1 port of processor 3.
参照图2,本实施例中,高速数字信号图像处理器的型号为TMS320DM642。液晶显示器的型号为TVG-800。预警模块6中的发光二极管的型号为SMD0805,蜂鸣器的型号为CY-12055。存储硬盘的型号为希捷ST500DM0027200。 Referring to Fig. 2, in this embodiment, the model of the high-speed digital signal image processor is TMS320DM642. The model of the LCD monitor is TVG-800. The model of the light-emitting diode in the
装置的高速数字信号处理器3的VP0口电连接液晶显示器5的视频线,高速数字信号处理器3有多个引脚,其中的GP0[0]脚电连接采集转向信号的单片机4的PAD0脚,高速数字信号处理器3的GP0[15]脚电连接报警模块6的发光二级管,高速数字信号处理器3的GP0[13]脚电连接报警模块6的蜂鸣器,高速数字信号处理器3扩展资源的标准IDE硬盘接口电连接存储硬盘7。 The VP0 port of the high-speed digital signal processor 3 of the device is electrically connected to the video line of the liquid crystal display 5, and the high-speed digital signal processor 3 has a plurality of pins, and the GP0[0] pin is electrically connected to the PAD0 pin of the single-chip microcomputer 4 collecting the steering signal , the GP0[15] pin of the high-speed digital signal processor 3 is electrically connected to the light-emitting diode of the
转向通断信号是从客运车辆仪表盘下方的总线中读取,经过信号处理电路的滤波、放大后传给MC9S12DG128单片机,再通过RS232串行端口把采集到的转向通断信号发送到高速信号数字处理器5(TMS320DM642)中。 The steering on-off signal is read from the bus under the dashboard of the passenger vehicle, filtered and amplified by the signal processing circuit, and then transmitted to the MC9S12DG128 microcontroller, and then the collected steering on-off signal is sent to the high-speed signal digital signal through the RS232 serial port. Processor 5 (TMS320DM642). the
本实施例中使用CCD图像传感器在短时间内拍摄前方环境的瞬时图像,然后经过图像解码器把图像信号传输到高速信号数字处理器5(TMS320DM642)中,高速信号数字处理器5通过程序判断车辆是否已经偏离车道,如果在转向灯未开启的情况下偏离车道,装置将会通过使用发光二级管和蜂鸣器向驾驶人进行提示,为客运车辆在道路上的安全行驶提供辅助帮助;此外,装置还会把此时的驾驶人驾驶违规图像传输到存储硬盘中,当发生交通事故时,可以为交管部门提供判决依据。 In this embodiment, a CCD image sensor is used to take an instantaneous image of the front environment in a short time, and then the image signal is transmitted to the high-speed signal digital processor 5 (TMS320DM642) through the image decoder, and the high-speed signal digital processor 5 judges the vehicle through the program Whether it has deviated from the lane, if it deviates from the lane when the turn signal is not turned on, the device will prompt the driver by using light-emitting diodes and buzzers, and provide assistance for the safe driving of passenger vehicles on the road; in addition , the device will also transmit the image of the driver's violation of the rules to the storage hard disk at this time, and when a traffic accident occurs, it can provide the basis for the traffic control department to make a decision. the
采用上述装置实现客运车辆车道偏离判断方法,具体步骤如下: Using the above-mentioned device to realize the method for judging the lane departure of passenger vehicles, the specific steps are as follows:
(1)CCD传感器标定 (1) CCD sensor calibration
首先制作标定板,标定板上有标定图形,变换标定位置,利用CCD传感器采集的这些图像进行标定,标定图形选用黑白相间的正方形方框,正方形的边长为10cm,每个方向上共有5个方框,在CCD传感器的可视范围内变换标定板的位置,在不同位置采集标定板图像,然后将这些图像导入到Math Works公司的数学处理软件MATLAB2009b中进行标定,得到CCD传感器的内部参数和外部参数。 Firstly, make a calibration board with calibration graphics on the calibration board, change the calibration position, and use these images collected by the CCD sensor for calibration. The calibration graphics are black and white square boxes with a side length of 10cm, and there are 5 in each direction. Change the position of the calibration plate within the visible range of the CCD sensor, collect images of the calibration plate at different positions, and then import these images into the mathematical processing software MATLAB2009b of Math Works Company for calibration, and obtain the internal parameters of the CCD sensor and external parameters. the
CCD传感器标定得到的内部参数主要有:有效焦距f,扭曲系数fc及畸变系数kc,这些参数反应了摄像机本身所带来的图像畸变。摄像机标定得到的外部参数有摄像机距地面高度h,与车侧距离d,自转角γ,俯仰角α。 The internal parameters obtained by CCD sensor calibration mainly include: effective focal length f, distortion coefficient fc and distortion coefficient kc, these parameters reflect the image distortion brought by the camera itself. The external parameters obtained by camera calibration include the height h of the camera from the ground, the distance d from the side of the vehicle, the rotation angle γ, and the pitch angle α. the
(2)图像采集 (2) Image acquisition
装置开始工作后,CCD传感器1采集车道图像,并将采集到的车道图像通过图像解码器和USB2.0数据线实时传输到高速数字信号处理器5中,供高速数字信号处理器5进行下一步的处理。 After the device starts to work, the
(3)图像预处理 (3) Image preprocessing
去除道路图像中的无用点及干扰点。在实际的图像获取过程中,由于路面情况比较复杂,可能存在污迹、杂物干扰,将采集到的道路图像进行滤波,滤除部分随机噪声,因此需要用维纳滤波法进行图像的噪声处理,维纳滤波可实现自适应去噪。 Remove useless points and interference points in road images. In the actual image acquisition process, due to the complex road conditions, there may be dirt and debris interference, the collected road images are filtered to filter out some random noise, so it is necessary to use the Wiener filter method for image noise processing , Wiener filtering can achieve adaptive denoising. the
由于CCD传感器获取的道路图像对比度有时候会比较低,所以可以采用直方图灰度变换来改善图像的对比度,Matlab的图像处理工具箱中有一个madjust灰度变换函数,它可将图像的灰度值重新进行映射,使之填满整个灰度值所允许的范围(0,255)。 Since the contrast of the road image obtained by the CCD sensor is sometimes relatively low, the histogram grayscale transformation can be used to improve the contrast of the image. There is a madjust grayscale transformation function in the image processing toolbox of Matlab, which can convert the grayscale of the image The value is remapped so that it fills the allowed range (0, 255) for the entire grayscale value. the
(4)车道线提取 (4) Lane line extraction
对经过图像预处理的车道图像进行二值化处理,利用阀值分割法对预处理 后的图像进行分割,用一个或几个阀值将图像的灰度直方图分类,把灰度值在同一个范围内的像素归为同一个物体。 Carry out binarization processing on the preprocessed lane image, use the threshold segmentation method to segment the preprocessed image, use one or several thresholds to classify the gray histogram of the image, and divide the gray value at the same time Pixels within a range are grouped into the same object. the
利用Sobel算子检测车道边缘,Sobel算子是一种将方向差分运算与局部平均相结合的方法,具有一定的噪声抑制能力,可以达到快速检测车道线的目的,对于左右两侧的车道,采用Sobel算子分别对左右车道的水平进行检测,取定的Sobel算子如下: Use the Sobel operator to detect the edge of the lane. The Sobel operator is a method that combines the directional difference operation and the local average. It has a certain noise suppression ability and can quickly detect the lane line. For the left and right lanes, use The Sobel operator detects the level of the left and right lanes respectively, and the determined Sobel operator is as follows:
再利用Hough变换算法实现车道线的提取,Hough变换将原始图像中给定的曲线或直线变换成参数空间的一个点,把原始图像中曲线或直线的检测问题,变换成寻找参数空间中峰点的问题,直线的极坐标方程如下: Then use the Hough transform algorithm to realize the extraction of lane lines. The Hough transform transforms the given curve or straight line in the original image into a point in the parameter space, and transforms the detection problem of the curve or straight line in the original image into finding the peak point in the parameter space. problem, the polar coordinate equation of the straight line is as follows:
ρ=xcosθ+ysinθ ρ=xcosθ+ysinθ
利用Hough变换将直线上的点(x,y)转换成二维空间参数(ρ,θ)上的一个点,接着将ρ-θ空间离散为许多个小格,落入小格的最多的点所在的小格对应于参数空间(ρ,θ)的共同点,(ρ,θ)是图像空间的直线拟合参数,将获得的直线拟合参数经适当的变换到图像坐标系中以后,即是相对于图像坐标的直线方程,也就是在图像坐标系中的左右车道线的方程。 Use the Hough transform to convert the point (x, y) on the line into a point on the two-dimensional space parameter (ρ, θ), and then discretize the ρ-θ space into many small cells, and the most points that fall into the small cells The cell where it is located corresponds to the common point of the parameter space (ρ, θ), and (ρ, θ) is the straight line fitting parameter in the image space. After the obtained straight line fitting parameter is properly transformed into the image coordinate system, that is is the equation of a straight line relative to the image coordinates, that is, the equation of the left and right lanes in the image coordinate system. the
(5)车道偏离判断 (5) Lane departure judgment
参照图3,本实施例主要是依据车辆在当前道路中的横向位置和方向参数来判断车辆是否偏离车道行驶,如图3所示,建立实际的道路坐标系,y轴是与左右车道标识线平行且与左右车道标识线距离相等的直线,车辆头部所对应的方向为正方向,x轴为过车辆前轮轮轴中点P并且与y轴垂直的直线。原点O为x轴与y轴的交点。 Referring to Fig. 3, the present embodiment mainly judges whether the vehicle deviates from the lane according to the lateral position and direction parameters of the vehicle in the current road. A straight line that is parallel and equal to the left and right lane marking lines, the direction corresponding to the vehicle head is the positive direction, and the x-axis is a straight line that passes through the midpoint P of the front wheel axle of the vehicle and is perpendicular to the y-axis. The origin O is the intersection of the x-axis and the y-axis. the
车辆在车道中的横向位置参数x0是指车辆前轮轮轴中心点P点的x坐标值, P点在y轴右侧时,x0为正;P点在y轴左侧时,x0为负。 The lateral position parameter x0 of the vehicle in the lane refers to the x coordinate value of point P, the center point of the front wheel axle of the vehicle. When point P is on the right side of the y-axis, x0 is positive; when point P is on the left side of the y-axis, x0 is negative.
车辆在车道中的方向参数是指y轴与车辆纵向中轴线的方向夹角为θ,当车头右偏时θ为正值,车头左偏时θ为负值。 The direction parameter of the vehicle in the lane refers to the angle θ between the y-axis and the longitudinal axis of the vehicle. When the front of the vehicle deviates to the right, θ is a positive value, and when the front of the vehicle is deflected to the left, θ is a negative value. the
参数x0和θ可由提出的车道标识线参数结合车载CCD传感器的一些参数信息经过一些变换得到。根据车辆在当前车道中的位置参数和方向参数后,可以得到如下的偏离车道预警模型: The parameters x0 and θ can be obtained through some transformations from the proposed lane marking parameters combined with some parameter information of the vehicle CCD sensor. According to the position parameters and direction parameters of the vehicle in the current lane, the following lane departure warning model can be obtained:
当满足公式(1)时,触发发光二极管和蜂鸣器报警,提醒客运车辆偏离车道行驶,偏离方向向右偏,并把此时的违规驾驶图像存储到硬盘中。 When the formula (1) is satisfied, the light-emitting diode and the buzzer alarm are triggered to remind the passenger vehicle to deviate from the lane, and the deviation direction is to the right, and the illegal driving image at this time is stored in the hard disk. the
当满足公式(2)时,触发发光二极管和蜂鸣器报警,提醒客运车辆偏离车道行驶,偏离方向向左偏,并把此时的违规驾驶图像存储到硬盘中。 When the formula (2) is satisfied, the light-emitting diode and the buzzer alarm are triggered to remind the passenger vehicle to deviate from the lane, and the deviation direction is to the left, and the illegal driving image at this time is stored in the hard disk. the
式中,θ0为设定好的阀值,本装置中为10,b为车辆宽度,xl为设定的报警临界线距y轴的距离,xl的值按照下式选定,其中w为车道宽度。 In the formula, θ0 is the set threshold, which is 10 in this device, b is the width of the vehicle, xl is the distance from the set alarm critical line to the y-axis, and the value of xl is selected according to the following formula, where w is the lane width.
| Application Number | Priority Date | Filing Date | Title |
|---|---|---|---|
| CN201210057758.XACN102556066B (en) | 2012-03-07 | 2012-03-07 | Lane departure warning device for passenger vehicle and judgment method thereof |
| Application Number | Priority Date | Filing Date | Title |
|---|---|---|---|
| CN201210057758.XACN102556066B (en) | 2012-03-07 | 2012-03-07 | Lane departure warning device for passenger vehicle and judgment method thereof |
| Publication Number | Publication Date |
|---|---|
| CN102556066A CN102556066A (en) | 2012-07-11 |
| CN102556066Btrue CN102556066B (en) | 2014-06-18 |
| Application Number | Title | Priority Date | Filing Date |
|---|---|---|---|
| CN201210057758.XAExpired - Fee RelatedCN102556066B (en) | 2012-03-07 | 2012-03-07 | Lane departure warning device for passenger vehicle and judgment method thereof |
| Country | Link |
|---|---|
| CN (1) | CN102556066B (en) |
| Publication number | Priority date | Publication date | Assignee | Title |
|---|---|---|---|---|
| CN103593884B (en)* | 2013-11-22 | 2016-01-20 | 深圳市捷美安防技术有限公司 | A kind of drive recorder and control method thereof |
| CN104029680B (en)* | 2014-01-02 | 2016-12-07 | 上海大学 | Lane Departure Warning System based on monocular cam and method |
| JP5947849B2 (en)* | 2014-09-17 | 2016-07-06 | 富士重工業株式会社 | Vehicle lane departure prevention control device |
| CN104299240B (en)* | 2014-10-24 | 2018-04-03 | 惠州市德赛西威汽车电子股份有限公司 | Camera calibration method and system for lane shift early warning |
| CN104442815A (en)* | 2014-11-11 | 2015-03-25 | 广东好帮手电子科技股份有限公司 | Deviation early warning system and method for automobile |
| CN105069859B (en)* | 2015-07-24 | 2018-01-30 | 深圳市佳信捷技术股份有限公司 | Vehicle running state monitoring method and device |
| CN105043256A (en)* | 2015-08-07 | 2015-11-11 | 重庆铸豪机械有限责任公司 | Device for automatically detecting accuracy of electric machinery end cap |
| CN107031660A (en)* | 2016-02-03 | 2017-08-11 | 武汉极目智能技术有限公司 | A kind of Vehicular turn detecting system and detection method based on ADAS technologies |
| CN111220197B (en)* | 2016-09-12 | 2022-02-22 | 上海沃尔沃汽车研发有限公司 | Test system and test method for lane line deviation alarm system |
| CN106515582A (en)* | 2016-10-26 | 2017-03-22 | 深圳市元征科技股份有限公司 | Safe driving early warning method and device |
| CN107599957B (en)* | 2017-08-30 | 2020-04-14 | 北京新能源汽车股份有限公司 | Steering lamp state prompting method and device and automobile |
| CN109017570B (en)* | 2018-06-12 | 2021-03-02 | 智车优行科技(北京)有限公司 | Vehicle surrounding scene presenting method and device and vehicle |
| CN110533930B (en)* | 2019-10-09 | 2021-02-02 | 业成科技(成都)有限公司 | Traffic data processing method and device, computer equipment and storage medium |
| CN111862533B (en)* | 2020-07-15 | 2021-11-12 | 广东卡仕达电子科技有限公司 | Vehicle joint navigation equipment and method based on big data |
| Publication number | Priority date | Publication date | Assignee | Title |
|---|---|---|---|---|
| CN201427553Y (en)* | 2009-06-26 | 2010-03-24 | 长安大学 | A vehicle lane departure warning system |
| CN201824950U (en)* | 2010-10-22 | 2011-05-11 | 深圳市东运科技有限公司 | Automobile safe running anti-collision system |
| CN102288121A (en)* | 2011-05-12 | 2011-12-21 | 电子科技大学 | Method for measuring and pre-warning lane departure distance based on monocular vision |
| CN202152051U (en)* | 2011-07-08 | 2012-02-29 | 德州学院 | Lane departure warning device |
| Publication number | Priority date | Publication date | Assignee | Title |
|---|---|---|---|---|
| US7388475B2 (en)* | 2006-01-19 | 2008-06-17 | Gm Global Technology Operations, Inc. | Lane departure warning and avoidance system with warning modification criteria |
| Publication number | Priority date | Publication date | Assignee | Title |
|---|---|---|---|---|
| CN201427553Y (en)* | 2009-06-26 | 2010-03-24 | 长安大学 | A vehicle lane departure warning system |
| CN201824950U (en)* | 2010-10-22 | 2011-05-11 | 深圳市东运科技有限公司 | Automobile safe running anti-collision system |
| CN102288121A (en)* | 2011-05-12 | 2011-12-21 | 电子科技大学 | Method for measuring and pre-warning lane departure distance based on monocular vision |
| CN202152051U (en)* | 2011-07-08 | 2012-02-29 | 德州学院 | Lane departure warning device |
| Publication number | Publication date |
|---|---|
| CN102556066A (en) | 2012-07-11 |
| Publication | Publication Date | Title |
|---|---|---|
| CN102556066B (en) | Lane departure warning device for passenger vehicle and judgment method thereof | |
| CN105047019B (en) | A kind of passenger stock prevent rear car overtake other vehicles after lane change determination methods and device suddenly | |
| CN104276080B (en) | Bus man hand detects forewarn system and method for early warning from bearing circle | |
| CN102303609B (en) | Lane departure early warning system and method | |
| CN103593649B (en) | A kind of method for detecting lane lines for lane departure warning | |
| CN100440269C (en) | Intelligent detection and early warning method and early warning system for expressway vehicles | |
| CN107264521B (en) | A vehicle turning safety warning system | |
| CN201427553Y (en) | A vehicle lane departure warning system | |
| CN201825037U (en) | Lane departure alarm device for vehicles on highway | |
| CN104129389A (en) | Method for effectively judging and recognizing vehicle travelling conditions and device thereof | |
| CN108528336A (en) | A kind of vehicle crimping gives warning in advance system | |
| CN105206109A (en) | Infrared CCD based foggy day identifying early-warning system and method for vehicle | |
| CN107479061A (en) | A kind of safe early warning method and system based on image recognition and radar range finding | |
| CN103465857A (en) | Mobile-phone-based active safety early-warning method for automobile | |
| CN114715168A (en) | Vehicle yaw early warning method and system under road marking missing environment | |
| CN102303563B (en) | Front vehicle collision early warning system and method | |
| CN203332106U (en) | Automobile warning anti-collision system based on monocular vision | |
| CN107229906A (en) | A kind of automobile overtaking's method for early warning based on units of variance model algorithm | |
| CN116030662B (en) | Intelligent safety detection system and method based on big data | |
| CN104077756A (en) | Direction filtering method based on lane line confidence | |
| CN102514572A (en) | Lane departure early warning method | |
| CN105336217A (en) | Driving safety prewarning system based on machine vision and Android platform | |
| CN107985200A (en) | A kind of load truck right-hand bend safety pre-warning system and method | |
| CN107097794A (en) | System and method for detecting lane line of road | |
| CN116279561A (en) | Early warning method, device and equipment for fatigue driving of vehicle and readable storage medium |
| Date | Code | Title | Description |
|---|---|---|---|
| C06 | Publication | ||
| PB01 | Publication | ||
| C10 | Entry into substantive examination | ||
| SE01 | Entry into force of request for substantive examination | ||
| C14 | Grant of patent or utility model | ||
| GR01 | Patent grant | ||
| CF01 | Termination of patent right due to non-payment of annual fee | ||
| CF01 | Termination of patent right due to non-payment of annual fee | Granted publication date:20140618 Termination date:20190307 |