Movatterモバイル変換


[0]ホーム

URL:


CN102553687B - Ballstone group dynamic distribution detection system and method - Google Patents

Ballstone group dynamic distribution detection system and method
Download PDF

Info

Publication number
CN102553687B
CN102553687BCN 201210004602CN201210004602ACN102553687BCN 102553687 BCN102553687 BCN 102553687BCN 201210004602CN201210004602CN 201210004602CN 201210004602 ACN201210004602 ACN 201210004602ACN 102553687 BCN102553687 BCN 102553687B
Authority
CN
China
Prior art keywords
iron core
ball
ball mill
main body
carbon brush
Prior art date
Legal status (The legal status is an assumption and is not a legal conclusion. Google has not performed a legal analysis and makes no representation as to the accuracy of the status listed.)
Expired - Fee Related
Application number
CN 201210004602
Other languages
Chinese (zh)
Other versions
CN102553687A (en
Inventor
谭博学
魏佩瑜
申晋
马立修
刘伟
孙贤明
Current Assignee (The listed assignees may be inaccurate. Google has not performed a legal analysis and makes no representation or warranty as to the accuracy of the list.)
Shandong University of Technology
Original Assignee
Shandong University of Technology
Priority date (The priority date is an assumption and is not a legal conclusion. Google has not performed a legal analysis and makes no representation as to the accuracy of the date listed.)
Filing date
Publication date
Application filed by Shandong University of TechnologyfiledCriticalShandong University of Technology
Priority to CN 201210004602priorityCriticalpatent/CN102553687B/en
Publication of CN102553687ApublicationCriticalpatent/CN102553687A/en
Application grantedgrantedCritical
Publication of CN102553687BpublicationCriticalpatent/CN102553687B/en
Expired - Fee Relatedlegal-statusCriticalCurrent
Anticipated expirationlegal-statusCritical

Links

Images

Landscapes

Abstract

Translated fromChinese

本发明涉及磨细工程机械领域,具体涉及一种球磨机。球石群动态分布检测系统,包括一球磨机主体,球磨机主体上设有一球磨机盖,球磨机主体内设有球石群,球磨机盖上设有球石群检测装置,球石群检测装置用以检测球磨机主体内球石群分布情况。由于采用上述技术方案,本发明克服了目前研究机构所描述的球石群分布不准确的缺点,实现了球石群分布的实际检测,且检测精度高。

Figure 201210004602

The invention relates to the field of grinding engineering machinery, in particular to a ball mill. Ball stone group dynamic distribution detection system, including a ball mill main body, a ball mill cover is arranged on the ball mill main body, ball stone group is arranged inside the ball mill main body, and a ball stone group detection device is arranged on the ball mill cover, and the ball stone group detection device is used to detect the ball mill The distribution of ball stone groups in the main body. Due to the adoption of the above technical solution, the present invention overcomes the shortcoming of inaccurate distribution of ball stone groups described by current research institutes, and realizes the actual detection of ball stone group distribution with high detection accuracy.

Figure 201210004602

Description

Ballstone group motion attitude distributed detection system and method
Technical field
The present invention relates to levigate engineering machinery field, be specifically related to a kind of ball mill ballstone group's detection system and method.
Background technology
Ball mill is after raw material is broken, and pulverizes the key equipment of grinding again, is most important Super-fine grinder production equipment in the industrial production enterprise.In ball mill inside, it is the mixture of ballstone, raw material, water, in the continuous progress of work of ball mill, increase along with material fineness, the mixability of raw material and water is also more and more abundant, increasing solid material is ground into tiny particle, and tiny particle more and more is suspended in the water, constitutes mud.
In the ball mill course of work, the ballstone group distributes and has directly influenced the operating efficiency of ball mill.Because the inner complicated working condition of ball mill causes the inner ballstone group of ball mill to distribute and is difficult to judge, is difficult to describe.Each research institution carries out reasoning research in modes such as analogy method, theoretical derivation method at present, and this distributes with the ballstone group, operation conditions is mutually far short of what is expected.
Summary of the invention
The objective of the invention is to, a kind of ballstone group motion attitude distributed detection system is provided, solve above technical problem.
Another object of the present invention is to, a kind of ballstone group motion attitude distribution detection method is provided, solve above technical problem.
Technical problem solved by the invention can realize by the following technical solutions:
Ballstone group motion attitude distributed detection system, comprise a ball mill main body, described ball mill main body connects a ball milling motor by a belt, described ball mill main body is provided with a ball milling cover, be provided with the ballstone group in the described ball mill main body, it is characterized in that, described ball mill covers and is provided with a ballstone group checkout gear, described ballstone group checkout gear comprises a motor, the output shaft of described motor connects an end of a connecting rod, the other end of described connecting rod connects a moving iron core, and first conducting ring, second conducting ring, the 3rd conducting ring, the 4th conducting ring are fixedly arranged on the described connecting rod;
On the described moving iron core coil and induction coil are arranged fixedly, two exits of described coil connect described first conducting ring and described second conducting ring respectively, and two exits of described induction coil connect described the 3rd conducting ring and described the 4th conducting ring respectively;
Described ball mill covers fixedly the first conduction carbon brush respectively, the second conduction carbon brush, the 3rd conducts electricity carbon brush, the 4th conduction carbon brush, the described first conduction carbon brush is arranged on a side of described first conducting ring, the described second conduction carbon brush is arranged on a side of described second conducting ring, described the 3rd conduction carbon brush is arranged on a side of described the 3rd conducting ring, and described the 4th conduction carbon brush is arranged on a side of described the 4th conducting ring; The described first conduction carbon brush flexibly connects described first conducting ring, and the described second conduction carbon brush flexibly connects described second conducting ring, and described the 3rd conduction carbon brush flexibly connects described the 3rd conducting ring, and described the 4th conduction carbon brush flexibly connects described the 4th conducting ring;
Described ballstone group checkout gear also comprises a power module, and the power output end of described power module connects the input of described motor, the described first conduction carbon brush, the described second conduction carbon brush respectively;
Described ballstone group checkout gear also comprises a voltage detecting sensor, described the 3rd conduction carbon brush, described the 4th conduction carbon brush connect the input of described voltage detecting sensor respectively, and the signal output part of described voltage detecting sensor connects a signal processing module;
Described ballstone group checkout gear also comprises a detection head, described ball mill cover be provided with one with the ball mill main body in the perforate of UNICOM, one end of described detection head stretches out in perforate, with UNICOM in the described ball mill main body, contacts with ballstone group in the described ball mill main body; The other end of described detection head fixedly has servo-actuated iron core, and described servo-actuated iron core is arranged on the below of described moving iron core, and has certain air gap, and described servo-actuated iron core can rotate along with the rotation of described moving iron core.
The present invention can detect ballstone group motion attitude and distribute, the detection principle is as follows: motor is under the driving of power module, press certain frequency f uniform rotation, drivening rod, first conducting ring, second conducting ring, the 3rd conducting ring, the 4th conducting ring, coil, induction coil, the moving iron core that are fixed on the connecting rod rotate together.After coil feeds power supply, produce magnetic flux in moving core interior, constitute flux circuit by moving iron core, air gap, servo-actuated iron core.
There is not the ballstone group time in the ball mill body interior, the detection head extension is not obstructed, the moving iron core of driven by motor rotates, the magnetic field of moving core interior drives servo-actuated iron core and freely rotates, the silicon steel sheet installation direction of moving iron core and and the silicon steel sheet installation direction of servo-actuated iron core be consistent, flux circuit is stable, magnetic resistance is stable, magnetic flux is constant, does not have induced potential to produce on the induction coil.
When the ball mill body interior has the ballstone group time, the detection head extension is obstructed, and detection head and servo-actuated iron core can not freely rotate; The moving iron core of driven by motor rotates, and the magnetic field of moving core interior can not drive servo-actuated iron core and freely rotate.At this moment, the silicon steel sheet installation direction of moving iron core departs from the silicon steel sheet installation direction of servo-actuated iron core, and it is big that the flux circuit magnetic resistance becomes, when the silicon steel sheet installation direction of the silicon steel sheet installation direction of moving iron core and servo-actuated iron core is vertical, and flux circuit magnetic resistance maximum; When servo-actuated iron core is hindered by the ballstone group in company with detection head, motor is still pressed certain frequency f uniform rotation under power module drives, moving iron core is by the frequency f uniform rotation, flux circuit magnetic resistance size variation is also by the regular change of frequency f, under the stable situation of power module voltage, the magnetic flux size of moving core interior also can regularly change, on induction coil, will induce the induced electromotive force that changes by frequency f, the voltage detecting sensor detects this induced electromotive force that changes by frequency f, and output to signal processing module, according to induced electromotive force life period and motor rotation time, can judge the ballstone group existence of ball mill body interior, distribution.
Described motor is arranged on described ball mill and covers, and described connecting rod is arranged on described motor output shaft below, and described moving iron core is arranged on the bottom of described connecting rod, and described servo-actuated iron core is arranged on described moving iron core below.
Be provided with one between described moving iron core and the described servo-actuated iron core and isolate lid, the employing of described isolation lid is nonmetal, non-magnet material is made.
Described detection head is the T font structure, and the middle part of described detection head is cylindrical, and columniform detection head is embedded in described ball milling cover inboard, and with described ball mill body interior UNICOM.
Described signal processing module connects outside hand-hold wireless receiving equipment by wireless mode, and described hand-hold wireless receiving equipment connects a display system.The user can check display system by hand-held hand-hold wireless receiving equipment, understands ballstone group distribution situation, the duty of ball mill main body, the information such as rotating speed of ball milling motor in the ball mill main body.
Ballstone group motion attitude distribution detection method is characterized in that, comprises the steps:
1) equipment is installed: before ball mill main body operate as normal, the ball mill that ballstone group checkout gear is arranged on the ball mill main body covers, ball mill cover be provided with the ball mill main body in the perforate of UNICOM, the first end of detection of ballstone group checkout gear stretches out in perforate, contact with ballstone group in the described ball mill main body, start the power module of ballstone group checkout gear;
2) signals collecting: during ball mill main body operate as normal, the induced signal that produces when signal processing module is hindered by the ballstone group by the real-time acquisition testing head of ballstone group checkout gear;
Signal processing module is gathered the tach signal of ball mill main body;
3) determine ballstone group distribution situation: signal processing module is handled tach signal and induced signal, rotates in the week by the ball mill main body, and the situation of induced signal is judged ballstone group distribution situation.
Described ballstone group checkout gear comprises a motor, and the output shaft of described motor connects an end of a connecting rod, and the other end of described connecting rod connects a moving iron core, and first conducting ring, second conducting ring, the 3rd conducting ring, the 4th conducting ring are fixedly arranged on the described connecting rod;
Fixedly there is coil on one side of described moving iron core, the another side of described moving iron core fixedly has induction coil, two exits of described coil connect described first conducting ring and described second conducting ring respectively, and two exits of described induction coil connect described the 3rd conducting ring and described the 4th conducting ring respectively;
Described ball mill covers fixedly the first conduction carbon brush respectively, the second conduction carbon brush, the 3rd conducts electricity carbon brush, the 4th conduction carbon brush, the described first conduction carbon brush is arranged on a side of described first conducting ring, the described second conduction carbon brush is arranged on a side of described second conducting ring, described the 3rd conduction carbon brush is arranged on a side of described the 3rd conducting ring, and described the 4th conduction carbon brush is arranged on a side of described the 4th conducting ring;
The power output end of described power module connects the input of described motor, the described first conduction carbon brush, the described second conduction carbon brush respectively;
Described ballstone group checkout gear also comprises a voltage detecting sensor, described the 3rd conduction carbon brush, described the 4th conduction carbon brush connect the input of described voltage detecting sensor respectively, and the signal output part of described voltage detecting sensor connects described signal processing module;
The other end of described detection head fixedly has servo-actuated iron core, and described servo-actuated iron core is arranged on the below of described moving iron core, and has certain air gap, and described servo-actuated iron core rotates along with the rotation of described moving iron core.
Be provided with one between described moving iron core and the described servo-actuated iron core and isolate lid, the employing of described isolation lid is nonmetal, non-magnet material is made.
Beneficial effect: owing to adopt technique scheme, the present invention has overcome the true shortcoming of the described ballstone group of present research institution maldistribution, has realized the actual detected that the ballstone group distributes, and the accuracy of detection height.
Description of drawings
Fig. 1 is the overall structure schematic diagram of ballstone group checkout gear of the present invention;
Fig. 2 is the static schematic diagram of ball mill main body of the present invention;
Fig. 3 detects a small amount of ballstone group distribution figure for ball mill main body of the present invention under rotary state;
Fig. 4 is ball mill main body of the present invention ballstone group checkout gear state diagram in ballstone group distribution under rotary state;
Fig. 5 is ball mill main body of the present invention ballstone group checkout gear state diagram outside ballstone group distribution under rotary state;
Fig. 6 does not have ballstone group's state diagram in the ball mill body interior for ballstone group checkout gear of the present invention;
Ballstone group distribution figure when Fig. 7 is in apocarpy for ball mill body interior ballstone group of the present invention;
Fig. 8 is that ball mill body interior ballstone group of the present invention is in the ballstone group distribution situation figure when filling state;
The oscillogram of Fig. 9 each parameter during for ball mill main body operate as normal of the present invention.
The specific embodiment
For technological means, creation characteristic that the present invention is realized, reach purpose and effect is easy to understand, further set forth the present invention below in conjunction with concrete diagram.
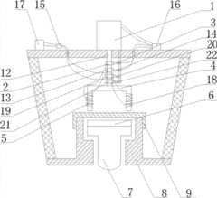
With reference to Fig. 1, Fig. 2, ballstone group motion attitude distributed detection system comprises a ball millmain body 10, and ball millmain body 10 connects a ball milling motor by a belt.Ball millmain body 10 is provided with aball milling cover 8, be provided withballstone group 11 in the ball millmain body 10,ball milling cover 8 is provided with a ballstone group checkout gear, ballstone group checkout gear comprises amotor 1, the output shaft ofmotor 1 connects an end of a connectingrod 12, the other end of connectingrod 12 connects a movingiron core 4, and first conducting ring 2, second conducting ring 13, the 3rd conducting ring 19, the 4th conducting ring 21 are fixedly arranged on the connectingrod 12.
Fixedly there is coil 5 on one side of movingiron core 4, the another side of movingiron core 4 fixedly has induction coil 18, two exits of coil 5 connect first conducting ring 2 and second conducting ring 13 respectively, and two exits of induction coil 18 connect the 3rd conducting ring 19 and the 4th conducting ring 21 respectively.
Ball milling cover 8 is installed with the firstconduction carbon brush 3, the secondconduction carbon brush 14, the 3rd conduction carbon brush 20, the 4th conduction carbon brush 22 respectively, the firstconduction carbon brush 3 is arranged on a side of first conducting ring 2, the secondconduction carbon brush 14 is arranged on a side of second conducting ring 13, the 3rd conduction carbon brush 20 is arranged on a side of the 3rd conducting ring 19, and the 4th conduction carbon brush 22 is arranged on a side of the 4th conducting ring 21.The firstconduction carbon brush 3 flexibly connects first conducting ring, 2, the secondconduction carbon brush 14 and flexibly connects second conducting ring, 13, the three conduction carbon brush 20 and flexibly connect the 3rd conducting ring 19, the four conduction carbon brush 22 and flexibly connect the 4th conducting ring 21.
Ballstone group checkout gear also comprises apower module 16, and the power output end ofpower module 16 connects input, the firstconduction carbon brush 3, the secondconduction carbon brush 14 ofmotor 1 respectively.
Ballstone group checkout gear comprises that also avoltage detecting sensor 15, the three conduction carbon brush 20, the 4th conduction carbon brush 22 connect the input ofvoltage detecting sensor 15 respectively, and the signal output part ofvoltage detecting sensor 15 connects asignal processing module 17.
Ballstone group checkout gear also comprises adetection head 7,ball milling cover 8 be provided with one with ball millmain body 10 in the perforate of UNICOMs, an end ofdetection head 7 stretches out in perforate, with UNICOMs in the ball millmain body 10, contacts withballstone group 11 in the ball mill main body 10.The other end ofdetection head 7 fixedly has servo-actuated iron core 6, and servo-actuated iron core 6 is arranged on the below of movingiron core 4, and has certain air gap, and servo-actuated iron core 6 rotates along with the rotation of movingiron core 4.
Motor 1 vertically is arranged on theball milling cover 8, and connectingrod 12 vertically is arranged onmotor 1 output shaft below, and movingiron core 4 is arranged on the bottom of connectingrod 12, and servo-actuated iron core 6 is arranged on movingiron core 4 belows.Be provided with between movingiron core 4 and the servo-actuated iron core 6 to isolate andcover 9, isolate and cover that 9 employings are nonmetal, non-magnet material is made.Detection head 7 is the T font structure, and the middle part ofdetection head 7 is cylindrical, andcolumniform detection head 7 is embedded inball milling cover 8 inboards, and with ball millmain body 10 inner UNICOMs.
The present invention can detectballstone group 11 DYNAMIC DISTRIBUTION, the detection principle is as follows:motor 1 is under the driving ofpower module 16, press certain frequency f uniform rotation, driveningrod 12, first conducting ring 2, second conducting ring 13, the 3rd conducting ring 19, the 4th conducting ring 21, coil 5, induction coil 18, the movingiron core 4 that are fixed on the connectingrod 12 rotate together.After coil 5 feeds power supply, at the movingiron core 4 inner magnetic fluxs that produce, constitute flux circuit by movingiron core 4, air gap, servo-actuated iron core 6.
When ball millmain body 10 inside do not haveballstone group 11,detection head 7 extensions are not obstructed,motor 1 drives movingiron core 4 and rotates, the magnetic field of movingiron core 4 inside drives servo-actuated iron core 6 and freely rotates, the silicon steel sheet installation direction of movingiron core 4 and and the silicon steel sheet installation direction of servo-actuated iron core 6 be consistent, flux circuit is stable, magnetic resistance is stable, magnetic flux is constant, does not have induced potential to produce on the induction coil 18.
When there wasballstone group 11 ball millmain body 10 inside,detection head 7 extensions were obstructed, anddetection head 7 can not freely rotate with servo-actuated iron core 6;Motor 1 drives movingiron core 4 and rotates, and the magnetic field of movingiron core 4 inside can not drive servo-actuated iron core 6 and freely rotate.At this moment, the silicon steel sheet installation direction of movingiron core 4 departs from the silicon steel sheet installation direction of servo-actuated iron core 6, and it is big that the flux circuit magnetic resistance becomes, when the silicon steel sheet installation direction of the silicon steel sheet installation direction of movingiron core 4 and servo-actuated iron core 6 is vertical, and flux circuit magnetic resistance maximum; When servo-actuated iron core 6 is hindered byballstone group 11 in company withdetection head 7,motor 1 is still pressed certain frequency f uniform rotation underpower module 16 drives, movingiron core 4 is by the frequency f uniform rotation, flux circuit magnetic resistance size variation is also by the regular change of frequency f, under the stable situation ofpower module 16 voltages, the magnetic flux size of movingiron core 4 inside also can regularly change, on induction coil 18, will induce the induced electromotive force that changes by frequency f,voltage detecting sensor 15 detects the induced electromotive force that this changes by frequency f, and output tosignal processing module 17, according to induced electromotive force life period andmotor 1 rotation time, can judgeballstone group 11 existences of ball millmain body 10 inside, distribution.
Signal processing module 17 connects outside hand-hold wireless receiving equipment by wireless mode, and the hand-hold wireless receiving equipment connects a display system.The user can check display system by hand-held hand-hold wireless receiving equipment, understands ballstone group distribution situation, the duty of ball mill main body, the information such as rotating speed of ball milling motor in the ball millmain body 10.
With reference to Fig. 2, when ball millmain body 10 was in static state,detection head 7 was not subjected toballstone group 11 obstruction, and induced electromotive force is 0 on the induction coil 18.
With reference to Fig. 6, during ball millmain body 10 operate as normal, rotate in all processes in ball millmain body 10,detection head 7 is not subjected toballstone group 11 obstruction, and induced electromotive force is 0 on the induction coil 18, does not have the ballstone group in the ball millmain body 10.
With reference to Fig. 3, Fig. 4, Fig. 5, during ball millmain body 10 operate as normal, rotate in all processes in ball millmain body 10, the induced electromotive force on the induction coil 18 is 0 for a moment, is not 0 for a moment, illustrates that there isballstone group 11 in ball millmain body 10 inside; Rotate the time that induced electromotive force exists on time in weeks and the induction coil 18 according to ball millmain body 10,signal processing module 17 can judge thatballstone group 11 is in the distribution situation of ball millmain body 10 inside.
With reference to Fig. 7, during ball millmain body 10 operate as normal, rotate in all processes in ball millmain body 10, the induced electromotive force on the induction coil 18 exists all the time, illustrates that the rotating speed of ball millmain body 10 is too high, andball milling group 11 is in apocarpy; With reference to Fig. 8, during ball millmain body 10 operate as normal, rotate in all processes in ball millmain body 10, the induced electromotive force on the induction coil 18 exists all the time, and ball millmain body 10 inside have been full of ballstone group 11.This moment,signal processing module 17 can be regulated the rotating speed of ball milling motor by the control arrangements for speed regulation, in order to reduce the rotating speed of ball millmain body 10.
Ballstone group motion attitude distribution detection method comprises the steps:
1) equipment is installed: before ball millmain body 10 operate as normal, above-mentioned ballstone group checkout gear is arranged on theball milling cover 8 of ball millmain body 10,ball milling cover 8 is provided with the perforate with ball millmain body 10 interior UNICOMs,detection head 7 one ends of ballstone group checkout gear stretch out in perforate, contact withballstone group 11 in the ball millmain body 10, start thepower module 16 of ballstone group checkout gear.
2) signals collecting: during ball millmain body 10 operate as normal, the induced signal that signalprocessing module 17 produces when being hindered byballstone group 11 by the real-time acquisition testing of ballstonegroup checkout gear 7,signal processing module 17 is gathered the tach signal of ball millmain bodys 10.
3) determine ballstone group distribution situation: 17 pairs of tach signals of signal processing module and induced signal are handled, and rotate in the week by ball millmain body 10, and the situation of induced signal is judged ballstone group distribution situation.
Signal processing module is judged ballstone group distribution situation according to following principle: after coil 5 feeds power supply, at the moving iron core 4 inner magnetic fluxs that produce, constitute flux circuit by moving iron core 4, air gap, isolation lid 9, servo-actuated iron core 6; When ball mill main body 10 inside did not have ballstone group 11, detection head 7 projections were not obstructed, and detection head 7 can freely rotate with servo-actuated iron core 6; Motor 1 drives moving iron core 4 and rotates, the magnetic field of moving iron core 4 inside drives servo-actuated iron core 6 and freely rotates, the silicon steel sheet installation direction of moving iron core 4 and the silicon steel sheet installation direction of servo-actuated iron core 6 are consistent, flux circuit is stable, magnetic resistance is stable, magnetic flux is constant, does not have induced potential to produce on the induction coil 18; When there was ballstone group 11 ball mill main body 10 inside, detection head 7 projections were obstructed, and detection head 7 can not freely rotate with servo-actuated iron core 6; Motor 1 drives moving iron core 4 and rotates, the magnetic field of moving iron core 4 inside can not drive servo-actuated iron core 6 and freely rotate, at this moment, the silicon steel sheet installation direction of moving iron core 4 departs from the silicon steel sheet installation direction of servo-actuated iron core 6, it is big that the flux circuit magnetic resistance becomes, when the silicon steel sheet installation direction of the silicon steel sheet installation direction of moving iron core 4 and servo-actuated iron core 6 is vertical, flux circuit magnetic resistance maximum; When servo-actuated iron core 6 is hindered by ballstone group 11 in company with detection head 7, motor 1 is still pressed certain frequency f uniform rotation under power supply 16 drives, moving iron core 4 is by the frequency f uniform rotation, flux circuit magnetic resistance size variation is also by the regular change of frequency f, under the stable situation of power supply 16 voltages, the magnetic flux size of moving iron core 4 inside also can regularly change, on induction coil 18, will induce the induced electromotive force that changes by frequency f, voltage detecting sensor 15 detects the induced electromotive force that this changes by frequency f, and output to signal processing module 17, according to induced electromotive force life period and motor 1 rotation time, can judge ballstone group 11 existences of ball mill main body 10 inside, distribution.
With reference to Fig. 6, system of the present invention rotates in the week in ball millmain body 10 when operate as normal, and induced electromotive force is 0 on the induction coil 18, illustrates thatdetection head 7 is not subjected to ballstone group's obstruction, and there is notballstone group 11 in ball millmain body 10 inside;
With reference to Fig. 3, Fig. 4, Fig. 5, rotate in the week in ball millmain body 10, induced electromotive force is 0 a little while on the induction coil 18, is not 0 a little while, illustrates that there isballstone group 11 in ball millmain body 10 inside; Rotate the time that induced electromotive force exists on time in weeks and the induction coil 18 according to ball millmain body 10, can judge thatballstone group 11 is in the distribution situation of ball millmain body 10 inside;
With reference to Fig. 7, rotate in the week in ball millmain body 10, induced electromotive force exists all the time on the induction coil 18, illustrates that ball millmain body 10 rotating speeds are too high, andballstone group 11 is in apocarpy;
With reference to Fig. 8, rotate in all processes in ball millmain body 10, the induced electromotive force on the induction coil 18 exists all the time, illustrates that ball millmain body 10 inside have been full ofballstone group 11.
With reference to Fig. 9, ball millmain body 10 when operate as normal, the oscillogram of each parameter:
ω1T is the oscillogram that ball millmain body 10 is rotated a week;
ω2T is the ball millmain body 10 rotation angle oscillograms that motor 1 rotates during one week;
ω3T is that ball millmain body 10 rotating speeds are higher, the induction coil induced electromotive force oscillogram whenballstone group 11 is in apocarpy, and the running status of ball millmain body 10 is as shown in Figure 7; Or the induction coil induced electromotive force oscillogram of ball millmain body 10 inside when being full ofballstone group 11, the running status of ball millmain body 10 is as shown in Figure 8;
ω4T is that ball millmain body 10 inside have only a small amount of ballstone group time, induction coil induced electromotive force oscillogram, and the running status of ball millmain body 10 is as shown in Figure 3;
ω5T is that ball millmain body 10 inside have an amount of ballstone group time, induction coil induced electromotive force oscillogram, the running status of ball millmain body 10 such as Fig. 4, shown in Figure 5;
ω6T is in ball millmain body 10 is rotated weeks, the induction coil induced electromotive force oscillogram of ball millmain body 10 inside during without any ballstone; The running status of ball millmain body 10 as shown in Figure 6.
Signal processing module 17 is determinedballstone group 11 the distribution situation in ball millmain body 10 according to above-mentioned waveform signal.
More than show and described basic principle of the present invention and principal character and advantage of the present invention.The technical staff of the industry should understand; the present invention is not restricted to the described embodiments; that describes in above-described embodiment and the specification just illustrates principle of the present invention; without departing from the spirit and scope of the present invention; the present invention also has various changes and modifications, and these changes and improvements all fall in the claimed scope of the invention.The claimed scope of the present invention is defined by appending claims and equivalent thereof.

Claims (9)

Translated fromChinese
1.球石群动态分布检测系统,包括一球磨机主体,所述球磨机主体通过一皮带连接一球磨电动机,所述球磨机主体上设有一球磨机盖,所述球磨机主体内设有球石群,其特征在于,所述球磨机盖上设有一球石群检测装置,所述球石群检测装置包括一电机,所述电机的输出轴连接一连杆的一端,所述连杆的另一端连接一动铁芯,所述连杆上固定有第一导电环、第二导电环、第三导电环、第四导电环;1. The ball-stone group dynamic distribution detection system includes a ball mill main body, the ball mill main body is connected to a ball-mill motor through a belt, a ball-mill cover is arranged on the ball-mill main body, ball-stone groups are arranged inside the ball-mill main body, and the ball mill main body is characterized in That is, the ball mill cover is provided with a ball stone group detection device, the ball stone group detection device includes a motor, the output shaft of the motor is connected to one end of a connecting rod, and the other end of the connecting rod is connected to a moving iron core , the connecting rod is fixed with a first conductive ring, a second conductive ring, a third conductive ring, and a fourth conductive ring;所述动铁芯上固定有线圈和感应线圈,所述线圈的两引出端分别连接所述第一导电环和所述第二导电环,所述感应线圈的两引出端分别连接所述第三导电环和所述第四导电环;A coil and an induction coil are fixed on the moving iron core, and the two leading ends of the coil are respectively connected to the first conductive ring and the second conductive ring, and the two leading ends of the induction coil are connected to the third conductive ring respectively. a conductive ring and the fourth conductive ring;所述球磨机盖上分别固定有第一导电碳刷、第二导电碳刷、第三导电碳刷、第四导电碳刷,所述第一导电碳刷设置在所述第一导电环的一侧,所述第二导电碳刷设置在所述第二导电环的一侧,所述第三导电碳刷设置在所述第三导电环的一侧,所述第四导电碳刷设置在所述第四导电环的一侧;所述第一导电碳刷活动连接所述第一导电环,所述第二导电碳刷活动连接所述第二导电环,所述第三导电碳刷活动连接所述第三导电环,所述第四导电碳刷活动连接所述第四导电环;The first conductive carbon brush, the second conductive carbon brush, the third conductive carbon brush, and the fourth conductive carbon brush are respectively fixed on the ball mill cover, and the first conductive carbon brush is arranged on one side of the first conductive ring , the second conductive carbon brush is arranged on one side of the second conductive ring, the third conductive carbon brush is arranged on one side of the third conductive ring, and the fourth conductive carbon brush is arranged on the One side of the fourth conductive ring; the first conductive carbon brush is movably connected to the first conductive ring, the second conductive carbon brush is movably connected to the second conductive ring, and the third conductive carbon brush is movably connected to the The third conductive ring, the fourth conductive carbon brush is movably connected to the fourth conductive ring;所述球石群检测装置还包括一电源模块,所述电源模块的电源输出端分别连接所述电机的输入端、所述第一导电碳刷、所述第二导电碳刷;The ball stone group detection device also includes a power module, the power output end of the power module is respectively connected to the input end of the motor, the first conductive carbon brush, and the second conductive carbon brush;所述球石群检测装置还包括一电压检测传感器,所述第三导电碳刷、所述第四导电碳刷分别连接所述电压检测传感器的输入端,所述电压检测传感器的信号输出端连接一信号处理模块;The ball stone group detection device also includes a voltage detection sensor, the third conductive carbon brush and the fourth conductive carbon brush are respectively connected to the input end of the voltage detection sensor, and the signal output end of the voltage detection sensor is connected to a signal processing module;所述球石群检测装置还包括一检测头,所述球磨机盖上设有一与球磨机主体内联通的开孔,所述检测头的一端伸出于开孔,与所述球磨机主体内联通,与所述球磨机主体内的球石群接触;所述检测头的另一端固定有随动铁芯,所述随动铁芯设置在所述动铁芯的下方,并存在一定的气隙,所述随动铁芯能随着所述动铁芯的转动而转动。The ball stone group detection device also includes a detection head, the ball mill cover is provided with an opening communicating with the ball mill main body, one end of the detection head protrudes from the opening, communicates with the ball mill main body, and communicates with the ball mill main body. The ball stone group in the main body of the ball mill is in contact; the other end of the detection head is fixed with a follower iron core, and the follower iron core is arranged below the move iron core, and there is a certain air gap. The moving iron core can rotate along with the rotation of the moving iron core.2.根据权利要求1所述的球石群动态分布检测系统,其特征在于:所述电机设置在所述球磨机盖上,所述连杆设置在所述电机输出轴下方,所述动铁芯设置在所述连杆的底部,所述随动铁芯设置在所述动铁芯下方。2. The ball stone group dynamic distribution detection system according to claim 1, characterized in that: the motor is arranged on the ball mill cover, the connecting rod is arranged under the output shaft of the motor, and the moving iron core It is arranged at the bottom of the connecting rod, and the moving iron core is arranged under the moving iron core.3.根据权利要求2所述的球石群动态分布检测系统,其特征在于:所述动铁芯和所述随动铁芯之间设有一隔离盖,所述隔离盖采用非金属、非导磁材料制成。3. The ball stone group dynamic distribution detection system according to claim 2, characterized in that: an isolation cover is provided between the moving iron core and the moving iron core, and the isolation cover is made of non-metallic, non-conductive Made of magnetic material.4.根据权利要求3所述的球石群动态分布检测系统,其特征在于:所述检测头呈T字型结构,所述检测头的中部呈圆柱形,圆柱形的检测头内嵌在所述球磨机盖内侧,并与所述球磨机主体内部联通。4. The ball stone group dynamic distribution detection system according to claim 3, characterized in that: the detection head has a T-shaped structure, the middle part of the detection head is cylindrical, and the cylindrical detection head is embedded in the The inner side of the ball mill cover and communicates with the inside of the ball mill main body.5.根据权利要求1、2、3或4所述的球石群动态分布检测系统,其特征在于:所述信号处理模块通过无线的方式连接外部手持无线接收设备,所述手持无线接收设备连接一显示系统。5. The ball stone group dynamic distribution detection system according to claim 1, 2, 3 or 4, characterized in that: the signal processing module is connected to an external handheld wireless receiving device in a wireless manner, and the handheld wireless receiving device is connected to A display system.6.球石群动态分布检测方法,其特征在于,包括如下步骤:6. The ball stone group dynamic distribution detection method is characterized in that, comprising the following steps:1)设备安装:在球磨机主体正常工作前,将球石群检测装置设置在球磨机主体的球磨机盖上,球磨机盖上设有与球磨机主体内联通的开孔,球石群检测装置的检测头一端伸出于开孔,与所述球磨机主体内球石群接触,启动球石群检测装置的电源模块;1) Equipment installation: Before the main body of the ball mill works normally, install the ball stone group detection device on the ball mill cover of the ball mill main body. protruding from the opening, contacting the ball stone group in the main body of the ball mill, and starting the power module of the ball stone group detection device;2)信号采集:球磨机主体正常工作时,信号处理模块通过球石群检测装置实时采集检测头被球石群阻碍时产生的感应信号,信号处理模块采集球磨机主体的转速信号;2) Signal acquisition: when the main body of the ball mill is working normally, the signal processing module collects the induction signal generated when the detection head is blocked by the ball stone group in real time through the ball stone group detection device, and the signal processing module collects the speed signal of the ball mill main body;3)确定球石群分布情况:信号处理模块对转速信号和感应信号进行处理,通过球磨机主体转动一周内,感应信号的情况,判断球石群分布情况;3) Determine the distribution of the ball stone group: the signal processing module processes the speed signal and the induction signal, and judges the distribution of the ball stone group through the situation of the induction signal within one rotation of the main body of the ball mill;所述球石群检测装置包括一电机,所述电机的输出轴连接一连杆的一端,所述连杆的另一端连接一动铁芯,所述连杆上固定有第一导电环、第二导电环、第三导电环、第四导电环;The ball stone group detection device includes a motor, the output shaft of the motor is connected to one end of a connecting rod, the other end of the connecting rod is connected to a moving iron core, and the connecting rod is fixed with a first conductive ring, a second Conductive ring, third conductive ring, fourth conductive ring;所述动铁芯的一边固定有线圈,所述动铁芯的另一边固定有感应线圈,所述线圈的两引出端分别连接所述第一导电环和所述第二导电环,所述感应线圈的两引出端分别连接所述第三导电环和所述第四导电环;One side of the moving iron core is fixed with a coil, and the other side of the moving iron core is fixed with an induction coil, and the two leading ends of the coil are respectively connected to the first conductive ring and the second conductive ring, and the induction coil The two lead ends of the coil are respectively connected to the third conductive ring and the fourth conductive ring;所述球磨机盖上分别固定有第一导电碳刷、第二导电碳刷、第三导电碳刷、第四导电碳刷,所述第一导电碳刷设置在所述第一导电环的一侧,所述第二导电碳刷设置在所述第二导电环的一侧,所述第三导电碳刷设置在所述第三导电环的一侧,所述第四导电碳刷设置在所述第四导电环的一侧;The first conductive carbon brush, the second conductive carbon brush, the third conductive carbon brush, and the fourth conductive carbon brush are respectively fixed on the ball mill cover, and the first conductive carbon brush is arranged on one side of the first conductive ring , the second conductive carbon brush is arranged on one side of the second conductive ring, the third conductive carbon brush is arranged on one side of the third conductive ring, and the fourth conductive carbon brush is arranged on the one side of the fourth conductive ring;所述电源模块的电源输出端分别连接所述电机的输入端、所述第一导电碳刷、所述第二导电碳刷;The power output end of the power module is respectively connected to the input end of the motor, the first conductive carbon brush, and the second conductive carbon brush;所述球石群检测装置还包括一电压检测传感器,所述第三导电碳刷、所述第四导电碳刷分别连接所述电压检测传感器的输入端,所述电压检测传感器的信号输出端连接所述信号处理模块;The ball stone group detection device also includes a voltage detection sensor, the third conductive carbon brush and the fourth conductive carbon brush are respectively connected to the input end of the voltage detection sensor, and the signal output end of the voltage detection sensor is connected to The signal processing module;所述检测头的另一端固定有随动铁芯,所述随动铁芯设置在所述动铁芯的下方,并存在一定的气隙,所述随动铁芯随着所述动铁芯的转动而转动。The other end of the detection head is fixed with a follower iron core, the follower iron core is arranged below the mover iron core, and there is a certain air gap, and the follower iron core follows the mover iron core rotate and rotate.7.根据权利要求6所述的球石群动态分布检测方法,其特征在于:所述动铁芯和所述随动铁芯之间设有一隔离盖,所述隔离盖采用非金属、非导磁材料制成。7. The method for detecting the dynamic distribution of ball stone groups according to claim 6, characterized in that: an isolation cover is provided between the moving iron core and the moving iron core, and the isolation cover is made of non-metallic, non-conductive Made of magnetic material.8.根据权利要求7所述的球石群动态分布检测方法,其特征在于:线圈通入电源后,在动铁芯内部产生磁通,由动铁芯、气隙、隔离盖、随动铁芯构成磁通回路;在球磨机主体内部没有球石群时,检测头凸出部分没有被阻碍,检测头与随动铁芯自由转动;8. The ball stone group dynamic distribution detection method according to claim 7, characterized in that: after the coil is powered on, a magnetic flux is generated inside the moving iron core, and the moving iron core, the air gap, the isolation cover, and the moving iron The core constitutes a magnetic flux circuit; when there is no ball stone group inside the main body of the ball mill, the protruding part of the detection head is not blocked, and the detection head and the follow-up iron core rotate freely;电机带动动铁芯转动,动铁芯内部的磁场带动随动铁芯自由转动,动铁芯的硅钢片安装方向和随动铁芯的硅钢片安装方向保持一致,磁通回路稳定,磁阻稳定,磁通量恒定,感应线圈上没有感应电势产生;The motor drives the moving iron core to rotate, and the magnetic field inside the moving iron core drives the follow-up iron core to rotate freely. The installation direction of the silicon steel sheet of the moving iron core and the installation direction of the silicon steel sheet of the follow-up iron core are consistent, the magnetic flux circuit is stable, and the reluctance is stable. , the magnetic flux is constant, and there is no induced potential on the induction coil;当球磨机主体内部有球石群时,检测头凸出部分被阻碍,检测头与随动铁芯不能自由转动;电机带动动铁芯转动,动铁芯内部的磁场不能带动随动铁芯自由转动,此时,动铁芯的硅钢片安装方向偏离随动铁芯的硅钢片安装方向,磁通回路磁阻变大,当动铁芯的硅钢片安装方向和随动铁芯的硅钢片安装方向垂直时,磁通回路磁阻最大;When there is a group of ball stones inside the main body of the ball mill, the protruding part of the detection head is blocked, and the detection head and the follow-up iron core cannot rotate freely; the motor drives the drive iron core to rotate, and the magnetic field inside the move iron core cannot drive the follow-up iron core to rotate freely , at this time, the installation direction of the silicon steel sheet of the moving iron core deviates from the installation direction of the silicon steel sheet of the follower iron core, and the reluctance of the magnetic flux circuit becomes larger. When vertical, the magnetic resistance of the flux loop is the largest;在随动铁芯随同检测头被球石群阻碍时,电机在电源驱动下还是按一定频率f匀速转动,动铁芯按频率f匀速转动,磁通回路磁阻大小变化也按频率f有规律的变动,在电源电压稳定的情况下,动铁芯内部的磁通量大小也会有规律的变化,在感应线圈上就会感应出按频率f变化的感应电动势,电压检测传感器检测这个按频率f变化的感应电动势,并输出到信号处理模块,依据感应电动势存在时间及电机转动时间,判断球磨机主体内部的球石群存在状态、分布状态。When the moving iron core and the detection head are hindered by the ball stone group, the motor still rotates at a constant speed at a certain frequency f under the drive of the power supply, the moving iron core rotates at a constant speed at the frequency f, and the magnetic resistance of the magnetic flux circuit also changes regularly at the frequency f When the power supply voltage is stable, the magnetic flux inside the moving iron core will also change regularly, and the induced electromotive force that changes according to the frequency f will be induced on the induction coil, and the voltage detection sensor detects this change according to the frequency f The induced electromotive force is output to the signal processing module. According to the existence time of the induced electromotive force and the rotation time of the motor, the existence state and distribution state of the ball stone group inside the main body of the ball mill are judged.9.根据权利要求8所述的球石群动态分布检测方法,其特征在于:在球磨机主体正常工作时,球磨机主体转动一周内,感应线圈上感应电动势为0,说明检测头没有受到球石群的阻碍,球磨机主体内部不存在球石群;9. The method for detecting the dynamic distribution of ball stone groups according to claim 8, characterized in that: when the main body of the ball mill is working normally, within one rotation of the ball mill main body, the induced electromotive force on the induction coil is 0, indicating that the detection head is not affected by the ball stone group obstacles, there is no ball stone group inside the main body of the ball mill;在球磨机主体转动一周内,感应线圈上感应电动势一会儿为0,一会儿不为0,说明球磨机主体内部存在球石群;依据球磨机主体转动一周的时间及感应线圈上感应电动势存在的时间,判断球石群在球磨机主体内部的分布状况;Within one rotation of the main body of the ball mill, the induced electromotive force on the induction coil is 0 for a while, and not 0 for a while, indicating that there is a group of ball stones inside the main body of the ball mill; according to the time for the main body of the ball mill to rotate one week and the time for the existence of the induced electromotive force on the induction coil, the ball stones can be judged The distribution of clusters inside the main body of the ball mill;在球磨机主体转动一周内,感应线圈上感应电动势始终存在,说明球磨机主体转速过高,球石群处于离心状态,或者是球磨机主体内部充满球石群。During the rotation of the main body of the ball mill, the induced electromotive force on the induction coil always exists, indicating that the main body of the ball mill rotates too high, the ball stone group is in a centrifugal state, or the ball mill body is full of ball stone groups.
CN 2012100046022012-01-092012-01-09Ballstone group dynamic distribution detection system and methodExpired - Fee RelatedCN102553687B (en)

Priority Applications (1)

Application NumberPriority DateFiling DateTitle
CN 201210004602CN102553687B (en)2012-01-092012-01-09Ballstone group dynamic distribution detection system and method

Applications Claiming Priority (1)

Application NumberPriority DateFiling DateTitle
CN 201210004602CN102553687B (en)2012-01-092012-01-09Ballstone group dynamic distribution detection system and method

Publications (2)

Publication NumberPublication Date
CN102553687A CN102553687A (en)2012-07-11
CN102553687Btrue CN102553687B (en)2013-08-28

Family

ID=46401075

Family Applications (1)

Application NumberTitlePriority DateFiling Date
CN 201210004602Expired - Fee RelatedCN102553687B (en)2012-01-092012-01-09Ballstone group dynamic distribution detection system and method

Country Status (1)

CountryLink
CN (1)CN102553687B (en)

Families Citing this family (5)

* Cited by examiner, † Cited by third party
Publication numberPriority datePublication dateAssigneeTitle
CN103091000B (en)*2013-01-182015-02-11山东理工大学Ball grinder interior point stress distribution detection system and detection method
CN104048738B (en)*2014-07-012016-02-10山东理工大学Hydraulic type ball grinder interior ballstone Weight detecting device and ballstone evaluation method
CN104069917B (en)*2014-07-012016-03-23山东理工大学 Ball mill impact detection device, impact detection and ball mill speed regulation method
CN105396681B (en)*2015-12-242017-12-22山东理工大学Tripe detection means that piezoelectric type multi-compartment tube grinding machine is swollen and pre-swollen tripe regulation and control method
CN111984695B (en)*2020-07-212024-02-20微梦创科网络科技(中国)有限公司Method and system for determining black clusters based on Spark

Family Cites Families (5)

* Cited by examiner, † Cited by third party
Publication numberPriority datePublication dateAssigneeTitle
JPS5495067A (en)*1978-01-101979-07-27Kobe Steel LtdMill coating detection method
ATE389456T1 (en)*2003-04-152008-04-15Bachofen Willy A Ag AGITATOR BALL MILL
CN101776565A (en)*2009-12-252010-07-14山东理工大学Online real-time detection device of grinding process of ceramic ball mill
CN202087360U (en)*2011-04-042011-12-28马立修Ball mill with optical fiber detecting device
CN102247915A (en)*2011-04-202011-11-23山东理工大学Ballstone path detection system and detection method

Also Published As

Publication numberPublication date
CN102553687A (en)2012-07-11

Similar Documents

PublicationPublication DateTitle
CN102553687B (en)Ballstone group dynamic distribution detection system and method
CN104069917B (en) Ball mill impact detection device, impact detection and ball mill speed regulation method
CN102247914B (en)Ball grinding mill mud concentration detection method
CN102801356B (en)Magnetic force coupling axial excitation-based rotary disk type piezoelectric generator
CN102179278B (en)Automatic speed regulation system of ball milling machine and method therefor
CN104723219B (en)Constant force polishing feed arrangement and polishing machine
CN107493001A (en)A kind of bearing health monitoring device with self energizing
CN102147283B (en)Embedded self-energy supply wireless monitoring device of rotor equipment
CN206567009U (en)A kind of adaptive load grinding machine with permanent magnet direct-drive system
CN209545407U (en)A kind of magnetic drives clutch
CN102788612B (en)System and method for detecting dynamic distribution of ball stone groups and massive ore materials in ball mill
CN107294328A (en)A kind of frequency converting speed regulating three-phase asynchronous electromotor
CN203018176U (en)Device for online detection of material bed thickness of vertical roller mill
CN203711099U (en)Ceramic ball mill drive system
CN204346976U (en)High Rotation Speed eddy current testing device
CN104668051A (en)Automatic speed control ball mill
CN204602321U (en)A kind of automatic control speed ball mill
CN206911475U (en)Electromagnetic drive type grinding machine
CN102386845A (en)Motor speed regulation device for fan
CN102788610A (en)Detecting system and method for dynamic distribution of ball stone groups and mineral aggregates in ball mill
CN211160032U (en)Ball mill with adjustable rotational speed
CN102798410B (en)Dynamic distribution detection system and method of steel ball group in ball grinder
CN201747633U (en)Frequency-converting and speed-regulating local fan
CN204320629U (en)Online magnetic variation power vibrator
CN215507067U (en)Raymond machine

Legal Events

DateCodeTitleDescription
C06Publication
PB01Publication
C10Entry into substantive examination
SE01Entry into force of request for substantive examination
C14Grant of patent or utility model
GR01Patent grant
CF01Termination of patent right due to non-payment of annual fee
CF01Termination of patent right due to non-payment of annual fee

Granted publication date:20130828

Termination date:20160109


[8]ページ先頭

©2009-2025 Movatter.jp