



技术领域technical field
本发明涉及一种固定装置及采用其的固定方法,且特别是涉及一种口腔固定装置及采用其的口腔固定方法。The invention relates to a fixing device and a fixing method using the same, and in particular to an oral fixing device and a fixing method using the same.
背景技术Background technique
在现今社会中,人们常因各种需求而需要一种固定口腔的装置。惟现今的口腔固定装置,皆只有固定牙齿的功用,并没有兼具固定舌头的用途。In today's society, people often need a device for fixing the oral cavity due to various needs. However, the present oral fixation devices all only have the function of fixing the teeth, and do not have the function of fixing the tongue concurrently.
因此,如何将现有的口腔固定装置,改良成既可固定牙齿,也可以固定舌头,且改良后的口腔固定装置能将口腔内部的所有器官皆完善地固定住,实为目前研究发展的一重要方向。Therefore, how to improve the existing oral fixation device to not only fix the teeth but also fix the tongue, and the improved oral fixation device can perfectly fix all the internal organs of the oral cavity is a current research and development. important direction.
发明内容Contents of the invention
本发明的目的在于提供一种口腔固定装置及采用其的口腔固定方法,其利用拱型板与U型矫正器的结合,使得使用者不仅可通过此口腔固定装置固定牙齿,也能够固定舌头。The object of the present invention is to provide an oral fixation device and an oral fixation method using it, which utilizes the combination of an arched plate and a U-shaped aligner so that the user can not only fix teeth but also fix the tongue through the oral fixation device.
为达上述目的,根据本发明的一方面,提出一种口腔固定装置。口腔固定装置包括一U型矫正器及一拱型板。此拱型板连接于U型矫正器的内侧壁,其中拱型板的中央处的厚度比连接处厚,拱型板的一最大厚度大于2毫米。To achieve the above purpose, according to one aspect of the present invention, an oral fixation device is proposed. The oral cavity fixation device includes a U-shaped corrector and an arched plate. The arched plate is connected to the inner side wall of the U-shaped corrector, wherein the thickness of the center of the arched plate is thicker than that of the joint, and the maximum thickness of the arched plate is greater than 2 mm.
根据本发明的另一方面,提出一种口腔固定装置。口腔固定装置包括一U型矫正器及一拱型板。此U型矫正器用以套合一上排牙齿及一下排牙齿。此一拱型板连接U型矫正器的一内侧壁,并介于一舌头与一上颚之间,拱型板的一最大厚度实质上等于该舌头与该上颚的距离。According to another aspect of the present invention, an oral fixation device is provided. The oral cavity fixation device includes a U-shaped corrector and an arched plate. This U-shaped aligner is used to fit an upper row of teeth and a lower row of teeth. The arched plate is connected to an inner wall of the U-shaped corrector and is between a tongue and a palate. A maximum thickness of the arched plate is substantially equal to the distance between the tongue and the palate.
根据本发明的再一方面,提出一种口腔的固定方法。此口腔的固定方法包括下列步骤。提供一口腔固定装置,此口腔固定装置包括一U型矫正器与一拱型板,拱型板连接U型矫正器的一内侧壁。将口腔固定装置置入一舌头与一上颚之间,以使拱型板的一上表面实质上接触上颚,拱型板的一下表面实质上接触舌头。将一上排牙齿及一下排牙齿置入此U型矫正器内。According to still another aspect of the present invention, a method for fixing the oral cavity is provided. The method for fixing the oral cavity includes the following steps. An oral cavity fixation device is provided, and the oral cavity fixation device includes a U-shaped straightener and an arched plate, and the arched plate is connected to an inner side wall of the U-shaped straightened device. The oral fixture is placed between a tongue and a palate such that an upper surface of the arcuate plate substantially contacts the palate and a lower surface of the arcuate plate substantially contacts the tongue. Put an upper row of teeth and a lower row of teeth into this U-shaped aligner.
为让本发明的上述内容能更明显易懂,下文特举一实施例,并配合所附附图,作详细说明如下:In order to make the above-mentioned content of the present invention more obvious and understandable, an embodiment is specifically cited below, together with the accompanying drawings, and the detailed description is as follows:
附图说明Description of drawings
图1为本发明一实施例的口腔固定装置的立体图;Fig. 1 is a perspective view of an oral fixation device according to an embodiment of the present invention;
图2为本发明口腔固定装置的后视图;Figure 2 is a rear view of the oral fixture of the present invention;
图3为本发明口腔固定装置的上视图;Fig. 3 is a top view of the oral fixation device of the present invention;
图4为图3的口腔固定装置沿截面线4-4’的剖视图;Fig. 4 is a cross-sectional view of the oral fixture of Fig. 3 along section line 4-4';
图5为本发明使用口腔固定装置的流程图;Fig. 5 is the flowchart of using the oral cavity fixation device in the present invention;
图6为本发明使用者将口腔固定装置置入舌头与上颚之间的示意图。Fig. 6 is a schematic view of the user of the present invention placing the oral fixation device between the tongue and the palate.
主要元件符号说明Description of main component symbols
100:口腔固定装置100: oral fixture
110:U型矫正器110: U-shaped orthotic
111:U型上牙槽111: U-shaped upper alveolar
112:U型下牙槽112: U-shaped lower alveolar
120:拱型板120: arch plate
210、220:内侧端点210, 220: inner endpoints
310:内侧壁310: Medial wall
410:上牙槽前端410: front end of upper alveolar
420:下牙槽前端420: front end of lower alveolar
610:舌头610: Tongue
620:上颚620: Palate
630:上排牙齿630: Upper row of teeth
640:下排牙齿640: lower row of teeth
650:下颚650: Jaw
S510~S530:流程步骤S510~S530: process steps
L:拱型板120的最大厚度L: the maximum thickness of the
M:U型上牙槽111的前端410距离内侧壁310的距离M: the distance between the
N:U型下牙槽112的前端420距离内侧壁310的距离N: the distance between the
W:两内侧端点210、220的距离W: the distance between the two
具体实施方式Detailed ways
以下是提出一实施例进行详细说明,实施例仅用以作为范例说明,并不会限缩本发明欲保护的范围。此外,实施例中的附图省略不必要的元件,以清楚显示本发明的技术特点。The following is a detailed description of an embodiment, which is only used as an example and does not limit the scope of protection of the present invention. In addition, the drawings in the embodiments omit unnecessary elements to clearly show the technical characteristics of the present invention.
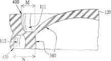
请参照图1至图4,其中图1是绘示依照本发明一实施例的口腔固定装置100的立体图。图2是绘示口腔固定装置100的后视图。图3是绘示口腔固定装置100的上视图。图4是绘示图3的口腔固定装置100沿截面线4-4’的剖视图。Please refer to FIGS. 1 to 4 , wherein FIG. 1 is a perspective view illustrating an
本实施例的口腔固定装置100包括一U型矫正器110以及一拱型板120。此U型矫正器110用以套合口腔中的上排牙齿630(绘示于图6)及下排牙齿640(绘示于图6)。拱型板120具有非均匀的厚度且连接于U型矫正器110的内侧壁310,并介于一舌头610(绘示于图6)与一上颚620(绘示于图6)之间。其中拱型板120的中央处的厚度比连接处厚。举例来说,拱型板120的厚度可为由连接处往中央处递增。在一实施例中,U型矫正器110可以是一U型牙套。The
如图2所示,拱型板120的一最大厚度L实质上等于舌头610与上颚620的距离,例如是大于2毫米且小于15毫米,此外,更可以视其需要而客制化。又例如,使用者为小孩子时,拱型板120的最大厚度L也可以为介于2毫米与8毫米之间。如此一来,因为拱型板120能抵住舌头610,所以能去除阻塞呼吸道的变因。As shown in FIG. 2 , a maximum thickness L of the
再者,请参照图4,在口腔装置100中,U型矫正器110还具有一U型上牙槽111及一U型下牙槽112。U型上牙槽111的前端410距离内侧壁310为一第一距离M。U型下牙槽112的前端420距离内侧壁310为一第二距离N。其中第二距离N大于第一距离M。换句话说,如图4所示,U型下牙槽112实质上在U型上牙槽111的前方。所以,当使用者戴上此口腔固定装置100时,下颚650(绘示于图6)将会略向前凸。如此一来,可打开使用者呼吸道侧壁的肌肉。Furthermore, please refer to FIG. 4 , in the
除此之外,拱型板120介于一舌头610与一上颚620之间,为了能够稳定使用者舌头的位置,拱型板120的设计为填满使用者口腔内舌头610与一上颚620的空间而呈现一非均匀厚度,请再参照图2,拱型板120的最大厚度L位于此拱型板120的中央处。也就是说,拱型板120的中央较厚,而拱型板120的两侧较薄。而人体舌头610与上颚620之间的间隙也是在中央处较宽,两侧较窄。当使用者戴上此口腔固定装置100时,上述设计将使得使用者的舌头能牢固地固定在口腔固定装置100的拱型板120的下方。In addition, the
再来,请参照图5及图6,图5绘示使用口腔固定装置100的流程图,图6绘示使用者将口腔固定装置100置入舌头610与上颚620之间的示意图。首先,在步骤S510中,提供口腔固定装置100。Next, please refer to FIG. 5 and FIG. 6 , FIG. 5 shows a flowchart of using the
接着,在步骤S520中,将一上排牙齿630及一下排牙齿640置入U型矫正器110内。如图6所示,上排牙齿630与下排牙齿640牢牢地固定于U型矫正器110内,调整上下排牙齿咬合位置,使得U型上牙槽111的前端410距离内侧壁310为一第一距离M。U型下牙槽112的前端420距离内侧壁310为一第二距离N。其中第二距离M大于第一距离N。换句话说,如图4所示,U型下牙槽112实质上在U型上牙槽111的前方。Next, in step S520 , an upper row of teeth 630 and a lower row of teeth 640 are placed into the
接着,在步骤S530中,将口腔固定装置100置入舌头610与上颚620之间,顺应舌头610与上颚620中间的空隙,修整拱型板120的厚度,以使拱型板120的一上表面120a实质上接触上颚620,拱型板120的一下表面120b实质上接触舌头610。举例来说,请参照图6。可明显看到,当拱型板120的上表面120a与下表面120b各别实质上接触上颚620与舌头610时,因拱型板120牢牢地固定在上颚620的下方,使得舌头610受到拱型板120的挤压而固定在拱型板120的下方。如此一来,当使用者的牙齿咬住U型矫正器110时,拱型板120将同时受到U型矫正器110与上颚620的挤压,所以拱型板120在舌头610上方上、下、左、右、前、后同时固定住,将更可确保舌头610的固定。Next, in step S530, the
本实施例所述的口腔固定装置100,因U型上牙槽111的前端410距离内侧壁310的第一距离M,U型下牙槽112的前端420距离内侧壁310的第二距离N,且第二距离N大于第一距离M,所以可利用口腔固定装置100以下颚650(绘示于图6)向前凸的方式打开使用者呼吸道侧壁的肌肉。并且因为拱型板120能抵住舌头610,所以能去除阻塞呼吸道的变因。再者,也因拱型板120将舌头610周围空间填满,所以能在使用者躺卧时支撑舌头610下垂重力,将舌头610保持在自然的位置不受重力的影响而掉落,能避免堵塞使用者呼吸道。所以本实施例所述的口腔固定装置100至少具有“打开呼吸道侧壁的肌肉”、“去除阻塞呼吸道的变因”以及“将舌头保持在自然的位置不受重力的影响而掉落”的特性。In the
再者,因舌头610保持在自然的位置,所以长时间使用不会造成不适感,也不需太多外力即可稳定舌头610。而也因口腔固定装置100固定上、下排牙齿630、640,所以即使使用者在睡眠状态下使用此口腔固定装置100,使用者仍不会因丧失肌张力而张口呼吸。故本实施例的口腔固定装置100更具有“长时间使用不会造成不适感”的特性。因此,本口腔固定装置100可适用于睡眠呼吸中止的装置的口腔界面,利于防止呼吸道阻塞而造成呼吸中止的现象。Furthermore, since the tongue 610 is kept in a natural position, it will not cause discomfort when used for a long time, and the tongue 610 can be stabilized without too much external force. And because the
本实施例的口腔固定装置100于2006年7月至2009年12月间由台湾大学附设医院针对五位临床试验对象进行试验。首先,这五位临床试验对象均先经过健康检查后排除下列五种疾病:(1)非阻塞性睡眠呼吸暂停症后群(Non-obstructive sleep apnea syndrome)、(2)阻塞性睡眠呼吸暂停症后群(OSAS)以外的睡眠呼吸疾病、(3)系统性疾病(例如类风湿性关节炎(rheumatoid arthritis))、(4)颞颚关节障碍(Temporo-Mandibular disorder)、(5)牙周病(periodontal disease)、牙痛或不能使用矫正器的其他情况。The
此临床试验先利用多功能生理睡眠检查仪(PSG)记录年龄、身体质量指数(body mass index,BMI)、颈围及侧位片(lateral cephalometricphotography)。然后,由牙科医师针对各个临床试验对象个别地制作传统的口腔固定装置及本实施例的口腔固定装置100。每位临床试验对象穿戴传统口腔固定装置三个月并接受生理睡眠检查仪(PSG)测试其效果。然后,每位临床试验对象穿戴本实施例的口腔固定装置100三个月并接受生理睡眠检查仪(PSG)测试其效果。表一描述临床试验的结果。其中「AHI」表示睡眠呼吸暂停低通气指数(apnea hypopnea index),为阻塞性睡眠呼吸暂停严重度的指标。In this clinical trial, age, body mass index (BMI), neck circumference, and lateral cephalometric photography were recorded using a multifunctional physiological sleep tester (PSG). Then, the traditional oral fixture and the
表一:临床试验的结果Table 1: Results of Clinical Trials
很明显地,穿戴本实施例口腔固定装置100可以减少AHI值。因此,相比较于传统口腔固定装置,本实施例的口腔固定装置100更适合用以避免阻塞性睡眠呼吸暂停情况。Obviously, wearing the
综上所述,虽然结合以上一实施例揭露了本发明,然而其并非用以限定本发明。本发明所属技术领域中熟悉此技术者,在不脱离本发明的精神和范围内,可作各种的更动与润饰。因此,本发明的保护范围应以附上的权利要求所界定的为准。In summary, although the present invention is disclosed in combination with the above embodiment, it is not intended to limit the present invention. Those skilled in the art to which the present invention belongs can make various changes and modifications without departing from the spirit and scope of the present invention. Therefore, the protection scope of the present invention should be defined by the appended claims.
| Application Number | Priority Date | Filing Date | Title |
|---|---|---|---|
| US12/977,293 | 2010-12-23 | ||
| US12/977,293US20120017918A1 (en) | 2010-07-21 | 2010-12-23 | Oral Fixation Device and Fixing Method Using the Same |
| Publication Number | Publication Date |
|---|---|
| CN102551946Atrue CN102551946A (en) | 2012-07-11 |
| CN102551946B CN102551946B (en) | 2015-01-28 |
| Application Number | Title | Priority Date | Filing Date |
|---|---|---|---|
| CN201110220368.5AActiveCN102551946B (en) | 2010-12-23 | 2011-08-03 | Oral fixation device and oral fixation method using same |
| Country | Link |
|---|---|
| CN (1) | CN102551946B (en) |
| Publication number | Priority date | Publication date | Assignee | Title |
|---|---|---|---|---|
| WO2014019547A1 (en)* | 2012-08-03 | 2014-02-06 | 莱镁医疗器材股份有限公司 | Oral interface appliance and use method thereof |
| CN104739566A (en)* | 2013-12-27 | 2015-07-01 | 林彦璋 | Air flow interference type snore relieving device |
| CN104981223A (en)* | 2013-01-23 | 2015-10-14 | 崔贤珍 | Oral appliance |
| WO2016134503A1 (en)* | 2015-02-26 | 2016-09-01 | 林彦璋 | Unbalanced tongue-pressing occluder |
| JP2017080027A (en)* | 2015-10-27 | 2017-05-18 | 建夫 大坪 | Mouthpiece for oral cavity and mouthpiece for oral cavity |
| Publication number | Priority date | Publication date | Assignee | Title |
|---|---|---|---|---|
| US2643652A (en)* | 1951-04-09 | 1953-06-30 | Fred P Moffett | Mouth protector |
| US5715840A (en)* | 1996-06-25 | 1998-02-10 | Hall; Thomas D. | Snore-repressing mouthpiece |
| US5979449A (en)* | 1998-04-09 | 1999-11-09 | Steer; Eugene Lyle | Oral appliance device and method for use thereof for appetite suppression |
| US20080210244A1 (en)* | 2005-06-23 | 2008-09-04 | Bryan Keropian | Sleep appliance |
| Publication number | Priority date | Publication date | Assignee | Title |
|---|---|---|---|---|
| US2643652A (en)* | 1951-04-09 | 1953-06-30 | Fred P Moffett | Mouth protector |
| US5715840A (en)* | 1996-06-25 | 1998-02-10 | Hall; Thomas D. | Snore-repressing mouthpiece |
| US5979449A (en)* | 1998-04-09 | 1999-11-09 | Steer; Eugene Lyle | Oral appliance device and method for use thereof for appetite suppression |
| US20080210244A1 (en)* | 2005-06-23 | 2008-09-04 | Bryan Keropian | Sleep appliance |
| Publication number | Priority date | Publication date | Assignee | Title |
|---|---|---|---|---|
| WO2014019547A1 (en)* | 2012-08-03 | 2014-02-06 | 莱镁医疗器材股份有限公司 | Oral interface appliance and use method thereof |
| CN104981223A (en)* | 2013-01-23 | 2015-10-14 | 崔贤珍 | Oral appliance |
| CN104981223B (en)* | 2013-01-23 | 2017-07-07 | 崔贤珍 | Oral appliance |
| CN104739566A (en)* | 2013-12-27 | 2015-07-01 | 林彦璋 | Air flow interference type snore relieving device |
| WO2015096696A1 (en)* | 2013-12-27 | 2015-07-02 | 林彦璋 | Apparatus for relieving stuffy nose and stopping snoring |
| JP2016538074A (en)* | 2013-12-27 | 2016-12-08 | 林彦璋 | Nasal blockage anti-cracking device |
| WO2016134503A1 (en)* | 2015-02-26 | 2016-09-01 | 林彦璋 | Unbalanced tongue-pressing occluder |
| CN107106279A (en)* | 2015-02-26 | 2017-08-29 | 林彦璋 | Non-balance type tongue-depressing occluding device |
| JP2018505744A (en)* | 2015-02-26 | 2018-03-01 | 林彦璋 | Non-equilibrium pressure tongue articulator |
| JP2017080027A (en)* | 2015-10-27 | 2017-05-18 | 建夫 大坪 | Mouthpiece for oral cavity and mouthpiece for oral cavity |
| Publication number | Publication date |
|---|---|
| CN102551946B (en) | 2015-01-28 |
| Publication | Publication Date | Title |
|---|---|---|
| Cohen-Levy et al. | Forces created by mandibular advancement devices in OSAS patients: a pilot study during sleep | |
| JP4445565B1 (en) | Tongue position control device | |
| JP4936061B2 (en) | Intraoral device and method for manufacturing the same | |
| JP6218857B2 (en) | Oral appliance | |
| US20130112210A1 (en) | Oral Sleep Apnea Device | |
| CN102551946B (en) | Oral fixation device and oral fixation method using same | |
| WO2005027806A1 (en) | Snore and sleep apnea syndrome medical treatment device | |
| CN105310787B (en) | Fixed asymmetry Occlusal pad joint casting crown releases locked bite device | |
| CN102614041B (en) | Snore stopper | |
| US20120017918A1 (en) | Oral Fixation Device and Fixing Method Using the Same | |
| RU117803U1 (en) | INNEROROTHIC THERAPEUTIC APPARATUS OF LUGAN | |
| CN104605969B (en) | Anti-snore device | |
| CN204318948U (en) | Fixed asymmetric Occlusal pad associating cast crown removes locked bite device | |
| CN201822948U (en) | Snore-ceasing equipment | |
| CN207562030U (en) | anti snoring braces | |
| CN209048412U (en) | A kind of device for preventing snoring | |
| CN211271552U (en) | A tooth-retaining jaw adjustable anti-snoring device | |
| EP2409672B1 (en) | Oral fixation device and fixing method using the same | |
| RU2491041C1 (en) | Intraoral therapeutic apparatus by luganskiy | |
| TWM399700U (en) | articulator | |
| TWM603345U (en) | Mandible displacement adjusting device | |
| CN207940959U (en) | A kind of adjustable snore stopper of disjunctor | |
| CN211433612U (en) | Snore stopper | |
| CN221866223U (en) | Oral cavity correcting device for relieving snoring | |
| US20230077980A1 (en) | Anti-obstructive dental orthotic producing increased intraoral volume |
| Date | Code | Title | Description |
|---|---|---|---|
| C06 | Publication | ||
| PB01 | Publication | ||
| C10 | Entry into substantive examination | ||
| SE01 | Entry into force of request for substantive examination | ||
| C14 | Grant of patent or utility model | ||
| GR01 | Patent grant |