Movatterモバイル変換


[0]ホーム

URL:


CN102544812A - Electric connector - Google Patents

Electric connector
Download PDF

Info

Publication number
CN102544812A
CN102544812ACN201010612305XACN201010612305ACN102544812ACN 102544812 ACN102544812 ACN 102544812ACN 201010612305X ACN201010612305X ACN 201010612305XACN 201010612305 ACN201010612305 ACN 201010612305ACN 102544812 ACN102544812 ACN 102544812A
Authority
CN
China
Prior art keywords
terminal
differential signal
welding
conductive
signal terminal
Prior art date
Legal status (The legal status is an assumption and is not a legal conclusion. Google has not performed a legal analysis and makes no representation as to the accuracy of the status listed.)
Pending
Application number
CN201010612305XA
Other languages
Chinese (zh)
Inventor
陈又旭
杨惠雯
徐国峻
Current Assignee (The listed assignees may be inaccurate. Google has not performed a legal analysis and makes no representation or warranty as to the accuracy of the list.)
Foxconn Kunshan Computer Connector Co Ltd
Hon Hai Precision Industry Co Ltd
Original Assignee
Foxconn Kunshan Computer Connector Co Ltd
Hon Hai Precision Industry Co Ltd
Priority date (The priority date is an assumption and is not a legal conclusion. Google has not performed a legal analysis and makes no representation as to the accuracy of the date listed.)
Filing date
Publication date
Application filed by Foxconn Kunshan Computer Connector Co Ltd, Hon Hai Precision Industry Co LtdfiledCriticalFoxconn Kunshan Computer Connector Co Ltd
Priority to CN201010612305XApriorityCriticalpatent/CN102544812A/en
Publication of CN102544812ApublicationCriticalpatent/CN102544812A/en
Pendinglegal-statusCriticalCurrent

Links

Images

Landscapes

Abstract

Translated fromChinese

一种电连接器,包括绝缘本体以及收容于绝缘本体内的第一导电端子组、第二导电端子组,所述第一导电端子组包括一对第一差分信号端子、一接地端子以及一电源端子,所述第二导电端子组包括一对第二差分信号端子、一对第三差分信号端子及一第二接地端子,第一、第二导电端子组的焊接部位于同一排设置,第二、第三差分信号端子的焊接部分别布置于电连接器纵长方向两端最外侧,第一差分信号端子的焊接部布置于第二、第三差分信号端子的焊接部之间,第一差分信号端子与第二差分信号端子的焊接部以及第一差分信号端子与第三差分信号端子的焊接部被所述第一接地端子、第二接地端子或电源端子的焊接部隔开。通过导电端子排布方式的重新布置,可使导电端子在满足防止信号串扰的同时不增加焊接部数量,从而节约焊接成本。

Figure 201010612305

An electrical connector, comprising an insulating body and a first conductive terminal group and a second conductive terminal group accommodated in the insulating body, the first conductive terminal group includes a pair of first differential signal terminals, a ground terminal and a power supply Terminals, the second conductive terminal group includes a pair of second differential signal terminals, a pair of third differential signal terminals and a second ground terminal, the welding parts of the first and second conductive terminal groups are located in the same row, and the second , The welding parts of the third differential signal terminal are respectively arranged on the outermost sides of the two ends of the electrical connector in the longitudinal direction, the welding part of the first differential signal terminal is arranged between the welding parts of the second and third differential signal terminals, and the first differential signal terminal is arranged between the welding parts of the second and third differential signal terminals. The welding portion of the signal terminal and the second differential signal terminal and the welding portion of the first differential signal terminal and the third differential signal terminal are separated by the welding portion of the first ground terminal, the second ground terminal or the power supply terminal. By rearranging the arrangement of the conductive terminals, the conductive terminals can prevent signal crosstalk without increasing the number of welding parts, thereby saving welding costs.

Figure 201010612305

Description

Electric connector
[technical field]
The present invention relates to a kind of electric connector, relate in particular to and a kind ofly be welded to the electric connector on the circuit board through the surface soldered mode.
[background technology]
The novel patent of TaiWan, China has disclosed a kind of electric connector M361797 number; Comprise insulating body, two groups of high-frequency signal terminals, one group of low frequency signal terminal, one group of power supply terminal, an earth terminal and metal shell, each organize high-frequency signal terminal, low frequency signal terminal, power supply terminal and earth terminal be embedded in this insulating body respectively and be provided with extend insulating body leg to be welded on the circuit board.The metal shell frame encloses outside this insulating body and is welded on this circuit board.The leg of said earth terminal is divided into two and forms two ground connection legs.The leg of low frequency signal terminal is welded on the circuit board between the two ground connection legs and isolated with the leg of each group high-frequency signal terminal.Therefore the high and low frequency signal terminal of electric connector is when carrying out the signal transmission, and the Electromagnetic Interference of generation can be blocked and eliminate through ground connection by two ground connection legs.But the method that adopts leg to be divided into two will make terminal leg sum increase by one, and the weld tabs on the corresponding electrical circuits plate also will increase by one, this arranging of weld tabs on the circuit board, and also increased welding cost.
Therefore, be necessary the aforementioned electric connector is improved to solve aforementioned disadvantages of the prior art in fact.
[summary of the invention]
Main purpose of the present invention is to provide a kind of electric connector, and its terminal weld part with optimization is arranged and is convenient to welding.
For reaching above-mentioned purpose; The present invention adopts following technical scheme: a kind of electric connector; In order to be welded on the circuit board; It comprises: insulating body and be contained in the first conducting terminal group, the second conducting terminal group in the insulating body; Said insulating body is provided with body and reaches from the horizontally extending forward hyoplastron of body; The said first conducting terminal group comprises a pair of first difference signal terminal, an earth terminal and a power supply terminal; Each terminal of the first conducting terminal group is provided with contact site that extends into hyoplastron and the weld part that extends insulating body, and the said second conducting terminal group comprises a pair of second difference signal terminal, a pair of the 3rd difference signal terminal and one second earth terminal, and each terminal of the second conducting terminal group is provided with a weld part that extends insulating body; The welding position of first, second conducting terminal group is provided with in same row; The weld part of second, third difference signal terminal is arranged in electric connector longitudinally two ends outermost respectively, and the weld part of first difference signal terminal is arranged between the weld part of second, third difference signal terminal, and the weld part of the weld part of first difference signal terminal and second difference signal terminal and first difference signal terminal and the 3rd difference signal terminal is separated by the weld part of said first earth terminal, second earth terminal or power supply terminal.
Compared with prior art, the advantage of electric connector of the present invention is: through the preferred arrangement of conducting terminal arrangement mode, can make conducting terminal not increase weld part quantity when preventing signal cross-talk satisfying, thereby practice thrift welding cost.
[description of drawings]
Fig. 1 is that electric connector of the present invention is assembled in the three-dimensional combination figure on the circuit board;
Fig. 2 is the three-dimensional combination figure that electric connector of the present invention is assembled in another angle on the circuit board;
Fig. 3 is the three-dimensional exploded view of electric connector of the present invention;
Fig. 4 is the three-dimensional exploded view of another angle of electric connector of the present invention;
Fig. 5 is the sketch map that the conducting terminal weld part of electric connector of the present invention is arranged;
Fig. 6 is the sketch map that the conducting terminal weld part of electric connector second execution mode of the present invention is arranged;
Fig. 7 is the sketch map that the conducting terminal weld part of electric connector the 3rd execution mode of the present invention is arranged;
Fig. 8 is the sketch map that the conducting terminal weld part of electric connector the 4th execution mode of the present invention is arranged;
Fig. 9 is the sketch map that the conducting terminal weld part of electric connector the 5th execution mode of the present invention is arranged;
Figure 10 is the sketch map that the conducting terminal weld part of electric connector the 6th execution mode of the present invention is arranged.
[embodiment]
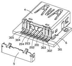
Please referring to figs. 1 through shown in Figure 4;Electric connector 100 of the present invention is a USB 3.0A type socket connector; Can be installed on and supply USB 2.0A type banjo (not icon) and USB 3.0A type banjo (not icon) grafting on thecircuit board 6, thiselectric connector 100 comprisesinsulating body 1, is contained in the conducting terminal ofinsulating body 1 and theshielding casing 4 of coatedinsulation body 1.
See also Fig. 3 and shown in Figure 4,insulating body 1 comprisesbody 11 and from thebody 11levels hyoplastron 12 that extends of oneforward.Body 11 is roughly rectangular-shaped, comprises thefront end face 111 that connectshyoplastron 12, therear end face 115 relative withfront end face 111 and is connected thebottom surface 112 offront end face 111 and rear end face 115.Saidbottom surface 112 is provided with aprotuberance 113 to extending below, and thisprotuberance 113 further is provided with theslotted eye 114 that connects along the butt joint direction.For ease of explanation, will be vertical and be defined as the longitudinally of electric connector withcircuit board 6 parallel directions with the butt joint direction.Saidhyoplastron 12 frombody 11 front end faces 111 tops forward horizontal-extending form, thishyoplastron 12 for tabular and compriseupper surface 122 and withupper surface 122 opposing lower surface 121.Five second rectangular-shaped terminal grooves 124 that saidlower surface 121 is concaved with the firstterminal groove 123 of four long and narrow and is positioned at thefirst terminal groove 123 the place aheads.
Continue ginseng Fig. 3 and shown in Figure 4, conducting terminal comprises the first conductingterminal group 2 and the second conducting terminal group 3.The first conductingterminal group 2 comprises four butts, is respectively apower supply terminal 201, a pair of first difference signal terminal (comprising positive signal terminal, negative signal terminal) 202,203 and 1first earth terminal 204 from left to right.Each terminal comprises that flatmain part 21,autonomous body 21 front ends extend forward and rubber-like overshootingshape contact site 22 and theautonomous body 21 other ends horizontally extending againweld part 23 of bending downwards.Saidmain part 21 all is contained in the firstterminal groove 123 of hyoplastron withcontact site 22, and saidcontact site 22 protrudes out thelower surface 121 ofhyoplastron 12 downwards.Saidweld part 23 is at theweld tabs 61 that is arranged in a row on the longitudinally and is welded on the circuit board 6.The second conducting terminal group 3 is one-body molded in injection phase andinsulating body 1; This second conducting terminal group 3 comprises five butts, is respectively a pair of second difference signal terminal 301,302, onesecond earth terminal 303 and a pair of the 3rd difference signal terminal 304,305 from left to right.Each terminal comprises aweld part 31 that extendsinsulating body 1, and thoseweld parts 31 are welded inweld tabs 61 and are arranged in a row on longitudinally with theweld part 23 of the first conductingterminal group 2.
Shielding casing 4 is coated on the outside ofinsulating body 1, the twoside 43 that thisshielding casing 4 comprisesroof 41, thediapire 42 relative withroof 41 and is connectedroof 41 and diapire 42.Said twoside 43 is extended with downwards in its rear end in order to be installed to thefixing pin 44 on thecircuit board 6; Saidroof 41,diapire 42 enclose jointly with twoside 43 andform interface 46, andsidewall 43 is clapped broken and towards theleg 45 of circuit board bending being provided withnear interface 46places.Fixing pin 44 is respectively welded to first corresponding on thecircuit board 6welding hole 62 andsecond welding hole 63 with leg 45.Saiddiapire 42 is pressed in side blow thereafter and is formed withlamellar body 420, thereby the corresponding slottedeye 114 that insertsinsulating bodies 1 of thislamellar body 420 withinsulating body 1 andshielding casing 4 better fixing together.One roughly be " U "type bonnet 5 be held in from back to front on theshielding casing 4, thisbonnet 5 comprisesocclusion part 51 and is positioned at theholding part 52 ofocclusion part 51 both sides.Occlusionpart 51 lateral margin on it is extended with a pair ofshell fragment 510 to shieldingcasing 4 inside, androof 41 rear sides ofshielding casing 4 are provided with the throughhole 410 corresponding withshell fragment 510, andshell fragment 510 is fastened in the through hole 410.Simultaneously, holdingpart 52 is provided withrelative projection 520 in its inboard, and thisprojection 520 is held in second throughhole 430 thatshielding casing 4sidewalls 43 are provided with.Bonnet 5 can prevent that dust or foreign matter from getting intoelectric connector 100 inside, thereby conducting terminal is played a protective role.
Please join shown in Figure 5; This is the arrangement mode of conducting terminal weld part of the present invention, and the conducting terminal that each weld part is corresponding arrays from left to right on longitudinally and is: the 3rd difference signal terminal 305,304,first earth terminal 204, first difference signal terminal 203,202,power supply terminal 201,second earth terminal 303, second difference signal terminal 302,301.First earth terminal 204 the 3rd difference signal terminal 305,304 and first difference signal terminal 203,202,power supply terminal 201 and second earth terminal, 303 interval first difference signal terminal 203,202 and second difference signal terminal 302,301 at interval wherein.This arranging can prevent respectively to organize difference signal terminal (305,304), (203,202), (302,301) when carrying out the signal transmission, phase mutual interference and influence the transmission quality of the signal of telecommunication.
Please join shown in Figure 6; This is the arrangement mode of the conducting terminal weld part of second embodiment of the invention, and the conducting terminal that each weld part is corresponding arrays from left to right on longitudinally and is: the 3rd difference signal terminal 305,304,second earth terminal 303,first earth terminal 204, first difference signal terminal 203,202,power supply terminal 201, second difference signal terminal 302,301.Second earth terminal 303 andfirst earth terminal 204 the 3rd difference signal terminal 305,304 and first difference signal terminal 203,202 at interval wherein,power supply terminal 201 interval first difference signal terminal 203,202 and second difference signal terminal 302,301.This arranging can prevent respectively to organize difference signal terminal (305,304), (203,202), (302,301) when carrying out the signal transmission, phase mutual interference and influence the transmission quality of the signal of telecommunication.
Please join shown in Figure 7; This is the arrangement mode of the conducting terminal weld part of third embodiment of the invention, and the conducting terminal that each weld part is corresponding arrays from left to right on longitudinally and is: the 3rd difference signal terminal 305,304,first earth terminal 204, first difference signal terminal 203,202,second earth terminal 303,power supply terminal 201, second difference signal terminal 302,301.First earth terminal 204 the 3rd difference signal terminal 305,304 and first difference signal terminal, 203,202, thesecond earth terminals 303 andpower supply terminal 201 interval first difference signal terminal 203,202 and second difference signal terminal 302,301 at interval wherein.This arranging can prevent respectively to organize difference signal terminal (305,304), (203,202), (302,301) when carrying out the signal transmission, phase mutual interference and influence the transmission quality of the signal of telecommunication.
Please join shown in Figure 8; This is the arrangement mode of the conducting terminal weld part of fourth embodiment of the invention, and the conducting terminal corresponding with each weld part arrays from left to right on longitudinally and be: the 3rd difference signal terminal 305,304,first earth terminal 204,second earth terminal 303, first difference signal terminal 203,202,power supply terminal 201, second difference signal terminal 302,301.First earth terminal 204 andsecond earth terminal 303 the 3rd difference signal terminal 305,304 and first difference signal terminal 203,202 at interval wherein,power supply terminal 201 interval first difference signal terminal 203,202 and second difference signal terminal 302,301.This arranging can prevent respectively to organize difference signal terminal (305,304), (203,202), (302,301) when carrying out the signal transmission, phase mutual interference and influence the transmission quality of the signal of telecommunication.
Please join shown in Figure 9; This is the arrangement mode of the conducting terminal weld part of fifth embodiment of the invention; Be the further optimization to second embodiment of the invention, the conducting terminal that each weld part is corresponding arrays from left to right on longitudinally and is: the 3rd difference signal terminal 305,304,second earth terminal 303,first earth terminal 204, first difference signal terminal 203,202,power supply terminal 201, second difference signal terminal 302,301.But; Causesecond earth terminal 303 andfirst earth terminal 204 all play grounding function; Can both be welded on the same weld tabs; This arrangement mode can also make the sum of weld tabs reduce one, thereby can save circuit board space when preventing respectively to organize the mutual interference of difference signal terminal phase.In addition, because the weld tabs sum reduces, each weld tabs area can suitably increase, thereby helps improving the welding effect of conducting terminal.
Please join shown in Figure 10; This is the arrangement mode of the conducting terminal weld part of sixth embodiment of the invention; Be the further optimization to fourth embodiment of the invention, the conducting terminal that each weld part is corresponding arrays from left to right on longitudinally and is: the 3rd difference signal terminal 305,304,first earth terminal 204,second earth terminal 303, first difference signal terminal 203,202,power supply terminal 201, second difference signal terminal 302,301.But; Causefirst earth terminal 204 andsecond earth terminal 303 all play grounding function; Can both be welded on the same weld tabs; This arrangement mode can also make the sum of weld tabs reduce one, thereby can save circuit board space when preventing respectively to organize the mutual interference of difference signal terminal phase.In addition, because the weld tabs sum reduces, each weld tabs area can suitably increase, thereby helps improving the welding effect of conducting terminal.
The present invention arranges the arrangement mode of the weld part of the first conductingterminal group 2 and the second conducting terminal group 3 again; Make the weld part of weld part and second difference signal terminal 302,301 of the 3rd difference signal terminal 305,304 of the second conducting terminal group 3 be arranged in the outermost end of electric connector longitudinally both sides respectively; The welding foot of first difference signal terminal 203,202 of the first conducting terminal group is arranged between the weld part of the 3rd difference signal terminal 305,304 and second difference signal terminal 302,301, separates to prevent mutual interference mutually in signals transmission by saidfirst earth terminal 204, the weld part ofsecond earth terminal 303 or the weld part ofpower supply terminal 201 between the weld part of the weld part of first difference signal terminal 203,202 and second difference signal terminal 302,301 and between the weld part of the weld part of first difference signal terminal 203,202 and the 3rd difference signal terminal 305,304.This kind arrangement mode prevents under the prerequisite of signal cross-talk satisfying, and makes on the circuit board weld tabs quantity identical with conducting terminal weld part quantity or be less than weld part quantity, not only helps board design, also practiced thrift welding cost.

Claims (10)

Translated fromChinese
1.一种电连接器,用以焊接在一电路板上,其包括:绝缘本体以及收容于绝缘本体内的第一导电端子组、第二导电端子组,所述绝缘本体设有本体部及自本体部向前水平延伸的舌板,所述第一导电端子组包括一对第一差分信号端子、一接地端子以及一电源端子,第一导电端子组的每一端子设有延伸入舌板的接触部及延伸出绝缘本体的焊接部,所述第二导电端子组包括一对第二差分信号端子、一对第三差分信号端子及一第二接地端子,第二导电端子组的每一个端子设有延伸出绝缘本体的一个焊接部,其特征在于:第一、第二导电端子组的焊接部位于同一排设置,第二、第三差分信号端子的焊接部分别布置于电连接器纵长方向两端最外侧,第一差分信号端子的焊接部布置于第二、第三差分信号端子的焊接部之间,第一差分信号端子与第二差分信号端子的焊接部以及第一差分信号端子与第三差分信号端子的焊接部被所述第一接地端子、第二接地端子或电源端子的焊接部隔开。1. An electrical connector for welding on a circuit board, comprising: an insulating body and a first conductive terminal group and a second conductive terminal group accommodated in the insulating body, the insulating body is provided with a body portion and A tongue plate extending horizontally forward from the main body, the first conductive terminal group includes a pair of first differential signal terminals, a ground terminal and a power supply terminal, each terminal of the first conductive terminal group is provided with a tongue extending into the tongue plate The contact part and the welding part extending out of the insulating body, the second conductive terminal group includes a pair of second differential signal terminals, a pair of third differential signal terminals and a second ground terminal, each of the second conductive terminal group The terminal is provided with a welding portion extending out of the insulating body, which is characterized in that: the welding portions of the first and second conductive terminal groups are arranged in the same row, and the welding portions of the second and third differential signal terminals are respectively arranged in the longitudinal direction of the electrical connector. The outermost ends of the longitudinal direction, the welding part of the first differential signal terminal is arranged between the welding parts of the second and third differential signal terminals, the welding part of the first differential signal terminal and the second differential signal terminal and the first differential signal terminal The soldering portion of the terminal and the third differential signal terminal is separated by the soldering portion of the first ground terminal, the second ground terminal or the power supply terminal.2.如权利要求1所述的电连接器,其特征在于:所述第一导电端子组及第二导电端子组的焊接部在纵长方向上从左至右依照第三差分信号端子、第一接地端子、第一差分信号端子、电源端子、第二接地端子、第二差分信号端子的排列方式排列。2. The electrical connector according to claim 1, characterized in that: the welding parts of the first conductive terminal group and the second conductive terminal group follow the third differential signal terminal, the second A ground terminal, a first differential signal terminal, a power supply terminal, a second ground terminal, and a second differential signal terminal are arranged in an arrangement manner.3.如权利要求1所述的电连接器,其特征在于:所述第一导电端子组及第二导电端子组的焊接部在纵长方向上从左至右依照第三差分信号端子、第二接地端子、第一接地端子、第一差分信号端子、电源端子、第二差分信号端子的排列方式排列。3. The electrical connector according to claim 1, characterized in that: the welding parts of the first conductive terminal group and the second conductive terminal group follow the third differential signal terminal, the second The arrangement of the two ground terminals, the first ground terminal, the first differential signal terminal, the power supply terminal and the second differential signal terminal is arranged.4.如权利要求1所述的电连接器,其特征在于:所述第一导电端子组及第二导电端子组的焊接部在纵长方向上从左至右依照第三差分信号端子、第一接地端子、第一差分信号端子、电源端子、第二接地端子、第二差分信号端子的排列方式排列。4. The electrical connector according to claim 1, characterized in that: the welding parts of the first conductive terminal group and the second conductive terminal group follow the third differential signal terminal, the second A ground terminal, a first differential signal terminal, a power supply terminal, a second ground terminal, and a second differential signal terminal are arranged in an arrangement manner.5.如权利要求1所述的电连接器,其特征在于:所述第一导电端子组及第二导电端子组的焊接部在纵长方向上从左至右依照第三差分信号端子、第一接地端子、第二接地端子、第一差分信号端子、电源端子、第二差分信号端子的排列方式排列。5. The electrical connector according to claim 1, characterized in that: the welding parts of the first conductive terminal group and the second conductive terminal group follow the third differential signal terminal, the second The first ground terminal, the second ground terminal, the first differential signal terminal, the power supply terminal, and the second differential signal terminal are arranged in an arrangement manner.6.如权利要求3所述的电连接器,其特征在于:所述第二接地端子与第一接地端子的焊接部焊接在电路板上设有的同一个焊片上。6 . The electrical connector according to claim 3 , wherein the soldering portion of the second grounding terminal and the first grounding terminal are welded on the same soldering piece provided on the circuit board. 7 .7.如权利要求5所述的电连接器,其特征在于:所述第一接地端子与第二接地端子的焊接部焊接在电路板上设有的同一个焊片上。7 . The electrical connector according to claim 5 , wherein the welding portions of the first ground terminal and the second ground terminal are welded on the same soldering piece provided on the circuit board. 8 .8.如权利要求1至7中任一项所述的电连接器,其特征在于:所述电连接器还包括框围于绝缘本体外侧的遮蔽壳体,该遮蔽壳体设有侧壁并在侧壁上设有焊脚及固持脚。8. The electrical connector according to any one of claims 1 to 7, characterized in that: the electrical connector further comprises a shielding shell surrounding the outer side of the insulating body, the shielding shell is provided with side walls and Welding feet and holding feet are arranged on the side wall.9.如权利要求8所述的电连接器,其特征在于:绝缘本体于本体部下侧延伸有突出部,突出部设有贯穿的通孔,遮蔽壳体上设有凸伸的片体且收容于所述通孔内。9. The electrical connector according to claim 8, wherein the insulating body has a protruding portion extending from the lower side of the main body, the protruding portion is provided with a through hole, and the shielding shell is provided with a protruding sheet for receiving in the through hole.10.如权利要求9所述的电连接器,其特征在于:所述舌板设有收容第一导电端子组接触部的端子槽,所述接触部凸伸出端子槽之外。10 . The electrical connector as claimed in claim 9 , wherein the tongue plate is provided with a terminal groove for receiving the contact portion of the first conductive terminal group, and the contact portion protrudes out of the terminal groove. 11 .
CN201010612305XA2010-12-292010-12-29Electric connectorPendingCN102544812A (en)

Priority Applications (1)

Application NumberPriority DateFiling DateTitle
CN201010612305XACN102544812A (en)2010-12-292010-12-29Electric connector

Applications Claiming Priority (1)

Application NumberPriority DateFiling DateTitle
CN201010612305XACN102544812A (en)2010-12-292010-12-29Electric connector

Publications (1)

Publication NumberPublication Date
CN102544812Atrue CN102544812A (en)2012-07-04

Family

ID=46351117

Family Applications (1)

Application NumberTitlePriority DateFiling Date
CN201010612305XAPendingCN102544812A (en)2010-12-292010-12-29Electric connector

Country Status (1)

CountryLink
CN (1)CN102544812A (en)

Cited By (37)

* Cited by examiner, † Cited by third party
Publication numberPriority datePublication dateAssigneeTitle
CN103730749A (en)*2012-10-102014-04-16立讯精密工业(昆山)有限公司Socket connector and plug connector
CN103779732A (en)*2012-10-272014-05-07富士康(昆山)电脑接插件有限公司Electric connector
CN105990718A (en)*2015-01-282016-10-05泰科电子(上海)有限公司Connector
US9466930B2 (en)2013-07-192016-10-11Foxconn Interconnect Technology LimitedFlippable electrical connector
US9472910B2 (en)2013-07-192016-10-18Foxconn Interconnect Technology LimitedFlippable electrical connector
US9472911B2 (en)2013-07-192016-10-18Foxconn Interconnect Technology LimitedFlippable electrical connector with concentric inner and outer mating ports
US9484681B2 (en)2013-07-192016-11-01Foxconn Interconnect Technology LimitedFlippable electrical connector
US9490584B2 (en)2013-07-192016-11-08Foxconn Interconnect Technology LimitedFlippable electrical connector
US9490579B2 (en)2013-07-192016-11-08Foxconn Interconnect Technology LimitedFlippable Electrical Connector
US9490595B2 (en)2013-07-192016-11-08Foxconn Interconnect Technology LimitedFlippable electrical connector
US9490594B2 (en)2013-07-192016-11-08Foxconn Interconnect Technology LimitedFlippable electrical connector
US9490549B2 (en)2013-07-192016-11-08Foxconn Interconnect Technology LimitedFlippable electrical connector
US9496662B2 (en)2013-07-192016-11-15Foxconn Interconnect Technology LimitedFlippable electrical connector
US9496654B2 (en)2013-07-192016-11-15Foxconn Interconnect Technology LimitedFlippable electrical connector
US9496664B2 (en)2013-07-192016-11-15Foxconn Interconnect Technology LimitedFlippable electrical connector
US9496653B2 (en)2013-07-192016-11-15Foxconn Interconnect Technology LimitedFlippable electrical connector
US9502821B2 (en)2013-07-192016-11-22Foxconn Interconnect Technology LimitedFlippable electrical connector
CN106159474A (en)*2015-04-282016-11-23昆山全方位电子科技有限公司Surface-mounted USB Type C adapter
US9520677B2 (en)2013-07-192016-12-13Foxconn Interconnect Technology LimitedFlippable electrical connector
US9525223B2 (en)2013-07-192016-12-20Foxconn Interconnect Technology LimitedFlippable electrical connector
US9525227B2 (en)2012-07-212016-12-20Foxconn Interconnect Technology LimitedFlippable electrical connector
CN106329164A (en)*2015-07-012017-01-11东莞莫仕连接器有限公司Cable connector
US9660400B2 (en)2013-07-192017-05-23Foxconn Interconnect Technology LimitedFlippable electrical connector
US9755368B2 (en)2013-07-192017-09-05Foxconn Interconnect Technology LimitedFlippable electrical connector
US9762009B2 (en)2013-07-192017-09-12Foxconn Interconnect Technology LimitedPlug connector insertable in two orientations and having a metallic shield plate with arms with hook structures
CN107437682A (en)*2016-05-272017-12-05连展科技(深圳)有限公司Socket electric connector
US9843148B2 (en)2013-07-192017-12-12Foxconn Interconnect Technology LimitedFlippable electrical connector
US9905944B2 (en)2013-07-192018-02-27Foxconn Interconnect Technology LimitedFlippable electrical connector
US9912111B2 (en)2013-07-192018-03-06Foxconn Interconnect Technology LimitedFlippable electrical connector
US9997853B2 (en)2013-07-192018-06-12Foxconn Interconnect Technology LimitedFlippable electrical connector
CN109088199A (en)*2018-08-132018-12-25东莞联基电业有限公司Performance enhancement type HDMI2.1 connector
US10170870B2 (en)2013-07-192019-01-01Foxconn Interconnect Technology LimitedFlippable electrical connector
CN110474202A (en)*2019-07-252019-11-19深圳市亚力盛电子股份有限公司Connector female seat and connector
US10693261B2 (en)2013-07-192020-06-23Foxconn Interconnect Technology LimitedFlippable electrical connector
US10720734B2 (en)2013-07-192020-07-21Foxconn Interconnect Technology LimitedFlippable electrical connector
US10826255B2 (en)2013-07-192020-11-03Foxconn Interconnect Technology LimitedFlippable electrical connector
US11201438B2 (en)2019-03-272021-12-14Lotes Co., LtdElectrical connector with an outer shielding shell rotatively to an inner shelding shell

Citations (2)

* Cited by examiner, † Cited by third party
Publication numberPriority datePublication dateAssigneeTitle
CN201097426Y (en)*2007-08-102008-08-06富士康(昆山)电脑接插件有限公司 socket electrical connector
CN201430232Y (en)*2009-03-312010-03-24富士康(昆山)电脑接插件有限公司Electric connector

Patent Citations (2)

* Cited by examiner, † Cited by third party
Publication numberPriority datePublication dateAssigneeTitle
CN201097426Y (en)*2007-08-102008-08-06富士康(昆山)电脑接插件有限公司 socket electrical connector
CN201430232Y (en)*2009-03-312010-03-24富士康(昆山)电脑接插件有限公司Electric connector

Cited By (51)

* Cited by examiner, † Cited by third party
Publication numberPriority datePublication dateAssigneeTitle
US9525227B2 (en)2012-07-212016-12-20Foxconn Interconnect Technology LimitedFlippable electrical connector
CN103730749B (en)*2012-10-102016-01-06立讯精密工业(昆山)有限公司Socket connector and pin connector
CN103730749A (en)*2012-10-102014-04-16立讯精密工业(昆山)有限公司Socket connector and plug connector
CN103779732A (en)*2012-10-272014-05-07富士康(昆山)电脑接插件有限公司Electric connector
CN103779732B (en)*2012-10-272017-10-27富士康(昆山)电脑接插件有限公司Electric connector
US9608391B2 (en)2013-07-192017-03-28Foxconn Interconnect Technology LimitedFlippable electrical connector
US9520677B2 (en)2013-07-192016-12-13Foxconn Interconnect Technology LimitedFlippable electrical connector
US9484681B2 (en)2013-07-192016-11-01Foxconn Interconnect Technology LimitedFlippable electrical connector
US9490584B2 (en)2013-07-192016-11-08Foxconn Interconnect Technology LimitedFlippable electrical connector
US9490579B2 (en)2013-07-192016-11-08Foxconn Interconnect Technology LimitedFlippable Electrical Connector
US9490595B2 (en)2013-07-192016-11-08Foxconn Interconnect Technology LimitedFlippable electrical connector
US9490594B2 (en)2013-07-192016-11-08Foxconn Interconnect Technology LimitedFlippable electrical connector
US9490549B2 (en)2013-07-192016-11-08Foxconn Interconnect Technology LimitedFlippable electrical connector
US9496662B2 (en)2013-07-192016-11-15Foxconn Interconnect Technology LimitedFlippable electrical connector
US9496654B2 (en)2013-07-192016-11-15Foxconn Interconnect Technology LimitedFlippable electrical connector
US9496664B2 (en)2013-07-192016-11-15Foxconn Interconnect Technology LimitedFlippable electrical connector
US9496653B2 (en)2013-07-192016-11-15Foxconn Interconnect Technology LimitedFlippable electrical connector
US9502841B2 (en)2013-07-192016-11-22Foxconn Interconnect Technology LimitedFlippable electrical connector
US9502821B2 (en)2013-07-192016-11-22Foxconn Interconnect Technology LimitedFlippable electrical connector
US10826255B2 (en)2013-07-192020-11-03Foxconn Interconnect Technology LimitedFlippable electrical connector
US9748702B2 (en)2013-07-192017-08-29Foxconn Interconnect Technology LimitedFlippable electrical connector
US9525223B2 (en)2013-07-192016-12-20Foxconn Interconnect Technology LimitedFlippable electrical connector
US9472910B2 (en)2013-07-192016-10-18Foxconn Interconnect Technology LimitedFlippable electrical connector
US10720734B2 (en)2013-07-192020-07-21Foxconn Interconnect Technology LimitedFlippable electrical connector
US9583900B2 (en)2013-07-192017-02-28Foxconn Interconnect Technology LimitedFlippable electrical connector
US9466930B2 (en)2013-07-192016-10-11Foxconn Interconnect Technology LimitedFlippable electrical connector
US9660400B2 (en)2013-07-192017-05-23Foxconn Interconnect Technology LimitedFlippable electrical connector
US9472911B2 (en)2013-07-192016-10-18Foxconn Interconnect Technology LimitedFlippable electrical connector with concentric inner and outer mating ports
US9698536B2 (en)2013-07-192017-07-04Foxconn Interconnect Technology LimitedFlippable electrical connector
US10312646B2 (en)2013-07-192019-06-04Foxconn Interconnect Technology LimitedFlippable electrical connector
US9755368B2 (en)2013-07-192017-09-05Foxconn Interconnect Technology LimitedFlippable electrical connector
US9762009B2 (en)2013-07-192017-09-12Foxconn Interconnect Technology LimitedPlug connector insertable in two orientations and having a metallic shield plate with arms with hook structures
US9761995B2 (en)2013-07-192017-09-12Foxconn Interconnect Technology LimitedFlippable Electrical Connector
US10693261B2 (en)2013-07-192020-06-23Foxconn Interconnect Technology LimitedFlippable electrical connector
US9755380B2 (en)2013-07-192017-09-05Foxconn Interconnect Technology LimitedFlippable electrical connector
US9843148B2 (en)2013-07-192017-12-12Foxconn Interconnect Technology LimitedFlippable electrical connector
US9905944B2 (en)2013-07-192018-02-27Foxconn Interconnect Technology LimitedFlippable electrical connector
US9912111B2 (en)2013-07-192018-03-06Foxconn Interconnect Technology LimitedFlippable electrical connector
US9997853B2 (en)2013-07-192018-06-12Foxconn Interconnect Technology LimitedFlippable electrical connector
US10170870B2 (en)2013-07-192019-01-01Foxconn Interconnect Technology LimitedFlippable electrical connector
US10158197B2 (en)2013-07-192018-12-18Foxconn Interconnect Technology LimitedFlippable electrical connector
CN105990718B (en)*2015-01-282019-06-14泰科电子(上海)有限公司 Connector
CN105990718A (en)*2015-01-282016-10-05泰科电子(上海)有限公司Connector
CN106159474A (en)*2015-04-282016-11-23昆山全方位电子科技有限公司Surface-mounted USB Type C adapter
CN106329164B (en)*2015-07-012018-09-14东莞莫仕连接器有限公司Cable connector
CN106329164A (en)*2015-07-012017-01-11东莞莫仕连接器有限公司Cable connector
CN107437682A (en)*2016-05-272017-12-05连展科技(深圳)有限公司Socket electric connector
CN109088199A (en)*2018-08-132018-12-25东莞联基电业有限公司Performance enhancement type HDMI2.1 connector
CN109088199B (en)*2018-08-132024-04-26联基精密电子股份有限公司Performance enhanced HDMI2.1 connector
US11201438B2 (en)2019-03-272021-12-14Lotes Co., LtdElectrical connector with an outer shielding shell rotatively to an inner shelding shell
CN110474202A (en)*2019-07-252019-11-19深圳市亚力盛电子股份有限公司Connector female seat and connector

Similar Documents

PublicationPublication DateTitle
CN102544812A (en)Electric connector
CN201397973Y (en)Electric connector
CN201430232Y (en)Electric connector
CN201430244Y (en)Electric connector
CN101771226B (en)Electric connector
CN102117993B (en)Electric connector
CN102237592B (en)Electric connector
CN204947245U (en)Electric connector
CN101853995B (en)Socket electrical connector
CN204947168U (en)Socket connector
CN106410517A (en)Electric connector and combination thereof
CN201430237Y (en)Electric connector
CN103427263A (en) Docked first connector and second connector
CN104009338A (en)Electrical connector
CN101964470A (en)Electrical connector
CN201355727Y (en) electrical connector
CN100546107C (en)Electric connector
CN107453064A (en)Electric connector
CN201117878Y (en) electrical connector
CN204333335U (en) electrical connector
CN105261892A (en)Electric connector
CN201966371U (en)Cable connector assembly
CN104810690A (en)Electric connector and preparation method thereof
CN201708308U (en)Electric connector
CN104901047A (en)Electric connector

Legal Events

DateCodeTitleDescription
C06Publication
PB01Publication
C10Entry into substantive examination
SE01Entry into force of request for substantive examination
C12Rejection of a patent application after its publication
RJ01Rejection of invention patent application after publication

Application publication date:20120704


[8]ページ先頭

©2009-2025 Movatter.jp