






技术领域technical field
本发明属于光学扫描技术领域,特别涉及到光纤悬臂共振型扫描器的二维栅格式扫描方法。The invention belongs to the technical field of optical scanning, and in particular relates to a two-dimensional grid format scanning method of a fiber cantilever resonant scanner.
背景技术Background technique
基于微型扫描器件的光学仪器在工业探伤、微位移传感、医疗影像技术等领域具有重要应用前景。常用的光学扫描器件有:光学扫描振镜、微型旋转电机、微光机电系统、声光偏转器、多面棱镜转动系统等。在现有扫描器件中,光学扫描振镜和多面棱镜转动系统体积较大,不能内置于内窥探头之中。微型旋转电机只能进行侧向成像。微光机电系统制造工艺复杂,造价昂贵。声光偏转器体积较大,且偏转角度小。Optical instruments based on micro-scanning devices have important application prospects in the fields of industrial flaw detection, micro-displacement sensing, and medical imaging technology. Commonly used optical scanning devices include: optical scanning galvanometer, micro-rotating motor, micro-opto-electromechanical system, acousto-optic deflector, multi-faceted prism rotating system, etc. In existing scanning devices, the optical scanning galvanometer and the multi-faceted prism rotating system are relatively bulky and cannot be built into the endoscopic probe. Tiny rotating motors can only be imaged sideways. Micro-opto-electromechanical systems are complex and expensive to manufacture. The volume of the acousto-optic deflector is relatively large, and the deflection angle is small.
基于光纤悬臂共振的光扫描器结构精简、扫描图像像素数目的大小不受扫描器直径约束、成像结果无蜂巢状网格、柔韧性好,因此获得广泛的关注。已有的光纤悬臂共振扫描结构主要采用四分电极压电陶瓷管进行驱动,它具有体积小、价格低廉、结构精简、无电磁辐射、无摩擦损耗等优点。Optical scanners based on fiber cantilever resonance have a simplified structure, the number of scanned image pixels is not limited by the diameter of the scanner, and the imaging results have no honeycomb grid and good flexibility, so they have attracted widespread attention. The existing fiber cantilever resonance scanning structure is mainly driven by a quarter-electrode piezoelectric ceramic tube, which has the advantages of small size, low price, simple structure, no electromagnetic radiation, and no friction loss.
采用四分电极压电陶瓷管的光纤悬臂共振型扫描器中,比较具有代表性的是2006年Xingde Li等人用分割电极的压电陶瓷管实现的一种二维内窥式光纤扫描探头的方案(M.T.Myaing,D.J.MacDonald,and X.D.Li,Opt.Lett.31,1076,2006),该方案申请了美国专利(Pub.No.:US2004/0254474)。该扫描器的驱动方法为:在两个互相垂直的方向上使用由正弦波调制的正弦波信号进行驱动。两个方向上载波和调制波的振幅和频率均相同、而载波相差90度,这样就使得光纤进行螺旋扫描。驱动信号中,载波频率与光纤悬臂共振频率一致,从而激发光纤悬臂共振,利用共振使得扫描范围数百倍的放大。该探头具有扫描范围大、体积小等优点;但该扫描器在驱动控制和成像效果等方面具有不足。第一,扫描器驱动信号的产生需要采用调整信号源,这就提高了成本。第二,由于采用螺旋扫描,像素分布不均匀,中心密集,外周稀疏。因此在结果图像中,随着远离中心位置的距离的增加,图像质量越来越模糊。针对已有光纤悬臂共振型扫描器扫描方法的缺点,本发明提出了一种二维栅格式扫描方法。该扫描方法具有扫描速度快、轨迹均匀、动态稳定性高、所需的驱动信号容易获取等优势。Among the fiber cantilever resonant scanners using four-divided electrode piezoelectric ceramic tubes, the representative one is a two-dimensional endoscopic fiber optic scanning probe realized by Xingde Li et al. in 2006 using piezoelectric ceramic tubes with split electrodes. Scheme (M.T.Myaing, D.J.MacDonald, and X.D.Li, Opt.Lett.31, 1076, 2006), which has applied for a US patent (Pub.No.: US2004/0254474). The driving method of the scanner is as follows: two mutually perpendicular directions are driven by sinusoidal wave signals modulated by sinusoidal waves. The amplitude and frequency of the carrier wave and modulation wave in the two directions are the same, but the carrier wave is 90 degrees different, which makes the fiber perform helical scanning. In the driving signal, the carrier frequency is consistent with the resonance frequency of the fiber cantilever, thereby exciting the resonance of the fiber cantilever, and the scanning range is enlarged hundreds of times by using the resonance. The probe has the advantages of large scanning range and small volume; however, the scanner has disadvantages in drive control and imaging effects. First, the generation of the scanner driving signal requires the use of an adjusted signal source, which increases the cost. Second, due to the helical scanning, the pixel distribution is uneven, dense in the center and sparse in the periphery. So in the resulting image, the quality of the image becomes more and more blurred as the distance away from the center position increases. Aiming at the shortcomings of the existing fiber cantilever resonant scanner scanning method, the present invention proposes a two-dimensional raster format scanning method. The scanning method has the advantages of fast scanning speed, uniform trajectory, high dynamic stability, and easy acquisition of required driving signals.
发明内容Contents of the invention
本发明的目的在于克服已有光纤悬臂共振型扫描器的不足,基于光纤悬臂共振型扫描器的结构动力学特性,提供一种二维栅格式扫描方法。该扫描方法具有扫描速度快、轨迹均匀、动态稳定性高、所需的驱动信号容易获取等优势。The purpose of the present invention is to overcome the shortcomings of the existing fiber cantilever resonant scanner, and provide a two-dimensional grating scanning method based on the structural dynamic characteristics of the fiber cantilever resonant scanner. The scanning method has the advantages of fast scanning speed, uniform trajectory, high dynamic stability, and easy acquisition of required driving signals.
本发明的技术特征在于:一种光纤悬臂共振型扫描器的二维栅格式扫描方法,包括光纤悬臂,包裹在光纤悬臂外并实现与光纤悬臂联动的光纤悬臂共振型扫描器,和驱动光纤悬臂共振型扫描器振动的驱动信号,所述光纤悬臂共振型扫描器是能够接收驱动信号并驱动光纤悬臂在共振频率附近进行二维振动的扫描器件,构成二维振动的两个互相垂直的方向上的振动互相独立,其特征在于,按如下步骤进行:The technical feature of the present invention is: a two-dimensional grid format scanning method of a fiber cantilever resonance scanner, comprising a fiber cantilever, a fiber cantilever resonance scanner that is wrapped outside the fiber cantilever and realizes linkage with the fiber cantilever, and a driving fiber The driving signal of the vibration of the cantilever resonance type scanner. The fiber cantilever resonance type scanner is a scanning device that can receive the driving signal and drive the fiber optic cantilever to perform two-dimensional vibration near the resonance frequency, forming two mutually perpendicular directions of two-dimensional vibration The vibrations on are independent of each other, and it is characterized in that, proceed as follows:
1)通过基于Euler-Bernoulli Beam理论计算了悬臂的各阶共振频率,得到光纤悬臂共振型扫描器的各阶振动模态和共振频率的仿真值;1) By calculating the resonant frequencies of each order of the cantilever based on the Euler-Bernoulli Beam theory, the simulated values of the vibration modes and resonant frequencies of each order of the fiber cantilever resonant scanner are obtained;
2)根据步骤1)计算得到的各阶振动模态和共振频率的仿真值,进行扫频实验测试并在仿真预测值附近寻找确定实际值的确切位置,寻找确定实际值的方法:为了找到扫描器共振频率,采用正弦信号对扫描器进行驱动并产生共振,将激光耦合到光纤中,用CCD记录光纤末端轨迹。保持驱动信号振幅不变,进行扫频,扫描范围最大时的驱动信号频率确定为共振频率;2) According to the simulated values of vibration modes and resonant frequencies of each order calculated in step 1), carry out the frequency sweep experiment test and find the exact position to determine the actual value near the simulated predicted value, and find the method to determine the actual value: in order to find the The resonance frequency of the scanner is driven by a sinusoidal signal to generate resonance, the laser is coupled into the optical fiber, and the end track of the optical fiber is recorded by a CCD. Keep the amplitude of the driving signal constant, and perform frequency sweeping, and the frequency of the driving signal when the scanning range is the largest is determined as the resonance frequency;
3)根据具体应用中,对成像帧速率的要求,来选择帧扫描也即低阶扫描所采用的阶数,用于在一个方向上进行帧扫描;3) According to the requirements of the imaging frame rate in the specific application, select the order of frame scanning, that is, the order of low-order scanning, for frame scanning in one direction;
4)根据具体应用中,对每帧图像的像素的行数的要求,来选择行扫描也即高阶扫描所采用的阶数,用于在另一个方向上实现行扫描;4) According to the requirements for the number of lines of pixels in each frame of image in the specific application, select the order of line scanning, that is, the order of high-order scanning, for realizing line scanning in another direction;
5)采用两路正弦信号源驱动信号,对扫描器在两个方向上同时驱动,使光纤悬臂产生相应振动,从而进行二维栅格式扫描。5) Two sinusoidal signal source driving signals are used to drive the scanner in two directions at the same time, so that the fiber cantilever vibrates correspondingly, so as to perform two-dimensional raster scanning.
基于Euler-Bernoulli Beam理论计算悬臂的各阶共振频率为:Based on the Euler-Bernoulli Beam theory, the resonant frequencies of each order of the cantilever are calculated as:
其中:r为悬臂直径,L为悬臂长度,Y为杨氏模量,ρ为密度。μ为简正值,可根据coshμgcosμ=-1采用普通数值方法计算。μ有无穷多个数值解,第n阶简正值μn对应n阶共振频率fn。Where: r is the diameter of the cantilever, L is the length of the cantilever, Y is the Young's modulus, and ρ is the density. μ is a normal value, which can be calculated by ordinary numerical method according to coshμgcosμ=-1. There are infinitely many numerical solutions for μ, and the normal value μn of the nth order corresponds to the resonant frequency fn of the nth order.
本发明具有如下特点:The present invention has following characteristics:
1.由于利用光纤共振频率进行帧扫描,因此扫描频率可以非常高,帧频率可达1kHz以上;1. Since the fiber resonance frequency is used for frame scanning, the scanning frequency can be very high, and the frame frequency can reach above 1kHz;
2.通过选择不同的共振模态,可以使同一只扫描器得到不同的扫描成像速度。即,帧频率多档可调;2. By selecting different resonance modes, the same scanner can obtain different scanning imaging speeds. That is, the frame frequency can be adjusted in multiple steps;
3.所需驱动信号为标准正弦信号,容易获取;3. The required driving signal is a standard sinusoidal signal, which is easy to obtain;
4.实现栅格式扫描,图像像素分别均匀,扫描稳定性高。4. Realize raster scanning, the image pixels are uniform, and the scanning stability is high.
附图说明Description of drawings
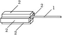
图1为二维压电光纤悬臂共振型扫描器结构示意图。Figure 1 is a schematic diagram of the structure of a two-dimensional piezoelectric fiber cantilever resonance scanner.
图2为本发明的光纤悬臂进行二维栅格式扫描的示意图。Fig. 2 is a schematic diagram of two-dimensional raster scanning performed by the fiber cantilever of the present invention.
图3为本发明的有限元数值计算模拟得到的各阶扫描模态的振动模态图。Fig. 3 is a vibration mode diagram of various order scanning modes obtained by finite element numerical calculation and simulation of the present invention.
图4为本发明产生二维栅格式扫描的驱动信号的示意图。FIG. 4 is a schematic diagram of driving signals for generating two-dimensional raster scanning according to the present invention.
图5为本发明二维栅格式扫描轨迹示意图。FIG. 5 is a schematic diagram of a two-dimensional raster scanning trajectory according to the present invention.
图6为本发明实施例内窥扫描头共振频率分布图。Fig. 6 is a distribution diagram of the resonant frequency of the endoscopic scanning head according to the embodiment of the present invention.
图7为本发明实施例内窥扫描探头实际产生二维栅格式扫描轨迹图。FIG. 7 is a diagram of a two-dimensional raster scanning trajectory actually generated by the endoscopic scanning probe according to an embodiment of the present invention.
图8为本发明实施例光学显微扫描探头实际产生二维栅格式扫描轨迹图。FIG. 8 is a diagram of a two-dimensional raster scanning trajectory actually generated by an optical microscopic scanning probe according to an embodiment of the present invention.
图9为本发明实施例荧光成像系统示意图。Fig. 9 is a schematic diagram of a fluorescence imaging system according to an embodiment of the present invention.
具体实施方法Specific implementation method
以下结合实例和附图对本发明作进一步说明,但不应以此限制本发明的保护范围。The present invention will be further described below in conjunction with example and accompanying drawing, but should not limit protection scope of the present invention with this.
一种光纤悬臂共振型扫描器的二维栅格式扫描方法,包括光纤悬臂,包裹在光纤悬臂外并实现与光纤悬臂联动的光纤悬臂共振型扫描器,和驱动光纤悬臂共振型扫描器振动的驱动信号,所述光纤悬臂共振型扫描器是能够接收驱动信号并驱动光纤悬臂在共振频率附近进行二维振动的扫描器件,构成二维振动的两个互相垂直的方向上的振动互相独立,其特征在于,按如下步骤进行:A two-dimensional grating scanning method for a fiber cantilever resonant scanner, comprising a fiber cantilever, a fiber cantilever resonant scanner wrapped outside the fiber cantilever and linked to the fiber cantilever, and a device for driving the fiber cantilever resonant scanner to vibrate Drive signal, the fiber cantilever resonant scanner is a scanning device that can receive the drive signal and drive the fiber cantilever to vibrate two-dimensionally near the resonant frequency. The vibrations in two mutually perpendicular directions that constitute the two-dimensional vibration are independent of each other, It is characterized in that, proceed as follows:
1)通过基于Euler-Bernoulli Beam理论计算了悬臂的各阶共振频率,得到光纤悬臂共振型扫描器的各阶振动模态和共振频率的仿真值;1) By calculating the resonant frequencies of each order of the cantilever based on the Euler-Bernoulli Beam theory, the simulated values of the vibration modes and resonant frequencies of each order of the fiber cantilever resonant scanner are obtained;
2)根据步骤1)计算得到的各阶振动模态和共振频率的仿真值,进行扫频实验测试并在仿真预测值附近寻找确定实际值的确切位置,寻找确定实际值的方法:为了找到扫描器共振频率,采用正弦信号对扫描器进行驱动并产生共振,将激光耦合到光纤中,用CCD记录光纤末端轨迹。保持驱动信号振幅不变,进行扫频,扫描范围最大时的驱动信号频率确定为共振频率;2) According to the simulated values of vibration modes and resonant frequencies of each order calculated in step 1), carry out the frequency sweep experiment test and find the exact position to determine the actual value near the simulated predicted value, and find the method to determine the actual value: in order to find the The resonance frequency of the scanner is driven by a sinusoidal signal to generate resonance, the laser is coupled into the optical fiber, and the end track of the optical fiber is recorded by a CCD. Keep the amplitude of the driving signal constant, and perform frequency sweeping, and the frequency of the driving signal when the scanning range is the largest is determined as the resonance frequency;
3)根据具体应用中,对成像帧速率的要求,来选择帧扫描也即低阶扫描所采用的阶数,用于在一个方向上进行帧扫描;3) According to the requirements of the imaging frame rate in the specific application, select the order of frame scanning, that is, the order of low-order scanning, for frame scanning in one direction;
4)根据具体应用中,对每帧图像的像素的行数的要求,来选择行扫描也即高阶扫描所采用的阶数,用于在另一个方向上实现行扫描;4) According to the requirements for the number of lines of pixels in each frame of image in the specific application, select the order of line scanning, that is, the order of high-order scanning, for realizing line scanning in another direction;
5)采用两路正弦信号源驱动信号,对扫描器在两个方向上同时驱动,使光纤悬臂产生相应振动,从而进行二维栅格式扫描。5) Two sinusoidal signal source driving signals are used to drive the scanner in two directions at the same time, so that the fiber cantilever vibrates correspondingly, so as to perform two-dimensional raster scanning.
所述的光纤悬臂共振型扫描器,可以是任何能够驱动光纤悬臂在共振频率附近进行二维振动,并且两个互相垂直的方向上的振动互相独立的扫描器件。The fiber cantilever resonant scanner can be any scanning device that can drive the fiber cantilever to vibrate two-dimensionally near the resonant frequency, and the vibrations in two mutually perpendicular directions are independent of each other.
光纤悬臂共振型扫描器利用光纤悬臂的共振效应实现扫描功能,当光纤悬臂在两个方向上同时振动时,即实现二维扫描。通过有限元仿真计算以及物理实验测量,我们研究发现,光纤悬臂的共振频率不是仅仅只有一个,而是具有一系列按照一定规律分布的不同的振动模态。在不同的模态振动时,振动频率不同,因此可以利用振动模态的不同来驱使光纤悬臂进行不同频率的扫描。那么,对于可以在两个垂直的方向上各自独立的驱动光纤悬臂进行振动的扫描器件,就能够在两个方向上进行不同频率的共振扫描。The fiber cantilever resonance scanner uses the resonance effect of the fiber cantilever to realize the scanning function. When the fiber cantilever vibrates in two directions simultaneously, it realizes two-dimensional scanning. Through finite element simulation calculation and physical experiment measurement, we found that the resonant frequency of the fiber cantilever is not just one, but has a series of different vibration modes distributed according to certain rules. When vibrating in different modes, the vibration frequency is different, so the different vibration modes can be used to drive the fiber cantilever to scan at different frequencies. Then, for a scanning device that can independently drive the fiber cantilever to vibrate in two perpendicular directions, resonance scanning at different frequencies can be performed in two directions.
光纤悬臂的总体运动由两个互相垂直方向上运动的矢量和构成。光纤悬臂在两个互相垂直的方向上分别进行不同阶模态的共振。低阶模态共振频率慢,进行帧扫描;高阶模态共振频率快,进行行扫描。因此,光纤悬臂同时在两个互相垂直的方向上实现帧扫描和行扫描,从而实现二维栅格式扫描方式。The overall motion of the fiber cantilever consists of the vector sum of two mutually perpendicular motions. The fiber cantilever resonates in different modes in two mutually perpendicular directions. The resonance frequency of the low-order mode is slow, and the frame scan is performed; the resonance frequency of the high-order mode is fast, and the line scan is performed. Therefore, the fiber cantilever realizes frame scanning and line scanning in two mutually perpendicular directions at the same time, thereby realizing a two-dimensional raster scanning mode.
采用有限元方法进行数值模拟计算,得到光纤悬臂共振型扫描器的各阶振动模态和共振频率的仿真值。通过扫频实验测试,进一步确定扫描幅度出现的各个峰值位置所处频率为各阶共振模态的共振频率。根据所需的成像帧频率选择低阶模态;再根据帧频率和每帧图像中所需的像素行数选择高阶模态。The finite element method is used for numerical simulation calculation, and the simulation values of each order vibration mode and resonance frequency of the fiber cantilever resonant scanner are obtained. Through the frequency sweep experiment test, it is further determined that the frequency of each peak position of the sweep amplitude is the resonant frequency of each resonant mode. The lower order modality is selected based on the desired imaging frame frequency; the higher order modality is selected based on the frame frequency and the desired number of pixel rows in each image frame.
采用正弦信号驱动光纤悬臂在两个方向谐振。慢扫描频率在选中的低阶模态的共振频率附近取值,快扫描频率在选中的高阶模态的共振频率附近取值,两者的取值保证快扫描频率为慢扫描频率的整数倍,这个倍数决定了每帧图像所包含像素的行数。慢扫描的每半个正弦周期实现一帧的扫描;快扫描的每半个正弦周期实现一行的扫描。采用同步脉冲触发,使得两个方向上的驱动信号同步开始,以保证两个方向的振动能够匹配。A sinusoidal signal is used to drive the fiber cantilever to resonate in two directions. The slow scan frequency takes a value near the resonance frequency of the selected low-order mode, and the fast scan frequency takes a value near the resonance frequency of the selected high-order mode. The values of the two ensure that the fast scan frequency is an integer multiple of the slow scan frequency. The multiplier determines the number of rows of pixels contained in each frame of the image. Every half sinusoidal period of slow scan realizes one frame scan; every half sinusoidal period of fast scan realizes one row of scan. Synchronous pulse triggering is adopted, so that the driving signals in the two directions start synchronously, so as to ensure that the vibrations in the two directions can be matched.
基于Euler-Bernoulli Beam理论计算悬臂的各阶共振频率为:Based on the Euler-Bernoulli Beam theory, the resonant frequencies of each order of the cantilever are calculated as:
其中:r为悬臂直径,L为悬臂长度,Y为杨氏模量,ρ为密度。μ为简正值,可根据coshμgcosμ=-1采用普通数值方法计算。μ有无穷多个数值解,第n阶简正值μn对应n阶共振频率fn。Where: r is the diameter of the cantilever, L is the length of the cantilever, Y is the Young's modulus, and ρ is the density. μ is a normal value, which can be calculated by ordinary numerical method according to coshμgcosμ=-1. There are infinitely many numerical solutions for μ, and the normal value μn of the nth order corresponds to the resonant frequency fn of the nth order.
具体实施过程如下:The specific implementation process is as follows:
以二维压电光纤悬臂共振型扫描器作为实现二维栅格式扫描的器件。实施例中采用的二维压电光纤悬臂共振型扫描器如图1所示,包括一段光纤1和四片压电陶瓷2,四片压电陶瓷包裹一段光纤,将四片压电陶瓷块的两头粘在光纤周围并露出一段光纤悬臂。A two-dimensional piezoelectric fiber cantilever resonant scanner is used as a device to realize two-dimensional raster scanning. The two-dimensional piezoelectric fiber cantilever resonant scanner used in the embodiment is shown in Figure 1. It includes a section of optical fiber 1 and four pieces of
光纤悬臂进行二维栅格式扫描的示意图如图2所示,光纤悬臂一端固定在扫描器上由驱动结构(本实施例中为压电片)激发振动,悬臂另一端为自由端,自由端由于振动产生扫描。可以通过以下方法实现二维栅格式扫描:The schematic diagram of the two-dimensional raster scanning of the fiber cantilever is shown in Figure 2. One end of the fiber cantilever is fixed on the scanner and the vibration is excited by the drive structure (a piezoelectric film in this embodiment), and the other end of the cantilever is a free end. Scanning occurs due to vibration. Two-dimensional raster scanning can be realized by the following methods:
1.扫描器具有一系列共振模态,图3显示扫描器的前三阶悬臂共振模态的振型。通过数值模拟计算,获取各阶模态的共振频率。1. The scanner has a series of resonant modes, Figure 3 shows the mode shapes of the first three cantilever resonant modes of the scanner. Through numerical simulation calculation, the resonance frequency of each mode is obtained.
2.根据有限元计算结果,进行实验测试,在仿真预测值附近寻找确定实际值的确切位置。2. According to the finite element calculation results, carry out experimental tests, and find the exact position to determine the actual value near the simulated predicted value.
3.根据应用场合,选择合适的低阶振动模态,用于在一个方向上进行帧扫描。3. According to the application, select the appropriate low-order vibration mode for frame scanning in one direction.
4.根据对图像像素数目大小的要求,选择合适的高阶振动模态,用于在另一个方向上实现行扫描。4. According to the requirement for the number of image pixels, select an appropriate high-order vibration mode for realizing line scanning in another direction.
5.采用两路正弦信号源,对扫描器在两个方向上同时驱动(如图4),使光纤悬臂进行二维栅格式扫描(如图5)。5. Use two sinusoidal signal sources to drive the scanner in two directions simultaneously (as shown in Figure 4), so that the fiber cantilever performs two-dimensional raster scanning (as shown in Figure 5).
实施例一:采用二维栅格式扫描方法的内窥扫描头Embodiment 1: Endoscopic scanning head adopting two-dimensional raster scanning method
通过有限元模拟计算,可以仿真预测光纤悬臂扫描器各阶共振模态所出现的频率。有了仿真预测值,再进行实验测试确定实际值的确切位置。为了找到扫描器共振频率,我们采用正弦信号对扫描器进行驱动并产生共振。632nm激光耦合到光纤中,用CCD(电荷耦合器件)记录光纤末端轨迹。保持驱动信号振幅不变,进行扫频,扫描范围最大时的驱动信号频率确定为共振频率。Through the finite element simulation calculation, the frequency of each resonance mode of the fiber cantilever scanner can be simulated and predicted. With the simulated predicted value, the experimental test is carried out to determine the exact location of the actual value. In order to find the scanner resonance frequency, we use a sinusoidal signal to drive the scanner and generate resonance. The 632nm laser is coupled into the optical fiber, and the track of the end of the optical fiber is recorded by a CCD (charge-coupled device). Keeping the amplitude of the driving signal constant, the frequency sweep is carried out, and the frequency of the driving signal at the maximum scanning range is determined as the resonance frequency.
对于内窥检测这一应用,所需的扫描器要求体积较小,体积小才能够容易的进入生物体内。采用一只直径约2mm的压电光纤悬臂共振型扫描器实现二维栅格式扫描方法。被测扫描器中,悬臂采用单模光纤,直径125μm、长16mm。单模光纤是光纤悬臂共振型扫描器中光纤悬臂材料的常用选择,为了降低光纤硬度以获得较大扫描范围,这里的单模光纤被去除了涂层。为了研究不同阶振动模态下的特性,保持驱动信号20V峰峰值进行扫频。通过调整驱动信号频率,可以有效的选择扫描器的共振模态。在有限元模型预测的各阶共振频率附近,出现了扫描范围的峰值。前十阶悬臂振动模态的扫描范围可以清楚地被CCD记录。这前十阶共振频率跨越较大范围,从400Hz到100kHz,如图6所示。For the application of endoscopic detection, the required scanner needs to be small in size so that it can easily enter the living body. A piezoelectric fiber cantilever resonant scanner with a diameter of about 2 mm is used to realize the two-dimensional raster scanning method. In the scanner under test, the cantilever uses a single-mode fiber with a diameter of 125 μm and a length of 16 mm. Single-mode fiber is a common choice for fiber cantilever material in fiber cantilever resonance scanners. In order to reduce the fiber stiffness to obtain a larger scanning range, the single-mode fiber here is decoated. In order to study the characteristics of different order vibration modes, keep the peak-to-peak value of the driving signal at 20V for frequency sweeping. By adjusting the frequency of the driving signal, the resonance mode of the scanner can be effectively selected. The peak of the scanning range appears near the resonant frequency of each order predicted by the finite element model. The scanning range of the first ten cantilever vibration modes can be clearly recorded by the CCD. These first ten resonant frequencies span a wide range, from 400Hz to 100kHz, as shown in Figure 6.
如果在一个方向上取一阶模态共振,与之垂直的另一个方向取十阶模态共振。帧扫描(即慢扫描)频率在一阶共振频率附近取值378Hz,行扫描(即快扫描)频率在十阶共振频率附近取值116.802kHz。慢扫描的每半个正弦周期实现一帧的扫描;快扫描的每半个正弦周期实现一行的扫描。那么,扫描的帧频率可达756Hz,每帧像素行数可达309行。If the first-order modal resonance is taken in one direction, the tenth-order modal resonance is taken in the other direction perpendicular to it. The frequency of frame scanning (that is, slow scanning) takes a value of 378 Hz near the first-order resonance frequency, and the frequency of line scanning (that is, fast scanning) takes a value of 116.802 kHz near the tenth-order resonance frequency. Every half sinusoidal period of slow scan realizes one frame scan; every half sinusoidal period of fast scan realizes one row of scan. Then, the scanning frame frequency can reach 756Hz, and the number of pixel lines per frame can reach 309 lines.
为了直观的显示扫描轨迹,将激光耦合到光纤中,用CCD记录光纤末端轨迹。选择较低的行扫描频率,这样每帧扫描中,行扫描轨迹之间就可以被清楚的分开。帧扫描(即慢扫描)频率在一阶共振频率附近取值378Hz,行扫描(即快扫描)频率在四阶共振频率附近取值12.474kHz。那么,扫描的帧频率为756Hz,每帧33行(如图7所示)。In order to visually display the scanning track, the laser is coupled into the optical fiber, and the track at the end of the optical fiber is recorded by a CCD. Select a lower line scan frequency, so that in each frame scan, the line scan traces can be clearly separated. The frequency of frame scanning (that is, slow scanning) takes a value of 378 Hz near the first-order resonance frequency, and the frequency of line scanning (that is, fast scanning) takes a value of 12.474 kHz near the fourth-order resonance frequency. Then, the scanning frame frequency is 756Hz, and each frame has 33 lines (as shown in FIG. 7 ).
实施例二:采用二维栅格式扫描方法的光学显微扫描头Embodiment 2: An optical microscope scanning head using a two-dimensional grid format scanning method
对于光学显微成像扫描,可以采用较大尺寸扫描器,这样可以得到较大范围的扫描范围。在实验所用的二维压电光纤悬臂共振型扫描器中,光纤悬臂采用带涂层的单模光纤,直径250μm、长85mm。去除了涂层的裸纤非常脆弱,在悬臂较长时很容易折断,因此该扫描器中光纤悬臂保留了涂层。由于光纤保留了涂层,这使得光纤硬度较裸纤更大,因此共振频率较高。根据数值模拟计算,该扫描器前十阶共振模态的扫描频率分别为:For optical microscopic imaging scanning, a larger-sized scanner can be used, so that a larger scanning range can be obtained. In the two-dimensional piezoelectric fiber cantilever resonant scanner used in the experiment, the fiber cantilever uses a coated single-mode fiber with a diameter of 250 μm and a length of 85 mm. The bare fiber with the coating removed is very fragile and can easily break when the cantilever is long, so the fiber cantilever in this scanner retains the coating. Since the fiber retains the coating, this makes the fiber stiffer than the bare fiber and therefore has a higher resonant frequency. According to numerical simulation calculations, the scanning frequencies of the first ten resonance modes of the scanner are:
为了直观的显示扫描轨迹,帧扫描(即慢扫描)频率在一阶共振频率附近取值,行扫描(即快扫描)频率在四阶共振频率附近取值。那么帧扫描就在9.5Hz左右,行扫描就在350Hz左右。尽量要让两者之间为整数倍,这样得到的轨迹会比较稳定。取帧频率9Hz,行频率351Hz。每个帧周期有39个行周期。对于成像,每半个周期就是一帧。每半个帧周期里有19.5个行周期,每个行周期有两行。因此每帧39行。用CCD记录的该扫描器的栅格式扫描轨迹如图8。在实际运用中,可以选取更高阶的共振作为帧扫描,这样可以得到更快的帧速率;还可以选取更高阶的共振作为行扫描,这样可以得到更大的像素行数。In order to intuitively display the scan trajectory, the frame scan (ie slow scan) frequency takes a value near the first-order resonance frequency, and the row scan (ie fast scan) frequency takes a value near the fourth-order resonance frequency. Then the frame scan is around 9.5Hz, and the line scan is around 350Hz. Try to make the two integer multiples, so that the obtained trajectory will be more stable. The frame frequency is 9Hz, and the line frequency is 351Hz. Each frame period has 39 line periods. For imaging, each half cycle is a frame. There are 19.5 line periods in each half frame period, and each line period has two lines. So 39 lines per frame. The raster scanning track of the scanner recorded by CCD is shown in Fig. 8 . In practical application, higher order resonance can be selected as frame scan, so that a faster frame rate can be obtained; higher order resonance can also be selected as line scan, so that a larger number of pixel rows can be obtained.
实施例三:采用二维栅格式扫描方法的荧光成像系统Embodiment 3: Fluorescence imaging system using two-dimensional grid format scanning method
采用二维栅格式扫描方法的荧光成像系统的示意图如图9所示:A schematic diagram of a fluorescence imaging system using a two-dimensional grid format scanning method is shown in Figure 9:
1.将压电光纤悬臂共振型扫描器和自聚焦透镜固定在硬质管内构成成像探头。1. Fix the piezoelectric fiber cantilever resonance scanner and self-focusing lens in the hard tube to form the imaging probe.
2.压电光纤悬臂共振型扫描器被驱动进行二维栅格式扫描。2. The piezoelectric fiber cantilever resonant scanner is driven to scan in a two-dimensional raster format.
3.探头外有保护层,保护安置系统与探头之间连接部分的光纤和压电振子的电极线。保护层选用聚四氟乙烯管。聚四氟乙烯管具有优良的耐腐蚀性能和良好的刚性,并能耐冲击、振动和扭曲的特性。3. There is a protective layer outside the probe to protect the optical fiber and the electrode wire of the piezoelectric vibrator in the connection between the placement system and the probe. The protective layer is made of polytetrafluoroethylene tube. PTFE pipe has excellent corrosion resistance and good rigidity, and can withstand shock, vibration and twisting characteristics.
4.不锈钢毛细管加工切割作为探头壁。4. The stainless steel capillary is processed and cut as the probe wall.
5.在光纤的非扫描端,采用633nm氦氖激光器作为扫描的照明光源,激光由一个10×、0.25NA的物镜耦合到单模光纤中。5. At the non-scanning end of the fiber, a 633nm He-Ne laser is used as the scanning illumination source, and the laser is coupled into the single-mode fiber by a 10×, 0.25NA objective lens.
6.通过半透半反镜分离反射信号,并采用光电倍增管采集。6. Separate the reflection signal through the half mirror and collect it with a photomultiplier tube.
7.将封装后的光纤扫描探头插入到生物体内即可进行内窥荧光成像。7. Insert the packaged optical fiber scanning probe into the living body to perform endoscopic fluorescence imaging.
最后所应说明的是,以上具体实施方式仅用以说明本发明的技术方案而非限制,尽管参照较佳实施例对本发明进行了详细说明,本领域的普通技术人员应当理解,可以对本发明的技术方案进行修改或者等同替换,而不脱离本发明技术方案的精神和范围,其均应涵盖在本发明的权利要求范围当中。Finally, it should be noted that the above specific embodiments are only used to illustrate the technical solutions of the present invention and not limit them. Although the present invention has been described in detail with reference to preferred embodiments, those skilled in the art should understand that the present invention can be Modifications or equivalent replacements of the technical solutions without departing from the spirit and scope of the technical solutions of the present invention shall fall within the scope of the claims of the present invention.
| Application Number | Priority Date | Filing Date | Title |
|---|---|---|---|
| CN201110437262.0ACN102525384B (en) | 2011-12-23 | 2011-12-23 | Two-dimensional grid-type scanning method adopting optical fiber cantilever resonance-type scanner |
| Application Number | Priority Date | Filing Date | Title |
|---|---|---|---|
| CN201110437262.0ACN102525384B (en) | 2011-12-23 | 2011-12-23 | Two-dimensional grid-type scanning method adopting optical fiber cantilever resonance-type scanner |
| Publication Number | Publication Date |
|---|---|
| CN102525384Atrue CN102525384A (en) | 2012-07-04 |
| CN102525384B CN102525384B (en) | 2014-06-18 |
| Application Number | Title | Priority Date | Filing Date |
|---|---|---|---|
| CN201110437262.0AExpired - Fee RelatedCN102525384B (en) | 2011-12-23 | 2011-12-23 | Two-dimensional grid-type scanning method adopting optical fiber cantilever resonance-type scanner |
| Country | Link |
|---|---|
| CN (1) | CN102525384B (en) |
| Publication number | Priority date | Publication date | Assignee | Title |
|---|---|---|---|---|
| CN104856633A (en)* | 2015-06-03 | 2015-08-26 | 福建师范大学 | Miniaturized probe-type multiple-photon endoscope probe |
| CN106841141A (en)* | 2017-01-26 | 2017-06-13 | 浙江大学 | A kind of fiber optic loop battle array resonance type piezoelectric scanning method and device based on photon restructuring |
| CN107405044A (en)* | 2015-03-12 | 2017-11-28 | 奥林巴斯株式会社 | Sweep type endoscopic system |
| CN108027424A (en)* | 2015-09-18 | 2018-05-11 | 高通股份有限公司 | Implementation of a focal plane 2D APD array for the HYPERION LIDAR system |
| CN108803010A (en)* | 2017-12-07 | 2018-11-13 | 成都理想境界科技有限公司 | A kind of method and device promoting optical fiber scanning image quality |
| CN109283683A (en)* | 2018-10-15 | 2019-01-29 | 成都理想境界科技有限公司 | A kind of fibre optic scanner of large vibration amplitude |
| WO2019154117A1 (en)* | 2018-02-09 | 2019-08-15 | 成都理想境界科技有限公司 | Optical fiber scanner, optical fiber scanning device and optical fiber scanning apparatus |
| CN110873961A (en)* | 2018-08-31 | 2020-03-10 | 成都理想境界科技有限公司 | Optical fiber scanning display device, optical fiber scanning display equipment and optical fiber scanning method |
| CN111338077A (en)* | 2018-12-19 | 2020-06-26 | 成都理想境界科技有限公司 | Optical fiber scanner, optical fiber scanning system and driving method |
| CN112731655A (en)* | 2017-07-06 | 2021-04-30 | 成都理想境界科技有限公司 | Optical fiber scanner and optical fiber scanning imaging system |
| CN114967112A (en)* | 2022-05-12 | 2022-08-30 | 南京航空航天大学 | Piezoelectric vibration scanning device, control method and analysis method |
| WO2023040398A1 (en)* | 2021-09-18 | 2023-03-23 | 成都理想境界科技有限公司 | Scanning device, driving condition setting method, and scanning display module |
| Publication number | Priority date | Publication date | Assignee | Title |
|---|---|---|---|---|
| US20040254474A1 (en)* | 2001-05-07 | 2004-12-16 | Eric Seibel | Optical fiber scanner for performing multimodal optical imaging |
| CN101241040A (en)* | 2007-04-29 | 2008-08-13 | 长飞光纤光缆有限公司 | Optical fiber test analysis and automatic processing method and equipment for screening and cutting |
| CN101444416A (en)* | 2008-12-26 | 2009-06-03 | 华中科技大学 | Fiber-optic scanning head and driving method thereof |
| Publication number | Priority date | Publication date | Assignee | Title |
|---|---|---|---|---|
| US20040254474A1 (en)* | 2001-05-07 | 2004-12-16 | Eric Seibel | Optical fiber scanner for performing multimodal optical imaging |
| CN101241040A (en)* | 2007-04-29 | 2008-08-13 | 长飞光纤光缆有限公司 | Optical fiber test analysis and automatic processing method and equipment for screening and cutting |
| CN101444416A (en)* | 2008-12-26 | 2009-06-03 | 华中科技大学 | Fiber-optic scanning head and driving method thereof |
| Publication number | Priority date | Publication date | Assignee | Title |
|---|---|---|---|---|
| CN107405044A (en)* | 2015-03-12 | 2017-11-28 | 奥林巴斯株式会社 | Sweep type endoscopic system |
| CN104856633A (en)* | 2015-06-03 | 2015-08-26 | 福建师范大学 | Miniaturized probe-type multiple-photon endoscope probe |
| CN108027424A (en)* | 2015-09-18 | 2018-05-11 | 高通股份有限公司 | Implementation of a focal plane 2D APD array for the HYPERION LIDAR system |
| US11846730B2 (en) | 2015-09-18 | 2023-12-19 | Qualcomm Incorporated | Implementation of the focal plane 2D APD array for hyperion Lidar system |
| CN108027424B (en)* | 2015-09-18 | 2022-05-10 | 高通股份有限公司 | Embodiments of focal plane 2D APD arrays for HYPERION LIDAR systems |
| CN106841141A (en)* | 2017-01-26 | 2017-06-13 | 浙江大学 | A kind of fiber optic loop battle array resonance type piezoelectric scanning method and device based on photon restructuring |
| CN112731655A (en)* | 2017-07-06 | 2021-04-30 | 成都理想境界科技有限公司 | Optical fiber scanner and optical fiber scanning imaging system |
| CN108803010A (en)* | 2017-12-07 | 2018-11-13 | 成都理想境界科技有限公司 | A kind of method and device promoting optical fiber scanning image quality |
| WO2019154117A1 (en)* | 2018-02-09 | 2019-08-15 | 成都理想境界科技有限公司 | Optical fiber scanner, optical fiber scanning device and optical fiber scanning apparatus |
| CN110873961A (en)* | 2018-08-31 | 2020-03-10 | 成都理想境界科技有限公司 | Optical fiber scanning display device, optical fiber scanning display equipment and optical fiber scanning method |
| CN110873961B (en)* | 2018-08-31 | 2022-03-04 | 成都理想境界科技有限公司 | Optical fiber scanning display device, optical fiber scanning display equipment and optical fiber scanning method |
| CN109283683B (en)* | 2018-10-15 | 2023-01-03 | 成都理想境界科技有限公司 | Optical fiber scanner with large vibration amplitude |
| CN109283683A (en)* | 2018-10-15 | 2019-01-29 | 成都理想境界科技有限公司 | A kind of fibre optic scanner of large vibration amplitude |
| CN111338077A (en)* | 2018-12-19 | 2020-06-26 | 成都理想境界科技有限公司 | Optical fiber scanner, optical fiber scanning system and driving method |
| WO2023040398A1 (en)* | 2021-09-18 | 2023-03-23 | 成都理想境界科技有限公司 | Scanning device, driving condition setting method, and scanning display module |
| CN114967112A (en)* | 2022-05-12 | 2022-08-30 | 南京航空航天大学 | Piezoelectric vibration scanning device, control method and analysis method |
| Publication number | Publication date |
|---|---|
| CN102525384B (en) | 2014-06-18 |
| Publication | Publication Date | Title |
|---|---|---|
| CN102525384A (en) | Two-dimensional grid-type scanning method adopting optical fiber cantilever resonance-type scanner | |
| CN101923218B (en) | Single-fiber scanning micro-device, preparation method and control method | |
| JP5911238B2 (en) | Optical scanning device and endoscope, microscope, and projector provided with the same | |
| CN101444416B (en) | An optical fiber scanning probe and its driving method | |
| CN103189778B (en) | Structured lighting device, structured lighting microscopie unit and face shape measuring apparatus | |
| JP2020114619A (en) | System and method for micro-cantilever actuation with base excitation | |
| CN105899120B (en) | The computational methods and light scanning apparatus of the scanning track of light | |
| JP2009075309A (en) | Optical scanning element, driving method thereof, and optical scanning probe using optical scanning element | |
| KR20080087582A (en) | 2-axis driven electromagnetic actuator | |
| CN104981724A (en) | Optical Scanning Observation Device | |
| KR102555734B1 (en) | Image calibration algorithm based on lissajous scanning | |
| JP2012231911A (en) | Optical scanner and scan type observation device | |
| Ma et al. | Experimental research on the influence of different curved rigid boundaries on electric spark bubbles | |
| Malladi et al. | Investigation of propulsive characteristics due to traveling waves in continuous finite media | |
| CN207976649U (en) | A kind of optical fiber scanning driver connection structure and fibre-optic scanner | |
| TW201317624A (en) | Micro-projector, control signal for a micro-projector and method for generating the same | |
| Duan et al. | A two-axis water-immersible micro scanning mirror using hybrid polymer and elastomer hinges | |
| JP6866309B2 (en) | An acoustic-optical deflector having a layered structure and a method of deflecting a light beam using the deflector. | |
| Cui et al. | Spatial galloping behavior of iced conductors under multimodal coupling | |
| Li et al. | Scanning properties of a resonant fiber-optic piezoelectric scanner | |
| CN105848554A (en) | Optical scanning-type image forming device and optical scanning image forming method | |
| CN101511272B (en) | Ultrasonic diagnostic device | |
| Li et al. | Note: a resonant fiber-optic piezoelectric scanner achieves a raster pattern by combining two distinct resonances | |
| JP4195540B2 (en) | Method for visualizing longitudinal vibration in solid and apparatus for visualizing longitudinal vibration in solid | |
| JP2013160990A (en) | Optical scanner |
| Date | Code | Title | Description |
|---|---|---|---|
| C06 | Publication | ||
| PB01 | Publication | ||
| C10 | Entry into substantive examination | ||
| SE01 | Entry into force of request for substantive examination | ||
| C53 | Correction of patent of invention or patent application | ||
| CB03 | Change of inventor or designer information | Inventor after:Fu Ling Inventor after:Li Zhi Inventor after:Zeng Shaoqun Inventor after:Luo Qingming Inventor after:Yang Zhe Inventor before:Li Zhi | |
| COR | Change of bibliographic data | Free format text:CORRECT: INVENTOR; FROM: LI ZHI TO: FU LING LI ZHI CENG SHAOQUN LUO QINGMING YANG ZHE | |
| C14 | Grant of patent or utility model | ||
| GR01 | Patent grant | ||
| CF01 | Termination of patent right due to non-payment of annual fee | Granted publication date:20140618 | |
| CF01 | Termination of patent right due to non-payment of annual fee |