Movatterモバイル変換


[0]ホーム

URL:


CN102509511A - Rapid map making system based on GIS (Geographic Information System) data - Google Patents

Rapid map making system based on GIS (Geographic Information System) data
Download PDF

Info

Publication number
CN102509511A
CN102509511ACN2011103803713ACN201110380371ACN102509511ACN 102509511 ACN102509511 ACN 102509511ACN 2011103803713 ACN2011103803713 ACN 2011103803713ACN 201110380371 ACN201110380371 ACN 201110380371ACN 102509511 ACN102509511 ACN 102509511A
Authority
CN
China
Prior art keywords
map
module
symbol
data
gis
Prior art date
Legal status (The legal status is an assumption and is not a legal conclusion. Google has not performed a legal analysis and makes no representation as to the accuracy of the status listed.)
Granted
Application number
CN2011103803713A
Other languages
Chinese (zh)
Other versions
CN102509511B (en
Inventor
蔡忠亮
蒋维杰
翁敏
李雅彦
罗康
解智强
Current Assignee (The listed assignees may be inaccurate. Google has not performed a legal analysis and makes no representation or warranty as to the accuracy of the list.)
Wuhan University WHU
Original Assignee
Wuhan University WHU
Priority date (The priority date is an assumption and is not a legal conclusion. Google has not performed a legal analysis and makes no representation as to the accuracy of the date listed.)
Filing date
Publication date
Application filed by Wuhan University WHUfiledCriticalWuhan University WHU
Priority to CN 201110380371priorityCriticalpatent/CN102509511B/en
Publication of CN102509511ApublicationCriticalpatent/CN102509511A/en
Application grantedgrantedCritical
Publication of CN102509511BpublicationCriticalpatent/CN102509511B/en
Expired - Fee Relatedlegal-statusCriticalCurrent
Anticipated expirationlegal-statusCritical

Links

Images

Landscapes

Abstract

Translated fromChinese

本发明公开一种基于GIS数据的快速地图制图系统,将GIS数据转换成面向制图出版的高精度地图数据格式的制图数据,充分利用GIS数据中的丰富语义信息以及制图系统中预定义的制图规则,完成数据转换过程中制图数据的智能化预处理,包括原始GIS数据读取模块、符号库构建模块、图面设计知识库模块、要素冲突处理知识库模块、制图规则提供模块、地图数据生成模块和地图文件输入输出模块。采用本发明进行GIS数据到制图数据的转换,可在地图制图编辑前的完成大量制图数据的预处理工作,缩短了数字地图制图周期,提高了基于GIS数据的地图制图效率和质量。

The invention discloses a fast map drawing system based on GIS data, which converts GIS data into drawing data in a high-precision map data format oriented to drawing and publishing, and makes full use of the rich semantic information in the GIS data and the predefined drawing rules in the drawing system , to complete the intelligent preprocessing of cartographic data during the data conversion process, including the original GIS data reading module, the symbol library construction module, the graphic design knowledge base module, the feature conflict processing knowledge base module, the cartography rule provision module, and the map data generation module and map file input and output modules. The conversion from GIS data to cartography data by the present invention can complete the preprocessing work of a large amount of cartography data before map cartography editing, shorten the digital map cartography cycle, and improve the efficiency and quality of map cartography based on GIS data.

Description

Quick map making system based on the GIS data
Technical field
The present invention relates to the digital mapping field, especially relate to a kind of quick map making system based on the GIS data.
Background technology
Traditional map making is directly on paper material, to draw through manual, and this plotting mode not only efficient is extremely low, and revises difficulty, and map upgrades more wastes time and energy.The development of Along with computer technology.Computerized mapping has progressively substituted manual drawing, a large amount of Map Design and graphics software have also just occurred, such as CorelDraw, and Illustrator, Supermap etc.Computer-assisted cartography is to draw data as the digital cartography basis with the fundamental line of surveying and mapping data (measurement data or GIS data); Saved the lot of data collecting work; Not only improved data production efficiency; And accelerated Data Update speed, and to compare with tradition drawing pattern, the numerical map production cycle has shortened greatly.The GIS data are geographical spatial datas.Yet; Fast development along with observation technology, GIS (geographic information system technology) etc.; The collection of geography information, storage, analysis, application be being integrally formed gradually; The collection of spatial information and storage organization mode from before single spatial information (data) gather, develop into the integrated collection of present spatial information and attribute information and the pattern of tissue, the GIS data (like the data of Software Production such as ArcGIS) that comprise a large amount of semantic informations have become the general data source of map making.Thisly draw the digital cartography process of data as basic data with line; Existing graphics software has only utilized the line of GIS data to draw information (volume coordinate information), has but ignored the semantic information (like element category, element relationship etc.) of a large amount of raw data (GIS data).Owing to lacked the control of semantic information and cartographic convention; The GIS data can only exist as the coordinate skeleton in graphics software; Add the symbol incompatibility problem of GIS software and graphics software; And change the problem etc. of losing that line is drawn geographic element semantic information in the data procedures, and needs of work such as element category (layering), element relationship, map symbol design and configuration carry out in graphics software again, and this needs a large amount of manual works go to handle; Become the bottleneck of rapid drafting, being difficult to contentedly, the fast network issue and the emergent drawing of diagram data need.
The drawing of GIS software exists essential distinction with professional graphics software.
Although GIS software possesses certain drawing function, because it beautifies design aspect at map and has obvious defects, the map of its design and production is difficult to reach the requirement of version map; Main cause is: the GIS The software adopted be geographic model (GIS data model; Or claim digital landscape model, Digital Landscape Model, DLM); Pay attention to spatial integrity property, continuity and the spatial relationship of geographic element and the description of relevant semantic information, stress spatial analysis functions; GIS software can only simply chart to the GIS data; Like easy configuration symbol and drawing ornamenting; Do not possess professional map edit, colour planning and visual representation aids; Therefore primary demand (such as the simple digital map of special dimension etc.) is only satisfied in this drawing to a certain extent, is difficult to reach the drawing requirement of open edition map (especially paper map).
And the graphics software employing is cartographic model (map datum; Or the title digital cartographic model, Digital Cartography Model, DCM); It stresses geographical information visualization (expression) effect; Space key element integrality even spatial relationship are then not too paid attention to, even can be the accuracy of geographic position that reduces partial element and relation as cost, to reach the purpose that strengthens the map expressive force.
As previously mentioned, graphics software and GIS software is in response to different with purpose, and adopts different new data organization model, and the difference of model causes reduction such as data semantic information dropout and spatial position precision in the data-switching.A little less than the GIS software map making function, design is difficult to reach the publication requirement with the map of producing; The drawing of specialty graphics software is powerful, but need draw a large amount of work of treatment of carrying out of data to the GIS line, draws data smoothing processing, key element Symbol Design and configuration etc. like key element layering, the processing of key element gland relation, line.
Address the above problem, several kinds of methods generally on probation are arranged at present, but these methods respectively have relative merits: GIS Map Expression model is set up in (1); (2) carry out indirect conversion through vector graphics format AutoCAD DXF, Windows EMF, Adobe Illustrator AI etc. as intermediate form; (3) use clipbook, be directly changed into the mode of GIS data through PASTE SPECIAL through the interoperability between ArcGIS software and CorelDraw software the formatted data of CorelDraw etc.Map Expression model based on GIS; Geodata and Map Expression information are organically blended, and the object level of being convenient to map objects is revised and is preserved, and has reduced data redundancy; Be convenient to the incremental update and the multiple representation of map; Also be convenient to simultaneously traditional GIS expansion Map Expression ability, but this model still rests on the formalized description stage, does not still develop related system; Utilize the technology path of GIS data map making under the CorelDraw environment; Its key step is: the screening of data and analysis → data projection conversion → data hierarchy → data edition → symbolism → engineer's scale is confirmed → Data Format Transform (map output); Though this method has solved the format conversion problem of GIS data to CorelDraw data; But but can not control to the map datum transfer process from the GIS data; Therefore can't customize the rule that the GIS data-switching becomes map datum; Still there are problems such as impression and double exposure, mending-leakage be white in map datum after the output, a large amount of human-edited's work such as the topmost characteristics of this method still will be carried out symbolism, played up in CorelDraw, standardization, data edition; Adopt the method for " duplicating+paste " to realize of the conversion of ArcGIS data to the CorelDraw data; This method not only will be carried out repeatedly " duplicating+paste " or conversion EMF (Windows enhancement mode meta file) operation according to the key element type, and information dropouts such as annotation, symbol, color are serious after the conversion.
The line that these solutions have solved from GIS software to graphics software is basically drawn data-switching, and to draw precision not high but still exist line, and the semantic information of data is lost problems such as (like element category, attribute, relation, symbolic formulations etc.) in a large number.Graphics software is drawn data from the line of conversion and is published the map that requires to producing to meet, and need carry out a large amount of artificial treatment work to element category, relationship expression, attribute expression, Symbol Design and configuration, colour planning etc.
Summary of the invention
The objective of the invention is to, be implemented in the at utmost conversion that line under the cartographic convention support is drawn data and semantic information thereof, improve draught smanship and efficient, therefore the quick map making system based on the GIS data is provided based on the GIS data.
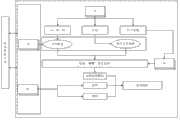
Technical scheme of the present invention is a kind of quick map making system based on the GIS data, comprises that original GISdata read module 10, symbolic library make up thatmodule 20, drawing designknowledge library module 30, key element conflict are handledbase module 40, cartographic convention providesmodule 50, mapdatum generation module 60 and map file input/output module 70;
Original GISdata read module 10; Be used for drawing data, symbolic information and semantic information from original GIS data read line; And line is drawn data import mapdatum generation module 60, symbolic information incoming symbol storehouse is made upmodule 20, semantic information is importedcartographic convention module 50 is provided;
Symbolic library makes upmodule 20, is used to receive the symbolic information of original GISdata read module 10 transmission and the CorelDraw symbol file of user's input, and stores symbolic library, and the symbol in the symbolic library offers mapdatum generation module 60;
Drawing designknowledge library module 30 is used to receive the drawing design knowledge of user's input, and stores the drawing design knowledge base, and the drawing design knowledge in the drawing design knowledge base offers mapdatum generation module 60;
Base module 40 is handled in the key element conflict; Be used to receive the map elements processing rule of user's input; And key element conflict processing knowledge base is advanced in storage; The key element conflict is handled map elements processing rule in the knowledge base and is offeredcartographic convention module 50 is provided, and said map elements processing rule comprises that key element gland processing rule, key element shift rule and the key element in the drawing expression process give up rule;
Cartographic convention providesmodule 50; Be used to receive the semantic information of original GISdata read module 10 inputs; Provide the symbolism rule to mapdatum generation module 60 according to semantic information, handle from the key element conflict according to semantic information and extract corresponding map elements processing rule thebase module 40 and offer mapdatum generation module 60;
Mapdatum generation module 60 is used for making up the symbolism rule that symbol thatmodule 20 provides and cartographic convention providemodule 50 to provide according to symbolic library, and the line that original GISdata read module 10 is imported is drawn data and carried out symbolism, obtains the map making model; The geographic element processing rule that providesmodule 50 to provide according to cartographic convention then carries out the conflict of map elements and handles to the map cartographic model; At last, the map cartographic model is carried out ornamenting, generate final map datum and output to mapdatum generation module 60 according to the drawing design knowledge that drawing designknowledge library module 30 provides;
Map file input/output module 70; The map datum that is used for mapdatum generation module 60 is generated resolves to the textual description information based on the PostScript language according to the syntax rule of PostScript language, textual description information is write in the map file export.
And said symbolic library makes upmodule 20 and comprises CorelDraw symbol input-output unit, GIS symbolic information reading unit and classification of sign administrative unit;
CorelDraw symbol input-output unit; Be used to provide the function that imports and exports of CorelDraw symbol file; Comprise the CorelDraw symbol file incoming symbol Classification Management unit of user's input, support simultaneously existing symbol in the symbolic library is exported as the CorelDraw symbol file;
GIS symbolic information reading unit is used for the symbolic information incoming symbol Classification Management unit with original GIS data readmodule 10 transmission;
The classification of sign administrative unit, the symbolic information that CorelDraw symbol file that is used for CorelDraw symbol input-output unit is provided and GIS symbolic information reading unit provide deposits symbolic library in, and supports Classification Management.
And said mapdatum generation module 60 comprises symbolism unit, key element conflict processing unit and map appearance unit;
The symbolism unit; It is regular with the symbolism that cartographic convention providesmodule 50 to provide to be used for making up the symbol thatmodule 20 provides according to symbolic library; The line of original GISdata read module 10 inputs is drawn data carry out symbolism, obtain the map making model and output to key element conflict processing unit;
Key element conflict processing unit; Be used for the geographic element processing rule that providesmodule 50 to provide according to cartographic convention; The map making model of symbolism unit input is carried out the conflict processing of map elements, the map making model input map appearance unit after conflict is handled
The map appearance unit is used for the drawing design knowledge that provides according to drawing designknowledge library module 30, and the map making model of key element conflict processing unit input is carried out ornamenting, generates final map datum.
The present invention proposes to realize the rapid drafting of GIS data through writing the quick map making of the GIS data system under the cartographic convention support.This system at first becomes graphics software (like CorelDraw the GIS data-switching; Illustrator etc.) AI (form of supporting of Adobe Illustrator software; The high accuracy data form that graphics orient is published) formatted data; Utilize predefined cartographic convention in semantic information and the drawing system of GIS data simultaneously; Accomplish the robotization pre-service of cartographic data in the data conversion process, comprising: key element AUTOMATIC ZONING, element relationship are adjusted automatically, the Symbol Design of annotation configuration automatically, color settings, graphics orient software and configuration etc.The drawing formatted data that adopts this method to obtain from the GIS data-switching can be accomplished mass data pre-service work before the map making editor, reduce the time of in graphics software, handling, and shortens the drawing cycle, to improve the map making efficient of GIS data.
Description of drawings
Fig. 1 is the structural drawing of the embodiment of the invention;
Fig. 2 reads synoptic diagram for the original GIS data of the embodiment of the invention;
Fig. 3 is that the symbolic library of the embodiment of the invention makes up synoptic diagram;
Fig. 4 is the drawing design knowledge configuration schematic diagram of the embodiment of the invention;
Fig. 5 is that the map datum of the embodiment of the invention generates synoptic diagram.
Embodiment
The outstanding emphatically automatic cartography flow process based on GIS semantic information and cartographic convention storehouse of quick map making system based on the GIS data of the present invention is through the intelligent conversion of GIS semantic information, manually customize cartographic convention and three kinds of modes of system's predefine cartographic convention generate the quick map cartographic convention of final GIS data.Intelligent conversion to the GIS semantic information is meant the semantic information among the GIS; Be the map elements descriptor of drawing in expressing like information translation such as element category, key element attribute, element relationship, like the positional information of the color of the drawing order of map layer, map elements, map elements, writing configuration rule etc.Manually the cartographic convention of customization is meant that the user carries out the map file parameter configuration through the map template configuration interface that system provides; System's predefine cartographic convention is meant some default rules in the tradition drawing expression, handles like the road gland, and annotation is given up rule, key element shift rule or the like, and these rules are defined within the system, when the user charts, call automatically.
Technical scheme of the present invention can adopt computer software technology to realize modular design.Specify technical scheme of the present invention below in conjunction with accompanying drawing and embodiment.
Like Fig. 1; Embodiment provide is based on the quick map making system of GIS data, comprises that original GISdata read module 10, symbolic library make up thatmodule 20, drawing designknowledge library module 30, key element conflict are handledbase module 40, cartographic convention providesmodule 50, mapdatum generation module 60 and map file input/output module 70.Explain respectively that below each module realizes, for implementing reference.
Original GISdata read module 10; Be used for drawing data, symbolic information and semantic information from original GIS data read line; And line is drawn data import mapdatum generation module 60, symbolic information incoming symbol storehouse is made upmodule 20, semantic information is importedcartographic convention module 50 is provided.Among the embodiment,, generate map making key element resources bank, comprise that line draws data, symbolic information and semantic information according to the original GIS data of user input.
Original GIS data readmodule 10 is concrete realize that original GIS data read can be referring to Fig. 2:
GIS basic space data read, and comprise the locus and the related geometric information of entities such as reading point, line, surface, annotation, obtain line and draw data.Symbol and figure layer are played up information and are read, and comprise the symbolic information, the font information of annotation, the mode of playing up of figure layer, the i.e. symbolic information that read the point, line, surface key element.Relevant semantic information is expressed in drawing; Be meant and be stored in the relevant attribute information of drawing expression in the GIS geographic element; These attribute informations are used for describing the cartographic convention of map elements, handle grade etc. like order, symbolic coding, key element key element shifting processing grade, the key element gland of symbolism.These rules offercartographic convention module 50 are provided, and are used for carrying out the generation of map datum.During practical implementation; System can provide drawing to express the attribute related description to the user; Promptly through the format standard of document description attribute, the user expresses the attribute related description with reference to drawing, and attribute is expressed in the drawing of typing geographic element in the process of original GIS data acquisition.System reads GIS figure layer geological information and attribute data successively through the ArcEngine assembly, and the gained line is drawn data, symbolic information and semantic information and is stored in the map making model.
Symbolic library makes upmodule 20, is used to receive the symbolic information of original GISdata read module 10 transmission and the CorelDraw symbol file of user's input, and stores symbolic library, and the symbol in the symbolic library offers map datum generation module 60.Symbolic library makes upmodule 20 can divide CorelDraw symbol input-output unit, GIS symbolic information reading unit and the design of classification of sign administrative unit.CorelDraw symbol input-output unit; Be used to provide the function that imports and exports of CorelDraw symbol file; Comprise the CorelDraw symbol file incoming symbol Classification Management unit of user's input, support simultaneously existing symbol in the symbolic library is exported as the CorelDraw symbol file; GIS symbolic information reading unit is used for the symbolic information incoming symbol Classification Management unit with original GIS data readmodule 10 transmission; The classification of sign administrative unit, the symbolic information that CorelDraw symbol file that is used for CorelDraw symbol input-output unit is provided and GIS symbolic information reading unit provide deposits symbolic library in, and supports Classification Management.The function that imports and exports of CorelDraw symbol file is provided through CorelDraw symbol input-output unit; The user can import the ai file of deriving among the CorelDraw in the symbolic library and be stored as binit information, also edits in CorelDraw so that existing symbol in the symbolic library is exported as ai file simultaneously.Through GIS symbolic information reading unit, can from the Style symbol file of ArcGIS symbol, read corresponding symbolic information, and dump in the symbolic library, the symbolic information source during simultaneously as CorelDraw symbol input-output unit output ai file.The functions such as newly-built, modification, deletion of classification of sign can be provided through the classification of sign administrative unit, and the user selects the symbol that imports to sort out.
Symbolic library make upmodule 20 concrete realize that symbolic libraries make up can be referring to Fig. 3:
Symbol file imports: comprise that the CorelDraw symbol imports and the ArcGIS symbol file imports.When the CorelDraw symbol imports, at first in CorelDraw, make map symbol, save as the symbol file of AI form then, create in the interface importing symbol file at last at symbol, accomplish by CorelDraw symbol input-output unit.When the ArcGIS symbol file imports directly importing get final product, accomplish by GIS symbolic information reading unit.
Self-defined symbol is created: the interface that can provide the user that symbol is created, classifies, managed through the classification of sign administrative unit; Also can provide interface for users basic symbol pel to be provided according to system; Carry out the pel combination, for example line symbol combination and area symbol combination.Pel after the combination is the symbol that will create.
The self-defined symbol that the CorelDraw symbol file of the symbolic information of original GIS data readmodule 10 transmission, user's input and user create all deposits symbolic library in by the classification of classification of sign administrative unit.Symbolic library can adopt available data storehouse technique construction, and the classification of sign table wherein is set.Carry out the classification of sign information creating according to national basis geography information element category and coding standard, in the classification of sign table, list structure is as shown in table 2 below with the information stores of creating.
Table 1 classification of sign message store table
Specific nameSorting code numberAffiliated type (point, line, surface)
??????
Drawing designknowledge library module 30 is used to receive the drawing design knowledge of user's input, and stores the drawing design knowledge base, and the drawing design knowledge in the drawing design knowledge base offers map datum generation module 60.The drawing design knowledge comprises map page size knowledge, map picture frame design knowledge, map page ornamenting knowledge etc.Also can design through drawing designknowledge library module 30 provides the interface to customization drawing design template.
The drawing design knowledge base can adopt available data storehouse technology to realize information management.Drawing designknowledge library module 30 is concrete realizes that the configuration of each item drawing design knowledges can be referring to Fig. 4:
Projection knowledge: comprise according to projection type and in the drawing design knowledge base, create projection knowledge base table, in projection knowledge base table, list structure is as shown in table 2 below with the projection knowledge store.Projection knowledge can be imported perhaps by user's manual creation projection information by the ArcGIS projection.
Table 2 projection knowledge base table
The projection titleProjection typeProjective parameter 1Projective parameter 2
??????
Framing knowledge: can framing knowledge creating interface be provided to the user,, create framing information automatically according to the geographic range of mapland and the framing mode (rectangular mapsubdivision or warp and weft framing) of user's selection.
Engineer's scale information: can manually import map scale information or directly read map scale by the user.
The picture frame design knowledge: the user carries out picture frame design and legend design in CorelDraw software, design exports as AI form picture frame design document and AI form legend design document after accomplishing, and imports the drawing design knowledge base of native system again.Also can provide the map page parameter that the interface is set,, generate the picture frame design knowledge, store in the drawing design knowledge base table of creating in the drawing design knowledge base according to the map page parameter of user's output to the user.List structure is as shown in table 3 below.
Table 3 picture frame design knowledge base table
The picture frame sequence numberThe picture frame contentThe legend sequence numberThe legend contentDrawing design parameter 1
???????
Base module 40 is handled in the key element conflict, is used to receive the map elements processing rule of user's input, and stores the key element conflict and handle knowledge base, and the map elements processing rule in the key element conflict processing knowledge base offers cartographic convention provides module 50.The map elements processing rule comprises that key element gland processing rule, key element shift rule and the key element in the drawing expression process give up rule etc.During practical implementation; Can adopt available data storehouse technology to realize key element conflict processing knowledge base; Can by user import map elements processing rule when charting at every turn, also can give tacit consent to the user element conflict and handle the map elements processing rule of preserving in the knowledge base of use before.
Cartographic convention providesmodule 50; Be used to receive the semantic information of original GISdata read module 10 inputs and the map elements processing rule that key element conflictprocessing base module 40 provides; Provide cartographic convention to mapdatum generation module 60 according to semantic information, cartographic convention comprises symbolism rule and map elements processing rule.During practical implementation, from the map making model that original GISdata read module 10 has generated, read the relevant semantic information of each figure layer.These semantic informations have comprised the specific descriptions of figure layer symbolism, like the order of symbolism, symbolic coding etc.The symbolism of reading rule is delivered in the mapdatum generation module 60 with the mode of class object.Also comprise key element key element shifting processing grade, key element gland processing grade etc. in the semantic information, handle from the key element conflict according to these semantic informations and extract corresponding map elements processing rule thebase module 40, and offer mapdatum generation module 60.
Mapdatum generation module 60 is used for making up the symbolism rule that symbol thatmodule 20 provides and cartographic convention providemodule 50 to provide according to symbolic library, and the line that original GISdata read module 10 is imported is drawn data and carried out symbolism, obtains the map making model; The geographic element processing rule that providesmodule 50 to provide according to cartographic convention then carries out the conflict of map elements and handles to the map cartographic model; At last, the map cartographic model is carried out ornamenting, generate final map datum and output to mapdatum generation module 60 according to the drawing design knowledge that drawing designknowledge library module 30 provides.Mapdatum generation module 60 can divide symbolism unit, key element conflict processing unit and map appearance unit design: the symbolism unit; It is regular with the symbolism that cartographic convention providesmodule 50 to provide to be used for making up the symbol thatmodule 20 provides according to symbolic library; The line of original GISdata read module 10 inputs is drawn data carry out symbolism, obtain the map making model and output to key element conflict processing unit.Key element conflict processing unit; Be used for the geographic element processing rule that providesmodule 50 to provide according to cartographic convention; The map making model of symbolism unit input is carried out the conflict processing of map elements, the map making model input map appearance unit after conflict is handled.The map appearance unit is used for the drawing design knowledge that provides according to drawing designknowledge library module 30, and the map making model of key element conflict processing unit input is carried out ornamenting, generates final map datum.
Mapdatum generation module 60 concrete realization map datums generate and can comprise following steps referring to Fig. 5:
The symbolism step: it is regular with the symbolism that cartographic convention providesmodule 50 to provide to make up the symbol thatmodule 20 provides according to symbolic library; The line of original GIS data readmodule 10 inputs is drawn data carry out symbolism; Obtain the map making model, realize by the symbolism unit.Line is drawn point in the data, is drawn, face carries out the symbol configuration according to symbol, and annotation then transfers the literal key element to.
Key element conflict treatment step: inquiry is through after the above-mentioned symbolism step; The map elements of the mutual gland in the cartographic model; Provide from cartographic convention according to the relevant information of key element and to read the geographic element processing rule themodule 50; Map elements to clashing (gland, stacked) redraws (shifting processing), generates new map elements, is realized by key element conflict processing unit.
Page ornamenting key element treatment step: knowledge base is set to the interface that the user provides customization drawing design template through drawing, obtains and take the drawing template that the family is selected; According to the drawing template; From the drawing design knowledge base that drawing designknowledge library module 30 makes up, read picture frame, legend and the page ornamenting information of map; And these information are converted into map elements, and store in the map making model, realize by the map appearance unit.
Map file input/output module 70; The map datum that is used for mapdatum generation module 60 is generated resolves to the textual description information based on the PostScript language according to the syntax rule of PostScript language, textual description information is write in the map file export.During practical implementation; Can from drawing designknowledge library module 30, read the page parameter of map according to the drawing template that the user selects; Page parameter is written in the map file of PostScript language description; Then, the map datum that mapdatum generation module 60 generates is resolved according to the pattern description rule of PostScript language, resolve the pattern description text message that obtains and be written in the map file.
For ease of implement with reference to for the purpose of, the drawing course that provides the user to adopt quick map making provided by the present invention system to carry out is following:
Step 1, original GIS data read step comprises the GIS data according to user's input, generates map making key element resources bank;
Step 2; The symbolic library foundation step; Comprise at first and in CorelDraw, to carry out symbol plotting, draw good symbol and make upmodule 20 through symbolic library of the present invention and import in the symbolic library according to national primary scale topographic(al) legend standard and thematic maps symbol making standard;
Step 3, drawing design knowledge base foundation step, the user manually imports sheet line system knowledge, map projection's knowledge, from CorelDraw, imports map sheet ornamenting file, creates map appearance knowledge, with these knowledge store in the drawing design knowledge base;
Step 4, map datum generates step, and the user selects drawing that the customization drawing design template that knowledge base provides is set, and according to cartographic convention, generates final map datum, and result's preview in the drawing window shows;
Step 5, map file output step resolves to the textual description information based on the PostScript language with the map datum that generates according to the syntax rule of PostScript language, text message is write in the map file export at last.
Specific embodiment described herein only is that the present invention's spirit is illustrated.Person of ordinary skill in the field of the present invention can make various modifications or replenishes or adopt similar mode to substitute described specific embodiment, but can't depart from spirit of the present invention or surmount the defined scope of appended claims.

Claims (3)

Translated fromChinese
1.一种基于GIS数据的快速地图制图系统,其特征在于:包括原始GIS数据读取模块(10)、符号库构建模块(20)、图面设计知识库模块(30)、要素冲突处理知识库模块(40)、制图规则提供模块(50)、地图数据生成模块(60)和地图文件输入输出模块(70);1. A rapid map-making system based on GIS data, characterized in that it includes an original GIS data reading module (10), a symbol library construction module (20), a graphic design knowledge base module (30), and element conflict handling knowledge Library module (40), cartography rule providing module (50), map data generating module (60) and map file input/output module (70);原始GIS数据读取模块(10),用于从原始GIS数据中读取线划数据、符号信息和语义信息,并将线划数据输入地图数据生成模块(60),将符号信息输入符号库构建模块(20),将语义信息输入制图规则提供模块(50);The original GIS data reading module (10), used to read the line data, symbol information and semantic information from the original GIS data, and input the line data into the map data generation module (60), and input the symbol information into the symbol library construction A module (20), inputting semantic information into a mapping rule providing module (50);符号库构建模块(20),用于接收原始GIS数据读取模块(10)传输的符号信息和用户输入的CorelDraw符号文件,并存储进符号库,符号库内的符号提供给地图数据生成模块(60);The symbol library construction module (20) is used to receive the symbol information transmitted by the original GIS data reading module (10) and the CorelDraw symbol file input by the user, and store them into the symbol library, and the symbols in the symbol library are provided to the map data generation module ( 60);图面设计知识库模块(30),用于接收用户输入的图面设计知识,并存储进图面设计知识库,图面设计知识库内的图面设计知识提供给地图数据生成模块(60);The graphic design knowledge base module (30), used to receive the graphic design knowledge input by the user, and store it into the graphic design knowledge base, and provide the graphic design knowledge in the graphic design knowledge base to the map data generation module (60) ;要素冲突处理知识库模块(40),用于接收用户输入的地图要素处理规则,并存储进要素冲突处理知识库,要素冲突处理知识库内的地图要素处理规则提供给制图规则提供模块(50),所述地图要素处理规则包括制图表达过程中的要素压盖处理规则、要素移位规则和要素舍弃规则;The feature conflict processing knowledge base module (40), which is used to receive the map feature processing rules input by the user and store them in the feature conflict processing knowledge base. The map feature processing rules in the feature conflict processing knowledge base are provided to the cartography rule providing module (50) , the map feature processing rules include feature capping processing rules, feature shifting rules and feature discarding rules in the cartographic representation process;制图规则提供模块(50),用于接收原始GIS数据读取模块(10)输入的语义信息,根据语义信息提供符号化规则到地图数据生成模块(60),根据语义信息从要素冲突处理知识库模块(40)中提取相应的地图要素处理规则并提供给地图数据生成模块(60);The cartography rule providing module (50) is used to receive the semantic information input by the original GIS data reading module (10), provide the symbolic rules to the map data generation module (60) according to the semantic information, and process the knowledge base from the feature conflict according to the semantic information The corresponding map element processing rules are extracted from the module (40) and provided to the map data generation module (60);地图数据生成模块(60),用于根据符号库构建模块(20)提供的符号和制图规则提供模块(50)提供的符号化规则,对原始GIS数据读取模块(10)输入的线划数据进行符号化,得到地图制图模型;然后根据制图规则提供模块(50)提供的地理要素处理规则,对地图制图模型进行地图要素的冲突处理;最后,根据图面设计知识库模块(30)提供的图面设计知识对地图制图模型进行整饰,生成最终的地图数据并输出到地图数据生成模块(60);The map data generating module (60) is used to process the line drawing data input by the original GIS data reading module (10) according to the symbols provided by the symbol library construction module (20) and the symbolization rules provided by the cartographic rule providing module (50). Carrying out symbolization to obtain a map drawing model; then according to the geographic element processing rules provided by the cartography rule providing module (50), the conflict processing of map elements is performed on the map drawing model; finally, according to the map design knowledge base module (30) provided The knowledge of graphic design trims the map drawing model, generates the final map data and outputs it to the map data generation module (60);地图文件输入输出模块(70),用于将地图数据生成模块(60)生成的地图数据按照PostScript语言的语法规则解析为基于PostScript语言的文本描述信息,将文本描述信息写入地图文件中进行输出。The map file input and output module (70) is used to parse the map data generated by the map data generation module (60) into text description information based on PostScript language according to the grammar rules of PostScript language, and write the text description information into the map file for output .2.根据权利要求1所述基于GIS数据的快速地图制图系统,其特征在于:所述符号库构建模块(20)包括CorelDraw符号输入输出单元、GIS符号信息读取单元和符号分类管理单元;2. The fast map-drawing system based on GIS data according to claim 1, characterized in that: the symbol library construction module (20) includes a CorelDraw symbol input and output unit, a GIS symbol information reading unit and a symbol classification management unit;CorelDraw符号输入输出单元,用于提供CorelDraw符号文件的导入导出功能,包括将用户输入的CorelDraw符号文件输入符号分类管理单元,同时支持将符号库中已有的符号导出为CorelDraw符号文件;The CorelDraw symbol input and output unit is used to provide the import and export function of CorelDraw symbol files, including importing the CorelDraw symbol files input by the user into the symbol classification management unit, and supporting the export of existing symbols in the symbol library as CorelDraw symbol files;GIS符号信息读取单元,用于将原始GIS数据读取模块(10)传输的符号信息输入符号分类管理单元;a GIS symbol information reading unit, configured to input the symbol information transmitted by the original GIS data reading module (10) into the symbol classification management unit;符号分类管理单元,用于将CorelDraw符号输入输出单元提供的CorelDraw符号文件和GIS符号信息读取单元提供的符号信息存入符号库,并支持分类管理。The symbol classification management unit is used to store the CorelDraw symbol files provided by the CorelDraw symbol input and output unit and the symbol information provided by the GIS symbol information reading unit into the symbol library, and support classification management.3.根据权利要求1或2所述基于GIS数据的快速地图制图系统,其特征在于:所述地图数据生成模块(60)包括符号化单元、要素冲突处理单元和地图整饰单元;3. The fast map-making system based on GIS data according to claim 1 or 2, characterized in that: the map data generation module (60) includes a symbolization unit, an element conflict processing unit and a map finishing unit;    符号化单元,用于根据符号库构建模块(20)提供的符号和制图规则提供模块(50)提供的符号化规则,对原始GIS数据读取模块(10)输入的线划数据进行符号化,得到地图制图模型并输出到要素冲突处理单元;The symbolization unit is used to symbolize the line drawing data input by the original GIS data reading module (10) according to the symbols provided by the symbol library construction module (20) and the symbolization rules provided by the mapping rule providing module (50), Obtain the map drawing model and output it to the element conflict processing unit;    要素冲突处理单元,用于根据制图规则提供模块(50)提供的地理要素处理规则,对符号化单元输入的地图制图模型进行地图要素的冲突处理,冲突处理后的地图制图模型输入地图整饰单元,The feature conflict processing unit is used to process the conflict of map elements on the map drawing model input by the symbolization unit according to the geographic feature processing rules provided by the cartography rule providing module (50), and the map drawing model after the conflict processing is input into the map finishing unit ,    地图整饰单元,用于根据图面设计知识库模块(30)提供的图面设计知识,对要素冲突处理单元输入的地图制图模型进行整饰,生成最终的地图数据。The map trimming unit is used to trim the map drawing model input by the element conflict processing unit according to the graphic design knowledge provided by the graphic design knowledge base module (30), and generate the final map data.
CN 2011103803712011-11-252011-11-25 Rapid Map Drawing System Based on GIS DataExpired - Fee RelatedCN102509511B (en)

Priority Applications (1)

Application NumberPriority DateFiling DateTitle
CN 201110380371CN102509511B (en)2011-11-252011-11-25 Rapid Map Drawing System Based on GIS Data

Applications Claiming Priority (1)

Application NumberPriority DateFiling DateTitle
CN 201110380371CN102509511B (en)2011-11-252011-11-25 Rapid Map Drawing System Based on GIS Data

Publications (2)

Publication NumberPublication Date
CN102509511Atrue CN102509511A (en)2012-06-20
CN102509511B CN102509511B (en)2013-10-23

Family

ID=46221587

Family Applications (1)

Application NumberTitlePriority DateFiling Date
CN 201110380371Expired - Fee RelatedCN102509511B (en)2011-11-252011-11-25 Rapid Map Drawing System Based on GIS Data

Country Status (1)

CountryLink
CN (1)CN102509511B (en)

Cited By (26)

* Cited by examiner, † Cited by third party
Publication numberPriority datePublication dateAssigneeTitle
CN103198148A (en)*2013-04-222013-07-10中煤地西安地图制印有限公司Integrated management and multimedia release method for map publishing data
CN103366633A (en)*2013-04-162013-10-23中国水利水电科学研究院Water conservation map data model-based flood risk map drawing method and system thereof
CN103390369A (en)*2013-01-242013-11-13中国科学院遥感应用研究所 A map rendering method and system
CN103927771A (en)*2014-04-182014-07-16武汉大学Linear feature shifting method for self-adaptation setting of shape parameters of Snakes model
CN105117507A (en)*2015-02-132015-12-02中国人民解放军信息工程大学Statistical map legend automatic generation method based on element association
CN105137485A (en)*2015-08-312015-12-09中国石油天然气股份有限公司Automatic picking and converting method and device for interpretation information in seismic profile bitmap
CN105550303A (en)*2015-12-112016-05-04武汉大学Usability evaluation method for open geographic space data
CN105608119A (en)*2015-12-162016-05-25北京吉威数源信息技术有限公司Rapid thematic map drawing technology
CN107608944A (en)*2017-09-112018-01-19武汉理工大学A kind of map making method based on two mobile collision probabilitys
CN107729511A (en)*2017-10-242018-02-23南京市测绘勘察研究院股份有限公司A kind of customizable geographic information data rectangular mapsubdivision method
CN107885863A (en)*2017-11-212018-04-06湖北大学Representation of Map Symbols method and system based on body
CN108804700A (en)*2018-06-152018-11-13武汉智图科技有限责任公司A kind of method of map datum lossless conversion of batch from ArcGIS to CorelDraw
CN108846099A (en)*2018-06-152018-11-20武汉智图科技有限责任公司A method of publishing grade map autodraft
CN108900352A (en)*2018-07-142018-11-27昆山数字城市信息技术有限公司Internet resources Design of Symbols method under semantics-driven
CN108986638A (en)*2018-06-152018-12-11武汉智图科技有限责任公司A kind of method of sea chart thematic map rapid drafting
CN109241371A (en)*2018-08-282019-01-18广州城市信息研究所有限公司Map data storage method, loading method, device and computer equipment
CN109977183A (en)*2019-03-182019-07-05武大吉奥信息技术有限公司The drafting method with natural resources business attached drawing is planned under WebGIS environment
CN110675729A (en)*2019-10-142020-01-10山东省国土测绘院Multi-version local geographic information integrated drawing method and system
CN111222226A (en)*2019-12-252020-06-02中国南方电网有限责任公司EMS (energy management system) to GIS (geographic information System) model conversion and access system and method based on scheduling application visual angle
WO2020135586A1 (en)*2018-12-292020-07-02北京辰安科技股份有限公司Customized emergency map symbol template webgis-based display method and device
CN112099781A (en)*2020-09-182020-12-18江苏神彩科技股份有限公司Map visualization method and device, storage medium and equipment
CN114490073A (en)*2022-01-292022-05-13京东方科技集团股份有限公司 Electronic map operation and maintenance method, electronic map data use method and service system
CN115937481A (en)*2022-11-162023-04-07国机工业互联网研究院(河南)有限公司GIS, DEM and BIM fusion display method
CN117827994A (en)*2023-12-202024-04-05兰州交通大学 A modern hand-drawn map point symbol extraction method for micro-maps
CN119888013A (en)*2025-01-132025-04-25兰州交通大学Micro map personalized layout information mining method
CN119961141A (en)*2024-11-292025-05-09张永文 Geographic Information Software Performance Evaluation Big Data Generation and Management System

Citations (2)

* Cited by examiner, † Cited by third party
Publication numberPriority datePublication dateAssigneeTitle
CN101707026A (en)*2009-11-252010-05-12中国人民解放军信息工程大学Combined optimization method for simplifying digital map linear factors
US20110157220A1 (en)*2009-12-242011-06-30Geum river water system conservancySystem and method for drawing stream and road centerline for GIS-based linear map production

Patent Citations (2)

* Cited by examiner, † Cited by third party
Publication numberPriority datePublication dateAssigneeTitle
CN101707026A (en)*2009-11-252010-05-12中国人民解放军信息工程大学Combined optimization method for simplifying digital map linear factors
US20110157220A1 (en)*2009-12-242011-06-30Geum river water system conservancySystem and method for drawing stream and road centerline for GIS-based linear map production

Non-Patent Citations (3)

* Cited by examiner, † Cited by third party
Title
吴小芳;蔡忠亮;邬国锋;杜清运: "基于数据引擎思想的GIS数据集成与共享", 《测绘工程》, vol. 12, no. 3, 30 September 2003 (2003-09-30), pages 14 - 17*
王殿坤;王峰: "GIS建库与地图制图一体化解决方案的设计与实现", 《测绘与空间地理信息》, vol. 33, no. 1, 28 February 2010 (2010-02-28), pages 100 - 103*
赵建英: "基于GIS数据的快速地图制图技术探讨", 《测绘》, vol. 33, no. 4, 31 August 2010 (2010-08-31)*

Cited By (41)

* Cited by examiner, † Cited by third party
Publication numberPriority datePublication dateAssigneeTitle
CN103390369A (en)*2013-01-242013-11-13中国科学院遥感应用研究所 A map rendering method and system
CN103390369B (en)*2013-01-242016-04-13中国科学院遥感应用研究所A kind of map rendering intent and system
CN103366633A (en)*2013-04-162013-10-23中国水利水电科学研究院Water conservation map data model-based flood risk map drawing method and system thereof
CN103366633B (en)*2013-04-162015-02-04中国水利水电科学研究院Water conservation map data model-based flood risk map drawing method and system thereof
CN103198148B (en)*2013-04-222016-03-02中煤地西安地图制印有限公司Published cartographic data integrated management and many media dissemination method
CN103198148A (en)*2013-04-222013-07-10中煤地西安地图制印有限公司Integrated management and multimedia release method for map publishing data
CN103927771B (en)*2014-04-182016-08-24武汉大学Self adaptation arranges the Linear element displacement method of Snakes mould shapes parameter
CN103927771A (en)*2014-04-182014-07-16武汉大学Linear feature shifting method for self-adaptation setting of shape parameters of Snakes model
CN105117507A (en)*2015-02-132015-12-02中国人民解放军信息工程大学Statistical map legend automatic generation method based on element association
CN105117507B (en)*2015-02-132018-07-27中国人民解放军信息工程大学Statistical map legend automatic generation method based on element combinations
CN105137485A (en)*2015-08-312015-12-09中国石油天然气股份有限公司Automatic picking and converting method and device for interpretation information in seismic profile bitmap
CN105137485B (en)*2015-08-312017-12-05中国石油天然气股份有限公司Automatic picking and converting method and device for interpretation information in seismic profile bitmap
CN105550303B (en)*2015-12-112017-02-22武汉大学Usability evaluation method for open geographic space data
CN105550303A (en)*2015-12-112016-05-04武汉大学Usability evaluation method for open geographic space data
CN105608119A (en)*2015-12-162016-05-25北京吉威数源信息技术有限公司Rapid thematic map drawing technology
CN107608944B (en)*2017-09-112021-03-30武汉理工大学Map making method based on meeting probability of two moving objects
CN107608944A (en)*2017-09-112018-01-19武汉理工大学A kind of map making method based on two mobile collision probabilitys
CN107729511B (en)*2017-10-242020-12-01南京市测绘勘察研究院股份有限公司Customizable geographic information data rectangular framing method
CN107729511A (en)*2017-10-242018-02-23南京市测绘勘察研究院股份有限公司A kind of customizable geographic information data rectangular mapsubdivision method
CN107885863A (en)*2017-11-212018-04-06湖北大学Representation of Map Symbols method and system based on body
CN107885863B (en)*2017-11-212021-10-15湖北大学 Ontology-based map symbol expression method and system
CN108804700A (en)*2018-06-152018-11-13武汉智图科技有限责任公司A kind of method of map datum lossless conversion of batch from ArcGIS to CorelDraw
CN108846099A (en)*2018-06-152018-11-20武汉智图科技有限责任公司A method of publishing grade map autodraft
CN108986638A (en)*2018-06-152018-12-11武汉智图科技有限责任公司A kind of method of sea chart thematic map rapid drafting
CN108900352A (en)*2018-07-142018-11-27昆山数字城市信息技术有限公司Internet resources Design of Symbols method under semantics-driven
CN109241371A (en)*2018-08-282019-01-18广州城市信息研究所有限公司Map data storage method, loading method, device and computer equipment
CN109241371B (en)*2018-08-282020-09-22广州城市信息研究所有限公司Map data storage method, map data loading method, map data storage device, map data loading device and computer equipment
WO2020135586A1 (en)*2018-12-292020-07-02北京辰安科技股份有限公司Customized emergency map symbol template webgis-based display method and device
CN109977183B (en)*2019-03-182021-06-08武大吉奥信息技术有限公司Drawing method of planning and natural resource service drawings in WebGIS environment
CN109977183A (en)*2019-03-182019-07-05武大吉奥信息技术有限公司The drafting method with natural resources business attached drawing is planned under WebGIS environment
CN110675729A (en)*2019-10-142020-01-10山东省国土测绘院Multi-version local geographic information integrated drawing method and system
CN110675729B (en)*2019-10-142021-07-20山东省国土测绘院Multi-version local geographic information integrated drawing method and system
CN111222226B (en)*2019-12-252023-06-23中国南方电网有限责任公司Conversion and access system and method from EMS (energy management system) to GIS (geographic information system) model based on scheduling application view angle
CN111222226A (en)*2019-12-252020-06-02中国南方电网有限责任公司EMS (energy management system) to GIS (geographic information System) model conversion and access system and method based on scheduling application visual angle
CN112099781A (en)*2020-09-182020-12-18江苏神彩科技股份有限公司Map visualization method and device, storage medium and equipment
CN114490073A (en)*2022-01-292022-05-13京东方科技集团股份有限公司 Electronic map operation and maintenance method, electronic map data use method and service system
CN115937481A (en)*2022-11-162023-04-07国机工业互联网研究院(河南)有限公司GIS, DEM and BIM fusion display method
CN115937481B (en)*2022-11-162025-08-26国机工业互联网研究院(河南)有限公司 Fusion display method of GIS, DEM and BIM
CN117827994A (en)*2023-12-202024-04-05兰州交通大学 A modern hand-drawn map point symbol extraction method for micro-maps
CN119961141A (en)*2024-11-292025-05-09张永文 Geographic Information Software Performance Evaluation Big Data Generation and Management System
CN119888013A (en)*2025-01-132025-04-25兰州交通大学Micro map personalized layout information mining method

Also Published As

Publication numberPublication date
CN102509511B (en)2013-10-23

Similar Documents

PublicationPublication DateTitle
CN102509511A (en)Rapid map making system based on GIS (Geographic Information System) data
CN110489499B (en)On-line intelligent thematic map compiling method
CN103366633B (en)Water conservation map data model-based flood risk map drawing method and system thereof
CN102663103B (en)Configurable method for automatically generating database and accessing data
CN109190094B (en)Building information model file segmentation method based on IFC standard
CN101916297B (en)Method for quickly mapping by batch symbolization
CN106204684A (en)A kind of marine thematic map automatization preparation method of task based access control stream
CN101493839A (en)Method for generating general-purpose test document
CN104699758B (en)The commanding document intelligent generating system and method for a kind of graphics and text library association
CN110688756B (en)Collection and drawing integrated completion drawing manufacturing method
CN103761339A (en)Electronic map making method based on basic geographic information data
CN112307720B (en)Automatic HTML design template conversion method and system based on PSD document
CN103065009B (en)Intelligent design system and method of traffic sign lines
CN108009217A (en)The method that water resources in china support risk figure is made based on database-driven rapid batch
CN117055884A (en)Method for displaying and operating CAD drawing at Web front end
CN115510173B (en) A DAS-based intelligent thematic map production method, device and product
CN108182272B (en)Method for making Chinese environment risk graph based on average area concept
CN118467620B (en) A method and system for processing and applying task execution environment simulation data
CN117271859B (en)Method, device and equipment for rapidly generating landscape engineering parameter information
CN116257656A (en) A Python-based telemetry page format conversion system
CN115455561A (en)Ship design modification suggestion management method and system and ship design method
Sun et al.Digital Cartography
CN114020857A (en)Rapid database building method and system for land survey
CN108846099A (en)A method of publishing grade map autodraft
KR102709647B1 (en)Open source based Low-Code development platform considering Rapid Application Development (RAD) for small scale smart city service supporting citizen

Legal Events

DateCodeTitleDescription
C06Publication
PB01Publication
C10Entry into substantive examination
SE01Entry into force of request for substantive examination
C14Grant of patent or utility model
GR01Patent grant
CF01Termination of patent right due to non-payment of annual fee
CF01Termination of patent right due to non-payment of annual fee

Granted publication date:20131023

Termination date:20201125


[8]ページ先頭

©2009-2025 Movatter.jp