Movatterモバイル変換


[0]ホーム

URL:


CN102508680A - Mobile-terminal-based automatic audio parameter updating method and system - Google Patents

Mobile-terminal-based automatic audio parameter updating method and system
Download PDF

Info

Publication number
CN102508680A
CN102508680ACN2011103521967ACN201110352196ACN102508680ACN 102508680 ACN102508680 ACN 102508680ACN 2011103521967 ACN2011103521967 ACN 2011103521967ACN 201110352196 ACN201110352196 ACN 201110352196ACN 102508680 ACN102508680 ACN 102508680A
Authority
CN
China
Prior art keywords
audio
parameter
audio frequency
files
frequency parameter
Prior art date
Legal status (The legal status is an assumption and is not a legal conclusion. Google has not performed a legal analysis and makes no representation as to the accuracy of the status listed.)
Granted
Application number
CN2011103521967A
Other languages
Chinese (zh)
Other versions
CN102508680B (en
Inventor
吴奇峰
Current Assignee (The listed assignees may be inaccurate. Google has not performed a legal analysis and makes no representation or warranty as to the accuracy of the list.)
Guangzhou Shengxia Intellectual Property Operation Co ltd
Yancheng Hengmei Automobile Service Co ltd
Original Assignee
Huizhou TCL Mobile Communication Co Ltd
Priority date (The priority date is an assumption and is not a legal conclusion. Google has not performed a legal analysis and makes no representation as to the accuracy of the date listed.)
Filing date
Publication date
Application filed by Huizhou TCL Mobile Communication Co LtdfiledCriticalHuizhou TCL Mobile Communication Co Ltd
Priority to CN201110352196.7ApriorityCriticalpatent/CN102508680B/en
Publication of CN102508680ApublicationCriticalpatent/CN102508680A/en
Application grantedgrantedCritical
Publication of CN102508680BpublicationCriticalpatent/CN102508680B/en
Activelegal-statusCriticalCurrent
Anticipated expirationlegal-statusCritical

Links

Images

Landscapes

Abstract

The invention discloses a mobile-terminal-based automatic audio parameter updating method and a mobile-terminal-based automatic audio parameter updating system. The method comprises the following steps of: establishing a corresponding audio parameter information group according to audio parameter items to be regulated, and automatically generating an audio parameter file in a preset data structure format; adding a corresponding version number into the generated audio parameter file, and storing the audio parameter file into a mobile terminal; when the mobile terminal is started, automatically judging whether the audio parameter file is updated or not according to the version number of the audio parameter file; and when the audio parameter file is updated, reading all audio parameters from the audio parameter file, storing the audio parameters into a flash of the mobile terminal, and before the audio parameters are enabled, reading updated parameters from the flash, and automatically updating the audio parameters in corresponding software by using the updated parameters. By the method and the system, an audio parameter regulation process is simplified, a research and development cycle is shortened, and the mobile terminal is endowed with the new function of automatically updating the audio parameters.

Description

A kind of audio frequency parameter automatic update method and system based on portable terminal
Technical field
The present invention relates to the application of portable terminal, in particular a kind of audio frequency parameter automatic update method and system based on portable terminal.
Background technology
In the R&D process of each mobile terminal device; The audio engineer that all needs specialty is carried out the audio frequency parameter adjustment according to the audio hardware configuration of every money mobile terminal device; Then adjusted parameter is updated to one by one in the code of software and is integrated in the software of mobile terminal device, and then carry out comprehensive audio-frequency test by audio engineer by the software engineer.This is the process of primary parameter adjustment, and each mobile terminal device all needs quite repeatedly such parameter adjustment could constantly improve audio frequency effect, finally reaches customer satisfaction system degree.
Said process is quite complicated in fact in actual operation, and the cycle is very long.And there is a following shortcoming:
1. need audio engineer and software engineer's co-ordination.
2. the parameter of audio engineer adjustment is very many, thus can increase software engineer's workload, and can increase the integrated error probability of software virtually.
3. audio engineer need be adjusted audio frequency parameter constantly to update audio frequency effect, so the every adjustment primary parameter of audio engineer all needs software engineer's support.
4. after software engineer's integrated audio parameter, need carry out comprehensive audio-frequency test again.
Therefore, prior art awaits to improve and development.
Summary of the invention
The technical matters that the present invention will solve is; Above-mentioned defective to prior art; A kind of audio frequency parameter automatic update method based on portable terminal is provided, and the process that it has simplified the audio frequency parameter adjustment has shortened the R&D cycle; Improved production efficiency, it makes portable terminal increase new function can upgrade audio frequency parameter automatically.
The technical scheme that technical solution problem of the present invention is adopted is following:
A kind of audio frequency parameter automatic update method based on portable terminal wherein, comprises step:
The audio frequency parameter item of A, adjustment is as required set up corresponding audio parameter information group, and the audio frequency parameter message block of setting up is generated the audio parameter files of predetermined data-structure form automatically;
B, the audio parameter files of said generation is added that corresponding version number stores in the portable terminal;
C, when said mobile terminal-opening, according to the version number of said audio parameter files, judge automatically whether said audio parameter files has renewal;
D, when judging that said audio parameter files has renewal; Then from said audio parameter files, all audio frequency parameters are read out and store among the flash of mobile terminal device; Before audio frequency parameter was launched, the most recent parameters that reads among the flash also was updated in the corresponding software automatically then.
Said audio frequency parameter automatic update method based on portable terminal, wherein, said steps A specifically comprises:
A1, the audio frequency parameter item of adjusting as required, the parameter that each pattern of mobile device terminal is exclusive is organized respectively, each mode common parameter is then organized together, to set up corresponding audio parameter information group;
A2 also generates the audio frequency parameter message block of setting up the audio parameter files of predetermined data-structure form automatically.
Said audio frequency parameter automatic update method based on portable terminal, wherein, said step B also comprises: on the beginning data bit of the audio parameter files that generates, add corresponding said version number.
Said audio frequency parameter automatic update method based on portable terminal; Wherein, The version number according to said audio parameter files among the said step C, judge automatically whether said audio parameter files has to upgrade to comprise: the version number according to the beginning data bit of said audio parameter files judges whether said audio frequency parameter has renewal.
Said audio frequency parameter automatic update method based on portable terminal, wherein, said predetermined data-structure is the data structure at qualcomm platform adjustment audio frequency parameter.
Said audio frequency parameter automatic update method based on portable terminal, wherein, said mode for mobile terminal comprises handset mode, speaker mode, headset mode, bluetooth mode and hands-free mode.
Said audio frequency parameter automatic update method based on portable terminal, wherein, said version number upgrades when changing audio frequency parameter at every turn accordingly.
Based on above-mentioned audio frequency parameter automatic update method, the present invention also provides a kind of audio frequency parameter automatic update system based on portable terminal, wherein, comprising:
The audio parameter files generation module, the audio frequency that is used for adjusting as required ginseng item is set up corresponding audio parameter information group, and the audio frequency parameter message block of setting up is generated the audio parameter files of predetermined data-structure form automatically;
The scheduled store module is used for regular audio parameter files with said generation and adds that corresponding version number stores portable terminal into;
Upgrade judge module, be used for when said mobile terminal-opening,, judge automatically whether said audio parameter files has renewal according to the version number of said audio parameter files;
The parameter update unit; Be used for when judging that said audio parameter files has renewal; Then from said audio parameter files, all audio frequency parameters are read out and store among the flash of mobile terminal device; Before audio frequency parameter was launched, the most recent parameters that reads among the flash also was updated in the corresponding software automatically then.
Said audio frequency parameter automatic update system based on portable terminal, wherein, said audio parameter files generation module comprises:
The audio frequency parameter assembled unit, the audio frequency parameter item that is used for adjusting as required, the parameter that each pattern of mobile device terminal is exclusive is organized respectively, each mode common parameter is then organized together, to set up corresponding audio parameter information group;
Automatically generation unit is used for the audio frequency parameter message block of setting up is generated automatically the audio parameter files of predetermined data-structure form.
Said audio frequency parameter automatic update system based on portable terminal wherein, adds corresponding said version number on the beginning data bit of the audio parameter files that generates;
Said predetermined data-structure is the data structure at qualcomm platform adjustment audio frequency parameter.
Audio frequency parameter automatic update method and system based on portable terminal provided by the present invention; Organize audio frequency parameter according to predetermined data-structure, the form of the data structure of organizing with file is saved in the file system of portable terminal, and adds version number in the beginning data bit of file; The version number that begins data bit according to file judges whether audio frequency parameter upgrades; Before audio frequency parameter is launched, read the audio frequency parameter among the flash of mobile terminal device and be updated in the software, so automatically; Audio engineer can be independently and the software engineer adjust audio frequency parameter voluntarily; Simplified the process of audio frequency parameter adjustment, shortened the R&D cycle, it makes portable terminal increase new function can upgrade audio frequency parameter automatically.
Description of drawings
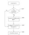
Fig. 1 is the process flow diagram of the audio frequency parameter automatic update method that provides of the embodiment of the invention.
Fig. 2 is the software flow pattern that the inspection audio frequency parameter of the embodiment of the invention upgrades.
Fig. 3 is the structural representation of the audio frequency parameter automatic update system that provides of the embodiment of the invention.
Embodiment
For making the object of the invention, technical scheme and advantage clearer, clear and definite, below develop simultaneously embodiment to further explain of the present invention with reference to accompanying drawing.Should be appreciated that specific embodiment described herein only in order to explanation the present invention, and be not used in qualification the present invention.
Audio frequency parameter automatic update method based on portable terminal provided by the invention, as shown in Figure 1, comprise step:
The audio frequency parameter item of step S100, adjustment is as required set up corresponding audio parameter information group, and the audio frequency parameter message block of setting up is generated the audio parameter files of predetermined data-structure form automatically.
Step S200, the audio parameter files of said generation is added that corresponding version number stores in the portable terminal.
Step S300, when said mobile terminal-opening, according to the version number of said audio parameter files, judge automatically whether said audio parameter files has renewal.
Step S400, when judging that said audio parameter files has renewal; Then from said audio parameter files, all audio frequency parameters are read out and store among the flash of mobile terminal device; Before audio frequency parameter was launched, the most recent parameters that reads among the flash also was updated in the corresponding software automatically then.
Further, step S100 also comprises:
A1, the audio frequency parameter item of adjusting as required, the parameter that each pattern of mobile device terminal is exclusive is organized respectively, each mode common parameter is then organized together, to set up corresponding audio parameter information group;
A2 also generates the audio frequency parameter message block of setting up the audio parameter files of predetermined data-structure form automatically.
In the present embodiment; Through computer or other equipment; The audio frequency parameter tissue of needs adjustment is set up corresponding audio parameter information group, through the qualcomm platform this audio frequency parameter message block is organized, concrete organizational form is: each pattern of at first confirming portable terminal; Confirm each audio frequency parameter of each pattern then; The exclusive parameter of each pattern is set up a parameter information group, the audio frequency parameter of each mode common is set up a parameter information group, on the qualcomm platform, each parameter information group is generated corresponding audio parameter files more at last according to predetermined data structure format.Mode for mobile terminal of the present invention mainly contains: handset-handset mode, speaker-speaker mode, headset-headset mode, bt-bluetooth mode, handsfree-hands-free mode or the like.
Wherein, the predetermined data-structure of above-mentioned adjustment audio frequency parameter realizes that on the qualcomm platform concrete data structure is following:
typedef?struct?{
/ *--broadband or arrowband zone bit, indicate the audio frequency parameter that is applicable to broadband or arrowband--*/
short?wb_flag;
/ *--the parameter that each pattern is exclusive separately, wherein pattern is divided handset single Mike, handset diamylose gram, headset conversation; The headset multimedia, handsfree (hands-free mode), speaker, totally 7 kinds of bt (bluetooth mode); The exclusive parameter of each pattern comprises TxVolume, TxDtmfGain, CodecTxGain, CodecRxGain; CodecSTGain, txPcmFiltCoeff, rxPcmFiltCoeff, TxPcmIirFilter; RxPcmIirFilter, RxDbmOffset, Agc (exclusive part) parameters, AFE parameters.--*/
voc_pcm_path_cal_cust_common_type?common[7];
/ *--the parameter that single Mike is exclusive is divided handset single Mike, the headset conversation, and the headset multimedia, handsfree, speaker, bt be totally 6 kinds of patterns--*/
CAL_MEMORY?voc_cal_adv_ec_config_type?ec_params[6];?/*?EC?parameters?*/
/ *--the exclusive parameter of handset diamylose gram pattern--*/
Voc_cal_pcm_iir_filter_type tx_primary_mic_iir_filter; / * master Mike's Iir filter parameters */
Voc_cal_pcm_iir_filter_type tx_secondary_mic_iir_filter; / * Mike's Iir filter parameters */
CAL_MEMORY?voc_cal_cs_config_type?cs_params;?/*?CrystalSpeech?parameters?*/
/ *--volume parameters under each pattern--*/
snd_gen_level_voc_type?volume[35];
/ *--parameters of all mode commons--*/
Voc_cal_adv_agc_param_type voc_cal_adv_agc_param; / * AGC (common sparing)Parameters*/
voc_cal_avc_param_type?voc_cal_avc_param;?/*?AVC?parameters*/
}?nvi_audio_parameters_type。
When audio frequency parameter is put in order, only need revise the variable of each audio frequency parameter according to above-mentioned data structure, can simplify the arrangement process of audio frequency parameter so greatly, reduce workload.
When audio parameter files is upgraded; At first be on the beginning data bit of the audio parameter files that generates, to add corresponding version number; Then behind mobile terminal-opening; According to the version number of audio parameter files, judge automatically whether said audio parameter files has renewal, so the version number of audio parameter files to upgrade accordingly all when changing audio frequency parameter at every turn.
Concrete software flow to the version updating inspection is as shown in Figure 2, comprises step:
Whether step S201, mobile terminal device start back inspection audio frequency parameter version have renewal;
If step S202 detects version renewal is arranged then nearest audio frequency parameter is updated among the flash, otherwise get into step S203;
Step S203, read the audio frequency parameter among the flash and be updated in the software;
Step S204, the up-to-date audio frequency parameter of use.
Because it is non-volatile that the data among the flash are power down, so if there is not the Parameter File of redaction, this need not be updated to audio frequency parameter among the flash of mobile terminal device, so can not influence starting up speed basically.
This shows; When audio frequency parameter being adjusted based on the data structure of qualcomm platform; Only need the parameter of revising is saved in the file and be stored in the file system of mobile terminal device, whether system can automatic detected parameters have and upgrade and accomplish voluntarily and upgrade in each mobile terminal device start, like this; Just can save software engineer's participation, simplify the audio frequency parameter adjustment process greatly.
Based on the foregoing description, the present invention also provides a kind of audio frequency parameter automatic update system, and as shown in Figure 3, it mainly comprises:
Audio parameter filesgeneration module 310, the audio frequency that is used for adjusting as required ginseng item is set up corresponding audio parameter information group, and the audio frequency parameter message block of setting up is generated the audio parameter files of predetermined data-structure form automatically; Specifically as stated.
Scheduled store module 320 is used for regular audio parameter files with said generation and adds that corresponding version number stores portable terminal into; Specifically as stated.
Upgrade judge module 330, be used for when said mobile terminal-opening,, judge automatically whether said audio parameter files has renewal according to the version number of said audio parameter files; Specifically as stated.
Parameter update unit 340; Be used for when judging that said audio parameter files has renewal; Then from said audio parameter files, all audio frequency parameters are read out and store among the flash of mobile terminal device; Before audio frequency parameter was launched, the most recent parameters that reads among the flash also was updated in the corresponding software automatically then; Specifically as stated.
Wherein, audio parameterfiles generation module 310 also comprises:
Audio frequency parameter assembledunit 311, the audio frequency parameter item that is used for adjusting as required, the parameter that each pattern of mobile device terminal is exclusive is organized respectively, each mode common parameter is then organized together, to set up corresponding audio parameter information group; Specifically as stated.
Automaticallygeneration unit 312 is used for the audio frequency parameter message block of setting up is generated automatically the audio parameter files of predetermined data-structure form; Specifically as stated.
In sum; Audio frequency parameter automatic update method and system based on portable terminal of the present invention through the audio frequency parameter of each pattern of portable terminal is organized accordingly, set up different audio frequency parameter message block; And according to predetermined data structure format generation audio parameter files; Add that through start data bit at file version number realizes the renewal inspection to the audio parameter files version, and automatically audio frequency parameter is updated in the corresponding software, like this; Audio engineer can be independently and the software engineer adjust audio frequency parameter voluntarily; Simplified the process of audio frequency parameter adjustment, shortened the R&D cycle, it makes portable terminal increase new function can upgrade audio frequency parameter automatically.
Should be understood that application of the present invention is not limited to above-mentioned giving an example, concerning those of ordinary skills, can improve or conversion that all these improvement and conversion all should belong to the protection domain of accompanying claims of the present invention according to above-mentioned explanation.

Claims (10)

CN201110352196.7A2011-11-092011-11-09Mobile-terminal-based automatic audio parameter updating method and systemActiveCN102508680B (en)

Priority Applications (1)

Application NumberPriority DateFiling DateTitle
CN201110352196.7ACN102508680B (en)2011-11-092011-11-09Mobile-terminal-based automatic audio parameter updating method and system

Applications Claiming Priority (1)

Application NumberPriority DateFiling DateTitle
CN201110352196.7ACN102508680B (en)2011-11-092011-11-09Mobile-terminal-based automatic audio parameter updating method and system

Publications (2)

Publication NumberPublication Date
CN102508680Atrue CN102508680A (en)2012-06-20
CN102508680B CN102508680B (en)2014-07-30

Family

ID=46220772

Family Applications (1)

Application NumberTitlePriority DateFiling Date
CN201110352196.7AActiveCN102508680B (en)2011-11-092011-11-09Mobile-terminal-based automatic audio parameter updating method and system

Country Status (1)

CountryLink
CN (1)CN102508680B (en)

Cited By (8)

* Cited by examiner, † Cited by third party
Publication numberPriority datePublication dateAssigneeTitle
CN103077048A (en)*2012-12-282013-05-01东莞宇龙通信科技有限公司Method for updating operating parameters of communication module and communication terminal
CN104486708A (en)*2014-11-042015-04-01福州瑞芯微电子有限公司Audio system parameter setting method and device
CN104951345A (en)*2015-07-032015-09-30北京奇虎科技有限公司Application program updating method and device
CN105431848A (en)*2014-07-142016-03-23三菱电机株式会社 Common parameter interface generation program and parameter reading program
CN105657154A (en)*2015-10-302016-06-08东莞酷派软件技术有限公司Method and device for selecting audio channel and terminal
CN107231605A (en)*2017-06-232017-10-03中南大学Solve the method with Bluetooth communication compatibility between flash memory IoT equipment and Android device
CN108009238A (en)*2017-11-292018-05-08福建中金在线信息科技有限公司The method and terminal device of a kind of data buffer storage
CN109147747A (en)*2018-09-272019-01-04歌尔股份有限公司A kind of method, playback equipment, server and system loading tuning parameter

Citations (5)

* Cited by examiner, † Cited by third party
Publication numberPriority datePublication dateAssigneeTitle
CN1906574A (en)*2003-11-192007-01-31艾利森电话股份有限公司Updating data in a mobile terminal
CN101425018A (en)*2008-12-052009-05-06深圳创维数字技术股份有限公司Embedded firmware upgrading method and device based on sectional form
CN101694623A (en)*2009-09-292010-04-14上海夏新电子开发有限公司Method for updating handheld device software
CN101867657A (en)*2010-06-242010-10-20中兴通讯股份有限公司 A method and device for switching audio output devices on a mobile phone
CN102075915A (en)*2011-01-302011-05-25中兴通讯股份有限公司Mobile terminal and parameter setting method thereof

Patent Citations (5)

* Cited by examiner, † Cited by third party
Publication numberPriority datePublication dateAssigneeTitle
CN1906574A (en)*2003-11-192007-01-31艾利森电话股份有限公司Updating data in a mobile terminal
CN101425018A (en)*2008-12-052009-05-06深圳创维数字技术股份有限公司Embedded firmware upgrading method and device based on sectional form
CN101694623A (en)*2009-09-292010-04-14上海夏新电子开发有限公司Method for updating handheld device software
CN101867657A (en)*2010-06-242010-10-20中兴通讯股份有限公司 A method and device for switching audio output devices on a mobile phone
CN102075915A (en)*2011-01-302011-05-25中兴通讯股份有限公司Mobile terminal and parameter setting method thereof

Cited By (10)

* Cited by examiner, † Cited by third party
Publication numberPriority datePublication dateAssigneeTitle
CN103077048A (en)*2012-12-282013-05-01东莞宇龙通信科技有限公司Method for updating operating parameters of communication module and communication terminal
CN105431848A (en)*2014-07-142016-03-23三菱电机株式会社 Common parameter interface generation program and parameter reading program
CN104486708A (en)*2014-11-042015-04-01福州瑞芯微电子有限公司Audio system parameter setting method and device
CN104951345A (en)*2015-07-032015-09-30北京奇虎科技有限公司Application program updating method and device
CN105657154A (en)*2015-10-302016-06-08东莞酷派软件技术有限公司Method and device for selecting audio channel and terminal
CN105657154B (en)*2015-10-302019-06-11东莞酷派软件技术有限公司 Method, device and terminal for selecting audio channel
CN107231605A (en)*2017-06-232017-10-03中南大学Solve the method with Bluetooth communication compatibility between flash memory IoT equipment and Android device
CN107231605B (en)*2017-06-232019-10-08中南大学The method with Bluetooth communication compatibility between flash memory IoT equipment and Android device of solution
CN108009238A (en)*2017-11-292018-05-08福建中金在线信息科技有限公司The method and terminal device of a kind of data buffer storage
CN109147747A (en)*2018-09-272019-01-04歌尔股份有限公司A kind of method, playback equipment, server and system loading tuning parameter

Also Published As

Publication numberPublication date
CN102508680B (en)2014-07-30

Similar Documents

PublicationPublication DateTitle
CN102508680B (en)Mobile-terminal-based automatic audio parameter updating method and system
CN101867657B (en)Method and device for switching audio output equipment on mobile phone
CN202995622U (en)Communication apparatus
CN101695189B (en)Method for conducting data synchronization by earphone, and corresponding earphone and mobile terminal
CN101145341B (en)Method, system and apparatus for improved voice recognition
CN101765243B (en)CDMA and GSM bimodule digital mobile communication terminal
CN103593217B (en)A kind of hook key adjusting earphone starts method and the terminal of application order
US7870303B2 (en)System and method for managing hardware configuration parameters
CN102752029A (en)Method for matching Bluetooth accessory with Bluetooth devices and Bluetooth accessory
CN103646656B (en)Sound effect treatment method, device, plugin manager and audio plug-in unit
CN104809006A (en)Apparatus and Method of Software Implementation Between a Vehicle and Mobile Device
CN104778056A (en)Autonomous global software update
CN103024131A (en)Bluetooth function control method of mobile terminal and mobile terminal
CN103096306A (en)Audio playing method and system
CN101668081A (en)Mobile terminal and automatic upgrading method thereof
JP5710680B2 (en) System and method for reducing factory program time for wireless devices
CN103391121A (en)Method for pairing and connecting multiple devices and Bluetooth device
CN109548184A (en)Connect the method, apparatus and mobile terminal of mobile terminal and bluetooth equipment
CN101964974A (en)Data downloading method and mobile terminal
CN116996803B (en)Multifunctional TWS Bluetooth headset and control and adjustment method thereof
CN104202471B (en)Firmware upgrade processing method, system and mobile terminal based on mobile terminal
CN202145660U (en)Bluetooth sound box with voice call transfer processing function
CN113543101B (en)Audio output method, bluetooth device, mobile terminal and storage medium
CN106990986A (en)A kind of control method of software upgrading, device and audio-frequence player device
CN109218873A (en)Wireless headset and the method for playing audio

Legal Events

DateCodeTitleDescription
C06Publication
PB01Publication
C10Entry into substantive examination
SE01Entry into force of request for substantive examination
C14Grant of patent or utility model
GR01Patent grant
TR01Transfer of patent right

Effective date of registration:20201228

Address after:224000 23 / F (b), Huidu building, Xindu West Road, Yandu District, Yancheng City, Jiangsu Province

Patentee after:Yancheng Hengmei Automobile Service Co.,Ltd.

Address before:510000 No. 106 Fengze East Road, Nansha District, Guangzhou City, Guangdong Province

Patentee before:Guangzhou shengxia Intellectual Property Operation Co.,Ltd.

Effective date of registration:20201228

Address after:510000 No. 106 Fengze East Road, Nansha District, Guangzhou City, Guangdong Province

Patentee after:Guangzhou shengxia Intellectual Property Operation Co.,Ltd.

Address before:516006 Guangdong province Huizhou Zhongkai hi tech Development Zone No. 23 District

Patentee before:HUIZHOU TCL MOBILE COMMUNICATION Co.,Ltd.

TR01Transfer of patent right

[8]ページ先頭

©2009-2025 Movatter.jp