Movatterモバイル変換


[0]ホーム

URL:


CN102487282A - Circuit for realizing variable length CRC operation - Google Patents

Circuit for realizing variable length CRC operation
Download PDF

Info

Publication number
CN102487282A
CN102487282ACN2010105731541ACN201010573154ACN102487282ACN 102487282 ACN102487282 ACN 102487282ACN 2010105731541 ACN2010105731541 ACN 2010105731541ACN 201010573154 ACN201010573154 ACN 201010573154ACN 102487282 ACN102487282 ACN 102487282A
Authority
CN
China
Prior art keywords
crc
circuit
data
output
module
Prior art date
Legal status (The legal status is an assumption and is not a legal conclusion. Google has not performed a legal analysis and makes no representation as to the accuracy of the status listed.)
Pending
Application number
CN2010105731541A
Other languages
Chinese (zh)
Inventor
左耀华
Current Assignee (The listed assignees may be inaccurate. Google has not performed a legal analysis and makes no representation or warranty as to the accuracy of the list.)
Shanghai Huahong Integrated Circuit Co Ltd
Original Assignee
Shanghai Huahong Integrated Circuit Co Ltd
Priority date (The priority date is an assumption and is not a legal conclusion. Google has not performed a legal analysis and makes no representation as to the accuracy of the date listed.)
Filing date
Publication date
Application filed by Shanghai Huahong Integrated Circuit Co LtdfiledCriticalShanghai Huahong Integrated Circuit Co Ltd
Priority to CN2010105731541ApriorityCriticalpatent/CN102487282A/en
Publication of CN102487282ApublicationCriticalpatent/CN102487282A/en
Pendinglegal-statusCriticalCurrent

Links

Images

Landscapes

Abstract

The invention relates to a circuit for realizing a variable length CRC operation. The circuit is composed of an alternative selector, a CRC operation module and an output selection module. The alternative selector carries out selection and output on input data according to a selection condition. The CRC operation module carries out different CRC operations on the input data according to different initial values. The output selection module selects and outputs a CRC operation result according to circuit input data. According to the invention, through cutting a transmission data packet into sub data packets with length less than or equal to 32 bits and employing different CRC operation methods to calculate corresponding CRC values according to effective data length of the sub data packets, a data CRC operation problem brought by uncertain length of the data packet in a traditional realization mode is solved.

Description

A kind of circuit of realizing variable length CRC computing
Technical field
The present invention relates to CRC application in the high-speed communication interfaces such as USB and SATA, relate in particular to a kind of circuit of realizing variable length CRC computing.
Background technology
Along with the development of microelectric technique, big capacity, high-speed data transmission application demand get more and more, and also increasingly high to the requirement of bandwidth, as important high-speed communication interface, USB and SATA have been widely used in the electronic product of daily life.
The technical characterstic of CRC (Cyclic Redundancy Check, CRC) is that error detecing capability is extremely strong, and expense is little, is easy to realize with encoder and testing circuit.From its error detecing capability, it the probability of the mistake that can not find be below 0.0047%.On performance, consider, all be much better than modes such as parity check and arithmetic sum verification, thereby in storage and data communication field, the CRC technology has obtained using widely with expense.How variable length CRC computing being applied to USB, is the technical problem that the present invention will solve in the high-speed communication interface technical fields such as SATA.
Summary of the invention
The object of the invention provides a kind of circuit of realizing variable length CRC computing, through being truncated into transmits data packets the subdata bag that is not more than 32 bit lengths, and takes different CRC operation methods to calculate corresponding crc value according to the valid data length of subdata bag.
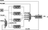
A kind of circuit of realizing variable length CRC computing selects module to constitute by alternative selector, CRC computing module and output.
The alternative selector is used for according to alternative condition separately the input data being selected output;
The CRC computing module according to different initial values, carries out the CRC computing to the input data;
Module is selected in output, according to circuit input data, selects output CRC operation result;
The alternative selector is two among the present invention, is respectively selector MUX1 and selector MUX2.The input of selector MUX1 has two: one is constant, is made as 32 ' hff_ff, and the another one input is connected to the output crc_value that module is selected in output; Its control end is the input signal first_byte of circuit, and output is connected respectively to the input crc_initial_value of four CRC computing modules; Control end input signal first_byte bit wide is 1 bit, representes whether the nybble data of current input comprise first byte of transmits data packets data.When first_byte is 1 ' b1, represent that the nybble data of current input comprise first byte of transmits data packets data, output to constant 32 ' hff_ff on the crc_initial_value data wire; Otherwise crc_value is outputed on the crc_initial_value data wire.Selector MUX2 has four inputs, is connected to the output of four CRC computing modules, and its control end is the input signal data_length of circuit.
The CRC computing module is four, is respectively: the CRC_8 that CRC_16 that the effective bit wide of circuit input data din is 32 CRC_32, CRC_24 that the effective bit wide of circuit input data din is 24, the effective bit wide of circuit input data din is 16 and the effective bit wide of circuit input data din are 8.The input of four CRC computing modules all is the output crc_initial_value of circuit input data din and MUX1.Circuit input signal data_length bit wide is 2 bits; When data_length is 2 ' b11; Effective bit wide of the input data din of the current CRC of carrying out computing is 32 bits, and then the operation result crc32_dout of selector MUX2 selection output CRC_32b module is to crc_dout.When data_length was 2 ' b10, effective bit wide of the input data din of the current CRC of carrying out computing was 24 bits, and then the operation result crc24_dout of selector MUX2 selection output CRC_24b module is to crc_dout.When data_length was 2 ' b01, effective bit wide of the input data din of the current CRC of carrying out computing was 16 bits, and then the operation result crc16_dout of selector MUX2 selection output CRC_16b module is to crc_dout.When data_length was 2 ' b00, effective bit wide of the input data din of the current CRC of carrying out computing was 8 bits, and then the operation result crc8_dout of selector MUX2 selection output CRC_8b module is to crc_dout.
It is the output crc_dout of connecting circuit input signal last_byte and alternative selector MUX2 that the input of module is selected in output.The last_byte bit wide is 1 bit, representes whether the nybble data of current input comprise last byte of transmits data packets data.When last_byte is 1 ' b1, represent that the nybble data of current input comprise last byte of transmits data packets data, output to the value of crc_dout on the dout data wire; Otherwise output to the value of crc_dout on the crc_value data wire.
The present invention takes different CRC operation methods to calculate corresponding crc value according to the valid data length of subdata bag, thereby has solved the data CRC operational problem that factor is brought according to the packet length random length in traditional implementation.
Description of drawings
The circuit structure diagram of accompanying drawing 1 realization variable length CRC provided by the invention computing
Specific embodiments
Carry out detailed description below in conjunction with 1 pair of summary of the invention of accompanying drawing provided by the present invention.
Comprise two alternative selector MUX1 and MUX2 in the circuit of realization variable length CRC computing, four CRC computing module CRC_32b, CRC_24b, CRC_16b and CRC_8b, module is selected in an output.At three signal first_byte, last_byte under the control of data_length, accomplishes the CRC arithmetic operation to din.
Length of data package can be more than or equal to a byte in the usb data transmission; If a bag data length is 72 bits; Then these bag data need be divided into three CRC computings; All be 32 bits with the effective length of participating in the data of CRC computing for the second time for the first time, the effective length of participating in the data of CRC computing for the third time is 8 bits.After data din is fed to the CRC circuit, at first can enter into four CRC computing modules simultaneously.Alternative selector MUX1 judges in current this 32 Bit data through the first_byte signal whether comprise the data of first byte of these bag data simultaneously.If comprise, then assign 32 ' hff_ff as initial value, be transported to four CRC computing modules through crc_initial_value; Otherwise be transported to four CRC computing modules to crc_value through crc_initial_value.After computing was accomplished, the operation result of four CRC computing modules was sent to alternative selector MUX2 module through crc32_dout, crc24_dout, crc16_dout and crc8-dout respectively.Alternative selector MUX2 judges through circuit input data data_length how many significance bits of the input data din of the current CRC of carrying out computing is, thereby the operation result of judging which CRC computing module is effective.When data_length was 2 ' b11, effective bit wide of the input data din of the current CRC of carrying out computing was 32 bits, and then the operation result crc32_dout of selector MUX2 selection output CRC_32b module is to crc_dout.When data_length was 2 ' b10, effective bit wide of the input data din of the current CRC of carrying out computing was 24 bits, and then the operation result crc24_dout of selector MUX2 selection output CRC_24b module is to crc_dout.When data_length was 2 ' b01, effective bit wide of the input data din of the current CRC of carrying out computing was 16 bits, and then the operation result crc16_dout of selector MUX2 selection output CRC_16b module is to crc_dout.When data_length is 2, during b00, effective bit wide of the input data din of the current CRC of carrying out computing is 8 bits, then selector MUX2 select output CRC_8b module operation result crc8_dout to crc_dout.Select in the module in output then, confirm through judging last_byte whether current result should be as the operation result output of circuit.When last_byte is 1 ' b1, then to represent to comprise last byte data among the current input data din that carries out the CRC computing, this moment, the CRC computing finished, and crc_dout exports as final result; Otherwise show to also have data not carry out the CRC computing as yet in this packet, then be transported to crc_dout among the alternative selector MUX1 through crc_value that carry out new round interative computation, data all in these bag data are all accomplished the CRC arithmetic operation.

Claims (6)

CN2010105731541A2010-12-032010-12-03Circuit for realizing variable length CRC operationPendingCN102487282A (en)

Priority Applications (1)

Application NumberPriority DateFiling DateTitle
CN2010105731541ACN102487282A (en)2010-12-032010-12-03Circuit for realizing variable length CRC operation

Applications Claiming Priority (1)

Application NumberPriority DateFiling DateTitle
CN2010105731541ACN102487282A (en)2010-12-032010-12-03Circuit for realizing variable length CRC operation

Publications (1)

Publication NumberPublication Date
CN102487282Atrue CN102487282A (en)2012-06-06

Family

ID=46152739

Family Applications (1)

Application NumberTitlePriority DateFiling Date
CN2010105731541APendingCN102487282A (en)2010-12-032010-12-03Circuit for realizing variable length CRC operation

Country Status (1)

CountryLink
CN (1)CN102487282A (en)

Cited By (3)

* Cited by examiner, † Cited by third party
Publication numberPriority datePublication dateAssigneeTitle
WO2015100624A1 (en)*2013-12-312015-07-09华为技术有限公司Crc calculation method and apparatus
CN105528325A (en)*2014-09-292016-04-27安凯(广州)微电子技术有限公司Protection method and system for high-speed transmission through standard SPI protocol
WO2022141732A1 (en)*2020-12-292022-07-07芯启源(上海)半导体科技有限公司Hardware implementation method based on usb 3.2 protocol 16-bit cyclic redundancy check

Citations (3)

* Cited by examiner, † Cited by third party
Publication numberPriority datePublication dateAssigneeTitle
US5592498A (en)*1994-09-161997-01-07Cirrus Logic, Inc.CRC/EDC checker system
CN1276930A (en)*1997-08-272000-12-13夸尔柯姆股份有限公司System and method for selecting cyclic redundancy check generators in concatenated code
CN1671125A (en)*2003-11-132005-09-21诺基亚公司 Method and device for managing network traffic using cyclic redundancy check hash function

Patent Citations (3)

* Cited by examiner, † Cited by third party
Publication numberPriority datePublication dateAssigneeTitle
US5592498A (en)*1994-09-161997-01-07Cirrus Logic, Inc.CRC/EDC checker system
CN1276930A (en)*1997-08-272000-12-13夸尔柯姆股份有限公司System and method for selecting cyclic redundancy check generators in concatenated code
CN1671125A (en)*2003-11-132005-09-21诺基亚公司 Method and device for managing network traffic using cyclic redundancy check hash function

Cited By (5)

* Cited by examiner, † Cited by third party
Publication numberPriority datePublication dateAssigneeTitle
WO2015100624A1 (en)*2013-12-312015-07-09华为技术有限公司Crc calculation method and apparatus
US10211852B2 (en)2013-12-312019-02-19Huawei Technologies Co., Ltd.CRC calculation method, and apparatus
CN105528325A (en)*2014-09-292016-04-27安凯(广州)微电子技术有限公司Protection method and system for high-speed transmission through standard SPI protocol
CN105528325B (en)*2014-09-292019-01-18安凯(广州)微电子技术有限公司A kind of guard method and system of standard SPI protocol high-speed transfer
WO2022141732A1 (en)*2020-12-292022-07-07芯启源(上海)半导体科技有限公司Hardware implementation method based on usb 3.2 protocol 16-bit cyclic redundancy check

Similar Documents

PublicationPublication DateTitle
CN101702639B (en)Check value calculation method and device of cyclic redundancy check
DE102011084751B4 (en) Data processing device, system and method
US11023412B2 (en)RDMA data sending and receiving methods, electronic device, and readable storage medium
CN104808966B (en)The method and apparatus of efficient coding
CN103780322B (en) Low-cost and high-reliability high-speed network communication chip test method and circuit
US20100138573A1 (en)System including transmitter and receiver
CN101833502B (en)Asic chip verification method and programmable gate array
CN104038450B (en) Message transmission method and device based on PCIE bus
CN107547574B (en) A communication system and method based on general protocol
US9979566B2 (en)Hybrid forward error correction and replay technique for low latency
CN101325468A (en) A Hybrid Error Correction Method Based on Bidirectional Parity
CN204633784U (en) A data transmission device
KR20180010359A (en)Header processing device, processor and electronic device
CN103188252A (en)Method for communication between central machine and test terminal of distributed test system
CN102487282A (en)Circuit for realizing variable length CRC operation
CN105279123A (en)Serial port conversion structure and method of dual-redundancy 1553B bus
CN104601179A (en)Erasure code coding circuit and decoding circuit and coding and encoding circuit of storage system
CN203761409U (en)Low-cost and high-reliability high-speed network communication chip test circuit
CN104572337A (en)Inter-chip data transmission method
WO2021036189A1 (en)Rdma data sending and receiving methods, electronic device and readable storage medium
US9337959B2 (en)Defect propagation of multiple signals of various rates when mapped into a combined signal
CN103227693B (en)Supercharged code
KR102017807B1 (en)Apparatus for processing data and method for processing data
CN106209307A (en)Interconnected method and system between many FPGA sheets
CN115037419B (en)Method for serial transmission of variable-length coded data in chip testing process

Legal Events

DateCodeTitleDescription
C06Publication
PB01Publication
C10Entry into substantive examination
SE01Entry into force of request for substantive examination
C02Deemed withdrawal of patent application after publication (patent law 2001)
WD01Invention patent application deemed withdrawn after publication

Application publication date:20120606


[8]ページ先頭

©2009-2025 Movatter.jp