Movatterモバイル変換


[0]ホーム

URL:


CN102481449A - Electrical neurostimulator package - Google Patents

Electrical neurostimulator package
Download PDF

Info

Publication number
CN102481449A
CN102481449ACN2010800055911ACN201080005591ACN102481449ACN 102481449 ACN102481449 ACN 102481449ACN 2010800055911 ACN2010800055911 ACN 2010800055911ACN 201080005591 ACN201080005591 ACN 201080005591ACN 102481449 ACN102481449 ACN 102481449A
Authority
CN
China
Prior art keywords
coil
cage
equipment according
container
equipment
Prior art date
Legal status (The legal status is an assumption and is not a legal conclusion. Google has not performed a legal analysis and makes no representation as to the accuracy of the status listed.)
Pending
Application number
CN2010800055911A
Other languages
Chinese (zh)
Inventor
雅努什·A·库茨马
Current Assignee (The listed assignees may be inaccurate. Google has not performed a legal analysis and makes no representation or warranty as to the accuracy of the list.)
NEUROSTIMULATION DEVICES AND T
Original Assignee
NEUROSTIMULATION DEVICES AND T
Priority date (The priority date is an assumption and is not a legal conclusion. Google has not performed a legal analysis and makes no representation as to the accuracy of the date listed.)
Filing date
Publication date
Priority claimed from AU2009900289Aexternal-prioritypatent/AU2009900289A0/en
Application filed by NEUROSTIMULATION DEVICES AND TfiledCriticalNEUROSTIMULATION DEVICES AND T
Publication of CN102481449ApublicationCriticalpatent/CN102481449A/en
Pendinglegal-statusCriticalCurrent

Links

Images

Classifications

Landscapes

Abstract

Described herein is technology relevant to the field of implantable electrical neurostimulators. For example, embodiments include but are not limited to cochlear implants, implantable hearing aids, deep brain stimulators and pain control devices, as well as constituent components of such devices, methods for their manufacture, and methods for their use. For the present purposes, embodiments are described particularly by reference to exemplary cochlear implants, although that should not be regarded as necessarily limiting on the underlying concepts.

Description

The electro-neural stimulator instrument encapsulation
Technical field
Present invention relates in general to field of medical, wherein embodiment relates to the field of implantable electro-neural stimulator instrument.For example embodiment includes but not limited to the building block of cochlear implant, implantable sonifer, DBS device and pain control appliance and these equipment, their manufacturing approach and their method for using.
Background technology
The discussion of following background technology is intended to the present invention is placed suitable situation, and allows its unique characteristic and advantage more to be made much of.Yet any discussion to background technology in the whole description should not be considered to approval following clear and definite or hint: promptly this prior art is well known in the art, and has perhaps formed the part of general knowledge known in this field.
In nerve stimulator design aspect (for example in the situation at cochlear implant), reliability requirement has advanced the restriction of manufacturing technology.United States Patent(USP) No. 5,105,811 with United States Patent(USP) No. 5,562,7101 in this example of equipment has been described.
The design of most nerve stimulator is promptly made closed type metal or the ceramic capsule that is equipped with a plurality of sealed electrical feedthrough components based on such notion, and said sealed electrical feedthrough component is used between the inner space of capsule and surrounding, the signal of telecommunication being imported into or spreading out of.
In in the past 20 years, formed be used for multichannel output nerve stimulator, especially for the industrial standard of cochlear implant.Especially, main capsule is processed by the biocompatible metals such as titanium, and the multiconductor feedthrough component provides internal circuit, stimulate being connected between the wiring of lead-in wire and exterior antenna loop, is used for data and power delivery.
Be the desired reliability of this equipment that guarantees to be designed to sometimes in effect duration, to move, and for provide a kind of size very little, have equipment based on ergonomic shape, this design and fabrication technology is complicated and challenging especially.
Summary of the invention
The objective of the invention is to overcome or improve at least one shortcoming of prior art, or provide substituting of usefulness.
An embodiment provides a kind of implantable devices, and this implantable devices comprises:
By the first that flexible, non-conducting material form, first holds one or more conductive coils;
Be couple to the second portion in the first, second portion comprises rigid container, is defined for the chamber that keeps treatment circuit in the rigid container; And
Be couple to the electrode assemblie on the second portion, electrode assemblie comprises the longitudinal bodies of extension away from first and second portion, and wherein, electrode assemblie is couple on the treatment circuit.
An embodiment provides a kind of equipment, and wherein second portion comprises base portion and the top that is separated by sidewall, and wherein, a plurality of feedthrough components form through sidewall to be used to allowing wiring between first and second portion, to pass.
An embodiment provides a kind of equipment, and wherein, first contacts with the exterior section of feedthrough component.
An embodiment provides a kind of equipment that comprises rigid cage, and rigid cage is fixedly secured on the second portion, and rigid cage comprises first is mechanically secured to the configuration on the second portion.
An embodiment provides a kind of equipment, and wherein cage is welded on the second portion.
An embodiment provides a kind of equipment, and wherein cage and second portion form.
An embodiment provides a kind of equipment, and wherein cage comprises one group of cage member, and one group of cage member is positioned to be defined for first is fixed to the window on the cage.
An embodiment provides a kind of equipment, and wherein first forms through molding process, thus, but the moulding material that limits first substantially flow through window and flow in the cage, thereby with respect to the fixing first of second portion.
An embodiment provides a kind of equipment, and wherein electrode assemblie is couple on the treatment circuit through feedthrough component.
An embodiment provides a kind of equipment, and wherein rigid container is configured for protecting at junction point between electrode assemblie and the second portion, on the equipment downside and avoids downward impact.
An embodiment provides a kind of equipment, and wherein electrode assemblie is installed on the second portion in the position of the lower surface of second portion or in the position of the lower surface that is close to second portion, and wherein above-mentioned position is upcountry spaced apart from the periphery of second portion.
An embodiment provides a kind of equipment, and wherein above-mentioned position is in the center basically with respect to the lower surface of second portion.
An embodiment provides a kind of equipment, and wherein rigid container is metal, and electrode assemblie is an electric insulation with respect to rigid container.
An embodiment provides a kind of equipment, and this equipment comprises the power delivery loop, and the power delivery loop comprises:
The multi cord coil; With
Around the chamber of said coil, wherein, said chamber is processed by the elastoplast pipe.
An embodiment provides a kind of equipment, and this equipment comprises ground electrode, and this ground electrode comprises the circular metal dish, and wherein the top surface of this dish and connecting band expose, and the edge of this dish and lower surface are insulating.
An embodiment provides a kind of equipment, and wherein rigid container is metal, and ground electrode is installed in the recess in the outer surface that is formed at rigid container.
An embodiment provides a kind of method that is used to form implantable devices, and said method comprises:
Rigid container is provided, is defined for the chamber that keeps treatment circuit in this rigid container, wherein, rigid container comprises the feedthrough assembly, and this feedthrough assembly is used to allow wiring between the parts of treatment circuit and external container, to pass, and this feedthrough assembly is protected by cage;
Processing unit is connected on the parts of external container through the feedthrough assembly, the parts of this external container comprise electrode assemblie and coil;
Through using molding process to limit in order to hold the flexible alar part of coil, wherein, flexible alar part extends in the cage, thereby alar part is mechanically connected on the container.
An embodiment provides a kind of implantable devices, and this implantable devices comprises:
Rigid container is defined for the chamber that keeps treatment circuit in this rigid container, wherein, rigid container comprises the feedthrough assembly, and this feedthrough assembly is used to allow wiring between the parts of treatment circuit and external container, to pass, and wherein said feedthrough assembly is protected by cage;
Be positioned at the parts of external container, the parts of this external container are couple on the processing unit through the feedthrough assembly, and wherein the parts of this external container comprise electrode assemblie and coil;
In order to hold the flexible alar part of coil, wherein, flexible alar part forms through molding process, and extends in the cage, thereby alar part is mechanically connected on the container.
An embodiment is provided for the power delivery loop of implantable devices, and this power delivery loop comprises:
The multi cord coil; With
Around the chamber of said coil, wherein, said chamber is processed by the elastoplast pipe.
An embodiment provides the method for the power delivery loop that is formed for implantable devices, and said method comprises:
The multi cord coil is provided; With
Coil is encapsulated into the elastoplast intracavity, thereby limits the coil of encapsulation;
With the encapsulation coil heats to more than the predetermined temperature;
With the coil molding of encapsulation is intended shape; And
Allow the coil cooling of encapsulation, make the coil of encapsulation be set at intended shape.
Run through " embodiment ", " some embodiments " or " embodiment " quoted in this description, the meaning is: combine concrete characteristic, structure or the characteristics of embodiment explanation to be included at least one embodiment of the present invention.Thus, the phrase " embodiment ", " some embodiments " or " embodiment " that occur throughout in the whole description need not to be and all refer to same embodiment, but also may all refer to same embodiment.In addition,, will be apparent that in one or more embodiments, concrete characteristic, structure or characteristics possibly combine with the mode that is fit to arbitrarily to those of ordinary skills according to the disclosure.
Likewise; Should be understood that in the exemplary embodiment of the invention of above explanation, various characteristics of the present invention are combined in single embodiment, accompanying drawing or its explanation sometimes together; So that the disclosure simplification, and help to understand one or more different novelty aspects.Yet the method in the present disclosure is not interpreted as the following purpose of reflection, and promptly the present invention for required protection requires than the more characteristic of the characteristic of specifically quoting in every claim.On the contrary, like that claim reflects enclosed, the novelty aspect is to be less than all characteristics of single aforementioned open embodiment.So, specially will be incorporated in the explanation of this specific embodiment at this with the appended claim of the description of the specific embodiment, wherein, every claim is all separately as the present invention's embodiment independently.
In addition; Though some embodiments of describing among this paper include only some characteristics; And do not comprise other characteristics that comprise in other embodiments, still, as understood by one of ordinary skill in the art; The combination of the characteristic of different embodiments is intended to fall into scope of the present invention, and forms different embodiment.For example, in accompanying claims, any one can be used with combination arbitrarily in the embodiment required for protection.
In addition, in this article, some embodiments are described as the combination of each key element of processor or method of implementing through other equipment of carrying out said function or method that can be through computer system.Therefore, the processor that has a necessity instruction that is used to carry out this method or method key element has formed the device that is used to carry out this method or this method key element.In addition, be to realize the present invention, the key element of describing in this article of equipment embodiment is the example that is used to carry out the device of the said function that is realized by said key element.
In the description that this paper provided, many concrete details have been set forth.Yet be understood that: embodiment of the present invention can be implemented under the situation of these details not having.In other example, be not shown specifically well-known method, structure and technology, not obscure understanding of this description.
As used herein; Only if other special explanations are arranged; Use the common objects of descriptions such as ordinal number adjective " first ", " second ", " the 3rd " only to represent to relate to the different examples of analogical object, and and be not intended to object that hint describes like this must be in the time upward, on the space, on the grade or the particular order of any alternate manner.
In this paper accompanying claims and description, term " comprises ", " including " or in " it comprises " any one are open terms, and the meaning is the elements/features that comprises at least subsequently, but does not get rid of other elements/features.Thus, when in claim, using a technical term " comprising ", should not be interpreted as restriction to device, element or the step of listing subsequently.For example, the expression scope of " equipment that comprises A and B " should not be restricted to the equipment of only being made up of element A and B.The term that uses in this article " comprises ", in " it comprises " or " it comprises " any one is open term, and the meaning is to comprise the elements/features of following this term at least, but does not get rid of other elements/features.Therefore " comprise " and " comprising " is synonym, and expressed equivalent in meaning.
Similarly, term " couples " when using in this article, should only not be interpreted as and only be limited to direct connection." coupling " and " connection " and their derivative together can use a technical term.The expression scope that " is couple to the device A of equipment B " should not be limited to such equipment or system, that is, the output of device A is directly connected to the input of equipment B.Its meaning is between the input of the output of A and B, to have the path, and this path possibly be the path that comprises miscellaneous equipment or device." couple " and can mean that two or more elements are in direct physical contact or electrically contact, though perhaps two or more element directly do not contact each other, but still be fitted to each other or interact.
Description of drawings
Referring now to accompanying drawing, only preferred implementation of the present invention is described through example, wherein:
Figure 1A provides the isometric front view according to the equipment of an embodiment.
Figure 1B provides the perspective rear view of the equipment of Figure 1A.
Fig. 2 provides the axonometric chart of partly cut-away of housing parts of the equipment of Figure 1A, shows one group of closed type electricity feedthrough component.
Fig. 3 A provides the decomposition isometric front view of the equipment of Figure 1A.
Fig. 3 B provides the decomposition isometric front view of the equipment of Figure 1A.
Fig. 4 illustrates the equipment of the Figure 1A under the local structure state.
Fig. 5 A provides the vertical view of Figure 1A equipment.
Fig. 5 B provides along the profile of the line B-B of Fig. 5 A.
Fig. 5 C provides the more detailed view in the zone of Fig. 5 B, shows the wiring to feedthrough component.
Fig. 6 A provides the axonometric chart according to the electrode assemblie of an embodiment.
Fig. 6 B provides the perspective, cut-away view of the electrode assemblie shown in Fig. 6 A.
Fig. 7 A and Fig. 7 B have demonstrated according to the structure of the Low ESR coil of an embodiment.
Fig. 8 provides the axonometric chart according to the parts of an embodiment, and these parts provide the coil alar part for the equipment of Figure 1A.
The specific embodiment
The technology that relates to implantable electro-neural stimulator instrument field described herein.For example, embodiment includes but not limited to cochlear implant, implantable sonifer, deep brain pacemaker and pain control appliance, and the building block of these equipment, their manufacturing approach and their method for using.For this purpose, the exemplary cochlear implant of special reference is explained embodiment, and this should not be considered to necessity restriction to basic conception.
Situation roughly
Embodiment of the present invention is intended to be specially adapted to wait that the mode that is implanted to the lip-deep stimulator of human skull improves design, reliability and other factors.The best example of these equipment is cochlear implant, implantable sonifer, deep brain pacemaker and like the peripheral nerve stimulation device of migraine suppression equipment and so on.Consider that the equipment that is positioned at skull surface bears very big mechanical stress, the inventor has been noted that variety of issue, and still there is significant challenge in these problems and still improbably fully overcomes through existing design or technology.These problems comprise:
Make equipment (but still possessing enough inner spaces) acceptable, low profile with holding electronic equipment; Said equipment is maintained at settling position; And if the loss to sealing has elasticity when suffering mechanical shock, adequately protect thereby internal circuit provided.
Be provided to effectively and reliably to connect to give and stimulate lead-in wire or pick off.
For external power and communication antenna coil provide the mechanical robustness protection, thereby keep its electrical characteristics as well as possible.
The design and fabrication technology of hereinafter describing provides effective solution for some embodiments having under the situation of these challenges, thereby provides shape to be suitable for being placed on the high reliability equipment of adult and child's height of head.
Device overview
Described in this article embodiment relates to the design and fabrication technology of implantable, sealed package of the electro-neural stimulator instrument of (RF) power that is used to have radio frequency and data communication facility.Through with reference to shown in each figure, form is that the sealed package type equipment ofequipment 10 is explained embodiment.Equipment 10 is particularly suitable for the nerve stimulator of cochlear implant, implantable sonifer and other implantation heads.
It seems that totallyequipment 10 is the equipment of general planar, its visually/conceptively limit three parts:rigid seal container 11, saidrigid seal container 11 holds processing unit;Flexible alar part 70, saidflexible alar part 70 holds the telemetry coil of embedding; Andelectrode assemblie 20, saidelectrode assemblie 20 is configured to nerve stimulation.Each importance ofequipment 10 will further be discussed following, comprise:
Total structure and manufacturing approach.
Reliable feedthrough assembly.
Electrode below the equipment connects.
The structure of ground electrode.
Structure/the formation of coil.
Will be understood that: each of these aspects all can provide corresponding advantages for equipment 10.Yet similarly, will be understood that: not every these aspects all are present in all embodiments; Each embodiment comprises some key characters ofequipment 10, and does not comprise other key characters.
Total structure and manufacturing approach
Detailed description is used to form the illustrative methods ofequipment 10 with the lower part.This method provides as the introduction of each parts ofequipment 10 basically, and from the building method angle, should not think restriction.In addition, each step can be carried out successively, rather than is undertaken by mode illustrated among this paper.Fig. 3 A and Fig. 3 B show the exploded view of equipment 10.Two figure all show the reference location of all critical pieces, and show crucial assembling process.
Container 11 is defined for to hold and handles the chamber that equipment (for example one or more printed circuit board (PCB)) waits and be the similar chamber thatequipment 10 provides the nerve stimulation function.The characteristic of this processing equipment has been left in the basket owing to present disclosure basically, and is somebody's turn to do the concrete application of the feature of handling equipment and difference.In this article,container 11 comprisesupper shell 100 andlower house 120, andupper shell 100 andlower house 120 are welded together between them, to limit the chamber.In this embodiment, upper shell is basic to work as the open containers with sidewall, and lower house is smooth substantially and conduct is used so that the lid of the seal of vessel of upper shell.Yet, in other embodiments, use replaceable structure to limit this canister.The effect of sealing canister is to protect the sensitive electronic circuit in the inner space that is contained in gas-tight seal to avoid the destruction of body fluid, and mechanically protects the perishable distribution connection of feedthrough component output.
Preferably,housing 100 is processed by the solid piece such as the metalloid of titanium or titanium alloy.The tapered edge ofhousing 100 is attached under the skin through the profile with this equipment, comes for this equipment provides based on ergonomic profile, and makes the distortion that the structure of this equipment is hard and impact head is to external world caused have elasticity simultaneously.
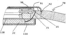
Container 11 comprises the sidewall that is equipped with one group of sealedelectrical feedthrough component 101, shown in the best in Fig. 2, these feedthrough component integral body are called as feedthrough assembly 15.Said feedthrough assembly is that a plurality of holes offeedthrough component 101 limit form, and these holes extend through the sidewall ofcontainer 11 and get into alar part 70.Feedthrough component 101 is positioned at makes on the sidewall ofhousing 100 and can form big open spaces 105 with ccontaining internal circuit in that metal shell is inner, but it also contains the integral thickness ofequipment.Feedthrough assembly 15 allows to be wired to the parts (for example being wired to telemetry coil and electrode assemblie) outside the chamber from the parts of intracavity.The side section that this structure allows under the situation that does not increase the equipment integral thickness, to compriseresponsive feedthrough component 100 is more thickeied, and has more elasticity for damage.
Assembling starts from circuit arrangement and the inside feedthrough outfan that is connected to feedthrough component 101.Through they being sealed welding and sealedcontainer 11 alongupper shell 100 andlower house 120 edge separately.
Process recess 103 at the top ofhousing 100, with ccontainingground electrode assembly 30 in settlingposition.Electrode assemblie 30 is fixed to the bottom of recess with agglutinating mode and selectively keeps in place through the independent becket that is welded to the recess edge.Ground electrode assembly 30 in use directly towards cover implant, power provides the skin of limited protection to external world, on this meaning, above set-up mode is favourable.In manufacture process,ground electrode assembly 30 is fixed in the recess 103, andground electrode assembly 30 is connected to its each feedthrough component (or a plurality of feedthrough component).
With regard to manufacturing, after wiring connected,ground electrode assembly 30 was fixed in the housing recess 103, and connectingband 33 is welded in thefeedthrough component 101 corresponding one.Next step,power coil 50 anddata coil 60 are connected in thefeedthrough component 101 corresponding one.Then feedthroughcage 90 is placed feedthrough component (and be connected to feedthrough component arrange parts of the 101) top of arranging 101, andfeedthrough cage 90 is connected to the edge ofhousing 100 anterior recesses through spot welding, as shown in the figure.
Then,electrode assemblie 20 is connected to their corresponding outside feedthrough component outfans with the wiring oftelemetry coil 50 and 60.At this moment, accomplished wiring toequipment 10.
Next step ofstructure equipment 10 is thatfeedthrough cage 90 is placedfeedthrough assembly 15 tops (and in some embodiments, at distribution elder generation's location feedthrough before cage, for example in these embodiments, the hole in the feedthrough cage is passed in wiring).This feedthrough cage is connected tocontainer 11 through spot welding, promptly is connected tohousing 100 orhousing 120, perhaps be connected tohousing 100 andhousing 120 through spot welding simultaneously through spot welding.In some embodiments,cage 90 andhousing 110 orhousing 120 integrated formation, perhaps the two is integrally formed withhousing 110 and housing 120.Cage 90 is constructed to provide following two kinds of key functions:
Protection feedthrough assembly 15.Cage 90 comprises protectivenessupper surface 91, and this protectivenessupper surface 91 is protected the accurate wiring exit point offeedthrough assembly 15 through the lid that covers on the rigidity is provided.
Alar part 70 is connected to container 11.Cage 90 comprises one group of cage member, and in this article, said cage member is to be connected to the lower horizontal member that thereforeupper surface 91 also limitswindow 92 through a plurality of stays.To further discuss as following, these members allow fixedlyalar part 70.
Next be thatcage 90 is installed,bottom 110 is positioned over the top ofelectrode assemblie 20 and is connected on thehousing 120 through spot welding.The characteristic oflid 110 provides multiple favourable function, and these will be discussed further following.
At last, as shown in Figure 4, comprise that the black box ofmagnet 80 is arranged in the inside of pressing mold, liquid polymers (like silicone rubber or analog) is injected filling up die cavity, thereby form alar part 70.Flexible alar part 70 remains on stable qualification position withtelemetry coil 50,60 and magnet assembly 80.A very important details of this process is: liquid polymers flows throughcage 90 forward windows, thereby between the seal closure assembly of alar part andcontainer 11, forms firm mechanical bond.That is to say that the liquid polymers that formsalar part 70 flows intocage 90, therebyalar part 70 is fixed on the container 11.In addition, said polymer flows aroundfeedthrough assembly 15, thus the protection distribution, and said polymer moieties groundinflow feedthrough component 101, thereby auxiliary seal.
Fig. 5 A, Fig. 5 B and Fig. 5 C illustrate in greater detail the final position fixing process that all parts are in the end assembled the stage, and the process that forms aerial coil 70.What specifically illustrate among Fig. 5 C is the connection ofelectrode assemblie wiring 21 tofeedthrough component 101, and the mechanical engagement ofalar part 70 and cage 90.The important basic point of this embodiment is: the edge thatlid 110 overhangs housing 100, thus form clear passages tofeedthrough component 101 for wiring 21.This has formed effective mechanical protection for perishable in essence wiring 21.Simultaneously, when being positioned over skull when getting out in the portion (drillout), very tangiblecolumniform lid 110 plays fixation for implant.
Compliant member is connected with rigid element
In the stimulator structure of the type, a great challenge provides reliable mechanical connection betweenflexible alar part 70 and hard canister 11.This connection is for getting into 90 times side spaces of cage and being connected to thetelemetry coil 50 of corresponding feedthrough component and 60 connection integrity is important.Conventional method is that the alar part material is spread all over hard metal cap and as main overmolded layer.Though this method has been improved the combination between said two parts, this method has also increased the integral thickness and the bottom of equipment, and this is real defective.
In the technology disclosed herein, of previous section, this connection is sent in 90 times side spaces of cage viacage 90 forward group window groups through the polymer that will be used to formalar part 70 and realizes.This provides good mechanical connection under the situation that does not increase the implant size.As stated, the selectivity that particular importance step is a black box in the assembling ofequipment 10 coats molded, to formcoil alar part 70 as shown in Figure 8.The implant assembly that this process relates to whole local structure is positioned over mould intracavity portion.Then liquid polymers is injected this instrument.This instrument is so shaped that polymer formationantenna alar part 70; The space that said polymer is filled in thecage 90 viawindow 92; And through covering 110 extension, fill the chamber, lead-in wire is fixed therein.
Under the situation of this embodiment, the effect of thewindow 92 in thecage 90 is particular importances.These perforation provide fixed form very efficiently forantenna alar part 70 to said shade assembly, and have therefore eliminatedhousing 100 is carried out the molded necessity that keeps with the abundant machinery that the antenna alar part is provided of traditional big outside coating.And the molded size that also can increase implant greatly of such coating.
Fig. 5 shows in detail the design principle thatwiring 21 is connected to feedthrough component 101.The end of lead assemblies is positioned near the edge of the housing that comprises 101 groups offeedthrough components.Wiring 21 is sent to feedthrough component and is fused to corresponding feedthrough component pin.After wiring connects,sacrificial metal lid 110 is positioned over the top of lead-in wire end, and will covers 110 through spot welding and be connected tobottom 120.
Electrode below the equipment connects
Notice that like precedingtext electrode assemblie 20 draws fromcontainer 11 through covering 110, saidlid 110 is positioned on the downside ofequipment 10 and away from the periphery of this equipment.In this way, the connection of electrode and the point of drawing are avoided impact failure through the protection of rigid container 11.That is to say that the location oflid 110 provides the electrode link position, this electrode link position is avoided the mechanical stress via the outer covering layer transmission of skin by the overhanging partial protection of container 11.This is different from (and having improved widely) known equipment, and electrode assemblie is drawn from periphery usually in said known equipment.
In this article,bottom 110 is configured to get out the fixing short column of equipment in the portion as embed skull with fixed form.Thispermission equipment 10 is located with respect to skull reliably.In addition, cover the lead-in wire entering tympanum of 110lead electrode assemblies 20.
The important basic point of another of this embodiment is thatlid 110 stretches out the edge ofhousing 100, thereby forms the clear passage ofwiring 21 to feedthrough component 101.This has formed effective mechanical protection for perishable inessence wiring 21.
The structure of ground electrode
Building method according to theground electrode assembly 30 of an embodiment has been shown among Fig. 6 A and Fig. 6 B.Generally,circular metal dish 31 molded forming inplastic pattern 32 of preferably processing, preferably molded forming in " polyether-ether-ketone " by platinum foil.Polyether-ether-ketone is because therefore its good mechanical strength (high more a lot of than the employed gold of coil structure), good insulation performance characteristic and bio-compatibility are preferable material.
As shown in the figure, the end face ofplatinum dish 31 and connectingband 33 remain exposure.The edge of this dish and bottom are insulating, to prevent when the mountingequipment 10 andhousing 100 is short-circuited.Compare with known prior art, this has formed particularly advantageous electrode structure.
Structure/the formation of coil
Fig. 7 A and Fig. 7 B have demonstrated out according to the method that is used to construct the Low ESR coil of an embodiment.This is specially adapted to power transmission coil 50.As above hereinafter described, self not charged pool passive implant or have under the situation of implant of rechargable power supplies, having very efficiently, power delivery then is very important.Through by such as the metal individual pen of pure gold Low ESR, bio-compatible or enclose aerial coil more and can realize optimum performance.Regrettably, though gold utensil has good electrical characteristics, mechanical strength is but very low.Owing to motion or impact under the mechanical stress produces, even configuration flexibility, multiply also is very crackly.The measure that embodiment of the present invention proposes is included in the inner chamber of mechanical elasticityplastic tube 51 and places the multiply winding wiring.The preferred selection that is used to manage 51 material is " PEEK (polyether-ether-ketone) " with excellent mechanical properties, and the excellent mechanical properties of said polyether-ether-ketone protects the wiring that it held to avoid impacting or tensile stress effectively.Yet, also can use other material.
The assembly of wiring shown in Fig. 7A 52 andpipe 51 is formed the shape of expecting, the for example shape shown in Fig. 7 B.Preferably, this is to cool off then and realize through assembly being heated to about 300 ℃ in the intracavity portion that keeps instrument.This process is the shape of molded again whole windingassembly 50 for good and all substantially.
Data coil 60 selectively is made up of similar equipment, perhaps forms by have more elastic metal like rustless steel and so on.Have more in use under the situation of elastic material, then can use polymer cavity.
Conclusion
Will be understood that embodiment described above has very big advantage in the nerve stimulation field.Though passed through with reference to concrete example description the present invention, one skilled in the art will appreciate that the present invention can realize through many other forms.Though the content that is considered to preferred implementation of the present invention has been described; But one of ordinary skill in the art will recognize that; That under the situation that does not depart from spirit of the present invention, can carry out other and further revise to it, the invention is intended to require to protect all this change and modifications that fall into the scope of the invention.For example any method given above all just can employable program representative.Can from block diagram, increase or delete function, also can between functional device, exchange operation.Can from method described herein, increase or delete step, and still among scope of the present invention.

Claims (20)

CN2010800055911A2009-01-272010-01-14Electrical neurostimulator packagePendingCN102481449A (en)

Applications Claiming Priority (3)

Application NumberPriority DateFiling DateTitle
AU2009900289AAU2009900289A0 (en)2009-01-27Electrical neurostimulator package
AU20099002892009-01-27
PCT/AU2010/000029WO2010085838A1 (en)2009-01-272010-01-14Electrical neurostimulator package

Publications (1)

Publication NumberPublication Date
CN102481449Atrue CN102481449A (en)2012-05-30

Family

ID=42395043

Family Applications (1)

Application NumberTitlePriority DateFiling Date
CN2010800055911APendingCN102481449A (en)2009-01-272010-01-14Electrical neurostimulator package

Country Status (3)

CountryLink
EP (1)EP2382007A1 (en)
CN (1)CN102481449A (en)
WO (1)WO2010085838A1 (en)

Cited By (4)

* Cited by examiner, † Cited by third party
Publication numberPriority datePublication dateAssigneeTitle
CN106310514A (en)*2015-06-302017-01-11奥迪康医疗有限公司Feedthrough connectors
CN107585735A (en)*2017-09-222018-01-16上海交通大学A kind of artificial cochlea electrode and preparation method thereof
CN110292708A (en)*2019-07-262019-10-01杭州诺为医疗技术有限公司A kind of packaging system and packaging method for nerve stimulator coil block
CN114828950A (en)*2019-10-302022-07-29Wyss生物和神经工程中心Feed-through protection cover

Families Citing this family (6)

* Cited by examiner, † Cited by third party
Publication numberPriority datePublication dateAssigneeTitle
EP2877239B1 (en)2012-07-262023-06-21Nyxoah SAElectrical contacts on a medical device patch
US9042991B2 (en)*2013-08-142015-05-26Syntilla Medical LLCImplantable head mounted neurostimulation system for head pain
US20220257956A1 (en)*2013-10-232022-08-18Shiratronics, Inc.Implantable head located radiofrequency coupled neurostimulation system for head pain
US10960215B2 (en)2013-10-232021-03-30Nuxcel, Inc.Low profile head-located neurostimulator and method of fabrication
US10391311B2 (en)2015-01-212019-08-27Advanced Bionics AgCochlear implants
US20190015662A1 (en)*2017-07-122019-01-17Milind Chandrakant RajeMonolithic component for an implantable medical device

Citations (5)

* Cited by examiner, † Cited by third party
Publication numberPriority datePublication dateAssigneeTitle
US6308101B1 (en)*1998-07-312001-10-23Advanced Bionics CorporationFully implantable cochlear implant system
US20020019669A1 (en)*1999-11-292002-02-14Epic Biosonics Inc.Totally implantable cochlear prosthesis
US6517476B1 (en)*2000-05-302003-02-11Otologics LlcConnector for implantable hearing aid
WO2009048580A1 (en)*2007-10-092009-04-16Imthera Medical, Inc.Apparatus, system, and method for selective stimulation
US20090105784A1 (en)*2007-10-182009-04-23Integrated Sensing Systems, Inc.Miniature wireless system for deep brain stimulation

Patent Citations (5)

* Cited by examiner, † Cited by third party
Publication numberPriority datePublication dateAssigneeTitle
US6308101B1 (en)*1998-07-312001-10-23Advanced Bionics CorporationFully implantable cochlear implant system
US20020019669A1 (en)*1999-11-292002-02-14Epic Biosonics Inc.Totally implantable cochlear prosthesis
US6517476B1 (en)*2000-05-302003-02-11Otologics LlcConnector for implantable hearing aid
WO2009048580A1 (en)*2007-10-092009-04-16Imthera Medical, Inc.Apparatus, system, and method for selective stimulation
US20090105784A1 (en)*2007-10-182009-04-23Integrated Sensing Systems, Inc.Miniature wireless system for deep brain stimulation

Cited By (9)

* Cited by examiner, † Cited by third party
Publication numberPriority datePublication dateAssigneeTitle
CN106310514A (en)*2015-06-302017-01-11奥迪康医疗有限公司Feedthrough connectors
CN106310514B (en)*2015-06-302021-07-16奥迪康医疗有限公司Feedthrough connector
CN107585735A (en)*2017-09-222018-01-16上海交通大学A kind of artificial cochlea electrode and preparation method thereof
CN107585735B (en)*2017-09-222019-10-29上海交通大学A kind of artificial cochlea electrode and preparation method thereof
CN110292708A (en)*2019-07-262019-10-01杭州诺为医疗技术有限公司A kind of packaging system and packaging method for nerve stimulator coil block
CN110292708B (en)*2019-07-262025-05-13杭州诺为医疗技术有限公司 Packaging device and packaging method for neural stimulator coil assembly
CN114828950A (en)*2019-10-302022-07-29Wyss生物和神经工程中心Feed-through protection cover
CN114828950B (en)*2019-10-302023-03-28Wyss生物和神经工程中心Feedthrough protection cover
US12121734B2 (en)2019-10-302024-10-22Wyss Center For Bio And Neuro EngineeringBiocompatible housing

Also Published As

Publication numberPublication date
EP2382007A1 (en)2011-11-02
WO2010085838A1 (en)2010-08-05

Similar Documents

PublicationPublication DateTitle
CN102481449A (en)Electrical neurostimulator package
EP1558337B1 (en)Complex connector for capacitors in implantable medical devices
US7537493B2 (en)Method for forming a connector assembly for use with an implantable medical device
US8095217B2 (en)Terminal housing for an electromedical implant
JP5587864B2 (en) Connector cartridge laminate for power transfer
US9011179B2 (en)Assembly of a cable
US20170296830A1 (en)Implantable medical devices and related connector enclosure assemblies utilizing conductors electrically coupled to feedthrough pins
WO2011059590A2 (en)Implantable medical devices including elongated conductor bodies
US9401562B2 (en)Down the bore with open windows and manufacturing thereof
WO2009003235A1 (en)Implantable housing assembly
EP2841155B1 (en)Implantable device with chassis element
US9937339B2 (en)Multielectrode lead with multiplexed control and associated connection method
US20130329373A1 (en)Bio-implantable hermetic integrated ultra high density device
CN112533667B (en) Implant and method of assembling an implant
EP3922304A1 (en)Lead connector assembly for an implantable medical device
JP2016508829A (en) Connector block for implantable device header
EP2968955A1 (en)Implantable device with opposing lead connectors
CN114828950A (en)Feed-through protection cover
US10071253B2 (en)Implantable device with internal lead connector
US9283396B2 (en)Implantable device with shield integrated lead connector
CN214129913U (en)Cochlear implant assembly
US12427323B2 (en)Encapsulation of external components in active implantable medical devices
CN118973661A (en) Mechanical shock protection for implantable hermetic components
CN116747435A (en)Nerve stimulator and method for manufacturing nerve stimulator
JP2008536643A (en) Pulse generator electrode and method

Legal Events

DateCodeTitleDescription
C06Publication
PB01Publication
C10Entry into substantive examination
SE01Entry into force of request for substantive examination
C02Deemed withdrawal of patent application after publication (patent law 2001)
WD01Invention patent application deemed withdrawn after publication

Application publication date:20120530


[8]ページ先頭

©2009-2025 Movatter.jp