





技术领域technical field
本发明涉及雷达天线领域,更具体地说,涉及一种使用超材料的后馈式雷达天线。The invention relates to the field of radar antennas, more specifically, to a feed-back radar antenna using metamaterials.
背景技术Background technique
后馈天线又被称为卡塞格伦天线,由抛物面主反射面2、双曲面副反射面1、馈源喇叭3以及支架4构成,如图1所示。由于抛物面主反射面2的实焦点与双曲面副反射面1的虚焦点重合,而馈源喇叭3的相位中心与双曲面副反射面1的实焦点重合,从卫星射来的电磁波经过抛物面主反射面2一次反射,再被双曲面副反射面1二次反射后,被聚焦于馈源喇叭3的相位中心,同相叠加。从而实现雷达天线定向接收或者发射电磁波。The feed-back antenna is also called the Cassegrain antenna, which consists of a parabolic main reflector 2, a hyperboloid secondary reflector 1, a feed horn 3, and a bracket 4, as shown in FIG. 1 . Since the real focus of the paraboloid main reflector 2 coincides with the virtual focus of the hyperboloid secondary reflector 1, and the phase center of the feed horn 3 coincides with the real focus of the hyperboloid secondary reflector 1, the electromagnetic wave emitted from the satellite passes through the paraboloid main The reflecting surface 2 is reflected once, and then reflected twice by the hyperboloid sub-reflecting surface 1, and then is focused on the phase center of the feed horn 3 and superimposed in the same phase. In this way, the radar antenna can receive or transmit electromagnetic waves directionally.
为了制造抛物面反射面和双曲面副反射面通常利用模具铸造成型或者采用数控机床进行加工的方法。第一种方法的工艺流程包括:制作抛物面模具、铸造成型抛物面和进行抛物面反射器地安装。工艺比较复杂,成本高,而且抛物面的形状要比较准确才能实现雷达天线的定向传播,所以对加工精度的要求也比较高。第二种方法采用大型数控机床进行抛物面的加工,通过编辑程序,控制数控机床中刀具所走路径,从而切割出所需的抛物面形状。这种方法切割很精确,但是制造这种大型数控机床比较困难,而且成本比较高。In order to manufacture the parabolic reflecting surface and the hyperboloid sub-reflecting surface, mold casting is usually used or a method of processing with a numerical control machine tool is used. The technological process of the first method includes: making a paraboloid mold, casting a paraboloid and installing a paraboloid reflector. The process is relatively complicated, the cost is high, and the shape of the parabola must be relatively accurate to achieve the directional propagation of the radar antenna, so the requirements for processing accuracy are also relatively high. The second method uses a large CNC machine tool to process the paraboloid. By editing the program, the path of the tool in the CNC machine tool is controlled to cut the required paraboloid shape. This method cuts very accurately, but it is difficult to manufacture such a large CNC machine tool, and the cost is relatively high.
发明内容Contents of the invention
本发明的目的在于克服现有技术中制造抛物面反射面和双曲面副反射面的困难,提供一种后馈式雷达天线,该天线不再拘泥于抛物面的定式,改以平板超材料,节约了空间;且改进大角度电磁波入射的偏折问题,提高了天线能量辐射的效率。The purpose of the present invention is to overcome the difficulty of making parabolic reflector and hyperboloid secondary reflector in the prior art, and to provide a kind of feed-back radar antenna. Space; and improve the deflection problem of large-angle electromagnetic wave incident, and improve the efficiency of antenna energy radiation.
为了达到上述目的,本发明采用的如下技术方案:In order to achieve the above object, the following technical solutions adopted in the present invention:
一种后馈式雷达天线,所述天线包括:馈源,用于辐射电磁波;超材料面板,用于将所述馈源辐射出的电磁波从球面电磁波转化为平面电磁波,所述超材料面板包括多个具有相同折射率分布的核心层,所述每一核心层包括多个超材料单元,所述超材料单元包括单元基材以及人造微结构,所述超材料面板的每一核心层包括一个以其中心为圆心的圆形区域和多个与圆形区域同心的环形区域,在所述圆形区域内,随着半径的增加折射率逐渐减小;在所述每一环形区域内,随着半径的增加折射率也逐渐减小,且相连的两个区域的交界处发生折射率突变,即交界处的折射率位于半径大的区域时比位于半径小的区域时要大。A feed-back radar antenna, the antenna comprising: a feed source for radiating electromagnetic waves; a metamaterial panel for converting the electromagnetic waves radiated by the feed source from spherical electromagnetic waves into planar electromagnetic waves, the metamaterial panel comprising A plurality of core layers with the same refractive index distribution, each core layer includes a plurality of metamaterial units, the metamaterial units include unit substrates and artificial microstructures, each core layer of the metamaterial panel includes a A circular area with its center as the center and a plurality of annular areas concentric with the circular area, in the circular area, as the radius increases, the refractive index gradually decreases; in each of the annular areas, with As the radius increases, the refractive index also gradually decreases, and a sudden change of refractive index occurs at the junction of two connected regions, that is, the refractive index of the junction is larger when it is located in a region with a large radius than in a region with a small radius.
进一步地,所述雷达天线还包括外壳,用于固定所述馈源;以及紧贴于所述外壳内壁的吸波材料层,用于吸收从馈源辐射出来的部分电磁波;所述吸波材料层和超材料面板共同构成封闭的腔体;所述馈源位于所述腔体内。Further, the radar antenna also includes a housing for fixing the feed source; and a wave-absorbing material layer closely attached to the inner wall of the housing for absorbing part of electromagnetic waves radiated from the feed source; the wave-absorbing material The layers and the metamaterial panels together form a closed cavity; the feed is located within the cavity.
进一步地,所述超材料面板还包括对称分布于所述核心层两侧的多个渐变层,所述每一渐变层均包括片状的基板层、片状的填充层以及设置在所述基板层和填充层之间的空气层,所述填充层内填充的介质包括空气以及与所述基板层相同材料的介质。Further, the metamaterial panel also includes a plurality of gradient layers symmetrically distributed on both sides of the core layer, and each gradient layer includes a sheet-shaped substrate layer, a sheet-shaped filling layer, and a sheet-shaped filling layer arranged on the substrate. The air layer between the layer and the filling layer, the medium filled in the filling layer includes air and a medium of the same material as the substrate layer.
进一步地,在所述圆形区域内,圆心处的折射率为最大值nmax,且随着半径的增加折射率从最大值nmax逐渐减小到最小值nmin;在所述每一环形区域内,随着半径的增加折射率也是从最大值nmax逐渐减小到最小值nmin。Further, in the circular area, the refractive index at the center of the circle has a maximum value nmax , and the refractive index gradually decreases from the maximum value nmax to the minimum value nmin as the radius increases; In the region, the refractive index gradually decreases from the maximum value nmax to the minimum value nmin with the increase of the radius.
进一步地,所述超材料单元还包括第一填充层,所述人造微结构位于所述单元基材和第一填充层之间,所述第一填充层内填充的材料包括空气、人造微结构以及与所述单元基材相同材料的介质。Further, the metamaterial unit also includes a first filling layer, the artificial microstructure is located between the unit base material and the first filling layer, and the material filled in the first filling layer includes air, artificial microstructure and a medium of the same material as the unit substrate.
进一步地,所述超材料面板的每一核心层的折射率以其中心为圆心,随着半径r的变化规律如以下表达式:Further, the refractive index of each core layer of the metamaterial panel takes its center as the center, and the change law with the radius r is as follows:
式中nmax表示所述每一核心层中的最大折射率值,d表示所有核心层的总厚度,ss表示所述馈源到最靠近馈源位置的核心层的距离,n(r)表示所述每一核心层内半径r处折射率值,λ表示馈源辐射出电磁波的波长,其中,In the formula,nmax represents the maximum refractive index value in each core layer, d represents the total thickness of all core layers, ss represents the distance from the feed source to the core layer closest to the feed source position, and n(r) represents The refractive index value at the inner radius r of each core layer, λ represents the wavelength of the electromagnetic wave radiated by the feed source, wherein,
进一步地,所述超材料面板的每一渐变层内的折射率均匀分布的,且多个渐变层间折射率分布的变化规律如以下表达式:Further, the refractive index in each graded layer of the metamaterial panel is uniformly distributed, and the change law of the refractive index distribution between multiple graded layers is as follows:
其中ni表示第i层渐变层的折射率值,m表示渐变层的层数,nmin表示所述每一核心层内的最小折射率值,nmax表示所述每一核心层中的最大折射率值,其中第m层渐变层与核心层靠近,随着m值的变小逐渐远离核心层,第一层渐变层为最外层渐变层。Where ni represents the refractive index value of the i-th gradient layer, m represents the number of layers of the gradient layer, nmin represents the minimum refractive index value in each core layer, and nmax represents the maximum refraction in each core layer Rate value, where the m-th gradient layer is close to the core layer, and gradually moves away from the core layer as the value of m decreases, and the first gradient layer is the outermost gradient layer.
进一步地,所述人造微结构为由至少一根金属丝组成对电磁场有响应的平面结构或立体结构,所述金属丝为铜丝或银丝,所述金属丝通过蚀刻、电镀、钻刻、光刻、电子刻或离子刻的方法附着在所述单元基材上。Further, the artificial microstructure is a planar structure or a three-dimensional structure that is composed of at least one metal wire that responds to an electromagnetic field, and the metal wire is a copper wire or a silver wire, and the metal wire is etched, electroplated, drilled, The method of photolithography, electrolithography or ion lithography is attached to the unit substrate.
进一步地,所述人造微结构为在“工”字形、“工”字形的衍生形、雪花状或雪花状的衍生形任意一种。Further, the artificial microstructure is any one of the shape of "I", the derivative of "I", snowflake or the derivative of snowflake.
进一步地,所述第一基板层和第二基板层均由陶瓷材料、环氧树脂、聚四氟乙烯、FR-4复合材料或F4B复合材料制得。Further, both the first substrate layer and the second substrate layer are made of ceramic material, epoxy resin, polytetrafluoroethylene, FR-4 composite material or F4B composite material.
本发明相对于现有技术,具有以下有益效果:本发明一种后馈式雷达天线通过改变超材料面板内部的折射率分布情况,使得天线远场功率大大地增强了,进而提升了天线传播的距离,同时通过在天线腔体内部设置一层吸波材料层,增加了天线的前后比,使得天线更具方向性。Compared with the prior art, the present invention has the following beneficial effects: a feed-back radar antenna of the present invention greatly increases the far-field power of the antenna by changing the refractive index distribution inside the metamaterial panel, thereby improving the transmission efficiency of the antenna. At the same time, by setting a layer of absorbing material inside the antenna cavity, the front-to-back ratio of the antenna is increased, making the antenna more directional.
附图说明Description of drawings
图1是现有技术中后馈抛物面天线结构示意图;Fig. 1 is a structural schematic diagram of a feed-back parabolic antenna in the prior art;
图2是本发明一种后馈式雷达天线的结构示意图;Fig. 2 is a structural representation of a feed-back radar antenna of the present invention;
图3是本发明所述超材料面板的结构示意图;Fig. 3 is a schematic structural view of the metamaterial panel of the present invention;
图4是本发明所述超材料多个核心层的结构示意图;Fig. 4 is the structural representation of a plurality of core layers of the metamaterial described in the present invention;
图5是本发明所述超材料单元的结构示意图;Fig. 5 is a structural schematic diagram of the metamaterial unit of the present invention;
图6是本发明所述超材料渐变层的结构示意图;Fig. 6 is a structural schematic diagram of the metamaterial graded layer of the present invention;
图7是本发明所述核心层内人造微结构排布示意图;Fig. 7 is a schematic diagram of the arrangement of artificial microstructures in the core layer of the present invention;
图8是本发明核心层折射率变化示意图;Fig. 8 is a schematic diagram of the variation of the refractive index of the core layer of the present invention;
图9是本发明核心层折射率变化示意图。Fig. 9 is a schematic diagram of the variation of the refractive index of the core layer of the present invention.
具体实施方式Detailed ways
下面结合实施例及附图,对本发明作进一步地详细说明,但本发明的实施方式不限于此。The present invention will be described in further detail below in conjunction with the embodiments and the accompanying drawings, but the embodiments of the present invention are not limited thereto.
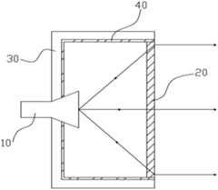
图2是本发明后馈式雷达天线的结构示意图,该天线包括馈源10、超材料面板20、外壳30以及吸波材料层40,所述馈源10固定于外壳30上,吸波材料层40紧贴于外壳30内壁,所述吸波材料层40与超材料面板20相连,且吸波材料层40和超材料面板20共同组成一个封闭的腔体,所述馈源10位于所述腔体内。Fig. 2 is a schematic structural view of the rear-feed radar antenna of the present invention, the antenna includes a
通常从馈源10辐射的电磁波是球面电磁波,但是球面电磁波的远场方向性能不好,对于远距离以球面电磁波为载体的信号传输有很大的局限性,而且衰减快,本发明通过在馈源10传输方向上设计一具有电磁波汇聚功能的超材料面板20,该超材料面板20将馈源10辐射出来的大部分电磁波从球面电磁波转换为平面电磁波,使得雷达天线的方向性更好,天线主瓣能量密度更高,能量更大,进而以该平面电磁波为载体的信号传输距离更远。Usually, the electromagnetic wave radiated from the
为了增强雷达天线的前后比,我们通常是降低天线副瓣和后瓣的电磁波能量,本发明中采用在所述外壳30的内壁紧贴一层吸波材料层40,用于吸收除主瓣方向以外的电磁波能量,所述外壳30用于固定所述馈源10,一般采用金属材料或者ABS材料。In order to enhance the front-to-back ratio of the radar antenna, we usually reduce the electromagnetic wave energy of the antenna side lobe and the rear lobe. In the present invention, the inner wall of the
图3是图2所示的超材料面板20的结构示意图,超材料面板20包括多个核心层210以及对称分布在核心层210两侧的多个渐变层220,每一核心层210均由多个超材料单元组成,所述超材料单元包括单元基材211、片状的第一填充层213以及设置在所述单元基材211和第一填充层213之间的多个人造微结构212,如图4以及如图5所示。所述第一填充层213内填充的材料可以是空气、人造微结构212以及与所述单元基材211相同材料的介质,比如,当需要所述超材料单元内的等效折射率变大时,可以在第一填充层213内填充金属微结构或者是填充具有较大折射率的介质;当需要所述超材料单元内的等效折射率变小时,可以在第一填充层213内填充空气介质或者是不填充任何介质。超材料面板20内的多个超材料核心层210堆叠在一起,且各个核心层210之间等间距排列地组装,或两两片层之间直接前、后表面相粘合地连接成一体。具体实施时,超材料面板20的核心层的数目以及各个核心层之间的距离可依据需求来进行设计。每个超材料核心层210由多个超材料单元阵列形成,整个超材料核心层210可看作是由多个超材料单元沿X、Y、Z三个方向阵列排布而成。Fig. 3 is a schematic structural view of the
所述超材料面板20的多个核心层210通过改变其内部的折射率分布以实现通过所述超材料面板20后的电磁波等相位辐射,即实现从所述馈源10辐射出的球面电磁波转换为平面电磁波。本发明中每个超材料核心层210的折射率分布均相同,这里仅对一个超材料核心层210的折射率分布规律进行详细描述。通过对人造微结构212的拓扑图案、几何尺寸以及其在单元基材211和第一填充层213上分布的设计,使中间的核心层210的折射率分布满足如下规律:每一超材料核心层210包括一个以超材料核心层210中心点为圆心的圆形区域和多个半径大于圆形区域且与圆形区域同心的环形区域,圆心处折射率最大,具有相同半径的圆形区域或者环形区域处折射率相同,在所述圆形区域内,随着半径的增加折射率逐渐减小;在所述每一环形区域内,随着半径的增加折射率也逐渐减小,且相连的两个区域的交界处发生折射率突变,即交界处的折射率在位于半径大的区域时比位于半径小的区域时要大。例如:所述圆形区域和与圆形区域相邻的环形区域的交界处,如果该交界处位于圆形区域时,它的折射率比其位于环形区域时的折射率小;同理相邻的两个环形区域也如此。如图9所示,给出nmax~nmin的折射率变化图,即在圆形区域内,折射率随着半径的增加从圆心处的最大值nmax逐进减小到最小值nmin,在环形区域也如此,但是应知本发明的折射率变化并不以此为限。本发明设计目的为:使电磁波经过各超材料核心层210时,电磁波偏折角度被逐渐改变并最终平行辐射。通过公式Sinθ=q·Δn,其中θ为所需偏折电磁波的角度、Δn为前后折射率变化差值,q为超材料功能层的厚度并通过计算机仿真即可确定所需参数值并达到本发明设计目的。The plurality of
图8为图9所示超材料核心层折射率分布图的O-O′视图。作为公知常识我们可知,电磁波的折射率与成正比关系,其中μ为磁导率,ε为介电常数,当一束电磁波由一种介质传播到另外一种介质时,电磁波会发生折射,当物质内部的折射率分布非均匀时,电磁波就会向折射率比较大的位置偏折,因此,设计超材料面板20内核心层210各点的折射率使其满足上述折射率变化规律,需要说明的是,由于实际上超材料单元是一个立方体而非一个点,因此上述圆形面域只是近似描述,实际上的折射率相同或基本相同的超材料单元是在一个锯齿形圆周上分布的。其具体设计类似于计算机用方形像素点绘制圆形、椭圆形等平滑曲线时进行描点的编程模式(例如OpenGL),当像素点相对于曲线很小时曲线显示为光滑,而当像素点相对于曲线较大时曲线显示有锯齿。FIG. 8 is an OO' view of the metamaterial core layer refractive index profile shown in FIG. 9 . As common knowledge, we know that the refractive index of electromagnetic waves is related to It is proportional to the relationship, where μ is the magnetic permeability and ε is the dielectric constant. When a beam of electromagnetic wave propagates from one medium to another, the electromagnetic wave will be refracted. When the refractive index distribution inside the material is non-uniform, the electromagnetic wave It will be deflected to a position with a relatively large refractive index. Therefore, the refractive index of each point of the
为使超材料核心层210实现图8以及图9所示折射率的变化,经过理论和实际证明,可对所述人造微结构212的拓扑图案、几何尺寸以及其在单元基材211和第一填充层213上分布的设计,单元基材211采用介电绝缘材料制成,可以为陶瓷材料、高分子材料、铁电材料、铁氧材料、铁磁材料等,高分子材料例如可以是、环氧树脂或聚四氟乙烯。人造微结构212为以一定的几何形状附着在单元基材211上能够对电磁波有响应的金属线,金属线可以是剖面为圆柱状或者扁平状的铜线、银线等,一般采用铜,因为铜丝相对比较便宜,当然金属线的剖面也可以为其他形状,金属线通过蚀刻、电镀、钻刻、光刻、电子刻或离子刻等工艺附着在单元基材211上,所述第一填充层213可以填充不同材料的介质,可以与单元基材211相同的材料,也可以是人造微结构,还可以是空气,所述每一核心层210由多个超材料单元组成,每超材料单元都具有一个人造微结构,每一个超材料单元都会对通过其中的电磁波产生响应,从而影响电磁波在其中的传输,每个超材料单元的尺寸取决于需要响应的电磁波,通常为所需响应的电磁波波长的十分之一,否则空间中包含人造微结构212的超材料单元所组成的排列在空间中不能被视为连续。In order to make the
在单元基材211的选定的情况下,通过调整人造微结构212的图案、尺寸及其在单元基材211上的空间分布和在第一填充层213填充不同折射率的介质,可以调整超材料上各处的等效介电常数及等效磁导率进而改变超材料各处的等效折射率。当人造微结构212采用相同的几何形状时,某处人造微结构的尺寸越大,则该处的等效介电常数越大,折射率也越大。In the selected case of the
本实施例采用的人造微结构212的图案为工字形的衍生图案,由图7可知,雪花状人造微结构212的尺寸从中心由最大值向周围逐渐变小为最小值,然后又从最大值逐渐变小这样周期性变化,在每一核心层210中心处,雪花状的人造微结构212的尺寸最大,并且在距离中心相同半径处的雪花状人造微结构212的尺寸相同,因此每一核心层210的等效介电常数由中间向四周逐渐变小的周期性变化,中间的等效介电常数最大,因而每一核心层210的折射率从中间向四周逐渐变小地周期性变化,中间部分的折射率最大。The pattern of the
上面结合附图对本发明的实施例进行了描述,但是本发明并不局限于上述的具体实施方式,人造微结构212的图案可以是二维、也可以是三维结构,不限于该实施例中使用的“工”字形,可以为“工”字形的衍生结构,可以是在三维空间中各条边相互垂直的雪花状及雪花状的衍生结构,也可以是其他的几何形状,其中不同的人造微结构可以是图案相同,但是其设计尺寸不同;也可以是图案和设计尺寸均不相同,只要满足由天线单元发出的电磁波经过超材料面板20传播后可以平行射出即可。The embodiments of the present invention have been described above in conjunction with the accompanying drawings, but the present invention is not limited to the above-mentioned specific embodiments. The pattern of the
本发明实施例中,所述超材料面板20的每一核心层210的折射率以其中心为圆心,随着半径r的变化规律如以下表达式:In the embodiment of the present invention, the refractive index of each
式中nmax表示所述每一核心层210中的最大折射率值,d表示所有核心层的总厚度,ss表示所述馈源10到最靠近馈源10位置的核心层210的距离,n(r)表示所述每一核心层内半径r处折射率值,λ表示馈源10辐射出电磁波的波长,其中,In the formula,nmax represents the maximum refractive index value in each
通常当电磁波从一种介质传输到另一种介质的时候,由于阻抗不匹配的问题,会出现一部分电磁波反射,这样影响电磁波的传输性能,本发明中,当从馈源10辐射出来的电磁波入射到超材料面板20时同样会产生反射,为了减少反射对雷达天线的影响,我们在超材料面板20的核心层210两侧堆成设置多个超材料渐变层220,如图3所示。Usually when the electromagnetic wave is transmitted from one medium to another medium, due to the problem of impedance mismatch, a part of the electromagnetic wave will be reflected, which affects the transmission performance of the electromagnetic wave. In the present invention, when the electromagnetic wave radiated from the
如图5所示,每一超材料渐变层220均包括片状的基板层221、片状的第二填充层223以及设置在所述基板层221和第二填充层223之间的空气层222。所述基板层221可选用高分子聚合物、陶瓷材料、铁电材料、铁氧材料等。其中高分子聚合物优选FR-4或F4B材料。多个超材料渐变层220之间的折射率是不同的,为了匹配空气与核心层210的阻抗,通常是通过调整所述空气层222的宽度和通过在第二填充层223内填充含有不同折射率的介质来实现阻抗匹配,该介质也可以是与基板层221相同的材料也可以是空气,其中靠近空气的超材料渐变层220的折射率最接近空气且超核心层210方向折射率逐渐增加。As shown in FIG. 5 , each metamaterial graded
本发明中实施例中,所述超材料面板20的每一渐变层内220的折射率均匀分布的,且多个渐变层220间折射率分布的变化规律如以下表达式:In the embodiment of the present invention, the refractive index of each graded
其中ni表示第i层渐变层220的折射率值,m表示渐变层220的层数,nmin表示所述每一核心层210内的最小折射率值,nmax表示所述每一核心层210中的最大折射率值,其中第m层渐变层220与核心层210靠近,随着m值的变小逐渐远离核心层210,第1层渐变层为最外层渐变层。Wherein ni represents the refractive index value of the i-
综上所述,本发明的一种后馈式雷达天线通过改变超材料面板20内部的折射率分布情况,使得天线远场功率大大地增强了,进而提升了天线传播的距离,同时通过在天线腔体内部设置一层吸波材料层40,增加了天线的前后比,使得天线更具方向性。In summary, a feed-back radar antenna of the present invention greatly increases the far-field power of the antenna by changing the refractive index distribution inside the
上述实施例为本发明较佳的实施方式,但本发明的实施方式并不受上述实施例的限制,其他的任何未违背本发明的精神实质与原理下所作的改变、修饰、替代、组合、简化,均应为等效的置换方式,都包含在本发明的保护范围之内。The above-mentioned embodiment is a preferred embodiment of the present invention, but the embodiment of the present invention is not limited by the above-mentioned embodiment, and any other changes, modifications, substitutions, combinations, Simplifications should be equivalent replacement methods, and all are included in the protection scope of the present invention.
| Application Number | Priority Date | Filing Date | Title |
|---|---|---|---|
| CN 201110210337CN102480024B (en) | 2011-07-26 | 2011-07-26 | Feed-backward type radar antenna |
| PCT/CN2011/082841WO2013013465A1 (en) | 2011-07-26 | 2011-11-24 | Cassegrain radar antenna |
| Application Number | Priority Date | Filing Date | Title |
|---|---|---|---|
| CN 201110210337CN102480024B (en) | 2011-07-26 | 2011-07-26 | Feed-backward type radar antenna |
| Publication Number | Publication Date |
|---|---|
| CN102480024Atrue CN102480024A (en) | 2012-05-30 |
| CN102480024B CN102480024B (en) | 2013-03-13 |
| Application Number | Title | Priority Date | Filing Date |
|---|---|---|---|
| CN 201110210337ActiveCN102480024B (en) | 2011-07-26 | 2011-07-26 | Feed-backward type radar antenna |
| Country | Link |
|---|---|
| CN (1) | CN102480024B (en) |
| Publication number | Priority date | Publication date | Assignee | Title |
|---|---|---|---|---|
| CN102821589A (en)* | 2012-08-03 | 2012-12-12 | 深圳光启创新技术有限公司 | Wave absorbing material |
| CN102856664A (en)* | 2012-07-31 | 2013-01-02 | 深圳光启创新技术有限公司 | Cassegrain type metamaterial antenna |
| WO2014019514A1 (en)* | 2012-07-31 | 2014-02-06 | 深圳光启创新技术有限公司 | Wide-frequency wave-absorbing metamaterial, electronic device and method for obtaining wide-frequency wave-absorbing metamaterial |
| CN103582401A (en)* | 2012-08-03 | 2014-02-12 | 深圳光启创新技术有限公司 | Broadband wave absorbing material, electronic equipment and method for obtaining broadband wave absorbing material |
| CN105383130A (en)* | 2014-12-15 | 2016-03-09 | 沈阳航空航天大学 | Method for functionally modifying composite material laminated board by radar absorbing nano-membrane |
| CN105789915A (en)* | 2016-03-16 | 2016-07-20 | 深圳光启高等理工研究院 | Dual-polarized antenna |
| CN106654565A (en)* | 2015-12-20 | 2017-05-10 | 中国电子科技集团公司第二十研究所 | Integrated ultra wide band bias parabolic cylindrical surface array antenna based on MIMO system phased array |
| US9742074B2 (en) | 2012-07-31 | 2017-08-22 | Kuang-Chi Innovative Technology Ltd. | Cassegrain-type metamaterial antenna |
| CN109085551A (en)* | 2018-09-25 | 2018-12-25 | 陕西飞机工业(集团)有限公司 | A method of reducing the nearly minor lobe of airborne radar first reflection clutter influences |
| Publication number | Priority date | Publication date | Assignee | Title |
|---|---|---|---|---|
| US9666953B2 (en)* | 2011-07-26 | 2017-05-30 | Kuang-Chi Innovative Technology Ltd. | Cassegrain microwave antenna |
| US9722319B2 (en)* | 2011-10-27 | 2017-08-01 | Kuang-Chi Innovative Technology Ltd. | Metamaterial antenna |
| Publication number | Priority date | Publication date | Assignee | Title |
|---|---|---|---|---|
| US20090201572A1 (en)* | 2008-02-07 | 2009-08-13 | Toyota Motor Engineering & Manufacturing North America, Inc. | Metamaterial gradient index lens |
| CN101587990A (en)* | 2009-07-01 | 2009-11-25 | 东南大学 | Broad band cylindrical lens antenna based on artificial electromagnetic materials |
| CN101699659A (en)* | 2009-11-04 | 2010-04-28 | 东南大学 | Lens antenna |
| Publication number | Priority date | Publication date | Assignee | Title |
|---|---|---|---|---|
| US20090201572A1 (en)* | 2008-02-07 | 2009-08-13 | Toyota Motor Engineering & Manufacturing North America, Inc. | Metamaterial gradient index lens |
| CN101587990A (en)* | 2009-07-01 | 2009-11-25 | 东南大学 | Broad band cylindrical lens antenna based on artificial electromagnetic materials |
| CN101699659A (en)* | 2009-11-04 | 2010-04-28 | 东南大学 | Lens antenna |
| Publication number | Priority date | Publication date | Assignee | Title |
|---|---|---|---|---|
| US9742074B2 (en) | 2012-07-31 | 2017-08-22 | Kuang-Chi Innovative Technology Ltd. | Cassegrain-type metamaterial antenna |
| CN102856664A (en)* | 2012-07-31 | 2013-01-02 | 深圳光启创新技术有限公司 | Cassegrain type metamaterial antenna |
| WO2014019514A1 (en)* | 2012-07-31 | 2014-02-06 | 深圳光启创新技术有限公司 | Wide-frequency wave-absorbing metamaterial, electronic device and method for obtaining wide-frequency wave-absorbing metamaterial |
| US9837725B2 (en) | 2012-07-31 | 2017-12-05 | Kuang-Chi Innovative Technology Ltd. | Wide-frequency wave-absorbing metamaterial, electronic device and method for obtaining wide-frequency wave-absorbing metamaterial |
| CN102856664B (en)* | 2012-07-31 | 2015-07-01 | 深圳光启创新技术有限公司 | Cassegrain type metamaterial antenna |
| CN103582401A (en)* | 2012-08-03 | 2014-02-12 | 深圳光启创新技术有限公司 | Broadband wave absorbing material, electronic equipment and method for obtaining broadband wave absorbing material |
| CN102821589B (en)* | 2012-08-03 | 2015-07-01 | 深圳光启创新技术有限公司 | Wave absorbing material |
| CN102821589A (en)* | 2012-08-03 | 2012-12-12 | 深圳光启创新技术有限公司 | Wave absorbing material |
| CN103582401B (en)* | 2012-08-03 | 2018-05-22 | 深圳光启创新技术有限公司 | Broadband absorbing Meta Materials |
| CN105383130A (en)* | 2014-12-15 | 2016-03-09 | 沈阳航空航天大学 | Method for functionally modifying composite material laminated board by radar absorbing nano-membrane |
| CN106654565A (en)* | 2015-12-20 | 2017-05-10 | 中国电子科技集团公司第二十研究所 | Integrated ultra wide band bias parabolic cylindrical surface array antenna based on MIMO system phased array |
| CN105789915A (en)* | 2016-03-16 | 2016-07-20 | 深圳光启高等理工研究院 | Dual-polarized antenna |
| CN105789915B (en)* | 2016-03-16 | 2019-08-20 | 深圳光启高等理工研究院 | dual polarized antenna |
| CN109085551A (en)* | 2018-09-25 | 2018-12-25 | 陕西飞机工业(集团)有限公司 | A method of reducing the nearly minor lobe of airborne radar first reflection clutter influences |
| Publication number | Publication date |
|---|---|
| CN102480024B (en) | 2013-03-13 |
| Publication | Publication Date | Title |
|---|---|---|
| CN102480024B (en) | Feed-backward type radar antenna | |
| WO2013013465A1 (en) | Cassegrain radar antenna | |
| CN102544745B (en) | Hybrid transmission-reflection microwave antenna | |
| CN102480031B (en) | Feedback type radar antenna | |
| CN102904044B (en) | Feedback radar antenna | |
| CN102480061A (en) | Antenna based meta-material and method for generating working wavelengths of meta-material panel | |
| CN102480025A (en) | Feed-forward type radar antenna | |
| CN102480019A (en) | Metamaterial antenna | |
| CN103036038B (en) | A kind of Feed-backward type radar antenna | |
| CN102891373B (en) | Base station antenna made of metamaterial | |
| CN102480032B (en) | Offset feed type radar antenna | |
| CN102480023B (en) | Offset-feed type microwave antenna | |
| CN102480029B (en) | Offset-feed type radar antenna | |
| CN102810755B (en) | Metamaterial antenna | |
| CN102480026B (en) | Feed-forward type radar antenna | |
| CN102904045B (en) | Feedforward radar antenna | |
| CN102480060A (en) | High-transmission antenna | |
| CN102904038B (en) | Feedforward radar antenna | |
| CN102800984B (en) | Metamaterial antenna | |
| CN102904040B (en) | Offset radar antenna | |
| CN102800982B (en) | Metamaterial antenna | |
| CN102683896B (en) | Radar antenna | |
| CN102904036B (en) | A kind of offset-feed type microwave antenna | |
| WO2013013466A1 (en) | Cassegrain radar antenna | |
| CN103036039B (en) | A kind of offset-feed type radar antenna |
| Date | Code | Title | Description |
|---|---|---|---|
| C06 | Publication | ||
| PB01 | Publication | ||
| C10 | Entry into substantive examination | ||
| SE01 | Entry into force of request for substantive examination | ||
| C14 | Grant of patent or utility model | ||
| GR01 | Patent grant |