

技术领域technical field
本发明涉及充电领域,尤其涉及一种自动管理的的充电系统。The invention relates to the charging field, in particular to an automatically managed charging system.
背景技术Background technique
人们的生活中越来越离不开各类的电子产品,例如,很多人会选择电动车作为出行的交通工具。然而,很多的电子产品都会遇到在出行的途中,电力不足的问题,需要紧急充电才能正常工作,这就使得很多公共场所设置有公共充电站。这些公共充电站提供充电插座用于向电动车等电子产品充电。为了便于管理,在充电之前公共充电站通常需要辨识及确定电子产品的身份,对于不满足身份要求的电子产品不能提供充电服务。目前,辨识及确定电子产品的身份,及对满足身份要求的电子产品启动充电均需要专业人员管理及操作。这就浪费了人力,不利于公共充电站的大量推广。People's lives are increasingly inseparable from various electronic products. For example, many people will choose electric vehicles as a means of transportation for travel. However, many electronic products will encounter the problem of insufficient power during travel, and need emergency charging to work normally, which makes many public places set up public charging stations. These public charging stations provide charging sockets for charging electronic products such as electric vehicles. In order to facilitate management, public charging stations usually need to identify and determine the identity of electronic products before charging, and cannot provide charging services for electronic products that do not meet the identity requirements. At present, identifying and determining the identity of electronic products, and starting and charging electronic products that meet the identity requirements require management and operation by professionals. This has just wasted manpower, is unfavorable for a large number of popularizations of public charging station.
发明内容Contents of the invention
鉴于此,有必要提供一种能实现自动管理的充电装置及相应的受电装置。In view of this, it is necessary to provide a charging device capable of automatic management and a corresponding power receiving device.
还有必要提供一种能实现自动管理的充电系统及充电方法。It is also necessary to provide a charging system and charging method capable of automatic management.
一种充电装置,包括开关单元及充电单元、存储单元、通信单元、比较单元及控制单元,所述存储单元用于存储基准信息,所述通信单元用于与外部通信及接收身份信息,所述比较单元用于比较身份信息及基准信息,所述控制单元用于根据所述比较单元的比较结果控制开关单元闭合以使得充电单元与外部设备接通或者控制开关单元打开以使得充电单元与外部设备断开。A charging device, comprising a switch unit, a charging unit, a storage unit, a communication unit, a comparison unit and a control unit, the storage unit is used to store reference information, the communication unit is used to communicate with the outside and receive identity information, the The comparison unit is used to compare the identity information and the reference information, and the control unit is used to control the switch unit to close according to the comparison result of the comparison unit so that the charging unit is connected to the external device or to control the switch unit to be opened so that the charging unit is connected to the external device disconnect.
一种受电装置,包括受电模块、存储模块及通信模块,所述受电模块用于接受外部电源,所述存储模块用于存储身份信息,所述通信模块用于与外部通信及传送信息。A power receiving device, including a power receiving module, a storage module and a communication module, the power receiving module is used to receive external power, the storage module is used to store identity information, and the communication module is used to communicate with the outside and transmit information .
一种充电系统,包括充电装置及受电装置,所述充电装置包括开关单元及充电单元、存储单元、通信单元、比较单元及控制单元,所述受电装置包括受电模块、存储模块及通信模块,所述存储单元用于存储基准信息,所述通信单元用于与所述受电装置通信,所述比较单元用于比较身份信息及基准信息,所述控制单元用于根据所述比较单元的比较结果控制开关单元闭合以使得充电单元与受电模块接通或者控制开关单元打开以使得充电单元与受电模块断开,所述存储模块用于存储身份信息,所述通信模块用于与所述充电装置通信。A charging system, including a charging device and a power receiving device, the charging device includes a switch unit, a charging unit, a storage unit, a communication unit, a comparison unit, and a control unit, and the power receiving device includes a power receiving module, a storage module and a communication unit module, the storage unit is used to store reference information, the communication unit is used to communicate with the power receiving device, the comparison unit is used to compare identity information and reference information, and the control unit is used to The comparison result controls the switch unit to close so that the charging unit is connected to the power receiving module or controls the switch unit to open so that the charging unit is disconnected from the power receiving module, the storage module is used to store identity information, and the communication module is used to communicate with the power receiving module The charging device communicates.
一种充电方法,包括如下步骤:A charging method, comprising the steps of:
检测是否有外部设备接入;Detect whether there is an external device connected;
如果有外部设备接入,则请求外部设备传送身份信息;If an external device is connected, request the external device to transmit identity information;
接收身份信息并与基准信息进行比较;Receive identity information and compare it with baseline information;
如果身份信息与基准信息一致,则启动充电功能。If the identity information is consistent with the reference information, the charging function is started.
使用上述充电装置、受电装置及充电系统及充电方法,通过识别用户身份而自动控制开关单元的打开与闭合,从而实现了充电的自动化,节省了人力,增强了保密性。Using the above charging device, power receiving device, charging system and charging method, the opening and closing of the switch unit is automatically controlled by identifying the identity of the user, thereby realizing automatic charging, saving manpower, and enhancing confidentiality.
附图说明Description of drawings
图1为一较佳实施方式的充电系统的模块图。FIG. 1 is a block diagram of a charging system in a preferred embodiment.
图2为一较佳实施方式的充电方法流程图。Fig. 2 is a flowchart of a charging method in a preferred embodiment.
图3为一较佳实施方式的更新基准信息方法流程图。Fig. 3 is a flowchart of a method for updating reference information in a preferred embodiment.
具体实施方式Detailed ways
请参阅图1,为本发明一实施方式的充电系统的模块图。在本实施方式中充电系统包括受电装置1及充电装置2,充电装置2用于为受电装置1充电。在本实施方式中,受电装置1包括插头10、存储模块101、通信模块103、受电模块107及更新模块108。插头10用于与充电装置2电性连接以接受充电装置2提供的电源。存储模块101、通信模块103、受电模块107及更新模块108可以集成于插头10中,也可以设置于受电装置1的其他零部件中。Please refer to FIG. 1 , which is a block diagram of a charging system according to an embodiment of the present invention. In this embodiment, the charging system includes a
存储模块101用于存储受电装置1的身份信息,在本实施方式中身份信息包括第一身份信息及第二身份信息,在其它实施方式中,身份信息可以是其中一种或更多种,本实施方式中第一身份信息为插头型号、规格或其它可用于确认插头类型的信息,第二身份信息为受电装置1的型号、辨识号码,受电装置1拥有人信息或其它可用于确认受电装置1及受电装置1拥有人充电资格的信息。以受电装置1为电动车为例,第二身份信息可以为车牌号码、车主指纹等。The
更新模块108用于根据用户输入指令更新存储模块101中存储的身份信息,并在下次与充电装置2建立通信后自动提示充电装置2信息已更新,并告知充电装置2更新前及更新后的信息。在本实施方式中,用户输入所要更新的身份信息,所要更新的身份信息可以是第一身份信息或第二身份信息,也可以同时更新第一身份信息和第二身份信息。所要更新的身份信息可以是用户输入的信息,也可以是直接交换身份信息的顺序或者其它能使得与原身份信息不同的任何形式的变化。The
通信模块103用于与充电装置2通信及传送信息。The
受电模块107用于接收充电装置2的电源以为受电装置1提供工作电压。The
充电装置2包括插座20、存储单元201、检测单元202、通信单元203、比较单元204、控制单元205、开关单元206、充电单元207及更新单元208。充电单元207用于向受电装置1提供工作电源。插座20用于与受电装置1的插头10对应连接,以将充电单元207提供的工作电源输出至受电装置1。存储单元201、检测单元202、通信单元203、比较单元204、控制单元205、开关单元206、充电单元207及更新单元208用于实现充电装置2的自动管理,即自动识别及确认受电装置1的身份及对身份合格的充电装置2自动启动充电功能。The
存储单元201用于存储基准信息,在本实施方式中基准信息与身份信息相对应,基准信息包括第一基准信息及第二基准信息,在其它实施方式中,基准信息可以是其中一种或更多种,本实施例中第一基准信息为插头型号、规格或其它可用于确认插头类型的信息,第二基准信息为受电装置1的型号、辨识号码,受电装置1拥有人信息或其它可用于确认受电装置1及受电装置1拥有人充电资格的信息。以受电装置1为电动车为例,第二基准信息可以为车牌号码、车主指纹等。The
检测单元202用于实时检测是否有外部设备(图未示)接入插头20,检测单元202可以为任何形式可以检测外部设备插入的感测器,本实施方式中,检测单元202为一压力感测器,当有外部设备接入时,插头20在外力的抵压下产生压力,感测器检测到有压力存在后通知通信单元203。The
通信单元203接收到检测单元202的通知后,与受电装置1的通信模块103建立通信连接,并发送信息请求受电装置1传送第一身份信息,并将第一身份信息传送给比较单元204。通信单元203还用于在接收到比较单元204的通知后请求通信模块103传送第二身份信息,并将第二身份信息传送给比较单元204。通信单元203还用于在收到通信模块103的更新通知后发送更新请求于更新单元208。After receiving the notification from the
比较单元204用于接收到第一身份信息后,比较第一身份信息与存储单元201内存储的第一基准信息是否一致。比较时,依序比较第一身份信息及第一基准信息的内容,当比较到第一身份信息某一顺序的某一内容与第一基准信息的同一顺序的某一内容不同时,即终止比较后续内容,此时即可认为第一身份信息与第一基准信息不同,当依序比较第一身份信息及第一基准信息的内容均相同时,可认为比较结果为一致,此时通知通信单元203传送第二身份信息,当接收到第二身份信息后,比较第二身份信息与存储单元201内存储的第二基准信息是否一致,即依序比较第二身份信息及第二基准信息的内容,当比较到第二身份信息某一顺序的某一内容与第二基准信息的同一顺序的某一内容不同时,即终止比较后续内容,此时即可认为第二身份信息与第二基准信息不同,当依序比较第二身份信息及第二基准信息的内容均相同时,可认为比较结果为一致,此时将比较结果传送给控制单元205及更新单元208。The
控制单元205用于根据比较单元204的比较结果控制开关单元206的打开与闭合。具体地,如果比较单元204的比较结果为外部设备的第一身份信息及第二身份信息分别与第一基准信息及第二基准信息一致,即确认外部设备具有充电资格,控制单元205控制开关单元206闭合,此时充电单元207与受电模块107接通,充电单元207处于充电状态,如果比较单元204的比较结果为上述信息中的第一身份信息与第一基准信息不同或第一身份信息与第一基准信息相同而第二身份信息与第二基准信息不同,即确认外部设备不具有充电资格,则开关单元206仍处于打开状态,此时充电单元207与受电模块107断开,则充电单元207无法给受电模块107供电。The
更新单元208用于在收到通信单元203的更新请求及接收到比较单元204的比较结果为外部设备的第一身份信息及第二身份信息分别与第一基准信息及第二基准信息一致后,通知通信单元203请求通信模块103发送更新后的基准信息,更新单元208收到新的基准信息后,将存储于存储单元201中的原基准信息进行删除,并将收到的新基准信息存储在存储单元201原基准信息的位置,以使得存储单元201中存储的基准信息与更新后的受电装置1中的身份信息相适应。The
在上述实施方式中,并没有限制更新的信息是第一基准信息还是第二基准信息,不难理解,更新的基准信息可以是第一基准信息及第二基准信息中的一种,也可以同时更新两种,更新的基准信息的种类与更新的身份信息的种类相一致。当可以同时更新两种时,通信单元203首先请求通信模块103发送更新后的第一基准信息,更新单元208收到更新后的第一基准信息后,将存储于存储单元201中的原第一基准信息进行删除,并将更新后的第一基准信息存储在存储单元201原第一基准信息的位置。如果在一定时间内没有接收到更新后的第一基准信息,则请求发送更新后的第二基准信息,更新单元208收到更新后的第二基准信息后,将存储于存储单元201中的原第二基准信息进行删除,并将更新后的第二基准信息存储在存储单元201原第二基准信息的位置。不难理解,可以在更新模块108完成更新后通知通信模块103时加入可识别第一身份信息及第二身份信息的识别信息,更新单元208在接收到更新请求时即可识别所要更新的基准信息的种类,从而在更新的基准信息是第二基准信息时,免去等待请求及传送第一基准信息的时间。当然,可识别第一基准信息及第二基准信息的方式不限于上述描述的方式。不难理解,在其它实施方式中,充电装置2可以不包括更新单元208及受电装置1可以不包括更新模块108。In the above embodiments, there is no limitation on whether the updated information is the first reference information or the second reference information. It is not difficult to understand that the updated reference information may be one of the first reference information and the second reference information, or both. There are two types of updating, and the type of the updated reference information is consistent with the type of the updated identity information. When both can be updated at the same time, the
在上述实施方式中,基准信息和身份信息均为两种,即身份信息包括第一身份信息及第二身份信息,基准信息包括第一基准信息及第二基准信息,比较单元204在分别比较第一基准信息及第二基准信息与第一身份信息及第二身份信息均相同的情况下才通知控制单元205控制开关单元闭合以使得充电单元207与受电模块107连通,以使得为受电模块107充电。在其它实施方式中,基准信息和身份信息均可以为一种或者多种,不难理解,当基准信息和身份信息均为一种时,比较单元204比较第一身份信息和第一基准信息一致时,则通知控制单元205控制开关单元闭合以使得充电单元207与受电模块107建立连接,以使得为受电模块107充电。当基准信息和身份信息均为多种时,比较单元204分别比较各个相应的身份信息与基准信息,在各个相应的身份信息与基准信息均一致时,通知控制单元205控制开关单元闭合以使得充电单元207与受电模块107建立连接,以使得为受电模块107充电。In the above embodiments, there are two types of reference information and identity information, that is, identity information includes first identity information and second identity information, reference information includes first reference information and second reference information, and comparing
同样地,在上述实施方式中,充电装置2包括检测单元202,在检测到有外部设备后通知通信单元203请求外部设别发送身份信息。不难理解,在其它实施方式中,检测单元202可以设置在受电装置1上,当检测到插入充电装置2时,自动发送身份信息给充电装置2。Similarly, in the above embodiments, the charging
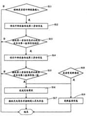
如图2,为本发明一实施方式的充电方法流程图。该充电方法包括如下步骤:FIG. 2 is a flowchart of a charging method according to an embodiment of the present invention. The charging method comprises the steps of:
步骤S11,检测是否有外部设备接入;Step S11, detecting whether an external device is connected;
步骤S12,如果检测到有外部设备接入,则请求外部设备传送第一身份信息;Step S12, if it is detected that an external device is connected, requesting the external device to transmit the first identity information;
步骤S13,接收第一身份信息并与第一基准信息进行比较;Step S13, receiving the first identity information and comparing it with the first reference information;
步骤S14,如果第一身份信息与第一基准信息一致,则请求外部设备传送第二身份信息;Step S14, if the first identity information is consistent with the first reference information, requesting the external device to transmit the second identity information;
步骤S15,接收第二身份信息并与第二基准信息进行比较;Step S15, receiving the second identity information and comparing it with the second reference information;
步骤S16,如果第二身份信息与第二基准信息一致,则发送充电请求;Step S16, if the second identity information is consistent with the second reference information, then send a charging request;
步骤S17,接收充电请求并控制进入充电状态;Step S17, receiving the charging request and controlling to enter the charging state;
步骤S18,检测是否有更新请求;Step S18, detecting whether there is an update request;
步骤S19,如果检测到有更新请求,则更新基准信息,具体更新基准信息的步骤如下(请参考图3):Step S19, if it is detected that there is an update request, then update the reference information, the specific steps for updating the reference information are as follows (please refer to Figure 3):
步骤S201,判断需要更新的基准信息是第一基准信还是第二基准信息;Step S201, judging whether the reference information to be updated is the first reference information or the second reference information;
步骤S202,如果需要更新第一基准信息,请求发送更新后的第一基准信息;Step S202, if the first reference information needs to be updated, request to send the updated first reference information;
步骤S203,接收更新后的第一基准信息;Step S203, receiving updated first reference information;
步骤S204,删除原第一基准信息并将更新后的第一基准信息存储在原第一基准信息处;Step S204, deleting the original first reference information and storing the updated first reference information in the original first reference information;
步骤S205,如果需要更新第二基准信息,请求发送更新后的第二基准信息;Step S205, if the second reference information needs to be updated, request to send the updated second reference information;
步骤S206,接收更新后的第二基准信息;Step S206, receiving the updated second reference information;
步骤S207,删除原第二基准信息并将更新后的第二基准信息存储在原第二基准信息处。Step S207, deleting the original second reference information and storing the updated second reference information in the original second reference information.
综上所述,使用上述充电系统及充电方法可为外部设备充电,可通过比较单元判断需要充电的外部设备的身份,根据判断结果控制开关的打开与闭合,从而决定是否为该外部设备充电,而不需要专门的管理人员,从而节省了人力,同时由于更新单元可以根据户主的需要更新身份信息及基准信息,方便户主管理,同时由于两层身份信息的设置,使得保密性增强。To sum up, using the above charging system and charging method can charge external devices, the identity of the external device that needs to be charged can be judged by the comparison unit, and the opening and closing of the switch can be controlled according to the judgment result, so as to determine whether to charge the external device. It does not require special management personnel, thereby saving manpower. At the same time, because the update unit can update the identity information and reference information according to the needs of the head of the household, it is convenient for the head of the household to manage. At the same time, due to the setting of two layers of identity information, the confidentiality is enhanced.
本技术领域的普通技术人员应当认识到,以上的实施方式仅是用来说明本发明,而并非用作为对本发明的限定,只要在本发明的实质精神范围之内,对以上实施例所作的适当改变和变化都落在本发明要求保护的范围之内。Those of ordinary skill in the art should recognize that the above embodiments are only used to illustrate the present invention, rather than to limit the present invention. Alterations and variations are within the scope of the claimed invention.
| Application Number | Priority Date | Filing Date | Title |
|---|---|---|---|
| CN2010105373024ACN102468655A (en) | 2010-10-31 | 2010-10-31 | Charging device, power receiving device, charging system and charging method |
| Application Number | Priority Date | Filing Date | Title |
|---|---|---|---|
| CN2010105373024ACN102468655A (en) | 2010-10-31 | 2010-10-31 | Charging device, power receiving device, charging system and charging method |
| Publication Number | Publication Date |
|---|---|
| CN102468655Atrue CN102468655A (en) | 2012-05-23 |
| Application Number | Title | Priority Date | Filing Date |
|---|---|---|---|
| CN2010105373024APendingCN102468655A (en) | 2010-10-31 | 2010-10-31 | Charging device, power receiving device, charging system and charging method |
| Country | Link |
|---|---|
| CN (1) | CN102468655A (en) |
| Publication number | Priority date | Publication date | Assignee | Title |
|---|---|---|---|---|
| CN105578908A (en)* | 2013-09-13 | 2016-05-11 | 吉瑞高新科技股份有限公司 | Electronic cigarette and method for battery rod to identify atomizer |
| CN105989272A (en)* | 2015-02-06 | 2016-10-05 | 联想(北京)有限公司 | Power supply management method and electronic equipment |
| CN109617047A (en)* | 2018-11-26 | 2019-04-12 | 深圳奇迹智慧网络有限公司 | A kind of power supply unit, power device and electricity system |
| Publication number | Priority date | Publication date | Assignee | Title |
|---|---|---|---|---|
| CN105578908A (en)* | 2013-09-13 | 2016-05-11 | 吉瑞高新科技股份有限公司 | Electronic cigarette and method for battery rod to identify atomizer |
| CN105989272A (en)* | 2015-02-06 | 2016-10-05 | 联想(北京)有限公司 | Power supply management method and electronic equipment |
| CN109617047A (en)* | 2018-11-26 | 2019-04-12 | 深圳奇迹智慧网络有限公司 | A kind of power supply unit, power device and electricity system |
| Publication | Publication Date | Title |
|---|---|---|
| EP1851865B1 (en) | Method for ensuring a secure nfc functionality of a wireless mobile communication device and wireless mobile communication device having a secure nfc functionality | |
| US9318913B2 (en) | Method of controlling a power transfer system and power transfer system | |
| CN102957184B (en) | For to the Vehicular charging station of electric vehicle charging and method | |
| US10176539B2 (en) | Power supply system | |
| US9156367B2 (en) | Overriding delayed electric vehicle charging events | |
| US10183586B1 (en) | Mixed-level electric vehicle supply equipment (EVSE) and associated charging methods for multi-type electric vehicles and non-electric vehicle devices | |
| CN102957183B (en) | For to the vehicle control device of electric vehicle charging and method | |
| US20100194529A1 (en) | Management system for charging plug-in vehicle | |
| CN104037920B (en) | A kind of lead-acid battery smart charge control system | |
| US9403442B2 (en) | Technique for discharging an energy storage of a vehicle | |
| CN111415469A (en) | Battery swapping system and method based on wireless communication technology | |
| CN105128690A (en) | Electric automobile with wireless reading function and charging system | |
| CN205282802U (en) | Supply socket device and contain device's management system | |
| CN104871199A (en) | Charge/discharge control device, charge/discharge control system, charge/discharge control method, and program | |
| CN102468655A (en) | Charging device, power receiving device, charging system and charging method | |
| EP4412863A1 (en) | Multi-functional computerized charging station for electric vehicles | |
| CN108621847A (en) | A kind of charging battery of electric vehicle management method | |
| CN107274571A (en) | Portable power source leasing method and portable power source give back method | |
| WO2021003942A1 (en) | Recreational vehicle power supply control method and recreational vehicle power supply control apparatus | |
| CN106532823A (en) | Intelligent charging method and device and device selection method | |
| CN105809788A (en) | Electronic lock system and unlocking method thereof | |
| EP3746991B1 (en) | Authorized use of electricity | |
| KR20230025348A (en) | System for outlet | |
| CN209096522U (en) | An electric vehicle charging system | |
| WO2023028844A1 (en) | Vehicle battery swapping method, battery swapping station, vehicle, and system |
| Date | Code | Title | Description |
|---|---|---|---|
| C06 | Publication | ||
| PB01 | Publication | ||
| DD01 | Delivery of document by public notice | Addressee:Weng Jiajun Document name:Notification of Publication of the Application for Invention | |
| DD01 | Delivery of document by public notice | Addressee:Weng Jiajun Document name:Notification of before Expiration of Request of Examination as to Substance | |
| DD01 | Delivery of document by public notice | Addressee:Weng Jiajun Document name:Notification that Application Deemed to be Withdrawn | |
| C02 | Deemed withdrawal of patent application after publication (patent law 2001) | ||
| WD01 | Invention patent application deemed withdrawn after publication | Application publication date:20120523 |