

技术领域technical field
本申请涉及电压选择器技术领域,特别是涉及一种能够快速导通的电压选择器。The present application relates to the technical field of voltage selectors, in particular to a voltage selector capable of rapid conduction.
背景技术Background technique
电压选择器的主要功能是从两个已有的电压中选择一个需要的电压输出,在某些工作场合下,需要输出电压快速过渡到所选择的电压,这就要求电压选择器能够实现电压的快速切换,快速输出需要的电压,但是,传统的电压选择器通常通过一路导通开关来实现被选择电压的输出,这种导通方法的导通速度是有限的,输出电压不能实现快速过渡到所选择的电压。The main function of the voltage selector is to select a desired voltage output from two existing voltages. In some working situations, the output voltage needs to quickly transition to the selected voltage, which requires the voltage selector to be able to realize the voltage Fast switching, fast output of the required voltage, however, the traditional voltage selector usually achieves the output of the selected voltage by turning on the switch all the way, the conduction speed of this conduction method is limited, and the output voltage cannot be quickly transitioned to the selected voltage.
发明内容Contents of the invention
为解决上述技术问题,本申请实施例提供一种电压选择器,以解决/以实现,技术方案如下:In order to solve the above technical problems, an embodiment of the present application provides a voltage selector to solve/realize, and the technical solution is as follows:
一种电压选择器,包括:第一开关电路和第二开关电路,其中,所述第一开关电路导通时将第一电压输出,所述第二开关电路导通时将第二电压输出;A voltage selector, comprising: a first switch circuit and a second switch circuit, wherein the first switch circuit outputs a first voltage when it is turned on, and outputs a second voltage when the second switch circuit is turned on;
所述第一开关电路包括第一开关主导通支路和第一开关辅助导通支路并联连接得到的第一并联支路,该第一并联支路的一端输入第一电压,另一端连接输出端;The first switch circuit includes a first parallel branch obtained by connecting the first switch main conduction branch and the first switch auxiliary conduction branch in parallel, one end of the first parallel branch is input with the first voltage, and the other end is connected to the output end;
所述第二开关电路包括第二开关主导通支路和第二开关辅助导通支路并联连接得到的第二并联支路,该第二并联支路的一端输入第二电压,另一端连接输出端。The second switch circuit includes a second parallel branch obtained by connecting the second switch main conduction branch and the second switch auxiliary conduction branch in parallel, one end of the second parallel branch is input with the second voltage, and the other end is connected to the output end.
优选的,所述第一开关主导通支路包括:串联连接的第一开关管和第二开关管,其中,所述第一开关管的第一端输入所述第一电压,第二端连接所述第二开关管的第二端,所述第二开关管的第一端连接所述输出端,且所述第一开关管的控制端输入第一控制信号,所述第二开关管的控制端输入第二控制信号。Preferably, the main conduction branch of the first switch includes: a first switch tube and a second switch tube connected in series, wherein the first end of the first switch tube is input with the first voltage, and the second end is connected to The second end of the second switch tube, the first end of the second switch tube is connected to the output end, and the control terminal of the first switch tube inputs the first control signal, and the first end of the second switch tube The control terminal inputs the second control signal.
优选的,所述第一开关辅助导通支路包括:第三开关管,所述第三开关管的第一端连接所述输出端、第二端输入所述第一电压,控制端输入第三控制信号。Preferably, the first switch auxiliary conduction branch includes: a third switch tube, the first terminal of the third switch tube is connected to the output terminal, the second terminal is input to the first voltage, and the control terminal is input to the first voltage. Three control signals.
优选的,所述第一开关电路还包括:第一分压偏置电路,该第一分压偏置电路包括:串联连接的第四开关管和第五开关管,其中:Preferably, the first switch circuit further includes: a first voltage divider bias circuit, the first voltage divider bias circuit includes: a fourth switch tube and a fifth switch tube connected in series, wherein:
所述第四开关管的第二端输入所述第一电压,第一端连接所述第五开关管的第二端,且该第一端连接所述第二开关管的第二端,控制端连接所述第三开关管的第一端;The second end of the fourth switch tube is input with the first voltage, the first end is connected to the second end of the fifth switch tube, and the first end is connected to the second end of the second switch tube, and the control end connected to the first end of the third switch tube;
所述第五开关管的第一端连接所述输出端,控制端输入所述第一电压。The first terminal of the fifth switching tube is connected to the output terminal, and the control terminal inputs the first voltage.
优选的,所述第二开关主导通支路包括:串联连接的第六开关管和第七开关管,所述第六开关管的第一端输入所述第二电压,第二端连接所述第七开关管的第二端,控制端输入第四控制信号;Preferably, the main conduction branch of the second switch includes: a sixth switch tube and a seventh switch tube connected in series, the first end of the sixth switch tube is input with the second voltage, and the second end is connected to the The second terminal of the seventh switch tube, the control terminal inputs the fourth control signal;
所述第七开关管的第一端连接输出端,控制端输入第三控制信号。The first terminal of the seventh switch tube is connected to the output terminal, and the control terminal inputs the third control signal.
优选的,所述第二开关辅助导通支路包括:第八开关管,其第一端连接所述输出端,第二端输入所述第二电压,控制端输入所述第二控制信号。Preferably, the second switch auxiliary conduction branch includes: an eighth switch tube, the first end of which is connected to the output end, the second end is input with the second voltage, and the control end is input with the second control signal.
优选的,所述第二开关支路还包括:第二分压偏置电路,该第二分压偏置电路包括:串联连接的第九开关管和第十开关管,其中,Preferably, the second switch branch circuit further includes: a second voltage-dividing bias circuit, the second voltage-dividing bias circuit includes: a ninth switching tube and a tenth switching tube connected in series, wherein,
所述第九开关管的第二端输入所述第二电压,第一端连接所述第十开关管的第二端,控制端连接所述第八开关管的第一端;The second terminal of the ninth switching tube is input with the second voltage, the first terminal is connected to the second terminal of the tenth switching tube, and the control terminal is connected to the first terminal of the eighth switching tube;
所述第十开关管的第一端连接所述输出端,控制端输入所述第二电压。The first terminal of the tenth switch tube is connected to the output terminal, and the control terminal inputs the second voltage.
优选的,所述还包括逻辑控制单元,用于产生所述第一控制信号、第二控制信号、第三控制信号及第四控制信号。Preferably, the device further includes a logic control unit, configured to generate the first control signal, the second control signal, the third control signal and the fourth control signal.
优选的,所述第三开关管为N型金属半导体场效应MOS管,且第一端为源极、第二端为漏极,控制端为栅极。Preferably, the third switching transistor is an N-type metal semiconductor field effect MOS transistor, and the first terminal is a source, the second terminal is a drain, and the control terminal is a gate.
优选的,所述第八开关管为N型MOS管,所述第一端为源极、第二端为漏极、所述控制端为栅极。Preferably, the eighth switch transistor is an N-type MOS transistor, the first terminal is a source, the second terminal is a drain, and the control terminal is a gate.
由以上本申请实施例提供的技术方案可见,所述电压选择器在所述第一开关电路中增设第一开关辅助导通支路,在第二开关电路中增设第二开关辅助导通支路,当该电压选择器输出进行切换时,在电压切换前期,待输出的电压所在的开关电路中的开关辅助导通支路和开关主导通支路均导通,为该电压选择器的输出端进行快速充电,从而使输出端电压快速上升,进而能够使电压选择器的输出电压快速过渡到待输出的电压,加快了电压选择器的切换速度。It can be seen from the above technical solutions provided by the embodiments of the present application that the voltage selector adds a first switch auxiliary conduction branch in the first switch circuit, and a second switch auxiliary conduction branch in the second switch circuit. , when the output of the voltage selector is switched, in the early stage of voltage switching, the switch auxiliary conduction branch and the switch main conduction branch in the switch circuit where the voltage to be output is located are both turned on, which is the output terminal of the voltage selector Fast charging is performed, so that the voltage at the output terminal rises rapidly, and then the output voltage of the voltage selector can quickly transition to the voltage to be output, and the switching speed of the voltage selector is accelerated.
附图说明Description of drawings
为了更清楚地说明本申请实施例或现有技术中的技术方案,下面将对实施例或现有技术描述中所需要使用的附图作简单地介绍,显而易见地,下面描述中的附图仅仅是本申请中记载的一些实施例,对于本领域普通技术人员来讲,在不付出创造性劳动的前提下,还可以根据这些附图获得其他的附图。In order to more clearly illustrate the technical solutions in the embodiments of the present application or the prior art, the following will briefly introduce the drawings that need to be used in the description of the embodiments or the prior art. Obviously, the accompanying drawings in the following description are only These are some embodiments described in this application. Those skilled in the art can also obtain other drawings based on these drawings without creative work.
图1为本申请实施例一种电压选择器的电路结构示意图;FIG. 1 is a schematic diagram of a circuit structure of a voltage selector according to an embodiment of the present application;
图2为本申请实施例电压选择器的控制信号的波形图;Fig. 2 is the waveform diagram of the control signal of the voltage selector of the embodiment of the present application;
图3为本申请实施例提供的电压选择器由第二电压切换至第一电压时输出端充电过程对应的波形图。FIG. 3 is a waveform diagram corresponding to the charging process of the output terminal when the voltage selector is switched from the second voltage to the first voltage according to the embodiment of the present application.
具体实施方式Detailed ways
本申请实施例提供一种电压选择器,包括第一开关电路和第二开关电路,其中,所述第一开关电路导通时将第一电压输出,所述第二开关电路导通时将第二电压输出;所述第一开关电路包括第一开关主导通支路和第一开关辅助导通支路并联连接得到的第一并联支路,该第一并联支路的一端输入第一电压,另一端连接输出端;所述第二开关电路包括第二开关主导通支路和第二开关辅助导通支路并联连接得到的第二并联支路,该第二并联支路的一端输入第二电压,另一端连接输出端。An embodiment of the present application provides a voltage selector, including a first switch circuit and a second switch circuit, wherein the first switch circuit outputs the first voltage when it is turned on, and the second switch circuit outputs the first voltage when it is turned on. Two voltage outputs; the first switch circuit includes a first parallel branch obtained by connecting the first switch main conduction branch and the first switch auxiliary conduction branch in parallel, and one end of the first parallel branch inputs the first voltage, The other end is connected to the output end; the second switch circuit includes a second parallel branch obtained by connecting the second switch main conduction branch and the second switch auxiliary conduction branch in parallel, and one end of the second parallel branch is input to the second voltage, and the other end is connected to the output terminal.
所述电压选择器在两个开关电路中分别增设了一个开关辅助导通支路,当电压选择器进行切换时,待输出的电压所在的开关电路中的开关主导通支路和开关辅助导通支路均导通,对输出端进行快速充电,使输出端的电压快速上升,进而快速过渡到待输出的电压,从而加快了电压选择器的切换速度。The voltage selector adds a switch auxiliary conduction branch in the two switch circuits respectively. When the voltage selector switches, the switch main conduction branch and the switch auxiliary conduction in the switch circuit where the voltage to be output is located The branches are all turned on, and the output terminal is charged quickly, so that the voltage of the output terminal rises rapidly, and then quickly transitions to the voltage to be output, thereby accelerating the switching speed of the voltage selector.
为了使本技术领域的人员更好地理解本申请中的技术方案,下面将结合本申请实施例中的附图,对本申请实施例中的技术方案进行清楚、完整地描述,显然,所描述的实施例仅仅是本申请一部分实施例,而不是全部的实施例。基于本申请中的实施例,本领域普通技术人员在没有做出创造性劳动前提下所获得的所有其他实施例,都应当属于本申请保护的范围。In order to enable those skilled in the art to better understand the technical solutions in the present application, the technical solutions in the embodiments of the present application will be clearly and completely described below in conjunction with the drawings in the embodiments of the present application. Obviously, the described The embodiments are only some of the embodiments of the present application, but not all of them. Based on the embodiments in this application, all other embodiments obtained by persons of ordinary skill in the art without creative efforts shall fall within the scope of protection of this application.
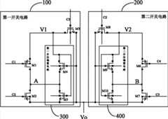
请参见图1,示出了本申请实施例一种电压选择器的电路结构示意图,该电压选择器包括第一开关电路100和第二开关电路200,其中:Please refer to FIG. 1 , which shows a schematic circuit structure diagram of a voltage selector according to an embodiment of the present application. The voltage selector includes a
所述第一开关电路100包括第一开关主导通支路和第一开关辅助导通支路,所述第一开关主导通支路包括第一开关管M1和第二开关管M2,所述第一开关辅助导通支路为第三开关管M3。The
所述第一开关管M1与所述第二开关管M2串联,其中,所述第一开关管M1的第一端输入有所述第一电压V1,第二端连接所述第二开关管M2的第二端,控制端输入有第一控制信号C1;The first switching tube M1 is connected in series with the second switching tube M2, wherein the first terminal of the first switching tube M1 is input with the first voltage V1, and the second terminal is connected to the second switching tube M2 The second terminal of the control terminal is input with a first control signal C1;
所述第二开关管M2的第一端连接该电压选择器的输出端Vo,控制端输入有第二控制信号C2。The first end of the second switching tube M2 is connected to the output end Vo of the voltage selector, and the second control signal C2 is input to the control end.
所述第三开关管M3的第一端连接所述输出端Vo,第二端输入有所述第一电压V1,控制端输入有第三控制信号C3。A first terminal of the third switching tube M3 is connected to the output terminal Vo, a second terminal is input with the first voltage V1, and a control terminal is input with a third control signal C3.
所述第二开关电路200包括第二开关主导通支路和第二开关辅助导通支路,所述第二开关主导通支路包括第六开关管M6和第七开关管M7,所述第二开关辅助导通支路为第八开关管M8。The
所述第六开关管M6与所述第七开关管M7串联,其中,所述第六开关管M6的第一端输入有第二电压V2,第二端连接所述第七开关管M7的第二端,控制端输入有第四控制信号C4;The sixth switching tube M6 is connected in series with the seventh switching tube M7, wherein the first terminal of the sixth switching tube M6 is input with the second voltage V2, and the second terminal is connected to the first terminal of the seventh switching tube M7. Two terminals, the control terminal inputs a fourth control signal C4;
所述第七开关管M7的第一端连接所述输出端Vo,控制端输入有所述第三控制信号C3。A first end of the seventh switching tube M7 is connected to the output end Vo, and the control end is input with the third control signal C3.
所述第二开关辅助导通支路包括第八开关管M8,其第一端连接所述输出端,第二端输入有所述第二电压V2,控制端输入有所述第二控制信号C2。The second switch auxiliary conduction branch includes an eighth switch tube M8, the first end of which is connected to the output end, the second end is input with the second voltage V2, and the control end is input with the second control signal C2 .
具体的,该电压选择器的工作过程如下:Specifically, the working process of the voltage selector is as follows:
当该电压选择器的输出电压由所述第二电压V2切换至第一电压V1,此时,第一开关电路100处于导通状态,第二开关电路200处于截止状态,具体的,第一控制信号C1控制所述第一开关管M1导通,第二控制信号C2控制第二开关管M2导通,第三控制信号C3控制第三开关管M3导通,这样在切换前期,第一电压V1通过第一开关管M1、第二开关管M2构成的第一开关主导通支路,以及第三开关管M3构成的第一开关辅助导通支路为输出端Vo进行充电,使输出端Vo上的电压快速上升到所述第一电压V1进而输出。When the output voltage of the voltage selector is switched from the second voltage V2 to the first voltage V1, at this time, the
同理,所述电压选择器由第一电压V1切换至第二电压V2时,第二开关电路200处于导通状态,第一开关电路100处于截止状态,具体的,第四控制信号C4控制第六开关管M6导通,第三控制信号C3控制第七开关管M7导通,第二控制信号C2控制第八开关管M8导通,此时,第二电压V2经过第二开关主导通支路和第二开关辅助导通支路对输出端Vo进行充电,使输出端Vo上的电压快速达到第二电压V2输出,实现电压选择器的输出电压快速过渡到第二电压V2。Similarly, when the voltage selector is switched from the first voltage V1 to the second voltage V2, the
优选的,本实施例中的第一开关管M1、第二开关管M2、第六开关管M6和第七开关管M7均为P型MOS管,第一端为源极、第二端为漏极、控制端为栅极。Preferably, the first switching tube M1, the second switching tube M2, the sixth switching tube M6 and the seventh switching tube M7 in this embodiment are all P-type MOS tubes, the first end is the source, and the second end is the drain. The pole and the control terminal are gates.
第三开关管M3和第八开关管M8均为N型MOS管,第一端为源极、第二端为漏极、控制端为栅极。The third switching tube M3 and the eighth switching tube M8 are both N-type MOS tubes, the first terminal is a source, the second terminal is a drain, and the control terminal is a gate.
请参见图2,示出了四路控制信号的波形示意图,Please refer to Figure 2, which shows a schematic diagram of waveforms of four control signals,
所述第一控制信号C1、第二控制信号C2、第三控制信号C3和第四控制信号C4具体可以通过逻辑控制电路发出。该逻辑控制电路可以通过单片机等微控制器实现。Specifically, the first control signal C1, the second control signal C2, the third control signal C3 and the fourth control signal C4 may be sent through a logic control circuit. The logic control circuit can be realized by a microcontroller such as a single chip microcomputer.
第一控制信号C1与第三控制信号C3为高低电平互补的控制信号,第二控制信号C2和第四控制信号C4也为高低电平互补的控制信号。The first control signal C1 and the third control signal C3 are control signals with complementary high and low levels, and the second control signal C2 and the fourth control signal C4 are also control signals with complementary high and low levels.
当第一控制信号C1为低电平时,第一开关管M1导通,第三控制信号C3为高电平时,第三开关管M3导通;When the first control signal C1 is at a low level, the first switching tube M1 is turned on, and when the third control signal C3 is at a high level, the third switching tube M3 is turned on;
当第二控制信号C2为低电平时,第二开关管M2导通,第四控制信号C4为高电平时,第八开关管M8导通。When the second control signal C2 is at a low level, the second switch M2 is turned on, and when the fourth control signal C4 is at a high level, the eighth switch M8 is turned on.
第三开关管M3和第八开关管M8的导通条件是栅极电压Vg对源极电压Vs的偏置电压大于阈值电压Vth,当栅极电压Vg对源极电压Vs的偏置电压小于阈值电压Vth,则N型MOS管截止,故,在由第二电压V2切换至第一电压V1的切换前期,随着输出端Vo端的电压逐渐上升,第三开关管M3的源极电压逐渐上升,当第三开关管M3的栅极电压与源极电压的差值小于所述阈值电压时,所述第三开关管截止,此后,第一开关主导通支路仍处于导通状态,通过第一开关主导通支路对输出端Vo进行充电。The conduction condition of the third switching tube M3 and the eighth switching tube M8 is that the bias voltage of the gate voltage Vg to the source voltage Vs is greater than the threshold voltage Vth, when the bias voltage of the gate voltage Vg to the source voltage Vs is smaller than the threshold voltage Vth, the N-type MOS tube is turned off, so, in the early stage of switching from the second voltage V2 to the first voltage V1, as the voltage of the output terminal Vo terminal gradually increases, the source voltage of the third switching tube M3 gradually increases, When the difference between the gate voltage and the source voltage of the third switching tube M3 is less than the threshold voltage, the third switching tube is turned off, after that, the main conduction branch of the first switch is still in the conducting state, through the first The main conducting branch of the switch charges the output terminal Vo.
上述的为输出端进行充电过程如图3所示,由第二电压V2切换到第一电压V1的情况下,在切换前期,即RS阶段,由第一开关主导通支路和第一开关辅助导通支路对输出端Vo进行快速充电,充电速率大,在S点,由于第三开关管M3截止,因此,ST阶段由第一开关主导通支路对输出端Vo进行充电,直到输出端达到第一电压V1。同理,电压选择器的输出电压由第一电压V1切换到第二电压V2时,对输出端Vo的充电过程与上述充电过程相同,也分为两个阶段,此处不再赘述。The above-mentioned charging process for the output terminal is shown in Figure 3. In the case of switching from the second voltage V2 to the first voltage V1, in the early stage of switching, that is, the RS stage, the first switch is the main conduction branch and the first switch is assisted. The conduction branch charges the output terminal Vo quickly, and the charging rate is large. At point S, since the third switch tube M3 is cut off, in the ST stage, the first switch dominates the conduction branch to charge the output terminal Vo until the output terminal The first voltage V1 is reached. Similarly, when the output voltage of the voltage selector is switched from the first voltage V1 to the second voltage V2, the charging process of the output terminal Vo is the same as the above-mentioned charging process, which is also divided into two stages, which will not be repeated here.
优选的,请参见图1,所述电压选择器中的第一开关电路还包括第一分压偏置电路300,所述第二开关电路还包括第二分压偏置电路400。Preferably, please refer to FIG. 1 , the first switch circuit in the voltage selector further includes a first voltage
所述第一分压偏置电路300包括串联连接的第四开关管M4和第五开关管M5。The first voltage
所述第四开关管M4的第二端输入所述第一电压V1,第一端连接所述第五开关管M5的第二端,且该第一端连接所述第一开关管的第二端,控制端连接所述第三开关管M3的第一端;所述第五开关管M5的第一端连接所述输出端Vo,控制端输入有所述第一电压V1。The second end of the fourth switch M4 is input with the first voltage V1, the first end is connected to the second end of the fifth switch M5, and the first end is connected to the second end of the first switch M4. terminal, the control terminal is connected to the first terminal of the third switching tube M3; the first terminal of the fifth switching tube M5 is connected to the output terminal Vo, and the control terminal is input with the first voltage V1.
所述第一分压偏置电路300的作用是保护第一开关主导通支路上的第一开关管M1和第二开关管M2,具体的,当电压选择器的输出电压Vo由第一电压V1切换至第二电压V2时,第一开关电路100处于截止状态。第一分压偏置电路中的第四开关管M4和第五开关管M5等效为两个电阻串接在第一电压V1和输出端Vo之间,由于此时输出端电压为V2,则A端电位为等效电阻对第一电压V1和第二电压V2的分压,这样,当电压选择器输出电压Vo由第二电压V2切换至第一电压V1期间,A点不会处于浮空状态,而是逐渐趋于一个稳定电位,从而避免了A点的电位过高而烧坏第一开关管M1或第二开关管M2的现象的发生,因此,该第一分压偏置电路300起到保护第一开关管M1和第二开关管M2的作用。The function of the first voltage
所述第二分压偏置电路400包括串联连接的第九开关管M9和第十开关管M10。The second voltage
所述第九开关管M9的第二端输入所述第二电压V2,第一端连接所述第十开关管M10的第二端,控制端连接所述第八开关管M8的第一端;所述第十开关管M10的第一端连接所述输出端Vo,控制端输入所述第二电压V2。The second terminal of the ninth switching tube M9 is input with the second voltage V2, the first terminal is connected to the second terminal of the tenth switching tube M10, and the control terminal is connected to the first terminal of the eighth switching tube M8; A first terminal of the tenth switching tube M10 is connected to the output terminal Vo, and the control terminal inputs the second voltage V2.
第二分压偏置电路400的作用是保护第六开关管M6和第七开关管M7,具体的,当电压选择器的输出电压Vo由第二电压切换至第一电压V1时,第二开关电路处于截止状态。第二分压偏置电路400中的第九开关管M9和第十开关管M10等效为两个电阻串联在第二电压V2和输出端Vo之间,由于此时输出端电压为V1,则B端电位为等效电阻对第二电压V2和第一电压V1的分压,当电压选择器输出电压Vo由第二电压V2切换至第一电压V1期间,B点不会处于浮空状态,而是逐渐趋于一个稳定电位,从而避免了B点的电位过高而烧坏第九开关管M9或第十开关管M10的现象的发生,因此,该第二分压偏置电路400起到保护第九开关管M9和第十开关管M10的作用。The function of the second voltage
需要说明的是,本申请实施例中的N型MOS管的衬底连接接地端,保证N型MOS管的正常工作。It should be noted that the substrate of the N-type MOS transistor in the embodiment of the present application is connected to the ground terminal to ensure the normal operation of the N-type MOS transistor.
本说明书中的各个实施例均采用递进的方式描述,各个实施例之间相同相似的部分互相参见即可,每个实施例重点说明的都是与其他实施例的不同之处。本领域普通技术人员在不付出创造性劳动的情况下,即可以理解并实施。Each embodiment in this specification is described in a progressive manner, the same and similar parts of each embodiment can be referred to each other, and each embodiment focuses on the differences from other embodiments. It can be understood and implemented by those skilled in the art without creative effort.
需要说明的是,在本文中,诸如第一和第二等之类的关系术语仅仅用来将一个实体或者操作与另一个实体或操作区分开来,而不一定要求或者暗示这些实体或操作之间存在任何这种实际的关系或者顺序。It should be noted that in this article, relational terms such as first and second are only used to distinguish one entity or operation from another entity or operation, and do not necessarily require or imply that there is a relationship between these entities or operations. There is no such actual relationship or order between them.
以上所述仅是本申请的具体实施方式,应当指出,对于本技术领域的普通技术人员来说,在不脱离本申请原理的前提下,还可以做出若干改进和润饰,这些改进和润饰也应视为本申请的保护范围。The above description is only the specific implementation of the present application. It should be pointed out that for those of ordinary skill in the art, without departing from the principle of the present application, some improvements and modifications can also be made. It should be regarded as the protection scope of this application.
| Application Number | Priority Date | Filing Date | Title |
|---|---|---|---|
| CN 201110391358CN102420597B (en) | 2011-11-30 | 2011-11-30 | Voltage selector |
| Application Number | Priority Date | Filing Date | Title |
|---|---|---|---|
| CN 201110391358CN102420597B (en) | 2011-11-30 | 2011-11-30 | Voltage selector |
| Publication Number | Publication Date |
|---|---|
| CN102420597A CN102420597A (en) | 2012-04-18 |
| CN102420597Btrue CN102420597B (en) | 2013-12-25 |
| Application Number | Title | Priority Date | Filing Date |
|---|---|---|---|
| CN 201110391358ActiveCN102420597B (en) | 2011-11-30 | 2011-11-30 | Voltage selector |
| Country | Link |
|---|---|
| CN (1) | CN102420597B (en) |
| Publication number | Priority date | Publication date | Assignee | Title |
|---|---|---|---|---|
| CN114825578A (en)* | 2021-01-28 | 2022-07-29 | 泰斗微电子科技有限公司 | Power supply switching circuit |
| CN117811371B (en)* | 2024-02-28 | 2024-06-25 | 杰华特微电子股份有限公司 | Maximum input voltage selection output circuit, method and chip using same |
| Publication number | Priority date | Publication date | Assignee | Title |
|---|---|---|---|---|
| CN1703120A (en)* | 2004-05-24 | 2005-11-30 | 三星Sdi株式会社 | Light emission device and power supply therefor |
| CN1988388A (en)* | 2005-12-22 | 2007-06-27 | 三洋电机株式会社 | Voltage selecting circuit |
| CN101630955A (en)* | 2009-06-09 | 2010-01-20 | 中国人民解放军国防科学技术大学 | High-performance level switch circuit with accelerating tube |
| Publication number | Priority date | Publication date | Assignee | Title |
|---|---|---|---|---|
| KR20070111791A (en)* | 2006-05-19 | 2007-11-22 | 삼성전자주식회사 | Display device, driving device and method |
| Publication number | Priority date | Publication date | Assignee | Title |
|---|---|---|---|---|
| CN1703120A (en)* | 2004-05-24 | 2005-11-30 | 三星Sdi株式会社 | Light emission device and power supply therefor |
| CN1988388A (en)* | 2005-12-22 | 2007-06-27 | 三洋电机株式会社 | Voltage selecting circuit |
| CN101630955A (en)* | 2009-06-09 | 2010-01-20 | 中国人民解放军国防科学技术大学 | High-performance level switch circuit with accelerating tube |
| Title |
|---|
| 傅秋儒.常规电压切换回路存在问题及改进措施.《福建电力与电工》.1997,第17卷(第3期),全文. |
| 常规电压切换回路存在问题及改进措施;傅秋儒;《福建电力与电工》;19970930;第17卷(第3期);全文* |
| Publication number | Publication date |
|---|---|
| CN102420597A (en) | 2012-04-18 |
| Publication | Publication Date | Title |
|---|---|---|
| US10340906B2 (en) | Integrated bootstrap high-voltage driver chip and technological structure thereof | |
| CN105427793B (en) | Voltage control circuit, method, gate driving circuit and display device | |
| CN104022776B (en) | Bootstrapping diode artificial circuit in half-bridge driving circuit | |
| CN204886405U (en) | Dual-power isolation circuit | |
| CN106921284B (en) | A kind of MOSFET floating driving circuit | |
| CN103166616B (en) | Analog switching circuit structure | |
| CN105119604B (en) | A kind of bootstrap switch circuit suitable for the sampling of low supply voltage analog-digital converter | |
| CN102394490B (en) | Protective circuit for analogue switch | |
| CN107404315B (en) | Level shifter | |
| CN103036569A (en) | Sampling hold circuit | |
| CN109921779B (en) | Half-bridge circuit through protection circuit | |
| CN112349333B (en) | CMOS circuit of memory | |
| CN102420597B (en) | Voltage selector | |
| CN206349979U (en) | A kind of Novel MOS tube ON-OFF control circuit | |
| CN105610425B (en) | Power-on protective circuit | |
| CN107370485B (en) | Negative voltage level conversion circuit | |
| CN105141113B (en) | A kind of drive circuit for IGBT driving chips | |
| CN102891672B (en) | There is boot-strapped switch and the body bias effect removing method thereof of low on-resistance | |
| CN202906867U (en) | Grid voltage bootstrapped switch with low on-resistance | |
| CN104020809B (en) | Multiple feed selection circuit | |
| CN102623950B (en) | Protection circuit for high-voltage integrated circuit | |
| CN103795396A (en) | Circuit structure for eliminating short circuit currents | |
| CN106664090B (en) | Buffer circuit and electronic equipment adopting same | |
| CN108809285A (en) | A kind of transmission gate circuit of isolation high input voltage | |
| CN204993056U (en) | Boost circuit and switch |
| Date | Code | Title | Description |
|---|---|---|---|
| C06 | Publication | ||
| PB01 | Publication | ||
| C10 | Entry into substantive examination | ||
| SE01 | Entry into force of request for substantive examination | ||
| C14 | Grant of patent or utility model | ||
| GR01 | Patent grant |