Movatterモバイル変換


[0]ホーム

URL:


CN102414382A - Apparatus and method for casting concrete wall elements - Google Patents

Apparatus and method for casting concrete wall elements
Download PDF

Info

Publication number
CN102414382A
CN102414382ACN2010800184791ACN201080018479ACN102414382ACN 102414382 ACN102414382 ACN 102414382ACN 2010800184791 ACN2010800184791 ACN 2010800184791ACN 201080018479 ACN201080018479 ACN 201080018479ACN 102414382 ACN102414382 ACN 102414382A
Authority
CN
China
Prior art keywords
reinforcing rib
wall elements
casting
concrete
template face
Prior art date
Legal status (The legal status is an assumption and is not a legal conclusion. Google has not performed a legal analysis and makes no representation as to the accuracy of the status listed.)
Granted
Application number
CN2010800184791A
Other languages
Chinese (zh)
Other versions
CN102414382B (en
Inventor
P·马克
C·马滕斯
Current Assignee (The listed assignees may be inaccurate. Google has not performed a legal analysis and makes no representation or warranty as to the accuracy of the list.)
MT Energie GmbH
Original Assignee
MT Energie GmbH
Priority date (The priority date is an assumption and is not a legal conclusion. Google has not performed a legal analysis and makes no representation as to the accuracy of the date listed.)
Filing date
Publication date
Application filed by MT Energie GmbHfiledCriticalMT Energie GmbH
Publication of CN102414382ApublicationCriticalpatent/CN102414382A/en
Application grantedgrantedCritical
Publication of CN102414382BpublicationCriticalpatent/CN102414382B/en
Expired - Fee Relatedlegal-statusCriticalCurrent
Anticipated expirationlegal-statusCritical

Links

Images

Classifications

Landscapes

Abstract

The invention relates to an apparatus for casting concrete wall elements (20), which together form a wall of a container running along a curvature at least in sections, in particular a fermenter for biogas plants, containing a horizontal substrate (10), to which several horizontally extending defining elements (12) are attached, which form sections (18) between each other to be filled with concrete, several shuttering elements (28), which are detachably secured to at least some defining elements, which form shuttering surfaces (36), which are opposed to each other in a section and which are directed at an angle with respect to the vertical axis, which depict the front end surfaces of adjacent wall elements, which face each other in the erected state, wherein the shuttering elements (28) each have at the shuttering surfaces (36) at least one holding device (42), and wherein at least one end of a reinforcing element (44), which is to be moulded in the concrete, is secured in holding devices of shuttering surfaces, which are opposite to each other in a field.

Description

The apparatus and method that are used for the casting concrete wall elements
Technical field
The present invention relates to a kind of apparatus and method in order to casting casting concrete wall elements concrete wall element, they constitute jointly container, especially for the round of biogas equipment at least in part along the wall of curve extension.In so common columniform round, fill with the liquid that is used for fermenting or other material at biogas equipment.In order to set up container, at first the concrete floor on plane is cast on the base usually.Many square basically same wall elements by concrete casting can be installed on this base plate then.Each wall elements common one-tenth polygon ground under installment state constitutes chamber wall.Because along the chamber wall of curve extension, each wall elements must be provided with the end face of respectively cutting sth. askew for this reason, can each be installed with its end face in abutting connection with the element of installing each other whereby, and not form the slit.For fear of forming undesirable slit, must accurately constitute each end face.This is applicable to remaining size of element, because the sealing of container has decisive meaning.Add the wall elements that must interconnect each adjacency.What can need this is, reinforcing rib etc. and the corresponding joint in each element is set, so that can interconnect the reinforcing rib of the element of each adjacency in each wall elements.
Therefore be necessary to make with high precision in the infield of wall as far as possible the wall elements of more complicated.
Summary of the invention
From described prior art, the objective of the invention is to, a kind of apparatus and method that start said pattern are provided, borrow it can be with simple and accurate way provides each concrete wall element at the scene.
The present invention reaches this purpose through the theme of claim 1 and the theme of claim 19.In all dependent claims, manual and each accompanying drawing, draw favourable form of implementation.
The present invention at first reaches this purpose through a kind of device that is used for casting concrete wall elements casting concrete element that starts said pattern, comprising:
The base of-level, fixing above that a plurality of horizontally extending boundary elements, said boundary element is configured for each layout of the concrete casting for use of wall elements between it,
-a plurality of on several at least boundary elements removable fixing formwork element; Said formwork element constitutes each other template face opposed and that locate at angle with vertical line in a layout; Said template face is copied the opposed facing end face under installment state of each adjacent wall elements
-wherein each formwork element has at least one holding device respectively at the template face, and each other in a layout in the holding device of opposed template face fixing respectively at least one wait to be cast to an end of the reinforcing element in the concrete.
The present invention also reaches this purpose through a kind of in order to casting casting concrete wall elements concrete wall element approach; Said concrete wall element constitute jointly container, especially for the round of biogas equipment at least in part along the wall of a curve extension, comprise the following steps:
-casting is used for the base plate of the level of being processed by concrete of container in the infield of container,
A plurality of boundary elements of-fixed level extension on base plate, said a plurality of boundary elements are defined for each layout of the concrete casting for use of wall elements between them,
-each concrete wall element of casting in the layout that limits through each boundary element,
-constitute wall of a container through being installed in the wall elements of casting in each layout.
In according to method of the present invention, through each boundary element complete template is provided in the infield of container, whereby can be by each wall elements of concrete casting container.Can be in first operation at this with the first half casting and and then installing in each layout of each wall elements of container, and in second operation with the second half casting and and then installing in each layout of each wall elements of container.
Another form of implementation according to method can be set; Be fixed on some at least boundary elements a plurality of formwork elements are removable; Their constitute each other template face opposed and that locate at angle with vertical line in a layout; Each template face is copied adjacent each wall elements opposed facing end face under installment state; And each formwork element has at least one holding device respectively on the template face, and wherein each other in a layout in the holding device of opposed each template face fixing respectively at least one wait to be molded into an end of the reinforcing element in the concrete.
Each element along continuous straight runs of demarcating extends and constitutes the net grid of each layout of concrete casting for use on the base on plane.Each element of demarcating can be for example girder steel or an aluminium beam of beam.Their position can and/or be supported in this wise and fix through diagonal, makes to reach an accurate in size position.One interlayer, a barrier film for example are set, so that stop the concrete of casting for example to stick to equally on the base that constitutes by concrete on the bottom surface of each layout.After casting, each wall elements is bearing on the base with front or the back that it is provided with as container outer wall or inwall.Then they are risen and from each wall elements, remove each formwork element with each formwork element from base.And then hold up and each wall elements is installed so that constitute chamber wall, wherein that each is adjacent element connects on their end face.
The template face that extends along each boundary element is in the horizontal direction copied the face that on the seam between each adjacent wall elements, docks each other under the installment state.Chamber wall can extend along a circumference at least in part.Then it is constituted polygon formula through each wall elements.Each template face that tilts guarantees, can be enclosed in the seam between the side of wall elements of each adjacency simultaneously.Each wall elements has the front and back on the ground of plane parallel basically, and they can constitute substantial rectangular respectively.Therefore, except the end face of respectively cutting sth. askew, each wall elements can form rectangular to a great extent.
Fixedly reach very big flexibility through each formwork element each boundary removable on element.Can on each demarcates element, fix different formwork elements for different container dimensionals like this, they copy the corresponding different end face of cutting sth. askew of each wall elements.For this reason, can be on each demarcates element for example fixing on its bottom surface (for example welding) be the flat metal sheet (being made up of steel, aluminium etc.) with the crimp that partly or continuously makes progress in the side.Each Side shuttering element then has a groove on its bottom surface, install them into through said groove on the crimp of flat metal sheet.The structure of the groove in each formwork element is confirmed the angle of each template face.Each formwork element then can for example be fixed through the top board that is connected with each boundary element at its end face.
Through the holding device that in each formwork element, has been provided with in addition, in said holding device, embed for each required reinforcing element of the reinforcement of wall, when casting, prepare reinforcing rib with simple mode.The reinforcing element that after installing, then can not have the wall elements that interconnects each adjacency difficultly.
Certainly on each template face, a plurality of holding devices can be set.Correspondingly then in a layout, extend a plurality of reinforcing elements between opposed holding device.
On the downside and/or upside of each formwork element, on each end face that for example is provided with where necessary, each protuberance (for example constituting through the triangle lath) can be set, it produces corresponding hypotenuse on wall elements.In addition, other formwork element is set certainly in the external layout of each formwork element except template face with inclination, their copy the upside and the downside of each wall elements.They can form of implementation as requested constitute particularly vertical template face.In each layout of this external device retaining element can be set, equally they be molded into, and in the wall of setting up, allow the installation of the wall elements of each casting.Also possiblely be, in each layout of concrete casting for use, a plurality of elements be set, they copy port in wall elements respectively to be made, for example be used for access, safety head etc.
Utilization is possible at each wall elements of the infield of container manufacturing with constituting chamber wall with simple and flexible way according to device of the present invention with according to method of the present invention.When making each element, guarantee to observe accurate quality specifications simultaneously.
Can be provided with according to the required steel concrete rib of relevant provisions.According to a form of implementation, each reinforcing element can be that reinforcing rib or add is wrung.Each reinforcing element also can be reinforced pipe, particularly strengthen blank pipe or sleeve pipe, wrings in order to hold each reinforcing rib or to add.Can be formed from steel each reinforcing element and particularly each reinforcing rib or respectively add and wring.After each element is installed, interconnect these reinforcing ribs of adjacent wall elements or add and wring.Under the situation of reinforced pipe, can or respectively add each reinforcing rib and wring before casting concrete or later the embedding in each pipe.Can be for example realize particularly reinforcing rib or add the connection of wringing through welding.Adding of being connected with reinforcing rib also can be set wrings, and they can form loop wire at the end regions of each wall elements.The loop wire of the element that each is adjacent then can overlapping setting and is interconnected through a reinforcing rib by the loop wire guiding.
Can constitute base through the base plate of container to be set up itself with special mode by reality.Utilize container floor that a flat base is provided, each concrete wall element of can and then casting well above that.At this equally at the scene by the concrete casting container floor.
Each reinforcing element, particularly each reinforcing rib or respectively add wrung, and can between each holding device of opposed template face, extend agley.At this, axis of bending particularly along continuous straight runs extends.It can particularly in the arc-shapedly extend between each holding device.Predesignate corresponding required bending through the corresponding location of opposed holding device.
At least one holding device, some especially or whole opposed holding device in a layout; Can have cylindrical elements fixing in the template face respectively according to another form of implementation, wherein one or more said reinforced pipe covers install on one or more said cylindrical elements.In each formwork element, then groove can be set, in said groove, embed one or more said cylindrical elements.After casting, from each wall elements, remove each formwork element together with each cylindrical elements.According to another simple especially form of implementation; At least one holding device, particularly some or all in a layout opposed holding device can have the hole that in the template corresponding face, is provided with respectively, in wherein one or more said reinforcing ribs or a plurality of patchholes of reinforced pipe (a plurality of hole).According to an optional form of implementation; Said at least one holding device, particularly some or all in a layout opposed holding device have a stationary sleeve in the template face respectively, wherein one or more said reinforcing ribs or reinforced pipe insert in the sleeve (a plurality of sleeve).Each sleeve can have one and begin coning diminishing outside from the template face respectively.This is convenient to form removal after casting.
One or more said reinforcing ribs can have a head at least one end, special two ends, it has the cross section that relative reinforcing rib enlarges.These heads can constitute cup-shaped or solid.For fixing on each formwork element, can reinforcing rib for example be embedded in the sleeve or hole in each formwork element with its head.In order to connect the reinforcing rib of each adjacent wall elements, each head can be together with each other and for example interconnect through clamping device then.Such clamping device can for example constitute through two half-shells around the head interlocking, and said two half-shells are fixing through a ring.
According to another form of implementation; At least one reinforcing rib has a head at least one end; It comprises the cross section that enlarges with respect to reinforcing rib; And at least one other reinforcing rib has the profiled member that comprises inner fovea part at least one end, wherein in order to be connected the reinforcing rib of the wall elements of each adjacency under the installment state, can the head of one of them reinforcing rib be suspended in the inner fovea part of opposed another reinforcing rib.Possible with simple especially mode, each reinforcing rib at one end is provided with a head and on the other end, is provided with profiled member.But also possible, some reinforcing ribs are provided with head on two ends, and other reinforcing rib is provided with profiled member on two ends.Each profiled member can have the keyhole mouth respectively with special mode by reality, can the head of another reinforcing rib be suspended in the corresponding inner fovea part through it.Under installment state, in each wall, constitute quasi-continuous reinforcing rib in such a way.Wherein the reinforcing rib of the wall elements of each adjacency can be with the staggered suspension of simple especially mode.Each corresponding header or profile member can be fixed in again in the sleeve and/or hole in each formwork element.
Another form of implementation is set, and at least one end of each reinforcing element, particularly both ends are distinguished at least in part, particularly surrounded by a profile member fully, and this profile member is copied groove on one or two end in the concrete wall element of casting.Can for example constitute these profile members by stiff foam material.And then each groove that constitutes in such a way can be implemented in the import in the zone of connection of wall elements of two installations, is used for the mutual fixing connection that for example is used for welding process or another kind of mode of each reinforcing element.Also might on some or whole template faces, profile member be set, they copy each slit in each wall elements of casting.In these slits, can embed encapsulant.Each profile member can for example be a lath, and they can constitute semicircle, thereby in each wall of combination, constitutes columniform groove.
At least on the template face, particularly on a plurality of or whole template faces, at least one protuberance can also be set, and at least one, particularly a plurality of or at least one and at least one corresponding groove of protuberance all can be set on other the template face.Protuberance forms groove when casting, and groove forms corresponding protuberance when casting.In each wall of combination, the pattern that this protuberance is pressed the rest part embeds in the groove.Whereby, each wall and the seam that for example is provided with therein are anti-interconnects slippingly.The shape and size of each protuberance and each groove are matched with the form of implementation of selecting respectively of each template face and each reinforcing element.Invade below each formwork element for the concrete that stops casting, in the contact area between each formwork element and base a film is set at least.According to another form of implementation, can at least one layout, particularly on the base of a plurality of or whole layouts a film is set.These films are used to seal the container that is made up of each wall elements.According to another relevant therewith form of implementation, film can also extend along at least one layout, particularly template faces a plurality of or whole layouts at least.Under the installment state of each wall elements, these films can cover the upside and/or the downside of each wall elements.
Device can have at least one support according to another form of implementation, and it supports a retaining element, is used for other the device at least one wall elements is fixed on the layout treated by concrete casting at least in part.Therefore this retaining element is molded in the concrete at least in part.Corresponding support was fixed on before concrete casting on formwork element or the boundary element for this reason.Retaining element can for example relate to anchoring element, is used for railing is fixed on chamber wall.Such crab-bolt can for example constitute through bolt, fixing above that or suspension railing.But also possible, retaining element relates to guide rail, in order to the film of the top cover of fixed container.At such cross section for example is the film that the film top cover of such container is set in the guide rail of U-shaped.And then, it can for example clamp through the flexible pipe that in guide rail, is provided with in a manner known way and be fixing thus.
For cooperate when mounted accurately each other the location heavy with big wall elements, device can have an assembling auxiliary tool.At least one template face profile member that can have preferred conical like this; It copys the groove of the preferred conical in affiliated wall elements; Wherein on another for example opposed template face at least, be provided with and wait to be molded into the nipple in the concrete; In the wall elements of casting, can be screwed in the said nipple with the profile member of the corresponding preferred conical of groove.Cone can be circular cone or truncated cone.
The invention still further relates to one or more concrete wall elements, its utilize according to device of the present invention in case of necessity install and make in order to constitute under the interconnective situation of wall.
Description of drawings
Below illustrate in greater detail embodiments of the invention by each accompanying drawing.Wherein signal:
Fig. 1 according to device of the present invention by the vertical view of first embodiment,
Fig. 2 according to device of the present invention by the vertical view of second embodiment,
Fig. 3 is according to the sectional view of another embodiment along Fig. 1 center line a-a intercepting,
Two of Fig. 4 use the lateral view according to the concrete wall element of device casting of the present invention, clamp in order to explanation,
Fig. 5 is according to the sectional view of another embodiment along Fig. 1 center line a-a intercepting,
Fig. 6 presses the sectional elevation of the connection of each wall elements that Fig. 5 makes,
The longitudinal section of the view of Fig. 7 Fig. 6,
Fig. 8 is according to the sectional view of another embodiment along Fig. 1 center line a-a intercepting,
Fig. 9 presses the sectional view of side direction of the connection of each wall elements that Fig. 8 makes,
Figure 10 is according to the sectional view of another embodiment along Fig. 1 center line a-a intercepting,
Figure 11 presses two sectional views of the connection of each wall elements that Figure 10 makes,
Figure 12 is according to the sectional view of another embodiment along Fig. 1 center line a-a intercepting,
Figure 13 is according to the sectional view of another embodiment along Fig. 1 center line a-a intercepting,
Figure 14 is according to the sectional view of another embodiment along Fig. 1 center line a-a intercepting,
Figure 15 is according to the sectional view of another embodiment along Fig. 1 center line a-a intercepting,
Figure 16 is according to the sectional view of another embodiment along Fig. 1 center line a-a intercepting,
Figure 17 is according to the sectional view of another embodiment along Fig. 1 center line a-a intercepting,
Figure 18 is according to the sectional view of the wall elements of another embodiment,
Figure 19 is used to explain the sectional view of the function of the assembling auxiliary tool shown in Figure 18, and
Figure 20 is used to explain the sectional view according to the assembling auxiliary tool of another embodiment.
The specific embodiment
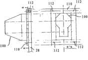
Only otherwise explanation in addition, identical mark is indicated identical object among each figure.Utilization can be set up according to device of the present invention and is of a size of for example 15 to 50m diameters and 5 to 12m container highly.Shown in Fig. 1 the round to be set up that is used for biogas equipment on the infield by thebase plate 10 of concretecasting.Base plate 10 is circular in vertical view and has flat surface.Likewise, a plurality ofboundary elements 12 shown in Fig. 1, beam in the example shown for constituting by steel, aluminium or other materials.Each beam promptly reaches an accurate in size position with net grid size setting and fixing like this in order to be fixed on thebase plate 10 with support 16 through diagonal 14 simultaneously.And then with eachbeam 12 to be fixed on thebase plate 10 in the following mode that more specifies of treating.Between each beam, confirm thelayout 18 of a plurality of concrete castings for use.Concrete casting through eachlayout 18 is filled in manufacturing wall of a container element in two operations.According to the first concrete casting process, the first half of each wall elements is installed on the base plate, like this for eachwall elements 20 illustrative in Fig. 1.Eachwall elements 20 becomes polygon shape ground to constitute the chamber wall that extends along a circular orbit simultaneously.And then inlayout 18 the second half ofcasting wall element 20 and correspondingly supply wall.King-sized situation shown in Fig. 2 with container of big wall height.Require in this case to make the floor strengthen a little scope, so that can in two work steps, make each wall elements.
Shown in the sectional view of Fig. 3 according to first embodiment of device of the present invention.Can find out a supporting beam 12.It partly or continuously is welded on theband steel plate 22 of these crimps through a welding 24.Utilize thepin 26 of an illustrative among Fig. 3 and corresponding screw that thereby eachband steel plate 22 also also is fixed on eachbeam 12 on the base plate 10.For example wooden formwork element also is shown among Fig. 3, and said formwork element has thegroove 30 that for example mills out below it.Eachformwork element 28 extends along the total length of corresponding beam 12.Utilizegroove 30 thatformwork element 20 is locked on the crimp of band steel plate 22.Top board 32fixed form element 28 on total length through being provided with the edge lath in the above.Top board 32 utilizes eachscrew 34 to tighten with beam 12.The removable like thisbeam 12 that is connected in of formwork element 28.They be formed in thelayout 18 opposed each other and with the verticalline template face 36 of α location at angle.Thesetemplate faces 36 are copied the opposed facing end face of the wall elements of each adjacency under the installment state of each wall elements.Through the structure of cutting sth. askew of each end face, in the installation of the polygon formula of eachwall elements 20 shown in Fig. 1, guarantee to be enclosed in the seam between thewall elements 20 of each adjacency.Since each end face in requisition for the tilting diameter that depends on container, eachformwork element 28 can be matched with through millings different on its footing in requisition for inclination.In the example shown, on eachformwork element 28, on the lower end, also fix atriangle lath 38 respectively, it produces a chamfering in concrete.
Pass through the corresponding chamfering of eachprotuberance 40 formation oftop board 32 at the upper area oflayout 18.
As holding device, eachtemplate 28 shown in Fig. 3 has thecylindrical elements 42 that embeds in the groove respectively on its template face 36.Shown in instance in; An end of waiting to be cast into the reinforcedpipe 44 in the concrete is respectively fixed in the holding device of mutual opposedtemplate face 36 in alayout 18 mutually opposed to each other, shown in instance in thesleeve pipe 44 of reinforced pipe for for example constituting by steel, plastics or aluminium.Corresponding location through eachcylindrical elements 42 guarantees that eachsleeve pipe 44 extends along circular shape in alayout 18 this.Circumferential axis along continuous straight runs is simultaneously extended.This exemplary illustrating in the superincumbent part in Fig. 4.Illustrate castingwall elements 20 lateral view and be shown in broken lines thesleeve pipe 44 that is molded into wherein.Can particularly manysuch sleeve pipes 44 or other reinforcing element be arranged in thelayout 18, in order to be cast in the concrete with the mode of describing this.To this, factory's size accurately fixed length cut out and respectively manage 44.Respectively managed before 44 packing into, on building the position, lay for eachcorresponding wall elements 20 reinforcing element below required.
After each wall elements is cast in each layout 18, remove each top board 32 and upwards from each layout 18, rise each wall elements together with each formwork element 28 and each holding device 42.And then, from each wall elements 20, pull out each formwork element 28 in the side.Then, can reinforced pipe 44 be passed through in the reinforcing rib guiding of for example steel.For the reinforcing rib of the wall elements 20 of fixing each adjacency, what can need is, they are drawn from each wall elements 20, illustrates below in Fig. 4 like this.In the zone of indicating with each arrow, can realize the connection of the reinforcing rib of each adjacency then, also will will explain below by each instance like this.Connecting wall element 20 that particularly utilizes device of the present invention casting shown in the part below Fig. 4 ', in order to each element 20 shown in the top part that is clamped in Fig. 4.For example in chamber wall, can be provided with opposed to each other mutually two such connecting wall elements 20 '.Can be molded into therein each sleeve pipe 44 of being shown in dotted line '.If the sleeve pipe 44 through each element 20 guides each reinforcing rib under installment state now; They terminate in Connection Element 20 ' in and from as in the said Connection Element that illustrates below Fig. 4 through each sleeve pipe 44 ' draw in the side, thereby can through make each reinforcing rib its from Connection Element 20 ' the external part clamping that suffers corresponding pulling force to realize the clamping of each reinforcing rib and realize whole chamber wall.
Fig. 5 illustrates with respect to one of the view among Fig. 3 optional form of implementation.Different with the view among Fig. 3, here each formwork element 28 has annular sleeve 46 as holding device, and they are fixed in the corresponding grooves of each formwork element 28.From each template face 36 beginning, each sleeve 46 has coning diminishing outside simultaneously.This simplifies form removal.Shown in instance in, reinforcing rib 48 embeds in the sleeves 46.At this, each reinforcing rib 48 is via diameter bigger steel disk 52 and cup-shaped head 50 welding.Each reinforcing rib 48 is installed in each sleeve 46 and in the arc-shaped so again being laid in each layout 18 with a head 50.Connection still to be explained in each wall elements 20 of installing needs a groove for each reinforcing rib 48, said groove shown in instance in copy through the profile member of in concrete, processing 54 by stiff foam material.Each profile member 54 can extend along the overall height of each wall elements.But this needs not to be this situation.After concrete casting, remove each profile member 54 and stay groove like this.Being connected at the head shown in Fig. 5 50 of Fig. 6 and each reinforcing rib 48 shown in 7.For this reason, with each wall elements 20 so mutual installation, promptly dock the head 50 of the reinforcing rib 48 of each opposed wall elements each other.And then each half-shells 56 being installed in each fixes above the head 50 and through ring 58 reliably.
Shown in Fig. 8 according to the sectional view of another form of implementation of device of the present invention.Be different from the for example embodiment shown in Fig. 5, each reinforcing rib 48 does not have head to be embedded in the sleeve 46 of each formwork element 28 in instance shown in Figure 8 in the left side.Sleeve 46 has coning diminishing profile once more, is convenient to form removal from concrete whereby.Illustrating one at the right part of Fig. 8 also will simpler form of implementation, and wherein each reinforcing rib 48 directly embeds in the groove 60 in each formwork element 28.These borings 60 only roughly extend through a half thickness of each formwork element 28 respectively at this.In addition, each profile member 54 is shown once more among Fig. 8, they copy the groove in concrete in the zone of the end of each reinforcing rib 48.Each profile member shown in instance in do not extend along the overall height of wall elements to be cast respectively.Press the possible connection of reinforcing rib 48 of the wall elements 20 of each adjacency that Fig. 8 makes shown in Fig. 9.Each reinforcing rib 48 pass through each profile member 54 can free approaching end regions in, will abut in each reinforcing rib 48 as general welding point by each round steel 62 of DIN (Deutsche industry norm (DIN)) and as clamping welding.The slit that and then can for example stay by each profile member through sealings such as plaster.
Figure 10 illustrates another the optional scheme according to device of the present invention.Be different from the for example form of implementation shown in Fig. 5, a reinforcing rib 48 has solid head 50 on its end, borrows it that it is installed in the corresponding grooves 60 in the formwork element 20 of configuration.Simultaneously, can find out that groove 60 has than the bigger degree of depth of head 50 thickness.When head 50 inserts in the groove 60 fully; Therefore on the side away from the end of reinforcing rib 48, reserve the part of groove 60, it is filled up with removable profile member 54, for example stiff foam material once more, profile member stays corresponding space in the back of head 50 in the wall elements of casting; On its opposed end; Reinforcing rib 48 has a profiled member 64, as be used for shown in another reinforcing rib 48 said profiled member and reinforcing rib 48 welding among Figure 10 at right part.Profiled member 64 has a cavity 66, and it constitutes inner fovea part, is shown in broken lines in Figure 10 like this.Utilize profiled member 64, reinforcing rib 48 is installed in the sleeve 46 in the formwork element 28 once more.Wall elements in each layout 18, cast and form removal after, the head member 50 of each reinforcing rib 48 via them interconnected with profiled member 64, like this shown in Figure 11.Be illustrated in the cross section of the wall elements of respectively installing in the zone of wall connection 20 simultaneously at the left part of Figure 11.The right part of Figure 11 illustrates along the view of the line a-a intercepting in the left part, and the wall elements 20 of back wherein only is shown.Can find out that profile member 64 has keyhole mouth 68, the reinforcing rib 48 of adjacency can insert in the cavity 66 through said keyhole mouth and sinks in the inner fovea part with its head 50, thereby reinforcing rib 48 is quasi-continuous.
In another instance shown in Figure 12, be different from the for example instance shown in Fig. 8, each profile member shown in instance in for commercial general zinc-platedveneer case 70 fixing (for example bond or cement) on each template face 36.For example add in each reinforcing rib place welding in this example and wring 72, they have theloop wire 74 that inveneer case 70, is provided with respectively, when eachlayout 18 is used concrete casting, become cavity through each box-shaped, and they can extend along the overall height of eachwall elements 20 especially.For thewall elements 20 that connects each adjacency, the reinforcing rib that eachloop wire 74 is set overlappingly and in Figure 12, is not shown in further detail through each loop wire guiding, and then, can be with the slit of concrete casting through eachcase 70 formation.
Replenishing shown in Figure 13, can be essential during their plates in making each slit.Theexemplary lath 76 that is illustrated in the semicircle that constitutes on eachtemplate face 36, they form the slit of respective cylindrical in eachwall elements 20 of combination, and before final assembling, encapsulant can be embedded in the said slit.Each lath for example overall height of each wall elements of edge installation extends.For the connection that the antiskid of the wall elements that reaches each adjacency moves, eachformwork element 28 can also be provided with the protuberance that form is arest part 78, and they do not extend along the overall height of each wall elements of installing usually.They form a corresponding grooves when eachlayout 18 of casting.Under installment state, in the wall elements of phase opposite disposed, can constitute protuberance, agroove 80 is set in eachformwork element 28 and make corresponding to this groove, like this among Figure 13 shown in the right part.
One support 82 is shown among Figure 14 in addition, after with each layout 18 of concrete casting, it is removed.Support 82 is connected in formwork element 28 via each screw 84.Bracket supports one bolt 86, it is molded in the concrete as the for example crab-bolt of the railing joint of container.Such bolt 86 for example is used as, and the 26S Proteasome Structure and Function of the crab-bolt of railing element itself is known.The device of the bottom surface that is used to constitute each wall elements 20 is shown at the right part of Figure 14.Formwork element 28 correspondingly has the template face 36 of a perpendicular positioning.Through a distance piece 88 fixed form elements 28.Because the concrete wall element 20 of each casting rises from each layout 18 perpendicular to base plate 10, note the small friction of distance piece 88 with respect to Form beam 12.In addition because the unevenness of base plate 10, concrete maybe extension below Form beam 12, in instance shown in Figure 14, and adhering film tape 90 on each formwork element 28 on base plate 10 and on the other hand on the one hand.Such film also can be arranged on the whole base plate and certainly and also in remaining embodiment, be provided with.Particularly these films can be set, they cover the bottom surface and/or the end face of each wall elements under the installment state of each wall elements.Such film also can be used in particular for the sealing of container later on.
Shown in Figure 15 along the sectional view of Fig. 1 center line c-c intercepting.Each template face 36 is copied the end face of each wall elements 20 in this example.They shown in instance in same constitute.What can find out is, the fixing exemplary guide rail that illustrates 92 on each formwork element 28, and it is used for the known joint of the film top cover of such round own.The whole zone of sealing film 90 covering wall elements 20 is shown at the left part of Figure 15 in addition.It can removablely be bonded on the formwork element 28 and via one arbitrarily type of attachment be fixed on each edge 94 with the mode that film is fit to.Also be shown in further detail the connection 26 of each band steel plate 22 among Figure 15 and thereby the connection of beam 12 on base plate 10 is shown.Welding one is provided with externally threaded pipe 98 on disk 9.This pipe is guided in the internal thread of each band steel plate 22 adjustablely., a pin 26 is fixed in the concrete on the base plate 10 accurately after the location at beam 12, borrows the position of its clamped beam 12 through managing 98.Each band steel plate 22 can be provided with a plurality of holes side by side at this, and they have and are used to manage 98 internal thread, so that can avoid when boring the difficulty when holing that possibly form through base plate concrete casting and that corrode, and for example reinforcing rib or bigger stone.
The assembling auxiliary tool of device is shown respectively among Figure 16 and 17, utilizes it can very big and heavyconcrete wall element 20 be guided up to being connected on its seam reliably.One of template face 36 shown in two is individual to have theprofile member 100 that coning extends from 36 beginnings of template face atthis.Profile member 100 is hollow and for example is made up of metal sheet or plastics and is installed on the template face 36.For this reason, the corresponding profiledmember 102 that inprofile member 100, matches is tightened on thetemplate face 36 along axis 104.Copy one under the installment state of eachwall elements 20 on another template face 36 of opposed end face correspondingly via one throughtemplate face 36screw 108 fixingnipples 106 and be molded in the concrete.After eachwall elements 20 casting and form removal, in eachwall elements 20, stay andconical profile member 100 corresponding conical grooves.Profiledmember 102 is tightened against later in thenipple 106 of an opposed wall elements at form removal, in Figure 18, illustrates for the assembling auxiliary tool of Figure 17 is exemplary like this.In order to assemble, now can be with in the corresponding conical groove in theopposed wall elements 20 of profiledmember 102 insertions.Reach the accurate localization of each wall whereby with simple mode.
Form of implementation shown in Figure 17 is corresponding with the form of implementation of pressing Figure 16 to a great extent.But different here is that the distance piece 110 of a plate shape is set between conical element 100,102 and template face 36.Distance piece 110 can be connected on the formwork element 28 by means of each screw 112.This distance piece 110 is copied a step 114, like this shown in Figure 18.The shape of the prolongation through the groove that formed by profile member 100 and distance piece 110, this device auxiliary tool also can be used for being connected with the wall shown in 11 at Figure 10.Particularly at the step on component location guide cone 102 114 shown in Figure 18; Permission is inserted component location guide cone 102 in the correspondingly configured profile member 100 and is and then made in the component location guide cone 102 shift-in profile members 100, is not connected with 11 wall and also can have to damage to make by Figure 10.This passes through arrow 120 explanations in Figure 19.And then adjust the tolerance of the needs of each part.Profile member 100 also can constitute with better simply shape for the insertion of component location guide cone for this reason, like this shown in Figure 20.This is illustrated along the sectional view of the line a-a intercepting of the left part of Figure 20 at the right part of Figure 20.
Each holding device and other element comprise and respectively assemble can being separately positioned on some or whole formwork elements and can making up each other by any way according to each form of implementation of the present invention of auxiliary tool.The same end that is applicable to each reinforcing element according to each form of implementation of the present invention.In each other corresponding holding device, assembling auxiliary tool or reinforcing element, as for example at Figure 10,11 and 16 to shown in 20, opposed formwork element can have corresponding holding device or assembling auxiliary tool respectively in a layout.The reinforcing element that correspondingly in layout, extends can be provided with the form of implementation of corresponding correspondence respectively on its end.
Allow to make eachwall elements 20 and correspondingly set up chamber wall at the scene in unapproachable field according to device of the present invention with simple and flexible way.

Claims (41)

CN201080018479.1A2009-03-142010-03-15Apparatus and method for casting concrete wall elementsExpired - Fee RelatedCN102414382B (en)

Applications Claiming Priority (3)

Application NumberPriority DateFiling DateTitle
DE200920003683DE202009003683U1 (en)2009-03-142009-03-14 Apparatus for casting concrete wall elements
DE202009003683.92009-03-14
PCT/EP2010/001627WO2010105791A1 (en)2009-03-142010-03-15Apparatus and method for casting concrete wall elements

Publications (2)

Publication NumberPublication Date
CN102414382Atrue CN102414382A (en)2012-04-11
CN102414382B CN102414382B (en)2014-10-15

Family

ID=40719813

Family Applications (1)

Application NumberTitlePriority DateFiling Date
CN201080018479.1AExpired - Fee RelatedCN102414382B (en)2009-03-142010-03-15Apparatus and method for casting concrete wall elements

Country Status (5)

CountryLink
US (1)US20120117907A1 (en)
CN (1)CN102414382B (en)
BR (1)BRPI1009514A2 (en)
DE (2)DE202009003683U1 (en)
WO (1)WO2010105791A1 (en)

Cited By (1)

* Cited by examiner, † Cited by third party
Publication numberPriority datePublication dateAssigneeTitle
CN107023205A (en)*2016-11-152017-08-08龚容Large anticorrosion container combination and its manufacture method

Families Citing this family (1)

* Cited by examiner, † Cited by third party
Publication numberPriority datePublication dateAssigneeTitle
CN106351493A (en)*2016-08-292017-01-25中国冶集团有限公司Construction platform and installation method of concrete silos

Citations (10)

* Cited by examiner, † Cited by third party
Publication numberPriority datePublication dateAssigneeTitle
GB1328342A (en)*1970-09-141973-08-30Mitchell Consstruction KinnearTanks incorporating concrete panels
FR2244898A1 (en)*1973-09-241975-04-18Allg Strassenbaubedarfs GmbhReservoir for e.g. liquid manure - is formed of precast concrete panels with hinged watertight joints
FR2539792A1 (en)*1983-01-261984-07-27Matiere MarcelMethod for constructing watertight structures, such as reservoirs (tanks)
DE9421176U1 (en)*1994-03-261995-06-14Suding, Christof, 38106 Braunschweig Reinforced concrete tank
CN1119849A (en)*1993-03-251996-04-03赫汀股份公司Fixed-bed bioreactor and carrier bodies for purifying fluids
DE29807896U1 (en)*1998-05-021998-07-16Paul Ensle Stiftung + Co KG, 74076 Heilbronn Reinforced concrete container
EP0707121B1 (en)*1994-10-142000-03-22Giuseppe ParentiPanels for the manufacture of circular above-ground tanks, mould, and associated manufacturing method
CN2739287Y (en)*2004-07-262005-11-09深圳市普新科技有限公司Pool mouth pour-shaping mould
US20060038107A1 (en)*2004-08-202006-02-23Kyozaburo TakagiBulkheads and methods of fabricating a panel with a mitered corner
US20060283120A1 (en)*2005-06-202006-12-21Fukuvi Usa, Inc.Panel-forming component and system for use in tilt-up construction

Family Cites Families (8)

* Cited by examiner, † Cited by third party
Publication numberPriority datePublication dateAssigneeTitle
US2204195A (en)*1937-03-111940-06-11Catholic DioceseConcrete mold
US2920475A (en)*1947-10-181960-01-12Graham PhillipBuilding panel
US2971237A (en)*1959-01-061961-02-14Graham PhillipFlexible building panel form
US3084910A (en)*1960-04-291963-04-09William D AllersApparatus for forming prestressed concrete sheets
US3161938A (en)*1961-02-021964-12-22Graham PhillipFlexible panel form for thin shells
US3224726A (en)*1964-12-151965-12-21Graham PhillipFlexible panel form for thin shells
AUPN119495A0 (en)*1995-02-171995-03-16Panelcrete Pty LimitedAn apparatus & method to manufacture cast panels
US6658810B2 (en)*2002-03-272003-12-09Deloach, Sr. W. MichaelTilt-up concrete wall panel form and method of fabricating same

Patent Citations (10)

* Cited by examiner, † Cited by third party
Publication numberPriority datePublication dateAssigneeTitle
GB1328342A (en)*1970-09-141973-08-30Mitchell Consstruction KinnearTanks incorporating concrete panels
FR2244898A1 (en)*1973-09-241975-04-18Allg Strassenbaubedarfs GmbhReservoir for e.g. liquid manure - is formed of precast concrete panels with hinged watertight joints
FR2539792A1 (en)*1983-01-261984-07-27Matiere MarcelMethod for constructing watertight structures, such as reservoirs (tanks)
CN1119849A (en)*1993-03-251996-04-03赫汀股份公司Fixed-bed bioreactor and carrier bodies for purifying fluids
DE9421176U1 (en)*1994-03-261995-06-14Suding, Christof, 38106 Braunschweig Reinforced concrete tank
EP0707121B1 (en)*1994-10-142000-03-22Giuseppe ParentiPanels for the manufacture of circular above-ground tanks, mould, and associated manufacturing method
DE29807896U1 (en)*1998-05-021998-07-16Paul Ensle Stiftung + Co KG, 74076 Heilbronn Reinforced concrete container
CN2739287Y (en)*2004-07-262005-11-09深圳市普新科技有限公司Pool mouth pour-shaping mould
US20060038107A1 (en)*2004-08-202006-02-23Kyozaburo TakagiBulkheads and methods of fabricating a panel with a mitered corner
US20060283120A1 (en)*2005-06-202006-12-21Fukuvi Usa, Inc.Panel-forming component and system for use in tilt-up construction

Cited By (1)

* Cited by examiner, † Cited by third party
Publication numberPriority datePublication dateAssigneeTitle
CN107023205A (en)*2016-11-152017-08-08龚容Large anticorrosion container combination and its manufacture method

Also Published As

Publication numberPublication date
BRPI1009514A2 (en)2016-03-15
CN102414382B (en)2014-10-15
US20120117907A1 (en)2012-05-17
DE112010001089A5 (en)2012-07-19
DE202009003683U1 (en)2009-06-04
WO2010105791A1 (en)2010-09-23

Similar Documents

PublicationPublication DateTitle
JP5792880B1 (en) Composite insert device for concrete placement
AU2019205596B2 (en)Integrating wells in towable subsea units
CN104452949A (en)Embedded leak-proof joint
KR200495342Y1 (en)Upright plumbing assembly construction method of the upright plumbing assembly
CN102414382B (en)Apparatus and method for casting concrete wall elements
KR101919583B1 (en)Stand-alone PC column joint
CN107687201B (en) Directly connected drain pipe floor drain and its installation method
RU2645315C1 (en)Engineering module and method of its installation
KR20210048395A (en)Bathtub system
CN107246145A (en)Concrete floor slab placement equipment and construction method for preserved pipeline hole
CN219569569U (en)Quick mounting structure of rigidity waterproof sleeve pipe and drain pipe interface integration
CN114922419B (en)Die for plugging reserved hole with fixed pipeline and use method
KR101493249B1 (en)Insert for concrete slab
US20220298772A1 (en)Fast installation cap and drain
US10458111B1 (en)Shower pan drainage stability apparatus
CN212718427U (en)Line pipe connection fixer
KR20170056123A (en)Protection device for water leak of concrete water
KR101426497B1 (en)complex cast-in insert apparatus for concrete
KR20150135000A (en)Sleeve supporting body for plumbing on floor
KR200492369Y1 (en) Precast concrete panel support device
CN210713241U (en)Reinforcing device of large-size arc-shaped embedded part for fixing outer wall of silo
CN203082375U (en)Embedded part with adjustable eccentricity
KR19990030579A (en) Electrical piping box for ceiling slab
KR102000784B1 (en)A flash board water proof sill
KR101766896B1 (en)fixing device of bathroom for pipe line

Legal Events

DateCodeTitleDescription
C06Publication
PB01Publication
C10Entry into substantive examination
SE01Entry into force of request for substantive examination
C14Grant of patent or utility model
GR01Patent grant
CF01Termination of patent right due to non-payment of annual fee
CF01Termination of patent right due to non-payment of annual fee

Granted publication date:20141015

Termination date:20170315


[8]ページ先頭

©2009-2025 Movatter.jp