Movatterモバイル変換


[0]ホーム

URL:


CN102361191A - Locking device for charging interface - Google Patents

Locking device for charging interface
Download PDF

Info

Publication number
CN102361191A
CN102361191ACN2011102855852ACN201110285585ACN102361191ACN 102361191 ACN102361191 ACN 102361191ACN 2011102855852 ACN2011102855852 ACN 2011102855852ACN 201110285585 ACN201110285585 ACN 201110285585ACN 102361191 ACN102361191 ACN 102361191A
Authority
CN
China
Prior art keywords
pushing block
iron core
crosswise
hole
locking device
Prior art date
Legal status (The legal status is an assumption and is not a legal conclusion. Google has not performed a legal analysis and makes no representation as to the accuracy of the status listed.)
Granted
Application number
CN2011102855852A
Other languages
Chinese (zh)
Other versions
CN102361191B (en
Inventor
王建东
郑晓波
陈建刚
Current Assignee (The listed assignees may be inaccurate. Google has not performed a legal analysis and makes no representation or warranty as to the accuracy of the list.)
Zhangjiagang Yi Cheng new energy Polytron Technologies Inc
Original Assignee
ZHANGJIAGANG UCHEN TECHNICAL MECHANICAL ELECTRIC CO Ltd
Priority date (The priority date is an assumption and is not a legal conclusion. Google has not performed a legal analysis and makes no representation as to the accuracy of the date listed.)
Filing date
Publication date
Application filed by ZHANGJIAGANG UCHEN TECHNICAL MECHANICAL ELECTRIC CO LtdfiledCriticalZHANGJIAGANG UCHEN TECHNICAL MECHANICAL ELECTRIC CO Ltd
Priority to CN 201110285585priorityCriticalpatent/CN102361191B/en
Publication of CN102361191ApublicationCriticalpatent/CN102361191A/en
Application grantedgrantedCritical
Publication of CN102361191BpublicationCriticalpatent/CN102361191B/en
Activelegal-statusCriticalCurrent
Anticipated expirationlegal-statusCritical

Links

Images

Landscapes

Abstract

The invention discloses a locking device for a charging interface, which can fundamentally prevent the charging interface from being plugged and unplugged by mistake. The locking device comprises a locking pin and a shell, wherein, two sides of a bottom plate of the shell extend outwards, and a fixed hole is respectively arranged on each of the extension parts at two sides of the bottom plate; the bottom plate is equipped with a locking pin through hole which is communicated with an inner cavity of the shell and is matched with the locking pin; the locking pin is movably inserted into the locking pin through hole; a vertically inclined pushing block protruding outwards is arranged at an inner end of the locking pin; a return spring is sheathed on the locking pin and is constrained between the bottom plate and the vertically inclined pushing block; an electromagnet is arranged in the shell, and a horizontally inclined pushing block is arranged at the top of an iron core of the electromagnet and is matched with the vertically inclined pushing; and pushing oblique planes matched with each other are respectively arranged on adjacent end faces of the vertically inclined pushing block and the horizontally inclined pushing block, the lower edge of the pushing oblique plane of the vertically inclined pushing block protrudes, and the upper edge of the pushing oblique plane of the horizontally inclined pushing block protrudes. The locking device has the advantages of fundamentally eliminating potential safety hazards and being very convenient to use.

Description

The locking device that is used for charging inlet
Technical field
The present invention relates to charging inlet, refer more particularly to the locking device that is used for charging inlet.
Background technology
At present, being used for the locking device of charging inlet, all is manual usually, can only prevent the misoperation of fault, can not prevent deliberate misoperation, thereby can not prevent fundamentally that mispluging of charging inlet from pulling out, and eliminates safe hidden trouble.
Summary of the invention
Technical problem to be solved by this invention is: provide a kind of charging inlet that can fundamentally prevent to misplug the locking device that is used for charging inlet that pulls out.
For solving the problems of the technologies described above, the technical scheme that the present invention adopts is: be used for the locking device of charging inlet, comprise: lock pin and housing; The both sides of the base plate of said housing are protruding, offer fixing hole on the extension of both sides respectively, offer the lock pin via hole that communicates with the housing inner chamber and match with lock pin on the described base plate; The lock pin activity is located in the lock pin via hole; The inner end of lock pin is provided with the perpendicular oblique push block to outer lug, is arranged with return spring on the lock pin, and return spring is bound between base plate and the perpendicular oblique push block; Be provided with electromagnet in the described housing; The iron core top of electromagnet is provided with and erects the pushing block crosswise that oblique push block matches, and is respectively arranged with the propelling movement inclined-plane that cooperatively interacts on perpendicular oblique push block and pushing block is adjacent crosswise the end face separately, wherein; It is outstanding that the propelling movement of perpendicular oblique push block pushes the lower edge, inclined-plane, and the upper edge, propelling movement inclined-plane of pushing block is outstanding crosswise.
Also be provided with guide pad in the inner chamber of said housing, offer the gathering sill that matches with perpendicular oblique push block on the guide pad, perpendicular oblique push block is movably arranged in the gathering sill of guide pad.
The concrete set-up mode of said guide pad is: the both sides of said guide pad are respectively arranged with positioning boss; Described housing also comprise the lower cover that is arranged on the base plate and with the involutory loam cake of lower cover; Be respectively arranged with the location notch that the positioning boss of a corresponding side with guide pad matches on the inwall of lower cover both sides, the positioning boss of guide pad both sides inserts respectively in the corresponding location notch of lower cover.
Described iron core with the connected mode of pushing block crosswise is: the top of said iron core offers cannelure; Offer the iron core hole of matching crosswise on the pushing block with iron core; Iron core also offers the lock hole with the perforation perpendicular, that match with the cannelure of iron core of iron core hole on the described pushing block crosswise from pushing block is stretched into crosswise in the iron core hole, be equipped with alignment pin in the lock hole; Alignment pin is stuck in the cannelure of iron core; One end of alignment pin is provided with the pin cap, and the other end is provided with the jump ring groove, and the jump ring groove is provided with jump ring.
Further technical problem to be solved by this invention is: a kind of locking device that is used for charging inlet that can the perception lock pin whether puts in place is provided.
For solving above-mentioned further technical problem, the technical scheme that the present invention adopts is: also be provided with sensitive switch in the described housing, the sliding piece of sensitive switch is locked in crosswise on the pushing block.
Offer the lock hole that matches with the sliding piece of sensitive switch on the described pushing block crosswise, this sliding piece is located in the lock hole.
The invention has the beneficial effects as follows: the present invention controls the plug of lock pin through the electromagnet that is installed in the housing, thereby has prevented that fundamentally mispluging of charging inlet from pulling out, and has eliminated potential safety hazard; In addition; Horizontal, vertical oblique push block through cooperatively interacting between the iron core of electromagnet and the lock pin; Laterally moving of iron core changed into the vertical of lock pin moves; This locking device is installed on the charging inlet, can reduces the peripheral level of charging inlet greatly, make packed and transported all very convenient with use.In addition, be installed in the sensitive switch of housing, can whether put in place by the perception lock pin, thereby can prevent the misoperation of lock pin effectively.
Description of drawings
Fig. 1 is the connection sketch map that the charging inlet of locking device of the present invention is installed.
Fig. 2 is the structural representation that the socket of locking device of the present invention is installed.
Fig. 3 is the partial structurtes sketch map of Fig. 2.
Fig. 4 is the structural representation of electromagnet.
Fig. 5 is the structural representation of lower cover and base plate.
Fig. 6 is the structural representation of plug.
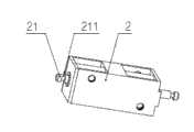
Among Fig. 1 to Fig. 6: 1, housing, 11, loam cake, 12, lower cover, 121, location notch, 122, the lock pin via hole, 13, base plate, 131, fixing hole; 2, electromagnet, 21, iron core, 211, cannelure, 3, cableties, 4, sensitive switch, 41, sliding piece, 5, return spring; 6, lock pin, 61, perpendicular oblique push block, 8, guide pad, 81, positioning boss, 9, pushing block crosswise, 91, lock hole, 10, screw; 20, socket, 21, the socket tube, 22, column, 30, plug, 32, plug sleeve, 321, pin hole.
Embodiment
Below in conjunction with accompanying drawing, describe specific embodiments of the present invention in detail.
Like Fig. 1, shown in Figure 2, the locking device that is used for charging inlet of the present invention comprises:lock pin 6 andhousing 1;Housing 1 bybase plate 13 and be arranged on thebase plate 13lower cover 12 and with theinvolutory loam cake 11 oflower cover 12, offerfixing hole 131 respectively on protruding of the both sides ofbase plate 13, offer the lock pin viahole 122 that communicates and match with the inner chamber ofhousing 1 on thebase plate 13 withlock pin 6;Lock pin 6 activities are located in the lock pin viahole 122, and the inner end oflock pin 6 is provided with the perpendicularoblique push block 61 to outer lug, is arranged withreturn spring 5 on thelock pin 6; Returnspring 5 is bound betweenbase plate 13 and the perpendicularoblique push block 61, is provided withelectromagnet 2 in the describedhousing 1, and the top of theiron core 21 ofelectromagnet 2 is provided with and erects the pushing block crosswise 9 thatoblique push block 61 matches; Like Fig. 3 and shown in Figure 4,iron core 21 with the connected mode of pushingblock 9 crosswise is: the top of saidiron core 21 offerscannelure 211, offers the iron core hole of matching withiron core 21 crosswise on the pushingblock 9; Ironcore 21 is from pushingblock 9 is stretched into crosswise in the iron core hole; Also offer thelock hole 91 with the perforation perpendicular, that match with thecannelure 211 ofiron core 21 of iron core hole crosswise on the pushingblock 9, be equipped with alignment pin in thelock hole 91, alignment pin is stuck in thecannelure 211 ofiron core 21; The two ends of alignment pin are provided with escapement and (belong to conventional techniques; Do not draw among the figure), this escapement can have multiple various structure, for example: an end of alignment pin is provided with the pin cap; The other end of alignment pin is offered the jump ring groove, and the jump ring groove is provided with jump ring; Be respectively arranged with the propelling movement inclined-plane that cooperatively interacts on the adjacent end face separately of perpendicularoblique push block 61 and pushing block crosswise 9, wherein, the lower edge, propelling movement inclined-plane of perpendicularoblique push block 61 is outstanding, and the upper edge, propelling movement inclined-plane of pushingblock 9 is outstanding crosswise.In the present embodiment; Also be provided with guide pad 8 in the inner chamber of saidhousing 1; Offer the gathering sill that matches with perpendicularoblique push block 61 on the guide pad 8; Perpendicularoblique push block 61 is movably arranged in the gathering sill of guide pad 8, and like Fig. 3 and shown in Figure 5, the concrete set-up mode of guide pad 8 is: the both sides of said guide pad 8 are respectively arranged with positioningboss 81; Be respectively arranged with the location notch that matches with thepositioning boss 81 of guide pad 8 corresponding sides on the inwall of saidlower cover 12 both sides, thepositioning boss 81 of guide pad 8 both sides inserts respectively in thelower cover 12 corresponding location notchs; As shown in Figure 3; Also be provided withsensitive switch 4 in the describedhousing 1; Thissensitive switch 4 contain at least one group often open, normally-closed contact; Thesliding piece 41 ofsensitive switch 4 is locked in crosswise on the pushingblock 9, and its concrete set-up mode is: offer the lock hole that matches with thesliding piece 41 ofsensitive switch 4 on the described pushing block crosswise 9, this slidingpiece 41 is located in the lock hole; Said upper andlower cover 11 and 12 trailer cards away fromlock pin 6 are provided withcableties 3, and the structure ofcableties 3 is referring to shown in Figure 3.
During installation;Screw 10 is passed in thecolumn 22 on thesocket tube 21 that fixinghole 131 on thebase plate 13 both sides extensions is tightened insocket 20; Often the opening of the positive and negative electrode ofelectromagnet 2 andsensitive switch 4, normally-closed contact link to each other; This group is often opened, normally closed intermediate contact is exported, and power line that links to each other with the positive and negative electrode ofelectromagnet 2 and the output line that links to each other with intermediate contact pass from cableties 3.During use,plug 30 is inserted in thesocket 20, theplug sleeve 32 ofplug 30 is provided withpin hole 321---referring to shown in Figure 6; Startelectromagnet 2 work; Makeiron core 21 be withcrosswise pushing block 9 to protracting; Through the propelling movement inclined-plane between pushingblock 9 and theperpendicular cant plate 61 crosswise; Makelock pin 6 stretch out downwards, pass through hole on thesocket tube 21 ofsocket 20 and insert in thepin hole 321 on theplug sleeve 32 ofplug 30---referring to shown in Figure 1; After being inserted into the position, the intermediate contact ofsensitive switch 4 is connected with normally-closed contact.

Claims (6)

1. be used for the locking device of charging inlet, comprise: lock pin and housing is characterized in that: the both sides of the base plate of said housing are protruding; Offer fixing hole on the extension of both sides respectively, offer the lock pin via hole that communicates with the housing inner chamber and match with lock pin on the described base plate, the lock pin activity is located in the lock pin via hole; The inner end of lock pin is provided with the perpendicular oblique push block to outer lug, is arranged with return spring on the lock pin, and return spring is bound between base plate and the perpendicular oblique push block; Be provided with electromagnet in the described housing; The iron core top of electromagnet is provided with and erects the pushing block crosswise that oblique push block matches, and is respectively arranged with the propelling movement inclined-plane that cooperatively interacts on perpendicular oblique push block and pushing block is adjacent crosswise the end face separately, wherein; The lower edge, propelling movement inclined-plane of perpendicular oblique push block is outstanding, and the upper edge, propelling movement inclined-plane of pushing block is outstanding crosswise.
CN 2011102855852011-09-232011-09-23Locking device for charging interfaceActiveCN102361191B (en)

Priority Applications (1)

Application NumberPriority DateFiling DateTitle
CN 201110285585CN102361191B (en)2011-09-232011-09-23Locking device for charging interface

Applications Claiming Priority (1)

Application NumberPriority DateFiling DateTitle
CN 201110285585CN102361191B (en)2011-09-232011-09-23Locking device for charging interface

Publications (2)

Publication NumberPublication Date
CN102361191Atrue CN102361191A (en)2012-02-22
CN102361191B CN102361191B (en)2012-12-19

Family

ID=45586463

Family Applications (1)

Application NumberTitlePriority DateFiling Date
CN 201110285585ActiveCN102361191B (en)2011-09-232011-09-23Locking device for charging interface

Country Status (1)

CountryLink
CN (1)CN102361191B (en)

Cited By (4)

* Cited by examiner, † Cited by third party
Publication numberPriority datePublication dateAssigneeTitle
CN102904126A (en)*2012-10-302013-01-30安费诺-泰姆斯(常州)通讯设备有限公司Electric vehicle charging dock
CN105375202A (en)*2015-12-112016-03-02张家港友诚科技机电有限公司Charging plug locking device
CN113783037A (en)*2021-09-102021-12-10杭州科技职业技术学院 A new energy vehicle charging anti-dropping mechanism
CN113948921A (en)*2021-11-162022-01-18惠州市信美通新技术有限公司Data line connector with prevent static function

Citations (5)

* Cited by examiner, † Cited by third party
Publication numberPriority datePublication dateAssigneeTitle
US5676560A (en)*1994-12-011997-10-14Yazaki CorporationPowder feed connector
CN201758220U (en)*2010-05-112011-03-09张家港友诚科技机电有限公司Rotary anti-pull structure of charging port
CN201838829U (en)*2010-10-212011-05-18张家港友诚科技机电有限公司Auxiliary fixing structure on plug socket
CN102097712A (en)*2010-12-042011-06-15张家港友诚科技机电有限公司Locking device for anti-pulling mechanism in charging interface
CN202308586U (en)*2011-09-232012-07-04张家港友诚科技机电有限公司Locking device for charging interface

Patent Citations (5)

* Cited by examiner, † Cited by third party
Publication numberPriority datePublication dateAssigneeTitle
US5676560A (en)*1994-12-011997-10-14Yazaki CorporationPowder feed connector
CN201758220U (en)*2010-05-112011-03-09张家港友诚科技机电有限公司Rotary anti-pull structure of charging port
CN201838829U (en)*2010-10-212011-05-18张家港友诚科技机电有限公司Auxiliary fixing structure on plug socket
CN102097712A (en)*2010-12-042011-06-15张家港友诚科技机电有限公司Locking device for anti-pulling mechanism in charging interface
CN202308586U (en)*2011-09-232012-07-04张家港友诚科技机电有限公司Locking device for charging interface

Cited By (6)

* Cited by examiner, † Cited by third party
Publication numberPriority datePublication dateAssigneeTitle
CN102904126A (en)*2012-10-302013-01-30安费诺-泰姆斯(常州)通讯设备有限公司Electric vehicle charging dock
CN102904126B (en)*2012-10-302015-03-11安费诺-泰姆斯(常州)通讯设备有限公司Electric vehicle charging dock
CN105375202A (en)*2015-12-112016-03-02张家港友诚科技机电有限公司Charging plug locking device
CN113783037A (en)*2021-09-102021-12-10杭州科技职业技术学院 A new energy vehicle charging anti-dropping mechanism
CN113783037B (en)*2021-09-102023-06-02杭州科技职业技术学院New energy automobile charges anti-drop mechanism
CN113948921A (en)*2021-11-162022-01-18惠州市信美通新技术有限公司Data line connector with prevent static function

Also Published As

Publication numberPublication date
CN102361191B (en)2012-12-19

Similar Documents

PublicationPublication DateTitle
CN203839609U (en)Anti-off safety socket
CN102361191A (en)Locking device for charging interface
CN108173070B (en)The fit structure of socket and plug
CN103700967B (en)Plugs and sockets
CN202308586U (en)Locking device for charging interface
CN204927608U (en)Safe power plug connector
CN205488703U (en)Socket with manual sliding piece
KR101525049B1 (en) safety concentric plug
CN202795559U (en)Automatically open-and-close card box mechanism of card receiving mouth
CN202797468U (en)Power supply adapter capable of replacing plugs
CN106848774B (en)A kind of electric power safety is for electric installation
CN206850132U (en)A kind of one-hand operation auto spring out type plug
CN106684633A (en) Power Adapter
CN201556763U (en)Safety damper gear for power socket jack
CN202388960U (en)Fingerprint identifying seal
CN203607619U (en)Novel latch
CN102529463A (en)Fingerprint identification stamp
CN207398546U (en)A kind of socket and protection door with protection door
CN201536175U (en)Safety shield device for insertion holes of power socket
CN207896534U (en)Cabinet
CN202231198U (en)Novel two-pole socket guard gate apparatus
CN201515077U (en)Safety baffle device of power supply socket and power supply plug
CN106541997B (en)A kind of new-energy automobile solar energy case cover mechanism
CN209497065U (en)A kind of socket with anti-misinsertion mechanism
CN216310285U (en) A geological compass for geological mineral exploration

Legal Events

DateCodeTitleDescription
C06Publication
PB01Publication
C10Entry into substantive examination
SE01Entry into force of request for substantive examination
C14Grant of patent or utility model
GR01Patent grant
CB03Change of inventor or designer information

Inventor after:Chen Jiangang

Inventor before:Wang Jiandong

Inventor before:Zheng Xiaobo

Inventor before:Chen Jiangang

CORChange of bibliographic data
CP01Change in the name or title of a patent holder
CP01Change in the name or title of a patent holder

Address after:Zhangjiagang City Tangqiao town Suzhou City, Jiangsu province 215600 friends of Zhangjiagang science and technology electromechanical Co Ltd

Patentee after:Zhangjiagang Yi Cheng new energy Polytron Technologies Inc

Address before:Zhangjiagang City Tangqiao town Suzhou City, Jiangsu province 215600 friends of Zhangjiagang science and technology electromechanical Co Ltd

Patentee before:Zhangjiagang Uchen Technical Mechanical Electric Co., Ltd.


[8]ページ先頭

©2009-2025 Movatter.jp