Movatterモバイル変換


[0]ホーム

URL:


CN102355057A - Computer monitoring method for microgrid system - Google Patents

Computer monitoring method for microgrid system
Download PDF

Info

Publication number
CN102355057A
CN102355057ACN2011102862911ACN201110286291ACN102355057ACN 102355057 ACN102355057 ACN 102355057ACN 2011102862911 ACN2011102862911 ACN 2011102862911ACN 201110286291 ACN201110286291 ACN 201110286291ACN 102355057 ACN102355057 ACN 102355057A
Authority
CN
China
Prior art keywords
power
controller
little
electrical network
network
Prior art date
Legal status (The legal status is an assumption and is not a legal conclusion. Google has not performed a legal analysis and makes no representation as to the accuracy of the status listed.)
Pending
Application number
CN2011102862911A
Other languages
Chinese (zh)
Inventor
吴福宝
赫卫国
华光辉
刘海璇
姚虹春
张新龙
汪春
董大兴
梁硕
杭晗
张祥文
Current Assignee (The listed assignees may be inaccurate. Google has not performed a legal analysis and makes no representation or warranty as to the accuracy of the list.)
State Grid Electric Power Research Institute
Original Assignee
State Grid Electric Power Research Institute
Priority date (The priority date is an assumption and is not a legal conclusion. Google has not performed a legal analysis and makes no representation as to the accuracy of the date listed.)
Filing date
Publication date
Application filed by State Grid Electric Power Research InstitutefiledCriticalState Grid Electric Power Research Institute
Priority to CN2011102862911ApriorityCriticalpatent/CN102355057A/en
Priority to PCT/CN2011/083155prioritypatent/WO2013040837A1/en
Publication of CN102355057ApublicationCriticalpatent/CN102355057A/en
Pendinglegal-statusCriticalCurrent

Links

Images

Classifications

Landscapes

Abstract

Translated fromChinese

本发明提出一种适用微电网系统计算机监控方法,能够为含有风力发电、光伏发电、微型燃气轮机等分布式电源和储能单元的微电网系统提供监视与控制功能。该监控方法可以对整个微电网内设备运行状态进行监视,还可以根据当前微电网系统运行情况与外界应用请求制定相应的优化控制策略,针对分布式电源出力的特点,采用合理的能量管理优化技术使分布式电源得到最大利用,充分发挥微电网低碳、经济的优势。该监控系统可以根据实际需求分为三层结构和两层结构两种不同模式,监控方案设计更加灵活。

Figure 201110286291

The invention proposes a computer monitoring method suitable for a micro-grid system, which can provide monitoring and control functions for a micro-grid system including distributed power sources such as wind power generation, photovoltaic power generation, and micro gas turbines and energy storage units. This monitoring method can monitor the operation status of the equipment in the entire microgrid, and can also formulate corresponding optimization control strategies according to the current microgrid system operation status and external application requests. According to the characteristics of distributed power output, reasonable energy management optimization technology is adopted. To maximize the use of distributed power and give full play to the advantages of low-carbon and economical micro-grids. The monitoring system can be divided into two different modes of three-layer structure and two-layer structure according to actual needs, and the design of monitoring scheme is more flexible.

Figure 201110286291

Description

Micro-grid system computer monitoring method
Technical field
Patent of the present invention relates to a kind of computer monitoring method that is applicable to micro-grid system; Can provide for the micro-grid system that contains wind power generation, photovoltaic generation distributed power supply and energy-storage units and keep watch on and controlled function, belong to little electric network synthetic technical field of automation.
Background technology
New century, Renewable Energy Development has become the important behave of problems such as international community reply energy crisis, environmental protection and natural calamity.Distributed power generation is as a kind of important form of renewable energy utilization, at world wide obtained development fast.The extensive access of distributed power generation has brought new problem to the operation and the management of conventional electric power system; And little electrical network can be realized effectively integrating and flexible, intelligent control to distributed power generation; Be to solve be incorporated into the power networks a kind of important techniques means of problem of distributed power generation, obtained common attention in recent years.
Little electrical network is the important part of intelligent grid as a kind of technological means that the close friend who promotes regenerative resource inserts.In recent years; China's energy industry increases the degree of concern of little electrical network day by day; At present existing a plurality of business units have carried out the construction of little electrical network pilot project, and in commercial block, all there is the planning pilot in intelligent residential district, industrial building and remote farming and pastoral area, some projects are built up and put into operation.The variation of scene resource, distributed power source, energy-storage units and power load has higher requirement for the automatically-monitored technology of little electric network synthetic.
Summary of the invention
Little grid monitoring system is kept watch on equipment running status in whole little electrical network; Also will formulate corresponding operation control strategy according to current running situation and extraneous application request; The characteristics of exerting oneself to distributed power source; Adopt reasonable energy management optimization technology that distributed power source is maximized the use, give full play to the advantage of little electrical network low-carbon (LC), economy.
For realizing above-mentioned specification requirement; The present invention adopts technical scheme following: micro-grid system computer monitoring method can provide for the micro-grid system that contains wind power generation, photovoltaic generation, miniature gas turbine distributed power supply and energy-storage units and keep watch on and controlled function.
Method for supervising disclosed by the invention can be kept watch on equipment running status in whole little electrical network; Can also formulate corresponding Optimal Control Strategy according to current micro-grid system ruuning situation and extraneous application request; The characteristics of exerting oneself to distributed power source; Adopt reasonable energy management optimization technology that distributed power source is maximized the use, give full play to the advantage of little electrical network low-carbon (LC), economy.This supervisory control system can be divided into three-decker and two kinds of different modes of double-layer structure according to the actual requirements, and the monitoring scheme design is more flexible.
Description of drawings
Below in conjunction with accompanying drawing patent of the present invention is further described.
Fig. 1 is the little electric network composition figure of typical 400V low-voltage bus bar.
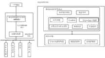
Fig. 2 is three layers of little grid monitoring system exemplary block diagram.
Fig. 3 is two-layer little grid monitoring system exemplary block diagram.
Embodiment
1. explanation of nouns
Distributed power generation typically refers near efficient, the reliable generator unit of generated output several kilowatts of small modular, the distributings to hundreds of megawatts are arranged in the user.Mainly comprise: being internal combustion engine, miniature gas turbine, solar power generation (photovoltaic generation, photo-thermal power generation), wind power generation, biomass power generation of fuel etc. with liquid or gas, is main with photovoltaic generation and wind power generation mainly in China.
Little electrical network is a kind of low-pressure system of being made up of jointly distributed power generation, energy storage and load.The inner power supply of little electrical network is mainly realized the conversion of electric energy by power electronic equipment, and essential control is provided.Little electrical network shows as single autonomous controlled cell with respect to external electrical network, can satisfy the demand of user to the quality of power supply and power supply safety aspect simultaneously.
Energy storage technology mainly contains physics energy storage (like pumped storage, compressed-air energy storage, flywheel energy storage etc.), chemical energy storage (like all kinds of storage batterys, lithium battery, fuel cell, flow battery, ultracapacitor etc.) and electromagnetism energy storage (like superconducting magnetic energy storage etc.) etc.Energy-storage system generally is made up of the two large divisions: energy storage device of being made up of energy-storage travelling wave tube and the electrical network access device of being made up of power electronic device.Energy storage device is mainly realized storage, release or the fast power exchange of energy.The electrical network access device is realized energy bi-directional and the conversion between energy storage device and the electrical network, realizes functions such as power peak regulation, energy source optimization, raising power supply reliability and stability of power system.
Reactive power compensation is called for short reactive power compensation, in electric power system, works to improve the power factor of electrical network, reduces the loss of supply transformer and conveying circuit, improves power supplying efficiency, improves the power supply environment.
The weather environment monitoring function is generally accomplished by miniature weather station, to on-site real-time temperature, humidity, wind speed, wind direction, air pressure, solar radiation amount, sunshine time, rainfall etc. is monitored with the weather environment of little grid generation strong correlation.Little operation of power networks environmental parameters such as photovoltaic module temperature are accomplished by corresponding measurement mechanism.
Active filter (APF) is to utilize to turn-off power electronic device, produce with load current in harmonic component equal and opposite in direction, electric current that phase place is opposite offset the filter of the interior harmonic current that causes by the electronic power conversion device of micro-grid system.
2. the little electric network composition of typical 400V low-voltage bus bar
Fig. 1 is a little electric network composition figure of typical 400V low-voltage bus bar, comprises the distributed power generation unit, energy-storage system, and load, the switch that is incorporated into the power networks, equipment for monitoring power quality, environmental monitoring, supervisory control systems etc. are partly formed.In the typical little electric network composition of 400V low pressure; All distributed power sources, energy storage, reactive-load compensator, customer charge all are connected to low pressure 400V bus; And connect with outside power distribution network through the switch that is incorporated into the power networks, can realize from the net and the taking over seamlessly between the pattern of being incorporated into the power networks.
Structurally, little electrical network can be regarded as by some " branch roads " and forms.Branch road is meant and comprises the physical equipment set that a 400V low pressure inserts switch, a main equipment (photovoltaic DC-to-AC converter, general convertor, energy accumulation current converter, load, APF, reactive-load compensator, equipment for monitoring power quality, public interface) and auxiliary device (electric energy meter).Branch road is the logical combination of relevant device, and the proposition of branch road mainly is for equipment logically being divided into groups, being convenient to the monitoring analysis and the application function realization of little electrical network.
Mostly distributed power generation unit in little electrical network is Miniature Power Unit, and they are connected on user side, has characteristics such as cost is low, voltage is low, low emission.It mainly can be divided into two types, and one type is the unit of the distributed power source that inserts through the power electronics interface (< 100kW), like photovoltaic generation; Wind power generation, energy storage device etc., another kind of is slewing; Directly be incorporated into the power networks in a conventional manner, like split shaft miniature gas turbine, diesel engine etc.For the maximum use clean energy resource, photovoltaic generation, wind power generation are generally all worked by the peak power output mode, so its size of exerting oneself is only relevant with resource situation, generally forced partial outage not.In addition, the quality of power supply should satisfy relevant national standard in little electrical network, and active filter and reactive power compensator are set in little electrical network, respectively the quality of power supply and reactive power in little electrical network is reasonably regulated.
Energy storage device in little electrical network is main with energy type battery energy storage device at present, and is in some occasion, in order to satisfy special user's quality of power supply demand, auxiliary with super capacitor, flywheel constant power type energy storage device.When little electrical network was incorporated into the power networks, energy storage device was stabilized photovoltaic, wind power generation goes out fluctuation, regulates little electrical network and site Power Exchange under the control of micro electric network coordination controller or EMS.When the network operation, energy storage device is as from the power-balance unit of net system at little electrical network, remedy to exert oneself in the distributed power generation unit and power load between power difference, keep little power grid operation.Main power source when energy storage device also leaves network operation as little electrical network, voltage when providing system to leave network operation and frequency are in performance voltage and FREQUENCY CONTROL effect in network operation.
Power load in little electrical network is according to its significance level, but it can be divided into cutting load, controllable burden and sensitive load.Sensitive load is had relatively high expectations to the quality of power supply, requires little electrical network that continuous uninterrupted power supply is provided; Controllable burden is accepted control, in the case of necessary can interruption of power supply, and out of service; But cutting load is meant that some to the less demanding load of power supply reliability, can excise at any time.With regard to Fig. 1; Generally speaking; Sensitive load and controllable burden power reguirements are higher; During outside distribution network failure; And the switch that is incorporated into the power networks at place, site can quick acting make important load and Fault Isolation and uninterrupted normal power supply; But and cutting load, system then can be according to the demand of network power balance, when being necessary excision.
The position at little electrical network and place, site is typically chosen in the low-pressure side of distribution transformer or the tie point place of major network and little electrical network.And site place, be provided with equipment for monitoring power quality, guarantee little electrical network and site each item technical indicator satisfy the requirement of correlation technique standard.
Little electrical network electric energy quality monitoring system is made up of the equipment for monitoring power quality that is installed in each branch road, in time collects on the quality of power supply information of each bar branch road and delivers to little grid monitoring system, supplies it to make correct strategy.In view of little electric network composition shown in Figure 1; All devices all is connected in parallel on the same bus, and its voltage levvl is identical, so equipment for monitoring power quality is monitored busbar voltage quality of power supply level at the bus place; On each branch road, the monitoring point is set, monitors the flow through quality of power supply level of electric current of each branch road.Little electrical network electric energy quality monitor is collected little electrical network quality of power supply real time data, on deliver to little grid monitoring system.
3. micro-grid system is monitored demand
The major function of this little grid monitoring system is divided into three parts, data acquisition and monitoring function, operation controlled function and optimal control function.
(1) data acquisition and monitoring function
Main service data collection, service data processing, formula calculating, alarming processing, picture demonstration, curve display, simple control, report printing, clock synchronization, rights management, topology coloring and the web page browsing function of accomplishing little electrical network.
Little electrical network can be regarded as by wind power generation branch road, photovoltaic generation branch road, energy storage branch road, reactive power compensation branch road, load branch circuit, active power filtering branch road, the branch road etc. that is incorporated into the power networks, and all branch roads compile through the 400V bus.The information of all devices all is to deliver to little grid monitoring system in the unit with the branch road, and concrete data are following:
(a) photovoltaic branch road:
Direct current header box/cabinet: battery strings direct voltage, electric current, power, direct current header box busbar voltage, electric current, state;
Photovoltaic DC-to-AC converter: each inverter DC input voitage, electric current, ac output voltage, electric current, frequency, harmonic wave, clock, inverter state; The interchange cabinet attitude of confluxing;
Prop up circuit-switched data: branch switch state, voltage, electric current, frequency (optional), the current active power of branch road, reactive power, power factor, day energy output, accumulated generation amount, electric energy meter state;
(b) wind-powered electricity generation branch road
Controller of fan: rotor speed, wheel speed, yaw direction is transferred the vane angle degree, output AC voltage, electric current, frequency, current active power, reactive power, the power factor sent, blower fan sends total electric weight, fan condition;
Blower fan inverter: each inverter DC input voitage, electric current, ac output voltage, electric current, frequency, harmonic wave, clock, inverter state; The interchange cabinet attitude of confluxing;
Prop up circuit-switched data: branch switch state, voltage, electric current, frequency (optional), the current active power of branch road, reactive power, power factor, day energy output, accumulated generation amount, electric energy meter state;
(c) energy-storage system branch road
Battery pile: each battery case average voltage and temperature in positive and negative busbar insulation against ground value, battery strings electric current, each battery strings efficient and cycle-index, battery pile charge/discharge electricity amount and residual capacity thereof and active volume, battery strings charge/discharge electricity amount and residual capacity thereof and active volume, the battery strings
Two way convertor: AC side output three-phase voltage, three-phase current, output electric weight, power output, active power of output, the meritorious electric weight of output, output reactive power, output capacity of idle power, AC side power factor, dc voltage, DC side electric current, DC side power, DC side charge volume, DC side discharge capacity, reversible transducer efficient, operating state (opening/stop), operational mode (and from net), running status (discharging and recharging).
Prop up circuit-switched data: branch switch state, voltage, electric current, frequency (optional), the current active power of branch road, reactive power, power factor, day energy output, accumulated generation amount, electric energy meter state;
(d) miniature gas turbine branch road
Miniature gas turbine body: fuel air amount, rotor speed, output voltage, electric current, power factor, power output, generator state, cooling and heating machine air displacement, power output, cooling and heating machine state, fuel gas temperature, combustion machine working temperature;
Two way convertor: each converter DC input voitage, electric current, ac output voltage, electric current, frequency, harmonic wave, clock, converter device state; The interchange cabinet attitude of confluxing;
Prop up circuit-switched data: branch switch state, voltage, electric current, frequency (optional), the current active power of branch road, reactive power, power factor, day energy output, accumulated generation amount, electric energy meter state;
(e) load branch circuit
The load assembly: load side voltage, electric current, power factor, current load, load per hour, every day load, current load prediction value, load condition, each unit state of load point;
Prop up circuit-switched data: branch switch state, voltage, electric current, frequency (optional), the current active power of branch road, reactive power, power factor, day energy output, accumulated generation amount, electric energy meter state;
(f) APF branch road
APF data: electric current total harmonic distortion before the compensation, offset current, compensation after-current total harmonic distortion, compensation after-current effective value, voltage, frequency, power factor;
Prop up circuit-switched data: branch switch state, voltage, electric current, frequency (optional), the current active power of branch road, reactive power, power factor, electric energy meter state;
(g) reactive power compensation branch road
Static Var Compensator: condenser capacity, terminal voltage before the switching state, switching, terminal voltage behind the switching, output current, frequency, power factor, whether automatically control;
Prop up circuit-switched data: branch switch state, voltage, electric current, frequency (optional), the current active power of branch road, reactive power, power factor, electric energy meter state;
(h) and the site branch road
Little grid side: little grid side voltage, electric current, phase angle, frequency, power factor, active power, reactive power;
External power grid side: big grid side voltage, electric current, phase angle, frequency, power factor, active power, reactive power;
Prop up circuit-switched data: the on off state that is incorporated into the power networks, guard mode, the current active power of branch road, reactive power, power factor, electric energy meter state;
(i) environmental monitoring branch road
Circuit-switched data: on-site real-time temperature, humidity, wind speed, wind direction, air pressure, solar radiation amount, sunshine time, photovoltaic module temperature, the state of rainfall and each measuring instrument whether.
(2) operation controlled function
The running status of little electrical network can be divided into and is incorporated into the power networks and leaves two steady operational status of network operation; And/from the net mode switch and the two kinds of transition states of mode switch that leave/are incorporated into the power networks; Also there are two kinds of abnormal operating conditions in little electrical network simultaneously: little electric network fault or inspection travel state, the direct power supply state of the big electrical network of little network load.Operation control comprise little electrical network be incorporated into the power networks operation control, from network operation operation control, and/from the net mode switch and the mode switch that leave/is incorporated into the power networks.
When little electrical network was incorporated into the power networks, the operation control strategy was divided into basic controlling strategy and compound control strategy.The basic controlling strategy comprises active power control, Reactive Power Control, power quality controlling; Compound control strategy can be the combination of basic controlling strategy, also can be to certain operation optimization aim of system.
Little electrical network owing to there is not external electrical network to provide voltage/frequency to support, so need internal unit to coordinate each other, moves according to the voltage/frequency parameter of appointment when network operation.Therefore little electrical network mainly is active power control from network operation control, secondly is Reactive Power Control and power quality controlling.
When little electrical network is incorporated into the power networks; The various service datas of sending in the supervisory control system real-time analysis; When detecting that external electrical network breaks down or when receiving switching command; Supervisory control system is made judgement to current system operation situation; Selected seaming and cutting to change mode or seamless switching mode according to little electrical network from the network operation mode; According to certain sequential control relevant device accomplish little electrical network also/from the network operation mode switch, control little electrical network and get into stable from the network operation state.
When little electrical network leaves network operation; Supervisory control system detects external electrical network ruuning situation in real time; In case external electrical network restores electricity; Little electrical network starts the flow process that is incorporated into the power networks; Start the mode switching program that leave/is incorporated into the power networks after receiving the answer of permission, according to selection is set seaming and cutting die change formula or seamless switching pattern are arranged, by each equipment of mode switching program switching of drafting; Conversion main power source operational mode realizes that little electrical network is incorporated into the power networks smoothly again.
(3) optimal control function
Little network optimization control technology; Take into full account regenerative resource randomness, little operation of power networks stability, energy storage charging and discharging capabilities; Model is set up in combination according to the distributed energy resource system in little electrical network; Select the appropriate control amount; Carry out the coordinated management of polynary energy; Dsm is combined with energy management, select suitable controlled amounts to control.Simultaneously, under the condition of being incorporated into the power networks, little electrical network is accepted the power distribution network scheduling and according to actual conditions little operation of power networks is adjusted.
Optimal control function in little grid monitoring system; After little operation of power networks state is made assessment; Real-time condition and extraneous order according to little electrical network; Confirm a little network optimization operational objective; According to optimization aim Optimum Operating Method is proposed; Provide the operation control strategy according to Optimum Operating Method, and will move control strategy and be handed down to the micro electric network coordination controller and carry out.
4. little power system monitor scheme
In general; Little grid monitoring system structure can be divided into three layers; By the microgrid energy management system; Micro electric network coordination controller, little grid equipment controller are on the spot formed; Under little net capacity situation little, simple in structure; The supervisory control system structure is by the microgrid energy management system, and little grid equipment is the two-layer composition of controller on the spot, and the microgrid energy management system will be accomplished the function of tuning controller and energy-optimised management simultaneously.
(1) three-decker
Three layers of little grid monitoring system typical structure see shown in accompanying drawing 2 left sides that by the microgrid energy management system, micro electric network coordination controller, little grid equipment controller three-decker on the spot constitute.Microgrid energy management system and micro electric network coordination controller adopt Ethernet interface, communicate through 104 stipulations.According to each equipment actual conditions in little electrical network, the micro electric network coordination controller and on the spot the communication mode between the controller comprise RS485, optical fiber, Ethernet etc., and possibly adopt multiple communication protocol.
(a) microgrid energy management system
The microgrid energy management system is accepted dispatching of power netwoks/control command, and the integrated operation control command through each micro electric network coordination controller of computation optimization formation is handed down to the micro electric network coordination controller; Simultaneously each the little electrical network subsystem operation information that send on the collection analysis micro electric network coordination controller is assessed current little operation of power networks state, and can on send the result to the external power grid supervisory control system.
The microgrid energy management system is mainly used in little network optimization scheduling and energy management, shown in Fig. 2 right side.Its major function is to coordinate little operation of power networks, and it is single to make it show as electric external characteristic for main electrical network, but the controllable of flexible dispatching.According to dispatch command, reference distribution formula generator unit is exerted oneself and is predicted and load prediction results, considers current little electrical network actual motion state, according to certain optimization aim, formulates little electrical network subsystem controls strategy.
No matter which kind of stable running status little electrical network is in; The microgrid energy management system all will be under the situation that guarantees system safety stable operation; Utilize distributed power source as much as possible; Coordinate to arrange the distributed power generation unit to be incorporated into the power networks; Make full use of the charge-discharge characteristic of energy storage device; Balanced distribution formula generator unit goes out fluctuation, formulates little electric network reactive-load adjustment scheme, satisfies quality of power supply requirement.
(b) micro electric network coordination controller
The micro electric network coordination controller is the pith of little grid monitoring system; Accomplish the operation control and the mode switch of little electrical network; Under the prerequisite that guarantees little electricity net safety stable; Read the Comprehensive Control curve that the microgrid energy management system issues on time; Convert each device directive to; Assign to each on the spot controller carry out, realize being incorporated into the power networks, off-grid stable operation, and/from net, leave/be incorporated into the power networks take over seamlessly and have seaming and cutting to change.In the process of carrying out microgrid energy management system control strategy; Tuning controller is according to each equipment operation situation of little electrical network; With reference to the distributed power generation unit of self having jurisdiction over exert oneself the prediction and load prediction results, each operational outfit is adjusted, make little operation of power networks reach optimization aim.When carrying out microgrid energy management system control strategy, the micro electric network coordination controller is gathered little real-time power network service data, and reports to the microgrid energy management system.The micro electric network coordination controller can be realized by embedded control system.
(c) little electrical network controller on the spot
Little electrical network controller on the spot is made up of to the monitoring and protection equipment and the distributed power source controller of load and circuit all; Specifically comprise load governor, distributed power generation cell controller, energy storage controller; When little electrical network leaves network operation, little electrical network controller on the spot also will comprise the main power source controller.
The instruction that the micro electric network coordination controller is assigned is accepted and carried out to load governor, drops into the excision load, and load governor will be delivered to tuning controller on the load operation information real-time, supplies its reference.
The distributed power generation cell controller mainly refers to photovoltaic DC-to-AC converter control system, wind electric converter control system, diesel engine control system; Miniature gas turbine current transformer etc.; The distributed power generation cell controller is accepted the instruction that tuning controller issues; Adjust its also control signal of network interface; The transition distributions formula generator unit operational mode and the size of exerting oneself satisfy little real-time power network operation needs.The distributed power generation cell controller is delivered to the micro electric network coordination controller with distributed power generation unit service data on time simultaneously, formulates the operation control strategy for it reference is provided.
The energy storage controller is meant the energy accumulation current converter control system, and the strict micro electric network coordination controller of carrying out of energy storage controller is assigned the instruction curve, discharges and recharges operation, plays and stablizes distributed power generation output, the effect of participation system peak load shifting.Send energy storage device real time execution information to coordinated control system on the controller of energy storage simultaneously, formulate the operation control strategy for it reference is provided.
The present invention adopts principal and subordinate's control strategy when little electrical network leaves network operation, the main power source in the system will move with the voltage/frequency mode, provide little operation of power networks required voltage/frequency parameter.When network operation, tuning controller is assigned correspondent voltage/frequency parameter and is transferred to the execution of main power source controller, stablizes little operation of power networks parameter.The main power source control system is gathered the main power equipment operation information in real time simultaneously, supplies the tuning controller reference.Under the pattern of being incorporated into the power networks; Because the voltage/frequency parameter of little electrical network is determined by external electrical network; Therefore do not need special equipment that the operational factor reference value is provided, so main power source will move the power instruction curve that the executive system controller is assigned by meritorious/idle mode.Main power source controller real-time collecting equipment operation information, on deliver to the micro electric network coordination controller.
(2) double-layer structure
Less at little net capacity; It is formed under the quite simple situation of structure; From practicing thrift the angle of cost, simplification supervisory control system structure; Can not dispose the micro electric network coordination controller separately; But the micro electric network coordination controlled function is incorporated in the microgrid energy management system; By the coordination control of microgrid energy management system and the effect of mode switch function module performance tuning controller; Manage all kinds of distributed power sources, energy storage and load in little electrical network concentratedly; Implement the micro electric network coordination control strategy according to set control strategy, realize the safe operation of little electrical network stable state; In time response higher level dispatch command carries out and from the net mode switch; Automatic from network operation when main electric network fault; Dispatch maintenance with the higher level and communicate by letter, in time uploading system real time execution situation is accepted the major network dispatch command.At this moment little grid monitoring system is then by controller on the spot, and the microgrid energy management system is formed, and except the microgrid energy management system was born the function of tuning controller, the function of controller did not change on the spot.The double-layer structure supervisory control system as shown in Figure 3.
Two-layer little grid monitoring system communication mainly is present in the microgrid energy management system and on the spot between the controller.The front end processor of microgrid energy management system is access network based on ethernet or insert RS485 through terminal server directly, and controller is as adopting other communication modes such as optical fiber on the spot, inserts microgrid energy management system front end processor after need converting Ethernet into.

Claims (1)

1. micro-grid system computer monitoring method is characterized in that,
(a) the microgrid energy management system is accepted dispatching of power netwoks/control command, and the integrated operation control command through each micro electric network coordination controller of computation optimization formation is handed down to the micro electric network coordination controller; Simultaneously each the little electrical network subsystem operation information that send on the collection analysis micro electric network coordination controller is assessed current little operation of power networks state, and can on send the result to the external power grid supervisory control system;
(b) micro electric network coordination controller; Accomplish the operation control and the mode switch of little electrical network; Under the prerequisite that guarantees little electricity net safety stable; Read the Comprehensive Control curve that the microgrid energy management system issues on time; Convert each device directive to; Assign to each on the spot controller carry out, realize being incorporated into the power networks, off-grid stable operation, and/from net, leave/be incorporated into the power networks take over seamlessly and have seaming and cutting to change; In the process of carrying out microgrid energy management system control strategy; Tuning controller is according to each equipment operation situation of little electrical network; With reference to the distributed power generation unit of self having jurisdiction over exert oneself the prediction and load prediction results, each operational outfit is adjusted, make little operation of power networks reach optimization aim; When carrying out microgrid energy management system control strategy, the micro electric network coordination controller is gathered little real-time power network service data, and reports to the microgrid energy management system;
(c) little electrical network on the spot controller form to the load and the monitoring and protection equipment and the distributed power source controller of circuit by all; Comprise load governor, distributed power generation cell controller, energy storage controller; When little electrical network leaves network operation, little electrical network controller on the spot also will comprise the main power source controller;
The instruction that the micro electric network coordination controller is assigned is accepted and carried out to load governor, drops into the excision load, and load governor will be delivered to tuning controller on the load operation information real-time, supplies the tuning controller reference.
CN2011102862911A2011-09-252011-09-25Computer monitoring method for microgrid systemPendingCN102355057A (en)

Priority Applications (2)

Application NumberPriority DateFiling DateTitle
CN2011102862911ACN102355057A (en)2011-09-252011-09-25Computer monitoring method for microgrid system
PCT/CN2011/083155WO2013040837A1 (en)2011-09-252011-11-29Computer monitoring method for microgrid system

Applications Claiming Priority (1)

Application NumberPriority DateFiling DateTitle
CN2011102862911ACN102355057A (en)2011-09-252011-09-25Computer monitoring method for microgrid system

Publications (1)

Publication NumberPublication Date
CN102355057Atrue CN102355057A (en)2012-02-15

Family

ID=45578579

Family Applications (1)

Application NumberTitlePriority DateFiling Date
CN2011102862911APendingCN102355057A (en)2011-09-252011-09-25Computer monitoring method for microgrid system

Country Status (2)

CountryLink
CN (1)CN102355057A (en)
WO (1)WO2013040837A1 (en)

Cited By (83)

* Cited by examiner, † Cited by third party
Publication numberPriority datePublication dateAssigneeTitle
CN102709949A (en)*2012-06-152012-10-03中国电力科学研究院Micro-grid coordinated control system
CN102710784A (en)*2012-06-142012-10-03国电南瑞科技股份有限公司Electric energy quality communication method applied to microgrid
CN102710013A (en)*2012-05-232012-10-03中国电力科学研究院Park energy-network energy optimizing management system based on microgrids and implementing method thereof
CN102710023A (en)*2012-06-132012-10-03中国东方电气集团有限公司Monitoring system applicable to different types of wind photovoltaic storage microgrid systems
CN102723737A (en)*2012-07-042012-10-10国电南京自动化股份有限公司Control method based on micro-grid multi-energy
CN102723742A (en)*2012-06-122012-10-10上海市电力公司Distributed energy power generation access control system
CN102738815A (en)*2012-05-282012-10-17深圳市科陆电子科技股份有限公司System and method for managing energy-storage equipment system
CN102769672A (en)*2012-07-192012-11-07南车株洲电力机车研究所有限公司Microgrid cloud monitoring method and system
CN102801182A (en)*2012-08-212012-11-28广东明阳风电产业集团有限公司 A Topology Structure Using Distributed Wind Farm Grid-connected Control
CN102832706A (en)*2012-07-182012-12-19中国电力科学研究院Distributed power stratified coordination control system of microgrid and method
CN102842914A (en)*2012-08-022012-12-26中国电力科学研究院Energy storage power station monitoring system
CN102931662A (en)*2012-10-232013-02-13江苏省电力公司扬州供电公司Distributive load dynamic regulation-based microgrid monitoring system and control method
CN102999809A (en)*2012-11-072013-03-27中国电力科学研究院Safety assessment method for intermittent power high-permeability power network planning
CN103050986A (en)*2012-12-312013-04-17河北省电力公司电力科学研究院Microgrid and stored energy dispatching method thereof
CN103078407A (en)*2013-01-122013-05-01华南理工大学Intelligent control system for microgrid
CN103124070A (en)*2012-08-152013-05-29中国电力科学研究院Coordination control method for micro-grid system
CN103296676A (en)*2012-02-242013-09-11国家电网公司Simulation system of microgrid
CN103378604A (en)*2012-04-262013-10-30珠海兴业绿色建筑科技有限公司Smart micro-grid
CN103560532A (en)*2012-03-302014-02-05中国电力科学研究院Monitoring system and monitoring method of megawatt battery energy storage power station
CN103558478A (en)*2013-11-132014-02-05太原理工大学Platform for testing microgrid converter hardware on return circuit system
US8655496B1 (en)2013-03-132014-02-18Douglas Ian StewartNetworked energy management
CN103595072A (en)*2013-11-212014-02-19国网上海市电力公司Method of micro-grid for seamless switching from off-grid state to grid-connection state
WO2014032572A1 (en)*2012-08-282014-03-06国家电网公司Multilevel microgrid control method based on four-dimensional energy management space
CN103633739A (en)*2013-11-282014-03-12中国科学院广州能源研究所Microgrid energy management system and method
CN103840501A (en)*2012-11-232014-06-04微宏动力系统(湖州)有限公司Energy storage battery pack, and solar device and wind energy device adopting the same
CN103837764A (en)*2013-03-272014-06-04江苏理工学院Electric energy quality evaluation system and method for household solar photovoltaic power generation
CN103872775A (en)*2014-03-132014-06-18中国能源建设集团广东省电力设计研究院Intelligent micro-grid monitoring system and monitoring method
CN104160587A (en)*2012-10-292014-11-19广东西电动力科技股份有限公司Distributed power supply intelligent grid-connected power generation system
CN104201672A (en)*2014-09-022014-12-10南方电网科学研究院有限责任公司Novel microgrid system control device
CN104268806A (en)*2014-11-032015-01-07四川慧盈科技有限责任公司Micro grid power monitoring system
CN104281986A (en)*2014-11-032015-01-14四川慧盈科技有限责任公司Micro-grid power prediction method
CN104318494A (en)*2014-11-212015-01-28四川慧盈科技有限责任公司Distributed generation intelligent monitoring system
CN104319768A (en)*2014-11-032015-01-28四川慧盈科技有限责任公司Micro-grid power supply and monitoring method
CN104348188A (en)*2014-11-212015-02-11四川慧盈科技有限责任公司Distributed generation running and monitoring method
CN104348189A (en)*2014-11-212015-02-11四川慧盈科技有限责任公司Distributed generation system
CN104393615A (en)*2014-08-212015-03-04国家电网公司Household solar photovoltaic power generation system having monitoring function
CN104410104A (en)*2014-08-292015-03-11国家电网公司Microgrid with bidirectional relay protection device and grid-connected operation control method of microgrid
CN104485682A (en)*2015-01-052015-04-01成都鼎智汇科技有限公司Monitoring device for wind power plant energy storage system
CN104485681A (en)*2015-01-052015-04-01成都鼎智汇科技有限公司Monitoring method for wind power plant energy storage system
CN104505907A (en)*2015-01-092015-04-08成都鼎智汇科技有限公司Monitoring device of battery energy storage system with reactive adjusting function
CN104505826A (en)*2014-12-222015-04-08国家电网公司Coordinated optimization control method for active distribution network
CN104505850A (en)*2015-01-052015-04-08成都鼎智汇科技有限公司Wind power plant energy storage system
CN104538981A (en)*2015-01-092015-04-22成都鼎智汇科技有限公司Monitoring method for battery energy storage system with reactive power regulation function
CN104659804A (en)*2013-11-202015-05-27沈阳工业大学Micro power grid with hybrid energy storage, and control method of micro power grid
CN104753087A (en)*2015-03-042015-07-01联合光伏(深圳)有限公司Black-starting method for multi-energy storage wind and solar energy storage micro-power grid
CN105048455A (en)*2015-07-302015-11-11国网山东省电力公司烟台供电公司Wind power generation and adjustable load unified operation system
CN105162172A (en)*2015-08-132015-12-16中国电力科学研究院Automatic power control system of grid-connected photovoltaic power station
CN105162249A (en)*2015-08-252015-12-16国网浙江杭州市富阳区供电公司Monitoring method and system for electric energy quality of distributed power generation system
CN105207267A (en)*2015-10-292015-12-30南阳理工学院Micro-grid energy management system
CN105262143A (en)*2015-10-082016-01-20贵州电网有限责任公司Photovoltaic source network control method based on optimal regional economy and system
CN103729697B (en)*2014-01-142016-09-21国家电网公司 A multi-link interactive system of power grid to improve intermittent new energy consumption capacity
CN105978025A (en)*2016-06-072016-09-28北京能高自动化技术股份有限公司Microgrid management system
CN106329524A (en)*2016-11-172017-01-11新智能源系统控制有限责任公司Micro-grid system and control method thereof
CN106374501A (en)*2016-11-172017-02-01新智能源系统控制有限责任公司Micro grid system for balancing power supplied by micro power sources and power consumed by loads
CN106786539A (en)*2016-12-302017-05-31江苏金风科技有限公司Load data harvester, prediction control device and load monitoring system
CN107112762A (en)*2014-07-042017-08-29艾克斯兰能源技术公司 Hierarchical and Distributed Grid Control
CN107238742A (en)*2017-04-242017-10-10天津瑞能电气有限公司MW class micro-capacitance sensor and off-network switching transient state monitoring system
CN107565525A (en)*2017-09-072018-01-09广东电网有限责任公司电力科学研究院A kind of energy switching equipment monitoring and protection system
CN107658901A (en)*2017-10-202018-02-02中国南方电网有限责任公司电网技术研究中心Networking control system of distributed energy
CN107862160A (en)*2017-12-062018-03-30清华大学The generation method and device of the following power network evolutionary model of compressed-air energy-storage system
CN107886227A (en)*2017-10-312018-04-06云南电网有限责任公司Method for assessing power distribution network anti-disaster capability improving degree
CN107887904A (en)*2017-11-072018-04-06国网江苏省电力公司盐城供电公司A kind of building type load virtual synchronous machine coordinated control system
CN108767987A (en)*2018-06-192018-11-06清华大学A kind of power distribution network and its micro-capacitance sensor protection and control system
CN109103920A (en)*2017-06-202018-12-28周锡卫A kind of new energy micro-capacitance sensor and its control method limiting electric power based on PCC grid entry point
CN109473965A (en)*2018-11-202019-03-15北京交通大学 A characteristic aggregation scheduler and aggregation scheduling method of a DC power distribution system
CN109639355A (en)*2018-12-042019-04-16马鞍山钢铁股份有限公司A kind of method of industrial optical fiber looped network unperturbed access EMS on-line system
CN110011358A (en)*2019-05-052019-07-12国网安徽省电力有限公司培训中心 A kind of distribution network load state regulation controller
CN110311377A (en)*2019-08-092019-10-08国网江苏省电力有限公司苏州供电分公司 Source-grid-load-storage control and load flexible switching method and system in lightning weather
CN110417052A (en)*2019-07-262019-11-05国网山东省电力公司电力科学研究院 AC-DC hybrid microgrid group series-parallel hybrid network structure, control system and operation control method
CN110570028A (en)*2019-08-222019-12-13国电南瑞科技股份有限公司 A switching method of integrated energy system grid-connected mode to emergency autonomous mode
CN110635499A (en)*2019-10-162019-12-31中天昱品科技有限公司Energy storage converter smooth switching method based on grid-connected and off-grid transient process segmented control
US10548036B2 (en)2016-02-092020-01-28Spatialbuzz LimitedFault monitoring by assessing spatial distribution of queries in a utility supply network
CN111030108A (en)*2019-12-272020-04-17深圳天顺智慧能源科技有限公司Micro-grid and method for realizing automatic tuning of control strategy of micro-grid
CN111047279A (en)*2019-11-202020-04-21深圳市柚子智慧科技发展有限公司Energy efficiency management cloud platform network information system based on energy efficiency information gateway
CN111275578A (en)*2020-02-172020-06-12海南电网有限责任公司电力科学研究院Dispatching automation system
CN111799840A (en)*2020-07-232020-10-20深圳市矿鑫发展有限公司Off-grid and grid-connected integrated power supply control method and system
CN111817356A (en)*2020-09-102020-10-23杭州电力设备制造有限公司 Roof photovoltaic grid-connected device and microgrid island detection method
CN112952895A (en)*2019-12-112021-06-11国网新疆电力有限公司经济技术研究院Alternating current micro-grid based on forward and reverse direction impedance relay protection
US11082323B2 (en)2016-02-092021-08-03Spatialbuzz LimitedFault monitoring in a utility supply network
CN113376566A (en)*2021-06-162021-09-10国网福建省电力有限公司营销服务中心Online monitoring method for metering misalignment of whole network
CN115494777A (en)*2022-09-302022-12-20苏州汇川控制技术有限公司 A microgrid control system
US11616390B2 (en)2018-06-192023-03-28Tsinghua UniversityMicro-grid reconstruction method and device, micro-grid protection control center, and storage medium
CN118353165A (en)*2024-04-162024-07-16国网江苏省电力有限公司电力科学研究院Control system and method for network-structured optical storage micro-grid

Families Citing this family (39)

* Cited by examiner, † Cited by third party
Publication numberPriority datePublication dateAssigneeTitle
CN107645177B (en)*2016-07-202023-09-15锐电科技有限公司Wind power plant energy management system combining energy storage
CN106443173B (en)*2016-10-202023-09-01云南电网有限责任公司电力科学研究院Micro-grid online monitoring device and electric quantity metering method thereof
CN108667066A (en)*2017-10-202018-10-16天津瑞能电气有限公司 A smart microgrid grid-connected point monitoring device
CN108448636B (en)*2018-05-102021-02-05合肥工业大学 An optimal planning method for AC-DC hybrid microgrid considering line factors
CN109245157A (en)*2018-10-082019-01-18珠海格力电器股份有限公司Direct-drive equipment power supply switching equipment and method and power generation system
CN111193283A (en)*2018-11-152020-05-22蔡紫恒Automatically regulated switch based on intelligent operation control of little electric wire netting
CN109449976A (en)*2018-11-212019-03-08中国电建集团江西省电力建设有限公司Intelligent micro-grid based on adaptive technique and off-network switching system
CN110765564B (en)*2019-11-072023-11-17云南电网有限责任公司电力科学研究院Load moment-based configuration position correction method and device
CN111047465B (en)*2019-12-092024-05-10湘潭大学Power grid friendly load response method based on power big data
CN110970930A (en)*2019-12-302020-04-07青岛益和电气集团股份有限公司 A distributed energy storage control system and method
CN111200285B (en)*2020-02-122023-12-19燕山大学Micro-grid hybrid coordination control method based on reinforcement learning and multi-agent theory
CN111666664B (en)*2020-05-222023-10-27湖北省电力勘测设计院有限公司Assessment method for confidence capacity of newly-added energy element of electric-gas comprehensive energy system
CN112421774B (en)*2020-10-292023-05-02深圳供电局有限公司Monitoring system of reactive power compensation equipment of power distribution network
CN112436546A (en)*2020-11-132021-03-02王捷Distributed mixed storage electric energy quality adjusting device and integrated cloud control platform thereof
CN112600198A (en)*2020-12-072021-04-02国网江苏省电力有限公司扬州供电分公司Power coordination control method and device for comprehensive energy system
CN113541306B (en)*2021-05-242024-08-02国网浙江省电力有限公司台州供电公司Green energy low-carbon efficiency monitoring system and method
CN113408892B (en)*2021-06-182023-03-24浙江中新电力工程建设有限公司Layered cooperative regulation and control system for guaranteeing multi-energy complementary microgrid and regulation and control method thereof
CN113285475A (en)*2021-06-212021-08-20海南绿色能源与环境工程技术研究院Multi-energy-storage joint optimization active regulation and control method based on edge cloud cooperative computing
CN113762923B (en)*2021-09-062023-10-20傲普(上海)新能源有限公司Energy storage EMS system supported by multi-protocol equipment
CN113922402B (en)*2021-09-262024-07-12北京能高自动化技术股份有限公司Energy storage converter control method based on highway traffic load prediction
CN114256837B (en)*2021-12-162024-02-06云南电网有限责任公司电力科学研究院Multi-energy complementary distributed power supply control method and system
CN114204561B (en)*2021-12-172024-09-17青岛东软载波科技股份有限公司Energy router cabinet with energy management function and application method thereof
CN114552639B (en)*2022-02-192022-10-18三峡大学 A carbon footprint monitoring method for low-carbon emission distribution station area
CN114583749A (en)*2022-03-042022-06-03上海玫克生储能科技有限公司Operation control method and system for microgrid, electronic device and storage medium
CN114725988A (en)*2022-05-052022-07-08西安华海众和电力科技有限公司Wind-solar-diesel-storage multi-energy complementary power generation system
CN114825487B (en)*2022-06-302022-12-30中国电力科学研究院有限公司Off-grid wind storage load power generation system and control debugging method
CN115224697B (en)*2022-07-202024-07-16北京能高自动化技术股份有限公司Hierarchical energy management method for multistage comprehensive energy micro-grid
CN115276087A (en)*2022-08-022022-11-01湖北省电力装备有限公司 A photovoltaic microgrid energy management system
CN115588995B (en)*2022-09-212025-08-26湖南大学 A method and system for controlling photovoltaic distribution network voltage in a substation under limited information conditions
CN115459259B (en)*2022-09-272024-06-14厦门四联信息技术有限公司Micro-grid cooperative scheduling control system based on edge calculation
CN116780629B (en)*2023-06-272024-02-20武汉大学 A smooth switching method and device for independent operation of power distribution system containing energy storage
CN117096938B (en)*2023-10-192024-03-12国网浙江省电力有限公司象山县供电公司 Inverter output power quality adaptive control method, device and computer equipment
CN117728395B (en)*2023-12-062024-07-02国网山东省电力公司枣庄供电公司Micro-grid networking interconnection and flexible switching strategy system and method
CN117639023B (en)*2024-01-262024-04-05深圳市健网科技有限公司Automatic off-grid switching control method for distributed energy storage system
CN118399404B (en)*2024-06-272024-10-18浙江省邮电工程建设有限公司Multi-dimensional intelligent control method and system for micro-grid
CN118487385B (en)*2024-07-162024-10-01中电装备山东电子有限公司Intelligent ammeter case operation data remote monitoring system
CN118646167B (en)*2024-08-162024-11-22浙江省通信产业服务有限公司Integrated intelligent micro-grid cooperative regulation and control system
CN119965856A (en)*2025-02-172025-05-09中国长江电力股份有限公司 A power supply and generation control method based on integrated photovoltaic storage and new energy microgrid
CN120033856B (en)*2025-04-222025-06-17江苏智谋科技有限公司 Distributed energy storage multi-scenario aggregation control system and method

Citations (5)

* Cited by examiner, † Cited by third party
Publication numberPriority datePublication dateAssigneeTitle
CN1964152A (en)*2006-11-222007-05-16中国科学院电工研究所A system to control and manage micro power network
CN101207284A (en)*2006-12-152008-06-25通用电气公司System and method for controlling a micro electric network
WO2008109263A1 (en)*2007-03-012008-09-12Wisconsin Alumni Research FoundationNon-inverter based distributed energy resource for use in a dynamic distribution system
JP2011114956A (en)*2009-11-272011-06-09Hitachi LtdStable-operation control device for micro grid
CN102170134A (en)*2011-05-052011-08-31许继集团有限公司Microgrid synchronization and off-grid control method and seamless switching method

Family Cites Families (4)

* Cited by examiner, † Cited by third party
Publication numberPriority datePublication dateAssigneeTitle
CN101510686B (en)*2009-03-262011-01-26上海交通大学 Coordinated control system of microgrid based on multi-agent technology
CN101630840B (en)*2009-08-122011-06-08电子科技大学Intelligent control system for microgrid energy
KR101045326B1 (en)*2009-09-292011-06-30한국전력공사 Microgrid Operating System and Methods
CN101777769B (en)*2010-03-242012-06-20上海交通大学Multi-agent optimized coordination control method of electric network

Patent Citations (5)

* Cited by examiner, † Cited by third party
Publication numberPriority datePublication dateAssigneeTitle
CN1964152A (en)*2006-11-222007-05-16中国科学院电工研究所A system to control and manage micro power network
CN101207284A (en)*2006-12-152008-06-25通用电气公司System and method for controlling a micro electric network
WO2008109263A1 (en)*2007-03-012008-09-12Wisconsin Alumni Research FoundationNon-inverter based distributed energy resource for use in a dynamic distribution system
JP2011114956A (en)*2009-11-272011-06-09Hitachi LtdStable-operation control device for micro grid
CN102170134A (en)*2011-05-052011-08-31许继集团有限公司Microgrid synchronization and off-grid control method and seamless switching method

Non-Patent Citations (1)

* Cited by examiner, † Cited by third party
Title
于慎航等: "基于分布式可再生能源发电的能源互联网系统", 《电力自动化设备》*

Cited By (118)

* Cited by examiner, † Cited by third party
Publication numberPriority datePublication dateAssigneeTitle
CN103296676A (en)*2012-02-242013-09-11国家电网公司Simulation system of microgrid
CN103560532A (en)*2012-03-302014-02-05中国电力科学研究院Monitoring system and monitoring method of megawatt battery energy storage power station
CN103560532B (en)*2012-03-302015-09-09中国电力科学研究院 A monitoring system and method for a megawatt-level battery energy storage power station
CN103378604A (en)*2012-04-262013-10-30珠海兴业绿色建筑科技有限公司Smart micro-grid
CN102710013A (en)*2012-05-232012-10-03中国电力科学研究院Park energy-network energy optimizing management system based on microgrids and implementing method thereof
CN102710013B (en)*2012-05-232014-02-19中国电力科学研究院 Energy optimization management system of park energy network based on microgrid and its implementation method
CN102738815A (en)*2012-05-282012-10-17深圳市科陆电子科技股份有限公司System and method for managing energy-storage equipment system
CN102723742A (en)*2012-06-122012-10-10上海市电力公司Distributed energy power generation access control system
CN102710023B (en)*2012-06-132016-01-20东方电气集团国际合作有限公司Be applicable to the supervisory control system of dissimilar wind-light storage micro-grid system
CN102710023A (en)*2012-06-132012-10-03中国东方电气集团有限公司Monitoring system applicable to different types of wind photovoltaic storage microgrid systems
CN102710784A (en)*2012-06-142012-10-03国电南瑞科技股份有限公司Electric energy quality communication method applied to microgrid
CN102709949A (en)*2012-06-152012-10-03中国电力科学研究院Micro-grid coordinated control system
CN102723737B (en)*2012-07-042014-07-30国电南京自动化股份有限公司Control method based on micro-grid multi-energy
CN102723737A (en)*2012-07-042012-10-10国电南京自动化股份有限公司Control method based on micro-grid multi-energy
CN102832706B (en)*2012-07-182015-07-22中国电力科学研究院Distributed power stratified coordination control system of microgrid and method
CN102832706A (en)*2012-07-182012-12-19中国电力科学研究院Distributed power stratified coordination control system of microgrid and method
CN102769672B (en)*2012-07-192015-06-10南车株洲电力机车研究所有限公司Microgrid cloud monitoring method and system
CN102769672A (en)*2012-07-192012-11-07南车株洲电力机车研究所有限公司Microgrid cloud monitoring method and system
CN102842914A (en)*2012-08-022012-12-26中国电力科学研究院Energy storage power station monitoring system
CN102842914B (en)*2012-08-022015-04-29中国电力科学研究院Energy storage power station monitoring system
CN103124070B (en)*2012-08-152015-03-25中国电力科学研究院Coordination control method for micro-grid system
CN103124070A (en)*2012-08-152013-05-29中国电力科学研究院Coordination control method for micro-grid system
CN102801182A (en)*2012-08-212012-11-28广东明阳风电产业集团有限公司 A Topology Structure Using Distributed Wind Farm Grid-connected Control
WO2014032572A1 (en)*2012-08-282014-03-06国家电网公司Multilevel microgrid control method based on four-dimensional energy management space
CN102931662B (en)*2012-10-232015-03-11江苏省电力公司扬州供电公司Distributive load dynamic regulation-based microgrid monitoring system and control method
CN102931662A (en)*2012-10-232013-02-13江苏省电力公司扬州供电公司Distributive load dynamic regulation-based microgrid monitoring system and control method
CN104160587A (en)*2012-10-292014-11-19广东西电动力科技股份有限公司Distributed power supply intelligent grid-connected power generation system
CN102999809B (en)*2012-11-072015-03-25中国电力科学研究院Safety assessment method for intermittent power high-permeability power network planning
CN102999809A (en)*2012-11-072013-03-27中国电力科学研究院Safety assessment method for intermittent power high-permeability power network planning
CN103840501A (en)*2012-11-232014-06-04微宏动力系统(湖州)有限公司Energy storage battery pack, and solar device and wind energy device adopting the same
CN103050986B (en)*2012-12-312016-12-28河北省电力公司电力科学研究院A kind of micro-capacitance sensor and energy storage dispatching method thereof
CN103050986A (en)*2012-12-312013-04-17河北省电力公司电力科学研究院Microgrid and stored energy dispatching method thereof
CN103078407A (en)*2013-01-122013-05-01华南理工大学Intelligent control system for microgrid
US8655496B1 (en)2013-03-132014-02-18Douglas Ian StewartNetworked energy management
CN103837764B (en)*2013-03-272016-11-02江苏理工学院Electric energy quality detection method for household solar photovoltaic power generation
CN103837764A (en)*2013-03-272014-06-04江苏理工学院Electric energy quality evaluation system and method for household solar photovoltaic power generation
CN103558478B (en)*2013-11-132016-01-20太原理工大学A kind of micro-capacitance sensor transducer hardware is at circuit system test platform
CN103558478A (en)*2013-11-132014-02-05太原理工大学Platform for testing microgrid converter hardware on return circuit system
CN104659804B (en)*2013-11-202017-03-08沈阳工业大学Micro-capacitance sensor containing hybrid energy-storing and its control method
CN104659804A (en)*2013-11-202015-05-27沈阳工业大学Micro power grid with hybrid energy storage, and control method of micro power grid
CN103595072A (en)*2013-11-212014-02-19国网上海市电力公司Method of micro-grid for seamless switching from off-grid state to grid-connection state
CN103633739A (en)*2013-11-282014-03-12中国科学院广州能源研究所Microgrid energy management system and method
CN103633739B (en)*2013-11-282015-05-20中国科学院广州能源研究所Microgrid energy management system and method
CN103729697B (en)*2014-01-142016-09-21国家电网公司 A multi-link interactive system of power grid to improve intermittent new energy consumption capacity
CN103872775B (en)*2014-03-132016-01-27中国能源建设集团广东省电力设计研究院有限公司A kind of intelligent micro-grid supervisory control system and method for supervising
CN103872775A (en)*2014-03-132014-06-18中国能源建设集团广东省电力设计研究院Intelligent micro-grid monitoring system and monitoring method
CN107112762B (en)*2014-07-042020-12-01艾克斯兰能源技术公司 Hierarchical and distributed grid control
CN107112762A (en)*2014-07-042017-08-29艾克斯兰能源技术公司 Hierarchical and Distributed Grid Control
CN104393615A (en)*2014-08-212015-03-04国家电网公司Household solar photovoltaic power generation system having monitoring function
CN104410104A (en)*2014-08-292015-03-11国家电网公司Microgrid with bidirectional relay protection device and grid-connected operation control method of microgrid
CN104201672A (en)*2014-09-022014-12-10南方电网科学研究院有限责任公司Novel microgrid system control device
CN104281986A (en)*2014-11-032015-01-14四川慧盈科技有限责任公司Micro-grid power prediction method
CN104268806A (en)*2014-11-032015-01-07四川慧盈科技有限责任公司Micro grid power monitoring system
CN104319768A (en)*2014-11-032015-01-28四川慧盈科技有限责任公司Micro-grid power supply and monitoring method
CN104281986B (en)*2014-11-032017-09-26四川慧盈科技有限责任公司A kind of microgrid power Forecasting Methodology
CN104319768B (en)*2014-11-032016-03-16四川慧盈科技有限责任公司A kind of micro-capacitance sensor is powered and method for supervising
CN104318494A (en)*2014-11-212015-01-28四川慧盈科技有限责任公司Distributed generation intelligent monitoring system
CN104348189A (en)*2014-11-212015-02-11四川慧盈科技有限责任公司Distributed generation system
CN104348188A (en)*2014-11-212015-02-11四川慧盈科技有限责任公司Distributed generation running and monitoring method
CN104505826A (en)*2014-12-222015-04-08国家电网公司Coordinated optimization control method for active distribution network
CN104485682A (en)*2015-01-052015-04-01成都鼎智汇科技有限公司Monitoring device for wind power plant energy storage system
CN104485681A (en)*2015-01-052015-04-01成都鼎智汇科技有限公司Monitoring method for wind power plant energy storage system
CN104505850A (en)*2015-01-052015-04-08成都鼎智汇科技有限公司Wind power plant energy storage system
CN104538981B (en)*2015-01-092016-08-24国网山东省电力公司烟台供电公司A kind of monitoring method of the battery energy storage system with Reactive-power control function
CN104538981A (en)*2015-01-092015-04-22成都鼎智汇科技有限公司Monitoring method for battery energy storage system with reactive power regulation function
CN104505907A (en)*2015-01-092015-04-08成都鼎智汇科技有限公司Monitoring device of battery energy storage system with reactive adjusting function
CN104753087B (en)*2015-03-042018-07-10联合光伏(深圳)有限公司A kind of black-start method of the wind-light storage micro-capacitance sensor containing a variety of energy storage
CN104753087A (en)*2015-03-042015-07-01联合光伏(深圳)有限公司Black-starting method for multi-energy storage wind and solar energy storage micro-power grid
CN105048455A (en)*2015-07-302015-11-11国网山东省电力公司烟台供电公司Wind power generation and adjustable load unified operation system
CN105048455B (en)*2015-07-302017-10-13国网山东省电力公司烟台供电公司A kind of wind-power electricity generation and deferrable load combined operation system
CN105162172B (en)*2015-08-132018-07-20中国电力科学研究院A kind of grid-connected photovoltaic power generation station power automatic control system
CN105162172A (en)*2015-08-132015-12-16中国电力科学研究院Automatic power control system of grid-connected photovoltaic power station
CN105162249A (en)*2015-08-252015-12-16国网浙江杭州市富阳区供电公司Monitoring method and system for electric energy quality of distributed power generation system
CN105262143B (en)*2015-10-082016-07-13贵州电网有限责任公司 Coordinated control method and system for photovoltaic source network based on regional economic optimization
CN105262143A (en)*2015-10-082016-01-20贵州电网有限责任公司Photovoltaic source network control method based on optimal regional economy and system
CN105207267B (en)*2015-10-292017-03-22南阳理工学院Micro-grid energy management system
CN105207267A (en)*2015-10-292015-12-30南阳理工学院Micro-grid energy management system
US11082323B2 (en)2016-02-092021-08-03Spatialbuzz LimitedFault monitoring in a utility supply network
US10548036B2 (en)2016-02-092020-01-28Spatialbuzz LimitedFault monitoring by assessing spatial distribution of queries in a utility supply network
CN105978025A (en)*2016-06-072016-09-28北京能高自动化技术股份有限公司Microgrid management system
CN106329524A (en)*2016-11-172017-01-11新智能源系统控制有限责任公司Micro-grid system and control method thereof
CN106329524B (en)*2016-11-172019-01-08新智能源系统控制有限责任公司A kind of control method of micro-grid system and micro-grid system
CN106374501A (en)*2016-11-172017-02-01新智能源系统控制有限责任公司Micro grid system for balancing power supplied by micro power sources and power consumed by loads
CN106374501B (en)*2016-11-172019-05-24新智能源系统控制有限责任公司A kind of micro-grid system for realizing micro battery power supply and load coulomb balance
CN106786539A (en)*2016-12-302017-05-31江苏金风科技有限公司Load data harvester, prediction control device and load monitoring system
CN107238742A (en)*2017-04-242017-10-10天津瑞能电气有限公司MW class micro-capacitance sensor and off-network switching transient state monitoring system
CN109103920B (en)*2017-06-202024-04-30周锡卫Control method of new energy micro-grid based on PCC grid-connected point limiting power
CN109103920A (en)*2017-06-202018-12-28周锡卫A kind of new energy micro-capacitance sensor and its control method limiting electric power based on PCC grid entry point
CN107565525A (en)*2017-09-072018-01-09广东电网有限责任公司电力科学研究院A kind of energy switching equipment monitoring and protection system
CN107658901A (en)*2017-10-202018-02-02中国南方电网有限责任公司电网技术研究中心Networking control system of distributed energy
CN107886227A (en)*2017-10-312018-04-06云南电网有限责任公司Method for assessing power distribution network anti-disaster capability improving degree
CN107886227B (en)*2017-10-312021-11-19云南电网有限责任公司Method for evaluating disaster resistance improvement degree of power distribution network
CN107887904A (en)*2017-11-072018-04-06国网江苏省电力公司盐城供电公司A kind of building type load virtual synchronous machine coordinated control system
CN107862160A (en)*2017-12-062018-03-30清华大学The generation method and device of the following power network evolutionary model of compressed-air energy-storage system
CN107862160B (en)*2017-12-062020-08-11清华大学 Method and device for generating future power grid evolution model of compressed air energy storage system
CN108767987A (en)*2018-06-192018-11-06清华大学A kind of power distribution network and its micro-capacitance sensor protection and control system
US11616390B2 (en)2018-06-192023-03-28Tsinghua UniversityMicro-grid reconstruction method and device, micro-grid protection control center, and storage medium
CN109473965A (en)*2018-11-202019-03-15北京交通大学 A characteristic aggregation scheduler and aggregation scheduling method of a DC power distribution system
CN109639355B (en)*2018-12-042022-07-01马鞍山钢铁股份有限公司Method for undisturbed access of industrial optical fiber ring network to EMS (energy management system) online system
CN109639355A (en)*2018-12-042019-04-16马鞍山钢铁股份有限公司A kind of method of industrial optical fiber looped network unperturbed access EMS on-line system
CN110011358B (en)*2019-05-052023-01-13国网安徽省电力有限公司培训中心Distribution network load state adjustment controller
CN110011358A (en)*2019-05-052019-07-12国网安徽省电力有限公司培训中心 A kind of distribution network load state regulation controller
CN110417052A (en)*2019-07-262019-11-05国网山东省电力公司电力科学研究院 AC-DC hybrid microgrid group series-parallel hybrid network structure, control system and operation control method
CN110417052B (en)*2019-07-262021-08-03国网山东省电力公司电力科学研究院 AC-DC hybrid microgrid group series-parallel hybrid networking structure, control system and operation control method
CN110311377A (en)*2019-08-092019-10-08国网江苏省电力有限公司苏州供电分公司 Source-grid-load-storage control and load flexible switching method and system in lightning weather
CN110570028A (en)*2019-08-222019-12-13国电南瑞科技股份有限公司 A switching method of integrated energy system grid-connected mode to emergency autonomous mode
CN110635499A (en)*2019-10-162019-12-31中天昱品科技有限公司Energy storage converter smooth switching method based on grid-connected and off-grid transient process segmented control
CN111047279A (en)*2019-11-202020-04-21深圳市柚子智慧科技发展有限公司Energy efficiency management cloud platform network information system based on energy efficiency information gateway
CN112952895A (en)*2019-12-112021-06-11国网新疆电力有限公司经济技术研究院Alternating current micro-grid based on forward and reverse direction impedance relay protection
CN111030108A (en)*2019-12-272020-04-17深圳天顺智慧能源科技有限公司Micro-grid and method for realizing automatic tuning of control strategy of micro-grid
CN111275578A (en)*2020-02-172020-06-12海南电网有限责任公司电力科学研究院Dispatching automation system
CN111799840B (en)*2020-07-232022-03-29深圳市矿鑫发展有限公司Off-grid and grid-connected integrated power supply control method and system
CN111799840A (en)*2020-07-232020-10-20深圳市矿鑫发展有限公司Off-grid and grid-connected integrated power supply control method and system
CN111817356A (en)*2020-09-102020-10-23杭州电力设备制造有限公司 Roof photovoltaic grid-connected device and microgrid island detection method
CN113376566A (en)*2021-06-162021-09-10国网福建省电力有限公司营销服务中心Online monitoring method for metering misalignment of whole network
CN113376566B (en)*2021-06-162024-03-12国网福建省电力有限公司营销服务中心Online monitoring method for whole-network metering misalignment
CN115494777A (en)*2022-09-302022-12-20苏州汇川控制技术有限公司 A microgrid control system
CN118353165A (en)*2024-04-162024-07-16国网江苏省电力有限公司电力科学研究院Control system and method for network-structured optical storage micro-grid

Also Published As

Publication numberPublication date
WO2013040837A1 (en)2013-03-28

Similar Documents

PublicationPublication DateTitle
CN102355057A (en)Computer monitoring method for microgrid system
CN202435048U (en)Micro-grid system based on various distributed power supplies and energy storage units
CN202651785U (en) An AC-DC Hybrid Microgrid System
CN202586493U (en)Micro electrical network energy management system
CN103595138B (en)A kind of smart micro-grid system
CN101630840B (en)Intelligent control system for microgrid energy
CN102368620B (en)Wind-energy/ solar-energy/ storage/ ocean-current-energy new-energy isolated network stabilization operation integration control system and method thereof
CN207753457U (en)intelligent power grid management system
WO2018103232A1 (en)Control method for new energy micro-grid electric vehicle charging station
CN102710013A (en)Park energy-network energy optimizing management system based on microgrids and implementing method thereof
CN108649602A (en)Wind-solar-diesel storage intelligent AC micro-grid system
CN206099371U (en) A community new energy microgrid system
CN114709867B (en)Distributed energy grid-connected flexible absorption system based on intelligent fusion terminal
CN104022528A (en)Method for micro-grid system coordinated control based on multi-element composite energy storage
CN105515083A (en)Electric vehicle group charging microgrid control method supporting secure dynamic capacity-increase
CN105529793A (en) A control method for electric vehicle group charging micro-grid simultaneously serving as an emergency power supply
CN203312825U (en)Off-grid distributed power supply system
WO2018103231A1 (en)New energy micro-grid electric vehicle charging station
CN103296754A (en)Method for controlling distributed power resources of active power distribution networks
CN110768355B (en)DC networking wind-solar-diesel-storage land power station system and working method thereof
CN207053198U (en)Photovoltaic microgrid system
Zhang et al.Highly applicable small hydropower microgrid operation strategy and control technology
CN116667405A (en)Low-carbon energy-saving method and system for complementary adjustment of multiple energy sources
CN103904684A (en)Micro-grid control system and a new energy recycling system
CN113054670A (en)Energy local area network-based optimization planning system

Legal Events

DateCodeTitleDescription
C06Publication
PB01Publication
C10Entry into substantive examination
SE01Entry into force of request for substantive examination
C12Rejection of a patent application after its publication
RJ01Rejection of invention patent application after publication

Application publication date:20120215


[8]ページ先頭

©2009-2025 Movatter.jp