Movatterモバイル変換


[0]ホーム

URL:


CN102339087A - Modularized data centre - Google Patents

Modularized data centre
Download PDF

Info

Publication number
CN102339087A
CN102339087ACN2010102284635ACN201010228463ACN102339087ACN 102339087 ACN102339087 ACN 102339087ACN 2010102284635 ACN2010102284635 ACN 2010102284635ACN 201010228463 ACN201010228463 ACN 201010228463ACN 102339087 ACN102339087 ACN 102339087A
Authority
CN
China
Prior art keywords
module
image
counter
data center
modular data
Prior art date
Legal status (The legal status is an assumption and is not a legal conclusion. Google has not performed a legal analysis and makes no representation as to the accuracy of the status listed.)
Pending
Application number
CN2010102284635A
Other languages
Chinese (zh)
Inventor
苏宗翰
李忠一
陈俊铭
Current Assignee (The listed assignees may be inaccurate. Google has not performed a legal analysis and makes no representation or warranty as to the accuracy of the list.)
Hongfujin Precision Industry Shenzhen Co Ltd
Hon Hai Precision Industry Co Ltd
Original Assignee
Hongfujin Precision Industry Shenzhen Co Ltd
Hon Hai Precision Industry Co Ltd
Priority date (The priority date is an assumption and is not a legal conclusion. Google has not performed a legal analysis and makes no representation as to the accuracy of the date listed.)
Filing date
Publication date
Application filed by Hongfujin Precision Industry Shenzhen Co Ltd, Hon Hai Precision Industry Co LtdfiledCriticalHongfujin Precision Industry Shenzhen Co Ltd
Priority to CN2010102284635ApriorityCriticalpatent/CN102339087A/en
Publication of CN102339087ApublicationCriticalpatent/CN102339087A/en
Pendinglegal-statusCriticalCurrent

Links

Images

Landscapes

Abstract

Translated fromChinese

一种模块化数据中心,其包括至少一运算模块及至少一供电模块,每一运算模块包括一可由交通工具运送第一货柜、若干安装所述第一货柜中的运算系统、一安装于所述第一货柜中的冷却系统、一用于监视所述第一货柜的第一监控系统及一用于使这些运算系统连接于互联网的网络连接接口,每一供电模块包括一可由交通工具运送第二货柜及若干安装所述第二货柜中,用于向所述运算模块供电的供电系统。相较现有技术,该模块化数据中心通过模块设计,可以根据需要配置运算模块及供电模块,且不需要准备机房,从而大大节省的建造成本及建造周期。

Figure 201010228463

A modular data center, which includes at least one computing module and at least one power supply module, each computing module includes a first container that can be transported by vehicles, several computing systems installed in the first container, a The cooling system in the first container, a first monitoring system for monitoring the first container, and a network connection interface for connecting these computing systems to the Internet, each power supply module includes a second The container and several power supply systems installed in the second container are used to supply power to the computing module. Compared with the existing technology, the modular data center can be equipped with computing modules and power supply modules according to the needs through the modular design, and does not need to prepare a computer room, thus greatly saving the construction cost and construction period.

Figure 201010228463

Description

Modular data center
Technical field
The present invention relates to a kind of modular data center.
Background technology
Along with online application and development, increase fast for the demand of data center.Data center is large-scale concentrated computing facility, and it generally includes a large amount of computer systems, and these computer systems are positioned in the frame.Data center needs expensive construction cost, and wherein being equipped with machine room promptly is a high expense.In addition, the solution of the data center of existing framework is quite complicated, and this has improved its construction cost and construction period greatly.Current, data center contemplates to put into operation from it needs one-year age usually.
Summary of the invention
In view of above content, be necessary to provide a kind of modular data center, to save construction cost and construction period.
A kind of modular data center, it comprises at least one computing module and at least one supply module, each computing module comprises: one first counter, it can be transported by the vehicles; In said first counter of some installations, thereby in said first counter, accomplish the arithmetic system of moving and transporting process; One is installed on the said first lift-on-lift-off cooling system, is used for the heat that accumulates in said first counter is discharged; One is used to keep watch on first supervisory system and a network connection interface of said first counter, is used to make these arithmetic systems to be connected in the internet; Each supply module comprises one second counter, and it can be transported by the vehicles; And in said second counter of some installations, be used for electric power system to said computing module power supply.
Compare prior art, this modular data center can dispose computing module and supply module as required, and need not prepare machine room through modular design, thus construction cost and the construction period saved greatly.
Description of drawings
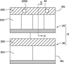
Fig. 1 is the synoptic diagram of the preferred embodiments of multimode of the present invention data center.
Fig. 2 is the sectional view along II among Fig. 1-the II line obtains.
Fig. 3 is the block diagram of the supervisory system of multimode of the present invention data center.
The main element symbol description
Data center 10
Computing module 20
Supply module 30
Counter 201,301
Arithmetic system 203
Cooling system 205
Temperature controller 2050
Electric power system 303
Cooling system 305
Mounting structure 207
Precedingplenum chamber 2031
Backplenum chamber 2033
Evaporator 2051
Fan 2053
Raisedfloor 2055
Precedinggrid 2057
Back grid 2059
Supervisory system 40
Camera 400
Image decoder 402
Record cell 404
Display unit 406
Memory module 4020
Detecting module 4022
Compression module 4024
Embodiment
See also Fig. 1, the preferred embodiments ofmodular data center 10 of the present invention comprises acomputing module 20 and a supply module 30.In other embodiments,computing module 20 andsupply module 30 all can be a plurality of.
Thiscomputing module 20 comprises that acounter 201, somearithmetic systems 203 and that is contained in thiscounter 201 are contained in thecooling system 205 in this counter 201.Thiscounter 201 can be through vehicles transportation.Thiscooling system 205 is used forcounter 201 outsides are arrived in the heat discharge of accumulation in the counter 201.Thiscooling system 205 comprises atemperature controller 2050, is used for the temperature maintenance around thesearithmetic systems 203 in a setting value.Thiscomputing module 20 comprises that also a network connection interface (figure does not show) is used for making thesearithmetic systems 203 to be connected in the internet.
Thissupply module 30 comprises that acounter 301, someelectric power systems 303 and that is contained in thiscounter 301 are contained in thecooling system 305 in this counter 301.Thissupply module 30 is connected in thiscomputing module 20 and thiscomputing module 20 is supplied power.Thiscounter 301 can be through vehicles transportation.Thiselectric power system 303 comprises a plurality of power distribution equipments and the non-power supply that is interrupted, and is used for electric energy is assigned to thiscomputing module 20 from primary power.Thiscooling system 305 is used forcounter 301 outsides are arrived in the heat discharge of accumulation in the counter 301.Thiscooling system 305 comprises a temperature controller (figure does not show), is used for the temperature maintenance around theseelectric power systems 303 in a setting value.Thissupply module 30 comprises that also a network connection interface (figure does not show) is used for making theseelectric power systems 303 to be connected in the internet.
See also Fig. 2, thesearithmetic systems 203 are installed in themounting structure 207, and thesemounting structures 207 can be frames.Eachmounting structure 207 built-in refrigerating/cooling system is used to discharge the heat that thesearithmetic systems 203 are produced.Eachmounting structure 207 forms a specific enclosure space, and temperature in it and humidity are through accurately controlling with thesemounting structure 207 corresponding temperature controllers 2050.A plenum chamber 2031 and aback plenum chamber 2033 before the front end of thismounting structure 207 and rear end correspondence are provided with one.Plenum chamber 2031 andback plenum chamber 2033 pass through gap and mutual perforation the between thearithmetic system 203 in thismounting structure 207 before being somebody's turn to do, thereby make air-flow be able to circulation to cool off thismounting structure 207.
In this embodiment, thiscooling system 205 comprises anevaporator 2051 and plurality of fans 2053.Thesefans 2053 can disperse hot-air thisevaporator 2051 and are cooled.Thisevaporator 2051 and these fans are installed on the below of the raisedfloor 2055 of this computing module 20.Thisevaporator 2051 is connected with the output terminal of condenser and the suction line of compressor.Thesefans 2053 pass cold air the precedinggrid 2057 of this raisedfloor 2055 and drive in this precedingplenum chamber 2031, flow through thesearithmetic systems 203 again with its cooling.Simultaneously, Hot air quilt drives in thisback plenum chamber 2033 and passes theback grid 2059 of this raisedfloor 2055.
Thiscomputing module 20 comprises that asupervisory system 40 is to monitor this counter 201.As shown in Figure 3, thissupervisory system 40 comprises a camera 400, an image decoder 402, a record cell 404 and a display unit 406.This image decoder 402 comprises a memory module 4020, a detecting module 4022 and a compression module 4024.The image of the monitored object that this camera 400 obtains is sent to the memory module 4020 of this image decoder 402.This detecting module 4022 checks that the image that is stored in this memory module 4020 to confirm the key position of every width of cloth image, reaches the coordinate figure of this key position.If monitored object is a maintenance person, then in order to discern, this key position is set at this maintenance person's face.The coordinate figure of this key position is sent to the compression module 4024 of this image decoder 402.Be appreciated that this detecting module 4022 utilizes prior art to obtain the image of key position.In this compression module 4024 each width of cloth image of compression except that key position other partial data.In other words, except obtained the part of coordinate values by this detecting module 4022, other partial data are by these compression module 4024 compressions in each width of cloth image.This compression module 4024 outputs to this record cell 404 with data and other partial data of the key position of each width of cloth image, these record cell 404 these data of record.This display unit shows the image that this record cell 404 is write down.In this embodiment, this record cell 404 is a video recorder, and this display unit is a monitor, and this memory module 4020 is a hard disk.Thissupply module 30 comprises that also a surveillance (figure does not show) is used to keep watch on thiscounter 301.
Thiscomputing module 20 and thissupply module 30 are equipped with sensor with the variation in thiscomputing module 20 of sensing and this supply module 30.These sensors comprise vibration transducer, pneumatic sensor, humidity sensor, threshold sensor, fume detector and violence intrusion detection device.

Claims (10)

1. modular data center, it comprises at least one computing module and at least one supply module, each computing module comprises:
One first counter, it can be transported by the vehicles;
In said first counter of some installations, thereby in said first counter, accomplish the arithmetic system of moving and transporting process;
One is installed on the said first lift-on-lift-off cooling system, is used for the heat that accumulates in said first counter is discharged;
One is used to keep watch on first supervisory system of said first counter; And
One network connection interface is used to make these arithmetic systems to be connected in the internet;
Each supply module comprises:
One second counter, it can be transported by the vehicles; And
In said second counter of some installations, be used for electric power system to said computing module power supply.
2. modular data center as claimed in claim 1 is characterized in that: said cooling system comprises a temperature controller, is used for the temperature maintenance around these arithmetic systems in a setting value.
3. modular data center as claimed in claim 1 is characterized in that: said arithmetic system is installed on the said first lift-on-lift-off mounting structure, and said mounting structure is a frame.
4. modular data center as claimed in claim 1; It is characterized in that: said first supervisory system comprises a camera, an image decoder and a record cell; Said camera obtains the image of some monitored object; Said image decoder comprises a memory module, a detecting module and a compression module, the image of the said compression module output of said recording unit records.
5. modular data center as claimed in claim 4; It is characterized in that: said memory module is stored the image of the said monitored object that said camera obtains; The inspection of said detecting module is stored in image in this memory module confirming the key position of every width of cloth image, in said each width of cloth image of compression module compression except that key position other partial data.
6. modular data center as claimed in claim 1 is characterized in that: said supply module comprises that also one is used to keep watch on second supervisory system of said second counter.
7. modular data center as claimed in claim 6; It is characterized in that: said second supervisory system comprises a camera, an image decoder and a record cell; Said camera obtains the image of some monitored object; Said image decoder comprises a memory module, a detecting module and a compression module, the image of the said compression module output of said recording unit records.
8. modular data center as claimed in claim 7; It is characterized in that: said memory module is stored the image of the said monitored object that said camera obtains; The inspection of said detecting module is stored in image in this memory module confirming the key position of every width of cloth image, in said each width of cloth image of compression module compression except that key position other partial data.
9. modular data center as claimed in claim 1 is characterized in that: said computing module and supply module are equipped with sensor with difference this first counter of sensing and second counter.These sensors comprise vibration transducer, pneumatic sensor, humidity sensor, threshold sensor, fume detector or violence intrusion detection device.
10. modular data center as claimed in claim 1 is characterized in that: said modular data center comprises that also one is installed on said second lift-on-lift-off another cooling system, is used for the heat that accumulates in said second counter is discharged.
CN2010102284635A2010-07-162010-07-16Modularized data centrePendingCN102339087A (en)

Priority Applications (1)

Application NumberPriority DateFiling DateTitle
CN2010102284635ACN102339087A (en)2010-07-162010-07-16Modularized data centre

Applications Claiming Priority (1)

Application NumberPriority DateFiling DateTitle
CN2010102284635ACN102339087A (en)2010-07-162010-07-16Modularized data centre

Publications (1)

Publication NumberPublication Date
CN102339087Atrue CN102339087A (en)2012-02-01

Family

ID=45514865

Family Applications (1)

Application NumberTitlePriority DateFiling Date
CN2010102284635APendingCN102339087A (en)2010-07-162010-07-16Modularized data centre

Country Status (1)

CountryLink
CN (1)CN102339087A (en)

Cited By (3)

* Cited by examiner, † Cited by third party
Publication numberPriority datePublication dateAssigneeTitle
CN103729328A (en)*2012-10-152014-04-16深圳市腾讯计算机系统有限公司Data center module and data center formed by micro-modules
CN105350688A (en)*2015-11-182016-02-24苏州国科综合数据中心有限公司Enclosing cage for IDC machine room
CN106368456A (en)*2016-09-182017-02-01郑州云海信息技术有限公司Data center system

Cited By (5)

* Cited by examiner, † Cited by third party
Publication numberPriority datePublication dateAssigneeTitle
CN103729328A (en)*2012-10-152014-04-16深圳市腾讯计算机系统有限公司Data center module and data center formed by micro-modules
WO2014059909A3 (en)*2012-10-152016-05-12腾讯科技(深圳)有限公司Data center module and data center consisting of micro-modules
US9814162B2 (en)2012-10-152017-11-07Tencent Technology (Shenzhen) Company LimitedData center micro-module and data center formed by micro-modules
CN105350688A (en)*2015-11-182016-02-24苏州国科综合数据中心有限公司Enclosing cage for IDC machine room
CN106368456A (en)*2016-09-182017-02-01郑州云海信息技术有限公司Data center system

Similar Documents

PublicationPublication DateTitle
TW201202960A (en)Multi-modular data center
US10058013B2 (en)Environment-controlled cooling mode selection for a modular data center based on detection of contaminants and particulates in outside air
CN104748324B (en)The method and apparatus that air-conditioning unit is controlled in data center
JP6051829B2 (en) Fan control device
JP4883491B2 (en) Electronic equipment cooling system
US20160007506A1 (en)Modular data center
US20160198593A1 (en)Mixed/multi-mode cooling using air handling units (ahu) providing directed controlled cooling to a modular data center
US9206991B2 (en)System and method for monitoring and reporting energy recovery ventilator power consumption and service and maintenance needs
CN103631349A (en)System and method for high-efficiency data center cooling
US7493193B2 (en)Monitoring and real-time heat load control based upon server and environmental parameters
CN102804098A (en)Electrical device cooling efficiency monitoring
US20150159898A1 (en)Air conditioning management system for data center and management method of the same
JP5381277B2 (en) Blower control pattern creation device
CN102339087A (en)Modularized data centre
CN202679885U (en)Cabinet air conditioner ventilation unit and modularization data center
CN207969242U (en)Cabinet is simulated in machine-cabinet temperature controlling system and master control
JP2006198582A (en) Filter clogging detection device and detection method
JP4612691B2 (en) Switching cabinet control monitoring system
CN203500075U (en)Coal mine main fan on-line monitoring system
US20120118553A1 (en)Heat ventilation apparatus
CN203554873U (en)Refrigeration control system of machine cabinet
KR20160093820A (en)Control System For Heat Exchanger Type Air Ventilators
JP6067440B2 (en) Server room cooling control device and computer program
US20230247800A1 (en)System and method for thermal management in a computing environment
KR20160073187A (en)Apparatus and method for controlling temperature of data centers

Legal Events

DateCodeTitleDescription
C06Publication
PB01Publication
C10Entry into substantive examination
SE01Entry into force of request for substantive examination
RJ01Rejection of invention patent application after publication

Application publication date:20120201

RJ01Rejection of invention patent application after publication

[8]ページ先頭

©2009-2025 Movatter.jp