Movatterモバイル変換


[0]ホーム

URL:


CN102287737B - Rotary light-emitting diode (LED) fluorescent lamp with built-in power supply - Google Patents

Rotary light-emitting diode (LED) fluorescent lamp with built-in power supply
Download PDF

Info

Publication number
CN102287737B
CN102287737BCN201110212169ACN201110212169ACN102287737BCN 102287737 BCN102287737 BCN 102287737BCN 201110212169 ACN201110212169 ACN 201110212169ACN 201110212169 ACN201110212169 ACN 201110212169ACN 102287737 BCN102287737 BCN 102287737B
Authority
CN
China
Prior art keywords
lamp
power supply
tube head
head
tube
Prior art date
Legal status (The legal status is an assumption and is not a legal conclusion. Google has not performed a legal analysis and makes no representation as to the accuracy of the status listed.)
Expired - Fee Related
Application number
CN201110212169A
Other languages
Chinese (zh)
Other versions
CN102287737A (en
Inventor
仇富军
Current Assignee (The listed assignees may be inaccurate. Google has not performed a legal analysis and makes no representation or warranty as to the accuracy of the list.)
NINGBO TONGTAI ELECTRICAL CO Ltd
Original Assignee
NINGBO TONGTAI ELECTRICAL CO Ltd
Priority date (The priority date is an assumption and is not a legal conclusion. Google has not performed a legal analysis and makes no representation as to the accuracy of the date listed.)
Filing date
Publication date
Application filed by NINGBO TONGTAI ELECTRICAL CO LtdfiledCriticalNINGBO TONGTAI ELECTRICAL CO Ltd
Priority to CN201110212169ApriorityCriticalpatent/CN102287737B/en
Priority to EP11861898.2Aprioritypatent/EP2573457B1/en
Priority to JP2013533079Aprioritypatent/JP5635703B2/en
Priority to PCT/CN2011/079760prioritypatent/WO2013013441A1/en
Publication of CN102287737ApublicationCriticalpatent/CN102287737A/en
Application grantedgrantedCritical
Publication of CN102287737BpublicationCriticalpatent/CN102287737B/en
Expired - Fee Relatedlegal-statusCriticalCurrent
Anticipated expirationlegal-statusCritical

Links

Images

Classifications

Landscapes

Abstract

Translated fromChinese

本发明公开了一种LED旋转式内置电源日光灯,包括灯管、电源组件、灯板组件、两个上管头和两个下管头,每个上管头上均设有灯脚,电源组件和灯板组件位于灯管内,两个下管头分别套接于灯管两头,每个下管头外侧均嵌套一个上管头,电源组件和灯板组件之间设有实现电源组件和灯板组件电连接的排针,排针上设有针脚,电源组件与灯板组件上均设有与针脚相焊接的接插孔,电源组件和灯板组件上的接插孔均与对应的电连接线路导通;两个上管头开口端均设有包括一个以上的调位凸台和限位凸台,两个下管头内均设有隔板,隔板与下管头内壁的连接处均设有包括一个以上的调位挡块与限位挡块。本发明产品,其连接稳定性好,电气性能高,可调节光照角度。

The invention discloses an LED rotary fluorescent lamp with built-in power supply, which comprises a lamp tube, a power supply assembly, a lamp panel assembly, two upper tube heads and two lower tube heads, each upper tube head is provided with a lamp foot, and the power supply assembly and the lamp board assembly are located in the lamp tube, and the two lower tube heads are respectively socketed at both ends of the lamp tube, and an upper tube head is nested on the outside of each lower tube head. The pin headers for the electrical connection of the light board components are provided with pins, and the power supply components and the light board components are provided with sockets welded to the pins. The electrical connection line is conducted; the open ends of the two upper pipe heads are equipped with more than one position adjustment boss and limit boss, and the two lower pipe heads are equipped with partitions, and the partitions are connected with the inner wall of the lower pipe head. The joints are provided with more than one position adjustment stopper and limit stopper. The product of the invention has good connection stability, high electrical performance, and can adjust the illumination angle.

Description

The rotary built-in power fluorescent lamp of LED
Technical field
The present invention relates to the rotary built-in power fluorescent lamp of a kind of fluorescent lamp, particularly LED.
Background technology
LED has been applied in the various luminous scenes as rising industry widely, and particularly the development of LED technology recently greatly improves the LED luminous efficiency, therefore also receives the favor of illumination market.In room lighting, use most often fluorescent lamp now, i.e. fluorescent lamp.On the market a variety of fluorescent lamps that are made as built-in power with LED are arranged also now, it relies on the outstanding performance of LED, becomes a kind of light of replace fluorescent lamps.
But LED in the market exists two tangible technological deficiencies as the fluorescent lamp of built-in power; At first its LED power panel all adopts electric wire to be connected with lamp plate; It is unstable that this structure can cause power panel to be connected with lamp plate; Occur simultaneously line ball when mounted easily, electric wire such as is broken at situation, and high pressure, the temperatures involved of electric wire also can receive work the time; Secondly existing LED is dull as the fluorescent lamp form of built-in power, function singleness, and the non-rotatable adjusting of fluorescent tube can not be satisfied people's requirement to illumination under various working environments.
Summary of the invention
The objective of the invention is provides a kind of power supply module and lamp plate assembly connective stability of promoting for the deficiency that solves above-mentioned prior art, and improves electric property, can arbitrarily adjust the rotary built-in power fluorescent lamp of LED of lighting angle simultaneously.
To achieve these goals; The rotary built-in power fluorescent lamp of the LED that the present invention designed comprises fluorescent tube, power supply module, lamp plate assembly, goes up tube head and following tube head, and last tube head is equipped with two with following tube head; All be arranged with lamp base on each on the tube head; Power supply module and lamp plate assembly are positioned at fluorescent tube, and two following tube heads are socketed on fluorescent tube two respectively, and each goes up tube head in all nested one of the tube head outside down; It is characterized in that being provided with between said power supply module and the lamp plate assembly row's pin of realizing that power supply module is connected with the lamp plate electrical component; Row's pin is provided with the stitch of the corresponding conducting in both sides, is equipped with the jointing holes of welding mutually with stitch on power supply module and the lamp plate assembly, the jointing holes on power supply module and the lamp plate assembly all with corresponding electrical interconnection conducting; Said two last tube head openends are equipped with and comprise more than one positioning boss and positive stop lug boss; Be equipped with dividing plate in two following tube heads; The junction of dividing plate and following tube head inwall is equipped with and comprises more than one positioning block and positive stop; The positioning block cooperates with the positioning boss and the positive stop lug boss of last tube head openend respectively with positive stop, also is provided with routing hole on the dividing plate.
Power supply module directly is fixedly connected through row's pin with the lamp plate assembly in the said structure, makes to be connected firmly that power supply can not rock in the use; And row's pin connects good electric property, and the electric wire in the middle of having substituted connects, and has avoided line ball; Break risk, reduced high temperature, high pressure putting in order the influence of lamp; Dividing plate cooperates with positioning boss and the positive stop lug boss that positive stop and last tube head openend are provided with the positioning block that the junction of following tube head inwall is provided with simultaneously, and the purpose of lighting angle can be arbitrarily adjusted in realization.
As preferentially, said power supply module is positioned at the upper end of lamp plate assembly, and row's pin is provided with four groups of stitch, on power panel and lamp plate, respectively is provided with four jointing holes of welding mutually with four groups of stitch; Said on each the tube head openend be equipped with two positioning boss and two positive stop lug boss; Two positioning boss and two positive stop lug boss are and are symmetrical set; And the last tube head openend right-angled intersection distribution in edge, the junction of tube head inwall and dividing plate is equipped with six positioning blocks and two positive stops under each, and six positioning blocks and two positive stops are 45 ° of annular spread of tube head inwall under the edge; And six positioning blocks are for be symmetrical set in twos, and two positive stops are for being symmetrical set.
In order to promote stability; The said tube head of going up is fixed through the tightening member of scurrying reposition element with following tube head; Last tube head is built-in with the step installing hole; The dividing plate of following tube head is provided with the fixing hole with the same axis of step installing hole, scurries the tightening member penetrating mounting holes of reposition element and cooperates with fixing hole, and reposition element is positioned at the step installing hole.
Rotation for ease also can have limit function; Said positive stop lug boss is provided with position-limit foot; Positive stop is L-shaped, and its lateral part and longitudinal component intersection are to the spacing of the tube head inwall down thickness greater than the positioning boss, less than the extension elongation of the position-limit foot that stretches out on the positive stop lug boss; The height of positive stop is higher than the height of the block of transposing, and last tube head is broken away from the positioning block by drawing drawing distance is greater than the height of positioning block and be lower than the height of positive stop.
In order further to improve safety in utilization, be provided with insulation board between said power supply module and the lamp plate assembly, lamp plate assembly lower end is provided with lampshade, and lampshade is fixed on the fluorescent tube; In order to promote installation strength, on the dividing plate between the inwall of fixing hole and following tube head, be provided with reinforcement; And in order to increase the service life, the said tube head of going up is provided with the tube head protective sleeve that cooperates with lamp base; Be provided with pipe close in the step installing hole of said upward tube head, pipe close is positioned at the outside of tightening member.
The rotary built-in power fluorescent lamp of the LED that the present invention obtains, its power supply module directly is fixedly connected through row's pin with the lamp plate assembly, makes to be connected firmly; Power supply can not rock in the use; And row's pin connects good electric property, and the electric wire in the middle of having substituted connects, and has avoided line ball; Break risk, reduced high temperature, high pressure putting in order the influence of lamp; Dividing plate cooperates with positioning boss and the positive stop lug boss that positive stop and last tube head openend are provided with the positioning block that the junction of following tube head inwall is provided with, and the purpose of lighting angle can be arbitrarily adjusted in realization; In order to promote stability, the said tube head of going up is fixed through the tightening member of scurrying reposition element with following tube head simultaneously; In order to promote installation strength, the dividing plate between the inwall of said fixing hole and following tube head is provided with reinforcement; Rotation for ease also can have limit function; Said positive stop lug boss is provided with position-limit foot; Positive stop is L-shaped, and its lateral part and longitudinal component intersection are to the spacing of the tube head inwall down thickness greater than the positioning boss, less than the extension elongation of the position-limit foot that stretches out on the positive stop lug boss; The height of positive stop is higher than the height of the block of transposing, and last tube head is broken away from the positioning block by drawing drawing distance is greater than the height of positioning block and be lower than the height of positive stop; And in order further to improve safety in utilization, said power supply module is positioned at the upper end of lamp plate assembly, and power supply module and lamp plate assembly directly are provided with insulation board, and lamp plate assembly lower end is provided with lampshade; In order to increase the service life, the said tube head of going up is provided with the tube head protective sleeve that cooperates with lamp base at last; Be provided with pipe close in the step installing hole of said upward tube head.
Description of drawings
Fig. 1 is the overall structure sketch map of embodiment 1;
Fig. 2 is that row's pin of power supply module and lamp plate assembly is connected the overall structure sketch map among the embodiment 1;
Fig. 3 is row's pin syndeton exploded perspective view of power supply module and lamp plate assembly among the embodiment 1;
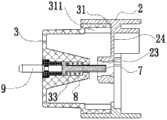
Fig. 4 goes up tube head and the rotatable fit structure exploded perspective view of following tube head among the embodiment 1;
Fig. 5 is a structural representation of going up tube head among the embodiment 1;
Fig. 6 is the structural representation that descends tube head and Shangguan's mating surface among the embodiment 1;
Fig. 7 is a Shangguan's head and the rotatable locking state overall structure cutaway view that cooperates of following tube head among the embodiment 1;
Fig. 8 is a Shangguan's head and the rotatable rotatable state overall structure cutaway view that cooperates of following tube head among the embodiment 1;
Fig. 9 is the overall structure sketch map ofembodiment 2;
Figure 10 goes up tube head and the rotatable fit structure exploded perspective view of following tube head among theembodiment 2;
Figure 11 is the structural representation that descends tube head and Shangguan's mating surface among theembodiment 2.
Among the figure: fluorescent tube 1,down tube head 2,positive stop 21,positioning block 22,fixing hole 23, dividingplate 24,routing hole 25, go uptube head 3, positivestop lug boss 31,positioning boss 32,step installing hole 33, position-limit foot 311, lamp plate assembly 4, jointing holes 45,power supply module 5, row'spin 6, stitch 61, tighteningmember 7,reposition element 8,lamp base 9,lampshade 10, pipe close 11, tube headprotective sleeve 12,reinforcement 13,insulation board 14.
The specific embodiment
Below in conjunction with accompanying drawing and embodiment the present invention is further specified.
Embodiment 1:
As shown in Figure 1, the rotary built-in power fluorescent lamp of LED provided by the invention, comprise fluorescent tube 1,power supply module 5, lamp plate assembly 4, two go uptube head 3 and two followingtube heads 2; All be arranged withlamp base 9 on each on thetube head 3;Power supply module 5 is positioned at fluorescent tube 1 with lamp plate assembly 4, andpower supply module 5 is positioned at the upper end of lamp plate assembly 4, and two followingtube heads 2 are socketed on fluorescent tube 1 two respectively; Each goes uptube head 3 in all nested one oftube head 2 outsides down; Like Fig. 2, shown in Figure 3, row'spin 6 of realizing thatpower supply module 5 and lamp plate assembly 4 are electrically connected is installed betweenpower supply module 5 and lamp plate assembly 4, row'spin 6 is provided with the stitch 61 of the corresponding conducting in four groups of both sides; Be equipped with four jointing holes 45 of welding mutually onpower supply module 5 and the lamp plate assembly 4 with stitch 61; Jointing holes 45 onpower supply module 5 and the lamp plate assembly 4 all with corresponding electrical interconnection conducting, like Fig. 4, shown in Figure 6,tube head 3 openends are equipped with twopositioning boss 32 and two positivestop lug boss 31 on two; Twopositioning boss 32 and two positivestop lug boss 31 are and are symmetrical set; And distribute alonglast tube head 3 openend right-angled intersections, to be equipped with 21, six positioning of sixpositioning blocks 22 and two positive stops blocks 22 be that tube head inwall 45 is spent annular spread under the edge with twopositive stops 21 in the junction oftube head 2 inwalls and dividingplate 24 down for each; And sixpositioning blocks 22 are for be symmetrical set in twos; Twopositive stops 21 are for being symmetrical set, andpositioning block 22 cooperates with positivestop lug boss 31 with thepositioning boss 32 oflast tube head 3 openends respectively withpositive stop 21, and the concrete number of certain above-mentionedpositioning boss 32, positivestop lug boss 31,transpose block 22 andpositive stop 21 can be confirmed according to the requirement of real illumination different angles; Just differ one for example at this, also be provided withrouting hole 25 on the dividingplate 24.
As shown in Figure 5; On positivestop lug boss 31, be provided with position-limit foot 311;Positive stop 21 is L-shaped, and its lateral part and longitudinal component intersection are to the spacing of thetube head 2 inwalls down thickness greater than positioningboss 32, less than the extension elongation of the position-limit foot that stretches out on the positivestop lug boss 31 311; The height ofpositive stop 21 is higher than the height of theblock 22 of transposing, andlast tube head 3 is broken away frompositioning block 22 by drawing drawing distance is greater than the height ofpositioning block 22 and be lower than the height ofpositive stop 21.
The internal links mode oflast tube head 3 and followingtube head 2 is described below: it is fixing through the tighteningmember 7 of scurryingreposition element 8 with followingtube head 2 to go uptube head 3; Tightening member can be screw, bolt etc.; Reposition element can be spring, elastic washer etc.;Last tube head 3 is built-in withstep installing hole 33; The dividingplate 24 of followingtube head 2 is provided with thefixing hole 23 withstep installing hole 33 same axis, and the tighteningmember 7 of scurryingreposition element 8 runs throughstep installing hole 33 and cooperates withfixing hole 23, andreposition element 8 is positioned at step installing hole 33.Above-mentioned this connected mode good stability.
Power supply module 5 directly is fixedly connected through row'spin 6 with lamp plate assembly 4 in the said structure, makes to be connected firmly that power supply can not rock in the use; And row'spin 6 connects good electric property, and the electric wire in the middle of having substituted connects, and has avoided line ball; Break risk, reduced high temperature, high pressure putting in order the influence of lamp; Simultaneously each downtube head 2 inwalls cooperate the replacement purposes of 0 °, 45 °, 90 ° of realization lighting angles and-45 ° with twopositioning boss 32 and two positivestop lug boss 31 that two positive stops 21 andlast tube head 3 openends are provided with sixpositioning blocks 22 that the junction of dividingplate 24 is provided with.
In practical implementation, whenpower supply module 5 was installed through row'spin 6 with lamp plate assembly 4, stitch 61 upper ends of four groups of corresponding conductings in both sides were inserted in four jointing holes 45 ofpower supply module 5 on row'spin 6, and weld; Stitch 61 lower ends of four groups of corresponding conductings in both sides are inserted in four jointing holes 45 of lamp plate assembly 4 on row'spin 6, weld equally.Like Fig. 7, shown in Figure 8, in use carry out fluorescent tube 1 rotation adjusting, the user only needs thattube head 3 is rotated in the pull-up; Be connected owing to match withpositive stop 21 throughtranspose boss 32 and positivestop lug boss 31 and theblock 22 of transposing betweenlast tube head 3 and the followingtube head 2; And thestep installing hole 33 oflast tube head 3 is built-in withreposition element 8, thus in pulling duringtube head 3, the tension force effect ofreposition element 8 and under the double condition intube head 3 and the slit of followingtube head 2 junctions;Last tube head 3 will outwards move a segment distance; Rotate next onepositioning block 22 places this moment again by hand, aim at thepositioning block 22 on thepositioning boss 32 gone up on thetube head 3 and the followingtube head 2 then, loose one's grip after hearing " click " one;Last tube head 3 is on the snapping with followingtube head 2; Andreposition element 8 is also just got back to initial position, becausereposition element 8 has pretightning force, therefore goes uptube head 3 and can not become flexible with followingtube head 2.
Embodiment 2:
Like Fig. 9, Figure 10, shown in Figure 11; The rotary built-in power fluorescent lamp of the LED that present embodiment provides; Its general structure is consistent with embodiment 1, but in order further to improve safety in utilization, is provided withinsulation board 14 between saidpower supply module 5 and the lamp plate assembly 4; Lamp plate assembly 4 lower ends are provided withlampshade 10, andlampshade 10 is fixed on the fluorescent tube 1; In order to promote installation strength, the dividingplate 24 between the inwall of saidfixing hole 23 and followingtube head 2 is provided withreinforcement 13; And in order to increase the service life, the saidtube head 3 of going up is provided with the tube headprotective sleeve 12 that cooperates withlamp base 9; Be provided with pipe close 11 in thestep installing hole 33 of said upwardtube head 3, pipe close 11 is positioned at the outside of tighteningmember 7.

Claims (9)

Translated fromChinese
1.一种LED旋转式内置电源日光灯,包括灯管(1)、电源组件(5)、灯板组件(4)、上管头(3)和下管头(2),上管头(3)和下管头(2)均设有两个,每个上管头(3)上均对称设有灯脚(9),电源组件(5)和灯板组件(4)位于灯管(1)内,两个下管头(2)分别套接于灯管(1)两头,每个下管头(2)外侧均嵌套一个上管头(3),其特征是所述电源组件(5)和灯板组件(4)之间设有实现电源组件(5)和灯板组件(4)电连接的排针(6),排针(6)上设有两侧对应导通的针脚(61),电源组件(5)与灯板组件(4)上均设有与针脚(61)相焊接的接插孔(45),电源组件(5)和灯板组件(4)上的接插孔(45)均与对应的电连接线路导通;所述两个上管头(3)开口端均设有包括一个以上的调位凸台(32)和限位凸台(31),两个下管头(2)内均设有隔板(24),隔板(24)与下管头(2)内壁的连接处均设有包括一个以上的调位挡块(22)与限位挡块(21),调位挡块(22)与限位挡块(21)分别与上管头(3)开口端的调位凸台(32)和限位凸台(31)配合,隔板(24)上还设有布线孔(25)。1. An LED rotary fluorescent lamp with built-in power supply, including a lamp tube (1), a power supply assembly (5), a lamp panel assembly (4), an upper tube head (3) and a lower tube head (2), and an upper tube head (3) ) and the lower tube head (2) are provided with two, and each upper tube head (3) is equipped with lamp pins (9) symmetrically, and the power supply assembly (5) and the lamp board assembly (4) are located on the lamp tube (1 ), two lower tube heads (2) are respectively socketed on both ends of the lamp tube (1), and an upper tube head (3) is nested on the outside of each lower tube head (2), and it is characterized in that the power supply assembly ( 5) and the lamp board assembly (4) are provided with pin headers (6) to realize the electrical connection between the power supply assembly (5) and the lamp board assembly (4), and pin headers (6) are provided with corresponding conduction pins on both sides (61), the power supply assembly (5) and the light board assembly (4) are provided with sockets (45) welded to the pins (61), and the connection sockets on the power supply assembly (5) and the light board assembly (4) The sockets (45) are all connected to the corresponding electrical connection lines; the open ends of the two upper pipe heads (3) are provided with more than one position-adjusting boss (32) and limiting boss (31), Both lower pipe heads (2) are provided with partitions (24), and the joints between the partitions (24) and the inner walls of the lower pipe heads (2) are provided with more than one position adjustment stoppers (22) and limiters. Position stopper (21), position adjustment stopper (22) and limit stopper (21) cooperate with the position adjustment boss (32) and the limit boss (31) of upper pipe head (3) open end respectively, separate Wiring holes (25) are also provided on the board (24).2.根据权利要求1所述的LED旋转式内置电源日光灯,其特征是所述电源组件(5)位于灯板组件(4)的上端,排针(6)上设有四组针脚(61),在电源组件(5)和灯板组件(4)上各设有四个与四组针脚(61)相焊接的接插孔(45);所述每个上管头(3)开口端均设有两个调位凸台(32)和两个限位凸台(31),两个调位凸台(32)和两个限位凸台(31)均为对称设置,并沿上管头(3)开口端十字交叉分布,每个下管头(2)内壁与隔板(24)的连接处均设有六个调位挡块(22)和两个限位挡块(21),六个调位挡块(22)和两个限位挡块(21)为沿下管头(2)内壁45°环形分布,且六个调位挡块(22)为两两对称设置,两个限位挡块(21)为对称设置。2. The LED rotary fluorescent lamp with built-in power supply according to claim 1, characterized in that the power supply assembly (5) is located at the upper end of the lamp panel assembly (4), and four groups of pins (61) are arranged on the pin row (6) , the power supply assembly (5) and the light board assembly (4) are respectively provided with four socket holes (45) welded with four sets of pins (61); the open ends of each upper tube head (3) are There are two position-adjusting bosses (32) and two position-limiting bosses (31), and the two position-adjusting bosses (32) and the two position-limiting bosses (31) are symmetrically arranged, and The opening end of the head (3) is distributed in a cross, and the connection between the inner wall of each lower pipe head (2) and the partition (24) is provided with six adjustment stops (22) and two limit stops (21) , six position-adjusting stops (22) and two limit stops (21) are distributed in a 45° ring along the inner wall of the lower pipe head (2), and the six position-adjusting stops (22) are arranged symmetrically in pairs, Two limit stops (21) are arranged symmetrically.3.根据权利要求1或2所述的LED旋转式内置电源日光灯,其特征是所述上管头(3)和下管头(2)通过窜有复位元件(8)的紧固元件(7)固定,上管头(3)内置有台阶安装孔(33),下管头(2)的隔板(24)上设有与台阶安装孔(33)同一轴线的固定孔(23),窜有复位元件(8)的紧固元件(7)贯穿台阶安装孔(33),并与固定孔(23)配合,复位元件(8)位于台阶安装孔(33)内。3. The LED rotary fluorescent lamp with built-in power supply according to claim 1 or 2, characterized in that the upper tube head (3) and the lower tube head (2) pass through a fastening element (7) with a reset element (8) ) is fixed, the upper pipe head (3) has a built-in step mounting hole (33), and the partition plate (24) of the lower pipe head (2) is provided with a fixing hole (23) on the same axis as the step mounting hole (33). The fastening element (7) with the reset element (8) passes through the step installation hole (33) and cooperates with the fixing hole (23). The reset element (8) is located in the step installation hole (33).4.根据权利要求1或2所述的LED旋转式内置电源日光灯,其特征是所述限位凸台(31)上设有限位脚(311),限位挡块(21)呈L形,且其横向部分与纵向部分相交处到下管头(2)内壁的间距大于调位凸台(32)的厚度,小于限位凸台(31)上伸出的限位脚(311)的伸出长度,限位挡块(21)的高度高于调位挡块(22)的高度,上管头(3)被拉拔脱离调位挡块(32)的拉拔距离大于调位挡块(32)的高度且低于限位挡块(21)的高度。4. The LED rotary fluorescent lamp with built-in power supply according to claim 1 or 2, characterized in that the limiting boss (31) is provided with a limiting foot (311), and the limiting stopper (21) is L-shaped, And the distance between its transverse part and the vertical part intersection to the inner wall of the lower pipe head (2) is greater than the thickness of the position-adjusting boss (32), and less than the extension of the position-limiting pin (311) stretched out on the position-limiting boss (31). length, the height of the limit stopper (21) is higher than the height of the adjustment stopper (22), and the pulling distance for the upper pipe head (3) to be pulled away from the adjustment stopper (32) is greater than that of the adjustment stopper (32) and lower than the height of the limit stopper (21).5.根据权利要求3所述的LED旋转式内置电源日光灯,其特征是所述限位凸台(31)上设有限位脚(311),限位挡块(21)呈L形,且其横向部分与纵向部分相交处到下管头(2)内壁的间距大于调位凸台(32)的厚度,小于限位凸台(31)上伸出的限位脚(311)的伸出长度,限位挡块(21)的高度高于调位挡块(22)的高度,上管头(3)被拉拔脱离调位挡块(32)的拉拔距离大于调位挡块(32)的高度且低于限位挡块(21)的高度。5. The LED rotary fluorescent lamp with built-in power supply according to claim 3, characterized in that the limiting boss (31) is provided with a limiting foot (311), the limiting block (21) is L-shaped, and its The distance from the intersection of the transverse part and the longitudinal part to the inner wall of the lower pipe head (2) is greater than the thickness of the position-adjusting boss (32), and smaller than the extension length of the limiting foot (311) protruding from the limiting boss (31) , the height of the limit stopper (21) is higher than the height of the adjustment stopper (22), and the pulling distance of the upper pipe head (3) from the adjustment stopper (32) is greater than that of the adjustment stopper (32) ) and lower than the height of the limit stopper (21).6.根据权利要求1或2所述的LED旋转式内置电源日光灯,其特征是所述电源组件(5)与灯板组件(4)之间设有绝缘板(14),灯板组件(4)下端设有灯罩(10),灯罩(10)固定在灯管(1)上;所述固定孔(23)和下管头(2)的内壁之间的隔板(24)上设有加强筋(13);所述上管头(3)外侧设有与灯脚(9)配合的管头保护套(12);所述上管头(3)的台阶安装孔(33)内设有管塞(11),管塞(11)位于紧固元件(7)的外侧。6. The LED fluorescent lamp with built-in rotary power supply according to claim 1 or 2, characterized in that an insulating plate (14) is provided between the power supply assembly (5) and the lamp panel assembly (4), and the lamp panel assembly (4 ) is provided with a lampshade (10) at the lower end, and the lampshade (10) is fixed on the lamp tube (1); a reinforced Rib (13); the outer side of the upper tube head (3) is provided with a tube head protective cover (12) that matches the lamp pin (9); the step mounting hole (33) of the upper tube head (3) is provided with Pipe plug (11), the pipe plug (11) is located on the outside of the fastening element (7).7.根据权利要求3所述的LED旋转式内置电源日光灯,其特征是所述电源组件(5)与灯板组件(4)之间设有绝缘板(14),灯板组件(4)下端设有灯罩(10),灯罩(10)固定在灯管(1)上;所述固定孔(23)和下管头(2)的内壁之间的隔板(24)上设有加强筋(13);所述上管头(3)外侧设有与灯脚(9)配合的管头保护套(12);所述上管头(3)的台阶安装孔(33)内设有管塞(11),管塞(11)位于紧固元件(7)的外侧。7. The LED fluorescent lamp with rotary built-in power supply according to claim 3, characterized in that an insulating plate (14) is provided between the power supply assembly (5) and the lamp panel assembly (4), and the lower end of the lamp panel assembly (4) A lampshade (10) is provided, and the lampshade (10) is fixed on the lamp tube (1); a reinforcing rib ( 13); the outer side of the upper tube head (3) is provided with a tube head protective cover (12) that cooperates with the lamp pin (9); the step mounting hole (33) of the upper tube head (3) is provided with a tube plug (11), the pipe plug (11) is located on the outside of the fastening element (7).8.根据权利要求4所述的LED旋转式内置电源日光灯,其特征是所述电源组件(5)与灯板组件(4)之间设有绝缘板(14),灯板组件(4)下端设有灯罩(10),灯罩(10)固定在灯管(1)上;所述固定孔(23)和下管头(2)的内壁之间的隔板(24)上设有加强筋(13);所述上管头(3)外侧设有与灯脚(9)配合的管头保护套(12);所述上管头(3)的台阶安装孔(33)内设有管塞(11),管塞(11)位于紧固元件(7)的外侧。8. The LED rotary fluorescent lamp with built-in power supply according to claim 4, characterized in that an insulating plate (14) is provided between the power supply assembly (5) and the lamp panel assembly (4), and the lower end of the lamp panel assembly (4) A lampshade (10) is provided, and the lampshade (10) is fixed on the lamp tube (1); a reinforcing rib ( 13); the outer side of the upper tube head (3) is provided with a tube head protective cover (12) that cooperates with the lamp pin (9); the step mounting hole (33) of the upper tube head (3) is provided with a tube plug (11), the pipe plug (11) is located on the outside of the fastening element (7).9.根据权利要求5所述的LED旋转式内置电源日光灯,其特征是所述电源组件(5)与灯板组件(4)之间设有绝缘板(14),灯板组件(4)下端设有灯罩(10),灯罩(10)固定在灯管(1)上;所述固定孔(23)和下管头(2)的内壁之间的隔板(24)上设有加强筋(13);所述上管头(3)外侧设有与灯脚(9)配合的管头保护套(12);所述上管头(3)的台阶安装孔(33)内设有管塞(11),管塞(11)位于紧固元件(7)的外侧。9. The LED fluorescent lamp with rotary built-in power supply according to claim 5, characterized in that an insulating plate (14) is provided between the power supply assembly (5) and the lamp panel assembly (4), and the lower end of the lamp panel assembly (4) A lampshade (10) is provided, and the lampshade (10) is fixed on the lamp tube (1); a reinforcing rib ( 13); the outer side of the upper tube head (3) is provided with a tube head protective cover (12) that cooperates with the lamp pin (9); the step mounting hole (33) of the upper tube head (3) is provided with a tube plug (11), the pipe plug (11) is located on the outside of the fastening element (7).
CN201110212169A2011-07-272011-07-27Rotary light-emitting diode (LED) fluorescent lamp with built-in power supplyExpired - Fee RelatedCN102287737B (en)

Priority Applications (4)

Application NumberPriority DateFiling DateTitle
CN201110212169ACN102287737B (en)2011-07-272011-07-27Rotary light-emitting diode (LED) fluorescent lamp with built-in power supply
EP11861898.2AEP2573457B1 (en)2011-07-272011-09-16An led fluorescent lamp with rotary type internal source
JP2013533079AJP5635703B2 (en)2011-07-272011-09-16 LED rotary power supply built-in daylight lamp
PCT/CN2011/079760WO2013013441A1 (en)2011-07-272011-09-16An led fluorescent lamp with rotary type internal source

Applications Claiming Priority (1)

Application NumberPriority DateFiling DateTitle
CN201110212169ACN102287737B (en)2011-07-272011-07-27Rotary light-emitting diode (LED) fluorescent lamp with built-in power supply

Publications (2)

Publication NumberPublication Date
CN102287737A CN102287737A (en)2011-12-21
CN102287737Btrue CN102287737B (en)2012-09-26

Family

ID=45334384

Family Applications (1)

Application NumberTitlePriority DateFiling Date
CN201110212169AExpired - Fee RelatedCN102287737B (en)2011-07-272011-07-27Rotary light-emitting diode (LED) fluorescent lamp with built-in power supply

Country Status (4)

CountryLink
EP (1)EP2573457B1 (en)
JP (1)JP5635703B2 (en)
CN (1)CN102287737B (en)
WO (1)WO2013013441A1 (en)

Families Citing this family (34)

* Cited by examiner, † Cited by third party
Publication numberPriority datePublication dateAssigneeTitle
US8118447B2 (en)2007-12-202012-02-21Altair Engineering, Inc.LED lighting apparatus with swivel connection
US8360599B2 (en)2008-05-232013-01-29Ilumisys, Inc.Electric shock resistant L.E.D. based light
US11131431B2 (en)2014-09-282021-09-28Jiaxing Super Lighting Electric Appliance Co., LtdLED tube lamp
US7938562B2 (en)2008-10-242011-05-10Altair Engineering, Inc.Lighting including integral communication apparatus
US8214084B2 (en)2008-10-242012-07-03Ilumisys, Inc.Integration of LED lighting with building controls
US8653984B2 (en)2008-10-242014-02-18Ilumisys, Inc.Integration of LED lighting control with emergency notification systems
US8324817B2 (en)2008-10-242012-12-04Ilumisys, Inc.Light and light sensor
US8901823B2 (en)2008-10-242014-12-02Ilumisys, Inc.Light and light sensor
CA2792940A1 (en)2010-03-262011-09-19Ilumisys, Inc.Led light with thermoelectric generator
US8540401B2 (en)2010-03-262013-09-24Ilumisys, Inc.LED bulb with internal heat dissipating structures
EP2633227B1 (en)2010-10-292018-08-29iLumisys, Inc.Mechanisms for reducing risk of shock during installation of light tube
US9184518B2 (en)2012-03-022015-11-10Ilumisys, Inc.Electrical connector header for an LED-based light
CN103511868B (en)*2012-06-272017-05-03欧司朗股份有限公司LED retrofit lamp and manufacturing method thereof
US9163794B2 (en)2012-07-062015-10-20Ilumisys, Inc.Power supply assembly for LED-based light tube
US9271367B2 (en)2012-07-092016-02-23Ilumisys, Inc.System and method for controlling operation of an LED-based light
CN102889480B (en)*2012-07-192016-11-23王定锋The LED bulb module of three-dimensional light and manufacture method
CN102900981B (en)*2012-09-292015-09-02宁波同泰电气股份有限公司The two-sided fluorescent lamp of rotatable LED of power supply external
EP2909528B1 (en)*2012-10-222018-05-16Aztech Technologies PTE LTDAn led lighting device having elastically biased end caps
CN102913801A (en)*2012-11-152013-02-06江西新唐光电科技有限公司Light-emitting diode (LED) bulb lamp
US9285084B2 (en)2013-03-142016-03-15Ilumisys, Inc.Diffusers for LED-based lights
US9267650B2 (en)2013-10-092016-02-23Ilumisys, Inc.Lens for an LED-based light
CN106063381A (en)2014-01-222016-10-26伊卢米斯公司LED-based light with addressed LEDs
JP6260956B2 (en)*2014-03-142018-01-17パナソニックIpマネジメント株式会社 Illumination light source and illumination device
US9510400B2 (en)2014-05-132016-11-29Ilumisys, Inc.User input systems for an LED-based light
US11480305B2 (en)2014-09-252022-10-25Jiaxing Super Lighting Electric Appliance Co., Ltd.LED tube lamp
US10560989B2 (en)2014-09-282020-02-11Jiaxing Super Lighting Electric Appliance Co., LtdLED tube lamp
CN112197181A (en)2014-09-282021-01-08嘉兴山蒲照明电器有限公司LED straight lamp
US12264789B2 (en)2014-12-052025-04-01Jiaxing Super Lighting Electric Appliance Co., LtdLED tube lamp
US10514134B2 (en)2014-12-052019-12-24Jiaxing Super Lighting Electric Appliance Co., LtdLED tube lamp
US9897265B2 (en)2015-03-102018-02-20Jiaxing Super Lighting Electric Appliance Co., Ltd.LED tube lamp having LED light strip
US10161568B2 (en)2015-06-012018-12-25Ilumisys, Inc.LED-based light with canted outer walls
JP2019165030A (en)*2019-07-092019-09-26アイリスオーヤマ株式会社Straight tube type luminaire
JP7097092B2 (en)*2020-05-142022-07-07浜井電球工業株式会社 Illumination angle adjustable base and straight tube LED lamp with camera built into it
JP7097095B2 (en)*2020-07-312022-07-07浜井電球工業株式会社 Straight tube type LED lamp with camera, lighting / surveillance camera system incorporating it, control method of straight tube type LED lamp with camera, and control method of lighting / surveillance camera system

Citations (4)

* Cited by examiner, † Cited by third party
Publication numberPriority datePublication dateAssigneeTitle
WO2010050685A2 (en)*2008-10-272010-05-06화우테크놀러지주식회사Fluorescent lamp type led lighting device with adjustable light emitting direction
EP2194315A1 (en)*2008-12-082010-06-09Nicolaas VeldboerLED lamp
CN201764381U (en)*2010-09-062011-03-16宁波同泰电气股份有限公司LED built-in power supply fluorescent lamp
CN201787544U (en)*2010-11-242011-04-06宁波同泰电气股份有限公司Waterproof and ventilating structure of LED Lamp

Family Cites Families (10)

* Cited by examiner, † Cited by third party
Publication numberPriority datePublication dateAssigneeTitle
US7025640B2 (en)*2002-09-232006-04-11Delphi Technologies, Inc.Circuit board inter-connection system and method
JP2006099971A (en)*2004-09-282006-04-13Icrex KkPin header
CN101545595A (en)*2008-03-262009-09-30北京巨数数字技术开发有限公司LED pixel lamp
JP5281382B2 (en)*2008-12-152013-09-04ローム株式会社 LED lamp
TWM367387U (en)*2009-02-162009-10-21yong-ren CaiMechanical LED rotation lamp
TWM366638U (en)*2009-02-272009-10-11Energyled CorpRotatable LED lamp tube connector
CN201507891U (en)*2009-08-062010-06-16方细军Lamp head capable of rotation in the range of 360 degrees and LED lamp capable of adjusting irradiation degrees
CN201475725U (en)*2009-08-212010-05-19宁波冠通光电科技有限公司LED fluorescent tube with rotatable lamp caps
CN201568909U (en)*2009-11-042010-09-01巨尔(上海)光电照明有限公司Internally arranged rotatable LED lamp
CN201787366U (en)*2010-05-282011-04-06宁波安迪光电科技有限公司LED fluorescent lamp and plug thereof

Patent Citations (4)

* Cited by examiner, † Cited by third party
Publication numberPriority datePublication dateAssigneeTitle
WO2010050685A2 (en)*2008-10-272010-05-06화우테크놀러지주식회사Fluorescent lamp type led lighting device with adjustable light emitting direction
EP2194315A1 (en)*2008-12-082010-06-09Nicolaas VeldboerLED lamp
CN201764381U (en)*2010-09-062011-03-16宁波同泰电气股份有限公司LED built-in power supply fluorescent lamp
CN201787544U (en)*2010-11-242011-04-06宁波同泰电气股份有限公司Waterproof and ventilating structure of LED Lamp

Also Published As

Publication numberPublication date
JP2013539900A (en)2013-10-28
EP2573457A4 (en)2014-03-05
JP5635703B2 (en)2014-12-03
EP2573457B1 (en)2017-05-10
EP2573457A1 (en)2013-03-27
CN102287737A (en)2011-12-21
WO2013013441A1 (en)2013-01-31

Similar Documents

PublicationPublication DateTitle
CN102287737B (en)Rotary light-emitting diode (LED) fluorescent lamp with built-in power supply
CA2847752C (en)Recessed light fixture with two axis rotational arm
JP2013258163A (en)Optical semiconductor lighting device
CN205424701U (en)Grid ceiling light and ceiling light integrated configuration
US20140078731A1 (en)Led socket adapter assembly
CA2858715C (en)Mountable connector box for electrical device
TWI619903B (en)Lamp power coupling structure
CN205447674U (en)Connection structure that public mother inserted reaches by its LED lamps and lanterns of constituteing
CN210107130U (en)LED module convenient to equipment is changed and LED lamps and lanterns thereof
JP6971781B2 (en) lighting equipment
KR102702242B1 (en)Multifunctional bracket for line lighting installation
WO2019029391A1 (en)Lamp fast power-on connection structure
CN204534251U (en)Ligthing paraphernalia
JP3179168U (en) Straight tube lamp support device for lighting rail
KR101623715B1 (en)street lamp with prevent module dropping and possible easy wiring
CN203963565U (en) A kind of LED fluorescent lamp
JP5736539B2 (en) lighting equipment
CN110617406B (en) Power connection structure and lamps
CN204534325U (en)A kind of convenient Multifunctional LED lamp installed
JP5633756B2 (en) How to make lighting fixtures
CN204534323U (en)A kind of Multifunctional LED lamp and Special mounting structure thereof
KR20120001673U (en) Raceway Lighting
CN206637327U (en)Spliced LED
CN206222132U (en) A LED downlight that changes the way of electric connection
CN206530898U (en) A kind of energy-saving LED lamp tube

Legal Events

DateCodeTitleDescription
C06Publication
PB01Publication
C10Entry into substantive examination
SE01Entry into force of request for substantive examination
C14Grant of patent or utility model
GR01Patent grant
CF01Termination of patent right due to non-payment of annual fee
CF01Termination of patent right due to non-payment of annual fee

Granted publication date:20120926

Termination date:20190727


[8]ページ先頭

©2009-2025 Movatter.jp