Movatterモバイル変換


[0]ホーム

URL:


CN102176847B - Chair - Google Patents

Chair
Download PDF

Info

Publication number
CN102176847B
CN102176847BCN200980140462.0ACN200980140462ACN102176847BCN 102176847 BCN102176847 BCN 102176847BCN 200980140462 ACN200980140462 ACN 200980140462ACN 102176847 BCN102176847 BCN 102176847B
Authority
CN
China
Prior art keywords
support bar
back support
chair
towards
backrest
Prior art date
Legal status (The legal status is an assumption and is not a legal conclusion. Google has not performed a legal analysis and makes no representation as to the accuracy of the status listed.)
Expired - Fee Related
Application number
CN200980140462.0A
Other languages
Chinese (zh)
Other versions
CN102176847A (en
Inventor
益永浩
藤田寿人
Current Assignee (The listed assignees may be inaccurate. Google has not performed a legal analysis and makes no representation or warranty as to the accuracy of the list.)
Okamura Corp
Original Assignee
Okamura Corp
Priority date (The priority date is an assumption and is not a legal conclusion. Google has not performed a legal analysis and makes no representation as to the accuracy of the date listed.)
Filing date
Publication date
Priority claimed from JP2008267410Aexternal-prioritypatent/JP5378747B2/en
Priority claimed from JP2009042050Aexternal-prioritypatent/JP5543117B2/en
Application filed by Okamura CorpfiledCriticalOkamura Corp
Publication of CN102176847ApublicationCriticalpatent/CN102176847A/en
Application grantedgrantedCritical
Publication of CN102176847BpublicationCriticalpatent/CN102176847B/en
Expired - Fee Relatedlegal-statusCriticalCurrent
Anticipated expirationlegal-statusCritical

Links

Images

Classifications

Landscapes

Abstract

A chair configured such that a backrest support rod does not make contact with an object when the chair is swiveled and is thus reliably prevented from damaging the object or from being damaged by the object and that the chair uses a reduced number of parts, has a simple structure, and can be easily assembled. A chair, wherein front portions of front facing sections (9b) of a backrest support rod (9) are mounted to a support base (5) supported by a leg body (3) and supporting a seat (7). The backrest support rod (9) is formed in an L-shape in a side view and comprises upwardly facing raised sections (9a) and the forwardly facing front facing sections (9b). The upwardly facing raised sections (9a) and the forwardly facing front facing sections (9b) are connected together through a curved section (9c), and the raised sections (9a) support a backrest (6). A protective cover (11) covers at least that portion of the backrest support rod (9) which extends from the rear surface of the curved section (9c) to the lower surface thereof.

Description

Chair
Technical field
The present invention relates to a kind of back support bar side-looking and be substantially L shaped chair.
Background technology
It is substantially L shaped that the back support bar side-looking of chair is in the past, by bend by the erection part towards top and interconnecting towards front portion towards the place ahead, when chair rotates etc. in situation, in order to prevent because carrying on the back bar, be back support bar be connected to other article cause article or back of the body bar itself impaired, utilize lid that soft material is made to cover to carry on the back the rear surface of bar and lateral surface (for example, with reference to patent documentation 1: No. 2002-136388, Japanese Patent Publication communique JP).
In addition, utilize junction surface with lid, to cover the junction surface of leg framework and back of the body framework, this junction surface makes two covering parts open and close mutually (for example, with reference to patent documentation 2: No. 2000-14478, Japanese Patent Publication communique JP) by articulated section with lid.
Yet, inpatent documentation 1, when the upper surface corner angle of thing are placed on the floor that is connected to low level towards front lower surface in back support bar, can cause placement thing or back of the body bar itself impaired, in addition, mounting cover in pair of right and left back support bar respectively, can cause number of components to increase and installation exercise loaded down with trivial details.
Inpatent documentation 2, the structure of lid itself is comparatively complicated, and manufacturing cost is increased.
Summary of the invention
In view of the problems referred to above that exist in conventional art, the object of the present invention is to provide a kind of chair, when chair rotates etc. in situation, can prevent reliably because of back support bar be connected to other article cause article or back support bar itself impaired, and number of components is few, simple in structure and easily assembling.
In addition, the present invention also aims to provide a kind of can with simple sound construction connect and compose the back frame of backrest and the chair of back support bar.
The present invention solves above-mentioned problem by following manner.
(1) chair, it comprises: chair leg; Bearing, is supported by described chair leg; Seat, by described bearing support; Back support bar, side-looking is L shaped substantially, described back support bar comprises: towards the erection part of top, towards the place ahead towards anterior and connect described erection part and described towards anterior bend is set, describedly towards anterior front portion, be arranged on described bearing; Backrest, is supported by the erection part of described back support bar; And over cap, at least cover in described back support bar, the part from bend rear surface to lower surface.
According to described structure, when chair rotates etc. in situation, can prevent reliably because of back support bar be connected to other article cause article or back support bar itself impaired, particularly can prevent because of the floor that is connected to low level towards front lower surface of back support bar place thing upper surface corner angle, cause placing thing or back support bar itself is impaired.
(2), on the basis of described (1), described over cap comprises bolster.
According to described structure, when chair rotates etc. in situation, the cushioning effect in the time of improving back support bar and be connected to other article.
(3), on the basis of described (1), described over cap is made by soft synthetic resin material or rubber.
According to described structure, when chair rotates etc. in situation, the cushioning effect in the time of improving back support bar and be connected to other article.
(4) on the basis of described (1), described erection part comprises pair of right and left up-and-down rod, described in pair of right and left, up-and-down rod is the extension upward of forked ground from described bend, describedly towards front portion, comprise that pair of right and left is towards front bar, described in pair of right and left, towards front bar from described bend, being forked ground forwards extends, described over cap comprises crooked covering part, upright covering part and forward covering part, described crooked covering part covers the rear surface of described bend, described upright covering part connection is arranged in described crooked covering part, and cover the rear surface of up-and-down rod described in each, the described connection of covering part is forward arranged in described crooked covering part, and cover described in each lower surface towards front bar.
According to described structure, without preparing two back support bar, only by a member, just can stably support backrest, and also without preparing a plurality of over caps, only there is a member, thereby can reduce number of components, make designs simplification, and easily assembling.
In addition, because over cap is except crooked covering part, is also provided with and covers the pair of upright covering part of each up-and-down rod rear surface and cover each towards a pair of covering part forward of front bar lower surface, so easily over cap is positioned.
(5) on the basis of described (4), described back support bar backsight is X-shaped, described crooked covering part covers the cross part of described X-shaped central authorities, the transverse width of described crooked covering part is greater than described up-and-down rod and/or the described transverse width towards front bar, and described crooked covering part to be substantially dome shape ground rearward outstanding.
According to described structure, can left and right balance and support reliably backrest, and can eliminate the corner angle of back support bar rear surface, thus the stress in the time of avoiding back support bar and other article butts is concentrated, and can present beautiful outward appearance.
(6) on the basis of described (4) or (5); on the rear surface, described up-and-down rod upper end of described back support bar, also there is recess; described recess is used for installing described backrest; in described recess, press and embed flexible jut, described elastic protrusion portion is arranged on the upper end front surface of each upright covering part of described over cap.
According to described structure, can be difficult to peel off and reliably each upright covering part leading section of over cap is arranged in back support bar, and can seal backrest installation recess, make good looking appearance.
(7) on the basis of described (1); in a part for the relative portion between described back support bar rear surface and described over cap front surface, be formed with space part, at least corresponding with the described space part part of described over cap is formed by elastomeric material.
According to described structure, when other article are connected to over cap during with rear surface space part corresponding part, by strain, this part is entered in space part, thereby can further improve the cushioning effect of over cap.
(8) on the basis of described (1), described backrest comprises back frame, and described back frame comprises: spatial portion, is configured in the central authorities of described back frame; And the framing component of band plate-like, tensioning is provided with for sealing the tensioner of described spatial portion, described chair also comprises pair of right and left extension, on the basic centre position of above-below direction of described back frame left and right directions inside edge, extension is to stretch out to the inside along the relative mode of left and right directions described in pair of right and left.
According to described structure, easily make to form the back frame moulding of backrest.
In addition, the load being applied to during due to dependence on back frame acts on the direction of the back frame bending causing with backrest hypsokinesis, so can improve the bending strength of back frame itself by forming extension.
In addition, by forming extension, can guarantee fully to connect back frame and the required area of back support bar by large-area extension, thereby can connect back frame and back support bar by simple sound construction ground.
(9), on the basis of described (8), described extension is rearward outstanding.
According to described structure, because extension is rearward outstanding, so can further improve the intensity of back frame.
(10), on the basis of described (8), the top of described back support bar is arranged on the rear surface of described extension.
According to described structure, can improve the bonding strength of back frame and back support framework.
(11) on the basis of described (10), by the pivot towards left and right directions, the upper pivot of described back support bar is arranged on described extension, the top of described back support bar can omnidirectional be rotated in the compass of regulation.
According to described structure, backrest is driven in the action of user's back, can rotate reposefully with respect to back support bar.
(12) on the basis of described (11), between described extension and the top of described back support bar, clamping has buffer component, and described buffer component comprises soft elastomer.
According to described structure, can effectively prevent from because chair is long-term, using the connecting portion wearing and tearing that cause between back frame and back support bar top or damaging.
The invention provides a kind of chair, when chair rotates etc. in situation, can prevent reliably because of back support bar be connected to other article cause article or back support bar itself impaired, and number of components is few, simple in structure and easily assembling.
In addition, can connect and compose securely by simple structure back frame and the back support bar of backrest.
Accompanying drawing explanation
Fig. 1 is the front view of the chair of first embodiment of the invention.
Fig. 2 is the side view of the chair of first embodiment of the invention.
Fig. 3 is the rearview of the chair of first embodiment of the invention.
Fig. 4 is the amplification vertical profile end view drawing along the IV-IV line of Fig. 3.
Fig. 5 is the cross-sectional top view of amplification along the V-V line of Fig. 2.
Fig. 6 is the side view while making back support bar hypsokinesis.
Fig. 7 is the stereogram of the chair of second embodiment of the invention.
Fig. 8 is the rearview of the chair of second embodiment of the invention.
Fig. 9 is the side view of the chair of second embodiment of the invention.
Figure 10 arranges the amplification stereogram of the framework under tensioner state in tensioning not.
Figure 11 arranges the framework forward sight exploded perspective view under tensioner state in tensioning not.
Figure 12 arranges the framework rear exploded perspective view under tensioner state in tensioning not.
Figure 13 arranges the amplification skiagraph under tensioner state along the XIII-XIII line of Figure 10 in tensioning.
Figure 14 arranges the enlarged cross sectional view under tensioner state along the XIV-XIV line of Figure 10 in tensioning.
Figure 15 arranges the amplification skiagraph under tensioner state along the XV-XV line of Figure 10 in tensioning.
Figure 16 arranges the amplification skiagraph under tensioner state along the XVI-XVI line of Figure 10 in tensioning.
Figure 17 means and wants portion's enlarged cross sectional view along the framework of the XVII-XVII line of Fig. 9 and the connection status of back support framework.
Figure 18 means along the exploded perspective view of the framework of the XVII-XVII line of Fig. 9 and the connection status of back support framework.
The specific embodiment
Below, with reference to accompanying drawing, embodiments of the present invention are described.
Fig. 1~Fig. 6 represents the chair of first embodiment of the invention.
As depicted in figs. 1 and 2, this chair possesseschair leg 3, and thischair leg 3 has radial fiveleg bars 2, at the leading section ofleg bar 2, is provided with scroll wheel 1.Central authorities atchair leg 3 are uprightly provided withtelescopic leg post 4, and thisleg post 4 possesses gas spring (Gas Spring, not shown), and the rear portion ofbearing 5 is fixed on the upper end ofleg post 4.
Bearing 5 is the cardinal principle hollow box shape of upper surface open, and removably lid (not shown) covers on the peristome of its upper surface.
In the inside of bearing 5, be provided with two kinds of pressure devices (both are all not shown) etc., a kind of pressure device applies active force tobackrest 6 to vertical direction, another kind of pressure device forwards applies active force toseat 7, because described pressure device and the present invention are without direct relation, so omitted diagram and described in detail.
Towards thepivot 8 of the hexa-prism of left and right directions, to connect mode pivot suspension at the rear portion ofbearing 5, describedpivot 8 can be rotated around its central axis.
For supporting the leading section of theback support bar 9 ofbackrest 6, be fixed on the both ends ofpivot 8 in the mode withpivot 8 unitary rotation, the both ends of thispivot 8 are outstanding to the left and right from the two side of bearing 5.Describedpivot 8 by be arranged in bearing 5 such as the pressure device (not shown) being formed by helical spring etc.,backrest 6 andback support bar 9 are applied to active force towards vertical direction, that is, the counter clockwise direction in Fig. 2 applies active force.
It is substantially L shaped thatback support bar 9 side-lookings are, bybend 9c by theerection part 9a towards top and interconnecting towards anterior 9b towards the place ahead,erection part 9a is by pair of right and left up-and-downrod 9d, 9d forms, pair of straightvertical rod 9d, 9d is frombend 9c branch, and extend upward, in addition, towardsanterior 9b by pair of right and left towardsfront bar 9e, 9e forms, a pair of towardsfront bar 9e, 9e is frombend 9c branch, and forwards extend, each end ofpivot 8 is the chimerichexagonal hole 9f being fixed on towards left and right directions respectively, in 9f, thishexagonal hole 9f, 9f is arranged on described pair of right and left towardsfront bar 9e, the front end of 9e.
As shown in Figure 3 and Figure 4, by make backsupport bar 9 left and right up-and-downrod 9d, 9d frombend 9c obliquely toward the outer side top be circular-arc extension, and make left and right towardsfront bar 9e, 9e obliquely toward the outer side front lower place extend, thereby makeback support bar 9 backsights be X-shaped, as the transverse width of thebend 9c of its central cross part, be greater than each up-and-downrod 9d and towards the transverse width offront bar 9e, and bend 9c to be substantially dome shape ground rearward outstanding.
In thebend 9c ofback support bar 9 and the roughly whole rear surface of two up-and-downrod 9d, 9d and the rear surface from two towardsfront bar 9e, 9e the part at lower surface rear portion; be provided with continuousshallow recess 10; the overcap 11 that covers backsupport bar 9 rear surfaces is releasably entrenched on describedrecess 10; and be bonded inback support bar 9 by bonding agent or velcro, or screw togather as required and be fixed inback support bar 9.
Preferably the thickness of overcap 11 equates substantially with the degree of depth ofrecess 10, makes the surface of overcap 11 consistent with the surface ofback support bar 9, can not produce jump.
Overcap 11 consists of soft synthetic resin material, rubber or other bolsters, and this overcap 11 possesses:crooked covering part 11a, the rear surface of thebend 9c of covering backsupport bar 9;Upright covering part 11b, connects and is arranged on describedcrooked covering part 11a above, and covers the rear surface of each up-and-downrod 9d; And coveringpart 11c forward, connect that to be arranged oncrooked covering part 11a upper, and cover each towards lower surface offront bar 9e.
For being installed, therecess 12 ofbackrest 6 is arranged on the rear surface, upper end of each up-and-downrod 9d ofback support bar 9; by being pressed into and being entrenched in describedrecess 12 being arranged on the 11d of elastic protrusion portion on the upper end front surface of eachupright covering part 11b of overcap 11; can make the leading section of eachupright covering part 11b of overcap 11 be arranged on reliably inback support bar 9 in the mode that is difficult to peel off; can seal for therecess 12 ofbackrest 6 is installed, can make specious simultaneously.
In addition; in the rear surface ofback support bar 9 and a part for the relative portion of the front surface of overcap 11; be formed with space part (not shown); and if at least make the part corresponding with above-mentioned space part of overcap 11 be formed by elastomeric material; when other article are connected to overcap 11 during with rear surface space part corresponding part; can there is strain and enter in space part in this part of overcap 11, can further improve the cushioning effect of overcap 11.
Owing to being provided with described overcap 11 inback support bar 9; so in the situations such as chair rotation; can prevent from reliably itself damaging becauseback support bar 9 and other article butts cause article orback support bar 9, particularly can also prevent that ground that the lower surface towardsanterior 9b because ofback support bar 9 is connected to lower from placing the upper surface corner angle of thing, causing placing thing orback support bar 9 is damaged itself.
Backrest 6 is overlooked and is circular-arc that central portion is rearward recessed into, and be the board member being formed by soft synthetic resin material that can strain, or at its front surface, clip bolster (not shown) and carry out member of clad surface part (not shown) etc., the rear surface, both sides of the above-below direction pars intermedia ofbackrest 6 to be rotating and can rotate the mode of predetermined angular towards the direction that departs from above-mentioned axis around axis towards cardinal principle left and right directions, is supported on the upper end of up-and-downrod 9d, 9d of left and right ofback support bar 9.
Owing to supporting in the above describedmanner backrest 6, so as shown in Figure 5, protruding axle 13 is given prominence on the upper end front surface of each up-and-downrod 9d that is arranged onback support bar 9,seat hole 14 is arranged on the sidepiece rear surface of thebackrest 6 relative with the upper end front surface of described each up-and-downrod 9d, the leading section of described protruding axle 13 and describedseat hole 14 are chimeric, and substantially movable chimeric towards theaxis hole 15 of left and right directions with cardinal principle towards the lockingpin 17 of left and right directions, describedaxis hole 15 is arranged on the leading section of protruding axle 13, the both ends of described lockingpin 17 are fixed on the 16a of cylinder portion of rearward opening of seat board 16, this seat board 16 is used to form ahole 14, be fixed on the rear surface ofbackrest 6.
The leadingsection 13a of protruding axle 13 is spheroid,axis hole 15 connects this ball centre, the internal diameter of thecentral portion 15a of describedaxis hole 15 substantially equates with the external diameter of lockingpin 17, and fromcentral portion 15a to both sides, is formed with taperedhole part 15b, 15b, thistapered hole part 15b, 15b hole enlargement gradually laterally.
In the example shown in Fig. 5, lockingpin 17 is bolt, by making it connect theaxis hole 15 of the 16a of cylinder portion of seat board 16 and the leadingsection 13a of protruding axle 13, and makenut 17a be screwed together in the leading section of this lockingpin 17, can prevent that lockingpin 17 from coming off from the 16a of cylinder portion andaxis hole 15, and prevent that protruding axle 13 from coming off from seat hole 14.Described lockingpin 17 can be also pin rather than bolt, and in addition, the installation direction of lockingpin 17 can be not only left and right directions, can be to be also parallel to the slightly direction of the rear surface of the backrest of low dip.In addition, can the protruding axle 13 oflid 18 covering of strain and the periphery of the coupling part of the 16a of cylinder portion.
Pars intermedia at protruding axle 13 is formed with the hole enlargement blade of a sword 13b of portion, and the described hole enlargement blade of a sword 13b of portion is connected to the upper end front surface of up-and-downrod 9d, base end part 13c and theaxis hole 19 of protruding axle 13 are chimeric, describedaxis hole 19 is arranged on the upper end front surface of up-and-downrod 9d and towards rear, and utilize hold-down screw 20 that protruding axle 13 is fixed on up-and-downrod 9d, this hold-down screw 20 is chimeric with the above-mentionedrecess 12 being arranged on the rear surface, upper end of up-and-downrod 9d, thus, protruding axle 13 is securely fixed in to the upper end of up-and-downrod 9d.
Preferably the bottom end face inseat hole 14 is sphere, is complementary shape with the sphere of the leadingsection 13a of protruding axle 13.
In addition, also can be in the sidepiece rear surface ofbackrest 6 rearward outstanding protruding axle 13 be set, and forms aseat hole 14 at the upper end front surface of each up-and-downrod 9d of theback support bar 9 relative with described protruding axle.
If support in the manner describedbackrest 6, only by making lockingpin 17 movable chimeric with theaxis hole 15 that is arranged on protruding axle 13 leading sections, just can supportbackrest 6, can not only make it around the axis towards left and right directions, rotate, can also make it towards the direction that departs from above-mentioned axis, rotate predetermined angular, so the device without costlinesses such as ball-and-socket joints just can supportbackrest 6, and can not produce unfavorable condition, and can make seated person feel comfortable.
Backrest 6 bottoms above theratio pivot 8 that is connectedbearings 5 by connectingrod 21 relies on by rearward part with than this part, whenback support bar 9 hypsokinesis, the connectingrod 21 that utilization is rotated to the back lower place, makes the bottom ofbackrest 6 be pressed towards rear with respect to backsupport bar 9.
; the leading section of connectingrod 21 is connected with bearing 5 by theaxle 22 towards left and right directions; the rearward end of connectingrod 21 by theaxle 24 towards left and right directions with outstanding bottom being connected downwards frombackrest 6 ofmetal parts 23 is installed, thisinstallation metal parts 23 is fixed on the rear surface, bottom ofbackrest 6.
The side-looking that connectingrod 21 is positioned at connectingrod 21 tops (or below) by the center of curvature is circular-arc rigid body formation, pair of right and left by being configured inback support bar 9 is towards betweenfront bar 9e, 9e, make it be sandwiched in two towards betweenfront bar 9e, 9e, and be not easy to be exposed on the external.
According to described structure, as shown in Figure 6, when leaning on,back support bar 9 hypsokinesis, follow in this, also hypsokinesis of connectingrod 21, now, because the center of rotation (pivot 8) ofback support bar 9 is different from the center of rotation (axle 22) of connectingrod 21, so the rearward end of connectingrod 21 is rearward pressed the bottom ofbackrest 6,backrest 6, with respect to backsupport bar 9, centered by the axis towards left and right directions (locking pin 17), rotates to the direction (vertical direction) that the rotation direction with back support bar 9 (hypsokinesis direction) is contrary.
Seat supporting mass 25 is supported toseat 7 can regulate front and back position, rear portion and the front portion of describedseat supporting mass 25 are bearing on bearing 5 byrear support device 26 and anterior supportingarrangement 27, with the hypsokinesis interlock withback support bar 9, the mode moving to the back lower place respectively, by rear portion and the front portion ofrear support device 26 and anterior supportingarrangement 27 guideseat supporting masses 25.
Pivot 8 in the ratio backsupport bar 9 of bearing 5 more relies on rear, and than the axle of connectingrod 21 22, more rely on the position in the place ahead, the upper end of connectingrod 29 is by the rear portion of thepresent supporting mass 25 ofaxle 30 pivotal mounting of left and right directions, wherein, the bottom of this connectingrod 29 is byaxle 28 pivotal mounting of left and right directions, and theaxle 30 of described connectingrod 29 upper ends is entrenched in sliding freely substantially in the slottedhole 31 of fore-and-aft direction, this slottedhole 31 be arranged onback support bar 9 each towards infront bar 9e, than theaxle 28 of connectingrod 29 bottoms, more lean in rearward part, thus, formrear support device 26.
Described slottedhole 31 is arranged on that upwardstab 9g is upper, upwardstab 9g be arranged onback support bar 9 each towards infront bar 9e, thanhexagonal hole 9f slightly by rearward part.
Axle 32 towards left and right directions is entrenched in sliding freely in the slottedhole 33 of the back lower place, and wherein, thisaxle 32 is set uppresent supporting mass 25 front portions, and slottedhole 33 is arranged on bearing 5, thus, forms anterior supportingarrangement 27.
By being arranged on the pressure device (not shown) inbearing 5, all the time describedaxle 32 is forwards applied to active force.
In addition, described anterior supportingarrangement 27 also can adopt following structure to replace said structure, that is, and and as recorded inpatent documentation 1, with the upper end of bearing connecting rod upward set on bearing front portion, be connected with the front portion of seat, and bearing connecting rod can hypsokinesis (not shown).
According to the said structure of described chair, when user is leaning onbackrest 6,backrest 6 is overlooked with central portion than both sides recessed mode generation strain rearward.Now, the lockingpin 17 by left and right moves at the interior slightly low dip ofaxis hole 15 of protruding axle 13, allows the strain ofbackrest 6.
In addition,back support bar 9 overcomes the active force of the pressure device of bearing 5 interior settings together withbackrest 6, and hypsokinesis occurs, meanwhile, and connectingrod 21 hypsokinesis centered by theaxle 22 of its below.
Now, because the back rake angle speed of connectingrod 21 is greater than the back rake angle speed ofback support bar 9, and theaxle 22 of connectingrod 21 is positioned at than the pivot of back support bar 98 more by rearward position, so rearward move the bottom that utilizes theaxle 24 of connectingrod 21 rearward end to pressbackrest 6,backrest 6 is with respect to backsupport bar 9, centered by the axis towards left and right directions (locking pin 17), to the direction (vertical direction) that the rotation direction with back support bar 9 (hypsokinesis direction) is contrary, rotate.
; when leaning on; even backsupport bar 9 hypsokinesis; owing to having suppressedbackrest 6 hypsokinesis; the state that it is kept upright; so when user can keep making the comfortable posture of back hypsokinesis, can not make limpingly sight line and arm towards the place ahead or front lower place, beat operation of keyboard etc. with posture easily.
In addition, on the basis of the basic structure of chair in the past, only add the simple structure that is connected the bottom ofbearings 5 andbackrest 6 by connectingrod 21, just can be in the above-mentioned comfortable posture of maintenance, beat like a cork the operation of keyboard etc., without as in the past, take the side-looking ofbackrest 6 own to be and can by complicated supporting structure, be supported at structure or thebackrest 6 of fore-and-aft direction bending, thereby can make chair overall structure simplify.
Along with the hypsokinesis ofback support bar 9, utilize the slottedhole 31 being arranged on describedupwards tab 9g,axle 30 is moved to the back lower place, thus, make connectingrod 29 hypsokinesis.
Now, because the back rake angle speed of connectingrod 29 is greater than the back rake angle speed ofback support bar 9, and theaxle 28 of connectingrod 29 is positioned at than the pivot of back support bar 98 more by rearward position, so the rearward amount of movement ofaxle 30 is greater than the rearward amount of movement of slottedhole 31 ofback support bar 9,axle 30 rearward slides in slottedhole 31, now, utilize the movement ofaxle 30, a supportingmass 25 rear portions are significantly moved to the back lower place.
; whenback support bar 9 hypsokinesis; said structure can expand theseat 7 rearward shift motions in rear portion; thus; whenback support bar 9 hypsokinesis, utilize connectingrod 21 rearward end to pressbackrest 6 bottoms and rearward move, rearward move subsequently significantly atseat 7 rear portions; can prevent the lower end ofbackrest 6 andseat 7 rear section from, thereby can experience the comfortable sense of taking a seat.
Seat supporting mass 25 rear portions are moved toward the back lower place byaxle 30, with backseat supporting mass 25 front portions, overcome the active force that is arranged on the pressure device inbearing 5, theaxle 32 that makes a supportingmass 25 front portions, along slottedhole 33 slid underneath backward, thus, moves the front portion of a supportingmass 25 reposefully to the back lower place.
Like this, whenback support bar 9 hypsokinesis, the bottom ofbackrest 6 is connectedbar 21 and rearward presses, andbackrest 6 rotates with respect to backsupport bar 9, to be kept upright state, movement along with describedbackrest 6 bottoms,seat 7 can significantly move to the back lower place, in the time of the hypsokinesis of user's back, does not make limpingly sight line and arm towards the place ahead or front lower place, that with posture easily, carries out keyboard beats operation etc., can keep comfortable operation posture.
Fig. 7~Figure 18 represents the chair of second embodiment of the invention.
In addition, use identical Reference numeral with the same or similar member of the first embodiment, and do not illustrated, omitted and illustrated simultaneously.
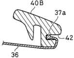
In the first embodiment,backrest 6 is the board members that consist of soft synthetic resin material that can strain, or at its front surface, clips bolster and carry out clad surface part, and in the second embodiment,backrest 36 is mesh tension structures.
As shown in Figure 10~Figure 12,backrest 36 possesses: thetensioner 37 of shape of a mesh; And as theframework 39 of back frame, describedtensioner 37 tensionings are arranged on the front surface offramework 39, and can seal thespatial portion 38 thatframework 39 central authorities offer.
Describedframework 39 consists of the framing component in the continuous synthetic resin band plate-like processed of peripheral direction, possesses the continuous master of peripheral direction depending on being substantially squaremain frame 40, and thismain frame 40 comprises: the 40A of top crossing frame portion; Pair of right and left sidepiecevertical frame section 40B, the 40B with expectation retroverted state; And the 40C of bottom crossing frame portion.
As shown in figure 13, the 40A of top crossing frame portion that formsmain frame 40 circumferential edge parts is the arc-shaped surface that front surface tilts to back upper place, there is from inside edge edge laterally and be the section configuration that wall thickness increases, and on described outer circumferential edge rear portion, along left and right directions, be provided withengagement groove part 41, thisengagement groove part 41 can engage with theedge member 37a being arranged in above-mentionedtensioner 37 peripheral edge portion.
As shown in figure 14, the section configuration of the outer ledge side of thevertical frame section 40B of sidepiece is to extend and be arranged to the thinner wall section that wall thickness is less to above-mentionedspatial portion 38 from the inside edge of the larger heavy section of wall thickness, and on described outer side edges edge, be provided with along the vertical direction theengagement groove part 42 being communicated with above-mentionedengagement groove part 41, thisengagement groove part 42 can engage with theedge member 37a being arranged in above-mentionedtensioner 37 peripheral edge portion.
As shown in Figure 11 and Figure 12, after leaving a part for left and right end portions, the 40C of bottom crossing frame portion is divided into two parts along the thickness direction of fore-and-aft direction, thereafter face side is asbase portion 43, a part for the left and right directions central portion of describedbase portion 43 is excised with expectation interval, andopposed end 44a, the 44a of describedcut portion 44 are linked together by connectingframe 45, and it is relative with the front surface ofbase portion 43 that described connectingframe 45 is mounted to its rear surface, becomes the cap of front surface side.
On the central portion of described connectingframe 45 left and right directions, rearward give prominence to and be provided withfitting portion 46, thisfitting portion 46 is entrenched in thecut portion 44 of above-mentionedbase portion 43, and the width of describedfitting portion 46 equals theopposed end 44a of thecut portion 44 of above-mentionedmain frame 40 under original state, the size of space between 44a opposite face substantially.
In addition, byaxle 24, the rear end of connectingrod 21 is arranged on and is installed onmetal parts 23, these connectingrod 21 pivot suspensions are forming the bottom of theframework 39 ofbackrest 36, this installsmetal parts 23 across betweenopposed end 44a, 44a in above-mentionedcut portion 44, is fixed on the rear surface of above-mentionedbase portion 43.
Thus, when leaning onbackrest 36, the load applying tobase portion 43 rear surface central authorities bymetal parts 23 is installed with respect to connectingrod 21,base portion 43 can strain.
On connectingframe 45, be formed with pair of right and left fixedpart 47,47, this pair of right and left fixedpart 47,47 extends toopposed end 44a, the 44a front surface side of thecut portion 44 of above-mentionedbase portion 43 from the two ends of above-mentionedfitting portion 46 front surface sides.
The rear surface of describedfixed part 47 is connected to theopposed end 44a of above-mentionedcut portion 44, the front surface of 44a, and acrossopposed end 44a, the 44a of above-mentionedcut portion 44, is separately fixed on the front surface ofbase portion 43.
Bybase portion 43 and connectingframe 45 are fitted together, as shown in Figure 15 and Figure 16, it is the larger section configuration of wall thickness of hollow structure that the 40C of bottom crossing frame portion forms inside, and in each hollow bulb, direction is given prominence to and is provided with a plurality ofribs 48,49 respectively forwards, backwards, and described a plurality ofrib 48,49 length directions along upper and lower and left and right directions are arranged.
In addition, when connectingframe 45 is assembled onbase portion 43, theabutting part 48a of the left and right end face butt of the formation of the end ofrib 48 andfitting portion 46, thisrib 48 is towards theopposed end 44a of thecut portion 44 ofbase portion 43, the opposite face of 44a.
Nearrib 48 onbase portion 43, be provided withbolt hole 50, and near therib 49 of the left and rightfixed part 47 of the connectingframe 45 relative with describedbolt hole 50, across fittingportion 46, in left and right, be provided with a plurality of female threaded holes 51.
As shown in figure 15, thebolt 52 being inserted through by above-mentionedbolt hole 50 frombase portion 43 rears is screwed on these female threadedholes 51, and the left and rightfixed part 47 on connectingframe 45 is fixed on above-mentionedbase portion 43 by describedbolt 52.
In addition, left and rightfixed part 47 on connectingframe 45 is divided into two parts of left and right, on these cuttingparts 47A, be provided with a plurality of bolt holes 53, onbase portion 43 front surfaces, be provided with the female threaded hole 54 relative with describedbolt hole 53, bolt 55 from the place ahead respectively by above-mentionedbolt hole 53 and be screwed on described female threaded hole 54, thereby make above-mentionedcutting part 47A be fixed on the front surface ofbase portion 43.
Like this, by the fixed part of connectingframe 45 47 is cut apart, when leaning on above-mentionedbackrest 36, with respect to the load that is applied tobase portion 43 rear surface central authorities, the easy strain ofbase portion 43, can avoid stress to concentrate, and permissible range that can enlargedbase 43 machining accuracies.
Near female threadedhole 51 on connectingframe 45, be provided with rearward outstanding protuberance 56, as shown in figure 15, under connecting state, near therecess 57 that described protuberance 56 can be with thebolt hole 50 that is formed onbase portion 43 engages.
Onfixed part 47 rear surfaces of connectingframe 45, be formed withslot part 58, by making describedslot part 58 towardsopposed end 44a, 44a front surface in thecut portion 44 ofbase portion 43, can make theengagement groove part 46a arranging on the upperengagement groove part 42 arranging of thevertical frame section 40B of above-mentioned sidepiece and above-mentionedfitting portion 46 lower surfaces be communicated with respectively, and can engage theedge member 37a arranging in above-mentionedtensioner 37 peripheral edge portion.
By theedge member 37a being arranged ontensioner 37 peripheral edge portion being turned back from above-mentionedmain frame 40 front surface side direction rears with winding method, it is fastened on theengagement groove part 41,42 and slotpart 58 forming inmain frame 40 peripheral edge portion, thereby the front surface side all-round ground tensioning that can spread all overframework 39 arrangestensioner 37, and seal thespatial portion 38 offramework 39 central authorities.
Thus, can spread all over the whole front surface offramework 39 with extended state and come tensioning that tensioner 37 is set, and because be tensionedpart 37 offramework 39 front surface integral body covers, so there is in design stylishness.
In addition, although preference reticulates as high-tension plastics or other are had to flexible fibrage, or be made into netted, shape of a mesh,form tensioner 37, also can only adopt weave cotton cloth, synthetic resin cover processed and porous cover etc.
The order that tensioner 37 tensionings is arranged toframework 39 is below described.
First, at the cuttingpart 47A of fixedpart 47, stay onbase portion 43 and the state that connectingframe 45 is pulled down frommain frame 40, overcome the elastic force of frame section, make thevertical frame section 40B of sidepiece ofmain frame 40 left and right as shown in the thin dashed line of Figure 11, towards shrinkage direction generation strain, that is, makeopposed end 44a, the 44a direction close to each other of thecut portion 44 ofbase portion 43.
Under this state, the mode that tensioner 37 is reeled with the past surface lateral rear is turned back in the circumferential edge ofmain frame 40, by theedge member 37a arranging intensioner 37 peripheral edge portion being fastened in theengagement groove part 41,42 that forms inmain frame 40 circumferential edge, 46a, with extended state,tensioner 37 is arranged in the peripheral edge portion ofmain frame 40.
Then, make thevertical frame section 40B of left and right sidepiece ofmain frame 40 utilize screen resilience to be expanded to original state,tensioner 37 is being applied under the state of larger tension force, the rear surface of connectingframe 45 is assembled onbase portion 43 front surfaces, by the fitting portion of connectingframe 45 46 chimeric for its left and right end face, be connected on theabutting part 48a on the opposite face betweenopposed end 44a, the 44a ofcut portion 44 after, utilize the left and rightfixed part 47,47 on 52 pairs of connectingframes 45 of bolt to be fixed connection, therebyopposed end 44a, the 44a ofcut portion 44 are connected to each other.
Thus, without complicated processing just expeditiously tensioningtensioner 37 is set, and can keeptensioner 37 even tension spread inwhole framework 39.
In addition, in the situation that connectingframe 45 is fixed onbase portion 43 front surface, for example, rear surface upper limb atfixed part 47 and cuttingpart 47A arranges downward pawl, and the pawl making progress in their rear surface lower edge setting, by these pawls being sticked in tobase portion 43 front surfaces, also can effectively prevent that connectingframe 45 is with respect tobase portion 43 changing of the relative positions on above-below direction.
The top ofback support bar 9 that forms back support framework is by pivot suspension and be connected to the rear portion offramework 39.
; as shown in figure 10; the inside edge of thevertical frame section 40B left and right directions of two of the left and right ofmain frame 40 sidepiece, above-below direction is substantially on centre position; rearward give prominence to and be formed with pair of right and leftextension 59; describedextension 59 toward each other, and stretches out to the inside towards describedspatial portion 38 on left and right directions.
As shown in Figure 8, in order to be driven in the dependence action ofbackrest 36, the upper end of the left and right up-and-downrod 9d ofback support bar 9 is connected in the rear end of describedextension 59, make up-and-downrod 9d, around substantially towards the axis of left and right directions and towards the mode that departs from above-mentioned axis predetermined angular, rotating towards all directions in the compass of expectation.
In order to make the SURFACES MATCHING that is forward concave of overlooking of left andright extension 59 andframework 39, make left andright extension 59 central shafts tilt towards interior the place ahead (with reference to Figure 10, Figure 12), and for the hypsokinesis angle automatching withframework 39, make left andright extension 59 towards front upper place inclination (with reference to Fig. 9).
As shown in Figure 17, Figure 18, thefixing protruding axles 61 ofscrew 60 that are fixed are forwards arranged on the upper end front surface of left and right up-and-downrod 9d ofback support bar 9 highlightedly, the front end of described protrudingaxle 61 is arranged to the sliding-contact surface member 62 of sphere-like, and cardinal principle is formed through on described sliding-contact surface member 62 towards theaxis hole 63 of left and right directions simultaneously.
In describedaxis hole 63, from the central part of sliding-contact surface member 62, towards the left and right sides, be formed with taperedhole part 64,64, thistapered hole part 64,64 hole enlargement gradually toward the outer side.
On the other hand, on theextension 59 of thevertical frame section 40B of sidepiece, be provided with the rearward embeddedhole 65 of opening, described embeddedhole 65 is chimeric withseat barrel member 67, offers ahole 66 on thisbarrel member 67 towards rear.
The sliding-contact surface member 62 of above-mentioned protrudingaxle 61 inserts in theseat hole 66 of describedseat barrel member 67 from rear, and make it can sliding-contact, make the above-mentionedaxis hole 63 of lockingpin 68 movable embedding towards cardinal principle left and right directions simultaneously, by the both ends, left and right of described lockingpin 68 are inserted and are locked instop hole 69, connect above-mentioned protrudingaxle 61 andseat barrel member 67, thisstop hole 69 arranges the left and right sides ofpresent barrel member 67.
The front end ofpresent barrel member 67 is given prominence to and is provided with thebolt shaft 70 towards the place ahead, the front end of describedbolt shaft 70 is through throughhole 71, and side-prominent to the front surface ofextension 59, this throughhole 71 connects embeddedhole 65 bottoms of above-mentionedextension 59, in addition, from the place ahead, makenut 72 be screwed together in outstandingaxial region 70a and lock, thereby above-mentionedseat barrel member 67 is securely fixed in the embeddedhole 65 of above-mentionedextension 59.
Thus, can rotate around the axis of lockingpin 68 and the mode of predetermined angular can be rotated towards the direction that departs from above-mentioned axis, the upper end of the left and right up-and-downrod 9d ofback support bar 9 is connected in to the rear portion of above-mentionedextension 59.
Between the upper end of up-and-downrod 9d front surface and the rear end face ofextension 59, clamping hasbuffer component 73, and thisbuffer component 73 consists of soft elastomers such as synthetic rubber (エ ラ ス ト マ mono-, elastomer).
Describedbuffer component 73 can prevent wearing and tearing or the damage because of the connecting portion on thechair framework 39 that use causes for a long time andback support bar 9 tops.
Cap member 74 covers the outstandingaxial region 70a of thebolt shaft 70 of exposing fromextension 59 the place aheads and the linking portion ofnut 72 from the place ahead ofextension 59, can prevent that described linking portion is exposed to outside.
By being pressed in the fixinghole 76 that is opened inbolt shaft 70 front ends rearward giving prominence to from describedcap member 74 inside center the fixedbar 75 arranging, describedcap member 74 is arranged on the front surface ofextension 59.
Atcap member 74 front surfaces and tensioning, be arranged between the rear surface of thetensioner 37 onframework 39 front surfaces, keep expectation compartment of terrain to be provided with gap a, when leaning onbackrest 36 etc., even if user's back makestensioner 37 rearward crooked, also can utilize above-mentioned gap a to make thetensioner 37 can contactcap member 74, or utilize the strain ofcap member 74 to keep cushioning effect, so that the linking portion betweenbolt shaft 70 andnut 72 can directly not contact user's back.
The present invention is not limited to above-mentioned embodiment, also can adopt other modes of texturing to implement the present invention.

Claims (11)

CN200980140462.0A2008-10-162009-09-18ChairExpired - Fee RelatedCN102176847B (en)

Applications Claiming Priority (5)

Application NumberPriority DateFiling DateTitle
JP2008-2674102008-10-16
JP2008267410AJP5378747B2 (en)2008-10-162008-10-16 Chair
JP2009042050AJP5543117B2 (en)2009-02-252009-02-25 Chair backrest device
JP2009-0420502009-02-25
PCT/JP2009/066329WO2010044331A1 (en)2008-10-162009-09-18Chair

Publications (2)

Publication NumberPublication Date
CN102176847A CN102176847A (en)2011-09-07
CN102176847Btrue CN102176847B (en)2014-04-09

Family

ID=42106496

Family Applications (1)

Application NumberTitlePriority DateFiling Date
CN200980140462.0AExpired - Fee RelatedCN102176847B (en)2008-10-162009-09-18Chair

Country Status (6)

CountryLink
US (1)US20110198907A1 (en)
EP (1)EP2347679B1 (en)
KR (1)KR20110084241A (en)
CN (1)CN102176847B (en)
CA (1)CA2752446A1 (en)
WO (1)WO2010044331A1 (en)

Families Citing this family (47)

* Cited by examiner, † Cited by third party
Publication numberPriority datePublication dateAssigneeTitle
JP5594878B2 (en)*2010-06-302014-09-24コクヨ株式会社 Chair
JP5951960B2 (en)*2011-10-282016-07-13株式会社岡村製作所 Tensile structure
USD699957S1 (en)2012-09-202014-02-25Steelcase Inc.Chair
USD697727S1 (en)2012-09-202014-01-21Steeelcase Inc.Chair
USD942767S1 (en)2012-09-202022-02-08Steelcase Inc.Chair assembly
USD699958S1 (en)2012-09-202014-02-25Steelcase Inc.Chair
USD698166S1 (en)2012-09-202014-01-28Steelcase Inc.Chair
US8998339B2 (en)2012-09-202015-04-07Steelcase Inc.Chair assembly with upholstery covering
USD697730S1 (en)2012-09-202014-01-21Steelcase Inc.Chair
USD694536S1 (en)2012-09-202013-12-03Steelcase Inc.Chair
USD697728S1 (en)2012-09-202014-01-21Steelcase Inc.Chair
USD697729S1 (en)2012-09-202014-01-21Steelcase Inc.Chair
USD698165S1 (en)2012-09-202014-01-28Steelcase Inc.Chair
USD702981S1 (en)2012-09-202014-04-22Steelcase Inc.Chair
USD697726S1 (en)2012-09-202014-01-21Steelcase Inc.Chair
USD683151S1 (en)2012-09-202013-05-28Steelcase Inc.Chair
USD694538S1 (en)2012-09-202013-12-03Steelcase Inc.Chair
USD683150S1 (en)2012-09-202013-05-28Steelcase Inc.Chair
USD699959S1 (en)2012-09-202014-02-25Steelcase Inc.Chair
US11229294B2 (en)2012-09-202022-01-25Steelcase Inc.Chair assembly with upholstery covering
USD694540S1 (en)2012-09-202013-12-03Steelcase Inc.Chair
USD781605S1 (en)2015-04-242017-03-21Steelcase Inc.Chair
USD701053S1 (en)2012-09-202014-03-18Steelcase Inc.Chair
USD699061S1 (en)2012-09-202014-02-11Steelcase Inc.Arm assembly
US11304528B2 (en)2012-09-202022-04-19Steelcase Inc.Chair assembly with upholstery covering
USD698164S1 (en)2012-09-202014-01-28Steelcase Inc.Chair
USD694539S1 (en)2012-09-202013-12-03Steelcase Inc.Chair
USD688907S1 (en)2012-09-202013-09-03Steelcase Inc.Arm assembly
USD694537S1 (en)2012-09-202013-12-03Steelcase Inc.Chair
USD695034S1 (en)2012-11-132013-12-10Steelcase Inc.Chair
KR101378062B1 (en)*2013-02-152014-03-27(주) 파트라 chair
CN105263367A (en)*2013-06-062016-01-20株式会社伊藤喜 Chair
USD781604S1 (en)2015-04-242017-03-21Steelcase Inc.Chair
USD759415S1 (en)2015-04-242016-06-21Steelcase Inc.Headrest
USD760526S1 (en)2015-04-242016-07-05Steelcase Inc.Headrest assembly
USD758774S1 (en)2015-04-242016-06-14Steelcase Inc.Headrest assembly
AU2016287487B2 (en)*2015-06-292020-11-26MillerKnoll, IncAttachment structure for suspension seating
JP6695113B2 (en)*2015-08-312020-05-20株式会社オカムラ Furniture
USD773200S1 (en)*2015-11-032016-12-06Anji Hailong Furniture Co., Ltd.Chair
USD785353S1 (en)*2015-11-242017-05-02Zhejiang Botai Furniture Co., Ltd.Chair
DK201870155A1 (en)*2018-03-122019-09-30R82 A/SConnection joint
JP7163133B2 (en)*2018-10-172022-10-31株式会社オカムラ Backrest of chair, chair with same, method of assembling backrest
JP7154935B2 (en)*2018-10-172022-10-18株式会社オカムラ chair backrest and chair with it
CN113507865A (en)2019-02-212021-10-15斯特尔凯斯公司Body support assembly and methods for use and assembly thereof
US11357329B2 (en)2019-12-132022-06-14Steelcase Inc.Body support assembly and methods for the use and assembly thereof
KR20210111654A (en)2020-03-032021-09-13김보화Auxiliary Window for Air Conditioner Installation
USD1080281S1 (en)*2021-08-042025-06-24Alberto PalmaChair with mesh back

Citations (5)

* Cited by examiner, † Cited by third party
Publication numberPriority datePublication dateAssigneeTitle
US5100201A (en)*1990-09-211992-03-31J.G. Furniture Systems Inc.Passive ergonomic work chair
US5944382A (en)*1996-10-091999-08-31Center For Design Research And Development N.V.Adjustable seating
JP3118464U (en)*2005-11-102006-01-26株式会社クオリ Chair backrest stretch structure
CN2798723Y (en)*2005-03-222006-07-26关小霏Arm-chair capable of increasing back-rest extension angle
CN101277632A (en)*2005-10-032008-10-01维特拉专利股份公司 Chair

Family Cites Families (10)

* Cited by examiner, † Cited by third party
Publication numberPriority datePublication dateAssigneeTitle
US5050931A (en)*1986-04-101991-09-24Steelcase Inc.Controlled deflection front lip for seating
JP2000014478A (en)1998-07-062000-01-18Toyo Kogei:KkChair
JP3023791B2 (en)*1999-06-102000-03-21株式会社岡村製作所 Chair back cover device
IT1315528B1 (en)*2000-10-182003-02-18Enrico Cioncada VARIABLE TRIM ARMCHAIR
JP4491125B2 (en)2000-10-302010-06-30株式会社岡村製作所 Chair backrest structure
US6609755B2 (en)*2001-06-152003-08-26Hon Technology Inc.Ergonomic chair
DE50304649D1 (en)*2003-02-162006-09-28Stoll Sedus Ag backrest
US7416251B2 (en)*2005-06-102008-08-26Global Total OfficeChair
JP5002835B2 (en)*2005-10-272012-08-15コクヨ株式会社 Member connection structure
CN200953958Y (en)*2006-09-302007-10-03苏同华 seat back

Patent Citations (5)

* Cited by examiner, † Cited by third party
Publication numberPriority datePublication dateAssigneeTitle
US5100201A (en)*1990-09-211992-03-31J.G. Furniture Systems Inc.Passive ergonomic work chair
US5944382A (en)*1996-10-091999-08-31Center For Design Research And Development N.V.Adjustable seating
CN2798723Y (en)*2005-03-222006-07-26关小霏Arm-chair capable of increasing back-rest extension angle
CN101277632A (en)*2005-10-032008-10-01维特拉专利股份公司 Chair
JP3118464U (en)*2005-11-102006-01-26株式会社クオリ Chair backrest stretch structure

Also Published As

Publication numberPublication date
EP2347679B1 (en)2013-03-13
EP2347679A1 (en)2011-07-27
CN102176847A (en)2011-09-07
CA2752446A1 (en)2010-04-22
WO2010044331A1 (en)2010-04-22
KR20110084241A (en)2011-07-21
US20110198907A1 (en)2011-08-18
EP2347679A4 (en)2012-03-07

Similar Documents

PublicationPublication DateTitle
CN102176847B (en)Chair
JP5005167B2 (en) Chair backrest structure
CN102946762B (en)Chair
EP1714569B1 (en)Bicycle helmet
US9609952B2 (en)Chair, especially, office chair
CA2600308C (en)Chair back
GB2392614B (en)Chair back construction with lumbar support
CN1981670A (en)Connecting structure of components
US7828378B2 (en)Bicycle seat
ITVI980182A1 (en) VARIABLE TRIM CHAIR.
JP4384004B2 (en) Tensioning structure for upholstery in chair seats, etc.
JP2020058764A (en) Chair
CA2962189A1 (en)A chair back
US9022482B2 (en)Stretching structure of a tension member for a chair
CN2549835Y (en)Baby chair
JP2010158335A (en)Structure of spreading upholstery in chair and method thererof
JP5496985B2 (en) Chair backrest structure
CN208593464U (en)A kind of bike saddle
JP4484659B2 (en) Tensioning structure for upholstery in chair seats, etc.
JP5405837B2 (en) Chair
JP2005245866A (en)Structure of attaching hanger to chair
JP2709333B2 (en) Chair
JP2008119248A (en)Structure for installing cover on back panel of chair
KR101142454B1 (en)multipurpose saddle for a bicycle
CN217337946U (en)Detachable sofa chair

Legal Events

DateCodeTitleDescription
C06Publication
PB01Publication
C10Entry into substantive examination
SE01Entry into force of request for substantive examination
C14Grant of patent or utility model
GR01Patent grant
CF01Termination of patent right due to non-payment of annual fee
CF01Termination of patent right due to non-payment of annual fee

Granted publication date:20140409

Termination date:20200918


[8]ページ先頭

©2009-2025 Movatter.jp