Movatterモバイル変換


[0]ホーム

URL:


CN102176847A - Chair - Google Patents

Chair
Download PDF

Info

Publication number
CN102176847A
CN102176847ACN2009801404620ACN200980140462ACN102176847ACN 102176847 ACN102176847 ACN 102176847ACN 2009801404620 ACN2009801404620 ACN 2009801404620ACN 200980140462 ACN200980140462 ACN 200980140462ACN 102176847 ACN102176847 ACN 102176847A
Authority
CN
China
Prior art keywords
support bar
back support
chair
towards
backrest
Prior art date
Legal status (The legal status is an assumption and is not a legal conclusion. Google has not performed a legal analysis and makes no representation as to the accuracy of the status listed.)
Granted
Application number
CN2009801404620A
Other languages
Chinese (zh)
Other versions
CN102176847B (en
Inventor
益永浩
藤田寿人
Current Assignee (The listed assignees may be inaccurate. Google has not performed a legal analysis and makes no representation or warranty as to the accuracy of the list.)
Okamura Manufacturing Co Ltd
Original Assignee
Okamura Manufacturing Co Ltd
Priority date (The priority date is an assumption and is not a legal conclusion. Google has not performed a legal analysis and makes no representation as to the accuracy of the date listed.)
Filing date
Publication date
Priority claimed from JP2008267410Aexternal-prioritypatent/JP5378747B2/en
Priority claimed from JP2009042050Aexternal-prioritypatent/JP5543117B2/en
Application filed by Okamura Manufacturing Co LtdfiledCriticalOkamura Manufacturing Co Ltd
Publication of CN102176847ApublicationCriticalpatent/CN102176847A/en
Application grantedgrantedCritical
Publication of CN102176847BpublicationCriticalpatent/CN102176847B/en
Expired - Fee Relatedlegal-statusCriticalCurrent
Anticipated expirationlegal-statusCritical

Links

Images

Classifications

Landscapes

Abstract

A chair configured such that a backrest support rod does not make contact with an object when the chair is swiveled and is thus reliably prevented from damaging the object or from being damaged by the object and that the chair uses a reduced number of parts, has a simple structure, and can be easily assembled. A chair, wherein front portions of front facing sections (9b) of a backrest support rod (9) are mounted to a support base (5) supported by a leg body (3) and supporting a seat (7). The backrest support rod (9) is formed in an L-shape in a side view and comprises upwardly facing raised sections (9a) and the forwardly facing front facing sections (9b). The upwardly facing raised sections (9a) and the forwardly facing front facing sections (9b) are connected together through a curved section (9c), and the raised sections (9a) support a backrest (6). A protective cover (11) covers at least that portion of the backrest support rod (9) which extends from the rear surface of the curved section (9c) to the lower surface thereof.

Description

Chair
Technical field
The present invention relates to a kind of back support bar side-looking and be L shaped substantially chair.
Background technology
It is L shaped substantially that the back support bar side-looking of chair in the past is, will be by bend towards the erection part of top and interconnecting towards the place ahead towards the front portion, when chair rotates etc. under the situation, in order to prevent that the lid that utilizes soft material to make covers back of the body rear surface of bar and lateral surface (for example with reference to patent documentation 1: Japan Patent discloses the communique spy and opens 2002-136388 number) because of carrying on the back bar, being that back support bar is connected to other article and causes article or back of the body bar itself impaired.
In addition, the junction surface that utilizes the junction surface to cover the leg framework and carry on the back framework with lid, this junction surface makes two covering portions open and close (for example with reference to patent documentation 2: Japan Patent open communique spy open 2000-14478 number) mutually by the articulated section with lid.
Yet, inpatent documentation 1, when the upper surface corner angle of thing are placed on the floor that is connected to low level when the surface of subordinate forward on the back support bar, can cause placement thing or back of the body bar itself impaired, in addition, mounting cover on the pair of right and left back support bar respectively, can cause number of components to increase and installation exercise loaded down with trivial details.
Inpatent documentation 2, the structure of lid itself is comparatively complicated, and manufacturing cost is increased.
Summary of the invention
In view of the problems referred to above that exist in the conventional art, the object of the present invention is to provide a kind of chair, when chair rotates etc. under the situation, can prevent from reliably to cause article or back support bar itself impaired, and number of components is few, simple in structure and easy assembling because of back support bar is connected to other article.
In addition, the present invention also aims to provide a kind of can with simple sound construction connect and compose the back frame of backrest and the chair of back support bar.
The present invention solves above-mentioned problem by following manner.
(1) a kind of chair, it comprises: the chair leg; Bearing is by described chair leg supporting; Seat is by described bearing support; Back support bar, side-looking are L shaped substantially, and described back support bar comprises: towards the erection part of top, towards the place ahead towards anterior and connect described erection part and described bend towards the front portion are set, described front portion towards the front portion is installed on the described bearing; Backrest is by the erection part supporting of described back support bar; And over cap, cover at least on the described back support bar, the part from the bend rear surface to lower surface.
According to described structure, when chair rotates etc. under the situation, can prevent from reliably to cause article or back support bar itself impaired, can prevent that particularly floor that the surface of subordinate forward because of back support bar is connected to low level from placing the upper surface corner angle of thing, causing placing thing or back support bar itself is impaired because of back support bar is connected to other article.
(2) on described (1) basis, described over cap comprises bolster.
According to described structure, when chair rotates etc. under the situation, the cushioning effect in the time of improving back support bar and be connected to other article.
(3) on described (1) basis, described over cap is made by soft synthetic resin material or rubber.
According to described structure, when chair rotates etc. under the situation, the cushioning effect in the time of improving back support bar and be connected to other article.
(4) on described (1) basis; described erection part comprises the pair of right and left up-and-down rod; the described up-and-down rod of pair of right and left is forked ground from described bend and extends upward; the described pair of right and left bar forward that comprises towards the front portion; the described bar forward of pair of right and left is forked ground from described bend and forwards extends; described over cap comprises crooked covering portion; upright covering portion and the portion of covering forward; described crooked covering portion covers the rear surface of described bend; described upright covering portion connects and is arranged in the described crooked covering portion; and cover the rear surface of each described up-and-down rod; described covering forward portion connects and is arranged in the described crooked covering portion, and covers the lower surface of each described bar forward.
According to described structure, need not to prepare two back support bar, only just can stably support backrest, and also need not to prepare a plurality of over caps by a member, only have a member and get final product, thereby can reduce number of components, make designs simplification, and assembling easily.
In addition, because over cap is except bending covering portion, also is provided with the pair of upright covering portion that covers each up-and-down rod rear surface and covers each a pair of covering forward portion of bar lower surface forward, so easily over cap is positioned.
(5) on described (4) basis, described back support bar backsight is X-shaped, described crooked covering portion covers the cross part of described X-shaped central authorities, the transverse width of described crooked covering portion is greater than the transverse width of described up-and-down rod and/or described bar forward, and described crooked covering portion to be dome shape ground substantially rearward outstanding.
According to described structure, can left and right sides balance and support backrest reliably, and can eliminate the corner angle of back support bar rear surface, thus the stress can avoid back support bar and other article butts the time is concentrated, and can present beautiful outward appearance.
(6) described (4) or (5) basis on; on the rear surface, described up-and-down rod upper end of described back support bar, also has recess; described recess is used to install described backrest; push in described recess and embed flexible jut, described elastic protrusion portion is arranged on the upper end front surface of the upright covering of each of described over cap portion.
According to described structure, can be difficult to peel off and reliably the upright covering of each of over cap portion leading section is installed on the back support bar, and can seal backrest and install and use recess, make good looking appearance.
(7) on described (1) basis, on the part of the relative portion between described back support bar rear surface and the described over cap front surface, be formed with space part, corresponding with the described space part at least part of described over cap is formed by elastomeric material.
According to described structure, when other article are connected to rear surface over cap and the space part counterpart, by strain this part are entered in the space part, thereby can further improve the cushioning effect of over cap.
(8) on described (1) basis, described backrest comprises back frame, and described back frame comprises: spatial portion is configured in the central authorities of described back frame; And the framing component of band plate-like, tensioning is provided with the tensioner that is used to seal described spatial portion, described chair also comprises the pair of right and left extension, on the basic centre position of above-below direction of described back frame left and right directions inside edge, the described extension of pair of right and left is to stretch out to the inside along the relative mode of left and right directions.
According to described structure, make the back frame moulding that constitutes backrest easily.
In addition, the load that is applied to during owing to dependence on the back frame acts on the direction of the back frame bending that causes with the backrest hypsokinesis, so can improve the bending strength of back frame itself by the formation extension.
In addition,, can guarantee to connect back frame and the required area of back support bar fully, thereby can connect back frame and back support bar by simple sound construction ground by large-area extension by forming extension.
(9) on described (8) basis, described extension is rearward outstanding.
According to described structure, because extension is rearward outstanding, so can further improve the intensity of back frame.
(10) on described (8) basis, the top of described back support bar is installed on the rear surface of described extension.
According to described structure, can improve the bonding strength of back frame and back support framework.
(11) on described (10) basis,, the top of described back support bar can omnidirectional be rotated in the compass of regulation by being installed on the described extension towards the pivot of left and right directions upper pivot with described back support bar.
According to described structure, backrest is driven in the action of user's back, can rotate reposefully with respect to back support bar.
(12) on described (11) basis, between the top of described extension and described back support bar, clamping has buffer component, and described buffer component comprises soft elastomer.
According to described structure, can effectively prevent to use the connecting portion that causes between back frame and the back support bar top to wear and tear because of chair is long-term or damage.
The invention provides a kind of chair, when chair rotates etc. under the situation, can prevent from reliably to cause article or back support bar itself impaired, and number of components is few, simple in structure and easy assembling because of back support bar is connected to other article.
In addition, can connect and compose the back frame and the back support bar of backrest securely by simple structure.
Description of drawings
Fig. 1 is the front view of the chair of first embodiment of the invention.
Fig. 2 is the side view of the chair of first embodiment of the invention.
Fig. 3 is the rearview of the chair of first embodiment of the invention.
Fig. 4 is the amplification vertical profile end view drawing along the IV-IV line of Fig. 3.
Fig. 5 is the cross-sectional vertical view of amplification along the V-V line of Fig. 2.
Fig. 6 is the side view when making the back support bar hypsokinesis.
Fig. 7 is the stereogram of the chair of second embodiment of the invention.
Fig. 8 is the rearview of the chair of second embodiment of the invention.
Fig. 9 is the side view of the chair of second embodiment of the invention.
Figure 10 is provided with the amplification stereogram of the framework under the tensioner state in tensioning not.
Figure 11 is provided with framework forward sight exploded perspective view under the tensioner state in tensioning not.
Figure 12 is provided with framework rear exploded perspective view under the tensioner state in tensioning not.
Figure 13 is provided with amplification skiagraph under the tensioner state along the XIII-XIII line of Figure 10 in tensioning.
Figure 14 is provided with enlarged cross sectional view under the tensioner state along the XIV-XIV line of Figure 10 in tensioning.
Figure 15 is provided with amplification skiagraph under the tensioner state along the XV-XV line of Figure 10 in tensioning.
Figure 16 is provided with amplification skiagraph under the tensioner state along the XVI-XVI line of Figure 10 in tensioning.
What Figure 17 was expression along the connection status of the framework of the XVII-XVII line of Fig. 9 and back support framework wants portion's enlarged cross sectional view.
Figure 18 is expression along the exploded perspective view of the connection status of the framework of the XVII-XVII line of Fig. 9 and back support framework.
The specific embodiment
Below, with reference to accompanying drawing embodiments of the present invention are described.
Fig. 1~Fig. 6 represents the chair of first embodiment of the invention.
As depicted in figs. 1 and 2, this chair possesseschair leg 3, and thischair leg 3 has radial fiveleg bars 2, is provided withscroll wheel 1 at the leading section of leg bar 2.Central authorities atchair leg 3 uprightly are provided withtelescopic leg post 4, and thisleg post 4 possesses gas spring (Gas Spring, not shown), and the rear portion ofbearing 5 is fixed on the upper end ofleg post 4.
Bearing 5 is the cardinal principle hollow box shape of upper surface open, and removably lid (not shown) covers on the peristome of its upper surface.
Be provided with two kinds of pressure devices (both are all not shown) etc. in the inside of bearing 5, a kind of pressure device applies active force tobackrest 6 to vertical direction, another kind of pressure device forwards applies active force toseat 7, because described pressure device and the present invention do not have direct relation, so omitted diagram and detailed description.
To connect the mode pivot suspension, describedpivot 8 can be rotated towards thepivot 8 of the hexa-prism of left and right directions around its central axis at the rear portion ofbearing 5.
The leading section that is used to support theback support bar 9 ofbackrest 6 is fixed on the both ends ofpivot 8 in the mode withpivot 8 unitary rotation, and the both ends of thispivot 8 are outstanding to the left and right from the two side of bearing 5.Describedpivot 8 applies active force tobackrest 6 andback support bar 9 towards vertical direction by being arranged on the pressure device (not shown) that for example is made of helical spring etc. in thebearing 5, that is, the counter clockwise direction in Fig. 2 applies active force.
It is L shaped substantially thatback support bar 9 side-lookings are, will be bybend 9c towards theerection part 9a of top and interconnecting towards the place ahead towards anterior 9b,erection part 9a is by pair of right and left up-and-downrod 9d, 9d constitutes, pair of straightvertical rod 9d, 9d is frombend 9c branch, and extend upward, in addition, towardsanterior 9b by pair of right and leftbar 9e forward, 9e constitutes, the a pair of 9e of bar forward, 9e is frombend 9c branch, and forwards extend, the chimeric respectivelyhexagonal hole 9f that is fixed on towards left and right directions in each end ofpivot 8, among the 9f, thishexagonal hole 9f, 9f is arranged on described pair of right and leftbar 9e forward, the front end of 9e.
As shown in Figure 3 and Figure 4, by make backsupport bar 9 about up-and-downrod 9d, 9d frombend 9c obliquely toward the outer side the top be circular-arc extension, and the 9e of bar forward, 9e about making be front lower place extension toward the outer side obliquely, thereby makeback support bar 9 backsights be X-shaped, as the transverse width of thebend 9c of its central cross part greater than each up-and-downrod 9d and the transverse width ofbar 9e forward, and bend 9c to be dome shape ground substantially rearward outstanding.
In the roughly whole rear surface of thebend 9c ofback support bar 9 and two up-and-downrod 9d, 9d and from two forward the rear surface ofbar 9e, 9e on the part at lower surface rear portion; be provided with continuousshallow recess 10; the overcap 11 that covers backsupport bar 9 rear surfaces releasably is entrenched on the describedrecess 10; and be bonded on theback support bar 9 by bonding agent or velcro, perhaps screw togather as required and be fixed on theback support bar 9.
The thickness of preferred overcap 11 equates substantially with the degree of depth ofrecess 10, makes the surperficial consistent of the surface of overcap 11 andback support bar 9, can not produce jump.
Overcap 11 is made of soft synthetic resin material, rubber or other bolsters, and this overcap 11 possesses: thecrooked covering 11a of portion, the rear surface of thebend 9c of covering backsupport bar 9; The upright 11b of covering portion, connection is arranged on the describedcrooked covering 11a of portion, and covers the rear surface of each up-and-downrod 9d; And the 11c of portion of covering forward, connection is arranged on thecrooked covering 11a of portion, and covers each lower surface ofbar 9e forward.
The recess 12 that is used to installbackrest 6 is arranged on the rear surface, upper end of each up-and-downrod 9d ofback support bar 9; the 11d of elastic protrusion portion on the upper end front surface of eachupright covering 11b of portion by will being arranged on overcap 11 is pressed into and is entrenched in the described recess 12; the leading section of eachupright covering 11b of portion of overcap 11 is installed on theback support bar 9 reliably in the mode that is difficult to peel off; simultaneously can seal the recess 12 that is used to installbackrest 6, can make specious.
In addition; on the part of the rear surface ofback support bar 9 and the relative portion of the front surface of overcap 11; be formed with space part (not shown); if and the part corresponding with above-mentioned space part of overcap 11 formed by elastomeric material; then when other article are connected to rear surface overcap 11 and the space part counterpart; strain can take place and enter in the space part in this part of overcap 11, can further improve the cushioning effect of overcap 11.
Becauseback support bar 9 is provided with described overcap 11; so under situations such as chair rotation; can prevent from reliably itself to damage, can also prevent that particularly ground that the lower surface towardsanterior 9b because ofback support bar 9 is connected to lower from placing the upper surface corner angle of thing, causing placing thing orback support bar 9 is damaged itself because ofback support bar 9 and other article butts cause article orback support bar 9.
Backrest 6 is overlooked and is circular-arc that central portion rearward is recessed into, and be the board member that constitutes by soft synthetic resin material that can strain, or clip bolster (not shown) at its front surface and come member of clad surface part (not shown) etc., the rear surface, both sides of the above-below direction pars intermedia ofbackrest 6 to be can wind the mode of rotating and can rotate towards the direction that departs from above-mentioned axis predetermined angular towards the axis of cardinal principle left and right directions, be supported inback support bar 9 about the upper end of up-and-downrod 9d, 9d on.
Owing to supportbackrest 6 in the above described manner, so as shown in Figure 5, protruding axle 13 is given prominence on the upper end front surface of each the up-and-downrod 9d that is arranged onback support bar 9, seat hole 14 is arranged on the sidepiece rear surface of thebackrest 6 relative with the upper end front surface of described each up-and-downrod 9d, the leading section of described protruding axle 13 and described seat hole 14 are chimeric, and it is movable chimeric towards the axis hole 15 of left and right directions towards the locking pin 17 of left and right directions substantially with cardinal principle, described axis hole 15 is arranged on the leading section of protruding axle 13, the both ends of described locking pin 17 are fixed on the 16a of tube portion of opening rearward of seat board 16, this seat board 16 is used to form a hole 14, is fixed on the rear surface ofbackrest 6.
The leading section 13a of protruding axle 13 is a spheroid, axis hole 15 connects this ball centre, the internal diameter of the central portion 15a of described axis hole 15 equates substantially with the external diameter of locking pin 17, and is formed with tapered hole part 15b, 15b from central portion 15a to both sides, this tapered hole part 15b, 15b hole enlargement gradually laterally.
In example shown in Figure 5, locking pin 17 is a bolt, the axis hole 15 of leading section 13a by making its 16a of tube portion that connects seat board 16 and protruding 13, and make nut 17a be screwed together in the leading section of this locking pin 17, can prevent that locking pin 17 from coming off from 16a of tube portion and axis hole 15, and prevent that protruding axle 13 from coming off from seat hole 14.Described locking pin 17 also can be pin rather than bolt, and in addition, the installation direction of locking pin 17 not only can be a left and right directions, also can be the direction of rear surface that is parallel to the backrest of slight inclination.In addition,lid 18 that can strain covers the periphery of protruding axle 13 and the coupling part of the 16a of tube portion.
Pars intermedia at protruding axle 13 is formed with the hole enlargement blade of a sword 13b of portion, and the described hole enlargement blade of a sword 13b of portion is connected to the upper end front surface of up-and-downrod 9d, the base end part 13c and the axis hole 19 of protruding axle 13 are chimeric, described axis hole 19 is arranged on the upper end front surface of up-and-downrod 9d and towards the rear, and utilize hold-down screw 20 that protruding axle 13 is fixed on the up-and-downrod 9d, this hold-down screw 20 is chimeric with the above-mentioned recess 12 on the rear surface, upper end that is arranged on up-and-downrod 9d, thus, protruding axle 13 is securely fixed in the upper end of up-and-downrod 9d.
The bottom end face in preferred seat hole 14 is a sphere, is complementary shape with the sphere of the leading section 13a of protruding axle 13.
In addition, also can be rearward outstanding protruding axle 13 be set, and forms a seat hole 14 at the upper end front surface of each up-and-downrod 9d of theback support bar 9 relative with described protruding axle in the sidepiece rear surface ofbackrest 6.
Ifsupport backrest 6 in the manner described, then only by making locking pin 17 movable chimeric with the axis hole 15 that is arranged on protruding axle 13 leading sections, just can supportbackrest 6, its axis that winds towards left and right directions is rotated, can also make it rotate predetermined angular towards the direction that departs from above-mentioned axis, just can supportbackrest 6 so need not the device of costlinesses such as ball-and-socket joint, and can not produce unfavorable condition, and can make seated person feel comfortable.
Theratio pivot 8 that connectsbearings 5 by connectingrod 21 rely on the part at rear and rely on than this part abovebackrest 6 bottoms, whenback support bar 9 hypsokinesis, the connectingrod 21 that utilization is rotated to the back lower place makes the bottom ofbackrest 6 be pressed towards the rear with respect to backsupport bar 9.
Promptly, the leading section of connectingrod 21 is connected with bearing 5 by theaxle 22 towards left and right directions, the rearward end of connectingrod 21 is connected with the bottom frombackrest 6 is given prominence to downwards thatmetal parts 23 is installed by theaxle 24 towards left and right directions, and thisinstallation metal parts 23 is fixed on the rear surface, bottom ofbackrest 6.
Connectingrod 21 is circular-arc rigid body formation by the side-looking that the center of curvature is positioned at connectingrod 21 tops (or below), pair of right and left by it being configured inback support bar 9 is forward betweenbar 9e, the 9e, make it be sandwiched in two forward betweenbar 9e, the 9e, and be not easy to be exposed on the external.
According to described structure, as shown in Figure 6, when leaning on,back support bar 9 hypsokinesis, follow in this, also hypsokinesis of connectingrod 21, at this moment, because the center of rotation (pivot 8) ofback support bar 9 is different from the center of rotation (axle 22) of connectingrod 21, so the rearward end of connectingrod 21 is rearward pushed the bottom ofbackrest 6,backrest 6 is the center with respect to backsupport bar 9 with the axis (locking pin 17) towards left and right directions, rotates to the direction (vertical direction) opposite with the rotation direction (hypsokinesis direction) ofback support bar 9.
Seat supporting mass 25 is supported toseat 7 can regulate front and back position, the rear portion and the front portion of describedseat supporting mass 25 are bearing on thebearing 5 byrear support device 26 and anterior supportingarrangement 27, with with the hypsokinesis interlock ofback support bar 9, the mode that moves to the back lower place respectively, by the rear portion and the front portion ofrear support device 26 and anterior supportingarrangement 27 guideseat supporting masses 25.
Pivot 8 in the ratio backsupport bar 9 of bearing 5 more relies on the rear, and more rely on the position in the place ahead than theaxle 22 of connectingrod 21, the upper end of connectingrod 29 is by the rear portion of thepresent supporting mass 25 ofaxle 30 pivotal mounting of left and right directions, wherein, the bottom of this connectingrod 29 is byaxle 28 pivotal mounting of left and right directions, and theaxle 30 of described connectingrod 29 upper ends is entrenched in sliding freely substantially in the slottedhole 31 of fore-and-aft direction, this slottedhole 31 be arranged onback support bar 9 each forward among thebar 9e,axle 28 than connectingrod 29 bottoms more relies on the part at rear, thus, constituterear support device 26.
Described slottedhole 31 is set at upwards on thetab 9g, upwardstab 9g be set atback support bar 9 each forward among thebar 9e, rely on slightly on the part at rear thanhexagonal hole 9f.
Axle 32 towards left and right directions is entrenched in sliding freely in the slottedhole 33 of the back lower place, and wherein, thisaxle 32 is set uppresent supporting mass 25 front portions, and slottedhole 33 is set on thebearing 5, thus, constitutes anterior supportingarrangement 27.
By being arranged on the pressure device (not shown) in thebearing 5, all the time describedaxle 32 is forwards applied active force.
In addition, described anterior supportingarrangement 27 also can adopt following structure to replace said structure, that is, and and aspatent documentation 1 record, upper end with bearing connecting rod up set on the bearing front portion is connected with the front portion of seat, and bearing connecting rod can hypsokinesis (not shown).
According to the said structure of described chair, when the user was leaning onbackrest 6,backrest 6 was overlooked with the central portion mode generation strain rearward more recessed than both sides.At this moment, by about locking pin 17 slight inclination in the axis hole 15 of protruding axle 13 move, allow the strain ofbackrest 6.
In addition,back support bar 9 andbackrest 6 overcome the active force of the pressure device that is provided with in thebearing 5 together, and hypsokinesis takes place, and meanwhile, connectingrod 21 is the center hypsokinesis with theaxle 22 of its below.
At this moment, because the back rake angle speed of connectingrod 21 is greater than the back rake angle speed ofback support bar 9, and theaxle 22 of connectingrod 21 is positioned at the position that more relies on the rear than thepivot 8 ofback support bar 9, so rearward move the bottom that utilizes theaxle 24 of connectingrod 21 rearward end to pushbackrest 6,backrest 6 is with respect to backsupport bar 9, with the axis (locking pin 17) towards left and right directions is the center, rotates to the direction (vertical direction) opposite with the rotation direction (hypsokinesis direction) ofback support bar 9.
Promptly, when leaning on, even backsupport bar 9 hypsokinesis, owing to suppressedbackrest 6 hypsokinesis, the state that it is kept upright, so when the user can keep making the comfortable posture of back hypsokinesis, can make sight line and arm towards the place ahead or the front lower place not limpingly, beat operation of keyboard etc. with posture easily.
In addition, on the basis of the basic structure of chair in the past, the only additional simple structure that connects the bottom ofbearing 5 andbackrest 6 by connectingrod 21, just can be in the above-mentioned comfortable posture of maintenance, beat the operation of keyboard etc. like a cork, need not as in the past, takingbackrest 6 side-lookings own to be can be in the supporting structure supporting by complexity of the structure of fore-and-aft direction bending orbackrest 6, thereby the chair overall structure is simplified.
Along with the hypsokinesis ofback support bar 9, utilize the slottedhole 31 be arranged on the described upwardstab 9g,axle 30 is moved to the back lower place, thus, make connectingrod 29 hypsokinesis.
At this moment, because the back rake angle speed of connectingrod 29 is greater than the back rake angle speed ofback support bar 9, and theaxle 28 of connectingrod 29 is positioned at the position that more relies on the rear than thepivot 8 ofback support bar 9, soaxle 30 rearward amount of movements are greater than the slottedhole 31 rearward amount of movements ofback support bar 9,axle 30 rearward slides in slottedhole 31, at this moment, utilize moving ofaxle 30, a supportingmass 25 rear portions are moved significantly to the back lower place.
Promptly, whenback support bar 9 hypsokinesis, said structure can enlarge the rearward shift motion inseat 7 rear portions, thus, whenback support bar 9 hypsokinesis, utilize connectingrod 21 rearward end to pushbackrest 6 bottoms and rearward move, rearward move subsequently significantly atseat 7 rear portions, can prevent the lower end ofbackrest 6 andseat 7 rear section from, thereby can experience the comfortable sense of taking a seat.
Seat supporting mass 25 rear portions are moved toward the back lower place byaxle 30, overcome the active force that is arranged on the pressure device in thebearing 5 with backseat supporting mass 25 front portions, theaxle 32 that makes a supportingmass 25 front portions thus, moves the front portion of a supportingmass 25 along slottedhole 33 slid underneath backward reposefully to the back lower place.
Like this, whenback support bar 9 hypsokinesis, the bottom ofbackrest 6 is connectedbar 21 and rearward pushes, andbackrest 6 rotates with respect to backsupport bar 9, so that be kept upright state, along with moving of describedbackrest 6 bottoms,seat 7 can move significantly to the back lower place, in the time of the hypsokinesis of user's back, does not make sight line and arm towards the place ahead or the front lower place limpingly, beat operation etc. with what posture was easily carried out keyboard, can keep comfortable operation posture.
Fig. 7~Figure 18 represents the chair of second embodiment of the invention.
In addition, identical with first embodiment or similar member uses identical Reference numeral, and is not illustrated, and has omitted simultaneously to specify.
In the first embodiment,backrest 6 is the board members that are made of soft synthetic resin material that can strain, perhaps clip bolster at its front surface and come the clad surface part, and in second embodiment,backrest 36 is mesh tension structures.
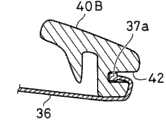
As Figure 10~shown in Figure 12,backrest 36 possesses: thetensioner 37 of shape of a mesh; And as theframework 39 of back frame, describedtensioner 37 tensionings are arranged on the front surface offramework 39, and can seal thespatial portion 38 thatframework 39 central authorities are offered.
Describedframework 39 is made of the framing component in the continuous synthetic resin system band plate-like of peripheral direction, possesses the continuous master of peripheral direction to look themain frame 40 that is square substantially, and thismain frame 40 comprises: thetop crossing frame 40A of portion; Pair of right and left sidepiecevertical frame section 40B, 40B with expectation retroverted state; And thebottom crossing frame 40C of portion.
As shown in figure 13, the 40A of top crossing frame portion that formsmain frame 40 circumferential edge parts is the arc-shaped surface that front surface tilts to the back upper place, having from the inside edge laterally, the edge is the section configuration that wall thickness increases, and outside described circumferentially on the rear portion, edge, be provided withengagement groove part 41 along left and right directions, thisengagement groove part 41 can engage with theedge member 37a on being arranged on above-mentionedtensioner 37 peripheral edge portion.
As shown in figure 14, the section configuration of the outer ledge side of thevertical frame section 40B of sidepiece is to extend to above-mentionedspatial portion 38 from the inside edge of the bigger heavy section of wall thickness to be arranged to the less thinner wall section of wall thickness, and in described outer ledge portion, be provided with theengagement groove part 42 that is communicated with above-mentionedengagement groove part 41 along the vertical direction, thisengagement groove part 42 can engage with theedge member 37a on being arranged on above-mentionedtensioner 37 peripheral edge portion.
As Figure 11 and shown in Figure 12, stay after the part of left and right end portions, thecrossing frame 40C of portion in bottom is divided into two parts along the thickness direction of fore-and-aft direction, thereafter face side is asbase portion 43, the part of the left and right directions central portion of describedbase portion 43 is excised at interval with expectation, andopposed end 44a, the 44a of describedexcision portion 44 are linked together by connectingframe 45, and it is relative with the front surface ofbase portion 43 that described connectingframe 45 is mounted to its rear surface, becomes the cap of front surface side.
On the central portion of described connectingframe 45 left and right directions, the rearward outstandingfitting portion 46 that is provided with, thisfitting portion 46 is entrenched in theexcision portion 44 of above-mentionedbase portion 43, and the width of describedfitting portion 46 equals theopposed end 44a that above-mentionedmain frame 40 is in theexcision portion 44 under the original state, the size of space between the 44a opposite face substantially.
In addition, be installed on theinstallation metal parts 23 by the rear end ofaxle 24 connectingrod 21, these connectingrod 21 pivot suspensions are in the bottom of theframework 39 that formsbackrest 36, this installsmetal parts 23 across betweenopposed end 44a, the 44a of above-mentionedexcision portion 44, is fixed on the rear surface of above-mentionedbase portion 43.
Thus, when leaning onbackrest 36, by the load thatmetal parts 23 applies tobase portion 43 rear surface central authorities is installed,base portion 43 can strain with respect to connectingrod 21.
Be formed with pair of right and left fixedpart 47,47 on connectingframe 45, this pair of right and left fixedpart 47,47 extends toopposed end 44a, the 44a front surface side of theexcision portion 44 of above-mentionedbase portion 43 from the two ends of above-mentionedfitting portion 46 front surface sides.
The rear surface of describedfixed part 47 is connected to theopposed end 44a of above-mentionedexcision portion 44, the front surface of 44a, and acrossopposed end 44a, the 44a of above-mentionedexcision portion 44, is separately fixed on the front surface ofbase portion 43.
Bybase portion 43 and connectingframe 45 are fitted together, as Figure 15 and shown in Figure 16, the 40C of bottom crossing frame portion forms the inner bigger section configuration of wall thickness of hollow structure that is, and in each hollow bulb, direction is outstanding respectively forwards, backwards is provided with a plurality ofribs 48,49, described a plurality ofribs 48,49 along up and down and the length direction of left and right directions arrange.
In addition, when being assembled in connectingframe 45 on thebase portion 43, theabutting part 48a of the left and right sides end face butt of formation of the end ofrib 48 andfitting portion 46, thisrib 48 is towards theopposed end 44a of theexcision portion 44 ofbase portion 43, the opposite face of 44a.
Near the rib on thebase portion 43 48, be provided withbolt hole 50, and near therib 49 of the left and right sides fixedpart 47 of the connectingframe 45 relative with describedbolt hole 50, across fittingportion 46 about be provided with a plurality of female threaded holes 51.
As shown in figure 15, insertedlogical bolt 52 frombase portion 43 rears by above-mentionedbolt hole 50 and be screwed on these female threadedholes 51, the left and right sides fixedpart 47 on the connectingframe 45 is fixed on the above-mentionedbase portion 43 by describedbolt 52.
In addition, about left and right sides fixedpart 47 on the connectingframe 45 is divided into two parts, these cuttingparts 47A is provided with a plurality of bolt holes 53,base portion 43 front surfaces are provided with the female threadedhole 54 relative with describedbolt hole 53, bolt 55 from the place ahead respectively by above-mentionedbolt hole 53 and be screwed on the described female threadedhole 54, thereby make above-mentionedcutting part 47A be fixed in the front surface ofbase portion 43.
Like this, by the fixedpart 47 of connectingframe 45 is cut apart, when leaning on above-mentionedbackrest 36, with respect to the load that is applied tobase portion 43 rear surface central authorities,base portion 43 easy strains can avoid stress to concentrate, and permissible range that can enlargedbase 43 machining accuracies.
Be provided with rearwardoutstanding protuberance 56 near the female threaded hole on the connectingframe 45 51, as shown in figure 15, under connecting state, describedprotuberance 56 can engage with near therecess 57 thebolt hole 50 that is formed onbase portion 43.
Onfixed part 47 rear surfaces of connectingframe 45, be formed withslot part 58, by makingopposed end 44a, the 44a front surface of describedslot part 58 in theexcision portion 44 ofbase portion 43, theengagement groove part 46a that is provided with on lastengagement groove part 42 that is provided with of thevertical frame section 40B of above-mentioned sidepiece and above-mentionedfitting portion 46 lower surfaces is communicated with respectively, and can engages theedge member 37a that is provided with on above-mentionedtensioner 37 peripheral edge portion.
By with winding method theedge member 37a that is arranged ontensioner 37 peripheral edge portion being turned back from above-mentionedmain frame 40 front surface side direction rears, it is fastened on theengagement groove part 41,42 and slotpart 58 that forms onmain frame 40 peripheral edge portion, thereby the full week ground tensioning of the front surface side that can spread all overframework 39 is provided withtensioner 37, and thespatial portion 38 of sealingframework 39 central authorities.
Thus, can spread all overframework 39 whole front surfaces with extended state and come tensioning that tensioner 37 is set, andpart 37 covers becauseframework 39 front surface integral body are tensioned, so have stylishness in design.
In addition,,form tensioner 37 though preference perhaps is made into netted, shape of a mesh as high-tension plastics or other rubber-like fibrage are reticulated, also can only adopt weave cotton cloth, synthetic resin system cover and porous cover etc.
Below explanation is arranged attensioner 37 tensionings the order offramework 39.
At first, stay on thebase portion 43 and under the state that connectingframe 45 is pulled down frommain frame 40 at the cuttingpart 47A of fixedpart 47, overcome the elastic force of frame section, thevertical frame section 40B of sidepiece that makes main frame about 40 is shown in the thin dashed line of Figure 11, towards shrinkage direction generation strain, that is, make the mutual approaching direction ofopposed end 44a, 44a of theexcision portion 44 ofbase portion 43.
Under this state, the mode that tensioner 37 is reeled with the past surface lateral rear is turned back on the circumferential edge ofmain frame 40, be fastened in theengagement groove part 41,42 that forms onmain frame 40 circumferential edge, the 46a by theedge member 37a that will be provided with ontensioner 37 peripheral edge portion,tensioner 37 be installed on the peripheral edge portion ofmain frame 40 with extended state.
Then, make thevertical frame section 40B of left and right sides sidepiece ofmain frame 40 utilize screen resilience to be expanded to original state,tensioner 37 is being applied under the state of bigger tension force, the rear surface of connectingframe 45 is assembled onbase portion 43 front surfaces, after on theabutting part 48a on the opposite face between chimericopposed end 44a, the 44a that is connected toexcision portion 44 for its left and right sides end face with thefitting portion 46 of connectingframe 45, it is fixedly connected to utilize left and right sides fixedpart 47,47 on 52 pairs of connectingframes 45 of bolt to carry out, therebyopposed end 44a, the 44a ofexcision portion 44 are connected to each other.
Thus, need not complicated processing just expeditiously tensioningtensioner 37 is set, and can keeptensioner 37 even tension spread on thewhole framework 39.
In addition, be fixed at connectingframe 45 under the situation ofbase portion 43 front surfaces, for example, rear surface upper limb atfixed part 47 and cuttingpart 47A is provided with downward pawl, and the pawl that makes progress in their rear surface lower edge setting, by these pawls being sticked inbase portion 43 front surfaces, can prevent effectively that also connectingframe 45 is with respect tobase portion 43 changing of the relative positions on above-below direction.
The top ofback support bar 9 that constitutes the back support framework is by pivot suspension and be connected the rear portion offramework 39.
Promptly, as shown in figure 10, the inside edge of thevertical frame section 40B left and right directions of two sidepieces aboutmain frame 40, above-below direction is substantially on the centre position, the rearward outstanding pair of right and leftextension 59 that is formed with, describedextension 59 toward each other, and stretches out towards describedspatial portion 38 on left and right directions to the inside.
As shown in Figure 8, in order to be driven in the dependence action ofbackrest 36, the upper end of the left and right sides up-and-downrod 9d ofback support bar 9 is connected in the rear end of describedextension 59, make up-and-downrod 9d in the compass of expectation, rotating around substantially towards the axis of left and right directions and towards the mode that departs from above-mentioned axis predetermined angular towards all directions.
In order to make the SURFACES MATCHING that is concave forward of overlooking of left andright sides extension 59 andframework 39, make left andright sides extension 59 central shafts tilt towards interior the place ahead (with reference to Figure 10, Figure 12), and, make left andright sides extension 59 towards front upper place inclination (with reference to Fig. 9) in order to mate with the hypsokinesis angle offramework 39.
As Figure 17, shown in Figure 180, thefixing protruding axle 61 of thescrew 60 of being fixed forwards is arranged on the upper end front surface of left and right sides up-and-downrod 9d ofback support bar 9 highlightedly, simultaneously the front end of described protrudingaxle 61 is arranged to the sliding-contact surface member 62 of sphere-like, and cardinal principle is formed on the described sliding-contact surface member 62 towardsaxis hole 63 perforations of left and right directions.
In describedaxis hole 63, be formed with taperedhole part 64,64 towards the left and right sides, thistapered hole part 64,64 hole enlargement gradually toward the outer side from the central part of sliding-contact surface member 62.
On the other hand, theextension 59 of thevertical frame section 40B of sidepiece is provided with the embeddedhole 65 of opening rearward, and described embeddedhole 65 is chimeric withseat barrel member 67, offers ahole 66 on thisbarrel member 67 towards the rear.
The sliding-contact surface member 62 of above-mentioned protrudingaxle 61 inserts in theseat hole 66 of describedseat barrel member 67 from the rear, and make it can sliding-contact, make the above-mentionedaxis hole 63 of lockingpin 68 movable embeddings simultaneously towards the cardinal principle left and right directions, by the both ends, the left and right sides of described lockingpin 68 being inserted and blocking and end instop hole 69, connect above-mentioned protrudingaxle 61 andseat barrel member 67, thisstop hole 69 is provided with the left and right sides ofpresent barrel member 67.
Theoutstanding bolt shaft 70 that is provided with towards the place ahead of the front end ofpresent barrel member 67, the front end of describedbolt shaft 70 passes throughhole 71, and it is side-prominent to the front surface ofextension 59, this throughhole 71 connects embeddedhole 65 bottoms of above-mentionedextension 59, in addition, makenut 72 be screwed together in outstandingaxial region 70a from the place ahead and lock, thereby above-mentionedseat barrel member 67 is securely fixed in the embeddedhole 65 of above-mentionedextension 59.
Thus, rotating and can rotate the mode of predetermined angular, the upper end of the left and right sides up-and-downrod 9d ofback support bar 9 is connected in the rear portion of above-mentionedextension 59 around the axis of lockingpin 68 towards the direction that departs from above-mentioned axis.
Clamping hasbuffer component 73 between the rear end face of the upper end of up-and-downrod 9d front surface andextension 59, and thisbuffer component 73 is made of soft elastomers such as synthetic rubber (エ ラ ス ト マ one, elastomer).
Describedbuffer component 73 can prevent to use because of chair is long-term the wearing and tearing or the damage of the connecting portion on theframework 39 that causes andback support bar 9 tops.
Cap member 74 covers on the linking portion of the outstandingaxial region 70a of the bolt shaft of exposing fromextension 59 the place aheads 70 andnut 72 from the place ahead ofextension 59, can prevent that described linking portion is exposed to the outside.
By being pressed in the fixinghole 76 that is opened inbolt shaft 70 front ends, describedcap member 74 is installed on the front surface ofextension 59 from the rearward outstanding fixedbar 75 that is provided with of describedcap member 74 inside center.
Be arranged between the rear surface of thetensioner 37 onframework 39 front surfaces atcap member 74 front surfaces and tensioning, keep the expectation compartment of terrain to be provided with gap a, when leaning onbackrest 36 etc., even user's back makestensioner 37 rearward crooked, also can utilize above-mentioned gap a to make thetensioner 37 can contactcap member 74, the linking portion betweenbolt shaft 70 and thenut 72 perhaps utilize the strain ofcap member 74 to keep cushioning effect, so that can directly not contact user's back.
The present invention is not limited to above-mentioned embodiment, also can adopt other modes of texturing to implement the present invention.

Claims (12)

CN200980140462.0A2008-10-162009-09-18ChairExpired - Fee RelatedCN102176847B (en)

Applications Claiming Priority (5)

Application NumberPriority DateFiling DateTitle
JP2008-2674102008-10-16
JP2008267410AJP5378747B2 (en)2008-10-162008-10-16 Chair
JP2009042050AJP5543117B2 (en)2009-02-252009-02-25 Chair backrest device
JP2009-0420502009-02-25
PCT/JP2009/066329WO2010044331A1 (en)2008-10-162009-09-18Chair

Publications (2)

Publication NumberPublication Date
CN102176847Atrue CN102176847A (en)2011-09-07
CN102176847B CN102176847B (en)2014-04-09

Family

ID=42106496

Family Applications (1)

Application NumberTitlePriority DateFiling Date
CN200980140462.0AExpired - Fee RelatedCN102176847B (en)2008-10-162009-09-18Chair

Country Status (6)

CountryLink
US (1)US20110198907A1 (en)
EP (1)EP2347679B1 (en)
KR (1)KR20110084241A (en)
CN (1)CN102176847B (en)
CA (1)CA2752446A1 (en)
WO (1)WO2010044331A1 (en)

Cited By (3)

* Cited by examiner, † Cited by third party
Publication numberPriority datePublication dateAssigneeTitle
CN103945738A (en)*2011-10-282014-07-23株式会社冈村制作所Stretching structure for stretched member
CN107613812A (en)*2015-08-312018-01-19株式会社冈村制作所Daily apparatus
CN107920666A (en)*2015-06-292018-04-17赫尔曼米勒有限公司 Attachment Structures for Suspension Seats

Families Citing this family (44)

* Cited by examiner, † Cited by third party
Publication numberPriority datePublication dateAssigneeTitle
JP5594878B2 (en)*2010-06-302014-09-24コクヨ株式会社 Chair
USD699957S1 (en)2012-09-202014-02-25Steelcase Inc.Chair
USD697727S1 (en)2012-09-202014-01-21Steeelcase Inc.Chair
USD942767S1 (en)2012-09-202022-02-08Steelcase Inc.Chair assembly
USD699958S1 (en)2012-09-202014-02-25Steelcase Inc.Chair
USD698166S1 (en)2012-09-202014-01-28Steelcase Inc.Chair
US8998339B2 (en)2012-09-202015-04-07Steelcase Inc.Chair assembly with upholstery covering
USD697730S1 (en)2012-09-202014-01-21Steelcase Inc.Chair
USD694536S1 (en)2012-09-202013-12-03Steelcase Inc.Chair
USD697728S1 (en)2012-09-202014-01-21Steelcase Inc.Chair
USD697729S1 (en)2012-09-202014-01-21Steelcase Inc.Chair
USD698165S1 (en)2012-09-202014-01-28Steelcase Inc.Chair
USD702981S1 (en)2012-09-202014-04-22Steelcase Inc.Chair
USD697726S1 (en)2012-09-202014-01-21Steelcase Inc.Chair
USD683151S1 (en)2012-09-202013-05-28Steelcase Inc.Chair
USD694538S1 (en)2012-09-202013-12-03Steelcase Inc.Chair
USD683150S1 (en)2012-09-202013-05-28Steelcase Inc.Chair
USD699959S1 (en)2012-09-202014-02-25Steelcase Inc.Chair
US11229294B2 (en)2012-09-202022-01-25Steelcase Inc.Chair assembly with upholstery covering
USD694540S1 (en)2012-09-202013-12-03Steelcase Inc.Chair
USD781605S1 (en)2015-04-242017-03-21Steelcase Inc.Chair
USD701053S1 (en)2012-09-202014-03-18Steelcase Inc.Chair
USD699061S1 (en)2012-09-202014-02-11Steelcase Inc.Arm assembly
US11304528B2 (en)2012-09-202022-04-19Steelcase Inc.Chair assembly with upholstery covering
USD698164S1 (en)2012-09-202014-01-28Steelcase Inc.Chair
USD694539S1 (en)2012-09-202013-12-03Steelcase Inc.Chair
USD688907S1 (en)2012-09-202013-09-03Steelcase Inc.Arm assembly
USD694537S1 (en)2012-09-202013-12-03Steelcase Inc.Chair
USD695034S1 (en)2012-11-132013-12-10Steelcase Inc.Chair
KR101378062B1 (en)*2013-02-152014-03-27(주) 파트라 chair
CN105263367A (en)*2013-06-062016-01-20株式会社伊藤喜 Chair
USD781604S1 (en)2015-04-242017-03-21Steelcase Inc.Chair
USD759415S1 (en)2015-04-242016-06-21Steelcase Inc.Headrest
USD760526S1 (en)2015-04-242016-07-05Steelcase Inc.Headrest assembly
USD758774S1 (en)2015-04-242016-06-14Steelcase Inc.Headrest assembly
USD773200S1 (en)*2015-11-032016-12-06Anji Hailong Furniture Co., Ltd.Chair
USD785353S1 (en)*2015-11-242017-05-02Zhejiang Botai Furniture Co., Ltd.Chair
DK201870155A1 (en)*2018-03-122019-09-30R82 A/SConnection joint
JP7163133B2 (en)*2018-10-172022-10-31株式会社オカムラ Backrest of chair, chair with same, method of assembling backrest
JP7154935B2 (en)*2018-10-172022-10-18株式会社オカムラ chair backrest and chair with it
CN113507865A (en)2019-02-212021-10-15斯特尔凯斯公司Body support assembly and methods for use and assembly thereof
US11357329B2 (en)2019-12-132022-06-14Steelcase Inc.Body support assembly and methods for the use and assembly thereof
KR20210111654A (en)2020-03-032021-09-13김보화Auxiliary Window for Air Conditioner Installation
USD1080281S1 (en)*2021-08-042025-06-24Alberto PalmaChair with mesh back

Family Cites Families (15)

* Cited by examiner, † Cited by third party
Publication numberPriority datePublication dateAssigneeTitle
US5050931A (en)*1986-04-101991-09-24Steelcase Inc.Controlled deflection front lip for seating
US5100201A (en)*1990-09-211992-03-31J.G. Furniture Systems Inc.Passive ergonomic work chair
JP3325783B2 (en)*1996-10-092002-09-17センター フォア デザイン リサーチ アンド ディベロプメント ナームローゼフェンノートチャップ Adjustable chair
JP2000014478A (en)1998-07-062000-01-18Toyo Kogei:KkChair
JP3023791B2 (en)*1999-06-102000-03-21株式会社岡村製作所 Chair back cover device
IT1315528B1 (en)*2000-10-182003-02-18Enrico Cioncada VARIABLE TRIM ARMCHAIR
JP4491125B2 (en)2000-10-302010-06-30株式会社岡村製作所 Chair backrest structure
US6609755B2 (en)*2001-06-152003-08-26Hon Technology Inc.Ergonomic chair
DE50304649D1 (en)*2003-02-162006-09-28Stoll Sedus Ag backrest
CN2798723Y (en)*2005-03-222006-07-26关小霏Arm-chair capable of increasing back-rest extension angle
US7416251B2 (en)*2005-06-102008-08-26Global Total OfficeChair
DE502005010192D1 (en)*2005-10-032010-10-14Vitra Patente Ag CHAIR
JP5002835B2 (en)*2005-10-272012-08-15コクヨ株式会社 Member connection structure
JP3118464U (en)*2005-11-102006-01-26株式会社クオリ Chair backrest stretch structure
CN200953958Y (en)*2006-09-302007-10-03苏同华 seat back

Cited By (5)

* Cited by examiner, † Cited by third party
Publication numberPriority datePublication dateAssigneeTitle
CN103945738A (en)*2011-10-282014-07-23株式会社冈村制作所Stretching structure for stretched member
CN103945738B (en)*2011-10-282016-04-13株式会社冈村制作所Structure is established in opening of tensioner
CN107920666A (en)*2015-06-292018-04-17赫尔曼米勒有限公司 Attachment Structures for Suspension Seats
CN107613812A (en)*2015-08-312018-01-19株式会社冈村制作所Daily apparatus
CN107613812B (en)*2015-08-312021-06-15株式会社冈村制作所Daily utensil

Also Published As

Publication numberPublication date
EP2347679B1 (en)2013-03-13
CN102176847B (en)2014-04-09
EP2347679A1 (en)2011-07-27
CA2752446A1 (en)2010-04-22
WO2010044331A1 (en)2010-04-22
KR20110084241A (en)2011-07-21
US20110198907A1 (en)2011-08-18
EP2347679A4 (en)2012-03-07

Similar Documents

PublicationPublication DateTitle
CN102176847B (en)Chair
CN100574671C (en) Connection structure of parts
CN102946762B (en)Chair
JP5005167B2 (en) Chair backrest structure
CN102525162B (en)Portable chair
US10455941B2 (en)Collapsible butterfly chair
US9609952B2 (en)Chair, especially, office chair
FR2676632A1 (en) SHELL FOR ARTICULATED SEAT.
JP2020058764A (en) Chair
JP2017086674A (en)Chair
JP2010158335A (en)Structure of spreading upholstery in chair and method thererof
CN220212473U (en)Back support for a seat
JP3922812B2 (en) The structure of the shoulder in articulated dolls
JP5496985B2 (en) Chair backrest structure
JP5467814B2 (en) Chair back or seat
JP4484659B2 (en) Tensioning structure for upholstery in chair seats, etc.
JP3100353B2 (en) Chair
CN217337946U (en)Detachable sofa chair
CN215833702U (en)3D presss from both sides mirror subassembly
JP5405837B2 (en) Chair
JP4486465B2 (en) Chair backrest mounting structure
JP5378747B2 (en) Chair
JP2709333B2 (en) Chair
JP2008119248A (en)Structure for installing cover on back panel of chair
KR200235212Y1 (en)Ball Chair

Legal Events

DateCodeTitleDescription
C06Publication
PB01Publication
C10Entry into substantive examination
SE01Entry into force of request for substantive examination
C14Grant of patent or utility model
GR01Patent grant
CF01Termination of patent right due to non-payment of annual fee
CF01Termination of patent right due to non-payment of annual fee

Granted publication date:20140409

Termination date:20200918


[8]ページ先頭

©2009-2025 Movatter.jp