



技术领域technical field
本发明涉及一种外科缝切器械,属于医疗器械技术领域。The invention relates to a surgical sewing and cutting instrument, which belongs to the technical field of medical instruments.
背景技术Background technique
外科缝切器械被广泛用于外科手术中用于伤口缝合、内部组织缝合与切割,典型的外科缝切器械如美国专利US5129570所揭示,具有缝合与切割两个功能,在进行伤口缝合的同时,将多余的组织切除。该类外科缝切器械一般包括上、下两个钳夹,以及用于闭合上、下钳夹的闭合把手,相对设置在上下钳夹前端的钉砧和钉仓,设于钉仓内并可同时相对所述钉仓移动的推钉杆、推钉片和切刀,以及驱动所述推钉片和切刀移动的推钮。所述钉仓内排列设置有缝合钉,所述推钉片将缝合钉推向钉砧,所述切刀将位于钉仓和钉砧之间的组织切断。Surgical suturing instruments are widely used in surgical operations for wound suturing, internal tissue suturing and cutting. A typical surgical suturing instrument, as disclosed in U.S. Patent No. 5,129,570, has two functions of suturing and cutting. While suturing the wound, Excess tissue is excised. This type of surgical sewing and cutting instrument generally includes upper and lower jaws, and a closing handle for closing the upper and lower jaws. The nail pushing rod, nail pushing piece and cutter moving relative to the staple cartridge at the same time, and the push button driving the nail pushing piece and cutting knife to move. Staples are arranged in the staple cartridge, the staple pusher pushes the staples to the anvil, and the cutter cuts off the tissue between the staple cartridge and the anvil.
为了防止在上下钳夹还未闭合时推动推钮产生的误操作,现有技术的外科缝切器械都会设置一种保险机构。In order to prevent misoperation caused by pushing the push button when the upper and lower jaws are not closed, a safety mechanism is provided in the surgical cutting instruments in the prior art.
美国专利US5129570号揭示了一种保险机构,在器械的中部设置一个带有切刀通道与推钉杆通道的保险块,在切刀下面设置弹片。当器械处于打开位置(即上、下两个钳夹未闭合)时,弹片将切刀弹起,使切刀无法通过切刀通道,起到保险作用;当器械的上、下两个钳夹闭合后,钉仓压迫切刀顶部,使切刀克服弹片的弹力并恢复到与切刀通道对准的状态,这时保险解除,器械可以击发使用。U.S. Patent No. US5129570 discloses a safety mechanism. A safety block with a cutter channel and a pusher rod channel is arranged in the middle of the instrument, and a shrapnel is arranged under the cutter. When the instrument is in the open position (that is, the upper and lower jaws are not closed), the shrapnel bounces the cutter so that the cutter cannot pass through the cutter channel, which plays a role of insurance; when the upper and lower jaws of the instrument After closing, the staple cartridge presses the top of the cutter, so that the cutter overcomes the elastic force of the shrapnel and returns to the state aligned with the cutter channel. At this time, the safety is released and the instrument can be used for firing.
美国专利US7055730号揭示了另一种保险机构,在器械的中部设置一个带有推刀杆通道与推钉杆通道的保险块,该保险块在扭簧作用下可绕器械转动。当器械处于打开位置(即上、下两个钳夹未闭合)时,保险块发生扭转,使推钉杆与推刀杆都无法通过通道,起到保险作用;当器械的上、下两个钳夹闭合后,钉仓压迫保险块使其克服扭簧的弹力而恢复正常位置(即推钉杆与推刀杆分别与其保险块上的通道对准),使推钉杆与推刀杆都可通过保险块,这时保险解除,器械可以击发使用。U.S. Patent No. US7055730 discloses another safety mechanism. A safety block with a channel for a knife pusher and a channel for a nail pusher is arranged in the middle of the instrument, and the safety block can rotate around the instrument under the action of a torsion spring. When the instrument is in the open position (that is, the upper and lower jaws are not closed), the safety block is twisted so that neither the nail pusher nor the knife pusher can pass through the channel, which plays a role of insurance; when the upper and lower jaws of the instrument are not closed After the jaws are closed, the staple magazine presses the safety block to overcome the elastic force of the torsion spring and return to the normal position (that is, the nail push rod and the push knife rod are respectively aligned with the channels on the safety block), so that the nail push rod and the push knife rod are both aligned. Can pass through the safety block, at this time the safety is released, and the instrument can be fired and used.
发明内容Contents of the invention
本发明的目的是提出一种具有简单结构的保险机构的外科缝切器械。The object of the present invention is to propose a surgical stapling instrument with a safety mechanism of simple structure.
本发明的目的,将通过以下技术方案得以实现:The purpose of the present invention will be achieved through the following technical solutions:
一种外科缝切器械,包括:可相互闭合或打开的上、下钳夹,所述下钳夹的凹形内部设有滑动块,滑动块的远端连接推钉机构及推刀机构,所述下钳夹与滑动块之间设有保险机构,所述保险机构具有保险状态和释放状态,当所述保险机构处于保险状态时,所述保险机构连接于下钳夹与滑动块之间并限制所述滑动块沿下钳夹的轴线运动,当所述保险机构处于释放状态时,所述下钳夹与滑动块脱离。A surgical suturing instrument, comprising: upper and lower jaws that can be closed or opened mutually, the concave interior of the lower jaws is provided with a sliding block, and the distal end of the sliding block is connected with a nail pushing mechanism and a knife pushing mechanism. A safety mechanism is provided between the lower jaw and the sliding block, and the safety mechanism has a safety state and a release state. When the safety mechanism is in the safety state, the safety mechanism is connected between the lower jaw and the sliding block and The sliding block is restricted from moving along the axis of the lower jaw, and when the safety mechanism is in a released state, the lower jaw is disengaged from the sliding block.
进一步地,所述保险机构为设置在下钳夹内表面的弹片和相应设置在滑动块上的凹槽,当所述弹片处于保险状态时,所述弹片卡在所述凹槽内。Further, the safety mechanism is a shrapnel arranged on the inner surface of the lower jaw and a groove correspondingly arranged on the sliding block. When the shrapnel is in the safe state, the shrapnel is stuck in the groove.
进一步地,所述弹片焊接于所述下钳夹的内表面上。Further, the elastic piece is welded on the inner surface of the lower jaw.
进一步地,所述弹片为下钳夹的表面冲压而成。Further, the elastic piece is stamped from the surface of the lower jaw.
进一步地,所述弹片与下钳夹的内表面之间呈锐角设置。Further, the elastic piece is set at an acute angle with the inner surface of the lower jaw.
进一步地,所述保险机构的触发机构为上钳夹。Further, the trigger mechanism of the safety mechanism is an upper jaw.
再进一步地,所述保险机构的触发机构为上钳夹的侧壁。Still further, the trigger mechanism of the safety mechanism is the side wall of the upper jaw.
本发明的有益效果主要体现在:结构简单,操作有效,具有很好的推广价值。The beneficial effects of the invention are mainly reflected in: simple structure, effective operation and good popularization value.
附图说明Description of drawings
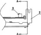
图1是下钳夹的结构示意图,此时上、下钳夹未闭合。Fig. 1 is a schematic diagram of the structure of the lower jaw, at this time the upper and lower jaws are not closed.
图2是图1中沿A-A的剖视图。Fig. 2 is a sectional view along A-A in Fig. 1 .
图3是图1中滑动块的结构示意图,此时下钳夹仅仅显示弹片。Fig. 3 is a schematic structural diagram of the sliding block in Fig. 1, at this time, only the shrapnel is shown in the lower jaw.
图4是上、下钳夹的结构示意图,此时上、下钳夹已闭合。Fig. 4 is a structural schematic diagram of the upper and lower jaws, at this time the upper and lower jaws are closed.
图5是图4中沿B-B的剖视图。Fig. 5 is a sectional view along B-B in Fig. 4 .
其中:in:
1上钳夹 2下钳夹 3滑动块1
11侧壁 21弹片 31凹槽11
具体实施方式Detailed ways
如图1-3所示,本发明提供了一种外科缝切器械的保险机构。与现有技术一致,所述外科缝切机构包括塑料外壳,可相互闭合或打开的上、下钳夹,上钳夹1的远端设有钉砧,下钳夹2的远端设有钉仓。当然,上下钳夹的位置可以互换,本发明为了表达清楚才如此定义。下钳夹2的近端的凹形内部设有滑动块3,所述滑动块远端设有推钉杆和推刀杆,分别用于击发缝合钉和切割组织。使用时,将组织放在钉砧与钉仓之间,然后对合上、下钳夹,闭合锁紧钳,使上、下钳夹夹紧组织,然后推动击发推钮,即可实施组织的缝合和切割。As shown in Figures 1-3, the present invention provides a safety mechanism for a surgical stapling instrument. Consistent with the prior art, the surgical suturing mechanism includes a plastic shell, upper and lower jaws that can be closed or opened mutually, the far end of the
本发明的一个重要的特点在于:所述下钳夹2与滑动块3之间设有保险机构,所述保险机构具有保险状态和释放状态,当所述保险机构处于保险状态时,所述保险机构连接于下钳夹2与滑动块3之间并限制所述滑动块3沿下钳夹2的轴线运动;当所述保险机构处于释放状态时,所述下钳夹2与滑动块3脱离,此时滑动块可以沿下钳夹2的轴线运动。An important feature of the present invention is that a safety mechanism is provided between the
进一步地,所述保险机构为设置在下钳夹2内表面的弹片21和相应设置在滑动块3表面的凹槽31,当所述弹片21处于保险状态时,即该弹片21与下钳夹2的内表面之间呈锐角设置时,所述弹片21卡设于所述凹槽31内。由于如此设置,使得滑动块3与下钳夹2在轴向位置上相对固定,起到保险作用。所述弹片21焊接于所述下钳夹2的内表面上,也可以为下钳夹2的表面冲压而成。这样的设计成本更低,加工也更加方便。Further, the safety mechanism is a
进一步地,所述保险机构的触发机构为上钳夹的侧壁。如图4和图5所示,当上、下两个钳夹1、2闭合后,上钳夹1的侧壁11对所述弹片21产生一个压紧力,使弹片21变形并最终与所述下钳夹的内表面平行。这时,该弹片21与滑动块3即脱离,滑动块3便可沿下钳夹的轴线移动。Further, the trigger mechanism of the safety mechanism is the side wall of the upper jaw. As shown in Figure 4 and Figure 5, when the upper and
手术时,将组织放在上、下钳夹的工作区域,即钉仓、钉砧间,闭合器械,此时上钳夹的近端卡入下钳夹近端内,挤压保险机构的弹片21,使其脱离滑动块上的凹槽31,此时保险解除,滑动块3可以在击发推钮的带动下向前移动,进而推动推钉杆及推刀杆向前移动,继而将钉推出于钉仓并钉入组织,切刀在2个平行的缝线中将组织切开,一直到钉仓内的钉都被击发出来,最后将滑动块3拉回器械近端的初始位置。最后,按压释放按钮,打开器械,手术完成。During the operation, the tissue is placed in the working area of the upper and lower jaws, that is, between the staple bin and the anvil, and the instrument is closed. At this time, the proximal end of the upper jaw snaps into the proximal end of the lower jaw, squeezing the shrapnel of the safety mechanism. 21, make it break away from the
本优选实施例中,所述保险机构的触发机构为上钳夹的侧壁,当然也可以是其别的部位,例如底部。只要放上下钳夹闭合时,能压迫弹片变形即可。In this preferred embodiment, the trigger mechanism of the safety mechanism is the side wall of the upper jaw, of course, it can also be other parts thereof, such as the bottom. As long as the upper and lower jaws are closed, the shrapnel can be pressed to deform.
本发明尚有多种实施方式,凡采用等同变换或者等效变换而形成的所有技术方案,均落在本发明的保护范围之内。There are still many implementations in the present invention, and all technical solutions formed by equivalent transformation or equivalent transformation fall within the protection scope of the present invention.
| Application Number | Priority Date | Filing Date | Title |
|---|---|---|---|
| CN 201010547390CN102138814B (en) | 2010-11-17 | 2010-11-17 | Surgical stapling instrument |
| Application Number | Priority Date | Filing Date | Title |
|---|---|---|---|
| CN 201010547390CN102138814B (en) | 2010-11-17 | 2010-11-17 | Surgical stapling instrument |
| Publication Number | Publication Date |
|---|---|
| CN102138814A CN102138814A (en) | 2011-08-03 |
| CN102138814Btrue CN102138814B (en) | 2013-04-17 |
| Application Number | Title | Priority Date | Filing Date |
|---|---|---|---|
| CN 201010547390ActiveCN102138814B (en) | 2010-11-17 | 2010-11-17 | Surgical stapling instrument |
| Country | Link |
|---|---|
| CN (1) | CN102138814B (en) |
| Publication number | Priority date | Publication date | Assignee | Title |
|---|---|---|---|---|
| US9855045B2 (en)* | 2014-12-09 | 2018-01-02 | Covidien Lp | Anvil assembly delivery system |
| Publication number | Priority date | Publication date | Assignee | Title |
|---|---|---|---|---|
| EP0488768A1 (en)* | 1990-11-30 | 1992-06-03 | Ethicon, Inc. | Surgical stapler |
| US7055730B2 (en)* | 2000-10-13 | 2006-06-06 | Tyco Healthcare Group Lp | Surgical fastener applying apparatus |
| CN101869497A (en)* | 2010-06-10 | 2010-10-27 | 苏州天臣国际医疗科技有限公司 | Sewing and cutting machine |
| CN201949070U (en)* | 2010-11-17 | 2011-08-31 | 苏州天臣国际医疗科技有限公司 | Surgical sewing and cutting instrument |
| Publication number | Priority date | Publication date | Assignee | Title |
|---|---|---|---|---|
| EP0488768A1 (en)* | 1990-11-30 | 1992-06-03 | Ethicon, Inc. | Surgical stapler |
| US7055730B2 (en)* | 2000-10-13 | 2006-06-06 | Tyco Healthcare Group Lp | Surgical fastener applying apparatus |
| CN101869497A (en)* | 2010-06-10 | 2010-10-27 | 苏州天臣国际医疗科技有限公司 | Sewing and cutting machine |
| CN201949070U (en)* | 2010-11-17 | 2011-08-31 | 苏州天臣国际医疗科技有限公司 | Surgical sewing and cutting instrument |
| Publication number | Publication date |
|---|---|
| CN102138814A (en) | 2011-08-03 |
| Publication | Publication Date | Title |
|---|---|---|
| CN103654898B (en) | Linear seam cutting device | |
| CN101991453B (en) | Linear type cutting seaming device | |
| CN201949071U (en) | Linear type cutting suturing device | |
| CN103860221B (en) | Linear stapling cutter nail-head component | |
| CN102743201B (en) | Linear cutting suturing device | |
| CN101991452B (en) | Linear type surgical stapling apparatus | |
| CN102068290A (en) | Linear cutting stapler | |
| CN101721236A (en) | Surgical cutting and binding apparatus | |
| CN111904505A (en) | Medical instrument | |
| CN103767752B (en) | A kind of surgical instruments of safety one-hand operation | |
| CN202113110U (en) | Linear cut stapler | |
| CN109953786A (en) | Nail cartridge assembly and medical stapler using the same | |
| CN101991450A (en) | Linear seam cutting device | |
| WO2017107947A1 (en) | Tissue closure device, tissue closure component, and medical equipment | |
| CN210903169U (en) | Medical instrument | |
| CN203609466U (en) | Linear stitching and cutting apparatus | |
| CN102138814B (en) | Surgical stapling instrument | |
| CN101869497B (en) | Stitching Instruments | |
| CN202051756U (en) | Linear cutting and suturing machine | |
| CN102138815B (en) | Suture device for surgical operation | |
| CN102058421A (en) | Linear cutting and stitching instrument | |
| CN103860220B (en) | Chamber mirror surgical operation straight line seaming and cutting device | |
| CN201939413U (en) | Linear type sewing-cutting machine | |
| CN106175861B (en) | Tissue closing device, tissue closure component and the medical instrument equipped with the tissue closure component | |
| CN101849851B (en) | cutting stapler |
| Date | Code | Title | Description |
|---|---|---|---|
| C06 | Publication | ||
| PB01 | Publication | ||
| C10 | Entry into substantive examination | ||
| SE01 | Entry into force of request for substantive examination | ||
| C14 | Grant of patent or utility model | ||
| GR01 | Patent grant | ||
| CP03 | Change of name, title or address | Address after:215021 No. 278 Dongping Street, Suzhou Industrial Park, Jiangsu Province Patentee after:Tianchen International Medical Technology Co., Ltd Address before:215021, 1355 international science and Technology Park, Jinji Lake Avenue, Suzhou Industrial Park, Jiangsu, 3 21A Patentee before:TOUCHSTONE INTERNATIONAL MEDICAL SCIENCE Co.,Ltd. | |
| CP03 | Change of name, title or address |