Movatterモバイル変換


[0]ホーム

URL:


CN102098965A - Ultrasonic probe having heat sink - Google Patents

Ultrasonic probe having heat sink
Download PDF

Info

Publication number
CN102098965A
CN102098965ACN2009801285123ACN200980128512ACN102098965ACN 102098965 ACN102098965 ACN 102098965ACN 2009801285123 ACN2009801285123 ACN 2009801285123ACN 200980128512 ACN200980128512 ACN 200980128512ACN 102098965 ACN102098965 ACN 102098965A
Authority
CN
China
Prior art keywords
ultrasound probe
heat sink
back layer
heat
ultrasound
Prior art date
Legal status (The legal status is an assumption and is not a legal conclusion. Google has not performed a legal analysis and makes no representation as to the accuracy of the status listed.)
Pending
Application number
CN2009801285123A
Other languages
Chinese (zh)
Inventor
林圣珉
Current Assignee (The listed assignees may be inaccurate. Google has not performed a legal analysis and makes no representation or warranty as to the accuracy of the list.)
Humanscan Co Ltd
Original Assignee
Humanscan Co Ltd
Priority date (The priority date is an assumption and is not a legal conclusion. Google has not performed a legal analysis and makes no representation as to the accuracy of the date listed.)
Filing date
Publication date
Application filed by Humanscan Co LtdfiledCriticalHumanscan Co Ltd
Publication of CN102098965ApublicationCriticalpatent/CN102098965A/en
Pendinglegal-statusCriticalCurrent

Links

Images

Classifications

Landscapes

Abstract

The present invention provides an ultrasonic probe which includes a heat sink (150) provided in a rear layer (140) to dissipate heat. The heat sink is coupled to a rear surface (141) of the rear layer such that contact areas there between are increased. The heat sink includes a plurality of heat conductive protrusions (151) on one surface thereof. The heat conductive protrusions are inserted into respective heat conductive depressions (142) formed in the rear layer. Each heat conductive depression has a shape corresponding to the respective heat conductive protrusion. Preferably, each heat conductive protrusion has a bar shape.

Description

Has heat sink ultrasound probe
Technical field
Present invention relates in general to ultrasound probe, more specifically, relate to a kind of heat sink ultrasound probe that has, the described heat sink deterioration that prevents the piezoelectric device characteristic, thereby prevent the deterioration of ultrasound probe performance and ruggedness, prevent that also acoustic lens from overheating, thereby reduce the temperature on the ultrasound probe surface that contacts with the patient.
Background technology
Usually, supersonic imaging device mainly be included in the ultrasound probe changed between the signal of telecommunication and the ultrasonic signal, handle that institute launch or the signal processing unit of received signal and use from the display of the signal representation image of ultrasound probe and signal processing unit reception.
The ultrasound probe that carries out conversion of signals is the very important part of decision ultrasound image quality.Particularly, ultrasound probe is changed between electric energy and acoustic energy.Ultrasound probe must satisfy primary condition: the focusing power of promptly good electro-acoustic conversion efficiency (electromechanical coupling factor), ultrasonic pulse characteristic and ultrasonic beam.
Representative examples with the probe of interpretation routine medical ultrasound ripple with reference to the accompanying drawings.
Fig. 1 shows the sectional view of conventional medical ultrasound ripple probe.As shown in drawings, medicalultrasound ripple probe 10 comprisesacoustic lens 11,matching layer 12,piezoelectric device 13 andback layer 14, arranges successively from the front end that contacts with the patient.
Acoustic lens 11 covers the front surface of matchinglayer 12 and is used for concentration ultrasonic.
Matchinglayer 12 is provided on the electrode of ultrasound wave transmission/receiving surface ofpiezoelectric device 13 and is used to improve hyperacoustic reflectance and efficient.
Piezoelectric device 13 is attached to the front surface ofback layer 14 and passes through FPCB (flexible printed circuit board; 15) be connected to main PCB (printed circuit board (PCB)).Piezoelectric device 130 converts the electrical signal to ultrasound wave and launch ultrasound wave in air, and wherein said ultrasound wave is an acoustical signal.Piezoelectric device 130 also will become the signal of telecommunication and launch the described signal of telecommunication to main equipment by the ultrasonic reflections conversion of signals that reflects from air.
Back layer 14 is fixed on theshell 16, thus they are closed together after backwardlayers 14 andshell 16 applysilicon.Back layer 14 is used to absorb the ultrasonic waves transmitted of not expecting backward.
According to desired purpose, the conventional medicalultrasound ripple probe 10 that will have above-mentioned structure is divided into two classes probe, i.e. the therapeutic treatment that uses in the image sensing probe of image diagnosing equipment and treatment of cancer or fat combustion HIFU (high-intensity focusing ultrasonic wave) therapy system probe.
As for the ultrasound probe that is used for imaging, recently, increased number of devices on the small size that is installed to ultrasound probe gradually to promote clearness.Therefore here, little device has increased the electrical impedance difference between image diagnosing equipment and the probe, will not convert hyperacoustic electric energy to and converts heat energy to and lose.
Be used for the higher output of ultrasound probe needs of therapeutic treatment, different with the ultrasound probe that is used for imaging.The heat of the device generation of therefore, using from probe is higher.
Owing to following two reasons, the heat that must limit in this medical ultrasound ripple probe produces.
At first, the piezoelectric device that uses in the ultrasound probe has the characteristic that can not bear too many heat.Therefore, if ultrasound probe remains on high temperature continuously, the characteristic of piezoelectric device meeting deterioration, performance and ruggedness deterioration cause popping one's head in.
The second, typically, when ultrasound probe is worked, it is contacted with the patient, therefore must limit the temperature of ultrasound probe and patient's contact surface.For producing big calorimetric ultrasound probe, when the operation ultrasound probe, apply low voltage, because the temperature of ultrasound probe and patient's contact surface necessarily can not surpass owing to ultrasound probe self produces the limit temperature that heat produces to it.Yet this has reduced the output of ultrasound probe, thereby makes its performance degradation.
Summary of the invention
Technical problem
In order to overcome in the effort that the problems referred to above that conventional medical ultrasound ripple probe has do, produce to prevent the method for ultrasound probe performance and ruggedness deterioration, can use that the piezoelectric device with high-k also can improve the radiating efficiency of ultrasound probe as suppressing heat.
Have in use under the situation of piezoelectric device of high-k,, produce so can suppress the heat of ultrasound probe because the electrical impedance difference between piezoelectric device and the system has reduced.But, the piezoelectric device that can use storehouse type piezoelectric device or have a high-k is realized above purpose, because this piezoelectric device availability is limited or make storehouse type piezoelectric device difficulty, thereby has restriction.
In addition, though back layer make to increase thermal diffusion by material with high heat conductance, have in use aspect the material of high heat conductance also restricted because the back layer must satisfy hyperacoustic damping characteristic.Particularly, for the structure that is used to improve the ultrasound probe radiating efficiency, there is restriction, heat in probe and patient's the contact surface produced minimize and such radiator structure necessarily can not have influence on the performance of ultrasound probe.
Therefore, consider that the above problem that takes place in the prior art made the present invention, the purpose of this invention is to provide a kind of ultrasound probe, construct this ultrasound probe, thereby by back layer heat radiation preventing contact surface emitting heat quantity by contacting with the patient, and the performance that such radiator structure can the deterioration ultrasound probe.
The solution of problem
In order to realize above purpose, the invention provides a kind of ultrasound probe, this ultrasound probe comprises and is provided in the back layer heat sink in order to heat radiation.
Beneficial effect of the present invention
In the present invention, the heat that produces from piezoelectric device is transmitted to heat sink rapidly via the back layer and is dissipated away.Therefore, the deterioration of piezoelectric device characteristic can be prevented, thereby the deterioration of ultrasound probe performance and ruggedness can be prevented.And, can produce the temperature of the contact surface that reduces ultrasound probe and patient by preventing the heat in the acoustic lens.In addition, prevent to absorb ultrasound wave in the layer of back by towards the front surface of back layer secondary reflection again, therefore can keep the performance of ultrasound probe.
Description of drawings
Fig. 1 shows the sectional view of conventional medical ultrasound ripple probe;
Fig. 2 shows the perspective view that has heat sink ultrasound probe according to first embodiment of the invention;
Fig. 3 shows the sectional view that has heat sink ultrasound probe according to first embodiment of the invention;
Fig. 4 shows the heat sink perspective view according to the ultrasound probe of first embodiment of the invention;
Fig. 5 shows the perspective view that has heat sink ultrasound probe according to second embodiment of the invention;
Fig. 6 shows the sectional view that has heat sink ultrasound probe according to second embodiment of the invention;
Fig. 7 shows the heat sink perspective view according to the ultrasound probe of second embodiment of the invention;
Fig. 8 shows the sectional view that has heat sink ultrasound probe according to third embodiment of the invention;
Fig. 9 shows the heat sink perspective view according to the ultrasound probe of third embodiment of the invention;
Figure 10 shows the sectional view that has heat sink ultrasound probe according to fourth embodiment of the invention;
Figure 11 shows the heat sink perspective view according to the ultrasound probe of fourth embodiment of the invention;
Figure 12 shows the sectional view that has heat sink ultrasound probe according to fifth embodiment of the invention; And
Figure 13 shows the heat sink perspective view according to the ultrasound probe of fifth embodiment of the invention.
The specific embodiment
Hereinafter, with preferred embodiment of the present invention will be described in detail by reference to the drawing.In description of the invention,, thereby the present invention can be described more clearly with the detailed explanation of omitting to known function and structure.
Fig. 2 shows the perspective view that hasheat sink 150ultrasound probe 100 according to first embodiment of the invention.Fig. 3 shows the sectional view that hasheat sink 150ultrasound probe 100 according to first embodiment of the invention.Fig. 4 showsheat sink 150 perspective view according to theultrasound probe 100 of first embodiment of the invention.As shown in the figure, theultrasound probe 100 according to having of first embodiment of theinvention heat sink 150 comprisesacoustic lens 110, matchinglayer 120,piezoelectric device 130 andback layer 140 successively from the front end that contacts with thepatient.In back layer 140, provideheat sink 150.
Acoustic lens 110 is attached to matchinglayer 120, and its shape covers the front surface of matching layer 120.Acoustic lens 110 is used for concentration ultrasonic.
Matching layer 120 is provided on the electrode on ultrasound wave reception/transmission surface ofpiezoelectric device 130, to improve hyperacoustic emission effciency and reflectance.
Piezoelectric device 130 adheres on the front surface of back layer 140.First and second electrodes that are connected to the PCB (not shown) by FPCB 160 (flexible printed circuit board) are provided on the respective opposite surface of piezoelectric device 130.Piezoelectric device 130 converts the electrical signal to ultrasound wave and launch ultrasound wave in air, and wherein said ultrasound wave is an acoustical signal.Piezoelectric device 130 will become the signal of telecommunication and launch the described signal of telecommunication to main equipment by the ultrasonic reflections conversion of signals that reflects from air.
Back layer 140 is coupled toheat sink 150 and also absorbs the unnecessary ultrasound wave of emission backward.For withheat sink 150 couplings, can withheat sink 150 molded integratedlyback layers 140.
Heatsink 150 by high heat conductivity metal, and for example aluminum (Al) and copper (Cu) are made.Heat sink 150 are fixed in therear surface 141 ofback layer 140, that is, on theback layer 140 with the surface of the surface opposite that adheres topiezoelectric device 130 on.Withheat sink 150 andshell 170 closed together after, be fixed inshell 170 by applying silicon withheat sink 150 to them.
Preferably withheat sink 150rear surfaces 141 of being coupled toback layer 140, make therebetween contact area enough greatly with therebetween heat passage of increase.In order to realize above purpose, provide a plurality ofheat transfer projections 152 on the surface ofmatrix 151heat sink 150, be used to increase heat transfer efficiency with back layer 140.In addition, inback layer 140, form the correspondingheat conduction depression 142 of a plurality of shapes andconduction protrusion 152, cave in 142 therebyconduction protrusion 152 is inserted corresponding heat conduction.So, becauseback layer 140 has the correspondingheat conduction depression 142 of shape andconduction protrusion 152, thus the tightr contact betweenheat conduction depression 142 and theconduction protrusion 152 is provided, thus heat passage betweenback layer 140 andheat sink 150 strengthened.
As shown in Figure 4, eachconduction protrusion 152 preferably has bar-shaped, thereby makes the contact area maximization withback layer 140, andback layer 140 is connected toconduction protrusion 152 byheat conduction depression 142.
Have the having according to first embodiment of the invention inheat sink 150 theultrasound probe 100 of above-mentioned structure, the conduction of heat that will produce frompiezoelectric device 130 byback layer 140 is to heatsink 150 and dissipates away, thereby improves the speed oflayer 140 heat transfer backward.Particularly, because theconduction protrusion 152 thatultrasound probe 100 is configured toheat sink 150 is inserted in the correspondingheat conduction depression 142 ofback layer 140, increase the contact surface between theback layer 140 andheat sink 150, thereby can significantly strengthen heat passage fromback layer 140heat sink 150.
So, in the present invention, can utilizeheat sink 150 heat that dissipate rapidly and produce from piezoelectric device 130.Therefore, can protectpiezoelectric device 130, thereby prevent the deterioration in characteristics ofpiezoelectric device 130 not by the hot injury.In addition,back layer 140 can keep its ultrasonic attenuation characteristic.Therefore, can prevent the performance ofultrasound probe 100 and the deterioration of ruggedness.In addition, conduct owing to weakened, so can reduce the temperature of the contact surface of theultrasound probe 100 that will contact with the patient to the heat ofacoustic lens 110.
Fig. 5 shows the perspective view that hasheat sink 250ultrasound probe 200 according to second embodiment of the invention.Fig. 6 shows the sectional view that hasheat sink 250ultrasound probe 200 according to second embodiment of the invention.As shown in the figure, theultrasound probe 200 according to having of second embodiment of theinvention heat sink 250 comprisesacoustic lens 210, matchinglayer 220,piezoelectric device 230 andback layer 240 successively from the front end that will contact with thepatient.In back layer 240, provide heat sink 250.Exceptheat sink 250, keep identical according to the general arrangement of theultrasound probe 200 of second embodiment withultrasound probe 100 according to first embodiment, therefore there is no need further to explain.
In order to be coupled toback layer 240 so that increase therebetween contact area withheat sink 250,conduction protrusion 252 vertically is provided on the surface of thematrix 251heat sink 250 and inserts in the correspondingheat conduction depression 242 that is formed in the back layer 240.As shown in Figure 7, eachconduction protrusion 252 all has bar-shaped, has inclinedplane 252 to form sharp-pointed end on the one end.
Eachheat conduction depression 242 ofback layer 240 has andcorresponding conduction protrusion 252 corresponding shapes, makes the whole surface ofconduction protrusion 252 closely to contact withback layer 240.
Have the having according to second embodiment of the invention inheat sink 250 theultrasound probe 200 of above-mentioned structure, to be transmitted to heatsink 250 rapidly from the heat thatpiezoelectric device 230 produces byback layer 240 and also dissipate away, so prevented the deterioration ofpiezoelectric device 230 characteristics.Therefore, can prevent the deterioration ofultrasound probe 200 performances and ruggedness.And, can utilize the reduction ofacoustic lens 210 temperature to reduce the temperature of the contact surface thatultrasound probe 200 will contact with the patient.
In addition, as shown in Figure 6, theinclined plane 252a that forms on theconduction protrusion 252 byheat sink 250 is along laterally reflecting the ultrasound wave that is absorbed in the back layer 240.So, prevent to absorb ultrasound wave in theback layer 240 by towards the front surface ofultrasound probe 200 secondary reflection again, thereby can inback layer 240, reuptake ultrasound wave and make its disappear thus (extinguished).Therefore, can realize the hope purpose ofback layer 240, that is the purpose of absorption back reflection ripple is so prevented the deterioration ofultrasound probe 200 performances.
Fig. 8 shows the sectional view that hasheat sink 350 ultrasound probe 300 according to third embodiment of the invention.Fig. 9 showsheat sink 350 perspective view according to the ultrasound probe 300 of third embodiment of the invention.As shown in the figure, the ultrasound probe 300 according to having of third embodiment of theinvention heat sink 350 comprises acoustic lens 310, matching layer 320, piezoelectric device 330 and back layer 340 successively from the front end that will contact with the patient.In back layer 340, provide heat sink 350.Exceptheat sink 350, keep identical according to the general arrangement of the ultrasound probe 300 of the 3rd embodiment withultrasound probe 100 according to first embodiment, therefore there is no need further to explain.
In order to be coupled to back layer 340 so that increase therebetween contact area withheat sink 350,conduction protrusion 352 vertically is provided on the surface of thematrix 351heat sink 350 and inserts in the corresponding heat conduction depression 342 that is formed in the back layer 340.Eachconduction protrusion 352 all forms bar-shaped, wherein haspatchhole 352a, and patchhole penetrates to its near-end from the far-end ofconduction protrusion 352.
Patchhole 352a has taper shape, with prevent to absorb ultrasound wave in the back layer 340 byheat sink 350 towards the front surface of ultrasound probe 300 secondary reflection again.
Each heat conduction depression 342 of back layer 340 has andcorresponding conduction protrusion 352 corresponding shapes, makes the whole surface ofconduction protrusion 352 closely to contact with back layer 340.In other words, the shape of each heat conduction depression 342 can be held correspondingconductive prominence 352, provides to insert projection 342a and insert among thepatchhole 352a ofcorresponding conduction protrusion 352 in each heat conduction depression 342.
Have the having according to third embodiment of the invention inheat sink 350 the ultrasound probe 300 of above-mentioned structure, to be transmitted to heatsink 350 rapidly from the heat that piezoelectric device 330 produces by back layer 340 and also dissipate away, so prevented the deterioration of piezoelectric device 330 characteristics.Therefore, can prevent the deterioration of ultrasound probe 300 performances and ruggedness.And, can utilize the reduction of acoustic lens 310 temperature to reduce the temperature of the contact surface that ultrasound probe 300 will contact with the patient.
In addition, absorb ultrasound wave in the back layer 340,, prevented the performance degradation of ultrasound probe 300 thus so reduced the reflection of ultrasound wave towards the front surface of back layer 340 by inner surface interreflection and final elimination ofheat sink 350patchhole 352a.
Figure 10 shows the sectional view that hasheat sink 450ultrasound probe 400 according to fourth embodiment of the invention.Figure 11 showsheat sink 450 perspective view according to theultrasound probe 400 of fourth embodiment of the invention.As shown in the figure, theultrasound probe 400 according to having of fourth embodiment of theinvention heat sink 450 comprisesacoustic lens 410, matchinglayer 420,piezoelectric device 430 and backlayer 440 successively from the front end that will contact with the patient.In backlayer 440, provide heat sink 450.Exceptheat sink 450, keep identical according to the general arrangement of theultrasound probe 400 of the 4th embodiment withultrasound probe 100 according to first embodiment, therefore there is no need further to explain.
In order to be coupled toback layer 440 so that increase therebetween contact area withheat sink 450,conduction protrusion 452 vertically is provided on the surface of thematrix 451heat sink 450 and inserts in the correspondingheat conduction depression 442 that is formed in the back layer 440.The shape of eachheat conduction depression 442 is corresponding with the shape of corresponding conduction protrusion 452.Eachconduction protrusion 452 has cone shape, to prevent to absorb ultrasound wave in theback layer 440 by towards the front surface ofback layer 440 secondary reflection again.
In addition, eachheat conduction depression 442 ofback layer 440 has andcorresponding conduction protrusion 452 corresponding shapes, and promptly cone shape makes the whole surface ofconduction protrusion 452 closely to contact withback layer 440.
Identical with the by way of example of front, have the having according to fourth embodiment of the invention inheat sink 450 theultrasound probe 400 of above-mentioned structure, to be transmitted toheat sink 450 rapidly from the heat thatpiezoelectric device 430 produces byback layer 440 and also dissipate away, so prevented the deterioration ofpiezoelectric device 430 characteristics.Therefore, can prevent the deterioration ofultrasound probe 400 performances and ruggedness.And, can utilize the reduction ofacoustic lens 410 temperature to reduce the temperature on the surface thatultrasound probe 400 will contact with the patient.
In addition, since absorb ultrasound wave in theback layer 440 byheat sink 450conical conduction protrusion 452 along laterally reflection, prevented ultrasound wave by towards the front surface ofback layer 440 again secondary reflection lay equal stress on and newly absorb backlayer 440 and be arranged in the part around the conduction protrusion 452.The ultrasound wave of reuptaking finally is eliminated.Therefore, can preventultrasound probe 400 performance degradations.
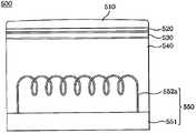
Figure 12 shows the sectional view that hasheat sink 550ultrasound probe 500 according to fifth embodiment of the invention.Figure 13 showsheat sink 550 perspective view according to theultrasound probe 500 of fifth embodiment of the invention.As shown in the figure, theultrasound probe 500 according to having of fifth embodiment of theinvention heat sink 550 comprisesacoustic lens 510, matchinglayer 520,piezoelectric device 530 and backlayer 540 successively from the front end that will contact with the patient.In backlayer 540, provide heat sink 550.Except backlayer 540 andheat sink 550, keep identical according to the general arrangement of theultrasound probe 500 of the 5th embodiment withultrasound probe 100, so there is no need further to explain according to first embodiment.
As forlayer 540 after being coupled toheat sink 550, provideinsertion portion 552 on the surface ofmatrix 551, and it is embedded in the rear surface 541 ofback layer 540heat sink 550.
Preferably,insertion portion 552 is made by theline 552a with coil shape, to improve the thermal conductivity between theback layer 540 andheat sink 550.
Insertion portion 552 comprises theline 552a of a plurality of coil shapes, and for example, it is arranged parallel to each other onheat sink 550 matrix 551.Can be by theline 552a of each coil shape be provided, make that its end opposite andmatrix 551 are integrated when formingmatrix 551, perhaps, its end opposite is mated in thematrix 551 by brute force.In addition, forming backlayer 540 o'clock onheat sink 550 thematrix 551, inback layer 540, embed theline 552a of coil shape by being molded in.Therefore,heat sink 550matrix 551 is coupled to back layer 540.In addition, the hyperacoustic interference that absorbs in theback layer 540 is minimized, thereby prevented that ultrasound wave is by towards the front surface ofback layer 540 secondary reflection again.
Identical with the by way of example of front, have the having according to fifth embodiment of the invention inheat sink 550 theultrasound probe 500 of above-mentioned structure, to be transmitted toheat sink 550 rapidly from the heat thatpiezoelectric device 530 produces byback layer 540 and also dissipate away, so prevented the deterioration ofpiezoelectric device 430 characteristics.Therefore, can prevent the deterioration ofultrasound probe 400 performances and ruggedness.In addition, can reduce the temperature of acoustic lens 410.Particularly, thecoiled type line 552a after embedding in thelayer 540 is used to increase the conduction of heat stroke area between theback layer 540 andheat sink 550, thereby further improvesheat sink 550 heat transfer efficiency.
And, in the 5th embodiment, because the ultrasound wave that absorbs in theback layer 540 passes through, prevented that ultrasound wave is by towards the front surface ofback layer 540 secondary reflection again, so prevented the deterioration ofultrasound probe 500 performances betweencoiled type line 552a.
As mentioned above, according to a preferred embodiment of the invention, the heat that produces from piezoelectric device is transmitted to heat sink rapidly via the back layer and is dissipated away.Therefore, the deterioration of piezoelectric device characteristic can be prevented, thereby the deterioration of ultrasound probe performance and ruggedness can be prevented.In addition, can utilize the reduction of acoustic lens temperature to reduce the temperature on the surface that ultrasound probe will contact with the patient.
In addition, prevent to absorb ultrasound wave in the layer of back by towards the front surface of back layer secondary reflection again, therefore can keep the performance of ultrasound probe.In addition, the shape of heat sink conduction protrusion prevents that the ultrasound wave that absorbs is by towards the front surface of back layer secondary reflection again.Therefore, the present invention can overcome following shortcoming: since ultrasound wave again secondary reflection backward the layer front surface, can not adjacently with piezoelectric device be provided with heat sink.Therefore, can significantly improve the efficient of layer transmission heat backward.
Although disclose the preferred embodiments of the present invention for exemplary purpose, person of skill in the art will appreciate that various modifications, to increase and replace be possible, do not break away from as the disclosed scope of the invention of claims and spirit.

Claims (10)

CN2009801285123A2008-07-222009-07-06Ultrasonic probe having heat sinkPendingCN102098965A (en)

Applications Claiming Priority (3)

Application NumberPriority DateFiling DateTitle
KR1020080071290AKR101018626B1 (en)2008-07-222008-07-22 Ultrasonic Probe with Heat Sink
KR10-2008-00712902008-07-22
PCT/KR2009/003677WO2010011034A1 (en)2008-07-222009-07-06Ultrasonic probe having heat sink

Publications (1)

Publication NumberPublication Date
CN102098965Atrue CN102098965A (en)2011-06-15

Family

ID=41570461

Family Applications (1)

Application NumberTitlePriority DateFiling Date
CN2009801285123APendingCN102098965A (en)2008-07-222009-07-06Ultrasonic probe having heat sink

Country Status (6)

CountryLink
US (1)US20110114303A1 (en)
EP (1)EP2309930A4 (en)
JP (1)JP2011528929A (en)
KR (1)KR101018626B1 (en)
CN (1)CN102098965A (en)
WO (1)WO2010011034A1 (en)

Cited By (8)

* Cited by examiner, † Cited by third party
Publication numberPriority datePublication dateAssigneeTitle
CN104688267A (en)*2013-12-092015-06-10三星麦迪森株式会社Ultrasonic diagnostic instrument and manufacturing method thereof
WO2019237256A1 (en)*2018-06-122019-12-19深圳市理邦精密仪器股份有限公司Ultrasound transducer, ultrasonic probe, and ultrasonic detection apparatus
WO2020062274A1 (en)*2018-09-302020-04-02深圳迈瑞生物医疗电子股份有限公司Ultrasonic probe
WO2020062270A1 (en)*2018-09-302020-04-02深圳迈瑞生物医疗电子股份有限公司Ultrasonic probe
WO2020062259A1 (en)*2018-09-302020-04-02深圳迈瑞生物医疗电子股份有限公司Ultrasound probe and surface array ultrasound probe
WO2020062272A1 (en)*2018-09-302020-04-02深圳迈瑞生物医疗电子股份有限公司Ultrasound probe and area array ultrasound probe
CN110960257A (en)*2018-09-302020-04-07深圳迈瑞生物医疗电子股份有限公司Ultrasonic probe and area array ultrasonic probe
CN110960253A (en)*2018-09-302020-04-07深圳迈瑞生物医疗电子股份有限公司 An ultrasonic probe and area array ultrasonic probe

Families Citing this family (16)

* Cited by examiner, † Cited by third party
Publication numberPriority datePublication dateAssigneeTitle
JPWO2011132531A1 (en)*2010-04-232013-07-18株式会社日立メディコ Ultrasonic probe, method for manufacturing the same, and ultrasonic diagnostic apparatus
CN103069844B (en)*2010-08-202016-01-06株式会社日立医疗器械Ultrasonic probe and its diagnostic ultrasound equipment of use
DE102010062593A1 (en)*2010-12-082012-06-14Robert Bosch Gmbh Ultrasonic sensor with a damping device and use thereof
US8841823B2 (en)*2011-09-232014-09-23Ascent Ventures, LlcUltrasonic transducer wear cap
US9072487B2 (en)*2012-05-112015-07-07General Electric CompanyUltrasound probe thermal drain
KR20150025066A (en)*2013-08-282015-03-10삼성메디슨 주식회사Ultrasonic probe and manufacturing method thereof
JP5923539B2 (en)*2014-03-202016-05-24富士フイルム株式会社 Ultrasonic probe
KR101607245B1 (en)*2014-06-192016-03-30주식회사 휴먼스캔Block for dissipating ultrasonic and ultra sonic probe having the same
KR102373132B1 (en)*2014-12-262022-03-11삼성메디슨 주식회사An ultrasonic probe apparatus and an ultrasonic imaging apparatus using the same
JP6564615B2 (en)*2015-05-222019-08-21スタンレー電気株式会社 Lighting device
US20180028159A1 (en)*2016-07-292018-02-01Butterfly Network, Inc.Rearward acoustic diffusion for ultrasound-on-a-chip transducer array
CN110049728A (en)*2016-12-132019-07-23蝴蝶网络有限公司Acoustic lens and its application
US10797221B2 (en)*2017-02-242020-10-06Baker Hughes, A Ge Company, LlcMethod for manufacturing an assembly for an ultrasonic probe
CN114555247B (en)*2019-10-102023-09-01新宁研究院System and method for cooling ultrasound transducers and ultrasound transducer arrays
JP7403358B2 (en)*2020-03-162023-12-22テルモ株式会社 ultrasonic probe
KR20220133355A (en)2021-03-242022-10-05삼성전자주식회사Probe for semiconductor device test and probe card including the same

Citations (3)

* Cited by examiner, † Cited by third party
Publication numberPriority datePublication dateAssigneeTitle
EP0727259A2 (en)*1995-02-151996-08-21Hewlett-Packard CompanyUltrasonic transducer
EP0782125A2 (en)*1995-12-291997-07-02General Electric CompanyMethod and apparatus for transferring heat from transducer array of ultrasonic probe
JP2006129965A (en)*2004-11-042006-05-25Toshiba Corp Ultrasonic probe and ultrasonic diagnostic apparatus

Family Cites Families (19)

* Cited by examiner, † Cited by third party
Publication numberPriority datePublication dateAssigneeTitle
JPH01293851A (en)*1988-05-231989-11-27Yokogawa Medical Syst LtdUltrasonic probe
US5545942A (en)*1994-11-211996-08-13General Electric CompanyMethod and apparatus for dissipating heat from a transducer element array of an ultrasound probe
JPH08140973A (en)*1994-11-251996-06-04Toshiba Ceramics Co Ltd Ultrasonic generator
US6208513B1 (en)*1995-01-172001-03-27Compaq Computer CorporationIndependently mounted cooling fins for a low-stress semiconductor package
US5602718A (en)*1995-09-291997-02-11Hewlett-Packard CompanyThermal sink for a transducer assembly
US5622175A (en)*1995-09-291997-04-22Hewlett-Packard CompanyMiniaturization of a rotatable sensor
AT413163B (en)*2001-12-182005-11-15Fotec Forschungs Und Technolog COOLING DEVICE FOR A CHIP AND METHOD OF MANUFACTURE
US20040002655A1 (en)*2002-06-272004-01-01Acuson, A Siemens CompanySystem and method for improved transducer thermal design using thermo-electric cooling
JP2004063898A (en)*2002-07-302004-02-26Hitachi Cable Ltd Heat radiating material and method of manufacturing the same
JP2005026248A (en)*2003-06-302005-01-27Enplas CorpHeat radiating member for electric component
JP4624659B2 (en)*2003-09-302011-02-02パナソニック株式会社 Ultrasonic probe
TWI381494B (en)*2004-01-072013-01-01Jisouken Co Ltd Cooling device
EP1825814B1 (en)*2004-12-092013-02-20Hitachi Medical CorporationUltrasonic probe
WO2007032056A1 (en)*2005-09-132007-03-22Mitsubishi Denki Kabushiki KaishaHeat sink
JP5065593B2 (en)*2005-11-302012-11-07株式会社東芝 Ultrasonic probe and ultrasonic imaging device
US7281573B2 (en)*2005-12-142007-10-16Hua-Hsin TsaiCooler
JP4851210B2 (en)*2006-03-152012-01-11日立アロカメディカル株式会社 Ultrasonic diagnostic equipment
JP2008084965A (en)*2006-09-262008-04-10Seiko Epson Corp Electronic device, heat dissipation substrate and electronic device
KR20080061012A (en)*2006-12-272008-07-02주식회사 하이닉스반도체 Semiconductor package

Patent Citations (3)

* Cited by examiner, † Cited by third party
Publication numberPriority datePublication dateAssigneeTitle
EP0727259A2 (en)*1995-02-151996-08-21Hewlett-Packard CompanyUltrasonic transducer
EP0782125A2 (en)*1995-12-291997-07-02General Electric CompanyMethod and apparatus for transferring heat from transducer array of ultrasonic probe
JP2006129965A (en)*2004-11-042006-05-25Toshiba Corp Ultrasonic probe and ultrasonic diagnostic apparatus

Cited By (12)

* Cited by examiner, † Cited by third party
Publication numberPriority datePublication dateAssigneeTitle
CN104688267A (en)*2013-12-092015-06-10三星麦迪森株式会社Ultrasonic diagnostic instrument and manufacturing method thereof
CN104688267B (en)*2013-12-092019-04-26三星麦迪森株式会社Ultrasonic diagnosis instrument and its manufacturing method
WO2019237256A1 (en)*2018-06-122019-12-19深圳市理邦精密仪器股份有限公司Ultrasound transducer, ultrasonic probe, and ultrasonic detection apparatus
CN112638264A (en)*2018-06-122021-04-09深圳市理邦精密仪器股份有限公司Ultrasonic transducer, ultrasonic probe, and ultrasonic detection device
US11642105B2 (en)2018-06-122023-05-09Edan Instruments, Inc.Ultrasonic transducer, ultrasonic probe, and ultrasonic detection apparatus
CN112638264B (en)*2018-06-122024-05-17深圳市理邦精密仪器股份有限公司 Ultrasonic transducer, ultrasonic probe and ultrasonic detection device
WO2020062274A1 (en)*2018-09-302020-04-02深圳迈瑞生物医疗电子股份有限公司Ultrasonic probe
WO2020062270A1 (en)*2018-09-302020-04-02深圳迈瑞生物医疗电子股份有限公司Ultrasonic probe
WO2020062259A1 (en)*2018-09-302020-04-02深圳迈瑞生物医疗电子股份有限公司Ultrasound probe and surface array ultrasound probe
WO2020062272A1 (en)*2018-09-302020-04-02深圳迈瑞生物医疗电子股份有限公司Ultrasound probe and area array ultrasound probe
CN110960257A (en)*2018-09-302020-04-07深圳迈瑞生物医疗电子股份有限公司Ultrasonic probe and area array ultrasonic probe
CN110960253A (en)*2018-09-302020-04-07深圳迈瑞生物医疗电子股份有限公司 An ultrasonic probe and area array ultrasonic probe

Also Published As

Publication numberPublication date
KR101018626B1 (en)2011-03-03
US20110114303A1 (en)2011-05-19
JP2011528929A (en)2011-12-01
WO2010011034A1 (en)2010-01-28
EP2309930A4 (en)2011-10-05
EP2309930A1 (en)2011-04-20
KR20100010358A (en)2010-02-01

Similar Documents

PublicationPublication DateTitle
CN102098965A (en)Ultrasonic probe having heat sink
JP4843395B2 (en) Ultrasonic probe
KR101196214B1 (en)Probe for ultrasonic diagnostic apparatus
CN101396289B (en)Ultrasonic endoscope
US6142947A (en)Ultrasound probe and related methods of assembly/disassembly
US20040002655A1 (en)System and method for improved transducer thermal design using thermo-electric cooling
TW201815353A (en)Rearward acoustic diffusion for ultrasound-on-a-chip transducer array
JP2005103078A (en) Ultrasonic probe
CN206924084U (en)Ultrasonic probe
JPH0622955A (en)Medical ultrasonic apparatus and method for transferring and radiating heat therefrom
WO2006038632A1 (en)Ultrasonic probe
JP2000184497A (en) Ultrasonic probe
CN110960253B (en)Ultrasonic probe and area array ultrasonic probe
JP6578196B2 (en) Ultrasonic probe
KR20160101144A (en)Heat radiation structure of ultrasonic transducer
JP6122090B1 (en) Ultrasonic probe
CN219089342U (en)Ultrasonic probe and sound head radiating structure thereof
JP2002291737A (en) Ultrasonic probe and ultrasonic diagnostic equipment
JP2017104203A (en) Ultrasonic probe
CN110960257A (en)Ultrasonic probe and area array ultrasonic probe
CN100469092C (en) Optical scanning module
CN213940776U (en) Ultrasound probe
JPH11299775A (en)Ultrasonic diagnostic device
WO2020062270A1 (en)Ultrasonic probe
CN223365571U (en)Ultrasonic probe and ultrasonic apparatus

Legal Events

DateCodeTitleDescription
C06Publication
PB01Publication
C10Entry into substantive examination
SE01Entry into force of request for substantive examination
WD01Invention patent application deemed withdrawn after publication
WD01Invention patent application deemed withdrawn after publication

Application publication date:20110615


[8]ページ先頭

©2009-2025 Movatter.jp