Movatterモバイル変換


[0]ホーム

URL:


CN102023057A - Infrared thermal imager testing system - Google Patents

Infrared thermal imager testing system
Download PDF

Info

Publication number
CN102023057A
CN102023057ACN 201010591580CN201010591580ACN102023057ACN 102023057 ACN102023057 ACN 102023057ACN 201010591580CN201010591580CN 201010591580CN 201010591580 ACN201010591580 ACN 201010591580ACN 102023057 ACN102023057 ACN 102023057A
Authority
CN
China
Prior art keywords
temperature
module
target
black matrix
thermal infrared
Prior art date
Legal status (The legal status is an assumption and is not a legal conclusion. Google has not performed a legal analysis and makes no representation as to the accuracy of the status listed.)
Pending
Application number
CN 201010591580
Other languages
Chinese (zh)
Inventor
李欣
范芸
赵秀娟
胡佳伟
马彦静
徐莹
Current Assignee (The listed assignees may be inaccurate. Google has not performed a legal analysis and makes no representation or warranty as to the accuracy of the list.)
YANTAI RAYTRON TECHNOLOGY Co Ltd
Original Assignee
YANTAI RAYTRON TECHNOLOGY Co Ltd
Priority date (The priority date is an assumption and is not a legal conclusion. Google has not performed a legal analysis and makes no representation as to the accuracy of the date listed.)
Filing date
Publication date
Application filed by YANTAI RAYTRON TECHNOLOGY Co LtdfiledCriticalYANTAI RAYTRON TECHNOLOGY Co Ltd
Priority to CN 201010591580priorityCriticalpatent/CN102023057A/en
Publication of CN102023057ApublicationCriticalpatent/CN102023057A/en
Pendinglegal-statusCriticalCurrent

Links

Images

Landscapes

Abstract

The invention discloses an infrared thermal imager testing system, which comprises a control module, a target temperature simulation module, an infrared collimating optical device, a temperature conversion module and a display module, wherein the control module is connected with the target temperature simulation module and the temperature conversion module respectively, and controls the output of simulated radiation temperature signals and the selection of testing environments; the infrared collimating optical module converts the radiation temperature signals into parallel light radiation temperature signals and outputs the parallel light radiation temperature signals to the temperature conversion module; the temperature conversion module is used for creating a room-temperature testing environment and a high/low-temperature testing environment, and projecting the received parallel light radiation temperature signals onto a to-be-tested thermal imager positioned in the room-temperature testing environment or the high/low-temperature testing environment; and the display module displays an infrared thermograph transmitted by the to-be-tested thermal imager. Therefore, the performance of the thermal imager is tested in the room-temperature environment and the high/low-temperature environment in the same testing system. Simultaneously, the temperature simulation accuracy is improved, and the stability, reliability and flexibility of the testing system are also improved.

Description

A kind of thermal infrared imager test macro
Technical field
The present invention relates to the infrared test field, relate in particular to a kind of thermal infrared imager test macro.
Background technology
The Performance Test System of thermal imaging system is that thermal imaging system and Performance Test System all are positioned in the high-low temperature chamber under traditional high low temperature/alternating temperature condition.The characteristics that are prior art are that total system (comprising temperature difference source, target, target disc and rotating mechanism thereof, parallel light tube, article carrying platform, optical bench and other mechanical hook-ups etc.) all is positioned in the high-low temperature chamber, and will there be following shortcoming in this:
1. under high low temperature/alternating temperature condition, environment is bigger to the influence of test macro, and whole test system all thermal distortion can take place, and test macro itself is exactly a uncertain system like this.The inner relevant various mechanical components of Performance Test System, optical device, black matrix system etc. all can change along with the variation of environment temperature, this will cause lack of homogeneity, the temperature of temperature the increase of observing and controlling difficulty, mechanical deformation, defective such as fog is arranged.In a word, the uncertain factor that exists in this test macro is too many, just make the precise decreasing of complete machine performance measurement, reliability reduce, even test result can not illustrate the performance issue of thermal imaging system.
2. because test macro of the prior art is subjected to high low temperature effect bigger, system stability is relatively poor, this just makes test macro of the prior art can not be used to test the optical property index that system stability is had relatively high expectations, the stability of optical axis under for example high low temperature.
3. test macro measurement function of the prior art is single, can only finish the measurement of subjective MRTD, but finds through test, also there is error in the result that MRTD measures, and error amount is bigger, does not have comparability with the result of indoor temperature measurement, so measurement result loses meaning.Wherein, MRTD(minimum resolvable temperature difference) I is differentiated the temperature difference, is the temperature control that is used for reflecting thermal infrared imager, also can reflect its spatial resolution simultaneously, has also comprised the subjective influence of observer.
4. because prior art is that thermal imaging system and Performance Test System all are positioned in the high-low temperature chamber, and this just requires the high-low temperature chamber volume bigger, also require bore, the focal length of parallel light tube wherein less simultaneously.
5. because whole test system is under high low temperature, the hygrothermal environment for a long time, just shortened the serviceable life of test macro.
Summary of the invention
The object of the present invention is to provide a kind of test macro that can finish test thermal infrared imager performance under high and low temperature environment and the room temperature environment in same system, this system has advantages of higher stability, reliability, dirigibility.
Technical scheme of the present invention is achieved as follows: a kind of thermal infrared imager test macro, comprise control module, target temperature analog module, infrared collimating optics module, temperature transition module, display module,
Described control module links to each other with described target temperature analog module, controls the radiation temperature signal of described target temperature analog module output simulation; Described control module also links to each other with described temperature transition module, controls described temperature transition module and chooses test environment;
Described infrared collimating optics module receives described radiation temperature signal, is that directional light radiation temperature signal exports described temperature transition module to described radiation temperature conversion of signals;
Described temperature transition module is used to produce room temperature test environment and high low temperature test environment, and the described directional light radiation temperature signal that will receive projects on the thermal infrared imager to be measured that is arranged in room temperature test environment or high low temperature test environment;
Described display module shows the infrared chart that described thermal infrared imager to be measured sends.
Further, described target temperature analog module comprises temperature controller, target black matrix, first catoptron, target,
Described temperature controller receives the instruction of described control module, to described target black matrix output temperature parameter, make described target black matrix produce the target temperature signal, the radiation temperature signal of described target temperature signal as described simulation projected on described first catoptron through the aperture on the described target, after described first mirror reflects, output to described infrared collimating optics module again.
Further, described target temperature analog module also comprises refrigeration unit, and described refrigeration unit receives the instruction of described temperature controller, to described target black matrix output temperature parameter, accelerates described target black matrix cooling.
Further, described target temperature analog module also comprises the background black matrix,
Described temperature controller also receives the instruction of described control module, to described background black matrix output temperature parameter, make described background black matrix produce the ambient temperature signal, described ambient temperature signal reflexes on described first catoptron through the total emission face of described target, described first catoptron converges described target temperature signal and the described ambient temperature signal radiation temperature signal as described simulation, and the radiation temperature signal of described simulation outputs to described infrared collimating optics module after described first mirror reflects.
Further, described target temperature analog module also comprises refrigeration unit, and described refrigeration unit receives the instruction of described temperature controller, to described target black matrix and described background black matrix output temperature parameter, accelerates the cooling of described target black matrix and described background black matrix.
Further, described temperature parameter is the magnitude of voltage and the current value of the described target temperature value of pre-output or described blackbody temperature value, employing.
Further, the surface of emission of described target black matrix is packaged in the casing of an inflated with nitrogen, and/or, the surface of emission of described background black matrix is packaged in the casing of an inflated with nitrogen,
Described target black matrix, described background black matrix are by infrared window on the described casing and described thermal infrared imager coupling to be measured.
Further, described target temperature analog module also comprises refrigeration unit,
Described refrigeration unit receives the instruction of described temperature controller, to described target black matrix and/or described background black matrix output temperature parameter, accelerates the cooling of described target black matrix and/or described background black matrix.
Further, described infrared collimating optics module is an off axis paraboloidal mirror, and described off axis paraboloidal mirror receives the radiation temperature signal of described simulation, is that directional light radiation temperature signal exports described temperature transition module to the radiation temperature conversion of signals of described simulation.
Further, described temperature transition module comprises temperature transition controller, high low temperature test box, second catoptron, moving track,
Described high low temperature test box is used to produce high low temperature test environment;
Described temperature transition controller receives the instruction of described control module, control described moving track motion, make described second mirror motion that is positioned on the described moving track select described directional light radiation temperature signal to enter high low temperature test environment or room temperature test environment.
Further, described temperature transition module also comprises the deformation detection module, and described deformation detection module is used to detect the situation of optical table generation deformation in the described high low temperature test box.
Further, the deformation detection module comprises the 3rd catoptron, photoelectric auto-collimator, pentaprism,
Described the 3rd catoptron is installed on the optical bench of described optical table,
The light signal of described photoelectric auto-collimator emission is sent to described the 3rd catoptron behind described pentaprism, after described the 3rd mirror reflects, through the described photoelectric auto-collimator of described pentaprism reflected back, detect the deformation situation of described optical table by described photoelectric auto-collimator again.
The invention has the beneficial effects as follows:
1. in same test macro, both can realize the performance of test thermal infrared imager under the room temperature environment, also can realize the performance of test thermal infrared imager under the high and low temperature environment simultaneously.
2. technical solution of the present invention has also improved the precision of the radiation temperature of simulation, takes into full account the influence of concrete applied environment to test result, and the ambient temperature of environment is superimposed in the target temperature, has also improved the stability and the reliability of test macro.
3. the signal owing to the simulated target temperature produces outside high-low temperature chamber, this just can dwindle the volume of high-low temperature chamber, and target temperature analog module, infrared collimating optics module size also are adjustable, all can customize corresponding size according to user's request, have improved the dirigibility of system.
Description of drawings
Fig. 1 is the formation synoptic diagram of thermal infrared imager test macro of the present invention;
Fig. 2 is the formation synoptic diagram of first kind of implementation of target temperature analog module among the present invention;
Fig. 3 is the formation synoptic diagram of second kind of implementation of target temperature analog module among the present invention;
Fig. 4 is the formation synoptic diagram of the third implementation of target temperature analog module among the present invention;
Fig. 5 is the formation synoptic diagram of the 4th kind of implementation of target temperature analog module among the present invention;
Fig. 6 is the synoptic diagram of the black matrix of band inflated with nitrogen casing among the present invention;
Fig. 7 is the formation synoptic diagram of target among the present invention;
Fig. 8 is the formation synoptic diagram of temperature transition module among the present invention;
Fig. 9 is the formation synoptic diagram of deformation detection module among the present invention;
Figure 10 is the formation synoptic diagram of optical bench among the present invention;
Figure 11 is infrared collimating optics module principle of work synoptic diagram among the present invention.
Embodiment
Below in conjunction with accompanying drawing principle of the present invention and feature are described, institute gives an actual example and only is used to explain the present invention, is not to be used to limit scope of the present invention.
As shown in Figure 1, the thermal infrared imager test macro comprisescontrol module 10, target temperature analog module 20, infrared collimating optics module 30, temperature transition module 40, display module 50.Control module 10 links to each other with target temperature analog module 20, the radiation temperature signal of controlled target temperature simulation module 20 output simulations;Control module 10 also links to each other with temperature transition module 40, and control temperature transition module 40 is chosen test environment.Wherein, infrared collimating optics module 30 received radiation temperature signals are that directional light radiation temperature signal exports temperature transition module 40 to the radiation temperature conversion of signals.Temperature transition module 40 is used to produce room temperature test environment and high low temperature test environment, and the directional light radiation temperature signal that receives is projected on the thermal infrared imager to be measured 60 that is arranged in room temperature test environment or high low temperature test environment.Thermal infrared imager 60 to be measured receives directional light radiation temperature signal, is infrared chart according to directional light radiation temperature signal with the radiation temperature conversion of signals of simulating, and exports the infrared chart that display module 50 demonstrations are sent to.Technical scheme of the present invention just can both realize the performance of test thermal infrared imager under the room temperature environment in same test macro, also realize the performance of test thermal infrared imager under the high and low temperature environment simultaneously.
As shown in Figure 2, target temperature analog module 20 comprisestemperature controller 21, targetblack matrix 22,first catoptron 24, target 23.Temperature controller 21 receives the instruction ofcontrol module 10, and to targetblack matrix 22 output temperature parameters, temperature parameter can comprise the target temperature value of pre-output, the magnitude of voltage and the current value of employing.Targetblack matrix 22 is according to said temperature parameter generating target temperature signal, the radiation temperature signal of target temperature signal as simulation projected onfirst catoptron 24 through the aperture on thetarget 23, after 24 reflections of first catoptron, output to infrared collimating optics module 30 again.
As shown in Figure 3, target temperature analog module 20 also comprises background black matrix 25.Temperature controller 21 also receives the instruction ofcontrol module 10, and to backgroundblack matrix 25 output temperature parameters, temperature parameter can comprise the ambient temperature value of pre-output, the magnitude of voltage and the current value of employing.Backgroundblack matrix 25 is according to said temperature parameter generating ambient temperature signal, the ambient temperature signal reflexes onfirst catoptron 24 through the total emission face oftarget 23,first catoptron 24 converges target temperature signal and the ambient temperature signal radiation temperature signal as simulation, and the radiation temperature signal of simulation outputs to infrared collimating optics module 30 after 24 reflections of first catoptron.Consider the influence of ambient temperature, just improved the precision of the radiation temperature of simulation by integration objective temperature and ambient temperature target temperature.
Because the infrared light (be target temperature signal) oftarget 23 in the target temperature analog module 20 except wanting reflectance targetblack matrix 22, also want the infrared light (being the blackbody temperature signal) of reflecting backgroundblack matrix 25 radiation, simulate the temperature of objective body under the different scenes,target 23 adopts surface gold-plating or silver-plated realization.
In application, target temperature analog module 20 also comprises the electric target wheel apparatus, and the electric target wheel apparatus can accurately be positioned attarget 23 on the focus of collimator.The electric target wheel apparatus is also accepted the instruction ofcontrol module 10 and is moved.As shown in Figure 7, being calculated as follows of target spatial frequency: suppose that 2a is the one-period width of four bar targets, the length breadth ratio of target is 7:1, and f is the collimating optical system focal length, and then the spatial frequency F oftarget 23 is: F=f/2a.Therefore by making thetarget 23 of different cycles width, can obtain four bar targets of different space frequency.
Referring to Fig. 6, the surface of emission of targetblack matrix 22 is packaged in thecasing 27 of an inflated with nitrogen, and/or, the surface of emission of backgroundblack matrix 25 is packaged in thecasing 27 of an inflated with nitrogen.Targetblack matrix 22, backgroundblack matrix 25 are by infrared window on thecasing 27 28 and thermal infrared imager 60 couplings to be measured, and promptly infrared radiation signal combines.That is to say that the infrared light of simulating the representative target temperature of output by targetblack matrix 22 is delivered to thermal infrared imager 60 to be measured viainfrared window 28; Perhaps, the infrared light of the representative target temperature of integration objectiveblack matrix 22 and the 25 back outputs of background black matrix is delivered to thermal infrared imager 60 to be measured viainfrared window 28.
Owing to be positioned over surface of emission dewfall, frosting easily under cryogenic conditions of airborne low temperature black matrix, the solution of low temperature frosting is as follows: a kind of method is to dry up the pathogenic dryness body to surface of emission surface, but because the gas flow on surface can make the homogeneity of surface temperature be affected; Another kind method then is that black matrix (comprising targetblack matrix 22 and/or the background black matrix 25) surface of emission is encapsulated in thecasing 27 that is full of nitrogen, and theinfrared window 28 by sealing is coupled together black matrix with unit to be measured.Material of infrared window is selected the glass material or the germanium window of high permeability for use.
Needs target black matrix 22 or background black matrix 25 from high temperature when low temperature is lowered the temperature, can lower the temperature naturally by black matrix, for the efficient of accelerating to lower the temperature by the temperature parameter adjustment of temperature controller 21 outputs, as Fig. 4, shown in Figure 5, a refrigeration unit 26 is set in the target temperature analog module 20.In scheme shown in Figure 4, refrigeration unit 26 receives the instruction of temperature controller 21, to target black matrix 22 output temperature parameters, accelerates 22 coolings of target black matrix.In scheme shown in Figure 5, refrigeration unit 26 receives the instruction of temperature controller 21, to target black matrix 22 and background black matrix 25 output temperature parameters, accelerates target black matrix 22 and 25 coolings of background black matrix.Refrigeration unit 26 can be realized by modes such as water-cooled (comprising cold-producing medium, i.e. liquid coolant), air-cooled or semiconductor refrigeratings.By configuration refrigeration unit 26, utilize liquid coolant to realize thermal diffusion.Liquid coolant is to be separated in outer cooling liquid unit by one to supply with, and the realization thermal diffusion that in the enclosure at refrigeration unit 26 rear portions, circulates.This just makes the temperature (target black matrix 22 and/or background black matrix 25) of black matrix be significantly less than to utilize the temperature of traditional black matrix of fan refrigeration.
Referring to Fig. 2, Fig. 3, Fig. 4, Fig. 5, infrared collimating optics module 30 is an offaxis paraboloidal mirror 31, offaxis paraboloidal mirror 31 receives the radiation temperature signal of simulation, is that directional light radiation temperature signal exports temperature transition module 40 to the radiation temperature conversion of signals of simulating.
Target 23 accurately is installed on the focal plane of collimating optics module, simulates the infinite distance target through infrared collimating optics module 30.Infrared collimating optics module 30 mainly comprises off-axis parabolic mirror, is coated with the very hard metal film of one deck on this minute surface, with guarantee best from visible light to far transmitance.
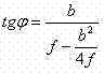
Simply introduce the parameter designing of infrared collimating optics module 30 below, as shown in figure 11, by parabolic equation
Figure 2010105915808100002DEST_PATH_IMAGE001
Can determine the relation between axle amount, focal length, off-axis angle:
Figure 572750DEST_PATH_IMAGE002
Wherein, φ is an off-axis angle, and b is from the axle amount, and f is a focal length.
Consider that the paraboloidal mirror clear aperture is 250mm,target 23 is estimated as a=125+85=210mm to light path centre distance.The light path center is c=125+100=225mm to the distance estimations at first catoptron, 24 centers.If the focal distance f=2000mm of paraboloidal mirror, then off-axis angle is:
Figure 2010105915808100002DEST_PATH_IMAGE003
From the approximate treatment of axle amount:
Figure 427574DEST_PATH_IMAGE004
Mm
Referring to Fig. 8, temperature transition module 40 comprises temperature transition controller 41, high lowtemperature test box 44, second catoptron 42, moving track 43.Wherein, high lowtemperature test box 44 is used to produce high low temperature test environment.Temperature transition controller 41 receives the instruction ofcontrol module 10, and 43 motions of control moving track make second catoptron, 42 motions that are positioned on the moving track 43 select directional light radiation temperature signal to enter high low temperature test environment or room temperature test environment.
The concrete course of work can be described below: temperature transition controller 41 receives the instruction ofcontrol module 10,43 motions of control moving track, promptly control second catoptron, 42 motions on the moving track 43, when second catoptron 42 is removed, the infrared light (being directional light radiation temperature signal) that is penetrated by infrared collimating optics module 30 enters high low temperature test environment, and promptly infrared light enters into the camera lens of thermal imaging system 60 to be measured via the infrared window of high lowtemperature test box 44; When second catoptron 42 existed, the infrared light (being directional light radiation temperature signal) that is penetrated by infrared collimating optics module 30 reflexed to the camera lens that is positioned over the thermal imaging system to be measured 60 on the room temperature environment test platform through second catoptron 42.This has just realized the selection of room temperature test environment/high low temperature test environment.Wherein, second catoptron 42 can rotate along moving track 43 translations with along turning axle.
High lowtemperature test box 44 in the temperature transition module 40 can be finished the simulation of high low temperature, humidity environment, can place a small-sized optical table in the casing.In high lowtemperature test box 44, open a window, window material is selected the higher infra-red material of transmitance for use, and the diameter of window determines that according to the caliber size of parallel light tube infrared window adopts double-deck hollow structure design, inflated with nitrogen in the intermediate course, and design has heating arrangement.
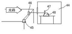
Further, temperature transition module 40 also comprises the deformation detection module, and the deformation detection module is used to detect the situation of optical table generation deformation in the high low temperature test box 44.Referring to Fig. 9, the deformation detection module comprises the3rd catoptron 47, photoelectric auto-collimator 45, pentaprism 46.The3rd catoptron 47 is installed on theoptical bench 48 of optical table; The light signal of photoelectric auto-collimator 45 emissions is sent to the3rd catoptron 47 behindpentaprism 46, after 47 reflections of the 3rd catoptron, again throughpentaprism 46 reflected backphotoelectricity autocollimators 45, by the deformation situation of photoelectric auto-collimator 45 detection optical platforms;Pentaprism 46 is used to change the direction of propagation of the light signal of photoelectric auto-collimator 45 emissions.
The design of optical table has taken into full account the deformation problems under the high and low temperature environment: on the one hand, consider the thermal deformation materials with smaller in the selection of material; On the one hand, on structural design, adopt symmetry and have the structure of temperature compensation characteristic; On the one hand, designed the optical table deformation detecting device, this just can measure the numerical value of optical table generation deformation in real time, thereby finishes compensation according to deformation numerical value.
The deformation of optical table under high and low temperature environment detects the photoelectric auto-collimation method that adopts, method of testing is as shown in Figure 9: the3rd catoptron 47 of placing a high sub zero treatment of process in high lowtemperature test box 44 on theoptical bench 48 of optical table, by the luminous point that the high precisionphotoelectric autocollimator 45 real-time detection of reflected that are arranged on high lowtemperature test box 44 outsides are returned, detect the thermal deformation that obtains optical table in the high low temperature test box 44.The effect ofpentaprism 46 is photoelectric auto-collimation to be detected light path turn 90 degrees to avoid blocking of light path that 45 pairs of temperature transition modules 40 of photoelectric auto-collimator launch.
Be placed on the optical tableoptical bench 48 structures as shown in figure 10, structure adopts the axially symmetric structure design, selecting for use of material is as follows: outside two brace summers 1 adopt the material of high expansion coefficient, the low-expansion material of all employings of all the other twobrace summers 2, wherein L2Compare L1Much smaller, L3Compare L4Much smaller.For example, the aluminium of outside two brace summers, 1 employing high expansion coefficient: α1=23(m/mK * 10-6), the material of all the other two brace summers adopts low-expansion stainless steel: α2=16.6(m/mK * 10-6).Under thermal expansion, outside two brace summers 1 are longer than twoinner brace summers 2, and crossbeam is sloped inwardly, so thearticle carrying platform 3 atoptical bench 48 centers falls, and can reach the expansion that compensation temperature causes like this.Can be according to α1And α2Numerical value meter L1And L2, L3And L4Proportionate relationship to obtain the The optimal compensation effect.
The above only is preferred embodiment of the present invention, and is in order to restriction the present invention, within the spirit and principles in the present invention not all, any modification of being done, is equal to replacement, improvement etc., all should be included within protection scope of the present invention.

Claims (11)

1. a thermal infrared imager test macro is characterized in that, comprises control module, target temperature analog module, infrared collimating optics module, temperature transition module, display module,
Described control module links to each other with described target temperature analog module, controls the radiation temperature signal of described target temperature analog module output simulation; Described control module also links to each other with described temperature transition module, controls described temperature transition module and chooses test environment;
Described infrared collimating optics module receives described radiation temperature signal, is that directional light radiation temperature signal exports described temperature transition module to described radiation temperature conversion of signals;
Described temperature transition module is used to produce room temperature test environment and high low temperature test environment, and the described directional light radiation temperature signal that will receive projects on the thermal infrared imager to be measured that is arranged in room temperature test environment or high low temperature test environment;
Described display module shows the infrared chart that described thermal infrared imager to be measured sends.
2. according to the described thermal infrared imager test macro of claim 1, it is characterized in that described target temperature analog module comprises temperature controller, target black matrix, first catoptron, target,
Described temperature controller receives the instruction of described control module, to described target black matrix output temperature parameter, make described target black matrix produce the target temperature signal, the radiation temperature signal of described target temperature signal as described simulation projected on described first catoptron through the aperture on the described target, after described first mirror reflects, output to described infrared collimating optics module again.
3. according to the described thermal infrared imager test macro of claim 2, it is characterized in that described target temperature analog module also comprises refrigeration unit,
Described refrigeration unit receives the instruction of described temperature controller, to described target black matrix output temperature parameter, accelerates described target black matrix cooling.
4. according to the described thermal infrared imager test macro of claim 2, it is characterized in that described target temperature analog module also comprises the background black matrix,
Described temperature controller also receives the instruction of described control module, to described background black matrix output temperature parameter, make described background black matrix produce the ambient temperature signal, described ambient temperature signal reflexes on described first catoptron through the total emission face of described target, described first catoptron converges described target temperature signal and the described ambient temperature signal radiation temperature signal as described simulation, and the radiation temperature signal of described simulation outputs to described infrared collimating optics module after described first mirror reflects.
5. according to the described thermal infrared imager test macro of claim 4, it is characterized in that described target temperature analog module also comprises refrigeration unit,
Described refrigeration unit receives the instruction of described temperature controller, to described target black matrix and described background black matrix output temperature parameter, accelerates the cooling of described target black matrix and described background black matrix.
6. according to claim 2,3,4 or 5 described thermal infrared imager test macros, it is characterized in that described temperature parameter is the magnitude of voltage and the current value of the described target temperature value of pre-output or described blackbody temperature value, employing.
7. according to claim 2 or 4 described thermal infrared imager test macros, it is characterized in that, the surface of emission of described target black matrix is packaged in the casing of an inflated with nitrogen, and/or, the surface of emission of described background black matrix is packaged in the casing of an inflated with nitrogen,
Described target black matrix, described background black matrix are by infrared window on the described casing and described thermal infrared imager coupling to be measured.
8. according to the described thermal infrared imager test macro of claim 1, it is characterized in that, described infrared collimating optics module is an off axis paraboloidal mirror, described off axis paraboloidal mirror receives the radiation temperature signal of described simulation, is that directional light radiation temperature signal exports described temperature transition module to the radiation temperature conversion of signals of described simulation.
9. according to the described thermal infrared imager test macro of claim 1, it is characterized in that described temperature transition module comprises temperature transition controller, high low temperature test box, second catoptron, moving track,
Described high low temperature test box is used to produce high low temperature test environment;
Described temperature transition controller receives the instruction of described control module, control described moving track motion, make described second mirror motion that is positioned on the described moving track select described directional light radiation temperature signal to enter high low temperature test environment or room temperature test environment.
10. according to the described thermal infrared imager test macro of claim 9, it is characterized in that described temperature transition module also comprises the deformation detection module, described deformation detection module is used to detect the situation of optical table generation deformation in the described high low temperature test box.
11. according to the described thermal infrared imager test macro of claim 10, it is characterized in that the deformation detection module comprises the 3rd catoptron, photoelectric auto-collimator, pentaprism,
Described the 3rd catoptron is installed on the optical bench of described optical table,
The light signal of described photoelectric auto-collimator emission is sent to described the 3rd catoptron behind described pentaprism, after described the 3rd mirror reflects, through the described photoelectric auto-collimator of described pentaprism reflected back, detect the deformation situation of described optical table by described photoelectric auto-collimator again.
CN 2010105915802010-12-162010-12-16Infrared thermal imager testing systemPendingCN102023057A (en)

Priority Applications (1)

Application NumberPriority DateFiling DateTitle
CN 201010591580CN102023057A (en)2010-12-162010-12-16Infrared thermal imager testing system

Applications Claiming Priority (1)

Application NumberPriority DateFiling DateTitle
CN 201010591580CN102023057A (en)2010-12-162010-12-16Infrared thermal imager testing system

Publications (1)

Publication NumberPublication Date
CN102023057Atrue CN102023057A (en)2011-04-20

Family

ID=43864626

Family Applications (1)

Application NumberTitlePriority DateFiling Date
CN 201010591580PendingCN102023057A (en)2010-12-162010-12-16Infrared thermal imager testing system

Country Status (1)

CountryLink
CN (1)CN102023057A (en)

Cited By (18)

* Cited by examiner, † Cited by third party
Publication numberPriority datePublication dateAssigneeTitle
CN102577850A (en)*2012-01-182012-07-18中国人民解放军61517部队Plant temperature simulation method
CN103344388A (en)*2013-06-192013-10-09北京理工大学Performance evaluation device and method for gas leakage infrared imaging detecting system
CN103900422A (en)*2014-04-212014-07-02哈尔滨工业大学Multi-band target/background generating device
CN104697640A (en)*2015-02-122015-06-10北京环境特性研究所Device and method for measuring thermal imager responsibility drift under different environment humidity
CN104713699A (en)*2015-02-042015-06-17北京环境特性研究所Measuring device and method for noise equivalent temperature differences of infrared camera in different environments
CN104880254A (en)*2015-06-122015-09-02中国电子科技集团公司第十三研究所Simulation pulse temperature source for microscopic infrared thermal infrared imager response time parameter test
CN106403713A (en)*2015-07-312017-02-15北京航天计量测试技术研究所Minitype infrared target simulation device
CN107993946A (en)*2016-10-272018-05-04中微半导体设备(上海)有限公司Broadband spectral optical measuring device and plasma processing apparatus
CN108051797A (en)*2017-11-202018-05-18中国航空工业集团公司洛阳电光设备研究所A kind of environmental suitability test system of airborne photoelectric detecting devices
CN109387288A (en)*2018-11-092019-02-26中国航空工业集团公司洛阳电光设备研究所A kind of width temperature section infrared acquisition sensitivity test equipment
CN111521068A (en)*2020-03-182020-08-11哈尔滨新光光电科技股份有限公司Infrared point source deflection guiding device and control method
CN111623886A (en)*2020-06-042020-09-04北京航天长征飞行器研究所Space photoelectric environment simulation system and infrared solar simulator
CN113340463A (en)*2021-06-292021-09-03山东浪潮科学研究院有限公司Accurate human body temperature measurement system and method based on infrared camera
CN113639873A (en)*2021-08-162021-11-12北京京东乾石科技有限公司 Thermal infrared camera test method, device, test equipment, test system and medium
CN113984344A (en)*2021-09-232022-01-28昆明北方红外技术股份有限公司Device and method for detecting thermal stability of optical axis of photoelectric system
CN114509241A (en)*2022-01-182022-05-17东莞市万德光电科技有限公司Human body induction infrared lens testing laboratory and testing method based on anthropomorphic dummy
CN115127682A (en)*2022-07-112022-09-30北京泽声科技有限公司 Test circuit and test method of infrared induction signal processing system
CN118392314A (en)*2024-06-052024-07-26国鲸合创(青岛)科技有限公司Device and method for measuring temperature uniformity

Citations (3)

* Cited by examiner, † Cited by third party
Publication numberPriority datePublication dateAssigneeTitle
US5710722A (en)*1996-05-241998-01-20The United States Of America As Represented By The Secretary Of The ArmyAutomated minimum resolvable temperature difference test for imaging infrared systems
CN101183026A (en)*2007-11-162008-05-21中华人民共和国中山出入境检验检疫局Infrared temperature measurement online self-calibration device and method thereof
CN101275870A (en)*2008-05-122008-10-01北京理工大学 An objective evaluation method of infrared thermal imager MRTD

Patent Citations (3)

* Cited by examiner, † Cited by third party
Publication numberPriority datePublication dateAssigneeTitle
US5710722A (en)*1996-05-241998-01-20The United States Of America As Represented By The Secretary Of The ArmyAutomated minimum resolvable temperature difference test for imaging infrared systems
CN101183026A (en)*2007-11-162008-05-21中华人民共和国中山出入境检验检疫局Infrared temperature measurement online self-calibration device and method thereof
CN101275870A (en)*2008-05-122008-10-01北京理工大学 An objective evaluation method of infrared thermal imager MRTD

Non-Patent Citations (3)

* Cited by examiner, † Cited by third party
Title
《Infrared Imaging Systems: Design, Analysis, Modeling,and Testing XIV, Proceedings of SPIE》 20031231 Paul Bryant et al. Performance Comparison of Reflective and Emissive Target Projector Systems for High-Performance IR Sensors 242-249 4-5 第5076卷,*
《Opt. Eng.》 20021031 Krzysztof Chrzanowski Evaluation of commercial thermal cameras in quality systems 2556-2567 1-3,6-11 第41卷,*
《Opt. Eng.》 20021031 Krzysztof Chrzanowski Evaluation of commercial thermal cameras in quality systems 2556-2567 4-5 第41卷,*

Cited By (25)

* Cited by examiner, † Cited by third party
Publication numberPriority datePublication dateAssigneeTitle
CN102577850B (en)*2012-01-182013-05-29中国人民解放军61517部队Plant temperature simulation method
CN102577850A (en)*2012-01-182012-07-18中国人民解放军61517部队Plant temperature simulation method
CN103344388A (en)*2013-06-192013-10-09北京理工大学Performance evaluation device and method for gas leakage infrared imaging detecting system
CN103900422A (en)*2014-04-212014-07-02哈尔滨工业大学Multi-band target/background generating device
CN104713699A (en)*2015-02-042015-06-17北京环境特性研究所Measuring device and method for noise equivalent temperature differences of infrared camera in different environments
CN104697640B (en)*2015-02-122017-07-21北京环境特性研究所Thermal imaging system responsiveness is drifted about under a kind of varying environment humidity measurement apparatus and method
CN104697640A (en)*2015-02-122015-06-10北京环境特性研究所Device and method for measuring thermal imager responsibility drift under different environment humidity
CN104880254A (en)*2015-06-122015-09-02中国电子科技集团公司第十三研究所Simulation pulse temperature source for microscopic infrared thermal infrared imager response time parameter test
CN106403713A (en)*2015-07-312017-02-15北京航天计量测试技术研究所Minitype infrared target simulation device
CN107993946A (en)*2016-10-272018-05-04中微半导体设备(上海)有限公司Broadband spectral optical measuring device and plasma processing apparatus
CN107993946B (en)*2016-10-272020-11-20中微半导体设备(上海)股份有限公司Broadband spectrum optical measuring device and plasma processing device
CN108051797A (en)*2017-11-202018-05-18中国航空工业集团公司洛阳电光设备研究所A kind of environmental suitability test system of airborne photoelectric detecting devices
CN109387288A (en)*2018-11-092019-02-26中国航空工业集团公司洛阳电光设备研究所A kind of width temperature section infrared acquisition sensitivity test equipment
CN111521068A (en)*2020-03-182020-08-11哈尔滨新光光电科技股份有限公司Infrared point source deflection guiding device and control method
CN111521068B (en)*2020-03-182022-04-12哈尔滨新光光电科技股份有限公司Infrared point source deflection guiding device and control method
CN111623886A (en)*2020-06-042020-09-04北京航天长征飞行器研究所Space photoelectric environment simulation system and infrared solar simulator
CN111623886B (en)*2020-06-042021-11-02北京航天长征飞行器研究所 A space photoelectric environment simulation system and infrared solar simulator
CN113340463A (en)*2021-06-292021-09-03山东浪潮科学研究院有限公司Accurate human body temperature measurement system and method based on infrared camera
CN113639873A (en)*2021-08-162021-11-12北京京东乾石科技有限公司 Thermal infrared camera test method, device, test equipment, test system and medium
CN113984344A (en)*2021-09-232022-01-28昆明北方红外技术股份有限公司Device and method for detecting thermal stability of optical axis of photoelectric system
CN114509241A (en)*2022-01-182022-05-17东莞市万德光电科技有限公司Human body induction infrared lens testing laboratory and testing method based on anthropomorphic dummy
CN115127682A (en)*2022-07-112022-09-30北京泽声科技有限公司 Test circuit and test method of infrared induction signal processing system
CN115127682B (en)*2022-07-112024-11-08苏州泽声微电子有限公司 Test circuit and test method for infrared sensing signal processing system
CN118392314A (en)*2024-06-052024-07-26国鲸合创(青岛)科技有限公司Device and method for measuring temperature uniformity
CN118392314B (en)*2024-06-052024-09-24国鲸合创(青岛)科技有限公司Device and method for measuring temperature uniformity

Similar Documents

PublicationPublication DateTitle
CN102023057A (en)Infrared thermal imager testing system
CN105308475B (en)Low drift reference for lidar
CN108871733B (en)Near-field detection device of large-caliber optical system and measurement method thereof
CN103335819B (en)Device and method for optical detection of high-precision pyramid prism
CN101520343B (en) Calibration device and calibration method for thermal infrared spectroscopy imaging system
CN103364011B (en)Multi-target scenery simulation system with super-large field of view
CN104570002A (en)Dual-wavelength four-channel laser radar system for detecting cloud fine structure
CN103471820A (en)Real-time revising tester for portable multi-spectral optoelectronic device
CN108426700A (en)A kind of gravity is directed toward camera lens optical axis the detection method of influence
CN103234734A (en)large-caliber stray light testing device and testing method
CN102155912A (en)Portable detection device for detecting sighting line zero position of infrared sniperscope
CN206114256U (en)Ghost image measuring device of optical system
CN113865716A (en)Thermal infrared imager test system
CN107024430B (en) Multi-optical path gas absorption cavity and its measurement system
CN201993170U (en)Infrared thermal imager testing system
CN106248351A (en)Ghost image measuring device and ghost image measuring method for optical system
CN109060317A (en)The characterisitic parameter pilot system and its course of work of long-distance propagation of laser beam
Pan et al.FEA based opto-mechanisms design and thermal analysis of a dynamic SFS with an ultra-long exit pupil distance
CN203364837U (en)Multi-target scenery simulation system with super-large field of view
CN102519594B (en)Measuring system and method for large-caliber parallel light beam spectral irradiance
Dunn¹ et al.Ellipsoidal mirror reflectometer
Tokovinin et al.SAM: a facility GLAO instrument
CN105403384A (en)Mirror face seeing measurement device
LIU et al.Development of a doppler asymmetric spatial heterodyne interferometer for ground-based wind field detection at the 557.7 nm wavelength
Cavarroc et al.First tests of the coronagraphic device of MIRI/JWST

Legal Events

DateCodeTitleDescription
C06Publication
PB01Publication
C10Entry into substantive examination
SE01Entry into force of request for substantive examination
C12Rejection of a patent application after its publication
RJ01Rejection of invention patent application after publication

Application publication date:20110420


[8]ページ先頭

©2009-2025 Movatter.jp