Movatterモバイル変換


[0]ホーム

URL:


CN101990407A - Artificial nail/tip arrangements having multiple sections - Google Patents

Artificial nail/tip arrangements having multiple sections
Download PDF

Info

Publication number
CN101990407A
CN101990407ACN200880128260XACN200880128260ACN101990407ACN 101990407 ACN101990407 ACN 101990407ACN 200880128260X ACN200880128260X ACN 200880128260XACN 200880128260 ACN200880128260 ACN 200880128260ACN 101990407 ACN101990407 ACN 101990407A
Authority
CN
China
Prior art keywords
sections
top surface
artificial nails
fingerstall
far
Prior art date
Legal status (The legal status is an assumption and is not a legal conclusion. Google has not performed a legal analysis and makes no representation as to the accuracy of the status listed.)
Pending
Application number
CN200880128260XA
Other languages
Chinese (zh)
Inventor
张成龙
Current Assignee (The listed assignees may be inaccurate. Google has not performed a legal analysis and makes no representation or warranty as to the accuracy of the list.)
Individual
Original Assignee
Individual
Priority date (The priority date is an assumption and is not a legal conclusion. Google has not performed a legal analysis and makes no representation as to the accuracy of the date listed.)
Filing date
Publication date
Priority claimed from US12/055,993external-prioritypatent/US20090241976A1/en
Priority claimed from KR1020080101605Aexternal-prioritypatent/KR20090106978A/en
Application filed by IndividualfiledCriticalIndividual
Publication of CN101990407ApublicationCriticalpatent/CN101990407A/en
Pendinglegal-statusCriticalCurrent

Links

Images

Classifications

Landscapes

Abstract

Exemplary arrangements, systems and methods for providing artificial nail or tip arrangements having multiple sections are provided. The exemplary arrangement may include a first section having a first top surface and a first bottom surface, and a second section being adjacent to the first section having a second top surface and a second bottom surface. The first and second sections may form a combined arrangement which has a proximal end and a distal end. At least one portion of the first bottom surface may overlay the second top surface such that the portion of the second top surface overlaid by the first bottom surface forms an acute angle with respect to the first top surface at a contact point with the second top surface.

Description

Artificial nails/fingerstall device with a plurality of sections
Technical field
The present invention relates to be used for the artificial nails and/or the artificial fingerstall of nail.More specifically, the present invention relates to be used to provide the artificial nails with a plurality of sections or device, the system and method for fingerstall device.
Background technology
The artificial nails is generally used for improving the aesthetic appearance of finger and/or toe, and can be used for replacing the outward appearance that the natural nail that lacks or damage maybe may be improved existing nail.Typically, to such an extent as to when natural nail is too fragile can not grow under the situation of not breaking the time, artificial nails or fingerstall can be used for the unguish and/or the shape that obtain to expect.The use of artificial nails or fingerstall is also preferred in some cases, because than the surface of natural nail, nail polish can adhere to artificial nails's surface better.
The artificial nails's device that forms by a plurality of sections that provides as known in the art.This device can be made by thin, molded plastics sections, and these plastics sections are bonded to together to form the general shape of natural nail.In order to make the attached each other knot of these sections that separate, binding agent can be applied on one or more sections.Then these sections are relative to each other located, make them form the shape of natural nail.Typically, the sections of two or more adjacency forms the top surface of nail device together.
Relevant with this existing nail device have several shortcomings.For example, typically, the bonding between the adjacency sections is tended to lose efficacy, and therefore causes one or more sections of nail device to separate from the residue sections.Another shortcoming of this known artificial nails's device is usually to be easy to their outward appearance and natural nail are made a distinction.For example, form this top surface that the bonding in abutting connection with sections of the top surface of nail device often causes having perceptible protuberance and/or seam.It may be difficult obtaining smooth basically top surface by traditional artificial nails's device, and usually need have goodish skill on the nail device applying.
Therefore, need a kind of nail device with a plurality of sections, wherein, the nail device in abutting connection with being provided with strong bonding between the sections, and in addition, it is seen over and is not distinguished mutually with natural nail so easily at least.
Summary of the invention
Technical problem
Need a kind of nail device with a plurality of sections, wherein, the nail device in abutting connection with being provided with strong bonding between the sections, and in addition, it is seen over and is not distinguished mutually with natural nail so easily at least.
Technical scheme
A kind of artificial nails or fingerstall device comprise:
First sections with first top surface and first basal surface; Second sections, described second sections is in abutting connection with described first sections and have second top surface and second basal surface; Wherein, described first sections and described second sections form the modular appliance with near-end and far-end, and described far-end is configured to be arranged on the front portion of natural nail, and it is relative with described far-end that described near-end is configured to be set to; Wherein, described far-end is arranged to more farther apart from the epidermis part of described natural nail than described near-end; And wherein, at least one first of described first basal surface overlaps described second top surface, makes to form acute angle at least one second portion by described first basal surface overlap joint of stating second top surface with the contact point place of described second top surface with respect to described first top surface.
A kind of method that is used to provide artificial nails or fingerstall device comprises:
First sections with first top surface and first basal surface is provided; Described first sections of adjacency is provided and has second top surface and second sections of second basal surface; Form modular appliance by described first sections and described second sections, described modular appliance has near-end and far-end, described far-end is configured to be arranged on the front portion of user's natural nail, it is relative with described far-end that described near-end is configured to be set to, and described far-end is arranged to more farther apart from the epidermis part of described natural nail than described near-end; And overlap at least a portion of described second top surface with described first basal surface, make to form acute angle with respect to described first top surface in described at least a portion of stating second top surface with the contact point place of described second top surface by described first basal surface overlap joint.
Description of drawings
Though this specification to specifically note and clearly to ask for protection the claim that is regarded as forming theme of the present invention and finish, can be thought from following with reference to understanding the present invention better the description of accompanying drawing, wherein:
Fig. 1 is the side view according to the nail of an illustrative embodiments or fingerstall device;
Fig. 2 is the vertical view according to the nail of an illustrative embodiments or fingerstall device;
Fig. 3 is the side view according to the nail of another illustrative embodiments or fingerstall device;
Fig. 4 is the side view according to the nail of another illustrative embodiments or fingerstall device;
Fig. 5 is the side view according to the nail of an illustrative embodiments or fingerstall device; And
Fig. 6 is the vertical view according to the nail of an illustrative embodiments or fingerstall device.
In all accompanying drawings, unless stated otherwise, otherwise identical Reference numeral and symbol are used for representing similar characteristics, element, parts or the part of shown embodiment.In addition, though now with reference to accompanying drawing purport of the present invention is described in detail, this description is to carry out ground under in conjunction with the situation of shown embodiment.Be intended under not departing from, described embodiment be changed and revise by the situation of the true scope of the appended theme of the present invention that claim limited and spirit.
The specific embodiment
Realize best mode of the present invention
According to illustrative embodiments of the present disclosure, provide the device that is used to provide artificial nails with a plurality of sections or fingerstall device, system and method to solve this demand and other demand at least.
In some illustrative embodiments of the present invention, a kind of artificial nails or fingerstall device are provided.This exemplary means can comprise first sections and adjacency first sections with top surface and basal surface and have top surface and second sections of basal surface.First sections and second sections can form the modular appliance with far-end and near-end.At least a portion of the basal surface of first sections can contact the top surface of second sections of adjacency, makes that part of of the top surface that basal surface overlapped by first sections of adjacency of second sections to form acute angle with respect to the top surface of first sections.
In another illustrative embodiments of the present invention, provide a kind of method that is used to provide artificial nails or fingerstall device.Particularly, can provide first sections, second sections with top surface and basal surface also can be provided with top surface and basal surface.In addition, can form modular appliance by first sections and second sections.Also possible is overlaps at least a portion of the top surface of second sections with the basal surface of first sections of adjacency, makes that part of top surface with respect to first sections by the top surface that basal surface overlapped of first sections of adjacency of second sections form acute angle.
Illustrative embodiments of the present invention comprises device, the system and method that is used to provide artificial nails/fingerstall.Though exemplary means of the present invention, system and method can be used for the extension of any health, for example, finger or toe, they are particularly useful for the cosmetic of finger nail or vision enhancement.The present invention not only can use in retail application (for example, all standing nail etc.) and can use in professional application (for example acrylic painting method etc.).
Mode of the present invention
Fig. 1 shows the illustrative embodiments of the artificial nails/fingerstall device 10 that comprises two sections.Artificial nails/fingerstall device 10 can be configured as the outward appearance of imitation natural nail substantially.For example, one or more artificial nailses/fingerstall device 10 according to an illustrative embodiment of the invention can have the approximate rectangular or crooked shape of its length greater than its width.But exemplary artificial nails/fingerstall device 10 also can be arranged to arbitrary shape or size based on the application of its expectation.
For the purpose of illustrative embodiments of the present invention, the whole lip-deep all standing nail and being intended to that term " artificial nails " can include but not limited to be intended to can be applicable to wearer's natural nail may be used on the nail extension on wearer's the part of natural nail.Wearer's natural nail can be finger nail or toenail.Therefore, can be that its size and dimension forms the finger nail that is applied to the wearer or the artificial nails on the toenail according to the artificial nails of specific exemplary embodiments of the present invention.In an illustrative embodiments, artificial nails/fingerstall device 10 can manufacture a plurality of standard group on size and the length, makes user/wearer can select desired size and the length near user/wearer's nail size and dimension then.
As shown in Figure 1, nail/fingerstall device 10 can be sized to thenatural nail 15 that makes at least a portion far-end ofdevice 10 extend to the wearer and/or extend from wearer's natural nail 15 (for example, from its epidermis part) far-end.In specific implementations, nail/fingerstall device 10 can comprisefirst sections 20 withtop surface 60 andbasal surface 80, andsecond sections 30 withtop surface 70 and basal surface 90.In an illustrative embodiments,second sections 30 can be arranged to that side direction is close tofirst sections 20 and by at least a portion offirst sections 20 overlap joint.In certain exemplary embodiments,first sections 20 andsecond sections 30 can form the modular appliance with far-end 40 and near-end 50 when adjacency, and wherein near-end is located on or near the epidermis of wearer's finger (natural nail 15).In the Alternative exemplary embodiment, any infirst sections 20 andsecond sections 30 or two can comprise one or more minor segments, and these minor segments can formfirst sections 20 andsecond sections 30 respectively after combination.
In an exemplary embodiment of the present invention, near-end 50 can be configured to be arranged on the epidermis part of natural nail 15.In another illustrative embodiments, far-end 40 can be configured to be arranged on the relative with the epidermis part ofnatural nail 15 and away from epidermis front portion partly.
In certain exemplary embodiments, at least a portion of thebasal surface 80 offirst sections 20 overlaps at least a portion oftop surface 70 ofsecond sections 30 to form interface 95.In an illustrative embodiments, theinterface 95 between thesections 20,30 of adjacency can comprise one or more parts.For example, as shown in Figure 1,interface 95 can comprise the single part that is essentially full curve.As shown in Figure 1, according to an exemplary embodiment of the present invention, thetop surface 70 ofsecond sections 30 can have the curve shape that is bent away from from thetop surface 60 of first sections 20.According to another illustrative embodiments of the present invention, thetop surface 70 ofsecond sections 30 can have the part that can have rectilinear form, and this part with rectilinear form is left fromtop surface 60 extensions offirst sections 20 with linear fashion at least in part.For this reason, at least a portion of thebasal surface 80 offirst sections 20 shape that can have can correspond essentially to the shape of at least a portion of thetop surface 60 offirst sections 20.
In an illustrative embodiments, at least a portion of thetop surface 70 ofsecond sections 30 can form an angle with respect to the part of thetop surface 60 of first sections 20.For example, as shown in Figure 1, be configured to be arranged on the part oftop surface 70 of leaving epidermis a distance, for example being located on or nearsecond sections 30 of finger fingertip position and can form an acute angle with respect to the top surface of first sections 20.In the illustrative embodiments shown in Figure 1, thebasal surface 80 offirst sections 20 is thetop surface 70 of contactsecond sections 30 on its whole length basically.Alternately, but the part far-end offirst sections 20 extend into and exceedsecond sections 30, make the part ofbasal surface 80 offirst sections 20 not contact thetop surface 70 ofsecond sections 30.
Fig. 2 shows the vertical view of the nail/fingerstall device 10 according to specific exemplary embodiments of the present invention.As shown in Figure 2, thetop surface 70 of thetop surface 60 offirst sections 20 andsecond sections 30 forms the smooth basically top surface of nail/fingerstall device 10.In addition, though thetop portion 60 that Fig. 2 showsfirst sections 20 wherein is 50 illustrative embodiments that extend laterally certain distance from far-end 40 towards near-end, should be understood that thetop portion 60 offirst sections 20 can be from far-end 40 towards near-end 50 extends laterally the distance that substitutes arbitrarily.
Fig. 3 shows another illustrative embodiments according to nail of the present invention/fingerstall device 100.The same with the above illustrative embodiments of describing with reference to Fig. 1 and 2, exemplary nail/fingerstall device 100 can comprisefirst sections 110 withtop surface 120 andbasal surface 125, and second sections withtop surface 135 and basal surface 140.The same with the aforementioned exemplary embodiment, at least a portion of the basal surface offirst sections 110 can overlap at least a portion oftop surface 135 ofsecond sections 130 to form interface 145.One as the aforementioned exemplary embodiment substitutes, and theinterface 145 between the adjacency sections can comprise a plurality of parts.For example, with reference to the similar components among Fig. 2,interface 145 can comprise first with Curved Continuous pars convoluta basically and be arranged on far-end and can be arranged essentially parallel to the second portion that thetop surface 120 offirst sections 110 extends with respect to first.Therefore, the corresponding part of the second portion withinterface 145 of thetop surface 135 ofsecond sections 130 also can be arranged essentially parallel totop surface 120 extensions of first sections 110.Yet the same with aforesaid illustrative embodiments, the part of thetop surface 135 ofsecond sections 130---it is configured to be arranged on apart from the specific distance of epidermis---can form an acute angle with respect to thetop surface 120 of first sections.
In certain exemplary embodiments, nail/fingerstall device 10,100 can have consistent thickness substantially, and for example, about 0.8mm is to 1.0mm, and thickness can reduce (for example attenuation gradually) towards near-end 50 so that mutually attached and mixed with natural nail 15.In the Alternative exemplary embodiment, nail/fingerstall device 10,100 can have any thickness, and can be based on optional preferred aesthetics and/or other factors and attenuation gradually.
In another illustrative embodiments of the present invention, the one or more sections that constitute nail/fingerstall device 10,100 can be arranged to a kind of specific color or multiple color.Referring again to Fig. 1, in an illustrative embodiments,first sections 20 can be arranged to the different color of one or more residue sections with nail/fingerstall device 10.For example, in an illustrative embodiments,first sections 20 can comprise white (nail polish), canescence or near-white, wherein,second sections 30 can comprise contrastive colours or different colours (nail polish), thereby the outward appearance of " French fingerstall " or " French pruning " is provided.In addition, for example,second sections 30 can comprise the translucent polymeric material of the color that can imitate natural fingernails and toenails.Alternately, any infirst sections 20 and/orsecond sections 30 or two can be arranged to random color.
In another illustrative embodiments of the present invention,first sections 20 can have the color of basically identical on the whole thickness of sections.For example,first sections 20 can be formed by the material of homogeneity basically, and it is all substantially the same to make the outward appearance offirst sections 20 extend tobasal surface 80 from top surface 60.In this manner, the outward appearance of the firstcoloured sections 20 of nail/fingerstall device 10 will be not can be as artificial nails's situation because scratch, cracked, rub and/or come off and deterioration, in artificial nails's situation, color can be applied as the thin layer that is arranged on the far-end fingerstall part 40.In addition, forming and on its whole thickness, have basic evenlyfirst sections 20 of color and can reduce or eliminate the other step that the thin layer with the solution of thin layer nail polish or other color is coated in the step on artificial nails's part and seals the thin nonferrous layer of artificial nails/fingerstall device 10 with sealant according to an illustrative embodiment of the invention.
In other illustrative embodiments of the present invention, can exemplary nail/fingerstall device 10 be applied on thenatural nail 15 as following mode.After choosing the nail of suitable dimension/fingerstall device 10, the user can be with the conventional binders selected, for example put on thenatural nail 15 based on the acrylic acid viscose glue of cyanoformic ester.Second sections 30 of nail/fingerstall device 10 can be placed on thenatural finger tip 15 then, thus covernatural nail 15 the surface basically all or part of.Can exert pressure to nail/fingerstall device 10 by pressing down second sections 30.This pressure can cause 30 compressions of second sections and meet the surface profile of wearer'snatural finger tip 15, may provide better fit thus.Subsequently, the user can be applied to the conventional binders of selecting on thetop surface 70 of second sections 30.Then,first sections 20 can be placed at least in part ontop surface 70 or overlapjoint top surface 70 to form the box-like nail of exemplary group/fingerstall device 10.As expectation, in case apply, nail/fingerstall device 10 can utilize nail file to repair and configuration.Alternately, nail/fingerstall device can utilize any known method and be applied tonatural finger tip 15.
In another illustrative embodiments, nail/fingerstall device 10 can be used as single and offers the user.That is, in this illustrative embodiments, the mode that nail/fingerstall device 10 canfirst sections 20 be incorporated intosecond sections 30 offers the user.Therefore, in this illustrative embodiments, the applying of nail/fingerstall device 10 can include only combined type nail/fingerstall device 10 is bonded on wearer's the surface ofnatural finger tip 15.
Fig. 4 shows another illustrative embodiments according to nail of the present invention/fingerstall device 100.The same with the above illustrative embodiments of describing with reference to Fig. 1-3, exemplary nail/fingerstall device 200 can comprisefirst sections 20 withtop surface 60 andbasal surface 80 and havetop surface 70 andsecond sections 30 of basal surface 90.The same with aforesaid illustrative embodiments, at least a portion of thebasal surface 80 offirst sections 20 can overlap at least a portion oftop surface 70 ofsecond sections 30 to form interface 95.Substituting or adding as the aforementioned exemplary embodiment, the3rd sections 205 comprises thebasal surface 210 on thepart 85 of thetop surface 70 that can be arranged onsecond sections 30, thispart 85 is arranged on the epidermis of finger nail or near it, perhaps be arranged onsecond sections 30top surface 70, away from first 20, relative with first 20 or leave on the part offirst's 20 1 segment distances.For example, the interaction between thepart 85 of thetop surface 70 of thebasal surface 210 of the3rd sections 205 andsecond sections 30 can form anotherinterface 220.
According to an exemplary embodiment of the present invention, at least onepart 85 of thetop surface 70 ofsecond sections 30 can have crooked shape, and thetop surface 215 of the3rd sections 205 is left in its bending.According to another illustrative embodiments of the present invention, at least onepart 85 of thetop surface 70 ofsecond sections 30 can comprise the part that can have rectilinear form, and it extends thetop surface 215 that leaves the3rd sections 205 with linear fashion at least in part.For this reason, at least a portion of thebasal surface 210 of the3rd sections 205 shape that can have can correspond essentially to the shape ofpart 85 of thetop surface 70 ofsecond sections 30.
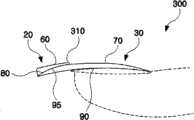
Fig. 5 and 6 shows another illustrative embodiments according to nail of the present invention/fingerstall device 300.The same with the above illustrative embodiments of describing with reference to Fig. 1-4, exemplary nail/fingerstall device 300 can comprisefirst sections 20 withtop surface 60 andbasal surface 80, andsecond sections 30 withtop surface 70 and basal surface 90.The same with the aforementioned exemplary embodiment, at least a portion of thebasal surface 80 offirst sections 20 can overlap at least a portion oftop surface 70 ofsecond sections 30 to form interface 95.In addition, the abutment portion of thetop surface 60 of the top surface ofsecond sections 30 andfirst sections 20 can forminterface 305, top.Depict as and form curved interface though in Fig. 5 and 6, will push upinterface 305, push upinterface 305 and can have any configuration, such as, for example straight line, angled etc.As the aforementioned exemplary embodiment substitute or additional, can small protuberance orridge 310 be set along top surface 305.For example, in some illustrative embodiments,ridge 310 can form at the thickness near 305 places, interface, top by any or two that increase a little infirst sections 20 and second sections 30.In an illustrative embodiments, it is identical with the natural look of French nail thatridge 310 can be configured to.Understand as those of ordinary skill in the art, draw/the French nail of nature in because the extra play of nail polish is formed with small protuberance along the French line.
In another illustrative embodiments, nail/fingerstall device 10,100,200,300 and/or itssections 20,30,120,130,205 can form by injection molding.For example, in an illustrative embodiments, nail/fingerstall device 10 and/or itssections 20,30,205 can be by forming as hot fingerstall door (hot tip gate) technology and/or operation (runner) systems approach of describing in the U.S. Patent No. 2006/0237027, and the full content of this patent is incorporated in this mode integral body of quoting with reference.In an Alternative exemplary embodiment, artificial nails/fingerstall device 10 can be formed by any known method.
In another illustrative embodiments of the present invention, nail/fingerstall device 10,100,200,300 and/or itssections 20,30,205 can form for example ABS plastic, nylon, butyl acetate cellulosic plastics, vinylacetate, Merlon, polyvinyl chloride etc. or their any combination by any class plastic material commonly used in artificial nails's manufacturing.In an illustrative embodiments, the material that is used forfirst sections 20,second sections 30 and/or the3rd sections 205 can select and then be compatible and chemically combination each other, makes sections be bonded to together and makes the risk minimization that separates between the sections.In addition, this material can have chemoresistance to certain products, and described certain products for example is used for nail/fingerstall device 10,100,200 is applied to nail polish or binding agent on wearer's thenatural nail 15.
Below only show principle of the present invention.In view of instruction herein, the various modification of described embodiment and change are conspicuous for the person of ordinary skill of the art.Therefore should be understood that, clearly illustrated or described, still embodied principle of the present invention and so dropped on multiple systems, apparatus and method in the spirit and scope of the present invention though those of ordinary skill in the art can design not at this.In addition, for the mode of not quoting with above-mentioned reference and, clearly it is all incorporated at this in this existing art of incorporating into.More than at all disclosed full contents of this reference at this by incorporating into reference to mode of quoting.
Industrial applicibility
Although exemplary means of the present invention, system and method can be used for the extension of any health, for example, finger or toe, they are particularly useful for the cosmetic of finger nail or vision enhancement. The present invention not only can use in retail application (for example, all standing nail etc.) and can use in professional application (such as acrylic painting method etc.).

Claims (18)

CN200880128260XA2008-03-262008-12-12Artificial nail/tip arrangements having multiple sectionsPendingCN101990407A (en)

Applications Claiming Priority (5)

Application NumberPriority DateFiling DateTitle
US12/055,993US20090241976A1 (en)2008-03-262008-03-26Artificial nail/tip arrangements having multiple sections
US12/055,9932008-03-26
KR1020080101605AKR20090106978A (en)2008-03-262008-10-16 Nail or tip arrangement with multiple sections
KR10-2008-01016052008-10-16
PCT/KR2008/007365WO2009119963A1 (en)2008-03-262008-12-12Artificial nail/tip arrangements having multiple sections

Publications (1)

Publication NumberPublication Date
CN101990407Atrue CN101990407A (en)2011-03-23

Family

ID=41114123

Family Applications (1)

Application NumberTitlePriority DateFiling Date
CN200880128260XAPendingCN101990407A (en)2008-03-262008-12-12Artificial nail/tip arrangements having multiple sections

Country Status (10)

CountryLink
EP (1)EP2257197B1 (en)
JP (1)JP5279891B2 (en)
KR (1)KR101232073B1 (en)
CN (1)CN101990407A (en)
AU (1)AU2008353597B2 (en)
CA (1)CA2719213C (en)
ES (1)ES2609786T3 (en)
RU (1)RU2435504C1 (en)
UA (1)UA95750C2 (en)
WO (1)WO2009119963A1 (en)

Cited By (3)

* Cited by examiner, † Cited by third party
Publication numberPriority datePublication dateAssigneeTitle
CN103458727A (en)*2011-04-042013-12-18夏普株式会社Artificial nail and nail polish
CN103844552A (en)*2012-11-302014-06-11张成龙Touch type artificial fingernail
CN110419845A (en)*2018-05-012019-11-08Kmc伊格西姆公司Artificial nails with size instruction

Families Citing this family (7)

* Cited by examiner, † Cited by third party
Publication numberPriority datePublication dateAssigneeTitle
KR101239736B1 (en)*2010-06-102013-03-06장성용Artificial moon nail
FR2971919A1 (en)*2011-02-282012-08-31Joris StasiakCapsule for partially removable false nail, has portion forming base, and arrangement unit for securing or detaching alternately and repeatedly base and extension independent of fixing of base on natural nail
US9753551B2 (en)2013-03-152017-09-05Stacey GottliebFingernail system for use with capacitive touchscreens
KR101457431B1 (en)*2014-04-112014-11-05제이씨코리아 주식회사French artificial nail
KR102278851B1 (en)2019-09-032021-07-16이광권An Artificial Nail Having an Enhanced Adhesion and a Shape-Keeping Property
KR102370634B1 (en)2020-06-182022-03-03이광권An Anti-biotic Artificial Nail and a Method for Producing the Same
IT202200008648A1 (en)*2022-04-292023-10-29Noemi COLIANNI Nail prosthesis and method of applying a nail prosthesis

Family Cites Families (12)

* Cited by examiner, † Cited by third party
Publication numberPriority datePublication dateAssigneeTitle
JP2729477B2 (en)*1996-01-261998-03-18亀水化学工業株式会社 Artificial nails
US20020185144A1 (en)*2000-06-272002-12-12Kmc Exim Corp.Artificial nail and method for applying same
US20020002980A1 (en)*2000-06-272002-01-10Kiss Products, Inc.Artificial nail and method for applying same
JP2002034640A (en)*2000-07-312002-02-05Teikoku Printing Inks Mfg Co LtdFalse nails for decoration
US7337783B2 (en)*2002-10-282008-03-04Kiss Nail Products, Inc.Fingernail accessory and method of forming an artificial fingernail
US20040079381A1 (en)*2002-10-282004-04-29Kiss Products, Inc.Artificial fingernail and fingernail extension
US7150281B2 (en)*2002-10-282006-12-19Kiss Nail Products, Inc.Conformable artificial fingernail and method of making same
US7677257B2 (en)*2002-10-282010-03-16Kiss Nail Products, Inc.Artificial nail and method of forming same
US20040194794A1 (en)*2003-04-022004-10-07Keum Hwa KimArtificial nail containing liquid
US20050268931A1 (en)*2004-06-082005-12-08Chang Sung YSystems and methods for artificial nail
KR100772619B1 (en)*2006-11-082007-11-02장성용 Artificial nail, artificial nail set, artificial nail set manufacturing mold, artificial nail manufacturing method and artificial nail set manufacturing method
RU71224U1 (en)*2007-11-092008-03-10Наталья Эдуардовна Власова KIT FOR NAIL EXTENSION AND MODELING

Cited By (4)

* Cited by examiner, † Cited by third party
Publication numberPriority datePublication dateAssigneeTitle
CN103458727A (en)*2011-04-042013-12-18夏普株式会社Artificial nail and nail polish
US9282801B2 (en)2011-04-042016-03-15Sharp Kabushiki KaishaArtificial nail
CN103844552A (en)*2012-11-302014-06-11张成龙Touch type artificial fingernail
CN110419845A (en)*2018-05-012019-11-08Kmc伊格西姆公司Artificial nails with size instruction

Also Published As

Publication numberPublication date
AU2008353597A1 (en)2009-10-01
CA2719213A1 (en)2009-10-01
JP2011525121A (en)2011-09-15
KR20100123721A (en)2010-11-24
UA95750C2 (en)2011-08-25
ES2609786T3 (en)2017-04-24
AU2008353597B2 (en)2012-12-13
RU2435504C1 (en)2011-12-10
WO2009119963A1 (en)2009-10-01
JP5279891B2 (en)2013-09-04
EP2257197B1 (en)2016-11-16
EP2257197A1 (en)2010-12-08
KR101232073B1 (en)2013-02-12
EP2257197A4 (en)2014-08-13
CA2719213C (en)2018-01-16

Similar Documents

PublicationPublication DateTitle
CN101990407A (en)Artificial nail/tip arrangements having multiple sections
CN100377677C (en)Adapting artificial finger nail and its mfg. method
EP2105060A1 (en)Artificial nail/tip arrangements having multiple sections
US9451800B2 (en)Artificial eyelashes with a tapered cut
US9427061B2 (en)Flexible artificial nails and method of forming same
US20170079356A1 (en)Multi-lashes with different distal tips
CN101091601A (en)Artificial nail and method of forming same
CN207444516U (en)A kind of eyelashes stick
US20080138520A1 (en)Method and System For Fashioning Artificial Nails Having Colorful Patterns
US20050087204A1 (en)Artificial nail
US20030209250A1 (en)Artificial nail having a color transition portion
KR20090106978A (en) Nail or tip arrangement with multiple sections
KR200391311Y1 (en)Artificial fingernail
CN211092293U (en)Artificial nail
CN209449768U (en)A kind of novel slippers
CN2728288Y (en)Artificial nail with adhesive
US20110203602A1 (en)Delineating nail for nail treatment applications and method therefor
KR200350236Y1 (en)artificial stone for decorative nail produced by injection molding as a single body
CN104957846A (en)Object with fingernail decoration and preparation method thereof
JP3092564U (en) Decorative false nails
KeyteNails How to Young Nails: The French Filigree
CN107789841A (en)A kind of doll with plastic cement finger nail
WO2009038665A1 (en)Continuous curve fingernail acrylics form with handle tab and method
HK1159966B (en)Flexible artificial nails and method of forming same
HK1103608A1 (en)Structurally flexible artificial nails

Legal Events

DateCodeTitleDescription
C06Publication
PB01Publication
C10Entry into substantive examination
SE01Entry into force of request for substantive examination
REGReference to a national code

Ref country code:HK

Ref legal event code:DE

Ref document number:1155916

Country of ref document:HK

C12Rejection of a patent application after its publication
RJ01Rejection of invention patent application after publication

Application publication date:20110323

REGReference to a national code

Ref country code:HK

Ref legal event code:WD

Ref document number:1155916

Country of ref document:HK


[8]ページ先頭

©2009-2025 Movatter.jp