

技术领域technical field
本发明涉及一种显示器系统,尤其是一种亮度均匀的显示器系统及其消除显示器亮度不均匀的方法。The invention relates to a display system, in particular to a display system with uniform brightness and a method for eliminating uneven brightness of the display.
背景技术Background technique
随着电子技术的不断发展,目前,液晶显示器(Liquid Crystl Display,LCD)因为具有体积小以及重量轻的优点,已渐渐取代传统体积较为庞大的阴极射线显示器(Cathode Ray Tube,CRT),进而普遍地被社会大众所使用,尤其已广泛应用于监视器、笔记本电脑、数码相机及投影机等电子产品。With the continuous development of electronic technology, at present, liquid crystal display (Liquid Crystal Display, LCD) has gradually replaced the traditional bulky cathode ray display (Cathode Ray Tube, CRT) because of its advantages of small size and light weight. It is widely used by the general public, especially in electronic products such as monitors, notebook computers, digital cameras and projectors.
然而,一般的LCD需要由发光二极管(Light Emitting Diode,LED)作为背光光源。有机发光二极管(Organic Light Emitting Diode,OLED)显示器由于不需要背光模组,更适用于薄型显示器,而且具有无视角限制的优点。基于上述优点,现今OLED显示器蓬勃发展,有逐渐取代传统CRT显示器及LCD的趋势。However, a general LCD requires a light emitting diode (Light Emitting Diode, LED) as a backlight source. Organic Light Emitting Diode (OLED) displays are more suitable for thin displays because they do not require a backlight module, and have the advantage of no viewing angle limitation. Based on the above advantages, the current OLED display is booming and tends to gradually replace the traditional CRT display and LCD.
然而,由于OLED显示器中,每一个OLED组件的辉度(luminance)会因为制程或使用上的损耗而有所差异,因此很容易有亮度不均匀(mura effect)的现象。OLED组件的辉度耗损速度与如下因素特别有关,其中包括该OLED组件的特性、制程环境、OLED组件的驱动方式等。此外,亮度不均匀的问题在全彩OLED面板上尤其严重。一个全彩OLED面板具有红、绿、蓝三种颜色的OLED组件。这三种颜色的OLED组件的辉度耗损速度是不一样的。在长时间使用后,三种颜色的OLED组件的辉度差异会更为明显。However, in OLED displays, the luminance of each OLED component will vary due to manufacturing process or loss in use, so it is easy to have a phenomenon of uneven luminance (mura effect). The luminance loss speed of an OLED component is particularly related to the following factors, including the characteristics of the OLED component, the manufacturing environment, the driving method of the OLED component, and the like. In addition, the problem of uneven brightness is especially serious on full-color OLED panels. A full-color OLED panel has red, green, and blue OLED components. The luminance loss speeds of these three colors of OLED components are different. After a long time of use, the brightness difference of the three colors of OLED components will be more obvious.
可见,对现今的OLED显示器而言,亮度不均匀是一项重要的技术问题,也是各大厂家需要面临和攻克的一项重要的技术难题。It can be seen that for today's OLED displays, uneven brightness is an important technical problem, and it is also an important technical problem that major manufacturers need to face and overcome.
发明内容Contents of the invention
本发明的目的在于,提供一种亮度均匀的OLED显示器系统。The object of the present invention is to provide an OLED display system with uniform brightness.
此外,本发明的目的还在于,提供一种上述显示器系统消除亮度不均匀的方法。In addition, the object of the present invention is to provide a method for eliminating uneven brightness of the above-mentioned display system.
本发明的目的及解决其技术问题是采用以下的技术方案来实现的。The purpose of the present invention and the solution to its technical problems are achieved by adopting the following technical solutions.
一种显示器系统,其包括一个具有多个像素单元的像素矩阵,每一个像素单元具有一个有机发光二极管组件、感测单元、控制单元、数据处理单元、存储单元及补偿机制。在一测试模式中,感测单元导通以输出至少两次电流;控制单元用于控制有机发光二极管的通断,且在测试过程中,控制单元断开。数据处理单元根据上述输出电流,判断各个有机发光二极管组件的显示参数,并将该参数存储于存储单元。补偿机制根据该存储单元所储存的上述显示参数校正一视讯,校正后的信号将被用来驱动该像素矩阵,该像素矩阵显示该视讯时,感测单元断开,控制单元连通,以使有机发光二极管通电并发光。A display system includes a pixel matrix with multiple pixel units, and each pixel unit has an organic light emitting diode assembly, a sensing unit, a control unit, a data processing unit, a storage unit and a compensation mechanism. In a test mode, the sensing unit is turned on to output current at least twice; the control unit is used to control the organic light emitting diode to be turned on and off, and the control unit is turned off during the test. The data processing unit judges the display parameters of each organic light emitting diode assembly according to the above output current, and stores the parameters in the storage unit. The compensation mechanism corrects a video according to the above-mentioned display parameters stored in the storage unit, and the corrected signal will be used to drive the pixel matrix. When the pixel matrix displays the video, the sensing unit is disconnected and the control unit is connected, so that the organic The LED is powered and glows.
上述显示器系统中,所述像素矩阵还包括多条数据线;每一有机发光二极管组件以及所对应之感测单元均耦接于同一条数据线,该数据线用来将上述测试得到的电流数据传送至该数据处理单元或是校正后的信息传送至该像素。In the above display system, the pixel matrix further includes a plurality of data lines; each organic light emitting diode component and the corresponding sensing unit are coupled to the same data line, and the data line is used to transfer the current data obtained from the above test to The information sent to the data processing unit or the corrected information is sent to the pixel.
所述像素单元还包括一薄膜晶体管开关、一驱动薄膜晶体管及一储存电容,薄膜晶体管开关的栅极耦接一第一扫描线,薄膜晶体管开关的源极与漏极的其中之一耦接一第一数据线,另一端则耦接驱动薄膜晶体管的栅极,驱动薄膜晶体管的源极与漏极的其中一端耦接一电源线,另一端则耦接控制单元,储存电容跨接于电源线与驱动薄膜晶体管的栅极之间。The pixel unit also includes a thin film transistor switch, a driving thin film transistor and a storage capacitor, the gate of the thin film transistor switch is coupled to a first scanning line, and one of the source and drain of the thin film transistor switch is coupled to a The first data line, the other end is coupled to the gate of the driving thin film transistor, one end of the source and drain of the driving thin film transistor is coupled to a power line, the other end is coupled to the control unit, and the storage capacitor is connected across the power line between the gate of the driving thin film transistor.
所述感测单元和控制单元为导通方向相反的两个开关元件,当感测元件导通时,控制元件断开;当控制元件导通时,感测元件断开。The sensing unit and the control unit are two switching elements with opposite conducting directions. When the sensing element is turned on, the control element is turned off; when the control element is turned on, the sensing element is turned off.
所述感测单元和控制单元分别由一薄膜晶体管实现,该感测单元的薄膜晶体管的源极与漏极的其中一端耦接驱动薄膜晶体管的栅极,另一端则耦接控制单元的薄膜晶体管的漏极或源极,且该控制单元的薄膜晶体管的漏极或源极的另一端则耦合有机发光二极管理组件的阳极。The sensing unit and the control unit are respectively implemented by a thin film transistor, one end of the source and drain of the thin film transistor of the sensing unit is coupled to the gate of the driving thin film transistor, and the other end is coupled to the thin film transistor of the control unit The drain or source of the control unit, and the other end of the drain or source of the thin film transistor of the control unit is coupled to the anode of the organic light emitting diode physical component.
所述感测单元的薄膜晶体管的栅极耦接一第二扫描线,所述控制单元的薄膜晶体管的栅极耦接一第三扫描线。The gate of the TFT of the sensing unit is coupled to a second scan line, and the gate of the TFT of the control unit is coupled to a third scan line.
在一测试模式中,该感测单元输出一电流经由薄膜晶体管开关至第一数据线,并测得与该电流相对应的驱动薄膜晶体管栅极电压,该电流与电压大小与该有机发光二极管组件的显示参数有关。In a test mode, the sensing unit outputs a current through the thin film transistor switch to the first data line, and measures the gate voltage of the driving thin film transistor corresponding to the current, and the magnitude of the current and voltage is similar to that of the organic light emitting diode component related to the display parameters.
所述显示器系统实现于一显示面板中,所述像素矩阵、数据处理单元、存储单元以及补偿机制均包含于该显示面板中。The display system is implemented in a display panel, and the pixel matrix, data processing unit, storage unit and compensation mechanism are all included in the display panel.
该显示器系统实现于一电子装置中,该电子装置包括:所述显示面板及一输入装置,该输入装置耦接该显示面板,用以提供所述视讯至该显示面板,使该显示面板得以播放该视讯。所述电子装置为一移动电话、一数码相机、一个人数字助理、一笔记本电脑、一电视、一车载屏幕或一便携式多媒体播放器。The display system is implemented in an electronic device, and the electronic device includes: the display panel and an input device, the input device is coupled to the display panel to provide the video to the display panel, so that the display panel can be played the video. The electronic device is a mobile phone, a digital camera, a personal digital assistant, a notebook computer, a television, a vehicle screen or a portable multimedia player.
一种消除显示器亮度不均匀的方法,其包括如下步骤:提供一像素矩阵,该像素矩阵包括多个像素单元,其中,每一个像素单元包括一驱动薄膜晶体管、一有机发光二极管、一感测单元及一控制单元;以一测试信号驱动所述驱动薄膜晶体管及感测单元;利用所述感测单元,输出至少两次电流,并测量所述驱动薄膜晶体管与上述电流对应的栅极电压;根据该输出电流及测得电压,判断各个有机发光二极管之显示参数,即各个有机发光二极管标准显示状态下对应的驱动薄膜晶体管的性能参数;将所有有机发光二极管之显示参数储存于一存储单元;以及根据储存于该存储单元的所有有机发光二极管之显示参数,校正视讯信息,校正后的视讯将被用来驱动该像素矩阵。A method for eliminating uneven brightness of a display, comprising the steps of: providing a pixel matrix, the pixel matrix includes a plurality of pixel units, wherein each pixel unit includes a driving thin film transistor, an organic light emitting diode, and a sensing unit and a control unit; drive the driving thin film transistor and the sensing unit with a test signal; use the sensing unit to output at least two currents, and measure the gate voltage of the driving thin film transistor corresponding to the current; according to The output current and the measured voltage determine the display parameters of each organic light emitting diode, that is, the performance parameters of the corresponding driving thin film transistors in the standard display state of each organic light emitting diode; store the display parameters of all organic light emitting diodes in a storage unit; and According to the display parameters of all OLEDs stored in the storage unit, the video information is corrected, and the corrected video will be used to drive the pixel matrix.
其中,所述像素单元还包括一薄膜晶体管开关及一储存电容,薄膜晶体管开关的栅极耦接一第一扫描线,薄膜晶体管开关的源极与漏极的其中之一耦接一第一数据线,另一端则耦接驱动薄膜晶体管的栅极,驱动薄膜晶体管的源极与漏极的其中一端耦接一电源线,另一端则耦接控制单元,储存电容跨接于电源线与驱动薄膜晶体管的栅极之间。Wherein, the pixel unit further includes a thin film transistor switch and a storage capacitor, the gate of the thin film transistor switch is coupled to a first scanning line, and one of the source and drain of the thin film transistor switch is coupled to a first data line, the other end is coupled to the gate of the driving thin film transistor, one end of the source and drain of the driving thin film transistor is coupled to a power line, the other end is coupled to the control unit, and the storage capacitor is connected across the power line and the driving thin film between the gates of the transistors.
所述感测单元和控制单元为导通方向相反的两个开关元件,当感测元件导通时,控制元件断开;当控制元件导通时,感测元件断开。The sensing unit and the control unit are two switching elements with opposite conducting directions. When the sensing element is turned on, the control element is turned off; when the control element is turned on, the sensing element is turned off.
所述感测单元和控制单元分别由一薄膜晶体管实现,该感测单元的薄膜晶体管的源极与漏极的其中一端耦接驱动薄膜晶体管的栅极,另一端则耦接控制单元的薄膜晶体管的漏极或源极,且该控制单元的薄膜晶体管的漏极或源极的另一端则耦合有机发光二极管理组件的阳极。The sensing unit and the control unit are respectively implemented by a thin film transistor, one end of the source and drain of the thin film transistor of the sensing unit is coupled to the gate of the driving thin film transistor, and the other end is coupled to the thin film transistor of the control unit The drain or source of the control unit, and the other end of the drain or source of the thin film transistor of the control unit is coupled to the anode of the organic light emitting diode physical component.
所述感测单元的薄膜晶体管的栅极耦接一第二扫描线,所述控制单元的薄膜晶体管的栅极耦接一第三扫描线。The gate of the TFT of the sensing unit is coupled to a second scan line, and the gate of the TFT of the control unit is coupled to a third scan line.
该感测单元输出的电流有驱动薄膜晶体管栅极对应的电压大小与该有机发光二极管组件的显示参数有关。The current output by the sensing unit is related to the voltage corresponding to the gate of the thin film transistor and the display parameters of the organic light emitting diode assembly.
所述显示器系统及其消除亮度不均匀的方法,通过在每一像素单元中设置一感测单元及控制单元,对驱动TFT在OLED标准显示模式下的性能参数进行测试、存储。同时,在测试时断开控制单元以断开OLED组件;在显示时断开感测单元,相当准确的测试参数,并校正OLED面板的显示效果,有效解决了OLED面板显示亮度不均匀的问题。In the display system and the method for eliminating uneven brightness, a sensing unit and a control unit are arranged in each pixel unit to test and store the performance parameters of the driving TFT in OLED standard display mode. At the same time, disconnect the control unit to disconnect the OLED components during the test; disconnect the sensing unit during the display, quite accurate test parameters, and correct the display effect of the OLED panel, effectively solving the problem of uneven display brightness of the OLED panel.
上述说明仅是本发明技术方案的概述,为了能够更清楚了解本发明的技术手段,而可依照说明书的内容予以实施,并且为了让本发明的上述和其他目的、特征和优点能够更明显易懂,以下特举较佳实施例,并配合附图,详细说明如下。The above description is only an overview of the technical solution of the present invention. In order to better understand the technical means of the present invention, it can be implemented according to the contents of the description, and in order to make the above and other purposes, features and advantages of the present invention more obvious and understandable , the following preferred embodiments are specifically cited below, and are described in detail as follows in conjunction with the accompanying drawings.
附图说明Description of drawings
图1是本发明所述显示器系统的较佳实施方式的结构方框图。FIG. 1 is a structural block diagram of a preferred embodiment of the display system of the present invention.
图2是图1所述显示器系统消除亮度不均匀方法的测试流程图。FIG. 2 is a test flow chart of the method for eliminating uneven brightness of the display system shown in FIG. 1 .
图3是图1所述显示器系统消除亮度不均匀方法的补偿流程图。FIG. 3 is a compensation flowchart of the method for eliminating brightness unevenness in the display system shown in FIG. 1 .
100:显示器系统 10:像素矩阵100: display system 10: pixel matrix
11:像素单元 111:TFT开关11: Pixel unit 111: TFT switch
112:驱动TFT 113:储存电容112: Drive TFT 113: Storage capacitor
114:感测单元 115:控制单元114: sensing unit 115: control unit
116:OLED组件 117:电源线116: OLED components 117: Power cord
M:数据线 N:第一扫描线M: data line N: first scan line
N1:第二扫描线 N2:第三扫描线N1: Second scan line N2: Third scan line
20:数据处理单元 21:模数转换器20: Data processing unit 21: Analog-to-digital converter
23:运算模块 30:存储单元23: Operation module 30: Storage unit
40:补偿机制 41:校正单元40: Compensation mechanism 41: Correction unit
43:数模转换器43: Digital-to-analog converter
具体实施方式Detailed ways
为更进一步阐述本发明为达成预定发明目的所采取的技术手段及功效,以下结合附图及较佳实施例,对依据本发明提出的显示器系统及其消除亮度不均匀的方法,其具体实施方式、结构、特征及其功效,详细说明如后。In order to further explain the technical means and effects of the present invention to achieve the intended purpose of the invention, the specific implementation of the display system and its method for eliminating uneven brightness according to the present invention will be described below in conjunction with the accompanying drawings and preferred embodiments. , structure, feature and effect thereof, detailed description is as follows.
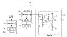
请参阅图1,为本发明一较佳实施例的结构方框图,其中显示器系统100可改善OLED面板的亮度不均匀问题。该显示器系统100包括一像素矩阵10、一数据处理单元20、一存储单元30及一补偿机制40。像素矩阵10包括多个像素单元。图1中仅绘出位于该像素矩阵10的坐标(N,M)的像素单元11。像素单元11包括一薄膜晶体管(Thin Film Transistor,TFT)开关111、一驱动TFT 112、一储存电容113、一感测单元114、一控制单元115及一OLED组件116。其中,感测单元114和控制单元115为导通方向相反的两个开关元件,当感测元件114导通时,控制元件115断开;当控制元件115导通时,感测元件114断开。Please refer to FIG. 1 , which is a structural block diagram of a preferred embodiment of the present invention, in which a
在本实施例中,感测单元114和控制单元115分别以TFT 114和115来实现,TFT 114和115的导通方向相反,以下以“感测TFT”代表该TFT 114,以“控制TFT”代表该TFT 115。TFT开关111的栅极耦接一第一扫描线N。TFT开关111的源极与漏极的其中一端耦接一数据线M,另一端则耦接驱动TFT 112的栅极。驱动TFT 112的源极与漏极的其中一端耦接一电源线117,另一端则同时耦接感测TFT 114源极与漏极的其中一端以及控制TFT 115源极与漏极的其中一端。同时,感测TFT 114源极与漏极中的另一端耦接驱动TFT 112的栅极,进而经由TFT开关111耦接数据线M。控制TFT 115的源极与漏极的中的另一端耦接OLED组件116的阳极。感测TFT 114的栅极耦接第二扫描线N1;控制TFT 115的栅极耦接第三扫描线N2。储存电容113跨接于电源线117与驱动TFT 112的栅极之间。上述电源线117可提供一电压Vdd.所述OLED组件116的阴极耦接一低位电压Vss.In this embodiment, the
所述数据处理单元20包括电性相连接的一模数转换器21和一运算模块23。所述模数转换器21与数据线M连接,用于将由数据线M传来的电流或电压信号转换成数字信号并传送至运算模块23。运算模块23内设置有一算法程序,根据从模数转换器21接收的信号,运算模块23计算出驱动TFT 112标准状态下的性能参数值,并将该性能参数值存储在存储单元30内。所述补偿机制40包括电性连接的一校正单元41和一数模转换器43。所述存储单元30与校正单元41电性相连接。所述数模转换器43与数据线M相连接。当显示一视讯信号之前,校正单元41根据存储单元30内存储的性能参数,确定电路中的电流或电压需要调整的数值,并将该数值传送至数模转换器43。数模转换器43将该数值转换成模似信号并传送至数据线M,以输入合适的电流或电压,以便驱动TFT112使OLED组件116处于标准的显示状态。The data processing unit 20 includes an analog-to-
在一测试模式下,第一扫描线N导通TFT开关111,同时,第二扫描线N1导通感测TFT 114,且控制TFT 115断开以使OLED组件116在测试模式下不发光。数据线M将一个测试信号(可为电压信号)经由TFT开关111耦接至储存电容113的一端,储存电容113的两端因而会存在一电位差。同时,流经驱动TFT112的电流Id用公式表示为:In a test mode, the first scan line N turns on the
其中,W/L为驱动TFT 112的通道宽长比,Cox为驱动TFT 112栅极与其通道之间的电容,u代表驱动TFT 112的电子迁移率,Vgs为驱动TFT 112栅极和源极之间的电压,Vth为驱动TFT 112的导通电压。Wherein, W/L is the channel width-to-length ratio of the driving
在测试模式的一感测时期,第二扫描线N1会导通感测TFT 114,驱动TFT112所产生的电流会有一部分流入感测TFT 114,并沿图1中箭头A1标识的路径输出三次电流,分别为I1、I2、I3,该电流I1、I2、I3的大小与驱动TFT 112栅极电压有关。分别量测出对应的驱动TFT 112的栅极电压Vg1、Vg2、Vg3,上述电流电压值经过模数转换器21转换后传送至运算模块23。运算模块23中存储有如下算法公式:During a sensing period in the test mode, the second scan line N1 turns on the
I1=A(Vgs1-Vth)2,Vdd-Vgs1-I1R=Vg1I1 =A(Vgs1 -Vth )2 , Vdd -Vgs1 -I1 R=Vg1
I2=A(Vgs2-Vth)2,Vdd-Vgs2-I2R=Vg2I2 =A(Vgs2 -Vth )2 , Vdd -Vgs2 -I2 R=Vg2
I3=A(Vgs3-Vth)2,Vdd-Vgs3-I3R=Vg3 (2)I3 =A(Vgs3 -Vth )2 , Vdd -Vgs3 -I3 R=Vg3 (2)
则,but,
I1=A(Vdd-Vg1-I1R-Vth)2I1 =A(Vdd -Vg1 -I1 RVth )2
I2=A(Vdd-Vg2-I2R-Vth)2 (3)I2 =A(Vdd -Vg2 -I2 RVth )2 (3)
I3=A(Vdd-Vg3-I3R-Vth)2I3 =A(Vdd -Vg3 -I3 RVth )2
运算模块23根据上述公式(2)和(3),计算出驱动TFT 112的导通电压Vth、电子迁移率及电流经过时驱动TFT 112所在电路中的电阻值R,即驱动TFT112在OLED组件116标准显示状态下的性能参数,该等参数作为有机发光二极管组件的显示参数。The
举例说明,如果I1=9I,I2-4I,I3=I,I为一常数,则9I=A(Vdd-Vg1-I1R-Vth)2For example, if I1=9I, I2-4I, I3=I, I is a constant, then 9I=A(Vdd -Vg1 -I1 RVth )2
4I=A(Vdd-Vg2-I2R-Vth)2(4)4I=A(Vdd -Vg2 -I2 RVth )2 (4)
I=A(Vdd-Vg3-I3R-Vth)2I=A(Vdd -Vg3 -I3 RVth )2
从而得出驱动TFT 112在OLED组件116标准显示状态下的性能参数如下:Thus, the performance parameters of the driving
IR=Vg2-(Vg1+vg3)/2IR=Vg2 -(Vg1 +vg3 )/2
Vth=Vdd-3Vg3+3Vg2-Vg1(5)Vth =Vdd -3Vg3 +3Vg2 -Vg1 (5)
A=I/(Vdd-Vg3-IR-Vth)2A=I/(Vdd -Vg3 -IR-Vth )2
显然,如果忽略考虑电流经过时驱动TFT 112所在电路中的电阻值R,则仅需沿图1中箭头A1标识的路径输出两次电流,分别为I1、I2,分别量测出对应的驱动TFT 112的栅极电压Vg1、Vg2。上述电流电压值经过模数转换器21转换后传送至运算模块23。运算模块23中根据算法公式(2)和(3)则得出驱动TFT 112在OLED组件116标准显示状态下的性能参数如下:Obviously, ifthe resistance value R in the circuit where the driving
Vth=Vdd+Vg2-3Vg3Vth =Vdd +Vg2 -3Vg3
A=I/(Vdd-Vg3-Vth)2(6)A=I/(Vdd -Vg3 -Vth )2 (6)
运算模块23将每个像素单元11的驱动TFT 112在OLED组件116标准显示状态下的性能参数,作为OLED组件116的显示参数均存储于存储单元30。储存于存储单元30中的性能参数可在显示器系统100接收到一测试指令时重新测试并更新。可在如下情况更新存储单元30所储存之显示参数:显示器系统100出厂时,每次启动显示器系统100时、或显示器系统100经长时间运作时。The
在显示模式下,校正单元41根据存储单元30内存储的性能参数校正OLED面板将要显示的视讯信号,以消除OLED面板的亮度不均匀问题。根据一个视讯,OLED面板上的每个像素单元均会对应一电压信号。以像素单元11为例,校正单元41根据存储单元30内存储的性能参数调整电压信号,确定电路中的电流或电压需要调整的数值,校正好的电压信号将由数模转换器43转换成模拟信号,并将该模似信号下的电压传送至数据线M,通过数据线M将该电压写入至像素单元11,从而驱动TFT 112使OLED组件116在标准状态下显示视讯信号。In the display mode, the
在该显示模式下,无论第一扫描线N是否停止导通TFT开关111,第三扫描线N2均导通控制TFT 115。当第一扫描线N停止导通TFT开关111时,驱动TFT 112会根据储存电容113的两端的电位差产生一电流流经控制OLED组件116。In this display mode, no matter whether the first scanning line N stops turning on the
本发明的另一种实施方式为将该第一扫描线N、第二扫描线N1及第三扫描线N2合并成同一条扫描线制作。在测试模式下,TFT开关111与感测TFT 114导通状态总是一致的,而由于感测TFT 114与控制TFT 115的导通方向相反,所以感测TFT 114与控制TFT 115的状态总是相反,即,控制TFT 115在测试模式下总是处于截止状态。Another embodiment of the present invention is to combine the first scan line N, the second scan line N1 and the third scan line N2 into one scan line. In the test mode, the conduction states of the
请参阅图2及图3,所述显示器系统10消除亮度不均匀的方法包括图2所示的测试流程和图3所述的补偿流程。测试流程包括步骤S1至S4,说明如下:步骤S1,以一个测试信号驱动所述驱动TFT 112和感测TFT 114,并有电流经过感测TFT 114。步骤S2,经由感测TFT 114输出两次或三次电流,该电流经由数据线传送至数据处理单元20。步骤S3,数据处理单元20中的判断各像素单元中的驱动TFT在OLED标准显示状态下的性能参数。步骤S4,数据处理单元20将得出的性能参数传送至存储单元30。Please refer to FIG. 2 and FIG. 3 , the method for eliminating uneven brightness of the
补偿流程包括步骤S5至S8,说明如下:在OLED面板需要显示一视讯时,首先,在步骤S5中,校正单元41从存储单元30中读取稳中有各像素单元中的驱动TFT在OLED标准显示状态下的性能参数,并进入步骤S6,计算对应OLED组件的电压电流值及Gamma特性。步骤S7中,对OLED组件的亮度进行灰阶修正,校正单元41根据存储单元30内存储的性能参数调整电压信号,确定电路中的电流或电压需要调整的数值,校正好的电压信号将由数模转换器43转换成模拟信号,并将该模似信号下的电压传送至数据线M。步骤S8中,通过数据线M将上述电压写入至像素单元11,驱动TFT 112使OLED组件116在标准状态下显示视讯信号。The compensation process includes steps S5 to S8, which are described as follows: When the OLED panel needs to display a video, first, in step S5, the
本发明可应用在全彩OLED显示器上。全彩OLED显示器的像素矩阵之像素主要分为三类,分别具有发射红光、绿光、以及蓝光的OLED组件。本发明所揭露的感测单元可以只装配在生命周期较短的OLED组件上(通常为红光或蓝光OLED组件),以降低像素内电路的复杂度以及OLED面板的成本。在本发明的另一实施例中,亦可不论红光、绿光、或蓝光OLED组件都装配上述感测单元。此外,不同颜色的OLED组件可分别具有一组专用的转换电路、存储单元以及补偿机制,也可共享一组转换电路、内存、与补偿电路。The invention can be applied to full-color OLED displays. The pixels of the pixel matrix of the full-color OLED display are mainly divided into three types, which respectively have OLED components that emit red light, green light, and blue light. The sensing unit disclosed in the present invention can only be assembled on OLED components with a short life cycle (usually red or blue OLED components), so as to reduce the complexity of the circuit in the pixel and the cost of the OLED panel. In another embodiment of the present invention, the above-mentioned sensing unit can also be assembled regardless of red light, green light, or blue light OLED components. In addition, OLED components of different colors may respectively have a set of dedicated conversion circuits, storage units and compensation mechanisms, or may share a set of conversion circuits, memory, and compensation circuits.
本发明所揭露的技术可应用于一显示面板或一电子装置上。图1的显示器系统100所包含的像素矩阵10、数据处理单元20、存储单元30及补偿机制40。皆可整合在显示面板(如OLED面板)中,该显示面板可在多种电子装置中安装。通常,电子装置可包括显示面板与一输入装置。输入装置耦接显示面板,并且可提供一视讯信号给显示面板。该显示面板可利用本发明所揭露的技术校正视讯,以显示亮度均匀的影像。所述电子装置可为移动电话、数码相机、个人数字助理(Personal Digital Assistant,PDA)、笔记本电脑、电视、车载屏幕、或便携式多媒体播放器等。The technology disclosed in the present invention can be applied to a display panel or an electronic device. The
所述显示器系统100及其消除亮度不均匀的方法,通过在每一像素单元中设置一感测单元及控制单元,对驱动TFT在OLED标准显示模式下的性能参数进行测试、存储。同时,在测试时断开控制单元以断开OLED组件;在显示时断开感测单元,相当准确的测试参数,并校正OLED组件的显示效果,有效解决了OLED面板显示亮度不均匀的问题。The
以上所述,仅是本发明的较佳实施例而已,并非对本发明作任何形式上的限制,虽然本发明已以较佳实施例揭露如上,然而并非用以限定本发明,任何熟悉本专业的技术人员,在不脱离本发明技术方案范围内,当可利用上述揭示的技术内容作出些许更动或修饰为等同变化的等效实施例,但凡是未脱离本发明技术方案内容,依据本发明的技术实质对以上实施例所作的任何简单修改、等同变化与修饰,均仍属于本发明技术方案的范围内。The above description is only a preferred embodiment of the present invention, and does not limit the present invention in any form. Although the present invention has been disclosed as above with preferred embodiments, it is not intended to limit the present invention. Anyone familiar with this field Those skilled in the art, without departing from the scope of the technical solution of the present invention, may use the technical content disclosed above to make some changes or modify them into equivalent embodiments with equivalent changes, but as long as they do not depart from the technical solution of the present invention, the Technical Essence Any simple modifications, equivalent changes and modifications made to the above embodiments still fall within the scope of the technical solution of the present invention.
| Application Number | Priority Date | Filing Date | Title |
|---|---|---|---|
| CN2009101608507ACN101968947A (en) | 2009-07-27 | 2009-07-27 | Display device system and method for eliminating display device brightness uniformity |
| Application Number | Priority Date | Filing Date | Title |
|---|---|---|---|
| CN2009101608507ACN101968947A (en) | 2009-07-27 | 2009-07-27 | Display device system and method for eliminating display device brightness uniformity |
| Publication Number | Publication Date |
|---|---|
| CN101968947Atrue CN101968947A (en) | 2011-02-09 |
| Application Number | Title | Priority Date | Filing Date |
|---|---|---|---|
| CN2009101608507APendingCN101968947A (en) | 2009-07-27 | 2009-07-27 | Display device system and method for eliminating display device brightness uniformity |
| Country | Link |
|---|---|
| CN (1) | CN101968947A (en) |
| Publication number | Priority date | Publication date | Assignee | Title |
|---|---|---|---|---|
| CN102750903A (en)* | 2012-06-28 | 2012-10-24 | 昆山工研院新型平板显示技术中心有限公司 | Organic light emitting display system and brightness ununiformity eliminating method of organic light emitting display system |
| WO2014059689A1 (en)* | 2012-10-19 | 2014-04-24 | 深圳市华星光电技术有限公司 | Oled display apparatus and control method thereof |
| CN103903559A (en)* | 2012-12-24 | 2014-07-02 | 乐金显示有限公司 | Organic light emitting display device and method of driving the same |
| CN104882100A (en)* | 2015-06-29 | 2015-09-02 | 京东方科技集团股份有限公司 | Detection circuit, method and pixel circuit |
| CN107025884A (en)* | 2017-05-04 | 2017-08-08 | 京东方科技集团股份有限公司 | OLED pixel compensation method, compensation device and display device |
| CN113241039A (en)* | 2016-06-14 | 2021-08-10 | 群创光电股份有限公司 | Display panel |
| CN113674692A (en)* | 2021-09-03 | 2021-11-19 | 深圳市华星光电半导体显示技术有限公司 | Voltage drop compensation method and device and electronic equipment |
| CN114822397A (en)* | 2022-05-17 | 2022-07-29 | 昆山国显光电有限公司 | Data processing method and device and display panel compensation method and device |
| Publication number | Priority date | Publication date | Assignee | Title |
|---|---|---|---|---|
| CN102750903A (en)* | 2012-06-28 | 2012-10-24 | 昆山工研院新型平板显示技术中心有限公司 | Organic light emitting display system and brightness ununiformity eliminating method of organic light emitting display system |
| WO2014059689A1 (en)* | 2012-10-19 | 2014-04-24 | 深圳市华星光电技术有限公司 | Oled display apparatus and control method thereof |
| CN103903559A (en)* | 2012-12-24 | 2014-07-02 | 乐金显示有限公司 | Organic light emitting display device and method of driving the same |
| CN103903559B (en)* | 2012-12-24 | 2016-04-20 | 乐金显示有限公司 | The method of organic light-emitting display device and driving organic light-emitting display device |
| CN104882100A (en)* | 2015-06-29 | 2015-09-02 | 京东方科技集团股份有限公司 | Detection circuit, method and pixel circuit |
| US10438542B2 (en) | 2015-06-29 | 2019-10-08 | Boe Technology Group Co., Ltd. | Detection circuit, detection method and pixel driving circuit |
| CN113241039A (en)* | 2016-06-14 | 2021-08-10 | 群创光电股份有限公司 | Display panel |
| CN107025884A (en)* | 2017-05-04 | 2017-08-08 | 京东方科技集团股份有限公司 | OLED pixel compensation method, compensation device and display device |
| CN113674692A (en)* | 2021-09-03 | 2021-11-19 | 深圳市华星光电半导体显示技术有限公司 | Voltage drop compensation method and device and electronic equipment |
| CN114822397A (en)* | 2022-05-17 | 2022-07-29 | 昆山国显光电有限公司 | Data processing method and device and display panel compensation method and device |
| CN114822397B (en)* | 2022-05-17 | 2023-11-17 | 昆山国显光电有限公司 | Data processing method and device, display panel compensation method and device |
| Publication | Publication Date | Title |
|---|---|---|
| US10937365B2 (en) | Temperature compensation method and device, and display apparatus | |
| US11594181B2 (en) | Display driving circuit and display device including the same | |
| CN109599060B (en) | Pixel compensation method, pixel compensation system and display device | |
| US7518577B2 (en) | Image display device | |
| CN101123066B (en) | Display system and method for eliminating uneven brightness of display | |
| US11626072B2 (en) | Display device and driving method thereof | |
| TWI437529B (en) | Display device to compensate characteristic deviation of driving transistor and driving method thereof | |
| CN107134258B (en) | OLED compensation circuit and manufacturing method thereof, OLED compensation device and display device | |
| CN101968947A (en) | Display device system and method for eliminating display device brightness uniformity | |
| WO2020119712A1 (en) | Compensation method and apparatus for display apparatus, and display device | |
| CN110021266B (en) | Organic light emitting display device and driving method thereof | |
| TWI845036B (en) | Display device, driving circuit and power management circuit | |
| CN104751786B (en) | Organic light-emitting display device and its driving method | |
| CN104751809B (en) | According to the compensation circuit for common electric voltage of gate voltage | |
| WO2014046029A1 (en) | Data line driving circuit, display device including same, and data line driving method | |
| US20230142259A1 (en) | Display module and electronic device | |
| CN109949748B (en) | Display data compensation method, display data compensation device and display device | |
| CN107025884A (en) | OLED pixel compensation method, compensation device and display device | |
| KR20090088105A (en) | Liquid crystal display | |
| TWI709951B (en) | Driving method for source driver and related display system | |
| KR102488272B1 (en) | Diplay panel having gate driving circuit | |
| US20130235011A1 (en) | LCD Panel Driving Method, Display Drive Circuit, and LCD Device | |
| US10510297B2 (en) | Pixel circuit, driving method thereof, display panel and display device | |
| CN115810323A (en) | Display device and display driving method | |
| CN115691440A (en) | Display device, data driving circuit and display driving method |
| Date | Code | Title | Description |
|---|---|---|---|
| C06 | Publication | ||
| PB01 | Publication | ||
| C02 | Deemed withdrawal of patent application after publication (patent law 2001) | ||
| WD01 | Invention patent application deemed withdrawn after publication | Application publication date:20110209 |