Movatterモバイル変換


[0]ホーム

URL:


CN101896085A - Method of connecting together mounting part and article to which the mounting part is to be mounted - Google Patents

Method of connecting together mounting part and article to which the mounting part is to be mounted
Download PDF

Info

Publication number
CN101896085A
CN101896085ACN2009801013294ACN200980101329ACN101896085ACN 101896085 ACN101896085 ACN 101896085ACN 2009801013294 ACN2009801013294 ACN 2009801013294ACN 200980101329 ACN200980101329 ACN 200980101329ACN 101896085 ACN101896085 ACN 101896085A
Authority
CN
China
Prior art keywords
stopper
band
installing component
object thing
mounting object
Prior art date
Legal status (The legal status is an assumption and is not a legal conclusion. Google has not performed a legal analysis and makes no representation as to the accuracy of the status listed.)
Granted
Application number
CN2009801013294A
Other languages
Chinese (zh)
Other versions
CN101896085B (en
Inventor
河原正彦
麦克·阿巴尔森
Current Assignee (The listed assignees may be inaccurate. Google has not performed a legal analysis and makes no representation or warranty as to the accuracy of the list.)
Morito Co Ltd
Original Assignee
Morito Co Ltd
Priority date (The priority date is an assumption and is not a legal conclusion. Google has not performed a legal analysis and makes no representation as to the accuracy of the date listed.)
Filing date
Publication date
Application filed by Morito Co LtdfiledCriticalMorito Co Ltd
Publication of CN101896085ApublicationCriticalpatent/CN101896085A/en
Application grantedgrantedCritical
Publication of CN101896085BpublicationCriticalpatent/CN101896085B/en
Expired - Fee Relatedlegal-statusCriticalCurrent
Anticipated expirationlegal-statusCritical

Links

Images

Classifications

Landscapes

Abstract

Provided are a method of mounting a mounting part to the front end of a tape and a practical example in which the method is applied to a specific item of merchandise. The method comprises a step of preparing a tape (1) having a stopper (2) at the front end of the tape (1), a step of preparing a mounting part (3) to be mounted to the front end of the tape (1) and having formed therein a groove (32) into which the stopper is to be inserted, a step of inserting the stopper of the tape into the groove, and a step of fixing the tape, which has been formed by the preceding steps and has the mounting part mounted to the front end of the tape, to an article to which the mounting part is to be mounted.

Description

The linking method of installing component and mounting object thing
Technical field
The present invention relates to the linking method of a kind of installing component and mounting object thing.So-called " installing component " for example is paired stopper, shackle, bracelet etc., and so-called " mounting object thing " for example is the handle of waistband, clothes, shoestring, bag, bag etc.Therefore, so-called " installing component and mounting object thing " is meant for example handle, D shape ring and the footwear and the shoestring etc. of bracelet and waistband, shackle and bag and bag.
Background technology
When installing components such as shackle are installed on the mounting object thing, will be with or restrict usually (below, claim " band ") be clipped between installing component and the mounting object thing.In the past, installing component had been attached to when band, and the band insertion hole of band by shackle was being formed annularly install No. the 308626th, TOHKEMY 2003-210233 and utility model registration (for example, with reference to).
In above-mentioned existing invention, need make band form ring-type, thickening form the amount of ring-type and the pattern variation.
Summary of the invention
The object of the present invention is to provide does not a kind ofly need to make band to form the method that ring-type just is installed to installing component the band front end, and utilizes the band that has an installing component at front end of formation like this installing component to be attached to the method for mounting object thing.In addition, the object of the present invention is to provide the practical example that this method is applied to concrete commodity.
Method at band front end installation installing component of the present invention is characterised in that to have: prepare to have the operation of the band of stopper at front end; Preparation is in the operation of the installing component of the groove of the described stopper insertion usefulness of being formed with of band front end installation; And the operation of the described stopper of described band being inserted described groove.
In addition, the method that will be attached to the mounting object thing at the band that front end has an installing component of the present invention is characterised in that to have: prepare to have the operation of the band of stopper at front end; Preparation is in the operation of the installing component of the groove of the described stopper insertion usefulness of being formed with of band front end installation; The described stopper of described band is inserted the operation of described groove; And will be fixed to the operation of mounting object thing by the band that has a described installing component at front end that described each operation forms.
The invention effect
According to the present invention, can under the situation that does not need to make band form ring-type, easily installing component be installed to the band front end.Therefore, even after installing component is installed to the mounting object thing the most at last, outward appearance is also very clean and tidy.
Description of drawings
Fig. 1 is the key diagram at theembodiment 1 of the method for band front end installation installing component, is in conjunction with preceding vertical view (a), (b) is the vertical view after the combination.
Fig. 2 is the stereogram of the fixing means of expression stopper.
Fig. 3 is the stereogram of the fixing means of expression stopper.
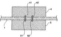
Fig. 4 is the key diagram that forms the method for stopper at the band front end.
Fig. 5 is the key diagram that forms the method for stopper at the band front end.
Fig. 6 is the vertical view that is formed with the band of stopper at front end.
Fig. 7 is the stereogram of the related belt ofembodiment 2.
Fig. 8 is the stereogram of the related bag ofembodiment 3.
Fig. 9 is the stereogram of the related bracelet of embodiment 4.
Figure 10 is the stereogram of the related footwear of embodiment 5.
Figure 11 is the stereogram of the related display board ofembodiment 6.
Figure 12 is the stereogram of the related band connecting piece ofembodiment 7.
Figure 13 is the stereogram of the related band connecting piece ofembodiment 8.
Symbol description:
1,1A, 1C, 1D, 1E, 1F, 1G, 1H, 1J, 1K, 1L band
2,2A, 2C, 2D, 2E, 2F, 2G, 2H, 2J, 2K resin stopper
The 2L stopper
3 stop rings
3D is with fastener (ベ Le ト stays the め tool)
The paired bracelet of 3F, 3G
3A, 3H, 3L D shape ring
3J display board (expression プ レ one ト)
The 3K connecting piece
6 belts
7 bag main bodys
8 carpets
21 expansion sections
32,32C, 32J, 32K, 32L groove
33 cylindrical recess parts
34 tabular slot parts
35 inserting side sidepieces
The other end of 36 non-inserting sides
37 screw-caps
The specific embodiment
When using synthetic resin as stopper, as the made-up belt material that uses in the present invention, need be for it can not dissolve the blank that melting resin can adhere to or see through, be the fabric that forms by natural fiber or synthetic fibers or braid, the sheet in a narrow margin that constitutes by synthetic resin.As natural fiber cotton, fiber crops, raw silk, wool etc. are arranged, nylon, polyester, acrylic acid, polypropylene, acetate, artificial silk etc. are arranged as synthetic resin.
When using synthetic resin, fixedly mount with respect to band by injection molding forming etc. as stopper.As synthetic resin, can use thermoplastic resin, for example the polyacetals molten resin.The shape of stopper so long as the band front end can install installing component then arbitrary shape all can, but usually preferably along the direction vertical with the band of easy shaping extend bar-shaped.
Preparation preferably is made of following operation in the operation that front end has the band of stopper: band is supplied to separate in a little mould that is provided with at interval two nibs with stopper shape, in described nib, inject synthetic resin and two the left and right end portions that are shaped simultaneously as stopper, from mould, take out drip molding then, to be integrally formed at last with on two ends between cut off, thereby form the band of band stopper.This is because can be by once cutting off the cause of the strap end portion that obtains two band stoppers efficiently.
Also can not use method for forming stopper on tape, and use the parts that are shaped in other place in advance by the direct injection molding forming of synthetic resin.In the method, described preparation has the operation of band of stopper by reeling and the overlapping operation with fixed to one another will be constituted at the central portion of cylindric stopper with front end at front end, wherein cylindric stopper has anticreep spare at least one side at two ends, the left and right sides.In the method, do not need to separate certain intervals and band is carried out the operation of injection molding forming, can reduce manufacturing cost.In addition, when the injection moulding method that band is carried out, the kind and the width of made-up belt material had very big restriction, if use the parts that are shaped in other place in advance, then such restriction tails off.In addition, the raw material of parts are not limited to synthetic resin, also can use metal.
In preparing to be formed with the operation of installing component of groove that described stopper inserts usefulness, preferred described groove is the inserting side opening only, and the sealing of the opposition side of inserting side.This is the cause for stopper can not come off fully.
And preferably after inserting stopper, the opening of inserting side is also sealed.
As the method for opening of sealing inserting side, the method by the screw-cap sealing is for example arranged, or at the stopper end expansion section is set in advance, press...with one's finger and press this expansion section and it is pressed in the groove fully the method that stopper can't be come out.
In order to be fixed in the mounting object thing at the band that front end has an installing component, sew up by line usually, in addition, can also adopt thermal weld, to utilize bonding agent to carry out bonding.
As described " installing component " and described " mounting object thing ", following parts and mounting object thing have for example been enumerated.
(a) installing component is bracelet (3D), and the mounting object thing is waistband (6).
(b) installing component is shackle (3E), and the mounting object thing is the handle (71) of bag (7) and bag.
(c) installing component is paired bracelet (3F, 3G), and the mounting object thing is a waistband.
(d) installing component is D shape ring (3H, 3L), and the mounting object thing is footwear and shoestring.
(e) installing component is display board (3J), and the mounting object thing is any in the carpet (8), wallpaper, clothes on floor.
(f) installing component is connecting piece (3K), and the mounting object thing is the band of the other side's side of two bands.
Below, based on the description of drawings embodiments of the invention.
(embodiment 1)
Fig. 1 is with the key diagram at theembodiment 1 of the method that installingcomponent 3 is installed with 1 front end, be in conjunction with preceding vertical view (a), (b) is the vertical view after the combination.Fig. 2, the 3rd, the stereogram of the fixing means of expression stopper.Fig. 4~6th is being with front end to form the key diagram of the method for stopper.
Shown in Fig. 1 (a), be formed with plastic bar-shapedstopper 2 with 1 front end fabric.Onmain body 31, be formed with thegroove 32 that describedstopper 2 can insert from the side with 1 " installing component " installed (being "shackle 3 " among Fig. 1).Thisgroove 32 is by theslot part cylindraceous 33 that inserts for stopper with for being with theflat slot part 34 that inserts to constitute.
Ingroove 32, insert in order to makestopper 2, insertingside sidepiece 35 should be opened, but theother end 36 does not need to open.Still the preferredother end 36 seals in advance, so thatstopper 2 can not pass and come off.
And then, preferably after insertingstopper 2, theopening 35 of inserting side is also sealed.Method as theopening 35 that seals the inserting side, for example just like shown in Fig. 2 (a) and (b), method by screw-cap 37 sealings, or shown in Fig. 3 (a) and (b), atstopper 2 endsexpansion section 21 is set in advance, press thisexpansion section 21 by press...withing one's finger and it is pressed among thegroove 32C fully the method that stopper can't be come out.
For being with 1 front end to formstopper 2, can stopper be set in the band front end singly by injection molding forming, but preferably use continuous forming method.If utilize Fig. 4~6 to describe then for as described below.
At first, by continuous feedway will need to handle with in 1 mould of sending into shown in the 4th figure up and down 4,5.Separating thenib 41,42 that a little is provided with two shapes suitable with the stopper of needs shaping at interval in the mould 4,5 up and down; 51,52.In the present embodiment, separate the nib that a little compartment of terrain is provided with two linearities.Resin is expelled to this nib from injection port (omitting diagram).If after be shaped finishing, mould was opened and was taken out and be with 1 in 4,5 minutes up and down, then can access the 5th figure state have a stopper be with 1.Long with 1 be provided with everywhere bysuch stopper 2.
Next, cut off along the line of the single-point of the 5th figure and to be with 1 between tworesin stoppers 2, shown in the 6th figure, can access have astopper 2 at both ends be with 1.Each end becomes the end of other band as can be known.
Embodiment 2
Fig. 7 isembodiment 2, and " installing component " isbracelet 3D, and " mounting object thing " is belt 6.In this example, the front end atbelt 6 is equipped with bracelet 3D.Theband 1D of theband stopper 2D that will make inembodiment 1 is clipped bybelt 6 up and down and stitches and fasten.
In addition, inpresent embodiment 2, the cross sectional shape ofstopper 2D is not cylindric, but trapezoidal shape.
In existing belt, the waistband strip winding to be buckled and sewed up, but, need on waistband, not form ring portion according to the method for present embodiment, it is clean and tidy that outward appearance becomes.
Embodiment 3
Fig. 8 isembodiment 3, and " installing component " isshackle 3E, and " mounting object thing " isbag 7 and handle 71.Theend 1E of the band of theband stopper 2E that will make inembodiment 1 or 2 sews up bag main body 7.Thehandle 71 of bag is installed onshackle 3E.
In existinghandle 71, form ring-type and be fixed inshackle 3E handle is terminal, but according to the method for present embodiment, need be in the terminal ring portion that forms of handle, it is clean and tidy that outward appearance becomes.
Embodiment 4
Fig. 9 is embodiment 4, and " installing component " is pairedbracelet 3F, 3G, and " mounting object thing " is waistband (not shown, identical with Fig. 7 ofembodiment 2).Band 1F, the 1G of the band stopper that will make inembodiment 1 or 2 are installed on the waistband.Same as the previously described embodiments, need not form ring portion and outward appearance becomes clean and tidy in that waistband is terminal.
Embodiment 5
Figure 10 is embodiment 5, and " installing component " is D shape ring 3H, and " mounting object thing " is shoestring.The band 1H of the band stopper that will make inembodiment 1 is installed to the D shape ring 3H that shoestring is installed usefulness.Same as the previously described embodiments, need not form ring portion and outward appearance becomes clean and tidy at end of tape.And, have retractility by making band 1H, can help fastening of shoestring.
Embodiment 6
Figure 11 isembodiment 6, and " installing component " isdisplay board 3J, and " mounting object thing " iscarpet 8, wallpaper or the clothes on floor.Theband 1J of twoband stopper 2J that make inembodiment 1 or 2 is fixed incarpet 8, wallpaper or the clothes etc. on floor, thedisplay board 3J with twogroove 32J is installed.
Embodiment 7
Figure 12 isembodiment 7, and " installing component " is connecting piece 3K, and " mounting object thing " is the band of the other side's side of two bands.Prepare the band 1K of two band stopper 2K that inembodiment 1, make, and its end is involutory each other and insert the connecting piece 3K with two groove 32K, two band 1K can be connected thus.Utilize this main points, any band can be connected.
Embodiment 8
Figure 13 isembodiment 8, and " installing component " isD shape ring 3L, and " mounting object thing " is not shown, but the bag shown in above-mentioned embodiment that can install for " installing component ", waistband, footwear etc.
Different with theabove embodiments 1~7,stopper 2L is not the synthetic resin that is formed by the band injection molding forming, but the metal rounding post of the band front end of having reeled.As shown in figure 13, thisstopper 2L about end be formed with anticreep spare 22, the attenuated amount of thickness of band of central portion 23.To be with front end to reel at thiscentral portion 23, the part that overlaps each other at band is fixed both by line 24.In order to reduce lap, preferably, then cut away unnecessary band with scissors or cutter if band stretches out.The band of the band stopper of the state of (a) that make like this is inserted among thegroove 32L ofD shape ring 3L.
Though not shown in other the variation, also can make band integral body form bilayer and use.Needed change only is that thegroove 32L that will pass through for band becomes the thickness degree that double-deck band can pass through for stopper.At this moment, do not need at the position that band overlaps each other both to be fixed, but can adopt in such a way yet by line 24.In this variation, do not need the unnecessary strap end portion of stretching out is cut away, and be bilayer because band integral body becomes, therefore can access the effect of gaining in strength.
Different with theabove embodiments 1~7, inpresent embodiment 8, in order to carry out the anticreep ofstopper 2L, close thelid 25 and finish in the stopper advance side, become the state of (b).Same with described embodiment, theD shape ring 3L that forms like this can be installed on the mounting object things such as bag, waistband, footwear.
Thereforepresent embodiment 8 has the strong feature of strength of connection becausestopper 2L is a metal system.And, do not need band is carried out the operation of injection molding forming, can reduce manufacturing cost.In addition, when the injection molded method that band is carried out (embodiment 1~7), very big restriction is arranged, but inembodiment 8,, therefore almost do not have such restriction owing to use the parts that are shaped in other place in advance for the kind and the width of made-up belt material.

Claims (15)

CN200980101329.4A2007-09-072009-02-26Method of connecting together mounting part and article to which the mounting part is to be mountedExpired - Fee RelatedCN101896085B (en)

Applications Claiming Priority (4)

Application NumberPriority DateFiling DateTitle
JP20072324192007-09-07
JP2008-1348982008-05-23
JP2008134898AJP2009078123A (en)2007-09-072008-05-23Connection method of installation part and installation object
PCT/JP2009/000843WO2009141942A1 (en)2008-05-232009-02-26Method of connecting together mounting part and article to which the mounting part is to be mounted

Publications (2)

Publication NumberPublication Date
CN101896085Atrue CN101896085A (en)2010-11-24
CN101896085B CN101896085B (en)2014-07-30

Family

ID=41343102

Family Applications (1)

Application NumberTitlePriority DateFiling Date
CN200980101329.4AExpired - Fee RelatedCN101896085B (en)2007-09-072009-02-26Method of connecting together mounting part and article to which the mounting part is to be mounted

Country Status (5)

CountryLink
EP (1)EP2277399B1 (en)
JP (1)JP2009078123A (en)
KR (1)KR20110020757A (en)
CN (1)CN101896085B (en)
WO (1)WO2009141942A1 (en)

Cited By (3)

* Cited by examiner, † Cited by third party
Publication numberPriority datePublication dateAssigneeTitle
CN104432997A (en)*2014-12-172015-03-25青岛歌尔声学科技有限公司Connecting structure of flexible belts of wearable products
CN104687647A (en)*2015-03-202015-06-10万继平Waistband with hidden rope
TWI625102B (en)*2016-07-052018-06-01安得烈 法比歐 迪Fastening structure

Families Citing this family (17)

* Cited by examiner, † Cited by third party
Publication numberPriority datePublication dateAssigneeTitle
KR101030366B1 (en)*2009-04-182011-04-20백지숙 Straps and Attachments
KR101064014B1 (en)2010-01-162011-09-08백지숙 Straps and Attachments
IT1400026B1 (en)*2010-05-202013-05-17Trust Montecavallo HOOK FOR REMOVABLE FOOTWEAR MANUALLY
DE112010005690B4 (en)2010-06-242017-08-24Ykk Corporation Paspelschieber
CN102551307B (en)*2012-01-102014-02-19白可Auxiliary handbag and production method thereof
US8850675B2 (en)2012-02-062014-10-07Hickies, Inc.Fastening devices and systems and methods thereof
US9538802B2 (en)2012-02-062017-01-10Hickies, Inc.Fastening devices and methods
WO2014085422A1 (en)*2012-11-272014-06-05Schmoll Daniel TInterchangeable decorative panel system for shoes, apparel, and accessories
DE102013000590A1 (en)*2013-01-162014-07-17Flexi-Bogdahn Technik Gmbh & Co. Kg Plug closure for connecting strand elements and an animal leash with such a buckle closure
FR3038211A1 (en)*2015-06-302017-01-06Frederic Karakozian ADJUSTABLE STRAP ATTACHMENT DEVICE
FR3050910B1 (en)*2016-11-082019-11-15Robin Gunie CLASP FOR CUSTOMIZABLE FANTASY BRACELET
GB2581184A (en)*2019-02-072020-08-12The Wyedean Weaving Company LtdBuckle
WO2023228797A1 (en)2022-05-262023-11-30株式会社D.O.NAttachment tool
JP7232557B1 (en)2022-05-262023-03-03株式会社D.O.N fixture
GB2630909A (en)*2023-04-242024-12-18United Shield International LtdA buckle
US20240415244A1 (en)*2023-06-162024-12-19Illinois Tool Works Inc.Split Piping Slider
KR20250036353A (en)*2023-09-072025-03-14주식회사 우진프라스틱strap bar device of strap accessory

Citations (11)

* Cited by examiner, † Cited by third party
Publication numberPriority datePublication dateAssigneeTitle
JPH02224701A (en)*1989-02-281990-09-06Marukuni Iguma Hosohaba Orimono KkBelt end fixing structure
CN2126665Y (en)*1992-06-191993-02-03赖居山Simple fastener
CN1208589A (en)*1997-08-191999-02-24Ykk株式会社 buckle
CN1223712A (en)*1996-06-261999-07-21亨利·诺比 Safety hook and its locking plate
CN1228947A (en)*1998-01-301999-09-22Ykk株式会社Female-male engaging device with tapes
CN2339026Y (en)*1998-07-081999-09-22陈绣美 Buckle belt positioning structure of the buckle
CN1298283A (en)*1998-04-272001-06-06华哥尔株式会社Tape-form connecting part and female clothing with cups
JP2002345511A (en)*2001-05-252002-12-03Ykk Corp Male and female locking device
CN1398764A (en)*2001-07-232003-02-26株式会社细川洋行Zipper bag and its making process
CN1403042A (en)*2001-09-132003-03-19曹昌文 A method of manufacturing opening zipper by injection
CN2552376Y (en)*2002-05-142003-05-28台湾扣具工业股份有限公司 Buckle

Family Cites Families (7)

* Cited by examiner, † Cited by third party
Publication numberPriority datePublication dateAssigneeTitle
JPH0223156Y2 (en)*1985-07-301990-06-22
JPH0510654Y2 (en)*1987-04-131993-03-16
DE3916381A1 (en)1989-05-171990-11-22Schering Ag USE OF GESTODEN FOR THE PRODUCTION OF MEDICINAL PRODUCTS
KR930002483Y1 (en)*1991-05-271993-05-13김순태 Simultaneous molding device of bag fastener and fastening strap
JP3522970B2 (en)*1996-05-272004-04-26Ykk株式会社 String body with coupling
JP2003210233A (en)2002-01-282003-07-29Nifco IncPreventing device of sliding-down of shoulder strap for bag
US7480967B2 (en)*2004-04-012009-01-27Fossil, Inc.Removable fastener apparatus and method of use

Patent Citations (11)

* Cited by examiner, † Cited by third party
Publication numberPriority datePublication dateAssigneeTitle
JPH02224701A (en)*1989-02-281990-09-06Marukuni Iguma Hosohaba Orimono KkBelt end fixing structure
CN2126665Y (en)*1992-06-191993-02-03赖居山Simple fastener
CN1223712A (en)*1996-06-261999-07-21亨利·诺比 Safety hook and its locking plate
CN1208589A (en)*1997-08-191999-02-24Ykk株式会社 buckle
CN1228947A (en)*1998-01-301999-09-22Ykk株式会社Female-male engaging device with tapes
CN1298283A (en)*1998-04-272001-06-06华哥尔株式会社Tape-form connecting part and female clothing with cups
CN2339026Y (en)*1998-07-081999-09-22陈绣美 Buckle belt positioning structure of the buckle
JP2002345511A (en)*2001-05-252002-12-03Ykk Corp Male and female locking device
CN1398764A (en)*2001-07-232003-02-26株式会社细川洋行Zipper bag and its making process
CN1403042A (en)*2001-09-132003-03-19曹昌文 A method of manufacturing opening zipper by injection
CN2552376Y (en)*2002-05-142003-05-28台湾扣具工业股份有限公司 Buckle

Cited By (4)

* Cited by examiner, † Cited by third party
Publication numberPriority datePublication dateAssigneeTitle
CN104432997A (en)*2014-12-172015-03-25青岛歌尔声学科技有限公司Connecting structure of flexible belts of wearable products
CN104687647A (en)*2015-03-202015-06-10万继平Waistband with hidden rope
TWI625102B (en)*2016-07-052018-06-01安得烈 法比歐 迪Fastening structure
US10413024B2 (en)2016-07-052019-09-17Fabio de AndradeFastening structure

Also Published As

Publication numberPublication date
WO2009141942A1 (en)2009-11-26
CN101896085B (en)2014-07-30
JP2009078123A (en)2009-04-16
EP2277399A1 (en)2011-01-26
EP2277399B1 (en)2018-03-28
KR20110020757A (en)2011-03-03
EP2277399A4 (en)2016-06-15

Similar Documents

PublicationPublication DateTitle
CN101896085B (en)Method of connecting together mounting part and article to which the mounting part is to be mounted
US11206901B2 (en)Slide fastener-attached product, element member and manufacturing method of slide fastener-attached product
US7624482B2 (en)Article with slide fastener
CN101287390B (en)Tamper evidencing band
CN105764664B (en) longitudinal strip molding
WO2014118948A1 (en)Article with slide fastener and process for producing article with slide fastener
US20020033559A1 (en)Brassiere fastener
US20060252347A1 (en)D-ring for brassieres and the like
US6309489B1 (en)Adjustable strap fastener for brassieres and the like and method of making same
US6499201B2 (en)Garment fastener especially for swimwear and lingerie
US6314622B1 (en)Engaging member of fastening device
US10144186B1 (en)Methods for manufacturing slide fastener with overmolded components
CN101727779A (en)Attachment member and method of manufacturing the same
US20050199674A1 (en)Attachment comprising a flexible cord
US9526283B1 (en)Method of securing a necktie using a tie link
CA2326215C (en)Adjustable strap fastener for brassieres and the like and method of making same
JP5422035B2 (en) Connecting method of mounting parts and mounting objects
CN220255866U (en)Zipper and fabric using same
CN221382711U (en)Mosaic type zipper and mounting structure thereof
JPS62299205A (en)Production of cloth product with slide fastener
JP3015368U (en) Tape-like article
CN116784575A (en)Zipper processing method, zipper and fabric
JPH0342068Y2 (en)

Legal Events

DateCodeTitleDescription
C06Publication
PB01Publication
C10Entry into substantive examination
SE01Entry into force of request for substantive examination
C14Grant of patent or utility model
GR01Patent grant
CF01Termination of patent right due to non-payment of annual fee

Granted publication date:20140730

Termination date:20200226

CF01Termination of patent right due to non-payment of annual fee

[8]ページ先頭

©2009-2025 Movatter.jp