Movatterモバイル変換


[0]ホーム

URL:


CN101879349B - Neck and shoulder osteoarthropathy therapeutic apparatus - Google Patents

Neck and shoulder osteoarthropathy therapeutic apparatus
Download PDF

Info

Publication number
CN101879349B
CN101879349BCN2010102344532ACN201010234453ACN101879349BCN 101879349 BCN101879349 BCN 101879349BCN 2010102344532 ACN2010102344532 ACN 2010102344532ACN 201010234453 ACN201010234453 ACN 201010234453ACN 101879349 BCN101879349 BCN 101879349B
Authority
CN
China
Prior art keywords
shoulder
treatment body
body box
box
profiling treatment
Prior art date
Legal status (The legal status is an assumption and is not a legal conclusion. Google has not performed a legal analysis and makes no representation as to the accuracy of the status listed.)
Expired - Fee Related
Application number
CN2010102344532A
Other languages
Chinese (zh)
Other versions
CN101879349A (en
Inventor
张玮
Current Assignee (The listed assignees may be inaccurate. Google has not performed a legal analysis and makes no representation or warranty as to the accuracy of the list.)
SINO-GERMAN LIDE BIOLOGICAL TECHNOLOGY Co Ltd (TIANJIN)
Original Assignee
SINO-GERMAN LIDE BIOLOGICAL TECHNOLOGY Co Ltd (TIANJIN)
Priority date (The priority date is an assumption and is not a legal conclusion. Google has not performed a legal analysis and makes no representation as to the accuracy of the date listed.)
Filing date
Publication date
Application filed by SINO-GERMAN LIDE BIOLOGICAL TECHNOLOGY Co Ltd (TIANJIN)filedCriticalSINO-GERMAN LIDE BIOLOGICAL TECHNOLOGY Co Ltd (TIANJIN)
Priority to CN2010102344532ApriorityCriticalpatent/CN101879349B/en
Publication of CN101879349ApublicationCriticalpatent/CN101879349A/en
Application grantedgrantedCritical
Publication of CN101879349BpublicationCriticalpatent/CN101879349B/en
Expired - Fee Relatedlegal-statusCriticalCurrent
Anticipated expirationlegal-statusCritical

Links

Images

Landscapes

Abstract

The invention provides a neck and shoulder osteoarthropathy therapeutic apparatus, belonging to medical instrumentation. The therapeutic apparatus comprises a head copying therapeutic box, a neck copying therapeutic box, a back copying therapeutic box, a two-front-shoulder copying therapeutic box and a two-rear-shoulder copying therapeutic box; by means of active connection among the therapeutic boxes, the therapeutic boxes can be applied to the corresponding position of body; by adopting a sliding rail mechanism between the two-rear-shoulder therapeutic box and the back therapeutic box and a torsional spring adjusting and locking mechanism between the two-front-shoulder therapeutic box and the two-rear-shoulder therapeutic box, the therapeutic boxes can be applied to effective positions of people in different shapes as far as possible; by adopting a magnetic-pulse component and a flaky permanent magnet fixed by a pressure spring in the event that the therapeutic boxes are applied to one side of the human body, the therapeutic boxes can be applied to the effective positions; and the two-front-shoulder copying therapeutic box and the two-rear-shoulder copying therapeutic box are provided with heating sheets, temperature control sensors and far infrared ceramic powder coatings for outer surface coating for treating positions of the human body, thus achieving accurate acupoint treatment, improving effective utilization ratio, and realizing standard and normative healthcare and treatment.

Description

Neck and shoulder osteoarthropathy therapeutic apparatus
Technical field
The invention belongs to a kind of medical apparatus and instruments.Be particularly related to a kind of neck and shoulder osteoarthropathy therapeutic apparatus.
Background technology
At present, people bend over the desk for a long time and before computer, work, and at the end of the day, neck, shoulder can be felt tired out, ache; For a long time for a long time, can not get good rest and treatment, cervical curvature change, dislocation, textured bone hypertrophy will occur; Damage type inflammation, prolapse of cervical intervertebral disc, edema etc.So just must oppress the blood vessel, plexus nervorum and the hetero-organization thereof that enrich near the cervical vertebra, cause a series of symptoms, various pathological changes take place.Therefore, cervical spondylosis also is cervical vertebra syndrome.
The Therapeutic Method of traditional cervical spondylosis comprises traction, electrotherapy, physical therapy, magnetic therapy and operative treatment.The armarium that adopts said method is mostly for hospital uses, and not only medical expense height, and treatment receives environmental limitations, and people's health therapy is at ordinary times made troubles; And existing domestic armarium structure, the size of above-mentioned Therapeutic Method of adopting can not be regulated, and can not be fit to difformity shoulder, neck and head crowd and use, and therefore, do not reach the curative effect of expection.
Summary of the invention
The objective of the invention is to overcome above-mentioned defective, a kind of neck and shoulder osteoarthropathy therapeutic apparatus is provided, it is through the flexible connection between treatment body box; Make treatment body box stick on the health corresponding position; Through sliding track mechanism and governor motion, can be applied to effective site to the people of different builds as far as possible, make the treatment acupuncture point accurate; Improve effective rate of utilization, the health therapy of realization standard, standard.
The objective of the invention is to realize through following technical scheme:
A kind of neck and shoulder osteoarthropathy therapeutic apparatus is characterized in that: it comprises seven profiling treatment boxes; Seven profilings treatment box is a shoulder profiling treatment body box behind head profiling treatment body box, cervical region profiling treatment body box, back profiling treatment body box, two preceding shoulder profiling treatment body boxes and two;
Between head profiling treatment body box and the cervical region profiling treatment body box, all be movably hinged between cervical region profiling treatment body box and the back profiling treatment body box through the tape spool torsion spring;
Be slidingly connected with horizontal sliding track mechanism between the shoulder profiling treatment body box after two of back profiling treatment body box and both sides;
Preceding shoulder profiling treatment body box is treated between the body box with back shoulder profiling and is connected with torsion spring adjusting locking mechanism;
Stick human body one side at each profiling treatment body box the vertical elasticity securing structure of a plurality of magnetic field impulse assemblies, box surface holes and a plurality of lamellar permanent magnet all are set; The vertical elasticity securing structure of magnetic field impulse assembly is fixed on the inner surface of profiling treatment body box opposite side with compression spring; The vertical elasticity securing structure of magnetic field impulse assembly sees through corresponding box surface holes; The lamellar permanent magnet is fixed on the inner surface that profiling treatment body box sticks human body one side;
In the shoulder profiling treatment body box heating plate and temperature-control senser are set in two preceding shoulder profiling treatment body boxes and after two; Its outer surface applies the far infrared ceramic powder coating;
Back profiling treatment body box lower end is provided with input socket A and input socket B; Input socket A is connected with the coil that the magnetic field impulse assembly in the body box is treated in head profiling treatment body box, cervical region profiling treatment body box, back profiling; Shoulder profiling treatment body box is connected with coil, heating plate and the temperature-control senser that the magnetic field impulse assembly in the body boxes is treated in two back shoulder profilings before the input socket B and two, and is as shown in Figure 1.
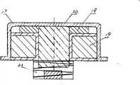
The vertical elasticity securing structure of magnetic field impulse assembly of the present invention comprises the magnetic field impulse assembly that is fixed on the compression spring, and the magnetic field impulse assembly comprises coil cap and compression spring; Be provided with annular permanent magnet in the coil cap, coil and ferrum core; Annular permanent magnet is arranged on above the coil, and the iron core setting in coil; Coil bottom is fixedly connected with compression spring; Coil is connected with input socket A or input socket B; As shown in Figure 2.
Sliding track mechanism of the present invention comprises the linear bearing that is located at the carrying sliding axle in the back profiling treatment body box, but is located at the inboard swing angle sliding rail rack of back shoulder profiling treatment body box; But sliding axle one end is fixedly connected with the swing angle sliding rail rack; The other end of sliding axle is provided with back-moving spring; But the swing angle sliding rail rack is connected with turning cylinder with back shoulder profiling treatment body box.
Torsion spring of the present invention is regulated locking mechanism and is comprised the adjusting torsion spring, lock bolt, screw mandrel be located at before screw and the lead hole that is located at the middle part of on the back shoulder profiling treatment body box and junction preceding shoulder profiling treatment body box in the shoulder profiling treatment body box; The both sides, upper end in lead hole are provided with the locking tongue; Locking Sublingual side is provided with lever, and wherein, the adjusting torsion spring is a torsion spring; The exit and the lock bolt of torsion spring one end are rotationally connected, and lock bolt passes the lead hole of baffle plate; The exit of the torsion spring other end is connected with pushing tow slide block two ends respectively, the screw before leading screw penetrates and is located in the shoulder profiling treatment body box and with pushing tow slide block butt, as shown in Figure 3.
The invention has the beneficial effects as follows:
1, owing to the present invention includes seven profiling treatment body boxes compositions that are distributed in health neck shoulder corresponding position; The ergonomic principle; Each treats between the body box hinged through tape spool torsion spring or slide rail; The people that can adapt to different builds is applied to effective site, and this has improved the effective rate of utilization of therapeutic instrument energy.
2, owing to be movably hinged through the tape spool torsion spring between each profiling treatment body box, the hinge arrangement that per two adjacent treatment body boxes connect has certain subtended angle, and has the degree of freedom that can reset, and can reduce the affined feeling of fatigue of human body during use.
3, owing in the back profiling treatment body box sliding track mechanism is set; Be slidingly connected with shoulder profiling treatment body box behind the both sides; The tension spring that resets is equipped with in the sliding axle end; Make that shoulder profiling treatment body box can widen or narrow spacing easily through the tension spring that resets of slip axle head in the sliding track mechanism behind two preceding shoulder profilings treatment body boxes and two, use with the people who adapts to different shoulder breadths.
But 4, owing to treat body box inboard in swing angle sliding rail rack and back shoulder profiling and designed with turning cylinder and be connected; Shoulder profiling treatment body box can rotate few degrees in vertical direction forwards, backwards with respect to back profiling treatment body box after two; Tackle the back of the body shoulder of different gradients, avoid shouldering the tired sense of strength or tight formation.
5, two of human body shoulders are carrying positions of whole treatment body, and are stable for keeping whole treatment body position, and the junction of shoulder profiling treatment body box is provided with torsion spring and regulates locking mechanism behind two preceding shoulder profilings treatment body boxes and two; During use; At first the lock bolt with back shoulder profiling treatment body box passes the lead hole, and the exit of the torsion spring that will be rotationally connected with it is pulled outwardly the rotation of feasible adjusting torsion spring; Screw and regulate an end of torsion spring; Be fulcrum with lock bolt with the lever in the lead hole again, block lock bolt, clamp in advance with the locking tongue; Screw mandrel again in the shoulder profiling treatment body box passes screw and props up the pushing tow slide block; Rotary screw lifts the pushing tow slide block; The drive exit is oppositely screwed and is regulated the other end of torsion spring, and the fine tuning that clamps is again regulated screwing of torsion spring through twice pair; Regulate the prestressing force of torsion spring, through the firm whole treatment body of clamping level of comfort of shoulder sensation.
6, designed the vertical elasticity securing structure of magnetic field impulse assembly; The coil bottom of magnetic field impulse assembly is fixedly connected with compression spring; Assurance magnetic field impulse energy surface is close to human body; And magnetic field impulse coil end face is tilted with irregular human body curved surface, need the position thereby make magnetic field energy effectively arrive human body.
7, behind two preceding shoulder profilings treatment body boxes and two, be provided with heating plate and temperature-control senser in the shoulder profiling treatment body box, its outer surface applies far infrared ceramic powder coating, is excited by heating plate to produce competent far infrared radiation ripple and act on human body.
9, utilize pulse magnetic energy and far infrared heat energy to be that human body replenishes bio-energy, the auxiliary collaterals of human of lamellar permanent magnet that disperses to be provided with carries out the oneself with the acupuncture point adjusts, and reaches to cure the disease or alleviate ailing effect so that realization rehabilitation purpose.
Description of drawings
Fig. 1 is an overall structure sketch map of the present invention.
The A-A section enlarged diagram of Fig. 2 Fig. 1.
Fig. 3 is the vertical elasticity securing structure of a magnetic field impulse assembly section enlarged diagram.
Fig. 4 is that the torsion spring that shoulder profiling treatment body box is cut the inner surface that sticks human body one side open behind two preceding shoulder profilings treatment body boxes and two is regulated the locking mechanism sketch map.
Fig. 5 is exit, lock bolt, pin and a locking tongue sketch map of regulating torsion spring.
Fig. 6 is the principle schematic that lock bolt is screwed the adjusting torsion spring.
Wherein
1-head profiling treatment body box, 2-cervical region profiling treatment body box, 3-back profiling treatment body box, shoulder profiling treatment body box before the 4-, shoulder profiling treatment body box behind the 5-, 6-tape spool torsion spring; The 7-sliding track mechanism, 8-back-moving spring, the vertical elasticity securing structure of 9-magnetic field impulse assembly, 10-box surface holes, 11-lamellar permanent magnet, 12-far infrared ceramic powder coating; 13-heating plate and temperature-control senser, the 14-torsion spring is regulated locking mechanism, 15-input socket A, 16-input socket B, 17-coil cap, 18-annular permanent magnet; The 19-coil, the 20-iron core, the 21-compression spring, the 22-lever, 23-regulates torsion spring, 24-exit; The 25-lock bolt, 26-screw mandrel, 27-screw, 28-pushing tow slide block, 29-lead hole; 30-locks tongue, but 31-swing angle sliding rail rack, 32-sliding axle, 33-linear bearing, 34-turning cylinder.
The specific embodiment
Embodiment: a kind of neck and shoulder osteoarthropathy therapeutic apparatus, it comprises seven profiling treatment boxes; Seven profilings treatment box is a shoulder profiling treatment body box 5 behind head profiling treatment body box 1, cervical region profiling treatment body box 2, back profiling treatment body box 3, two preceding shoulder profiling treatment body boxes 4 and two;
Between head profiling treatment body box 1 and the cervical region profiling treatment body box 2, all be movably hinged between cervical region profiling treatment body box 2 and the back profiling treatment body box 3 through tape spool torsion spring 6;
Be slidingly connected with horizontal sliding track mechanism 7 between the shoulder profiling treatment body box 5 after two of back profiling treatment body box 3 and both sides; Sliding track mechanism 7 comprises the linear bearing 33 that is located at the carrying sliding axle 32 in the back profiling treatment body box 3, but is located at the swing angle slidingrail rack 31 of back shoulder profiling treatment body box 5 inboards; But sliding axle 32 1 ends are fixedly connected with swing angle slidingrail rack 31; The other end of sliding axle 32 is provided with back-moving spring 8; But swing angle slidingrail rack 31 is connected with turning cylinder 34 with back shoulder profiling treatment body box 5;
Preceding shoulder profiling treatment body box 4 is treated between the body box 5 with back shoulder profiling and is connected with torsion spring adjusting locking mechanism 14; Torsion spring is regulated locking mechanism 14 and is comprised adjustingtorsion spring 23;Lock bolt 25; Screw mandrel 26 be located at before screw 27 and thelead hole 29 that is located at the middle part of on the back shoulder profiling treatment body box 5 and junction preceding shoulder profiling treatment body box 4 in the shoulder profiling treatment body box 4, the both sides, upper end inlead hole 29 are provided withlocking tongue 30, lockingtongue 30 belows are provided with lever; Wherein, Regulatingtorsion spring 23 is torsion spring, and the exit and thelock bolt 25 of torsion spring one end are rotationally connected, and lockbolt 25 passes thelead hole 29 of baffle plate; The exit of the torsion spring other end is connected with pushing tow slide block 28 two ends respectively, the screw 27 before leading screw 26 penetrates and is located in the shoulder profiling treatment body box 4 and with pushing tow slide block 28 butts, as shown in Figure 3;
Stick human body one side at each profiling treatment body box the vertical elasticity securing structure of a plurality of magnetic field impulse assemblies 9, box surface holes 10 and a plurality of lamellar permanent magnet 11 all are set; The vertical elasticity securing structure 9 of magnetic field impulse assembly comprises the magnetic field impulse assembly that is fixed on thecompression spring 21, and the magnetic field impulse assembly comprises coil cap 17 andcompression spring 21; Be provided with annularpermanent magnet 18 in the coil cap 17, coil 19 and iron core 20; Annularpermanent magnet 18 is arranged on above the coil 19, and iron core 20 is arranged in the coil 19; Coil 19 bottoms are fixedly connected withcompression spring 21; Coil 19 is connected with input socket A15 or input socket B16; As shown in Figure 2; The vertical elasticity securing structure 9 of magnetic field impulse assembly is fixed on the inner surface of profiling treatment body box opposite side withcompression spring 21; The vertical elasticity securing structure 9 of magnetic field impulse assembly sees through corresponding box surface holes 10; Lamellar permanent magnet 11 is fixed on the inner surface that profiling treatment body box sticks human body one side;
In the shoulder profiling treatment body box 5 heating plate and temperature-control senser 13 are set in two preceding shoulder profiling treatment body boxes 4 and after two; Its outer surface applies far infrared ceramic powder coating 12;
Back profiling treatment body box 3 lower ends are provided with input socket A15 and input socket B16; Input socket A15 is connected with the coil 19 that the magnetic field impulse assembly in the body box 3 is treated in head profiling treatment body box 1, cervical region profiling treatment body box 2, back profiling; Shoulder profiling treatment body box 4 is connected with coil 19, heating plate and the temperature-control senser 13 that the magnetic field impulse assembly in the body boxes 5 is treated in two back shoulder profilings before the input socket B16 and two, and is as shown in Figure 1.
Head contour treatment body box set within a magnetic pulse component corresponds to the human body Fengchi and Tianzhu points, flakes permanent magnet 11 corresponds to complete bone hole, Yamen Japanese government points and A is the point; neck profiling treatment set within the body case 2 corresponds to the body's magnetic pulse component Dazhui, sheet corresponding permanent magnet 11 and the shoulder neck hundred workers in shu points and Ashi; treatment body contoured back box set within three magnetic pulse component corresponds human body column hole and Shinto temple, flaky permanent magnet 11 points corresponding to a large loom, throttle hole, Feishu, Jue Yin shu, shu heart and Ashi; shoulder profiling after treatment set inside the body box 5 Er corresponding magnetic pulse group 9 shu, T'ientsung and shoulder Chen points, flaky Jian Jingxue corresponding permanent magnet 11, the day mash hole, Bing Wind Point, shoulder mash points and Ashi; former treatment body contoured shoulder Box 4 magnetic pulse set within the body of the corresponding group of nine House Point and Cloud Gate Point, flaky permanent magnet 11 corresponds to the human body Quepen hole, hole gas users, the Treasury points, points, and shoulder Yu Zhou Rong (yu) and points Ashi.
The shape of each profiling treatment body box is similar with human body, is attached at the human body corresponding position, afterwards; The torsion spring of two shoulders is regulated the regulating spring in the locking mechanism before and after utilizing; Through the lock bolt torsion spring of screwing,, front and back two shoulder imitation body boxes are carried out first time of clamping in advance with locking tongue locking lock bolt; Prop up the pushing tow slide block torsion spring of oppositely screwing with screw mandrel again; Carry out the fine tuning of clamping more for the second time, through the prestressing force of twice adjusting torsion spring, the clamping level of comfort of feeling through shoulder is stabilized in whole treatment body box on the human body.
The action of a magnetic field on each acupuncture point carries out the oneself in collaterals of human and acupuncture point scope and adjusts.
When input socket A 16 is connected the pulse current power supply with input socket B 17; The magnetic field impulse assembly produces with permanent magnetic field and forms synergetic pulsed magnetic field; When heating plate 13 passed to electric current, heat impelled far infrared ceramic powder coating 12 radiation far ir ray more fully, immersed human body through skin; Pulse magnetic energy and far infrared heat energy are that human body replenishes bio-energy, reach to cure the disease or alleviate ailing effect so that realize the rehabilitation purpose.

Claims (4)

4. a kind of neck and shoulder osteoarthropathy therapeutic apparatus as claimed in claim 1; It is characterized in that: said torsion spring is regulated locking mechanism and is comprised the adjusting torsion spring, lock bolt, screw mandrel be located at before screw and the lead hole that is located at the middle part of on the back shoulder profiling treatment body box and junction preceding shoulder profiling treatment body box in the shoulder profiling treatment body box; The both sides, upper end in lead hole are provided with the locking tongue; Locking Sublingual side is provided with lever, and wherein, the adjusting torsion spring is a torsion spring; The exit and the lock bolt of torsion spring one end are rotationally connected, and lock bolt passes the lead hole of baffle plate; The exit of the torsion spring other end is connected with pushing tow slide block two ends respectively, the screw before leading screw penetrates and is located in the shoulder profiling treatment body box and with pushing tow slide block butt.
CN2010102344532A2010-07-232010-07-23Neck and shoulder osteoarthropathy therapeutic apparatusExpired - Fee RelatedCN101879349B (en)

Priority Applications (1)

Application NumberPriority DateFiling DateTitle
CN2010102344532ACN101879349B (en)2010-07-232010-07-23Neck and shoulder osteoarthropathy therapeutic apparatus

Applications Claiming Priority (1)

Application NumberPriority DateFiling DateTitle
CN2010102344532ACN101879349B (en)2010-07-232010-07-23Neck and shoulder osteoarthropathy therapeutic apparatus

Publications (2)

Publication NumberPublication Date
CN101879349A CN101879349A (en)2010-11-10
CN101879349Btrue CN101879349B (en)2012-11-07

Family

ID=43051572

Family Applications (1)

Application NumberTitlePriority DateFiling Date
CN2010102344532AExpired - Fee RelatedCN101879349B (en)2010-07-232010-07-23Neck and shoulder osteoarthropathy therapeutic apparatus

Country Status (1)

CountryLink
CN (1)CN101879349B (en)

Families Citing this family (3)

* Cited by examiner, † Cited by third party
Publication numberPriority datePublication dateAssigneeTitle
CN104548362A (en)*2015-01-222015-04-29段国庆Neck and shoulder bone joint disease treatment instrument
CN107648735A (en)*2017-11-142018-02-02广州龙之杰科技有限公司The shake magnetic of thermal therapeutical pad of different type magnetic is changed to shake thermal cure instrument and application method
CN114939040B (en)*2022-05-312023-10-10重庆医科大学附属第二医院 A postural fixation device for trigeminal nerve balloon compression and its production method

Citations (6)

* Cited by examiner, † Cited by third party
Publication numberPriority datePublication dateAssigneeTitle
CN2555055Y (en)*2002-07-092003-06-11王健Splitting health-care therapeutic instrument
EP1415633A1 (en)*2002-10-292004-05-06Migun Medical Instrument Co., Ltd.Heat Therapy Device and Heat Therapy System using the same
CN2765587Y (en)*2005-01-102006-03-22董亮Cervical vertebra therapeutic equipment
CN201197849Y (en)*2008-02-272009-02-25德中利德(天津)生物技术有限公司Multi-body type health care therapeutic apparatus
CN201453607U (en)*2009-02-242010-05-12徐克林Multifunctional detachable therapeutic massage device
CN201727846U (en)*2010-07-232011-02-02德中利德(天津)生物技术有限公司Neck and shoulder osteoarticular disease therapy instrument

Patent Citations (6)

* Cited by examiner, † Cited by third party
Publication numberPriority datePublication dateAssigneeTitle
CN2555055Y (en)*2002-07-092003-06-11王健Splitting health-care therapeutic instrument
EP1415633A1 (en)*2002-10-292004-05-06Migun Medical Instrument Co., Ltd.Heat Therapy Device and Heat Therapy System using the same
CN2765587Y (en)*2005-01-102006-03-22董亮Cervical vertebra therapeutic equipment
CN201197849Y (en)*2008-02-272009-02-25德中利德(天津)生物技术有限公司Multi-body type health care therapeutic apparatus
CN201453607U (en)*2009-02-242010-05-12徐克林Multifunctional detachable therapeutic massage device
CN201727846U (en)*2010-07-232011-02-02德中利德(天津)生物技术有限公司Neck and shoulder osteoarticular disease therapy instrument

Also Published As

Publication numberPublication date
CN101879349A (en)2010-11-10

Similar Documents

PublicationPublication DateTitle
CN205073266U (en)Vibration care instrument
CN205322736U (en)Simple massager
CN104707247B (en)A kind of multi-functional electric needle therapeutic instrument
CN101879349B (en)Neck and shoulder osteoarthropathy therapeutic apparatus
CN118161756B (en)Focusing alternating magnetic field therapeutic instrument
CN207012335U (en)A kind of cervical massager
CN106176172A (en)Waveform gradual percussion massage armchair
CN201727846U (en)Neck and shoulder osteoarticular disease therapy instrument
CN206777499U (en)Shoulder massage back cushion
CN202191602U (en)Biological wave therapeutic instrument for dredging channels and collaterals
CN209392382U (en)A kind of seven-star moxibustion warmer based on micro- lattice metal
CN203447490U (en)Deep muscle massager with various massage heads
CN204798317U (en)Massage vibration appearance
CN207400912U (en)A kind of telescopic combined du-moxibustion box
CN203122997U (en)Multifunctional moxibustion instrument
CN203710316U (en)Massage bed capable of going up and down
CN110227030A (en)A kind of electromagnetism acupuncture and moxibustion device
CN105342837A (en)Movable moxa-moxibustion rack
CN213964265U (en)Massage device
CN203447501U (en)Adjustable blood-circulation-promoting yang-warming acupuncture therapy device
CN203207665U (en)Plum-blossom magnet rehabilitation pillow
CN209107988U (en)A kind of Multi-function neck part therapeutic instrument for rehabilitation
CN202437661U (en)Face and joint physical therapy device integrating moxibustion, acupuncture and massage
CN202567426U (en)Neck protection pillow
CN220110078U (en) A kind of thermal moxibustion instrument for improving eyesight

Legal Events

DateCodeTitleDescription
C06Publication
PB01Publication
C10Entry into substantive examination
SE01Entry into force of request for substantive examination
C14Grant of patent or utility model
GR01Patent grant
CF01Termination of patent right due to non-payment of annual fee

Granted publication date:20121107

Termination date:20180723

CF01Termination of patent right due to non-payment of annual fee

[8]ページ先頭

©2009-2025 Movatter.jp