Movatterモバイル変換


[0]ホーム

URL:


CN101773881B - Kitchen sprinkler capable of being switched by shifting - Google Patents

Kitchen sprinkler capable of being switched by shifting
Download PDF

Info

Publication number
CN101773881B
CN101773881BCN200910266860ACN200910266860ACN101773881BCN 101773881 BCN101773881 BCN 101773881BCN 200910266860 ACN200910266860 ACN 200910266860ACN 200910266860 ACN200910266860 ACN 200910266860ACN 101773881 BCN101773881 BCN 101773881B
Authority
CN
China
Prior art keywords
valve
apopore
water
bubbler
stirring
Prior art date
Legal status (The legal status is an assumption and is not a legal conclusion. Google has not performed a legal analysis and makes no representation as to the accuracy of the status listed.)
Expired - Fee Related
Application number
CN200910266860A
Other languages
Chinese (zh)
Other versions
CN101773881A (en
Inventor
庄祖强
陈斌
周华松
Current Assignee (The listed assignees may be inaccurate. Google has not performed a legal analysis and makes no representation or warranty as to the accuracy of the list.)
Zhou Huasong
Xiamen Solex High Tech Industries Co Ltd
Original Assignee
Xiamen Solex High Tech Industries Co Ltd
Priority date (The priority date is an assumption and is not a legal conclusion. Google has not performed a legal analysis and makes no representation as to the accuracy of the date listed.)
Filing date
Publication date
Application filed by Xiamen Solex High Tech Industries Co LtdfiledCriticalXiamen Solex High Tech Industries Co Ltd
Priority to CN200910266860ApriorityCriticalpatent/CN101773881B/en
Publication of CN101773881ApublicationCriticalpatent/CN101773881A/en
Priority to PCT/CN2010/080502prioritypatent/WO2011079805A1/en
Application grantedgrantedCritical
Publication of CN101773881BpublicationCriticalpatent/CN101773881B/en
Expired - Fee Relatedlegal-statusCriticalCurrent
Anticipated expirationlegal-statusCritical

Links

Images

Landscapes

Abstract

The invention discloses a kitchen sprinkler capable of being switched by shifting. A valve body component of a switching valve is hermetically arranged between the water outlet end of a mandrel of the kitchen sprinkler and each of a water supply cavity of a bubbler and a water supply cavity of a front cover of the sprinkler; the valve body component is provided with a water inlet which is positioned at the upper part and a first water outlet hole and a second water outlet hole which are positioned at the lower part; a valve plug is formed at the bottom of a valve rod of the switching valve; a return spring for pushing the valve plug is arranged in the valve body component; and the top of the valve rod is linked with a shifting head through a lever component. The parts of the kitchen sprinkler are connected in an inserting mode, a pivoting mode, a directly fixing mode or other modes, and the kitchen sprinkler has low requirements for balance performance and simple assembly.

Description

A kind of kitchen shower head of stirring switching
Technical field
The present invention relates to a kind of kitchen shower head, relate to a kind of kitchen shower head of stirring switching especially.
Background technology
Two kinds of water exit modes of existing kitchen shower head operated by rotary motion: bubble water and gondola water faucet water, for preventing kitchen shower head spray splash when initially using, the regulation kitchen shower head is the bubble water state when initial the unlatching in the industry.For achieving the above object; A kind of switching device shifter of kitchen shower head button is disclosed among the CN201053519Y; It cooperates gondola water faucet body, mandrel, button mechanism, bubbler and gondola water faucet cover and implements, and wherein: vertical two intake tunnels that form in gondola water faucet middle part are communicated with the intake antrum of bubbler and the intake antrum of gondola water faucet cover respectively; Button mechanism is arranged on the sidewall of gondola water faucet body, and it comprises that two have the button of aiming at above-mentioned two intake tunnels respectively of reset function; One Spool assembly comprises two valve bodies and a pressing plate, also comprises a back-moving spring, and two valve bodies are separately positioned in two inlet channels of mandrel, and back-moving spring places the below of the valve body that is arranged in bubble water inlet channel; And the pressing plate middle part is the top that is articulated in partition wall between two inlet channels, and the two ends of pressing plate articulate the top of two valve bodies respectively.In above-mentioned gondola water faucet, when gondola water faucet was in the pass water state, the valve plug that is positioned at bubble water inlet channel was positioned at upper position under the effect of back-moving spring; Be in opening, simultaneously owing to leverage, the valve plug that be positioned at gondola water faucet water inlet channel this moment moves downward; Be in closed condition, therefore, in the Spool assembly of above-mentioned gondola water faucet; Its nature is closed for the gondola water faucet intake tunnel, and bubble water intake tunnel is opened.But above-mentioned switching device shifter is internally established the balance quality of each parts and is had relatively high expectations, and causes the assembly difficulty of product to raise.
Summary of the invention
The purpose of this invention is to provide a kind of kitchen shower head of stirring switching, to solve the problems referred to above that exist in the prior art.Each parts of this kitchen shower head connect through modes such as pegging graft, articulate or be directly fixing, to balance quality require lowly, assembling is simple.
Technical scheme provided by the invention is following:
A kind of kitchen shower head of stirring switching; Which comprises at least hollow body, have the mandrel of water inlet end and water side and be fixedly set in the bubbler and the gondola water faucet cover of this hollow body water side; It is characterized in that: the water side of said mandrel and bubbler water supply chamber, and gondola water faucet cover water supply chamber between sealing the valve component of one transfer valve is set; The be tightly connected water side of said mandrel of the superposed water inlet of this valve component, first apopore and second apopore that this valve component is positioned at the bottom then are communicated with said bubbler water supply chamber and said gondola water faucet cover water supply chamber respectively; The stem bottom of this transfer valve forms a valve plug, and the back-moving spring of this valve plug of pushing tow is set in the said valve component; When this valve rod was positioned at first station, this valve plug got lodged between the inlet opening and second apopore, and this first apopore is communicated with the inlet opening through this valve component inner space; When this valve rod was positioned at second station, this valve plug got lodged between the inlet opening and first apopore, and this second apopore is connected with the inlet opening through this valve component inner space; The top of said valve rod stretches out in outside the said valve component, and articulates an end of a lever assembly, and the other end of this lever assembly articulates one and stirs head, and this top of stirring head is passed the through hole that is provided with on the said body and is exposed to body surface, forms a clicking section.
In the embodiment that recommends; Said lever assembly comprises first rotating shaft of a horizontal direction that is fixedly installed on body interior and second rotating shaft of a horizontal direction; This first rotating shaft is plugged in said stirring in one first axis hole that centriciput forms rotationally, and a downward opening is then formed at a said bottom of stirring; Said second rotating shaft then is plugged in second axis hole at lever middle part rotationally, and the upper end of this lever slidably and rotationally is provided with in the said opening, and the lower end of this lever articulates said valve stem tip, slides in valve component in order to drive valve rod.
In the embodiment that recommends; Said bubbler is arranged on the center of said gondola water faucet cover; Said first apopore is arranged on the position near the center; Said second apopore is arranged on the position near periphery, and said first apopore and second apopore lay respectively at the relative both sides of said valve plug travel.
In the embodiment that recommends, when said valve rod was positioned at first station, back-moving spring is unfolded state; When said valve rod was positioned at second station, back-moving spring was contraction state.
In the embodiment that recommends, the opening direction of this opening and said clicking section to stir direction perpendicular; The cross bar in order in said opening, to slide of one and first rotating shaft and second shaft parallel is formed at the top of said lever, then is provided with one between this cross bar and second axis hole in order to supply this to stir the cavity that head part stretches in this cross bar rotation back relatively at the said head of stirring.
In the embodiment that recommends, the top of said bubbler and said gondola water faucet cover is provided with one fen water body, this minute water body bottom and said bubbler and said gondola water faucet cover between form the water supply chamber of bubbler and the water supply chamber of gondola water faucet cover respectively; Said valve component comprises first valve body and in order to second valve body of said valve rod to be set; This minute, first valve body was formed at the top of water body; Water inlet, first apopore and second apopore of said transfer valve are set on said first valve body, and on it near a side of mandrel form one in order to be blocked in the circular groove between the inlet opening and second apopore after said valve plug cooperates; Said first valve interior wall seals the outer wall of sheathed second valve body; This second valve body has the 3rd apopore that communicates with first apopore; Said second valve body have one in order to be blocked in the bottom between inlet opening and the 3rd apopore after said valve plug cooperates, the bottom of said circular groove and this second valve body is provided with in opposite directions.
In the embodiment that recommends, separation seal circle sealing between said second valve body and the valve rod top, the gap between sealing circle this valve rod of sealing and second valve interior wall, in the whole stroke of valve rod, the sealing circle all is positioned at the position of the 3rd apopore top.
In the embodiment that recommends, fixedly install L shaped first support in the said hollow body, said first rotating shaft and second rotating shaft all are arranged on the longitudinal wall of first support.
In the embodiment that recommends, the center of said valve plug front end forms a groove, and said first valve body is forming the convex body that sets with it to position that should groove, and in the sliding stroke of valve rod, this convex body is positioned at the inboard of this groove all the time.
Need to prove that for being adapted to different user demands, above-mentioned gondola water faucet cover and bubbler also can use other different classes of water outlet types to replace.
Only if name especially, the implication of employed here all technology and scientific terminology is identical with the affiliated common implication of understanding of technical field those skilled in the art of the present invention.Equally, all can introduce the present invention as a reference at this publication of mentioning, patent application, patent and other references.
Mention among the present invention " on ", the direction when D score uses with gondola water faucet is as the criterion, and is the lower end with the gondola water faucet water outlet end promptly, the gondola water faucet water inlet is the upper end.
Can know by foregoing description; The invention property provides a kind of kitchen shower head of stirring switching; This kitchen shower head is through being provided with the back-moving spring of a pushing tow valve plug; The water inlet that makes this kitchen shower head is communicated with the inlet opening (first apopore) with bubble water water supply chamber when original state (back-moving spring be unfold state), can guarantee that therefore in the water outlet of kitchen shower head when one opens be bubble water, prevents the spray splash; On the other hand, each parts of this gondola water faucet connect through modes such as pegging graft, articulate or be directly fixing, to balance quality require lowly, assembling is simple.
Description of drawings
Fig. 1 is the explosive view of embodiment kitchen shower head;
Fig. 2 is the internal structure sketch map of embodiment kitchen shower head after removing second support;
Fig. 3 is the water passage sketch map of embodiment kitchen shower head when the bubbler water outlet;
Fig. 4 is the partial enlarged drawing at A place among Fig. 3;
Fig. 5 is the water passage sketch map of embodiment kitchen shower head when the water outlet of gondola water faucet cover;
Fig. 6 is the partial enlarged drawing at B place among Fig. 5.
The specific embodiment
Embodiment 1
For further specifying the present invention, the specific embodiment of existing accompanying drawings preferred embodiment:
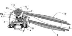
Shown in Fig. 1 and Fig. 2; Stir the kitchen shower head of switching; It compriseshollow body 1, themandrel 2 that has water inlet end and water side andcircular bubbler 3 that is fixedly set in thishollow body 1 water side and the annular gondolawater faucet cover 4 that has handle 12; Andmandrel 2 is provided with in thehandle 12, andcircular bubbler 3 is arranged on the center of annular gondolawater faucet cover 4.
The top ofbubbler 3 and gondolawater faucet cover 4 is provided with onefen water body 5, thisminute water body 5 bottom andbubbler 3 and gondolawater faucet cover 4 between form the water supply chamber ofbubbler 3 and the water supply chamber of gondolawater faucet cover 4 respectively; This minute,first valve body 61 was formed atwater body 5 top; Onewater inlet 611,first apopore 612 andsecond apopore 613 are set onfirst valve body 61;Water inlet 611 is positioned at top; And the water side of themandrel 2 that is tightly connected,first apopore 612 and 613 of second apopores are positioned at the bottom, and are communicated withbubbler 3 water supply chambeies and gondolawater faucet cover 4 water supply chambeies respectively.
The outer wall of sheathed onesecond valve body 62 of the inner wall sealing offirst valve body 61; Thissecond valve body 62 has the3rd apopore 621 that communicates withfirst apopore 611; Onevalve rod 63 is arranged on the inboard of second valve body, and the upper position ofvalve rod 63 is provided with sealing ring, in the whole stroke ofvalve rod 63; The sealing circle all is positioned at the position of the3rd apopore 621 tops; Gap between sealing circle thisvalve rod 63 of sealing and second valve body, 62 inwalls in order to whenvalve rod 63 slides with respect to second valve body, prevents the be tightly connected outflow of current from thevalve rod 63 andsecond valve body 62; The back-movingspring 65 that this valve plug 64 of one pushing tow is set in one valve plug, 64, the second valve bodies is formed onvalve rod 63 bottoms;Second valve body 62 have one in order to be blocked in the bottom betweeninlet opening 611 and the3rd apopore 621 aftervalve plug 64 cooperates; On the inwall offirst valve body 61 form near a side ofmandrel 2 one in order to be blocked in the circular groove between the inlet opening 611 andsecond apopore 613 aftervalve plug 64 cooperates, the bottom of this circular groove and second valve body is provided with in opposite directions.
First apopore 612 and the3rd apopore 621 lay respectively at the relative both sides ofvalve plug 64 strokes.
Fixedly install in thehollow body 1 on the longitudinal wall of L shaped first support, 11, the first supports 11 first rotatingshaft 111 of horizontal direction and second rotatingshaft 112 of horizontal direction are set.
This first rotatingshaft 111 is plugged in one rotationally and stirs in onefirst axis hole 71 that 7 middle parts form, and this is stirred a top of 7 and passes the throughhole 13 thathollow body 1 top is provided with and be exposed to body surface, forms a clickingsection 72.
112 of this second rotating shafts are plugged insecond axis hole 81 at alever 8 middle parts rotationally, and the lower end of thislever 8articulates valve rod 63 tops, slide insecond valve body 62 in order to drivevalve rod 63.
In first rotatingshaft 111 and second rotatingshaft 112, pack intostir 7 withlever 8 after, the free-end of this first rotatingshaft 111 and second rotatingshaft 112 uses onesecond support 13 to fix.
Stir 7 bottom and form adownward opening 73, the opening direction of this opening 73 and clickingsection 72 to stir direction perpendicular; One thecross bar 82 in order at opening 73 to slide parallel with second rotatingshaft 112 with first rotatingshaft 111 formed at the top oflever 8, then forms one between thiscross bar 82 andsecond axis hole 81 and stirs a cavity that 7 parts stretch in order to confession after stirring 7 relative thesecross bars 82 rotations.
The center of the front end ofvalve plug 64 forms agroove 641, thefirst valve bodies 61 and position that should groove 641 is being formed theconvex body 614 that sets with it, and in the sliding stroke ofvalve rod 63, thisconvex body 614 is positioned at the inboard of thisgroove 641 all the time.
Shown in Fig. 3 and Fig. 4; This kitchen shower head is when original state, and back-movingspring 65 is unfolds state,valve plug 64 is pushed in the circular groove that forms on the inwall offirst valve body 61; And be blocked between the inlet opening 611 andsecond apopore 613;Inlet opening 611 is communicated withfirst apopore 612 through the3rd apopore 621, and current flow in the water supply chamber ofbubbler 3, and bubbler is given vent to anger soaked; Shown in Fig. 5 and Fig. 6, during switching, with stirring a clickingsection 72 of 7 to stirring away from the direction ofmandrel 2; Because leverage at this moment, is positioned at the lopsidedness of the opening 73 of clickingsection 72 relative sides to mandrel 2 places; Theupper cross bar 82 that causeslever 8 is downwards and to the side shifting atmandrel 2 places, and once more because leverage, then move to the direction away frommandrel 2 articulated section that is positioned atlever 8 bottoms andvalve rod 63 tops; And move after drivingvalve rod 63,valve plug 64 is cooperated with second valve body, 62 bottoms, be blocked betweeninlet opening 611 and the3rd apopore 621; At this moment; The inlet opening 611 andsecond apopore 613 are communicated with, and current flow in the water supply chamber of gondolawater faucet cover 4, and gondolawater faucet cover 4 goes out gondola water faucet water.
The foregoing description is a preferred implementation of the present invention; But embodiment of the present invention is not restricted to the described embodiments; Other any do not deviate from change, the modification done under spirit of the present invention and the principle, substitutes, combination, simplify; All should be the substitute mode of equivalence, be included within protection scope of the present invention.

Claims (7)

1. kitchen shower head of stirring switching; Which comprises at least hollow body, have the mandrel of water inlet end and water side and be fixedly set in the bubbler and the gondola water faucet cover of this hollow body water side; It is characterized in that: the water side of said mandrel and bubbler water supply chamber, and gondola water faucet cover water supply chamber between sealing the valve component of one transfer valve is set; The be tightly connected water side of said mandrel of the superposed water inlet of this valve component, first apopore and second apopore that this valve component is positioned at the bottom then are communicated with said bubbler water supply chamber and said gondola water faucet cover water supply chamber respectively; The stem bottom of this transfer valve forms a valve plug, and the back-moving spring of this valve plug of pushing tow is set in the said valve component; When this valve rod was positioned at first station, this valve plug got lodged between the inlet opening and second apopore, and this first apopore is communicated with the inlet opening through this valve component inner space; When this valve rod was positioned at second station, this valve plug got lodged between the inlet opening and first apopore, and this second apopore is connected with the inlet opening through this valve component inner space; The top of said valve rod stretches out in outside the said valve component, and articulates an end of a lever assembly, and the other end of this lever assembly articulates one and stirs head, and this top of stirring head is passed the through hole that is provided with on the said body and is exposed to body surface, forms a clicking section;
4. according to a kind of kitchen shower head of stirring switching described in claim 2 or 3; It is characterized in that: the top of said bubbler and said gondola water faucet cover is provided with one fen water body, this minute water body bottom and said bubbler and said gondola water faucet cover between form the water supply chamber of bubbler and the water supply chamber of gondola water faucet cover respectively; Said valve component comprises first valve body and in order to second valve body of said valve rod to be set; This minute, first valve body was formed at the top of water body; Water inlet, first apopore and second apopore of said transfer valve are set on said first valve body, and on it near a side of mandrel form one in order to be blocked in the circular groove between the inlet opening and second apopore after said valve plug cooperates; Said first valve interior wall seals the outer wall of sheathed second valve body; This second valve body has the 3rd apopore that communicates with first apopore; Said second valve body have one in order to be blocked in the bottom between inlet opening and the 3rd apopore after said valve plug cooperates, the bottom of said circular groove and this second valve body is provided with in opposite directions.
CN200910266860A2009-12-312009-12-31Kitchen sprinkler capable of being switched by shiftingExpired - Fee RelatedCN101773881B (en)

Priority Applications (2)

Application NumberPriority DateFiling DateTitle
CN200910266860ACN101773881B (en)2009-12-312009-12-31Kitchen sprinkler capable of being switched by shifting
PCT/CN2010/080502WO2011079805A1 (en)2009-12-312010-12-30Toggle switching shower head for kitchen

Applications Claiming Priority (1)

Application NumberPriority DateFiling DateTitle
CN200910266860ACN101773881B (en)2009-12-312009-12-31Kitchen sprinkler capable of being switched by shifting

Publications (2)

Publication NumberPublication Date
CN101773881A CN101773881A (en)2010-07-14
CN101773881Btrue CN101773881B (en)2012-09-05

Family

ID=42510544

Family Applications (1)

Application NumberTitlePriority DateFiling Date
CN200910266860AExpired - Fee RelatedCN101773881B (en)2009-12-312009-12-31Kitchen sprinkler capable of being switched by shifting

Country Status (1)

CountryLink
CN (1)CN101773881B (en)

Families Citing this family (3)

* Cited by examiner, † Cited by third party
Publication numberPriority datePublication dateAssigneeTitle
WO2011079805A1 (en)*2009-12-312011-07-07厦门松霖科技有限公司Toggle switching shower head for kitchen
CN107626461B (en)*2017-11-092023-05-23恺霖卫浴科技(厦门)有限公司Touch type waterway switching shower head
CN108421651B (en)*2018-06-052024-09-03厦门松霖科技股份有限公司Shower head

Citations (5)

* Cited by examiner, † Cited by third party
Publication numberPriority datePublication dateAssigneeTitle
US6151729A (en)*1999-10-282000-11-28Chya Ye Industrial Co., Ltd.Switch valve for use in a rinsing shower head mounted to a kitchen sink
CN1319456A (en)*2000-03-102001-10-31艾姆法格股份公司Drawing out type shower nozzle for kitchen
EP1616628A1 (en)*2004-07-162006-01-18Weidmann Plastics Technology AGShower head
CN2801293Y (en)*2005-06-252006-08-02胡旭东Shower nozzle capable of water switching
EP1837080A1 (en)*2006-03-212007-09-26Fabrizio NobiliA spray head with simplified activation particularly for kitchen sinks

Patent Citations (5)

* Cited by examiner, † Cited by third party
Publication numberPriority datePublication dateAssigneeTitle
US6151729A (en)*1999-10-282000-11-28Chya Ye Industrial Co., Ltd.Switch valve for use in a rinsing shower head mounted to a kitchen sink
CN1319456A (en)*2000-03-102001-10-31艾姆法格股份公司Drawing out type shower nozzle for kitchen
EP1616628A1 (en)*2004-07-162006-01-18Weidmann Plastics Technology AGShower head
CN2801293Y (en)*2005-06-252006-08-02胡旭东Shower nozzle capable of water switching
EP1837080A1 (en)*2006-03-212007-09-26Fabrizio NobiliA spray head with simplified activation particularly for kitchen sinks

Also Published As

Publication numberPublication date
CN101773881A (en)2010-07-14

Similar Documents

PublicationPublication DateTitle
CN201579133U (en)Kitchen sprinkler capable of shifting by stirring
CN101773881B (en)Kitchen sprinkler capable of being switched by shifting
CN101978201B (en)Process valve acting as a lift valve
CN103180527B (en)Manual bidet
CN106890735A (en)Long-range switching combining gondola water faucet
CN107115984B (en)Movable primary-secondary shower
CN104887162B (en)Gushing arm component for dish-washing machine
CN204051959U (en)Waterway circulating switching device shifter and apply the gondola water faucet of this device
CN105170349B (en)A kind of discharging device and the method for controlling discharging device
CN103736608A (en)Waterway switching mechanism and head sprinkler using waterway switching mechanism
CN106702683B (en)Washing machine detergent box and washing machine with same
CN206396490U (en)Washing machine detergent box and washing machine with same
CN208670152U (en)The structure of waterway switching and the discharge switching device of combined shower device
CN107952598B (en)Foldable shower head
CN112576782B (en) Switching valve and water outlet device
CN103574146A (en)Handle assembly and faucet with same
CN105939641A (en)Extraction device of simplified actuation and process of operation thereof
CN107737780B (en)Electric water heater
CN102720844B (en)Lower-control water-saving water valve
CN105361737A (en)Device for producing and fixing a food preparation
CN110043682A (en)A kind of water-saving tap with water-saving simultaneous switch integrated spool
CN202439502U (en)Process pen for making colored sand painting
KR20160110469A (en)Dispensing device having a retractable head
CN108273679B (en)Thin shower head and waterway switching device
CN108532699B (en)Rotary toilet control valve

Legal Events

DateCodeTitleDescription
C06Publication
PB01Publication
C10Entry into substantive examination
SE01Entry into force of request for substantive examination
C14Grant of patent or utility model
GR01Patent grant
CP03Change of name, title or address

Address after:361000, Fujian, Xiamen, China (Fujian) free trade test area, Xiamen area (bonded port), Seaview East Road, No. 4, building 18, A06

Co-patentee after:Zhou Huasong

Patentee after:XIAMEN SOLEX HIGH-TECH INDUSTRIES Co.,Ltd.

Address before:361000 No. 298 sunshine West Road, Haicang Xinyang Industrial Zone, Fujian, Xiamen

Co-patentee before:Zhou Huasong

Patentee before:XIAMEN SOLEX HIGH-TECH INDUSTRIES Co.,Ltd.

CP03Change of name, title or address
TR01Transfer of patent right

Effective date of registration:20170913

Address after:361000, Fujian, Xiamen, China (Fujian) free trade test area, Xiamen area (bonded port), Seaview East Road, No. 4, building 18, A06

Patentee after:XIAMEN SOLEX HIGH-TECH INDUSTRIES Co.,Ltd.

Address before:361000, Fujian, Xiamen, China (Fujian) free trade test area, Xiamen area (bonded port), Seaview East Road, No. 4, building 18, A06

Co-patentee before:Zhou Huasong

Patentee before:XIAMEN SOLEX HIGH-TECH INDUSTRIES Co.,Ltd.

TR01Transfer of patent right
CF01Termination of patent right due to non-payment of annual fee

Granted publication date:20120905

Termination date:20201231

CF01Termination of patent right due to non-payment of annual fee

[8]ページ先頭

©2009-2025 Movatter.jp