Movatterモバイル変換


[0]ホーム

URL:


CN101761829B - Backlight module and display device using the backlight module - Google Patents

Backlight module and display device using the backlight module
Download PDF

Info

Publication number
CN101761829B
CN101761829BCN2010100037629ACN201010003762ACN101761829BCN 101761829 BCN101761829 BCN 101761829BCN 2010100037629 ACN2010100037629 ACN 2010100037629ACN 201010003762 ACN201010003762 ACN 201010003762ACN 101761829 BCN101761829 BCN 101761829B
Authority
CN
China
Prior art keywords
light guide
light
guide wall
backlight module
wall
Prior art date
Legal status (The legal status is an assumption and is not a legal conclusion. Google has not performed a legal analysis and makes no representation as to the accuracy of the status listed.)
Expired - Fee Related
Application number
CN2010100037629A
Other languages
Chinese (zh)
Other versions
CN101761829A (en
Inventor
彭赐光
黄启祥
张正伟
Current Assignee (The listed assignees may be inaccurate. Google has not performed a legal analysis and makes no representation or warranty as to the accuracy of the list.)
AUO Corp
Original Assignee
AU Optronics Corp
Priority date (The priority date is an assumption and is not a legal conclusion. Google has not performed a legal analysis and makes no representation as to the accuracy of the date listed.)
Filing date
Publication date
Application filed by AU Optronics CorpfiledCriticalAU Optronics Corp
Priority to CN2010100037629ApriorityCriticalpatent/CN101761829B/en
Publication of CN101761829ApublicationCriticalpatent/CN101761829A/en
Application grantedgrantedCritical
Publication of CN101761829BpublicationCriticalpatent/CN101761829B/en
Expired - Fee Relatedlegal-statusCriticalCurrent
Anticipated expirationlegal-statusCritical

Links

Images

Landscapes

Abstract

The invention discloses a display device, which comprises a backlight module and a display panel arranged above the backlight module. The backlight module comprises a light guide plate and a plurality of groups of light sources, wherein the light guide plate is provided with a light incoming surface positioned on the first light guide part and a light outgoing surface positioned on the second light guide part, and the light incoming surface and the light outgoing surface are adjacent to each other. The first light guide part is provided with a first light guide cavity and a second light guide cavity which are arranged in a staggered mode. The first light guide cavity is provided with a first light guide wall and a second light guide wall which extend towards the light incident surface and intersect at the first vertex angle, and the second light guide cavity is provided with a third light guide wall and a fourth light guide wall which extend away from the light incident surface and intersect at the second vertex angle. The light source comprises a first light emitting diode and a second light emitting diode, which are arranged beside the light incident surface of the light guide plate and respectively correspond to the first light guide wall and the second light guide wall.

Description

Backlight module and use the display device of this backlight module
Technical field
The present invention relates to a kind of backlight module, particularly relate to a kind of emitting uniform backlight module and use the display device of this backlight module.
Background technology
Backlight module is in order to display panels (liquid crystal display panel, LCDpanel) required display light source to be provided.Backlight module can be divided into straight-down negative and side incident type according to the light inlet mode, and wherein the backlight module of side incident type uses light guide plate usually (light guide plate, LGP) light that light source is provided converts area source to.On the other hand, because light emitting diode (light emitting diode, LED) have high brightness, characteristic that volume is little, therefore be applied in the backlight module gradually at present, so that LCD can develop towards light, thin target with high brightness further.
Fig. 1 is the local schematic top plan view of existing side incident type backlight module.Please refer to Fig. 1,backlight module 100 comprises a plurality oflight emitting diodes 110 and light guide plate (light guide plate, LGP) 120.Wherein, theselight emitting diodes 110 areincidence surface 122 sides that are arranged inlight guide plate 120 at each interval, in order to launch light tolight guide plate 120 inside.Because the rising angle oflight emitting diode 110 is limited, therefore when the spacing d between the adjacentlight emitting diode 110 is too big, often have tangible blanking bar district B, the uneven problem of bright dipping just by the light of 120 outgoing of light guide plate.One of method of existing head it off is the spacing d that shortens between these light emitting diodes 110.Yet under the prerequisite ofbacklight module 100 size constancies, the spacing d as between the desire shorteninglight emitting diode 110 need use morelight emitting diode 110, causes the cost ofbacklight module 100 to improve.
Summary of the invention
In view of this, the object of the present invention is to provide a kind of backlight module, it can provide uniform surface light source under the prerequisite that does not raise the cost.
A further object of the present invention is to provide a kind of display device, and it comprises the backlight module that uniform area light source can be provided, thereby can have good demonstration usefulness.
For reaching above-mentioned purpose, the present invention proposes a kind of backlight module, comprises light guide plate and multiple sets of light sources, and wherein light guide plate has incidence surface adjacent one another are and exiting surface, and comprises first light guide section and second light guide section.This incidence surface is to be positioned at first light guide section, and exiting surface then is to be positioned at second light guide section.And first light guide section has a plurality of first leaded light chambeies and a plurality of second leaded light chamber, and wherein these first leaded light chambeies and these second leaded light chambeies are staggered.Each first leaded light chamber has the first leaded light wall and the second leaded light wall, and the first leaded light wall and the second leaded light wall are to intersect at first drift angle towards the incidence surface extension.Each second leaded light chamber then has the 3rd leaded light wall and the 4th leaded light wall, and the 3rd leaded light wall and the 4th leaded light wall are to intersect at second drift angle away from the incidence surface extension.On the other hand, the first leaded light wall is adjacent with the 4th leaded light wall, and the second leaded light wall is then adjacent with the 3rd leaded light wall.
Hold above-mentionedly, these light sources are to be configured in by the incidence surface of light guide plate, and correspond to above-mentioned these first leaded light chambeies, are suitable for providing light to light guide plate inside.And each is organized light source and comprises first light emitting diode that corresponds to the first leaded light wall and second light emitting diode that corresponds to the second leaded light wall.
The present invention also proposes a kind of display device, the display panel that comprises above-mentioned backlight module and be configured in the exiting surface top of light guide plate.
In one embodiment of this invention, above-mentioned first drift angle is identical with the angle of second drift angle.
In one embodiment of this invention, above-mentioned light guide plate is formed in one.
In one embodiment of this invention, above-mentioned light guide plate is assembled by first light guide section and second light guide section.
In one embodiment of this invention, above-mentioned backlight module more comprises a plurality of reflector plates, be disposed at by the incidence surface of light guide plate, and between each group light source.
In one embodiment of this invention, above-mentioned first light guide section has more a plurality of smooth reflection graphic patterns, corresponds between these light sources and is distributed in incidence surface.
In one embodiment of this invention, above-mentioned these first leaded light chamber width on the direction of parallel incidence surface greater than its correspondence should the group light source width.
In one embodiment of this invention, the angle of above-mentioned first drift angle is between 50~120 degree.
In one embodiment of this invention, the angle of above-mentioned second drift angle is between 50~120 degree.
In one embodiment of this invention, above-mentioned backlight module more comprises at least one blooming piece, and for example diffusion sheet, brightening piece, prismatic lens or its combination are disposed on the exiting surface of light guide plate.
In one embodiment of this invention, above-mentioned backlight module more comprises reflex housing, coats above-mentioned these light sources and first light guide section.
In one embodiment of this invention, the above-mentioned first leaded light wall is parallel to the 4th leaded light wall, and the second leaded light wall is parallel to the 3rd leaded light wall.
In one embodiment of this invention, above-mentioned each first drift angle and its spacing between adjacent second drift angle between 5 centimetres to 25 centimetres.
In one embodiment of this invention, above-mentioned each first leaded light chamber with its distance between the adjacent second leaded light chamber equate.
In one embodiment of this invention, above-mentioned display panel comprises display panels.
Backlight module of the present invention forms a plurality of first leaded light chambeies and a plurality of second leaded light chamber of arrangement interlaced with each other in light guide plate, it is advanced the part light refraction that light source was sent to second light guide section by the first leaded light chamber, and with part light total reflection to the second leaded light chamber, advance to second light guide section by the second leaded light cavity reflection light again, so that it is from the exiting surface outgoing of light guide plate.Thus, can avoid not producing tangible blanking bar disposing the light source place, and improve the light-emitting uniformity of backlight module, and then improve the demonstration usefulness of the display device of using it.
For above-mentioned and other purposes, feature and advantage of the present invention can be become apparent, preferred embodiment cited below particularly, and cooperate appended graphicly, be described in detail below.
Description of drawings
Fig. 1 is the schematic top plan view of existing side incident type backlight module;
Fig. 2 is the diagrammatic cross-section of display device in one embodiment of the invention;
Fig. 3 is the backlight module schematic top plan view of Fig. 2;
Fig. 4 is the local schematic top plan view of backlight module in the another embodiment of the present invention;
Fig. 5 is the local schematic top plan view of backlight module in the another embodiment of the present invention;
Fig. 6 is the local schematic top plan view of backlight module in the another embodiment of the present invention.
The main element symbol description
100,300,400: backlight module
110: light emitting diode
120,310: light guide plate
122,312: incidence surface
200: display device
210: display panel
220: blooming piece
310a: first light guide section
310b: second light guide section
311: the first leaded light chambeies
311a: the first leaded light wall
311b: the second leaded light wall
313: the second leaded light chambeies
313a: the 3rd leaded light wall
313b: the 4th leaded light wall
314: exiting surface
320: light source
322: the first light emitting diodes
324: the second light emitting diodes
330: reflex housing
410: reflector plate
420: circuit board
610: the light reflection graphic patterns
B: blanking bar district
D, d: spacing
H1, H2: width
L1, L2: light
1: the first drift angle of θ
2: the second drift angles of θ
Embodiment
Below will lift display device is the application that example illustrates backlight module of the present invention, but the present invention is not as limit.
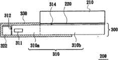
Fig. 2 is the diagrammatic cross-section of display device in one embodiment of the invention, and Fig. 3 then is the backlight module schematic top plan view of Fig. 2.Please refer to Fig. 2 and Fig. 3,display device 200 comprisesbacklight module 300 anddisplay panel 210, whereinbacklight module 300 compriseslight guide plate 310 and multiple sets oflight sources 320, andlight guide plate 310 has light inlet row face adjacent one another are 312 and exitingsurface 314, anddisplay panel 210 promptly is exitingsurface 314 tops that are configured in light guide plate 310.Specifically,display panel 210 for example is display panels (Liquid Crystal Display panel, LCD panel) or other non-self luminous display panels.In addition, can also dispose at least one bloomingpiece 220 betweenlight guide plate 310 and thedisplay panel 210, as diffusion sheet, brightening piece, prismatic lens or its combination.
Please continue with reference to Fig. 3,light guide plate 310 comprises the firstlight guide section 310a and the second light guide section 310b.Wherein,incidence surface 312 is to belong to the firstlight guide section 310a, and 314 of exiting surfaces are to belong to the second light guide section 310b.What deserves to be mentioned is that the firstlight guide section 310a and the secondlight guide section 310b of present embodiment are formed in one, but the invention is not restricted to this.In other embodiments, the firstlight guide section 310a and the secondlight guide section 310b also can be the independent sheet material that is assembled in each other.For instance, the secondlight guide section 310b can be general common wedge type light guide plate, and the firstlight guide section 310a is configured in the other sheet material of wedge type light guide plate separately.
Hold above-mentionedly, the firstlight guide section 310a has a plurality of firstleaded light chambeies 311 and a plurality of secondleaded light chambeies 313, and wherein these firstleaded light chambeies 311 are staggered with these second leaded light chambeies 313.That is to say that each firstleaded light chamber 311 lays respectively between two the second leaded light chambeies 313.And, each firstleaded light chamber 311 of present embodiment with its distance between adjacent two the secondleaded light chambeies 313 equate.Each firstleaded light chamber 311 has the firstleaded light wall 311a and the secondleaded light wall 311b, and the firstleaded light wall 311a and the secondleaded light wall 311b intersect at first vertex angle theta towardsincidence surface 312 extensions1Each 313 in second leaded light chamber has the 3rdleaded light wall 313a and the 4th leadedlight wall 313b, and the 3rdleaded light wall 313a and the 4th leadedlight wall 313b intersect at second vertex angle theta away fromincidence surface 312 extensions2And the firstleaded light wall 311a is adjacent with the 4th leadedlight wall 313b, and the secondleaded light wall 311b is then adjacent with the 3rd leaded light wall 313a.In the present embodiment, first vertex angle theta1With its adjacent second vertex angle theta2Between space D for example be between 5 centimetres to 25 centimetres
It should be noted that the ray refractive index of the ray refractive index in the firstleaded light chamber 311 and the secondleaded light chamber 313 less than first other positions of light guide section 310a.Specifically, it for example is air that the light of the firstleaded light chamber 311 and 313 inside, the second leaded light chamber transmits medium, and the material of the firstlight guide section 310a for example be polymethylmethacrylate (polymethyl methacrylate, PMMA), its refractive index is about 1.49, but is not limited thereto.
Please continue with reference to Fig. 2 and Fig. 3, each organizeslight source 320 isincidence surface 312 sides that are configured inlight guide plate 310 at each interval, and corresponds to the firstleaded light chamber 311, in order to provide light tolight guide plate 310 inside.And each is organizedlight source 320 and comprises firstlight emitting diode 322 and secondlight emitting diode 324 that corresponds to the secondleaded light wall 311b that corresponds to the firstleaded light wall 311a respectively.
Specifically, the firstleaded light chamber 311 of present embodiment and second projection of leadedlight chamber 313 on exitingsurface 314 are triangular in shape.And, the width H of the firstleaded light chamber 311 on the direction ofparallel incidence surface 3121For example be greater than its width H oflight source 320 of correspondence2That is to say that most light that firstlight emitting diode 322 is sent all can be incident upon the firstleaded light wall 311a, and most light that secondlight emitting diode 324 is sent all can be incident upon the secondleaded light wall 311b.
In addition, first vertex angle theta in the firstleaded light chamber 3111Second vertex angle theta with the secondleaded light chamber 3132For example be between 120 degree between 50 degree.And, each firstleaded light wall 311a be parallel to its adjacent the 4th leadedlight wall 313b, each secondleaded light wall 311b then be parallel to its adjacent the 3rd leaded light wall 313a.In other words, first vertex angle theta in the firstleaded light chamber 311 of present embodiment1Second vertex angle theta with the secondleaded light chamber 3132Equate.
Please refer to Fig. 3, the light L that firstlight emitting diode 322 is sent1After being incident upon the firstleaded light wall 311a in the firstleaded light chamber 311, part can reflect and advance towardlight guide plate 310 inside, promptly advance toward the secondlight guide section 310b, part then can total reflection to the 4th leadedlight wall 313b in the second adjacent leadedlight chamber 313, produce total reflection and advance towardlight guide plate 310 inside (the promptly past secondlight guide section 310b advances) in the 4th leadedlight wall 313b again, afterwards from exitingsurface 314 outgoing of light guide plate 310.On the other hand, the light L that sent of secondlight emitting diode 3242Then after being incident upon the secondleaded light wall 311b in the firstleaded light chamber 311, part can reflect and advance towardlight guide plate 310 inside, promptly advance toward the secondlight guide section 310b, part then can total reflection to the 3rdleaded light wall 313a in the second adjacent leadedlight chamber 313, produce total reflection and advance towardlight guide plate 310 inside (the promptly past secondlight guide section 310b advances) in the 3rdleaded light wall 313a again, afterwards from exitingsurface 314 outgoing oflight guide plate 310.
From the above, the light portion that the firstleaded light chamber 311 and the secondleaded light chamber 313 can makelight source 320 be sent directly imports inlight guide plate 310 through the firstleaded light chamber 311, part is access between then in thelight guide plate 310 and imports, promptly earlier light is directed at the secondleaded light chamber 313 and inlight guide plate 310, imports again, so can avoidlight guide plate 310 to form blanking bar in the position that does not correspond to light source 320.In other words,backlight module 300 of the present invention can provide uniform surface light source.
Please referring again to Fig. 2, for improving light utilization efficiency,backlight module 300 can also includereflex housing 330, and it is the firstlight guide section 310a that envelopeslight source 320 andlight guide plate 310, so that the light thatlight source 320 is sent can both be incident tolight guide plate 310 inside byincidence surface 312 greatly.In addition, in another embodiment of the present invention, as shown in Figure 4, backlight module 400 can also include a plurality ofreflector plates 410, and theincidence surface 312 that is configured inlight guide plate 310 is other, and between adjacent in twos light source 320.Thus, if the light L that first light emitting diode is sent1Advance towards theincidence surface 312 oflight guide plate 310 through firstleaded light wall 311a reflection back, then can pass throughreflector plate 410 light L1The light utilization efficiency of reflected backlight guide plate 310 inside, and then raising once more.In like manner, the light L that sent of second light emitting diode2After secondleaded light wall 311b reflection, also can pass throughreflector plate 410 again with light L2Reflected backlight guide plate 310 inside once more.
Specifically, thesereflector plates 410 except can be as shown in Figure 4 general configuration on thepart incidence surface 312 oflight guide plate 310 and be positioned at 320 of adjacent light sources, also can be to be configured on thecircuit board 420 that electrically connects withlight source 320, as shown in Figure 5, wherein, the mode ofconfiguration reflector plate 410 for example is the mode with plated film or stickup.The present invention is not subject to the limits to be decidedreflector plate 410 and where is formed at, as long as it is to correspond between the adjacentlight source 320 to reach the effect identical with previous embodiment.
In another embodiment, also can form a plurality of smooth reflectiongraphic patterns 610 on thepart incidence surface 312 oflight guide plate 310, as shown in Figure 6, and these reflectiongraphic patterns 610 are to correspond between the two adjacentlight sources 320, in order to will be by the light L of firstleaded light wall 311a reflection1And by the light L of secondleaded light wall 311b reflection2Reflected backlight guide plate 310 inside once more.
In sum, backlight module of the present invention forms a plurality of first leaded light chambeies and a plurality of second leaded light chamber of arrangement interlaced with each other in light guide plate, and wherein light source is the configuration of the corresponding first leaded light chamber.In other words, the second leaded light chamber is the gap that corresponds between the adjacent light source, and just the second leaded light chamber is positioned at the position that light guide plate does not correspond to light source.The light that light source sent is except advancing and from the exiting surface outgoing of light guide plate to second light guide section via the first leaded light chamber, can also pass through first leaded light chamber total reflection to the second leaded light chamber, advancing to second light guide section by the second leaded light cavity reflection light makes its exiting surface outgoing from light guide plate again.Hence one can see that, and backlight module of the present invention can diffuse to the light that light source sent and not dispose the light source part, and with the raising light-emitting uniformity, and then the demonstration usefulness of its display device is used in improvement.
Though the present invention has disclosed the present invention in conjunction with above preferred embodiment; yet it is not in order to limit the present invention; anyly be familiar with this operator; without departing from the spirit and scope of the present invention; when can doing a little change and retouching, thus protection scope of the present invention should with enclose claim was defined is as the criterion.

Claims (13)

Translated fromChinese
1.一种背光模块,包括:1. A backlight module, comprising:导光板,具有彼此相邻的入光面与出光面,并包括第一导光部与第二导光部,其中该入光面位于该第一导光部,该出光面位于该第二导光部,且该第一导光部具有多个第一导光腔与多个第二导光腔,该些第一导光腔与该些第二导光腔交错排列,各该第一导光腔具有第一导光壁与第二导光壁,且该第一导光壁与该第二导光壁朝向该入光面延伸而相交于第一顶角,各该第二导光腔具有第三导光壁与第四导光壁,且该第三导光壁与该第四导光壁远离该入光面延伸而相交于第二顶角,该第一导光壁与该第四导光壁相邻,该第二导光壁与该第三导光壁相邻;The light guide plate has a light incident surface and a light exit surface adjacent to each other, and includes a first light guide part and a second light guide part, wherein the light incident surface is located at the first light guide part, and the light exit surface is located at the second light guide part The light part, and the first light guide part has a plurality of first light guide cavities and a plurality of second light guide cavities, the first light guide cavities and the second light guide cavities are arranged alternately, each of the first light guide cavities The light cavity has a first light guide wall and a second light guide wall, and the first light guide wall and the second light guide wall extend toward the light incident surface and intersect at a first apex angle, each of the second light guide cavities It has a third light guide wall and a fourth light guide wall, and the third light guide wall and the fourth light guide wall extend away from the light incident surface and intersect at a second apex angle, the first light guide wall and the first light guide wall Four light guide walls are adjacent, and the second light guide wall is adjacent to the third light guide wall;多组光源,配置于该导光板之该入光面旁,并对应至该些第一导光腔,适于提供一光线至该导光板内部,且各该组光源包括:Multiple groups of light sources are arranged beside the light incident surface of the light guide plate and correspond to the first light guide cavities, and are suitable for providing a light to the inside of the light guide plate, and each of the groups of light sources includes:第一发光二极管,对应至该第一导光壁;以及a first light emitting diode corresponding to the first light guide wall; and第二发光二极管,对应至该第二导光壁,并且a second light emitting diode corresponding to the second light guide wall, and其中,该第一顶角与该第二顶角的角度相同,并且该些第一导光腔在平行该入光面的方向上的宽度大于其所对应的该组光源的宽度。Wherein, the first vertex angle is the same as the second vertex angle, and the width of the first light guide cavities in the direction parallel to the light incident surface is greater than the width of the corresponding group of light sources.2.如权利要求1所述的背光模块,其中该第一导光部与该第二导光部为一体成型。2. The backlight module as claimed in claim 1, wherein the first light guide part and the second light guide part are integrally formed.3.如权利要求1所述的背光模块,其中该导光板由该第一导光部与该第二导光部组装而成。3. The backlight module as claimed in claim 1, wherein the light guide plate is assembled by the first light guide part and the second light guide part.4.如权利要求1所述的背光模块,还包括多个反射片,配置于该导光板的该入光面旁,并位于各该组光源之间。4. The backlight module as claimed in claim 1, further comprising a plurality of reflective sheets disposed beside the light incident surface of the light guide plate and located between each of the groups of light sources.5.如权利要求1所述的背光模块,其中该第一导光部还具有多个光反射图案,对应至该些光源之间而分布于该入光面。5. The backlight module as claimed in claim 1, wherein the first light guide part further has a plurality of light reflection patterns corresponding to the light sources and distributed on the light incident surface.6.如权利要求1所述的背光模块,其中该第一顶角的角度介于50~120度。6. The backlight module as claimed in claim 1, wherein the first vertex angle is between 50° and 120°.7.如权利要求1所述的背光模块,其中该第二顶角的角度介于50~120度。7. The backlight module as claimed in claim 1, wherein the second vertex angle is between 50° and 120°.8.如权利要求1所述的背光模块,还包括至少一光学膜片,配置于该导光板的该出光面上。8. The backlight module as claimed in claim 1, further comprising at least one optical film disposed on the light emitting surface of the light guide plate.9.如权利要求1所述的背光模块,还包括反射罩,其包覆该些光源以及该第一导光部。9. The backlight module as claimed in claim 1, further comprising a reflector covering the light sources and the first light guide part.10.如权利要求1所述的背光模块,其中该第一导光壁平行于该第四导光壁,该第二导光壁平行于该第三导光壁。10. The backlight module as claimed in claim 1, wherein the first light guide wall is parallel to the fourth light guide wall, and the second light guide wall is parallel to the third light guide wall.11.如权利要求1所述的背光模块,其中各该第一顶角与其所相邻的该第二顶角之间的间距介于5厘米至25厘米之间。11. The backlight module as claimed in claim 1, wherein a distance between each of the first corners and the adjacent second corners is between 5 cm and 25 cm.12.如权利要求1所述的背光模块,其中各该第一导光腔与其所相邻的该些第二导光腔之间的间距相等。12. The backlight module as claimed in claim 1, wherein the distance between each of the first light guiding cavities and the adjacent second light guiding cavities is equal.13.一种显示装置,包括:13. A display device comprising:背光模块,包括:Backlight module, including:导光板,具有彼此相邻的入光面与出光面,并包括第一导光部与第二导光部,其中该入光面位于该第一导光部,该出光面位于该第二导光部,且该第一导光部具有多个第一导光腔与多个第二导光腔,该些第一导光腔与该些第二导光腔交错排列,各该第一导光腔具有第一导光壁与第二导光壁,且该第一导光壁与该第二导光壁朝向该入光面延伸而相交于一第一顶角,各该第二导光腔具有第三导光壁与第四导光壁,且该第三导光壁与该第四导光壁远离该入光面延伸而相交于一第二顶角,该第一导光壁与该第四导光壁相邻,该第二导光壁与该第三导光壁相邻;The light guide plate has a light incident surface and a light exit surface adjacent to each other, and includes a first light guide part and a second light guide part, wherein the light incident surface is located at the first light guide part, and the light exit surface is located at the second light guide part The light part, and the first light guide part has a plurality of first light guide cavities and a plurality of second light guide cavities, the first light guide cavities and the second light guide cavities are arranged alternately, each of the first light guide cavities The optical cavity has a first light guide wall and a second light guide wall, and the first light guide wall and the second light guide wall extend toward the light incident surface and intersect at a first apex angle, each of the second light guide walls The cavity has a third light guide wall and a fourth light guide wall, and the third light guide wall and the fourth light guide wall extend away from the light incident surface and intersect at a second vertex angle, the first light guide wall and the fourth light guide wall extend away from the light incident surface and intersect at a second apex angle. The fourth light guide wall is adjacent, and the second light guide wall is adjacent to the third light guide wall;多组光源,配置于该导光板的该入光面旁,并对应至该些第一导光腔,适于提供一光线至该导光板内部,且各该组光源包括:A plurality of groups of light sources are arranged beside the light incident surface of the light guide plate and correspond to the first light guide cavities, and are suitable for providing a light to the inside of the light guide plate, and each of the groups of light sources includes:第一发光二极管,对应至该第一导光壁;a first light emitting diode corresponding to the first light guide wall;第二发光二极管,对应至该第二导光壁;以及a second light emitting diode corresponding to the second light guide wall; and显示面板,配置于该导光板的该出光面上方,并且a display panel configured above the light-emitting surface of the light guide plate, and其中,该第一顶角与该第二顶角的角度相同,并且该些第一导光腔在平行该入光面的方向上的宽度大于其所对应的该组光源的宽度。Wherein, the first vertex angle is the same as the second vertex angle, and the width of the first light guide cavities in the direction parallel to the light incident surface is greater than the width of the corresponding group of light sources.
CN2010100037629A2010-01-182010-01-18 Backlight module and display device using the backlight moduleExpired - Fee RelatedCN101761829B (en)

Priority Applications (1)

Application NumberPriority DateFiling DateTitle
CN2010100037629ACN101761829B (en)2010-01-182010-01-18 Backlight module and display device using the backlight module

Applications Claiming Priority (1)

Application NumberPriority DateFiling DateTitle
CN2010100037629ACN101761829B (en)2010-01-182010-01-18 Backlight module and display device using the backlight module

Publications (2)

Publication NumberPublication Date
CN101761829A CN101761829A (en)2010-06-30
CN101761829Btrue CN101761829B (en)2011-09-21

Family

ID=42493148

Family Applications (1)

Application NumberTitlePriority DateFiling Date
CN2010100037629AExpired - Fee RelatedCN101761829B (en)2010-01-182010-01-18 Backlight module and display device using the backlight module

Country Status (1)

CountryLink
CN (1)CN101761829B (en)

Families Citing this family (6)

* Cited by examiner, † Cited by third party
Publication numberPriority datePublication dateAssigneeTitle
CN102444832A (en)*2010-10-082012-05-09华硕电脑股份有限公司Backlight module, display device using same and electronic device
CN102620209A (en)*2012-03-292012-08-01深圳市华星光电技术有限公司Backlight module and liquid crystal display
CN102661527B (en)*2012-03-292014-03-26深圳市华星光电技术有限公司Backlight module and liquid crystal display
CN102840520B (en)*2012-09-142015-05-27京东方科技集团股份有限公司Sidelight type backlight module and display device
FR3062486B1 (en)*2017-01-302019-04-19Valeo Comfort And Driving Assistance LIGHT GUIDE AND OPTICAL ASSEMBLY COMPRISING SUCH A LIGHT GUIDE
US11774662B2 (en)2020-09-212023-10-03Beijing Boe Optoelectronics Technology Co., Ltd.Light guiding structure, light source module and display module

Also Published As

Publication numberPublication date
CN101761829A (en)2010-06-30

Similar Documents

PublicationPublication DateTitle
US11402563B2 (en)Optical device
TWI317433B (en)Light guide plate and back-lighted module having light guide plate
US7537373B2 (en)Light guide plate and backlight module using the same
US8287172B2 (en)Planar illumination device
CN102563541B (en)Light guide plate and backlight module
CN101737725B (en)Backlight module and liquid crystal display
CN101761829B (en) Backlight module and display device using the backlight module
CN203849450U (en)Light guide plate
US8801210B2 (en)Backlight device and liquid crystal display apparatus
CN101418930B (en)Area source device for LED
JP2009164101A (en)Backlight
WO2020000729A1 (en)Reflective sheet, side-entry backlight module and liquid crystal display
TWI528087B (en)Backlight module
CN101369031A (en) Prism sheet and liquid crystal display device using the prism sheet
CN217467238U (en)Spliced light guide plate combination, backlight module and display device
KR101070686B1 (en)Composite Sheet for LCD, and Backlight Unit Using The Same
KR101686048B1 (en)Light guide plate and backlight unit including the same
CN102927503A (en)Backlight module
CN100363815C (en) Backlight module and its light guide plate
KR20160027447A (en)Light Guide Plate for Reducing Color Deviation and Backlight unit having the Same
CN210982798U (en) Light guide body with special-shaped structure, backlight structure and display device
TW201500817A (en)Curved back light module
KR101187748B1 (en)Edge type back light unit without light guide plate and display apparatus using the same
CN101476685B (en) Backlight module
CN207301397U (en)Light guide plate, backlight module and display device

Legal Events

DateCodeTitleDescription
C06Publication
PB01Publication
C10Entry into substantive examination
SE01Entry into force of request for substantive examination
C14Grant of patent or utility model
GR01Patent grant
CF01Termination of patent right due to non-payment of annual fee
CF01Termination of patent right due to non-payment of annual fee

Granted publication date:20110921

Termination date:20210118


[8]ページ先頭

©2009-2025 Movatter.jp