








【技术领域】【Technical field】
本发明涉及移动通信覆盖系统中载波资源的利用技术,尤其涉及一种跨网络载波信道支援方法。The invention relates to the utilization technology of carrier resources in a mobile communication coverage system, in particular to a cross-network carrier channel support method.
【技术背景】【technical background】
在移动通信覆盖系统中,随着网络建设的深入发展和网络覆盖的不断完善,已基本实现随时随地任意通话的目标,但伴随着网络覆盖率大幅的提升,一方面网络中频段资源的匮乏成为网络发展的最大瓶颈,网络为满足用户的话务需求而大量牺牲网络指标,为换取容量而使得信道资源利用率降低;另一方面周期性的突发性集中话务更加造成资源浪费,降低设备利用率。In the mobile communication coverage system, with the in-depth development of network construction and the continuous improvement of network coverage, the goal of making calls anytime, anywhere has been basically realized. The biggest bottleneck of network development is that the network sacrifices a lot of network indicators in order to meet the traffic needs of users, and reduces the utilization rate of channel resources in exchange for capacity; utilization rate.
以图1为例,设图1中小区D1、D2分别属于基站B1、B2的覆盖范围,设两个基站B1、B2作为信源节点各具有总量为n的载波信道资源,无论是处于小区D1还是D2中,最大的载波信道数量不会大于n,为了保证小区D1和D2均能容纳所有通话,便需要将n的值设至最大,但基站的载波资源都是有限的,n只能设为一个折衷的数值。因而,当小区D1中实际需求的话务量个数大于n时,则基站B1便不能满足其所覆盖的小区D1内的所有用户的正常通话需求;如果此时小区D2中出现的话务量个数小于n,对于基站B2而言,无疑便造成载波信道资源的浪费。Taking Figure 1 as an example, assume that cells D1 and D2 in Figure 1 belong to the coverage of base stations B1 and B2 respectively, and assume that two base stations B1 and B2 are used as source nodes and each have a total of n carrier channel resources. In D1 or D2, the maximum number of carrier channels will not be greater than n. In order to ensure that both cells D1 and D2 can accommodate all calls, it is necessary to set the value of n to the maximum, but the carrier resources of the base station are limited, and n can only Set to a compromise value. Therefore, when the number of traffic actually required in the cell D1 is greater than n, the base station B1 cannot meet the normal call demands of all users in the cell D1 covered by it; If the number is less than n, for the base station B2, it will undoubtedly cause a waste of carrier channel resources.
另一方面,小区D1、D2的实际话务量需求个数是一个变量,它会随人们的活动特点的变化而变化,如果为了保证客户的正常通信而盲目追求一个较高的n值,将会进一步影响频段资源的分配,降低载波信道资源的利用率。On the other hand, the number of actual traffic demands of cells D1 and D2 is a variable, and it will change with the change of people's activity characteristics. If a higher n value is blindly pursued in order to ensure the normal communication of customers, the It will further affect the allocation of frequency band resources and reduce the utilization rate of carrier channel resources.
再者,目前对载波信道资源的协调往往局限于由一个基站延伸而出的覆盖网络内部之间的信道调整,其思维尚有可突破的空间。Furthermore, the current coordination of carrier channel resources is often limited to the channel adjustment within the coverage network extended from a base station, and there is still room for breakthroughs in this thinking.
可见,如何充分综合地调度移动通信覆盖网络中的载波资源,是业内较为关键的技术难题。It can be seen that how to fully and comprehensively schedule the carrier resources in the mobile communication coverage network is a key technical problem in the industry.
【发明内容】【Content of invention】
本发明的目的在于克服上述不足,提供一种跨网络载波信道支援方法,使一个覆盖网络出现信道资源不足时,可由另一覆盖网络主动给予载波信道上的支援以扩展当前覆盖网络的容量。The purpose of the present invention is to overcome the above disadvantages and provide a cross-network carrier channel support method, so that when one overlay network has insufficient channel resources, another overlay network can actively provide support on the carrier channel to expand the capacity of the current overlay network.
为实现该目的,本发明采用如下技术方案:To achieve this goal, the present invention adopts following technical scheme:
本发明一种跨网络载波信道支援方法,包括如下步骤:A cross-network carrier channel support method of the present invention comprises the following steps:
步骤1、在第一载波信源所能覆盖的第一空间区域中设置终端中继单元,该终端中继单元预设有第一载波信源所具有的第一类载波信道的搜寻特征;Step 1. Set up a terminal relay unit in the first space area that can be covered by the first carrier information source, and the terminal relay unit is preset with the search characteristics of the first type of carrier channel possessed by the first carrier information source;
步骤2、建立终端中继单元与用于覆盖第二空间区域的第二载波信源之间的信号交互链路;
步骤3、令该终端中继单元依据所述搜寻特征主动检测第一空间区域中第一类载波信道是否全忙;Step 3, making the terminal relay unit actively detect whether the first type of carrier channels in the first space area are all busy according to the search feature;
步骤4、由终端中继单元发送表征第一类载波信道是否全忙的控制信号,据该控制信号将第二载波信源所具有的第二类载波信道经该终端中继单元调度给第一空间区域使用。Step 4. The terminal relay unit sends a control signal representing whether the first type of carrier channel is fully busy, and according to the control signal, the second type of carrier channel possessed by the second carrier information source is scheduled to the first type through the terminal relay unit. Space area use.
步骤3包括如下具体步骤:Step 3 includes the following specific steps:
步骤3.1、终端中继单元通过天线接收源自第一载波信源的上行信号;Step 3.1, the terminal relay unit receives the uplink signal from the first carrier signal source through the antenna;
步骤3.2、在某预设的时间周期内循环实时获取该上行信号中包含的原始话务数据;Step 3.2. Obtaining the original traffic data included in the uplink signal in real time within a preset time period;
步骤3.3、依据每次原始话务数据计算该时间周期内的实时话务量;Step 3.3, calculate the real-time traffic volume in the time period according to the original traffic data of each time;
步骤3.4、将每次实时话务量与所述搜寻特征相比较,并生成检测结果。Step 3.4, comparing each real-time traffic volume with the search feature, and generating a detection result.
步骤3.2中,在每个所述的时间周期内,包括如下具体步骤:In step 3.2, within each said time period, the following specific steps are included:
步骤3.2.1、获取该上行信号;Step 3.2.1, obtaining the uplink signal;
步骤3.2.2、将该上行信号与一预设的功率值比较,当大于该功率值时,表征当前上行信号为有效的话务数据,进行累计;Step 3.2.2, comparing the uplink signal with a preset power value, when it is greater than the power value, it indicates that the current uplink signal is valid traffic data, and accumulates;
步骤3.2.3、若该时间周期结束,当前累计结果为所述原始话务数据,否则,循环步骤3.2.1。Step 3.2.3. If the time period ends, the current accumulation result is the original traffic data; otherwise, repeat step 3.2.1.
根据本发明的一个实施例,步骤4包括如下具体步骤:According to an embodiment of the present invention, step 4 includes the following specific steps:
步骤4.1、读取步骤3中产生的检测结果,依据该结果的不同产生表征该结果的控制信号发送给所述第二载波信源;Step 4.1, read the detection result generated in step 3, and generate a control signal representing the result according to the difference of the result and send it to the second carrier signal source;
步骤4.2、第二载波信源接收该控制信号后,根据该控制信号开启/关闭第二类载波信道,使第二载波信源与终端中继单元之间实现关于第二类载波信道的信号交互;Step 4.2: After receiving the control signal, the second carrier signal source turns on/off the second type of carrier channel according to the control signal, so that the second carrier signal source and the terminal relay unit realize signal interaction on the second type of carrier channel ;
步骤4.3、终端中继单元实现关于第二类载波信道在第一空间区域内的覆盖。Step 4.3, the terminal relay unit implements the coverage of the second type of carrier channel in the first space area.
具体的,所述第二载波信源包括基站,用于产生和管控第二类载波信道,所述终端中继单元包括直放站,其中,Specifically, the second carrier signal source includes a base station for generating and controlling the second type of carrier channel, and the terminal relay unit includes a repeater, wherein,
步骤4.1中,由该直放站产生所述控制信号发送给所述基站;In step 4.1, the repeater generates the control signal and sends it to the base station;
步骤4.2中,所述基站直接解析并执行该控制信号令第二载波信道相对于该直放站开启/关闭。In step 4.2, the base station directly parses and executes the control signal to enable/disable the second carrier channel relative to the repeater.
根据本发明的另一实施例,步骤4包括如下具体步骤:According to another embodiment of the present invention, step 4 includes the following specific steps:
步骤4.1、读取步骤3中产生的检测结果,终端中继单元依据该结果的不同产生表征该结果的控制信号发送给自身的用于管控所述第二类载波信道的管控单元;Step 4.1, read the detection result generated in step 3, and the terminal relay unit generates a control signal representing the result according to the difference of the result and sends it to its own control unit for controlling the second type of carrier channel;
步骤4.2、所述管控单元接收该控制信号后,解析该控制信号并作用于与之连接的执行单元以开启/关闭第二类载波信道;Step 4.2. After receiving the control signal, the management and control unit analyzes the control signal and acts on the execution unit connected to it to open/close the second type carrier channel;
步骤4.3、终端中继单元实现关于第二类载波信道在第一空间区域内的覆盖。Step 4.3, the terminal relay unit implements the coverage of the second type of carrier channel in the first space area.
具体的,所述第二载波信源包括用于产生第二类载波信号的基站,终端中继单元包括射频拉远系统,该射频拉远系统包括作为所述管控单元的基带单元和作为所述执行单元的拉远单元,其中:Specifically, the second carrier information source includes a base station for generating a second type of carrier signal, and the terminal relay unit includes a radio remote system, and the radio remote system includes a baseband unit as the management and control unit and a baseband unit as the The remote unit of the execution unit, where:
步骤4.1中,由拉远单元产生所述控制信号并发送给基带单元;In step 4.1, the remote unit generates the control signal and sends it to the baseband unit;
步骤4.2中,由基带单元解释并执行该控制信号,以令第二类载波信道相对于拉远单元开启/关闭。In step 4.2, the baseband unit interprets and executes the control signal to enable/disable the carrier channel of the second type relative to the remote unit.
根据本发明的再一实施例,步骤4包括如下具体步骤:According to yet another embodiment of the present invention, step 4 includes the following specific steps:
步骤4.1、读取步骤3中产生的检测结果,依据该结果的不同产生表征该结果的控制信号通过预设的第一链路发送给所述第一载波信源;Step 4.1, read the detection result generated in step 3, and generate a control signal representing the result according to the difference of the result and send it to the first carrier signal source through the preset first link;
步骤4.2、第二载波信源接收该控制信号后,根据该控制信号开启/关闭第二类载波信道,使第一载波信源经由第二链路与终端中继单元之间实现关于第二类载波信道的信号交互;Step 4.2. After the second carrier signal source receives the control signal, it turns on/off the second type of carrier channel according to the control signal, so that the first carrier signal source realizes the communication between the second type of carrier signal source and the terminal relay unit via the second link. Signal interaction of carrier channel;
步骤4.3、终端中继单元实现关于第二类载波信道在第一空间区域内的覆盖。Step 4.3, the terminal relay unit implements the coverage of the second type of carrier channel in the first space area.
具体的,所述第二载波信源包括用于产生第二类载波信道的基站和与之连接的射频拉远系统,该射频拉远系统包括用于管控第二类载波信道的基带单元和与该基带单元连接的拉远单元,其中:Specifically, the second carrier information source includes a base station for generating the second type of carrier channel and a remote radio system connected thereto, and the remote radio system includes a baseband unit for managing and controlling the second type of carrier channel and a The remote unit connected to the baseband unit, wherein:
步骤4.1中,所述第一链路存在于所述基带单元与所述终端中继单元之间,且由基带单元负责解析源自终端中继单元的所述控制信号;In step 4.1, the first link exists between the baseband unit and the terminal relay unit, and the baseband unit is responsible for parsing the control signal from the terminal relay unit;
步骤4.2中,所述第二链路存在于所述拉远单元与终端中继单元之间,且由拉远单元执行基带单元解析该控制信号而得的指令,以开启/关闭该第二类载波信号。In step 4.2, the second link exists between the remote unit and the terminal relay unit, and the remote unit executes the instruction obtained by analyzing the control signal from the baseband unit to turn on/off the second link carrier signal.
所述第二载波信源包括用于产生第二类载波信道的基站和与之连接的射频拉远系统,该射频拉远系统包括用于管控第二类载波信道的基带单元和与该基带单元连接的拉远单元,其中:The second carrier information source includes a base station for generating a second-type carrier channel and a remote radio system connected thereto, and the remote radio system includes a baseband unit for managing and controlling the second-type carrier channel and the baseband unit connected remote unit, where:
步骤4.1中,所述第一链路存在于所述拉远单元与所述终端中继单元之间,且由拉远单元将所述控制信号上行至该基带单元,由该基带单元负责解析并执行所述控制信号;In step 4.1, the first link exists between the remote unit and the terminal relay unit, and the remote unit uploads the control signal to the baseband unit, and the baseband unit is responsible for analyzing and executing said control signal;
步骤4.2中,所述第二链路也存在于所述拉远单元与终端中继单元之间。In step 4.2, the second link also exists between the remote unit and the terminal relay unit.
与现有技术相比,本发明具备如下优点:Compared with the prior art, the present invention has the following advantages:
首先,本发明在保持已有覆盖网络软硬件设备不变的基础上扩充,解决了为其扩充容量的瓶颈,使该覆盖网络的载波信道能根据实际需要得到外网络的支援;First of all, the present invention expands on the basis of keeping the existing overlay network software and hardware equipment unchanged, and solves the bottleneck of expanding its capacity, so that the carrier channel of the overlay network can be supported by the external network according to actual needs;
其次,这种按需主动给予载波信道进行救济的方式,实现两个覆盖网络尤其指两个基站之间的载波信道资源共享,合理利用已有的软硬件设备,且对成本影响较低;Secondly, this method of proactively providing carrier channels for relief on demand realizes the sharing of carrier channel resources between two overlay networks, especially two base stations, rationally utilizes existing software and hardware equipment, and has a low impact on costs;
此外,提高了作为支援方的覆盖网络的载波信道的利用率,使其在自身非话务高峰期时而其它覆盖网络为话务高峰期时,支援方的信道资源不至于浪费,有效提高了运营效率。In addition, the utilization rate of the carrier channel of the overlay network as the supporting party is improved, so that when its own non-traffic peak period and other overlay networks are in the peak traffic period, the channel resources of the supporting party will not be wasted, effectively improving the operation efficiency. efficiency.
【附图说明】【Description of drawings】
图1为现有的通信覆盖系统的覆盖效果示意图;FIG. 1 is a schematic diagram of a coverage effect of an existing communication coverage system;
图2为本发明一种跨网络载波信道支援方法的覆盖效果示意图;2 is a schematic diagram of the coverage effect of a cross-network carrier channel support method according to the present invention;
图3为本发明一种跨网络载波信道支援方法所实现的系统的结构原理示意图;3 is a schematic diagram of the structure and principle of the system realized by a cross-network carrier channel support method according to the present invention;
图4为本发明的监控单元的结构原理示意图;Fig. 4 is a schematic diagram of the structural principle of the monitoring unit of the present invention;
图5为本发明所述控制信号在射频拉远系统中的处理过程示意图;Fig. 5 is a schematic diagram of the processing process of the control signal in the radio remote system according to the present invention;
图6为图3的所示实施例的简化后的结构原理示意图;Fig. 6 is a simplified schematic diagram of the structure and principle of the embodiment shown in Fig. 3;
图7为在图3的基础上因适应图6的简化而形成的支援系统的结构原理示意图;Fig. 7 is a schematic diagram of the structural principle of the support system formed by adapting to the simplification of Fig. 6 on the basis of Fig. 3;
图8为本发明另一实施例的结构原理示意图,其在图3的基础上改进;Fig. 8 is a schematic diagram of the structural principle of another embodiment of the present invention, which is improved on the basis of Fig. 3;
图9为本发明再一实施例的结构原理示意图,其在图3的基础上改进。FIG. 9 is a schematic diagram of the structure and principle of another embodiment of the present invention, which is improved on the basis of FIG. 3 .
【具体实施方式】【Detailed ways】
下面结合附图和实施例对本发明作进一步的说明:Below in conjunction with accompanying drawing and embodiment the present invention will be further described:
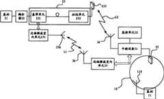
请参阅图2和图3,本发明跨网络载波信道支援方法是一个系统性工程,适用于移动通信运营商进行整体覆盖综合设计的场合,也适用于运营商对已有的覆盖网络进行优化。Please refer to FIG. 2 and FIG. 3 , the cross-network carrier channel support method of the present invention is a systematic project, which is applicable to the occasions where mobile communication operators carry out overall coverage comprehensive design, and is also suitable for operators to optimize existing coverage networks.
本发明所称载波信源1,2,系指一切用于产生和/或管控其所属的载波信道资源的一切设备,典型的有如图3所示的用于产生载波信道的基站21和用于管控载波信道的射频拉远系统23,在射频拉远系统23中,对载波信道的管控一般由基带单元231负责,因而在本发明中,基带单元231起管控载波信道的作用时,也将其称为管控单元231,但是并不意味着载波信道只能由基带单元231管控。实际上,载波信道的产生以及管控,应视覆盖网络中具体设备的具体功能而定,也往往易受提供商的产品设计逻辑变化而变化,理论上,起管控载波信道的功能可以设置在包括拉远单元232在内的信号传播过程中的任何中间环节,因而,本发明关于基站和射频拉远系统的进一步限定,并不应视为对载波信源1,2所包括的具体的部件的限制。The
同理,本发明所称终端中继单元3,包括中继设备31、监控单元32、施主天线34和覆盖天线33。其中的覆盖天线33则作为第一天线33对于其所能辐射的空间范围内的移动台活动信号进行接收,或者将中继设备31下行的信号在其所能辐射的空间范围内发送;施主天线34作为第二天线34用于在中继设备31和某一提供第二类载波信道的载波信源2之间进行信号发送和接收;对于所述中继设备31,只要其作用在于完成通信信号的中继作用,公知的,通常但不局限地包括信号的放大、滤波、移相等等以及其它对信号进行处理的常用技术手段,只要具备这些手段即可视为中继设备31。中继设备31一般对流经其上的信号进行双工处理,因此而形成上行链路和下行链路,分别对上行信号和下行信号进行独立的处理。可见,所称终端中继单元3,通指载波信源2和移动台(未图示)之间实现信号的最后覆盖前的信号中继处理的设备,以及包括其必要的覆盖组件如天线33,34、监控单元32等,作为更具体的公知技术产品,包括但不限于射频拉远系统、拉远单元、直放站、塔顶放大器、干线放大器等设备及其组合。在本发明中,将以直放站作为典型的中继设备31进行说明。Similarly, the terminal relay unit 3 referred to in the present invention includes a relay device 31 , a monitoring unit 32 , a
前述提及的第二类载波信道,以及下述将提及的第一类载波信道,所述的“类”的含义仅为了便于区别的作用而用来限定载波信道来自于不同的载波信源1和2,也即,第二类载波信道是指来自于第二载波信源2的载波信道,相应的,第一类载波信道是指来自于第一载波信源1的载波信道。The second type of carrier channel mentioned above, and the first type of carrier channel mentioned below, the meaning of the "class" is only used to limit the carrier channel from different carrier sources for the convenience of
图2为揭示本发明一种跨网络载波信道支援方法的覆盖效果示意图。应用该方法形成的支援系统包括第一载波信源1、第二载波信源2和终端中继设备3,因此而形成两个有信号覆盖的空间区域10,也即,基于第一载波信源1延伸并进行覆盖的第一空间区域10,和基于第二载波信源2延伸并进行覆盖的第二空间区域20。实际上,终端中继设备3作为第二载波信源2的延伸节点起到了扩展第二空间区域20的作用,如图2中所示的区域201属于第二空间区域20的一部分,因此,实际上第一空间区域10与第二空间区域20可以出现部分或者完全重合的情况,而不是两个严格互斥的概念。FIG. 2 is a schematic diagram showing the coverage effect of a cross-network carrier channel support method according to the present invention. The support system formed by applying this method includes the first carrier signal source 1, the second
结合图2和图3,所述第一载波信源1包括基站11,其所产生的第一类载波信道经其覆盖天线110辐射到所述第一空间区域10内,以此可实现第一空间区域10内的移动台(未图示)与该基站11的信号交互。如前所述,第一载波信源1并不受基站11的限制,它可以在基站11的基础上增设延伸设备,包括但不限于射频拉远系统、直放站、干线放大器、塔顶放大器等设备及其组合。因此,关于第一载波信源1的更具体的定义,应视为足以在第一空间区域10完成与第二载波信源2信号同频的信号的覆盖的覆盖网络。2 and 3, the first carrier signal source 1 includes a
所述第二载波信源2包括基站21和射频拉远系统23,基站21用于产生第二类载波信道,射频拉远系统23通过耦合器22耦合基站21的信号以完成关于第二类载波信道的信号交互,射频拉远系统23包括基带单元231和拉远单元232,基带单元231作为管控单元用于管控所述第二类载波信道,也即,基带单元231内包含所述第二类载波信道的特征信息,依据该特征信息,如图3所示,在基带单元231接收外界的控制信号后,由基带单元231的监控主机模块解析所述控制信号并经下行链路作用于拉远单元232,拉远单元232便可作为该控制信息的执行单元,控制第二类载波信道的开启或关闭,从而通过与拉远单元232连接的覆盖天线233的信号所包含的载波信道状态信息便会发生变化。在本实施例中,所述的控制信号由终端中继单元3产生。The second
第二载波信源2还包括与基带单元231电性连接的近端微波室内单元235,主要用于完成室内覆盖,且还包括与该室内单元235相连接用于完成室外覆盖的室外单元236。The second
所述的终端中继单元3,其中继设备31采用直放站31,该直放站31还内置或外置一与直放站自身电性连接的监控单元32,所谓内置,即监控单元32以程序固化在芯片上后与该直放站31一体装设,所谓外置,则指监控单元32的全部或部分功能模块以计算机等智能设备加装相应的专用软件后,通过直放站31提供的接口(未图示)与直放站31实现连接,终端中继单元3的调度载波信道的功能主要由该监控单元32完成,此外,终端中继单元3还设有与该中继设备31电性连接的远端微波室内单元35,及与该远端微波室内单元35相连接的室外单元36。终端中继单元3所包括的室外单元36与前述第二载波信源2所包括的室外单元236之间为终端中继单元3与第二载波信源2之间的第一无线通信链路L1,而前述的拉远单元232则通过其天线233与终端中继单元3的施主天线34建立第二无线通信链路L2。在本实施例中,该两个链路L1,L2将协作完成载波信道的调度工作。Described terminal repeater unit 3, wherein repeater 31 adopts repeater 31, and this repeater 31 also has a built-in or external monitoring unit 32 electrically connected with the repeater itself, so-called built-in, that is, monitoring unit 32 After being solidified on the chip with the program, it is installed integrally with the repeater 31. The so-called external installation refers to all or part of the functional modules of the monitoring unit 32. The provided interface (not shown) is connected with the repeater 31, and the function of scheduling the carrier channel of the terminal relay unit 3 is mainly completed by the monitoring unit 32. In addition, the terminal relay unit 3 is also provided with the relay device 31 is electrically connected to a remote microwave indoor unit 35, and an
结合图2、图3和图4,图4揭示了在终端中继单元3内部,监控单元32的具体结构和工作原理。该监控单元32包括话务检测单元321、话务量单元322、比较单元323、存储单元324和调度单元325。Combining FIG. 2 , FIG. 3 and FIG. 4 , FIG. 4 reveals the specific structure and working principle of the monitoring unit 32 inside the terminal relay unit 3 . The monitoring unit 32 includes a
话务检测单元321串接于所述中继设备31的上行链路31U中,用于检测经第一天线33上行的第一空间区域10内信号所包含的原始话务数据,为此,需保证第一天线33在空间上置于所述由第一载波信源1的覆盖能力所定义的第一空间区域10之内。在话务检测单元321内部,设有一比较器3212,用于比较当前上行链路31U中的上行基带信号的功率幅值是否大于一预设的比较门限值,该比较门限值表征正常话务信号与噪声之间的临界值,也即,若上行基带信号的功率幅值大于该比较门限值,则视为正常话务信号向与该比较器3212连接的计数器3214发送一累加信号,否则视为噪声,予以丢弃。所述的计数器3214,则在当收到比较器3212的累加信号时对上行基带信号进行累计,在预设一固定时间周期的前提下,在每一时间周期内通过比较器3212与计数器3214的循环检测累计上行基带信号中的正常话务数据,在一个时间周期结束时,便可形成当该段时间周期内的原始话务数据。当一个时间周期结束时,重新进入一个新的时间周期,如此不断循环,便可实现基本上实时统计原始话务数据的目的,所谓基本上实时,是指由于设置时间周期的关系,无法做到完全实时,在时间轴上出现间断性。The
话务量单元322与话务检测单元321电性连接,利用所述原始话务数据计算出实时话务量,这种计算方法是本领域内普通技术人员公知或者基于公知技术可以推知的技术内容,因而不予赘述。实时话务量的多寡具有随机性,视第一空间区域10所在的移动台通话情况而定,当实时话务量大于第一类载波信道总量时,部分用户将出现无法通话的现象。The
因而,所述比较单元323用于检测所述实时话务量是否大于第一类载波信道个数并输出比较结果,其输出结果例如本实施中采用真值和假值两种形式,据此便可唯一性地标识当前第一载波信源1是否处于忙或闲的状态、其第一类载波信道是否足以提供给该第一空间区域10使用。Therefore, the
为了使终端中继单元3能对第一空间区域10内的上行信号中所含的源自第一载波信源1的第一类载波信道和源自第二载波信源2的第二类载波信道进行识别区分,设一所述存储单元324,用于存储第一和第二类载波信道的搜寻特征信息,供比较单元323在进行比较时调度,同时也供调度单元325进行必要的利用。In order to enable the terminal relay unit 3 to analyze the first-type carrier channel originating from the first carrier source 1 and the second-type carrier originating from the
调度单元325,当比较单元323输出的比较结果为真值时,发送表征该真值控制信号给第二载波信源2以使其开启第二类载波信道经该中继设备31供第一空间区域1使用;当比较单元323输出的比较结果为假值时,发送表征该假值的控制信号给第二载波信源2以使其关闭给第一空间区域1使用的第二类载波信道。The
本实施例中,将话务量单元322、比较单元323、调度单元324以及存储单元325共同集成于同一监控主机单元320,例如前面述及的可以通过一个加载有专用软件的计算机系统实现,并通过485数据式与中继设备3连接以实现与所述话务检测单元321的连接。当然,作为另一种实施方式,也可将该监控主机单元320直接集成在该中继设备3内部的专用芯片上使用。In this embodiment, the
调度单元325中信号的发送具有格式转换的过程,也即,其首先通过RS-485/E1转换的方式将RS-485格式的控制信号转换为E1通信数据格式,经由所述第一无线通信链路L1,从终端中继单元3的远端微波室内单元35至其后续的室外单元36向空中辐射。The sending of the signal in the
继而,结合图5,图5揭示了控制信号在射频拉远系统23中的处理过程,图2第二载波信源2处,其内的与图3中近端微波室内单元235相连接的室外单元236接收到该E1格式的数据信号后,传输给该近端微波室内单元235,继而传输给基带单元231,与上述监控主机单元320同理,由基带单元231内部或外置的监控主机模块2310将该E1格式的数据信号转换为RS-485通信数据格式的控制信号,由监控主机模块2310解析后,经由基带单元231内部的下行链路23D下行至拉远单元232。Then, in conjunction with FIG. 5, FIG. 5 discloses the processing process of the control signal in the
拉远单元232接收到该解析后的控制信号后,将其交由所属的监控主机模块2320执行。监控主机模块2320受该解析后的控制信号的作用,根据其所表征的真值或假值状态对第二类载波信道执行开启或关闭操作。After receiving the analyzed control signal, the
初始状态下,或者一般状态下,第二类载波信道相对于中继设备3可以处于关闭状态。对于在射频拉远系统23的下行链路23D中,第二类载波信道的开启与关闭是通过如下方法实现的:In an initial state or in a general state, the carrier channel of the second type may be in a closed state relative to the relay device 3 . For the downlink 23D of the radio
监控主机模块2320中预设有第二类载波信道中各个载波信道在当前下行链路23D中的衰减值的数据表,当解析后的控制信号到达时,监控主机模块2320将该数据表中的各个相应载波信道的衰减值进行更新,而后发送信号给下行链路23D中的数字上变频器2321,通过该数字上变频器2321对不同具体载波信道的衰减值进行控制,便可实现载波信道的开启或关闭操作。The data table of the attenuation value of each carrier channel in the second type of carrier channel in the current downlink 23D is preset in the monitoring host module 2320. When the analyzed control signal arrives, the monitoring host module 2320 will use the attenuation value in the data table The attenuation value of each corresponding carrier channel is updated, and then the signal is sent to the digital up-converter 2321 in the downlink 23D, and the attenuation value of different specific carrier channels can be controlled by the digital up-converter 2321, so that the carrier channel can be adjusted. Turn action on or off.
为了防止设备安全的需要,数字上变频器2321在进行衰减时,对应各个载波信道的衰减值,分多次逐级进行衰减。当监控主机模块2320发送指令指示该上变频模块2321开启某个载波信道时,该上变频模块2321逐级降低该载波信道的衰减值,使其增益不断提高直至该载波信道开启,便可投入使用。相反,如果需要关闭某个载波信道,则只需由监控主机模块2320发送相应的指令,上变频模块2321相应提高该载波信道的衰减值降低其增益即可。当然,如存在多个延伸自第二载波信源2的基站21的覆盖网络时,当某个载波信道在当前覆盖网络的下行链路中得以启用/关闭时,对于其它覆盖网络的下行链路而言,该载波信道便应处于关闭/待用的状态,也即,在其它覆盖网络的下行链路的上变频模块中已对该载波信道的衰减值进行适应性的调整使之关闭,以避免产生冲突。In order to meet the needs of equipment safety, when performing attenuation, the digital up-converter 2321 performs attenuation in multiple stages corresponding to the attenuation values of each carrier channel. When the monitoring host module 2320 sends an instruction to instruct the up-conversion module 2321 to open a certain carrier channel, the up-conversion module 2321 reduces the attenuation value of the carrier channel step by step, so that its gain is continuously increased until the carrier channel is opened, and then it can be put into use . On the contrary, if a certain carrier channel needs to be closed, the monitoring host module 2320 only needs to send a corresponding instruction, and the up-conversion module 2321 correspondingly increases the attenuation value of the carrier channel and reduces its gain. Of course, if there are multiple coverage networks extending from the
更完善的,在终端中继单元3的监控单元32中,用户预设所述比较门限值的同时,还可对其比较单元同时预设一个话务量开启值和一个话务量关闭值,话务量开启值所表征的意义是指当与之比较的当前上行链路31U中的实时话务量个数大于该话务量开启值时,调度单元325应发送表征真值的控制信号以开启第二类载波信道以经当前中继设备31供第一空间区域使用;同理,话务量关闭值所表征的意义是指当与之比较的当前上行链路31U中的实时话务量个数小于该话务量关闭值时,调度单元35应发送表征假值的控制信号以关闭载波信道。特殊的情况是话务开启值与话务量关闭值等值,也即上述默认的情况。More perfect, in the monitoring unit 32 of the terminal relay unit 3, while the user presets the comparison threshold value, a traffic opening value and a traffic closing value can also be preset for the comparison unit at the same time , the meaning represented by the traffic opening value means that when the number of real-time traffic in the
综合图2至图5,概括而言,本发明跨网络载波信道支援方法的整体构建包括如下若干方面的处理:Combining Figures 2 to 5, in a nutshell, the overall construction of the cross-network carrier channel support method of the present invention includes the following aspects of processing:
覆盖网络的初步建设:首先,将基站11和其相应的用于扩展网络信号的设备如射频拉远系统、直放站、干线放大器、塔顶放大器、相应的各类天线等一同组装,以形成第一载波信源1,以对第一空间区域10进行信号覆盖;其次,将基站21、耦合器22和射频拉远系统23等进行装设,以形成第二载波信源2,以对第二空间区域20进行信号覆盖;继而,在第二空间区域的范围内设置所述终端中继单元3,以便使终端中继单元3能通过其覆盖天线33接收第二空间区域内本应上行至第一载波信源1的上行信号,而终端中继单元3的另一方面,则通过其施主天线34与射频拉远系统23的天线233建立信号交互链路,也即前述的第二链路L2;最后,为射频拉远系统23设置近端微波室内单元235和室外单元236,同时为终端中继单元3设置远端微波室内单元35和室外单元36,以便于建立前述第一链路L1。Preliminary construction of the coverage network: firstly, assemble the
参数设置:在该支援系统投入正式使用之前,应预设相应的参数,参数的设置主要是通过终端中继单元3内的监控单元32实现的,用户可通过监控单元32提供的人机交互功能进行前述比较门限值、话务量开启值、话务量关闭值等参数的预设。此外,还应在监控单元32的存储单元324中预设所述第一载波信源1所具有的第一类载波信道的搜寻特征信息,以及第二类载波信道的搜寻特征信息也可按需设置其中。Parameter setting: Before the support system is put into formal use, corresponding parameters should be preset. The parameter setting is mainly realized through the monitoring unit 32 in the terminal relay unit 3. Users can use the human-computer interaction function provided by the monitoring unit 32 Perform the preset of parameters such as the comparison threshold value, the traffic opening value, and the traffic closing value. In addition, the search characteristic information of the first type of carrier channel possessed by the first carrier information source 1 should be preset in the
工作过程:首先,各系统进入工作状态,终端中继单元3通过其覆盖天线获取来自第一空间区域的用户的上行信号,除常规的放大、滤波等处理外,其主要经过监控单元32进行前述的分析,以确认第一空间区域10内的第一载波信道是否不足使用或即将不足使用(主要视话务量开启值和关闭值的设置意义而定),如果是/否,则通过所述第一链路发送表征了系统忙/闲的控制信号直达第二载波信源2的射频拉远系统23中的基带单元231,由基带单元231的监控主机模块2310解释该控制信号并经其下行链路23D下行至拉远单元232,由拉远单元的监控主机模块2320根据该控制信号而控制与之连接的数字上变频器2321对第一类载波信道中各具体载波信道进行不同的衰减控制,从而,终端中继单元3经第二链路L2获得的源自该拉远单元232的第二类载波信道将被启用/关闭,而由于终端中继单元3一方面还经过覆盖天线33向第一空间区域10辐射信号,因此,便能将第二载波信源2所具有的第二类载波信道主动调度给第一空间区域10使用,以弥补第一载波信源1载波信道容量不足的缺陷。Working process: First, each system enters the working state, and the terminal relay unit 3 obtains the uplink signal from the user in the first space area through its coverage antenna. In addition to conventional amplification, filtering and other processing, it mainly performs the aforementioned processing through the monitoring unit 32. analysis to confirm whether the first carrier channel in the first space area 10 is insufficiently used or about to be insufficiently used (mainly depending on the setting meaning of the traffic opening value and closing value), if yes/no, then through the The first link sends the control signal representing the busy/idle of the system to the baseband unit 231 in the remote radio system 23 of the second carrier signal source 2, and the monitoring host module 2310 of the baseband unit 231 interprets the control signal and passes it down The link 23D goes down to the remote unit 232, and the monitoring host module 2320 of the remote unit controls the digital up-converter 2321 connected to it according to the control signal to perform different attenuation control for each specific carrier channel in the first type of carrier channel , thus, the second type of carrier channel from the remote unit 232 obtained by the terminal relay unit 3 via the second link L2 will be enabled/disabled, and because the terminal relay unit 3 also passes through the coverage antenna 33 to The first space area 10 radiates signals, therefore, the second type of carrier channel possessed by the second carrier information source 2 can be actively scheduled to the first space area 10 to make up for the insufficient capacity of the carrier channel of the first carrier information source 1 defect.
前述中,关于控制信号和包含载波信道的信号的交互是通过两个链路即第一链路L1和第二链路L2实现的,但实际上并非一种限制,所述控制信号及移动通信信号均可仅通过第一链路L1或第二链路L2进行交互。请参阅图6和图7,无疑,当所述由监控单元32产生的控制信号通过所述第二链路L2进行传输时,也即由中继设备31经其施主天线34上行的控制信号到达天线233后进入拉远单元232后,必然经过其射频拉远系统23的上行链路23U上行至基带单元231,基带单元231的监控主机模块2310还应与该上行链路23U电性连接,以获取该控制信号并进行与前一实施例相同的后续处理。如此,控制信号与正常的移动通信信号的传输便不再受制于具体的通信链路,图3所示的近端室内单元235及其室外单元236,以及远端室内单元35及其室外单元36在图6中均可省略。In the above, the interaction between the control signal and the signal including the carrier channel is realized through two links, namely the first link L1 and the second link L2, but this is not actually a limitation. The control signal and mobile communication Signals can be exchanged only through the first link L1 or the second link L2. 6 and 7, undoubtedly, when the control signal generated by the monitoring unit 32 is transmitted through the second link L2, that is, the control signal uplinked by the relay device 31 through its
上述本发明的典型实施例是适应目前运营网络的状况而提出的改进,既便于利用上述结构重新规划移动通信网络,也便于在运营商对现有网络进行优化以便大大节省相应的成本,不管如何,应用本发明之后,同一覆盖网络群将获得较之以往更高的载波信道资源利用率。The above-mentioned typical embodiments of the present invention are improvements proposed to adapt to the current operating network conditions. It is convenient to use the above-mentioned structure to re-plan the mobile communication network, and it is also convenient for the operator to optimize the existing network so as to greatly save the corresponding cost. No matter how , after applying the present invention, the same overlay network group will obtain higher utilization rate of carrier channel resources than before.
在图8所示的另一实施方式中,第二载波信源仅设有基站21,而未设置如图3所示的射频拉远系统23,此时,基站21中应增设相应的管控第二类载波信道的监控主机模块210及相应的用于进行覆盖的天线214,监控主机模块210的功能与图6中监控主机模块2310和2320两者的功能结合相同,如此,原来由射频拉远系统23实现的关于载波信道的管控功能便完全集中在基站21中,终端中继单元3的中继设备31便可通过施主天线34和基站天线214建立与基站21进行信号交互的链路,从而实现无论是所述控制信号,还是包含载波信道的信号的交互。为了避免说明上的赘述,本实施例及相应的附图8,均仅示出了终端中继单元3与第二载波信源2之间仅使用一个链路同时进行控制信号和载波信道信号交互的情况,但并非对其进行限制,参照前述的实施例,本领域内普通技术人员应当知晓可以使用两个链路分别传输控制信号和载波信道信号的替换方式。除上述外,相对于本发明前述的典型实施例,关于中继设备31、监控单元32、基站11等等,均不必做出其它变动。In another embodiment shown in FIG. 8 , the second carrier signal source is only provided with a
可见,本实施例进一步了简化了第二载波信源的组成结构,为本发明的应用拓宽了范围。It can be seen that this embodiment further simplifies the composition and structure of the second carrier signal source, and broadens the scope of application of the present invention.
请进一步参阅图9,除了上述情况外,图9还示出了本发明的另一实施例,与前述情况不同之处在于,图9中第二载波信源仅包括基站1,第一载波信源的结构假定不变,而终端中继单元3则发生较大的改变,主要是为了说明前述各实施例及其附图中述及的中继设备31既可由前述的直放站、干线放大器、塔顶放大器等实现,也可由射频拉远系统替换的情况。具体请参阅下述内容。Please refer to FIG. 9 further. In addition to the above situation, FIG. 9 also shows another embodiment of the present invention. The difference from the above situation is that the second carrier signal source in FIG. 9 only includes base station 1, and the first carrier signal source The structure of the source is assumed to be unchanged, and the terminal relay unit 3 is greatly changed, mainly for the purpose of illustrating that the relay equipment 31 mentioned in the aforementioned embodiments and accompanying drawings can be used by the aforementioned repeater, trunk amplifier, etc. , tower top amplifier, etc., can also be replaced by a remote radio system. Please refer to the following for details.
图9的支援系统包括由基站11及其天线110共同组成的第一载波信源和由基站21单独组成的第二载波信源,及由耦合器22、射频拉远系统23和监控单元24以及第一天线33共同组成的终端中继单元。尽管由于采用射频拉远系统23代替了前述若干实施例中的多个部件,但实际上,前述实施中各个功能设备均可在本实施例中找到等效设备。具体而言,本实施例中:The support system of Fig. 9 comprises the first carrier signal source that is jointly formed by
耦合器22等效于本发明前述各实施例中的第二天线,其作用在于建立射频拉远系统23与基站21之间的通信链路,使两者之间可实现控制信号和载波信道信号的交互。或者,可以类似于前述实施例,在基站21和射频拉远系统的基带单元231上分别增设近端和远端室内外单元组件,以起到独立传输其中的控制信号的作用。因此,耦合器22并非基站21与射频拉远系统23之间唯一的连接方式,正因为其与天线组件具有等效的作用,因而,在理解本实施例时,应将耦合器22视为所述第二天线使用。The coupler 22 is equivalent to the second antenna in the foregoing embodiments of the present invention, and its function is to establish a communication link between the radio
射频拉远系统23所包括的基带单元231用于管控经过其中的由基站21处理的第二类载波信道;The
射频拉远系统23所包括的拉远单元232则相当于所述中继设备31,其将第一天线33接收后的上行信号进行适当的处理,途中由监控单元32完成与前述各实施例相同的产生控制信号的功能后,将该控制信号继续上行至基带单元231,由于本实施例中,射频拉远系统23存在与图7相同的内部结构,因此,同理,上行至基带单元231的控制信号将交由监控主机模块2310处理,监控主机模块2310解析该控制信号后,下行至拉远单元232,拉远单元232的监控主机模块2320执行该控制信号,作用于下行链路的数字上变频器,即可完成对第二类载波信道的控制。可见,利用射频拉远系统23作为终端中继设备的主要组成部分,同样可起到本发明中其它实施例所能起到的效果。The
综上所述,本发明跨网络载波信道支援方法及其所实现的系统,具有较强的灵活性,不仅作为一种全新的系统和方法可以实现载波信道资源的主动支援的功能,而且,还能对已有的移动通信网络进行简单的改造以达到相同的效果。To sum up, the cross-network carrier channel support method and the system implemented in the present invention have strong flexibility, not only as a brand new system and method, it can realize the active support function of carrier channel resources, but also The existing mobile communication network can be simply modified to achieve the same effect.
本发明的系统和方法除了其技术改进本身决定了其所具有的积极效果外,还因此而带来运营商总体成本的下降,也即,因为这种主动支援载波信道不足的小区的功能,使得每个覆盖网络中载波信道的需求大大下降,从而也使载波信道总量大大下降,使运营商从载波信道管理的繁冗中抽身而节省人力、物力及其它维护成本。The system and method of the present invention, in addition to its positive effect determined by its technical improvement itself, also brings about a reduction in the overall cost of operators, that is, because of the function of actively supporting cells with insufficient carrier channels, making The demand for carrier channels in each overlay network is greatly reduced, so that the total amount of carrier channels is also greatly reduced, enabling operators to escape from the tedious management of carrier channels and save manpower, material resources and other maintenance costs.
上述实施例为本发明较佳的实施方式,但本发明的实施方式并不受上述实施例的限制,其他的任何未背离本发明的精神实质与原理下所作的改变、修饰、替代、组合、简化,均应为等效的置换方式,都包含在本发明的保护范围之内。The above-mentioned embodiment is a preferred embodiment of the present invention, but the embodiment of the present invention is not limited by the above-mentioned embodiment, and any other changes, modifications, substitutions, combinations, Simplifications should be equivalent replacement methods, and all are included in the protection scope of the present invention.
| Application Number | Priority Date | Filing Date | Title |
|---|---|---|---|
| CN200810219543ACN101754228B (en) | 2008-11-28 | 2008-11-28 | Inter-network carrier channel supporting method |
| Application Number | Priority Date | Filing Date | Title |
|---|---|---|---|
| CN200810219543ACN101754228B (en) | 2008-11-28 | 2008-11-28 | Inter-network carrier channel supporting method |
| Publication Number | Publication Date |
|---|---|
| CN101754228A CN101754228A (en) | 2010-06-23 |
| CN101754228Btrue CN101754228B (en) | 2012-10-24 |
| Application Number | Title | Priority Date | Filing Date |
|---|---|---|---|
| CN200810219543AExpired - Fee RelatedCN101754228B (en) | 2008-11-28 | 2008-11-28 | Inter-network carrier channel supporting method |
| Country | Link |
|---|---|
| CN (1) | CN101754228B (en) |
| Publication number | Priority date | Publication date | Assignee | Title |
|---|---|---|---|---|
| CN108731193A (en) | 2018-03-02 | 2018-11-02 | 珠海格力电器股份有限公司 | Communication implementation method and device of air conditioning unit, storage medium and processor |
| Publication number | Priority date | Publication date | Assignee | Title |
|---|---|---|---|---|
| CN1549485A (en)* | 2003-05-22 | 2004-11-24 | 华为技术有限公司 | Channel Sharing Method for CDMA System Supporting Trunking Service |
| CN1925640A (en)* | 2005-09-02 | 2007-03-07 | 中兴通讯股份有限公司 | Method for realizing forward channel sharing of communication system |
| Publication number | Priority date | Publication date | Assignee | Title |
|---|---|---|---|---|
| CN1549485A (en)* | 2003-05-22 | 2004-11-24 | 华为技术有限公司 | Channel Sharing Method for CDMA System Supporting Trunking Service |
| CN1925640A (en)* | 2005-09-02 | 2007-03-07 | 中兴通讯股份有限公司 | Method for realizing forward channel sharing of communication system |
| Publication number | Publication date |
|---|---|
| CN101754228A (en) | 2010-06-23 |
| Publication | Publication Date | Title |
|---|---|---|
| Wang et al. | Potentials and challenges of C-RAN supporting multi-RATs toward 5G mobile networks | |
| De Domenico et al. | Enabling green cellular networks: A survey and outlook | |
| CN104796918B (en) | The method of wireless communication network | |
| Cheng et al. | Full/half duplex based resource allocations for statistical quality of service provisioning in wireless relay networks | |
| CN104301984B (en) | Poewr control method based on time domain half-duplex relay in D2D cellular networks | |
| Chen et al. | An energy efficient implementation of C-RAN in HetNet | |
| CN103369727B (en) | A kind of radio frequency remote equipment, baseband processing equipment and data transmission method | |
| CN102547768B (en) | The implementation method of SON and device in distributed Femto base station system | |
| Slalmi et al. | Energy efficiency proposal for IoT call admission control in 5G network | |
| CN104967472B (en) | The optimal power allocation and relaying dispositions method of the two-way decoding forward relay of full duplex | |
| CN105515972A (en) | Dynamic ad hoc network wireless communication device | |
| CN112566166A (en) | Self-healing ad hoc network communication system of smart power grid | |
| CN101754233B (en) | Inter-network carrier channel supporting system | |
| EP2547136B1 (en) | Processing data in network systems to reduce burden on core network and interference | |
| JP2017529777A (en) | Method for realizing communication mode adjustment, micro base station and macro base station | |
| Zhang et al. | Research on performance of power saving technology for 5G base station | |
| EP3316509B1 (en) | Method and device for transmitting signal | |
| CN112333749A (en) | Multi-standard base station system, frequency distribution method and remote monitoring management method | |
| CN103297986B (en) | Networking method for intelligent adaption wireless communication networks | |
| CN101754228B (en) | Inter-network carrier channel supporting method | |
| Pejanovic-Djurisic et al. | Fundamental optimization criteria for green wireless communications | |
| CN105072639B (en) | A kind of cognitive radio architectural framework based on sensor network | |
| Danve et al. | Energy efficient cellular network base station: A survey | |
| CN110708710B (en) | 5G small base station and slice management module thereof | |
| CN109089267B (en) | A high-frequency and low-frequency cooperative networking system and method |
| Date | Code | Title | Description |
|---|---|---|---|
| C06 | Publication | ||
| PB01 | Publication | ||
| C10 | Entry into substantive examination | ||
| SE01 | Entry into force of request for substantive examination | ||
| C14 | Grant of patent or utility model | ||
| GR01 | Patent grant | ||
| CF01 | Termination of patent right due to non-payment of annual fee | Granted publication date:20121024 Termination date:20141128 | |
| EXPY | Termination of patent right or utility model |