Movatterモバイル変換


[0]ホーム

URL:


CN101732047A - Energy feature extraction method of composite lower limb imaginary movement EEG - Google Patents

Energy feature extraction method of composite lower limb imaginary movement EEG
Download PDF

Info

Publication number
CN101732047A
CN101732047ACN200910244820ACN200910244820ACN101732047ACN 101732047 ACN101732047 ACN 101732047ACN 200910244820 ACN200910244820 ACN 200910244820ACN 200910244820 ACN200910244820 ACN 200910244820ACN 101732047 ACN101732047 ACN 101732047A
Authority
CN
China
Prior art keywords
eeg
lower limb
signal
action
characteristic
Prior art date
Legal status (The legal status is an assumption and is not a legal conclusion. Google has not performed a legal analysis and makes no representation as to the accuracy of the status listed.)
Granted
Application number
CN200910244820A
Other languages
Chinese (zh)
Other versions
CN101732047B (en
Inventor
周仲兴
万柏坤
明东
程龙龙
Current Assignee (The listed assignees may be inaccurate. Google has not performed a legal analysis and makes no representation or warranty as to the accuracy of the list.)
Tianjin University
Original Assignee
Tianjin University
Priority date (The priority date is an assumption and is not a legal conclusion. Google has not performed a legal analysis and makes no representation as to the accuracy of the date listed.)
Filing date
Publication date
Application filed by Tianjin UniversityfiledCriticalTianjin University
Priority to CN2009102448204ApriorityCriticalpatent/CN101732047B/en
Publication of CN101732047ApublicationCriticalpatent/CN101732047A/en
Application grantedgrantedCritical
Publication of CN101732047BpublicationCriticalpatent/CN101732047B/en
Expired - Fee Relatedlegal-statusCriticalCurrent
Anticipated expirationlegal-statusCritical

Links

Images

Landscapes

Abstract

Translated fromChinese

本发明属于生物医学工程及计算机领域,涉及一种复合下肢想象动作脑电的能量特征提取方法,包括①脑电信号预处理。②通过经验模态分解方法,将复合下肢想象动作脑电分解为频率从高到低的各个固有振荡模式分量。③通过功率谱密度分析方法分析各固有振荡模式的频谱分布特征,确定反映脑电特征节律的特征振荡模式。④通过对特征振荡模式进行希尔伯特变换,得到反映其能量变化的去同步化特征。⑤模式识别:将特征振荡模式的能量变化去同步化特征作为分类器输入,实现复合下肢想象动作的模式识别。本发明充分考虑到脑电信号的非平稳性,最高识别率为87.8%,相对于传统方法的82.3%有显著提高。

Figure 200910244820

The invention belongs to the fields of biomedical engineering and computers, and relates to a method for extracting energy features of EEG combined with imagined actions of lower limbs, including (1) EEG signal preprocessing. ②Through the method of empirical mode decomposition, the EEG of compound lower limb imaginary action is decomposed into components of natural oscillation modes with frequencies ranging from high to low. ③Analyze the spectrum distribution characteristics of each inherent oscillation mode by power spectral density analysis method, and determine the characteristic oscillation mode reflecting the characteristic rhythm of EEG. ④ By performing Hilbert transform on the characteristic oscillation mode, the desynchronization characteristics reflecting its energy change are obtained. ⑤Pattern recognition: The energy change desynchronization feature of the characteristic oscillation mode is used as the input of the classifier to realize the pattern recognition of the complex imaginary action of the lower limbs. The invention fully considers the non-stationarity of the electroencephalogram signal, and the highest recognition rate is 87.8%, which is significantly improved compared with 82.3% of the traditional method.

Figure 200910244820

Description

The energy feature extraction method of composite lower limb imaginary movement EEG
Technical field
The invention belongs to biomedical engineering and computer realm, relate to a kind of energy feature extraction method of composite lower limb imaginary movement EEG.
Background technology
Brain-computer interface (Brain-Computer Interface, BCI) being to set up a kind of direct information that does not rely on conventional brain output channel (peripheral nervous and muscular tissue) to exchange and control channel between human brain and computer or other electronic equipments, is a kind of brand-new man-machine interaction system.The EEG signals that is applied to the brain-computer interface system the earliest mainly is the spontaneous brain electricity signal, such as the alpha in the brain electricity (α) ripple.But this class EEG signals pattern is single, can't really accomplish " consciousness control action ", has seriously restricted the development of brain-computer interface system.In recent years, the various countries scholar progressively carries out the research of EEG signals under the different mental awareness, and this has brought new dawn for the development of brain-computer interface.
There are some researches show: the people is when certain limb action of the imagination, similar electric physiological responses in the time of can taking place to move enforcement with the relevant brain motor cortex of this action zone with this, as bring out current potential (evoked potential, EP) or event related potential (event related potential, ERP), the spy is referred to as to imagine action potential (motor imaginary potentials).(functional magnetic resonance image, fMRI) method of observation brain local blood figure is confirmed: the brain motor cortex zone that is excited when imagining with the enforcement action is identical by Functional MRI clinically.
The people such as Jasper that find imagination action potential at first are at research brain electricity (Electroencephalograph, EEG) in the process of signal, the active state that can cause a large amount of neurocytes of cortex motorium when noticing limb motion preparation or planning changes, cause the synchronous enhancing of some frequency content among the EEG or weaken synchronously, be so-called incident related synchronization (event-related synchronization, ERS) relevant (event-relateddesynchronization, ERD) phenomenon of desynchronizing with incident.Pfurtscheller and Aranibar have confirmed above-mentioned phenomenon by experiment, point out that the ERD/ERS phenomenon mainly concentrates on the alpha rhythm and pace of moving things and beta rhythm and pace of moving things section among the EEG, and have proposed the quantification theory at the ERS/ERD phenomenon.In the last few years, the various countries scholar had carried out the research that a large amount of thinking model (how around the ERD/ERS phenomenon) is extracted to various imagination action potentials, wherein imagined that with action of the tongue imagination and right-hand man the pattern extraction of action potential is the most common.Special needs to be pointed out is, carry out the Austrian Graz university of this respect work in advance, successfully the right-hand man who extracts is imagined that action pattern is as control command, manipulation brain-computer interface system also tries out in limb paralysis patient's rehabilitation training of upper limbs, has obtained stem-winding phasic results.
But up to the present, the pattern of lower limb imaginary action potential is extracted and is made slow progress, and the accuracy of judgement degree is difficult to improve.Its main cause is: the cortical functional district that lower extremity movement shone upon for the head ditch return in narrower and small zone, the discrimination of its space structure has been very limited, the EEG signals of scalp electrode extraction exists very big dispersivity and aliasing in addition, is unfavorable for that very source signal obtains and discerns.This key factor has caused being applied to upper limb and has imagined that feature extraction algorithm suitability aspect the feature extraction of lower limb imaginary movement EEG of action brain electricity is limited.And in actual life, effective extraction of lower limb imaginary movement EEG feature, be realize real fully by the core technology of the lower limb rehabilitation walk help system of the will control of quadriplegia patient or paralytic patient: by extracting the EEG signals that the patient imagines lower limb movement, be converted to the external control order of corresponding lower limb rehabilitation walk help system, help the patient to walk and muscular irritation recovers with this.This fully by the system of the autonomous will of patient control, not only can realize this part disabled patient recurrence of orthobiosis, and can promote patient's self-confidence, therefore be with a wide range of applications and great social significance.Because brain-computer interface is realized the predicament of the urgent demand and the simple lower limb imaginary movement EEG pattern of rehabilitation walk help system, hope is shown one's talent by the systematic research of composite lower limb imaginary movement EEG realization brain-computer interface, progressively becomes brain-computer interface and realizes one of rehabilitation walk help systematic research emphasis.Through development in recent years, this research direction has been considered to the only way that brain-computer interface further develops, correspondingly, the energy feature of composite lower limb imaginary movement EEG extracts also to become and realizes one of research contents extremely crucial in the lower limb rehabilitation walk help system task.
Summary of the invention
Purport of the present invention is the energy feature extraction method that proposes a kind of composite lower limb imaginary movement EEG, solve based on the basic problem in the lower limb rehabilitation walk help system of brain-computer interface with this: realize that paralytic patient Autonomous Control lower limb movement realizes the key operations of normal walking, about the Autonomous Control of taking a step to move.The energy feature that the invention solves composite lower limb imaginary movement EEG accurately extracts problem, thereby be correct identification composite lower limb action pattern, effectively be converted to the control command that is applied to lower limb rehabilitation walk help system, the autonomous walking of realization paralytic patient provides and has provided powerful support for.
For this reason, the present invention adopts following technical scheme:
A kind of energy feature extraction method of composite lower limb imaginary movement EEG comprises the following steps:
1. utilize brain electric conductance connection electrode to gather the composite lower limb imaginary movement EEG signal;
2. the EEG signals that is positioned at primary motor area and miscellaneous function district that is collected is carried out space filtering, improve the signal to noise ratio of EEG signals;
3. at the EEG signals after 2. handling through step, carrying out empirical modal and decompose, is frequency each natural oscillation mode component from high to low with the composite lower limb imaginary movement EEG signal decomposition.
4. the natural oscillation mode component rated output spectrum density of the brain electricity that respectively leads that 3. step is obtained, frequency distribution scope according to its power spectral density, determine the natural oscillation mode component of the brain electrical feature rhythm and pace of moving things-alhpa rhythm and pace of moving things correspondence, i.e. the characteristic oscillation pattern that the present invention will obtain.
5. the relevant desynchronization coefficient of the incident of defined feature oscillation mode,λERD=(REPt1)2-(REFt2)2(REFt2)2×100(%),Wherein REP is composite lower limb action imagination beginning back t1EEG signals average amplitude in time, REF are t before the beginning of the composite lower limb action imagination2EEG signals average amplitude in time is to the relevant desynchronization coefficient of EEG signals characteristic oscillation mode computation incident;
6. select based on the support vector base grader of basic kernel function radially, the relevant desynchronization coefficient of each brain electric conductance connection incident that 5. step obtains is imported sample as grader, EEG signals is carried out pattern recognition.
As preferred implementation, the EEG signals that 2. energy feature extraction method of described composite lower limb imaginary movement EEG, step are handled comprises F3P, FzP, F4P, C5A, C3A, C1A, C2A, C4A, C6A, C5, C3, C1, Cz, C2, C4, C6, C5P, C3P, C1P, C2P, C4P, C6P, P3A, PzA, P4A lead signals; Step is 5. to the relevant desynchronization coefficient of the EEG signals characteristic oscillation mode computation incident in primary motor area and miscellaneous function district, according to the relevant desynchronization coefficient vector f=[λ of the sequence of positions formation incident of leadingF3P, λFzP..., λP4A], λ hereF3P, λFzP..., λP4ABe followed successively by the relevant desynchronization coefficient of incident of the F3P that leads, FzP, F4P, C5A, C3A, C1A, C2A, C4A, C6A, C5, C3, C1, Cz, C2, C4, C6, C5P, C3P, C1P, C2P, C4P, C6P, P3A, PzA, P4A position; Get t1Be the 4-7 second of action imagination phase, t2Be the 0-2 second before the action imagination; The relevant desynchronization coefficient vector f=[λ of the incident that 5. step is obtainedF3P, λFzP..., λP4A] as grader input sample, the grader formula is y=sgn (Wf+b), W is a weight function, b is a threshold value, obtains by training sample, and y is two sorting result labellings (± 1), + 1 expression identifies left hand left side lower limb and moves the imagination simultaneously, and-1 expression identifies right hand right side lower limb and moves the imagination simultaneously.
The present invention obtains alpha rhythm and pace of moving things energy changing characteristics by empirical mode decomposition method in conjunction with power spectral-density analysis and Hilbert transform method, the highest discrimination of this method is 87.8%, be significantly increased with respect to 82.3% of traditional method, it is advantageous that and fully take into account the non-stationary of EEG signals, and the incident related synchronization/feature that desynchronizes based on action imagination brain electricity is the conclusion that is produced by colony's neuron synchronized oscillation, therefore will have more wide application prospect in the brain-computer interface system based on compound limb action, this will provide for the development based on the lower limb rehabilitation walk help system of brain-computer interface and provide powerful support for.
The present invention is devoted to solve the key issue based in the lower limb rehabilitation walk help system of brain-computer interface, and promptly the energy changing characteristics of composite lower limb imaginary movement EEG is extracted problem.Effective extraction of the energy feature of lower limb imaginary movement EEG, be realize real fully by the core technology of the lower limb rehabilitation walk help system of the will control of quadriplegia patient or paralytic patient: by extracting the EEG signals that the patient imagines lower limb movement, be converted to the external control order of corresponding lower limb rehabilitation walk help system, help the patient to walk and muscular irritation recovers with this.This fully by the system of the autonomous will of patient control, not only can realize this part disabled patient recurrence of orthobiosis, and can promote patient's self-confidence, therefore be with a wide range of applications and great social significance.
Description of drawings
The energy changing characteristics leaching process of Fig. 1 characteristic oscillation pattern;
The compound limbs imagination of Fig. 2 action experiment period distribution diagram;
41 distribution schematic diagrams that lead that Fig. 3 brain wave acquisition is adopted;
EEG signals during Fig. 4 left hand left side lower limb co-operating imagination;
Empirical modal decomposition result (a) C3 of Fig. 5 left hand left side lower limb co-operating imagination brain electricity natural oscillation pattern that natural oscillation pattern (b) C4 of brain electricity leads the brain electricity of leading;
During Fig. 6 left hand left side lower limb co-operating imagination, the C3 power spectral density of natural oscillation pattern of the EEG signals power spectral density of (a) first natural oscillation pattern (main frequency band 22-24Hz) (b) power spectral density of the second natural oscillation pattern (main frequency band 8-13Hz belongs to the alpha rhythm and pace of moving things) (c) power spectral density of the 3rd natural oscillation pattern (main frequency band 4-8Hz) (d) power spectral density of the 4th natural oscillation pattern distribute (main frequency band 2-4Hz) that distributes that distributes that distributes that distributes of leading
During Fig. 7 left hand left side lower limb co-operating imagination, the lead power spectral density of natural oscillation pattern of EEG signals of C4 distributes; (a) (b) (c) (d) the power spectral density distribution of the 4th natural oscillation pattern (mainly frequency band 2-5Hz) of the power spectral density distribution of the 3rd natural oscillation pattern (mainly frequency band 2-8Hz) of the power spectral density distribution of the second natural oscillation pattern (main frequency band 10-13Hz belongs to the alpha rhythm and pace of moving things) of the power spectral density of first natural oscillation pattern distribution (mainly frequency band 22-25Hz)
When the right lower limb co-operating of Fig. 8 right hand is imagined, the C3 that leads, the power spectral density of C4 position feature oscillation mode distributes and contrasts;
Fig. 9 C3 that leads, the Hilbert envelope of C4 position feature oscillation mode.(a) left hand left side lower limb moves the imagination simultaneously; (b) the right lower limb of the right hand moves the imagination simultaneously;
Figure 10 is based on empirical mode decomposition method with based on the contrast of the pattern recognition accuracy rate of traditional filtering method.
The specific embodiment
Levy the extraction difficult point at composite lower limb imaginary movement EEG: the cortical functional district that lower extremity movement shone upon for the head ditch return in narrower and small zone, the discrimination of its space structure is very limited, the action of the composite lower limb imagination relates to a plurality of brain domains in addition, the pattern complexity has further been given prominence to the non-stationary property of EEG signals.This has just caused, and traditional the signal processing method of stationary hypothesis is limited in the suitability aspect the feature extraction of lower limb imaginary movement EEG in short-term based on EEG signals.For this reason, the present invention is directed to the non-stationary property of EEG signals, and be the conclusion that produces by colony's neuron synchronized oscillation based on the incident related synchronization/feature that desynchronizes of action imagination brain electricity, the characteristic oscillation pattern that application experience mode decomposition method extracts composite lower limb imaginary movement EEG is proposed, and then obtain the energy changing characteristics of characteristic oscillation pattern, with this input parameter, realize effective identification of composite lower limb imagination action as the EEG signals pattern recognition.
Divide several aspects that EEG signals extracting method of the present invention is elaborated below.
1 empirical modal decomposes (Emprical Mode Decomposition, EMD) the Li Lun proposition and the suitability thereof
In traditional Fourier analyzes, frequency be defined as having in the whole analytical data length certain amplitude just, cosine function.Be subjected to the influence of this intrinsic notion, people are in understanding and accept the meaning of instantaneous frequency and during notion, always from just, the relevant angle of cosine function analyzes.Like this when people define the local frequencies value just need more than one-period just, cosine fluctuation, based on this logic, the signal that is less than one-period length can't provide the definition of its frequency.And for non-linear and non-stationary signal, become when its principal character frequency is, promptly only be in a certain local time, to exist or once at a time occurred, to close over time and fasten describing frequency, the Fourier conversion is obviously powerless.In order to remedy the deficiency that Fourier transfer pair time varying signal is analyzed, people are to the primary signal windowing, think that the signal in " arrowband " is stably or is similar to stably at certain, and then the signal in the window analyzed, as short time discrete Fourier transform, wavelet analysis etc., these methods are described non-linear and time variation non-stationary signal in varying degrees, have improved the deficiency of Fourier conversion greatly.But owing to be subjected to the restriction of Heisenberg uncertainty principle, it is minimum that the resolution on time and frequency can not reach simultaneously, and therefore, the result of gained is the average result of signal in the window, does not equally also break away from the limitation of Fourier conversion.
For signal Spectrum Analysis being accurate on each time point, the Frequency point, US National Aeronautics and Space Administration, people such as U.S. academician of the Chinese Academy of Engineering Huang N E have proposed empirical modal decomposition (Emprical Mode Decomposition, EMD) method.1996, Huang proposed this imagination that is suitable for the new method that non-stationary signal analyzes-based on empirical pattern decomposition method first in international academic conference once.Huang thinks that for transient state and non-stationary phenomenon, frequency and energy generally all are the functions of time, therefore need provide the definition of instantaneous frequency and instantaneous energy.The signal transient concept of energy is widely accepted at present, but the notion of instantaneous frequency and meaning but have dispute always.After the Hilbert conversion that can make data parsingization occurs, the people's function that can express initial data amplitude and phase place fully that conversion provides according to Hilbert, provided the unified Definition of instantaneous frequency, instantaneous frequency is the monotropic function of time from defining as can be seen, promptly only has an oscillation mode at any time.So when using this notion of instantaneous frequency, corresponding data have been subjected to certain restriction.This is main because any one moment, may comprise a plurality of oscillation modes in the data, this moment, the Hilbert conversion can not provide this signal frequency content completely, and resulting result is the average effect of a plurality of oscillation modes, thereby the meaning of instantaneous frequency thickens.In order from sophisticated signal, to obtain significant instantaneous frequency, Huang is according to the essential condition on the instantaneous frequency physical significance, proposing the data decomposition that contains a plurality of oscillation modes is to satisfy the linear superposition of a plurality of single oscillation mode component of certain condition, each single oscillation mode component is called a basic model component again, and has proposed a kind of based on empirical pattern decomposition method.Each single-mode component all satisfies the essential condition of Hilbert conversion, makes the instantaneous frequency of finding the solution signal with the Hilbert conversion become possibility.
The meaning of Empirical mode decomposition is: the definition of signal frequency is based on the local feature and the instantaneous feature of waveform in signal analysis, it can be on each time point of signal data, provide the instantaneous frequency value from variation characteristic between points, rather than need the waveform of a plurality of cycles of oscillation just can provide a frequency values.If there is a frequency, the information of only representing this frequency correspondence existed in a certain local time or once at a time occurred during Empirical mode decomposition was analyzed.So no matter from conceptive still on signal analysis essence, this analytical method has been broken legacy frequencies thought, has provided a brand-new frequency concept.Empirical mode decomposition is significant to signal analysis, and also handling for non-stationary signal simultaneously provides new approaches, has opened up new way.
2 empirical modal decomposition algorithms
In order to resolve into the inherent feature oscillation mode to general data, Huang N E has proposed the method that empirical modal decomposes.Different with in the past nearly all decomposition method, this new method be intuitively, direct, posterior and adaptive, the basic function of its decomposition is based on data and derives from data itself.
Empirical mode decomposition method is to be based upon on the following hypothesis: (1) signal has two extreme points at least, a maximum and a minima; (2) characteristic time scale is to define by the interval between two extreme points; (3) if data deficiency extreme point but deformation point is arranged then can once or several times obtain extreme point by the data differential, and then obtain decomposition result by integration.
The essence of this method is that the empirical features time scale by data obtains its intrinsic oscillation mode, then decomposition data in view of the above.According to the experience of Drazin, the first step of data analysis is the manual observation data, and the two kinds of methods that can directly distinguish the different scale oscillation mode are arranged: observe alternately occur successively greatly, the interval between minimum point; With the interval of observing the zero crossing that occurs successively.Alternative Local Extremum and zero crossing have formed complicated data: a fluctuation rides in another fluctuation, they ride over again in other the fluctuation simultaneously, the rest may be inferred, and each fluctuation has all defined a characteristic dimension of data, and this characteristic dimension is intrinsic.Take the time scale of the interval of the extreme point that occurs successively as oscillation mode, because this method not only has higher resolution to oscillation mode, and can be applied to the data of Non-zero Mean, and for example there is not zero crossing, the total data point is positive or minus data.For various oscillation modes are come out from extracting data successively, use a kind of method of system, i.e. empirical mode decomposition method, or be referred to as the process of " screening " visually, carry out the empirical modal step of decomposition to real signal s (t) and be:
1) determines all maximum and the minimum of s (t);
2) make the envelope up and down that the cubic spline difference is constructed s (t) according to maximum and minimum;
3), calculate local mean value (going up the meansigma methods of the lower envelope) m of s (t) according to envelope up and down1And s (t) and m (t),1(t) difference h1(t)=s (t)-m1(t);
4) with h1(t) replace primary signal s (t), repeat above three steps k time, (h till the average envelope of gained goes to zero1, (k-1)(t) and h1, k(t) variance between is less than setting value), promptly think h1, k(t) be an IMF component, note c1(t)=h1, k(t), r1(t)=s (t)-c1(t), s (t)=r1(t); First IMF component is represented the component of highest frequency in the initial data.Original data sequence s (t) is deducted first IMF component c1(t), can obtain a difference data sequence r who removes high fdrequency component1(t).
5) to r1(t) repeat above four step tranquilization processing procedures, can obtain second IMF component c2(t), so repeat down sequence of differences r to the lastn(t) (r till undecomposablen(t) less than a setting value, when perhaps becoming a monotonic function), the empirical modal of primary signal decomposes end, and the breakdown that obtains s (t) is as follows:
s(t)=Σi=1nci(t)+rn(t)---(1)
R whereinn(t) be remaining function, represent the trend or the average of initial data.
Because each IMF component all is a data sequence of representing a stack features yardstick, so the processing procedure of this tranquilization is actually the stack that original data sequence is decomposed into the different characteristic fluctuation.Need to prove, each IMF component both can be linear also can be non-linear.
The empirical modal algorithm is actual to be the process of a screening, at first the highest composition of signal intermediate frequency rate is screened, and then from original signal this composition is removed, and selects the highest composition of frequency again from new signal, and the rest may be inferred, till signal is undecomposable.This process can be seen a series of filter bank as, and from the above description of algorithm as can be known, signal can be finished decomposition by limited screening step.During each the screening, the maximum of new signal, the number of minima are all reducing.In order to reduce the screening step of extracting IMF, the parameter S of knowing clearly surely D:
SD=Σ0T|h1,(k-1)(t)-h1,k(t)|2h1,(k-1)(t)2---(2)
When SD stops screening during less than a certain constant, the value of general SD is between 0.2 to 0.3.In addition in screening process be cubic spline interpolation because this algorithm adopts, so when the maximum of signal or minimizing number less than 2 the time, stop to screen.These limited IMF are the instantaneous energy with practical significance and the instantaneous frequency of parameter with time through having produced after the Hilbert transform.Can effectively analyze signal simultaneously in time domain and frequency domain like this, this specific character is to be that the based signal analytical method does not have with the Fourier transform in the past.
Because the empirical modal method is the Time Domain Decomposition that the time-domain information according to data itself carries out, the common number of the IMF that obtains is limited and stably, and be narrow band signal with practical significance, its result of Hilbert conversion who carries out based on these IMF components has reflected real physical message, and amplitude and the frequency of each IMF that obtains based on the Hilbert conversion of empirical modal be time dependent, eliminated the simple harmonic wave of the unnecessary no physics meaning non-linear for reflecting in the classical Spectral Analysis Method, that non-stationary process is introduced.Therefore, its Hilbert spectrum also can accurately reflect signal energy, the distribution of frequency on space or time scale.The empirical modal method is based on that the local feature time scale of signal realize to decompose.Compare with wavelet analysis method, empirical modal-Hilbert method has whole advantages of wavelet analysis, and overcome the non-self-adapting of wavelet transformation, therefore this Hilbert frequency spectrum analysis method based on empirical modal has very high using value in the analysis of non-linear and non-stationary process.
In essence, empirical modal is the pretreatment that data were done before carrying out the Hilbert conversion.By empirical modal, data are broken down into the set of some intrinsic mode functions (IMF), and each IMF has portrayed a simple oscillation pattern of signal.From expression-form, IMF is similar to Fourier and decomposes a simple harmonic oscillation in the expression formula, and still, it is than simple harmonic oscillation vague generalization more.Though the proposition of empirical mode decomposition method, for the analysis of non-linear non-stationary algorithm provides strong instrument, but this new method also is in developmental stage, runs into a lot of problems in actual applications, and existing at present a large amount of scholars are devoted to the research and the application of this method.
The 3 time domain energy characteristic analysis methods based on Hilbert transform of the present invention
At first consider traditional based on the definition of band power spectrum density the incident related synchronization/characterization method desynchronizes, the basis of this method is that EEG signals is carried out short time discrete Fourier transform, analyzes to obtain under the assigned frequency band scope power spectrum Changing Pattern that the incident related synchronization/feature desynchronizes.Suppose that EEG signals to be analyzed is f (t),, do not have symmetry, therefore, can obtain its frequency domain representation form through behind the short time discrete Fourier transform because the EEG signals of gathering is a discrete-time series:
F(ω,t)=a(ω,t)+jb(ω,t)=A(ω,t)ejφ(ω,t) (3)
(ω t) is the short time discrete Fourier transform result of f (t) to F in the formula.
Its corresponding power spectral density is so:
|F(ω,t)|=a2(ω,t)+b2(ω,t)=A(ω,t)---(4)
Characteristic oscillation pattern for method of the present invention obtains itself is under certain frequency band range, must be confined to 8-14Hz such as the characteristic oscillation pattern under the alpha rhythm and pace of moving things, then shows specific Power Spectrum Distribution in this frequency band range.Also wish to obtain to be similar to the expression formula of (3), to obtain sα(t) energy changing characteristics.
For an one-component real signal, the Hilbert conversion provides a kind of method that can obtain the analytic signal expression formula of the formula that is similar to (3).Suppose that the one-component signal is s (t), the analytic signal of s (t) is defined as:
z(t)=s(t)+js^(t)=B(t)ejψ(t)---(5)
The imaginary part of analytic signal is the Hilbert conversion of signal s (t), is calculated as follows:
s^(t)=1π∫-∞∞s(τ)t-τdτ=s(t)*1πt---(6)
The frequency response of Hilbert changer is:
H(jω)=-jsgn(ω) (7)
Can obtain the expression formula of (7) formula at frequency domain:
S^(ω)=S(ω)H(ω)=S(ω)[-jsgn(ω)]---(8)
What the Hilbert conversion was obtained is the instantaneous value of signal, and B (t) is the energy variation trend of signal, and ψ (t) is the instantaneous phase of signal, and for many components sophisticated signal, instantaneous phase is nonsensical, so the Hilbert conversion is only applicable to the one-component signal.Characteristic oscillation pattern under the alpha rhythm and pace of moving things that obtains for the present invention according to the definition of EMD method, satisfies the requirement of one-component signal fully, therefore can adopt (5) formula to obtain the analytic signal of characteristic oscillation composition.
Thus, for characteristic oscillation pattern sα(t), its energy changing characteristics can be used Bα(t) reflect Bα(t) s that is otherwise known asα(t) envelope, that is:
Bα(t)=sα2(t)+s^α2(t)---(9)
In the formula
Figure G2009102448204D00083
Be sα(t) analytic signal.Bα(t) promptly reflected the energy changing characteristics of characteristic oscillation pattern under the alpha rhythm and pace of moving things.
4 energy feature extraction algorithms
The energy feature extraction algorithm flow process of composite lower limb imaginary movement EEG of the present invention is described below:
1. utilize brain electric conductance connection electrode to gather composite lower limb imaginary movement EEG;
2. the EEG signals of being gathered is carried out filtering de-noising and normalized;
3. the oscillation mode of composite lower limb imaginary movement EEG is decomposed: by empirical mode decomposition method, composite lower limb imaginary movement EEG is decomposed into frequency each natural oscillation mode component from high to low.
4. characteristic oscillation pattern recognition:, determine the characteristic oscillation pattern of the reflection brain electrical feature rhythm and pace of moving things by the spectrum distribution feature of each natural oscillation pattern of power spectral-density analysis methods analyst.
5. the desynchronization feature of characteristic oscillation pattern is obtained: by the characteristic oscillation pattern is carried out Hilbert transform, obtain signal envelope, thereby obtain reflecting the desynchronization feature of its energy variation.
6. pattern recognition: the desynchronization feature of characteristic oscillation pattern is imported as grader, realized the pattern recognition of composite lower limb imagination action.
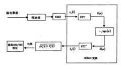
The acquisition process of the energy changing characteristics of characteristic oscillation pattern can be represented with Fig. 1.
5 embodiment
The 128 conducts digital eeg recording instrument that the present invention adopts Austrian EMSPHOENIX company to produce are gathered the equipment of eeg data.The experimenter experimentizes in a room that electromagnetic shielding is good, sound insulation is good, and the background noise in the room is about 31dB, and background illumination is 2cd/m2The experimenter to feel comfortable but the posture that does not influence data acquisition sit in an armchair.Dead ahead apart from about 1 meter of experimental subject is 19 inches display, is used to show that experimental subject carries out the prompt of the composite lower limb action imagination.The sub-Therapy lasted of each composite lower limb imagination action 8 seconds.First period, screen was not for having the blank screen state that shows, 2 seconds persistent period in order to loosen the stage.Second period was a stage of preparation, and this period screen centre shows a cross prompt, and the prompting experimenter is ready, this window duration 1 second.Phase III is the imagination action phase, and this window duration 4 seconds shows left or arrow orientation prompt to the right on the computer screen at random, requires the experimenter to carry out corresponding left lower limb and the left hand co-operating imagination or the right hand and the right lower limb co-operating imagination.The quadravalence section is convalescent period, and display remains in the period does not have the blank screen state that shows.Require the experimenter to keep relaxation state in the experimentation, do not allow any actual act, and for avoiding the experimenter owing to the brain wave that visual stimulus causes is moving, display is with the mode display reminding symbol of blank screen ash word.Whole experimental program requires each experimenter to finish 3 groups of experiments, and each group experiment (run) comprises each 30 second sons experiment (trail) of 2 class composite lower limbs imagination action.Between per two groups of experiments, leave the sufficiently long time of having a rest and be used for the experimenter and carry out fatigue recovery.As shown in Figure 2.
International 10/20 system standard is adopted in the placement of electrode, as shown in Figure 3, writes down near 41 EEG data of leading of body major beat functional areas simultaneously.This 41 leads brain electric conductance connection and comprises common accepted standard 19 and lead brain electric conductance connection, all the other 22 lead be according to the present invention in the brain wave acquisition purpose, cover the function map section of human limb action, obtain in the compound limb action imagination process more meticulous brain electrical feature with this.
Electrode adopts the Ag/AgCI electrode, and with left ear-lobe (A1) as with reference to level, auris dextra hangs down (A2) as with reference to ground, the electric sample frequency of brain is 256Hz, filter pass band is 0.5~35Hz.Electrode impedance is less than 5000 ohm.
After data acquisition finished, for improving the later stage accuracy of pattern recognition, we carried out space filtering by the linear combination of a plurality of data of leading, to improve the signal to noise ratio of EEG signals.At first adopted the datum of removing EEG signals altogether with reference to averaging method of Hjorth proposition, promptly deduct the average of all electrode signals from primary signal, its computational methods are as follows:
ViCAR=ViER-1nΣj=1nViER---(10)
Wherein n is the electrode sum, ViERIt is the primary signal that collects on the electrode, by altogether with reference to average computation, space low frequency composition total in most of electrode will be removed, therefore altogether with reference to averaging method act as the high pass space filtering, can give prominence to the electric composition of brain of high concentration on spatial distribution.Then will still exist the sub-experimentation (trail) of more myoelectricity interference or eye electrical interference to remove in the gained signal.
Fig. 4 has provided the experimenter when carrying out the left hand left side lower limb co-operating imagination, is example with lead C3 and C4, the EEG signals of single experiment record.
To signal shown in Figure 4, carry out empirical modal and decompose, the result is as shown in Figure 5.Fig. 5 (a) leads to C3 shown in Figure 4 to take empirical modal to decompose 7 natural oscillation patterns (IMF) and a residual components (res) that the back obtains.And Fig. 5 (a) takes empirical modal to decompose 7 natural oscillation patterns (IMF) and a residual components (res) that the back obtains to C4 connection shown in Figure 4.
In order to obtain the characteristic oscillation pattern of the brain electrical feature rhythm and pace of moving things alpha rhythm and pace of moving things, the natural oscillation pattern of Fig. 5 gained is carried out power spectral-density analysis.Fig. 6 and Fig. 7 have provided the lead power spectral density plot of preceding 4 natural oscillation patterns (IMF) of EEG signals of C3 and C4 respectively.As can be seen from the figure, C3, C4 lead on the position, and the characteristic oscillation pattern of the alpha rhythm and pace of moving things all is present on the second natural oscillation pattern imf2, and the C3 power spectral density peak value of characteristic oscillation pattern that leads on the position will be higher than C4 and leads.The energy of this explanation alpha rhythm and pace of moving things is better than C3 and leads in the lead weakening that is subjected to of C4, and promptly when carrying out the compound left lower limb left hand co-operating imagination, the lead alpha rhythm and pace of moving things desynchronization phenomenon of position of C4 is more more remarkable than the lead phenomenon of position of C3.
The above-mentioned same analytical procedure of sampling, the EEG signals during to the right lower limb co-operating imagination of the compound right hand is carried out empirical modal and is decomposed.In order to obtain the characteristic oscillation pattern, adopt the power spectral-density analysis method equally.When Fig. 8 has provided the right lower limb co-operating imagination of the right hand at C3, the lead power spectral density plot of characteristic oscillation pattern of position of C4.Obviously, the energy of the alpha rhythm and pace of moving things leads at C3 and is subjected to stronger weakening, and promptly when carrying out the compound right lower limb right hand co-operating imagination, the lead alpha rhythm and pace of moving things desynchronization phenomenon of position of C3 is more more remarkable than the lead phenomenon of position of C4.
In order to obtain the time varying characteristic of alpha rhythm and pace of moving things desynchronization phenomenon, the characteristic oscillation pattern is carried out Hilbert transform, Fig. 9 (a) and Fig. 9 (b) have provided the Hilbert envelope of the alpha prosodic feature oscillation mode of 2 class composite lower limbs action imagination brain electricity respectively.From Fig. 9 (a) as can be seen, during the left leftward lower limb co-operating imagination, the desynchronization phenomenon that C3, C4 lead and exist the alpha rhythm and pace of moving things, but more remarkable in the C4 position of leading, this and Fig. 6, the conclusion of Fig. 7 is consistent.Relative, when the right lower limb co-operating imagination of the right hand, the lead alpha rhythm and pace of moving things desynchronization phenomenon of position of C3 is then more remarkable.
The incident related synchronizationization that the present invention proposes according to Pfurtsehelle/desynchronization definition, desynchronization phenomenon to the alpha rhythm and pace of moving things of above-mentioned acquisition is done further quantitative analysis, provides the definition based on the relevant desynchronization coefficient of incident of characteristic oscillation pattern:
λERD=(REPt1)2-(REFt2)2(REFt2)2×100(%)---(11)
Wherein REP is composite lower limb action imagination beginning back t1Signal averaging amplitude in time, REF is t before the beginning of the composite lower limb action imagination2Signal averaging amplitude in time.Here, get t1Be the 4-7 second of action imagination phase, t2Be the 0-2 second before the action imagination.Because the desynchronization phenomenon that obtains is the trend (as Fig. 9) that reflects energy variation by amplitude of variation, therefore, when the Hilbert envelope of the characteristic oscillation pattern that adopts the present invention to obtain carries out the calculating of desynchronization quantization parameter, range signal need be converted to energy signal, promptly signal amplitude is carried out square, then calculate according to formula (10).
According to the definition of desynchronization coefficient, respectively each experimenter is calculated at the desynchronization quantization parameter of the two class composite lower limbs action imagination, then carry out the T statistics, statistic analysis result is as shown in figure 10.The result shows that when carrying out the left hand left foot co-operating imagination, the desynchronization phenomenon that C4 leads is more remarkable, and average desynchronization coefficient is 55.6%, and leads at C3, and average desynchronization coefficient only has 10.4%; When carrying out the right hand right crus of diaphragm co-operating imagination, C3 leads and demonstrates more significant desynchronization phenomenon, and its average desynchronization coefficient has reached 71.6%, and leads at the C4 of offside, and average desynchronization coefficient is 13.2%.Because participating in the experimenter of experiment all is dextromanuality and right-handedness foot, so when carrying out the right hand right crus of diaphragm co-operating imagination, the desynchronization phenomenon that causes stronger (average 71.6%, 55.6% when the left hand left foot moves the imagination simultaneously relatively).
According to above-mentioned steps, the brain electric conductance of left and right sides primary motor area and miscellaneous function zone position connection (comprising F3P, FzP, F4P, C5A, C3A, C1A, C2A, C4A, C6A, C5, C3, C1, Cz, C2, C4, C6, C5P, C3P, C1P, C2P, C4P, C6P, P3A, PzA, P4A) is carried out the characteristic oscillation pattern respectively to be obtained, the relevant desynchronization coefficient of the incident of calculated characteristics oscillation mode then, constitute the desynchronization coefficient vector according to the sequence of positions of leading, constitute 25 dimensional feature vectors through the splicing back:
f=[λF3P,λFzP,…,λP4A] (12)
λ in the formulaF3P, λFzP..., λP4ABe followed successively by the F3P that leads, FzP ... the incident of the P4A position desynchronization coefficient of being correlated with.
By above-mentioned steps, obtain the energy changing characteristics of characteristic oscillation pattern after, further investigate the feasibility and the effectiveness of this method.To be respectively applied for classification mode identification based on the desynchronization feature that the time-frequency atlas analysis method of Short Time Fourier Transform is obtained based on desynchronization feature and traditional the passing through that empirical mode decomposition method obtains.Select respectively the lead desynchronization coefficient of EEG signals of primary motor area and supplementary motor area to import as grader, and employing based on the support vector based method of basic kernel function radially as grader.
Two classification graders of composite lower limb imagination action potential can be expressed as:
y=sgn(W·f+b) (13)
W and b are the parameters of support vector machine, obtain by training sample.Y is two sorting result labellings (± 1), and+1 expression identifies left hand left side lower limb and moves the imagination simultaneously, and-1 expression identifies right hand right side lower limb and moves the imagination simultaneously.F is 25 dimensional feature vectors of (11) formula correspondence.
Figure 11 has provided the classification results contrast of two kinds of method correspondences, and training data is chosen as totalsample number purpose 10% to 90%.As can be seen from Figure 11, the classification results based on the empirical mode decomposition method correspondence will obviously be better than traditional method based on band filter.Need explanation more in addition, when training sample have onlytotal sample number 10% the time, the classification results of two kinds of method correspondences is all lower, when training sample is increased to 90% when above of total sample number, recognition accuracy tends towards stability.
The energy feature extraction method of composite lower limb imaginary movement EEG of the present invention, concrete steps are as follows:
1. utilize brain electric conductance connection electrode to gather composite lower limb imaginary movement EEG, the main EEG signals (comprising F3P, FzP, F4P, C5A, C3A, C1A, C2A, C4A, C6A, C5, C3, C1, Cz, C2, C4, C6, C5P, C3P, C1P, C2P, C4P, C6P, P3A, PzA, P4A) that is positioned at primary motor area and miscellaneous function district of gathering;
2. the EEG signals of being gathered is carried out filtering de-noising and normalized;
3. carrying out empirical modal at the EEG signals after 2. handling through step decomposes, composite lower limb imaginary movement EEG is decomposed into frequency each natural oscillation mode component from high to low, and making originally, many components EEG signals of non-stationary is converted into one-component signal stably.
4. the natural oscillation mode component rated output spectrum density of the brain electricity that respectively leads that 3. step is obtained, frequency distribution scope according to its power spectral density, determine the natural oscillation mode component of the brain electrical feature rhythm and pace of moving things-alhpa rhythm and pace of moving things correspondence, i.e. the characteristic oscillation pattern that the present invention will obtain.
5. the relevant desynchronization coefficient of the incident of defined feature oscillation mode,λERD=(REPt1)2-(REFt2)2(REFt2)2×100(%),Wherein REP is composite lower limb action imagination beginning back t1EEG signals average amplitude in time, REF are t before the beginning of the composite lower limb action imagination2EEG signals average amplitude in time.Here, get t1Be the 4-7 second of action imagination phase, t2Be the 0-2 second before the action imagination; To the relevant desynchronization coefficient of EEG signals characteristic oscillation mode computation incident in primary motor area and miscellaneous function district, according to the relevant desynchronization coefficient vector f=[λ of the sequence of positions formation incident of leadingF3P, λFzP..., λP4A], λ hereF3P, λFzP,, λP4ABe followed successively by the F3P that leads, FzP ... the incident of the P4A position desynchronization coefficient of being correlated with.
6. select based on the support vector base grader of basic kernel function radially the relevant desynchronization coefficient vector f=[λ of incident that 5. step is obtainedF3P, λFzP..., λP4A] as grader input sample, the grader formula is y=sgn (Wf+b), W is a weight vector, b is a threshold value, obtain obtaining by training sample by training sample, y is two sorting result labellings (± 1), and+1 expression identifies left hand left side lower limb and moves the imagination simultaneously, and-1 expression identifies right hand right side lower limb and moves the imagination simultaneously.By the result of grader pattern recognition, be used for the input parameter that next step is converted to the external control order.
Final result shows, it is fully feasible obtaining alpha rhythm and pace of moving things energy changing characteristics by empirical mode decomposition method in conjunction with power spectral-density analysis and Hilbert transform method, the highest discrimination of this method is 87.8%, is significantly increased with respect to 82.3% of traditional method.The advantage of this method is to fully take into account the non-stationary of EEG signals, and the incident related synchronization/feature that desynchronizes based on action imagination brain electricity is the conclusion that is produced by colony's neuron synchronized oscillation, therefore will have more wide application prospect in the brain-computer interface system based on compound limb action, this will provide for the development based on the lower limb rehabilitation walk help system of brain-computer interface and provide powerful support for.

Claims (5)

Translated fromChinese
1.一种复合下肢想象动作脑电的能量特征提取方法,包括下列步骤:1. A method for extracting energy features of compound lower limb imagery action EEG, comprising the following steps:①利用脑电导联电极采集复合下肢想象动作脑电信号;①Use the EEG lead electrodes to collect the EEG signals of compound lower limb imaginary actions;②对所采集到的位于初级运动区及辅助功能区的脑电信号进行空间滤波,提高提高脑电信号的信噪比;② Perform spatial filtering on the collected EEG signals located in the primary motor area and auxiliary function area to improve the signal-to-noise ratio of the EEG signals;③针对经过步骤②处理后的脑电信号,进行经验模态分解,将复合下肢想象动作脑电信号分解为频率从高到低的各个固有振荡模式分量。③ For the EEG signal processed in step ②, perform empirical mode decomposition, and decompose the EEG signal of the compound lower limb imaginary action into various natural oscillation mode components with frequencies ranging from high to low.④对步骤③获得的各导联脑电的固有振荡模式分量计算功率谱密度,根据其功率谱密度的频率分布范围,确定脑电特征节律-alhpa节律对应的固有振荡模式分量,即本发明所要获取的特征振荡模式。4. calculate the power spectral density of the natural oscillation mode components of each lead EEG obtained by step 3., and determine the corresponding natural oscillation mode components of the EEG characteristic rhythm-alhpa rhythm according to the frequency distribution range of its power spectral density, which is the purpose of the present invention Obtain the characteristic oscillation modes.⑤定义特征振荡模式的事件相关去同步化系数,λERD=(REPt1)2-(REFt2)2(REFt2)2×100(%),其中REP为复合下肢动作想象开始后t1时间内的脑电信号平均幅度,REF为复合下肢动作想象开始前t2时间内的脑电信号平均幅度,对脑电信号特征振荡模式计算事件相关去同步化系数;⑤ The event-related desynchronization coefficients defining the characteristic oscillatory modes, λ ERD = ( RE P t 1 ) 2 - ( RE f t 2 ) 2 ( RE f t 2 ) 2 × 100 ( % ) , Among them, REP is the average amplitude of the EEG signal withint1 time after the start of compound lower limb movement imagining, REF is the average amplitude of EEG signal withint2 time before the start of compound lower limb movement imagining, and the event correlation is calculated for the characteristic oscillation mode of the EEG signal. Synchronization factor;⑥选择基于径向基核函数的支持向量基分类器,将步骤⑤获得的各个脑电导联事件相关去同步化系数作为分类器输入样本,对脑电信号进行模式识别。⑥Select the support vector basis classifier based on the radial basis kernel function, and use the event-related desynchronization coefficients of each EEG lead obtained in step ⑤ as the input sample of the classifier to perform pattern recognition on the EEG signal.2.根据权利要求1所述的复合下肢想象动作脑电的能量特征提取方法,其特征在于,步骤②处理的脑电信号包括F3P、FzP、F4P、C5A、C3A、C1A、C2A、C4A、C6A、C5、C3、C1、Cz、C2、C4、C6、C5P、C3P、C1P、C2P、C4P、C6P、P3A、PzA、P4A导联信号。2. The energy feature extraction method of compound lower limb imaginary action EEG according to claim 1, wherein the EEG signal of step 2. processing comprises F3P, FzP, F4P, C5A, C3A, C1A, C2A, C4A, C6A , C5, C3, C1, Cz, C2, C4, C6, C5P, C3P, C1P, C2P, C4P, C6P, P3A, PzA, P4A lead signal.3.根据权利要求1或2所述的复合下肢想象动作脑电的能量特征提取方法,其特征在于,步骤⑤对初级运动区及辅助功能区的脑电信号特征振荡模式计算事件相关去同步化系数,按照导联位置顺序构成事件相关去同步化系数向量f=[λF3P,λFzP,…,λP4A],这里λF3P,λFzP,…,λP4A依次为导联F3P、FzP、F4P、C5A、C3A、C1A、C2A、C4A、C6A、C5、C3、C1、Cz、C2、C4、C6、C5P、C3P、C1P、C2P、C4P、C6P、P3A、PzA、P4A位置的事件相关去同步化系数。3. according to claim 1 or 2 described compound lower limb imaginative action EEG energy feature extraction method, it is characterized in that step 5. calculates event-related desynchronization to the EEG signal characteristic oscillation pattern of primary motor area and auxiliary function area The coefficients form the event-related desynchronization coefficient vector f=[λF3P , λFzP , ..., λP4A ] according to the order of the lead positions, where λF3P , λFzP , ..., λP4A are the leads F3P, FzP, and F4P in sequence , C5A, C3A, C1A, C2A, C4A, C6A, C5, C3, C1, Cz, C2, C4, C6, C5P, C3P, C1P, C2P, C4P, C6P, P3A, PzA, P4A position event-related desynchronization transformation coefficient.4.根据权利要求1至3所述的复合下肢想象动作脑电的能量特征提取方法,其特征在于,步骤⑤取t1为动作想象期的4-7秒,t2为动作想象前的0-2秒。4. according to claim 1 to 3 described compound lower limb imagery action EEG energy feature extraction method, it is characterized in that, step 5. get t1 to be the 4-7 second of action imagination period, t2 is the 0 before action imagination -2 seconds.5.根据权利要求1至3所述的复合下肢想象动作脑电的能量特征提取方法,其特征在于,将步骤⑤获得的事件相关去同步化系数向量f=[λF3P,λFzP,…,λP4A]作为分类器输入样本,分类器公式为y=sgn(W·f+b),W是权函数,b是阈值,通过训练样本得到,y是两分类的结果标记(±1),+1表示识别出左手左腿同时动作想象,-1表示识别出右手右腿同时动作想象。5. according to claim 1 to 3 described compound lower limb imaginative action EEG energy feature extraction method, it is characterized in that, with step 5. the event-related desynchronization coefficient vector f=[λF3P that obtains, λFzP ,..., λP4A ] as a classifier input sample, the classifier formula is y=sgn(W f+b), W is a weight function, b is a threshold, obtained through training samples, y is the result mark of two classifications (±1), +1 means that the left hand and left leg are recognized at the same time, and -1 means that the right hand and right leg are recognized at the same time.
CN2009102448204A2009-12-162009-12-16Energy feature extraction method of composite lower limb imaginary movement EEGExpired - Fee RelatedCN101732047B (en)

Priority Applications (1)

Application NumberPriority DateFiling DateTitle
CN2009102448204ACN101732047B (en)2009-12-162009-12-16Energy feature extraction method of composite lower limb imaginary movement EEG

Applications Claiming Priority (1)

Application NumberPriority DateFiling DateTitle
CN2009102448204ACN101732047B (en)2009-12-162009-12-16Energy feature extraction method of composite lower limb imaginary movement EEG

Publications (2)

Publication NumberPublication Date
CN101732047Atrue CN101732047A (en)2010-06-16
CN101732047B CN101732047B (en)2011-06-08

Family

ID=42456443

Family Applications (1)

Application NumberTitlePriority DateFiling Date
CN2009102448204AExpired - Fee RelatedCN101732047B (en)2009-12-162009-12-16Energy feature extraction method of composite lower limb imaginary movement EEG

Country Status (1)

CountryLink
CN (1)CN101732047B (en)

Cited By (20)

* Cited by examiner, † Cited by third party
Publication numberPriority datePublication dateAssigneeTitle
CN102018503A (en)*2010-10-212011-04-20中国科学院深圳先进技术研究院Extraction method and device of breath and heartbeating signals in life probe radar
CN102755162A (en)*2012-06-142012-10-31天津大学Audio-visual cognitive event-related electroencephalogram-based identification method
CN102824172A (en)*2012-08-282012-12-19浙江大学EEG (electroencephalogram) feature extraction method
CN102824173A (en)*2012-09-172012-12-19北京理工大学Classification method of electroencephalogram signal
CN104127179A (en)*2014-04-132014-11-05北京工业大学Electroencephalogram (EEG) feature extraction method based on dominant electrode combination and empirical mode decomposition (EMD)
CN105973621A (en)*2016-05-022016-09-28国家电网公司Abnormal vibration analysis-based GIS (gas insulated switchgear) mechanical fault diagnosis method and system
CN106020472A (en)*2016-05-132016-10-12天津理工大学Brain computer interface system on basis of motor imageries of different uplifting amplitudes of lower limbs
CN106539582A (en)*2015-09-172017-03-29中央大学brain function imaging identification method and system
WO2017193595A1 (en)*2016-05-132017-11-16广州视源电子科技股份有限公司Hypnotic state electroencephalogram signal extraction method and system
CN108042130A (en)*2017-11-032018-05-18南京邮电大学One kind is based on empirical mode decomposition(EMD)EEG signals preprocess method
CN108363493A (en)*2018-03-202018-08-03山东建筑大学User characteristics method for establishing model, system and storage medium based on brain-computer interface
CN108542383A (en)*2017-09-252018-09-18同济大学EEG signal identification method, system, medium based on Mental imagery and equipment
CN109117775A (en)*2018-08-022019-01-01南京邮电大学Based on polynomial improvement EMD algorithm
CN110192879A (en)*2019-05-242019-09-03中南民族大学Based on the lie detecting method for more leading the EEG signals pulse factor
CN110472595A (en)*2019-08-202019-11-19郑州大学Identification model construction method, device and the recognition methods of EEG signals, device
CN111543986A (en)*2020-05-122020-08-18清华大学Electroencephalogram event synchronization method without hardware connection
CN113317793A (en)*2021-06-112021-08-31宁波大学 Cardiac magnetic high frequency signal analysis method, storage medium and electronic equipment
CN114139574A (en)*2021-11-052022-03-04浙江大学 An EEG Signal Classification Method Based on Two-Dimensional Local Mean Decomposition
CN116763321A (en)*2023-01-182023-09-19首都医科大学宣武医院Myoelectricity-electroencephalogram information acquisition feedback method and device
CN117239718A (en)*2023-08-212023-12-15北京四方继保工程技术有限公司 Self-damping control method and system in power oscillation area based on delayed measurement

Family Cites Families (1)

* Cited by examiner, † Cited by third party
Publication numberPriority datePublication dateAssigneeTitle
CN101433460B (en)*2008-07-252010-11-10天津大学Spatial filtering method of lower limb imaginary action potential

Cited By (25)

* Cited by examiner, † Cited by third party
Publication numberPriority datePublication dateAssigneeTitle
CN102018503A (en)*2010-10-212011-04-20中国科学院深圳先进技术研究院Extraction method and device of breath and heartbeating signals in life probe radar
CN102018503B (en)*2010-10-212012-12-12中国科学院深圳先进技术研究院Extraction method and device of breath and heartbeating signals in life probe radar
CN102755162A (en)*2012-06-142012-10-31天津大学Audio-visual cognitive event-related electroencephalogram-based identification method
CN102824172A (en)*2012-08-282012-12-19浙江大学EEG (electroencephalogram) feature extraction method
CN102824172B (en)*2012-08-282014-03-19浙江大学EEG (electroencephalogram) feature extraction method
CN102824173A (en)*2012-09-172012-12-19北京理工大学Classification method of electroencephalogram signal
CN104127179A (en)*2014-04-132014-11-05北京工业大学Electroencephalogram (EEG) feature extraction method based on dominant electrode combination and empirical mode decomposition (EMD)
CN104127179B (en)*2014-04-132016-04-06北京工业大学The brain electrical feature extracting method of a kind of advantage combination of electrodes and empirical mode decomposition
CN106539582A (en)*2015-09-172017-03-29中央大学brain function imaging identification method and system
CN105973621A (en)*2016-05-022016-09-28国家电网公司Abnormal vibration analysis-based GIS (gas insulated switchgear) mechanical fault diagnosis method and system
CN106020472A (en)*2016-05-132016-10-12天津理工大学Brain computer interface system on basis of motor imageries of different uplifting amplitudes of lower limbs
WO2017193595A1 (en)*2016-05-132017-11-16广州视源电子科技股份有限公司Hypnotic state electroencephalogram signal extraction method and system
CN108542383B (en)*2017-09-252020-07-14同济大学 EEG signal recognition method, system, medium and device based on motor imagery
CN108542383A (en)*2017-09-252018-09-18同济大学EEG signal identification method, system, medium based on Mental imagery and equipment
CN108042130A (en)*2017-11-032018-05-18南京邮电大学One kind is based on empirical mode decomposition(EMD)EEG signals preprocess method
CN108363493A (en)*2018-03-202018-08-03山东建筑大学User characteristics method for establishing model, system and storage medium based on brain-computer interface
CN108363493B (en)*2018-03-202021-08-27山东建筑大学User characteristic model establishing method and system based on brain-computer interface and storage medium
CN109117775A (en)*2018-08-022019-01-01南京邮电大学Based on polynomial improvement EMD algorithm
CN110192879A (en)*2019-05-242019-09-03中南民族大学Based on the lie detecting method for more leading the EEG signals pulse factor
CN110472595A (en)*2019-08-202019-11-19郑州大学Identification model construction method, device and the recognition methods of EEG signals, device
CN111543986A (en)*2020-05-122020-08-18清华大学Electroencephalogram event synchronization method without hardware connection
CN113317793A (en)*2021-06-112021-08-31宁波大学 Cardiac magnetic high frequency signal analysis method, storage medium and electronic equipment
CN114139574A (en)*2021-11-052022-03-04浙江大学 An EEG Signal Classification Method Based on Two-Dimensional Local Mean Decomposition
CN116763321A (en)*2023-01-182023-09-19首都医科大学宣武医院Myoelectricity-electroencephalogram information acquisition feedback method and device
CN117239718A (en)*2023-08-212023-12-15北京四方继保工程技术有限公司 Self-damping control method and system in power oscillation area based on delayed measurement

Also Published As

Publication numberPublication date
CN101732047B (en)2011-06-08

Similar Documents

PublicationPublication DateTitle
CN101732047B (en)Energy feature extraction method of composite lower limb imaginary movement EEG
CN101810479B (en)Phase characteristic extraction method for brain waves of compound imaginary movements of lower limbs
CN101869477B (en)Self-adaptive EEG signal ocular artifact automatic removal method
CN100571617C (en)The signals collecting and the feature extracting method of the imagination that stands action brain electricity
Miao et al.A spatial-frequency-temporal optimized feature sparse representation-based classification method for motor imagery EEG pattern recognition
CN106569604A (en)Audiovisual dual-mode semantic matching and semantic mismatch co-stimulus brain-computer interface paradigm
CN103735262A (en)Dual-tree complex wavelet and common spatial pattern combined electroencephalogram characteristic extraction method
CN106108893A (en)Based on eye electricity, the Mental imagery training Design of man-machine Conversation method of brain electricity
CN108280414A (en)A kind of recognition methods of the Mental imagery EEG signals based on energy feature
CN109598222A (en)Wavelet neural network Mental imagery brain electricity classification method based on the enhancing of EEMD data
CN105286860A (en)Motor imagery brain electrical signal recognition method based on dual-tree complex wavelet energy difference
Haider et al.Performance enhancement in P300 ERP single trial by machine learning adaptive denoising mechanism
CN102306303A (en)Electroencephalography signal characteristic extraction method based on small training samples
CN108520239A (en) Method and system for classifying EEG signals
CN101433460A (en)Spatial filtering method of lower limb imaginary action potential
CN106127191A (en)Brain electricity sorting technique based on WAVELET PACKET DECOMPOSITION and logistic regression
Feng et al.Feature extraction algorithm based on csp and wavelet packet for motor imagery eeg signals
Shi et al.Feature recognition of motor imaging EEG signals based on deep learning
CN116849679A (en)Cross-mode hand action evaluation method
CN106821318A (en)A kind of multiple dimensioned quantitative analysis method of EEG signals
CN109993132A (en) A method and system for generating pattern recognition based on EEG signals
Ding et al.The spatial environment affects human emotion perception-using physiological signal modes
Deco et al.Complex harmonics reveal low-dimensional manifolds of critical brain dynamics
Ming-Ai et al.Feature extraction and classification of mental EEG for motor imagery
CN106484112A (en)Characters spells device and method of testing based on Mental imagery brain-computer interface

Legal Events

DateCodeTitleDescription
C06Publication
PB01Publication
C10Entry into substantive examination
SE01Entry into force of request for substantive examination
C14Grant of patent or utility model
GR01Patent grant
C17Cessation of patent right
CF01Termination of patent right due to non-payment of annual fee

Granted publication date:20110608

Termination date:20111216


[8]ページ先頭

©2009-2025 Movatter.jp