


技术领域technical field
本发明涉及无线通信领域,具体涉及无线局域网与3G蜂窝网络协同工作的方法。The invention relates to the field of wireless communication, in particular to a method for cooperating between a wireless local area network and a 3G cellular network.
背景技术Background technique
随着科技的发展、市场的需求和竞争的变化,移动通信网和宽带无线接入网分别朝着各自的发展方向不断演变和推进。第三代移动通信系统是一个全球无缝覆盖、全球漫游,包括卫星移动通信、陆地移动通信等蜂窝移动通信的大系统。它可以向公众提供前两代产品所不能提供的各种宽带信息业务,如高速数据、慢速图像与电视图像等,传输速率可以达到2Mbit/s。而多样化的无线接入网技术具有不同的特征和业务提供能力,目前应用最广泛的WLAN接入技术可以提供高达54Mbit/s的传输速率。美国无线媒体资讯公司JiWire日前发布的一份报告显示,中国拥有的无线热点数量已经达到4万多个(大陆3.5万个,台湾5000多个),为全球仅次于美国的第二大无线接入网络。无线热点是指在公共场所提供WLAN接入Internet服务的地点。JiWire的报告称,无线接入网络正以极高的速度在全球扩张,截至今年第三季度,全球共有超过28.6万个无线热点,而五年前仅有5.3万个。With the development of science and technology, changes in market demands and competition, mobile communication networks and broadband wireless access networks are constantly evolving and advancing towards their respective development directions. The third generation mobile communication system is a large system with seamless global coverage and global roaming, including cellular mobile communications such as satellite mobile communications and land mobile communications. It can provide the public with various broadband information services that cannot be provided by the previous two generations of products, such as high-speed data, slow images and TV images, etc., and the transmission rate can reach 2Mbit/s. Diversified wireless access network technologies have different characteristics and service provision capabilities. Currently, the most widely used WLAN access technology can provide a transmission rate up to 54Mbit/s. According to a report recently released by the American wireless media information company JiWire, the number of wireless hotspots in China has reached more than 40,000 (35,000 in mainland China and more than 5,000 in Taiwan), making it the second largest wireless hotspot in the world after the United States. into the network. Wireless hotspots refer to locations that provide WLAN access to the Internet in public places. According to JiWire's report, wireless access networks are expanding globally at a very high rate. As of the third quarter of this year, there were more than 286,000 wireless hotspots worldwide, compared with only 53,000 five years ago.
3G蜂窝网络和WLAN相比,峰值速率不够高,但可以实现大面积覆盖,而WLAN在低速移动环境中可以提供高速率业务。所以,3G蜂窝网络和WLAN之间的融合与协同成为了研究的热点。根据3GPP提出的WLAN与3G蜂窝网络互联方案中的6中互操作场景,欧洲电信标准协会(ETSI)提出了松耦合与紧耦合两种方案。Compared with WLAN, the peak rate of 3G cellular network is not high enough, but it can achieve large-area coverage, while WLAN can provide high-speed services in a low-speed mobile environment. Therefore, the integration and coordination between 3G cellular network and WLAN has become a research hotspot. According to the 6 interoperability scenarios in the WLAN and 3G cellular network interconnection scheme proposed by 3GPP, the European Telecommunications Standards Institute (ETSI) proposed two schemes of loose coupling and tight coupling.
在松耦合方案中,3G蜂窝网络和WLAN相互独立,互不影响,实现两个网络融合的技术要求较低,不需要对现有的网络设备进行大的升级和改造,对移动终端没有特殊要求,只需要含该两种网络接口的双模终端。但是,当用户采用双模终端时,必须采用移动IP的方式才能实现移动终端在两个网络间的切换,而且不能保证切换前后会话的连续性,不适合对QoS要求较高的业务,不同业务区间无法相互分担负荷,网络管理难度较大。In the loosely coupled solution, the 3G cellular network and WLAN are independent of each other and do not affect each other. The technical requirements for the integration of the two networks are relatively low, and there is no need for major upgrades and transformations of existing network equipment, and there are no special requirements for mobile terminals. , only a dual-mode terminal with the two network interfaces is required. However, when the user uses a dual-mode terminal, the mobile IP must be used to realize the handover of the mobile terminal between the two networks, and the continuity of the session before and after the handover cannot be guaranteed. Intervals cannot share the load with each other, making network management difficult.
在紧耦合方案中,WLAN可以共享使用3G蜂窝网络的各种资源(如核心网资源、鉴权和计费系统等),可以采用统一的接入服务器为两个网络提供接入服务,可以方便地把新业务推广到两种网络中,采用双模终端时,用户可以实现在两个网络间的无缝切换,保证切换前后会话的连续性,对QoS支持较好。In the tightly coupled solution, WLAN can share various resources of the 3G cellular network (such as core network resources, authentication and billing systems, etc.), and a unified access server can be used to provide access services for the two networks, which can facilitate Promoting the new business to the two networks. When using dual-mode terminals, users can realize seamless switching between the two networks, ensuring the continuity of sessions before and after switching, and better supporting QoS.
在传统的紧耦合方案中,WLAN具有多个接入点(AP),多个AP连接成分布式系统。当用户设备(UE)进入WLAN覆盖范围时,服务集标识(SSID)作为WLAN的识别器帮助UE接入WLAN,同时运行鉴权算法,并传输信令。此时,3G蜂窝网络把WLAN系统看成是一个单独的基站(Node B)子系统,用户在两个网络间的切换就相当于在两个独立的小区间进行一样。In a traditional tightly coupled solution, a WLAN has multiple access points (APs), and multiple APs are connected to form a distributed system. When a user equipment (UE) enters the coverage area of a WLAN, the service set identifier (SSID) serves as an identifier of the WLAN to help the UE access the WLAN, and at the same time run an authentication algorithm and transmit signaling. At this time, the 3G cellular network regards the WLAN system as a separate base station (Node B) subsystem, and the user switching between the two networks is equivalent to performing between two independent cells.
但是,紧耦合系统需要在WLAN子系统中运行鉴权、切换、资源管理等控制过程,对于WLAN的性能和容量有较高的要求。而且紧耦合系统存在不易支持第三方WLAN的缺点。因此,探索新的WLAN与3G蜂窝网络之间的协同工作模式已成为异构网络融合中的一个关键的课题。However, the tightly coupled system needs to run control processes such as authentication, handover, and resource management in the WLAN subsystem, which has high requirements on the performance and capacity of the WLAN. Moreover, the tightly coupled system has the disadvantage that it is not easy to support a third-party WLAN. Therefore, it has become a key issue in the fusion of heterogeneous networks to explore the new cooperative working mode between WLAN and 3G cellular network.
发明内容Contents of the invention
本发明是为了解决现有的无线局域网与3G蜂窝网络在耦合工作模式下系统处理业务效率低的问题,从而提出一种基于AP转发机制的无线局域网与3G蜂窝网络协同工作方法。The present invention aims to solve the problem of low system processing service efficiency of the existing wireless local area network and 3G cellular network in the coupled working mode, thereby proposing a cooperative working method of the wireless local area network and the 3G cellular network based on an AP forwarding mechanism.
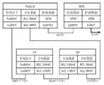
基于AP转发机制的无线局域网与3G蜂窝网络协同工作方法,所述方法是基于下述系统实现的:所述系统包括核心网CN、UMTS无线接入网UTRAN,所述UMTS无线接入网UTRAN由多组无线网络系统RNS组成,UMTS无线接入网UTRAN将各无线网络系统RNS的数据传输至核心网CN;A WLAN and 3G cellular network cooperative working method based on an AP forwarding mechanism, the method is implemented based on the following system: the system includes a core network CN and a UMTS radio access network UTRAN, and the UMTS radio access network UTRAN is composed of Composed of multiple groups of wireless network systems RNS, the UMTS wireless access network UTRAN transmits the data of each wireless network system RNS to the core network CN;
每组无线网络系统RNS包括一个无线网络控制器RNC、基站Node B和无线访问接入点AP;所述无线访问接入点AP通过以太网信道连接至基站Node B,用于在用户设备UE和基站NodeB之间的转发数据;所述无线网络控制器RNC接收基站Node B发送的数据;Each group of radio network systems RNS includes a radio network controller RNC, a base station Node B and a wireless access point AP; the wireless access point AP is connected to the base station Node B through an Ethernet channel for connecting the user equipment UE and Forwarding data between base station NodeB; Described radio network controller RNC receives the data that base station NodeB sends;
所述基于AP转发机制的无线局域网与3G蜂窝网络协同工作方法由以下步骤完现:The wireless LAN and 3G cellular network cooperative working method based on the AP forwarding mechanism is realized by the following steps:
若待传输的业务为宽带分组业务,则优选AP转发方法,其具体步骤为:If the service to be transmitted is a broadband packet service, the AP forwarding method is preferred, and the specific steps are:
步骤一、用户设备UE通过Uu接口向基站Node B发送请求;Step 1, the user equipment UE sends a request to the base station Node B through the Uu interface;
步骤二、基站Node B根据接收到的请求和此时网络状态分配无线访问接入点AP为用户设备UE服务;实现用户设备UE与无线访问接入点AP之间配对连接;Step 2, the base station Node B allocates the wireless access point AP to serve the user equipment UE according to the received request and the current network status; realize the pairing connection between the user equipment UE and the wireless access point AP;
步骤三、用户设备UE通过对应的无线访问接入点AP进行宽带连接,实现用户设备UE与基站Node B之间的业务传输;Step 3, the user equipment UE performs broadband connection through the corresponding wireless access point AP, so as to realize the service transmission between the user equipment UE and the base station Node B;
若待传输的业务为语音业务,则优选直接传输方法,其具体步骤为:If the service to be transmitted is a voice service, the direct transmission method is preferred, and its specific steps are:
步骤A、用户设备UE通过Uu接口向基站Node B发送请求;Step A, the user equipment UE sends a request to the base station Node B through the Uu interface;
步骤B、基站Node B直接与用户设备UE连接,实现用户设备UE与基站Node B之间的业务传输。In step B, the base station Node B is directly connected to the user equipment UE to realize service transmission between the user equipment UE and the base station Node B.
有益效果:本发明将AP转发机制引入UMTS网络结构中的基站子系统,使多个无线访问接入点AP和一个基站Node B协同工作,为高速分组业务提供新的接入信道,缓解了无线信道资源有限导致的“瓶颈”,提高了系统的容量与处理业务的效率。Beneficial effects: the present invention introduces the AP forwarding mechanism into the base station subsystem in the UMTS network structure, so that multiple wireless access points AP and a base station Node B can work together to provide new access channels for high-speed packet services, and ease the wireless communication problem. The "bottleneck" caused by limited channel resources improves the capacity of the system and the efficiency of business processing.
附图说明Description of drawings
图1是背景技术中通用移动通信系统(UMTS)的网络结构示意图;图2是具体实施方式一中无线网络系统(RNS)的结构示意图;图3是本发明的协议转换过程示意图。Fig. 1 is a schematic diagram of the network structure of the Universal Mobile Telecommunications System (UMTS) in the background technology; Fig. 2 is a schematic diagram of the structure of the Radio Network System (RNS) in the first embodiment; Fig. 3 is a schematic diagram of the protocol conversion process of the present invention.
具体实施方式Detailed ways
具体实施方式一、基于AP转发机制的无线局域网与3G蜂窝网络协同工作方法,所述方法是基于下述系统实现的:所述系统包括核心网CN、UMTS无线接入网UTRAN,所述UMTS无线接入网UTRAN由多组无线网络系统RNS组成,UMTS无线接入网UTRAN将各无线网络系统RNS的数据传输至核心网CN;Embodiment 1. A method for cooperating between a wireless local area network and a 3G cellular network based on an AP forwarding mechanism. The method is implemented based on the following system: the system includes a core network CN and a UMTS radio access network UTRAN, and the UMTS wireless The access network UTRAN is composed of multiple groups of wireless network systems RNS, and the UMTS wireless access network UTRAN transmits the data of each wireless network system RNS to the core network CN;
每组无线网络系统RNS包括一个无线网络控制器RNC、基站Node B和无线访问接入点AP;所述无线访问接入点AP通过以太网信道连接至基站Node B,用于在用户设备UE和基站NodeB之间的转发数据;所述无线网络控制器RNC接收基站Node B发送的数据;Each group of radio network systems RNS includes a radio network controller RNC, a base station Node B and a wireless access point AP; the wireless access point AP is connected to the base station Node B through an Ethernet channel for connecting the user equipment UE and Forwarding data between base station NodeB; Described radio network controller RNC receives the data that base station NodeB sends;
所述基于AP转发机制的无线局域网与3G蜂窝网络协同工作方法由以下步骤完现:The wireless LAN and 3G cellular network cooperative working method based on the AP forwarding mechanism is realized by the following steps:
若待传输的业务为宽带分组业务,则优选AP转发方法,其具体步骤为:If the service to be transmitted is a broadband packet service, the AP forwarding method is preferred, and the specific steps are:
步骤一、用户设备UE通过Uu接口向基站Node B发送请求;Step 1, the user equipment UE sends a request to the base station Node B through the Uu interface;
步骤二、基站Node B根据接收到的请求和此时网络状态分配无线访问接入点AP为用户设备UE服务;实现用户设备UE与无线访问接入点AP之间配对连接;Step 2, the base station Node B allocates the wireless access point AP to serve the user equipment UE according to the received request and the current network status; realize the pairing connection between the user equipment UE and the wireless access point AP;
步骤三、用户设备UE通过对应的无线访问接入点AP进行宽带连接,实现用户设备UE与基站Node B之间的业务传输;Step 3, the user equipment UE performs broadband connection through the corresponding wireless access point AP, so as to realize the service transmission between the user equipment UE and the base station Node B;
若待传输的业务为语音业务,则优选直接传输方法,其具体步骤为:If the service to be transmitted is a voice service, the direct transmission method is preferred, and its specific steps are:
步骤A、用户设备UE通过Uu接口向基站Node B发送请求;Step A, the user equipment UE sends a request to the base station Node B through the Uu interface;
步骤B、基站Node B直接与用户设备UE连接,实现用户设备UE与基站Node B之间的业务传输。In step B, the base station Node B is directly connected to the user equipment UE to realize service transmission between the user equipment UE and the base station Node B.
工作原理:通用移动通信系统(UMTS)网络的基本结构以及主要的开放接口如图1所示,UTRAN包括一系列的物理实体来管理接入网资源,为UE提供接入核心网的机制。UTRAN由多个RNS组成,这些RNS通过Iu接口与核心网相连。一个RNS包括一个RNC和一个或多个Node B。开放接口Iur把各个RNS分开,同时能够实现宏小区分集以及更为有效的无线资源管理和移动性机制。当网络运用了Iur接口时,UE可以通过多个RNC和网络相连。Working principle: The basic structure and main open interfaces of the Universal Mobile Telecommunications System (UMTS) network are shown in Figure 1. UTRAN includes a series of physical entities to manage access network resources and provide a mechanism for UEs to access the core network. The UTRAN is composed of multiple RNSs, which are connected to the core network through the Iu interface. An RNS includes an RNC and one or more Node Bs. The open interface Iur separates each RNS, and at the same time can realize macro cell differentiation and more effective radio resource management and mobility mechanisms. When the network uses the Iur interface, the UE can be connected to the network through multiple RNCs.
不同的RNC在无线连接期间承担特定的逻辑角色,包括SRNC(Serving RNC)、DRNC(Drifting RNC)和CRNC(Controlling RNC)。CRNC总体控制UTRAN接入点的逻辑资源。SRNC负责UE和UTRAN之间的特定连接,每一个和UTRAN有无线连接的UE都有一个SRNC,负责UE和UTRAN之间的无线连接,SRNC的主要特点是它还维护到核心网的Iu接口。当UTRAN和UE之间的无线资源需要使用其他RNC控制而不是SRNC本身控制的小区时,就需要DRNC发挥其逻辑功能。Different RNCs assume specific logical roles during wireless connections, including SRNC (Serving RNC), DRNC (Drifting RNC) and CRNC (Controlling RNC). CRNC generally controls the logical resources of UTRAN access points. SRNC is responsible for the specific connection between UE and UTRAN. Each UE with wireless connection to UTRAN has an SRNC, which is responsible for the wireless connection between UE and UTRAN. The main feature of SRNC is that it also maintains the Iu interface to the core network. When the radio resources between UTRAN and UE need to use cells controlled by other RNCs instead of SRNC itself, DRNC needs to play its logical function.
图2所示的是本发明中RNS的基本结构以及相应的接口。每个Node B下有一个或多个AP与其协同工作。UE可以通过Uu接口与Node B直接通信,也可以通过AP转发分组数据。Figure 2 shows the basic structure of the RNS and the corresponding interfaces in the present invention. Each Node B has one or more APs working with it. The UE can directly communicate with the Node B through the Uu interface, and can also forward packet data through the AP.
Uu接口的协议栈分为用户平面和控制平面两部分。用户平面用来传输通过接入网的用户数据。控制平面对无线接入承载及UE和网络之间的连接进行控制(包括业务请求、不同传输资源的控制和切换等)。另外,控制平面也提供了非接入层消息透明传输的机制。Uu接口协议参见3GPP TS 25.2xx和TS 25.3xx。The protocol stack of the Uu interface is divided into two parts, the user plane and the control plane. The user plane is used to transport user data through the access network. The control plane controls the radio access bearer and the connection between the UE and the network (including service requests, control and switching of different transmission resources, etc.). In addition, the control plane also provides a mechanism for transparent transmission of non-access stratum messages. Refer to 3GPP TS 25.2xx and TS 25.3xx for the Uu interface protocol.
在本发明中,UE需要是支持UMTS空中接口与WLAN空中接口的双模终端。AP作为传输用户分组数据的协同信道,通过以太网接入Node B,而UE与AP间的通信采用802.11系列的无线传输协议。由AP网关实现相关协议、格式的转换。In the present invention, the UE needs to be a dual-mode terminal supporting the UMTS air interface and the WLAN air interface. As a collaborative channel for transmitting user packet data, the AP accesses the Node B through Ethernet, and the communication between the UE and the AP adopts the 802.11 series of wireless transmission protocols. The conversion of relevant protocols and formats is realized by the AP gateway.
本发明在Node B中增加了对以太网数据流的处理功能,可以将其转化为符合Iub接口协议的数据格式。Node B通过协议栈的转换来实现Iub接口的功能。对于传统的语音等窄带业务,Node B通过Uu接口对其进行控制,采用传统的网络方法实现通信业务。对于宽带分组业务,Node B通过Uu接口对设备UE进行控制,若需要利用AP进行工作时,则Node B利用以太网控制AP为UE进行宽带分组业务传输。也就是说,Node B可以把来自于传输信道的信息根据RNC的安排映射到物理信道。The present invention adds a processing function to the Ethernet data flow in the Node B, which can be converted into a data format conforming to the Iub interface protocol. Node B implements the function of the Iub interface through the conversion of the protocol stack. For traditional narrowband services such as voice, Node B controls them through the Uu interface, and uses traditional network methods to realize communication services. For the broadband packet service, the Node B controls the UE through the Uu interface. If the AP needs to be used for work, the Node B uses the Ethernet to control the AP to transmit the broadband packet service for the UE. That is to say, Node B can map the information from the transport channel to the physical channel according to the arrangement of RNC.
图3所示的是本发明中控制信令和分组数据在不同接口之间的协议转换过程。Figure 3 shows the protocol conversion process between control signaling and packet data between different interfaces in the present invention.
物理层通过控制物理媒体来传输控制信令和数据业务。UMTS空中接口的物理层一般是基于WCDMA或TD-SCDMA无线技术而设计的。Uu接口的物理层协议控制物理信道在Uu接口的使用,并且以传输信道的形式向高层提供服务。传输信道定义了数据在UMTS空中接口传输的不同方式。传输信道和物理信道的映射由物理层协议完成。The physical layer transmits control signaling and data services by controlling the physical medium. The physical layer of the UMTS air interface is generally designed based on WCDMA or TD-SCDMA wireless technology. The physical layer protocol of the Uu interface controls the use of physical channels on the Uu interface, and provides services to higher layers in the form of transport channels. Transport channels define the different ways in which data can be transported over the UMTS air interface. The mapping between transport channels and physical channels is done by the physical layer protocol.
Uu接口的传输网络协议主要是无线链路层的媒体接入控制(MAC)协议。MAC协议在UE、Node B和RNC实体处激活,作为公共传输网络的一部分,它为用户平面和控制平面提供服务。MAC协议以逻辑信道的方式提供服务,逻辑信道根据所传数据的类型来定义。The transmission network protocol of the Uu interface is mainly the media access control (MAC) protocol of the wireless link layer. The MAC protocol is activated at the UE, Node B and RNC entities as part of the common transport network, which provides services for the user plane and the control plane. The MAC protocol provides services in the form of logical channels, and logical channels are defined according to the type of data transmitted.
| Application Number | Priority Date | Filing Date | Title |
|---|---|---|---|
| CN2009103117707ACN101730279B (en) | 2009-12-18 | 2009-12-18 | Wireless local area network and 3G cellular network cooperative working method based on AP forwarding mechanism |
| Application Number | Priority Date | Filing Date | Title |
|---|---|---|---|
| CN2009103117707ACN101730279B (en) | 2009-12-18 | 2009-12-18 | Wireless local area network and 3G cellular network cooperative working method based on AP forwarding mechanism |
| Publication Number | Publication Date |
|---|---|
| CN101730279A CN101730279A (en) | 2010-06-09 |
| CN101730279Btrue CN101730279B (en) | 2012-06-06 |
| Application Number | Title | Priority Date | Filing Date |
|---|---|---|---|
| CN2009103117707AExpired - Fee RelatedCN101730279B (en) | 2009-12-18 | 2009-12-18 | Wireless local area network and 3G cellular network cooperative working method based on AP forwarding mechanism |
| Country | Link |
|---|---|
| CN (1) | CN101730279B (en) |
| Publication number | Priority date | Publication date | Assignee | Title |
|---|---|---|---|---|
| WO2012050496A1 (en)* | 2010-10-15 | 2012-04-19 | Telefonaktiebolaget L M Ericsson (Publ) | A method for performing and a device for providing a m2me fail over mechanism |
| CN103052142B (en)* | 2011-10-13 | 2016-05-25 | 中国移动通信集团公司 | Network selecting method, mobile terminal and base station |
| CN102395219B (en)* | 2011-11-07 | 2014-04-16 | 大唐移动通信设备有限公司 | Method, device and system for WLAN data transmission |
| US9532269B2 (en) | 2012-04-11 | 2016-12-27 | Broadcom Corporation | Method and apparatus for offloading data |
| CN103428826A (en)* | 2012-05-16 | 2013-12-04 | 中兴通讯股份有限公司 | Method and device for access point of wireless local area network to access mobile network |
| CN103582079A (en)* | 2012-08-10 | 2014-02-12 | 中兴通讯股份有限公司 | A method and system for realizing joint transmission |
| CN103634921A (en)* | 2012-08-20 | 2014-03-12 | 中兴通讯股份有限公司 | Network control method and base station |
| CN103686859B (en)* | 2012-09-17 | 2018-04-27 | 中兴通讯股份有限公司 | A kind of shunt method based on Multi net voting joint transmission, system and access network elements |
| US9749874B2 (en)* | 2013-07-17 | 2017-08-29 | Qualcomm Incorporated | Multi-band management of wireless relaying networks |
| CN104427492B (en)* | 2013-08-19 | 2019-01-01 | 中兴通讯股份有限公司 | It was found that the method for the WLAN access net gateway address trusted |
| US20150109997A1 (en)* | 2013-10-21 | 2015-04-23 | Alexander Sirotkin | Apparatus, system and method of interfacing between a cellular manager and a wlan access device |
| US10292080B2 (en)* | 2015-06-10 | 2019-05-14 | Htc Corporation | Device and method of aggregating WLAN and LTE system |
| Publication number | Priority date | Publication date | Assignee | Title |
|---|---|---|---|---|
| CN1898984A (en)* | 2003-10-24 | 2007-01-17 | 高通股份有限公司 | Handoff between a wireless local area network and a cellular communication system |
| CN101048991A (en)* | 2004-08-27 | 2007-10-03 | 三星电子株式会社 | Cellular mobile communication system and method using heterogeneous wireless network |
| Publication number | Priority date | Publication date | Assignee | Title |
|---|---|---|---|---|
| CN1898984A (en)* | 2003-10-24 | 2007-01-17 | 高通股份有限公司 | Handoff between a wireless local area network and a cellular communication system |
| CN101048991A (en)* | 2004-08-27 | 2007-10-03 | 三星电子株式会社 | Cellular mobile communication system and method using heterogeneous wireless network |
| Publication number | Publication date |
|---|---|
| CN101730279A (en) | 2010-06-09 |
| Publication | Publication Date | Title |
|---|---|---|
| CN101730279B (en) | Wireless local area network and 3G cellular network cooperative working method based on AP forwarding mechanism | |
| CN116234069B (en) | Multi-link reconfiguration method and device | |
| JP5492507B2 (en) | Base station gateway, base station switching method and data processing method by base station gateway | |
| KR101472100B1 (en) | Base station apparatus and data processing method in wireless communication system | |
| CN102547716B (en) | Wireless communication system and method for flat network architecture and extend unit | |
| WO2010121480A1 (en) | Method for transmitting coordinated multipoint transmission/reception coordinated group messages and an evolved nodeb thereof | |
| CN102932850B (en) | Base station, network system and communication method | |
| CN102892156B (en) | A kind of method and system for realizing data conversion in fusion Home eNodeB | |
| CN101686578B (en) | Family evolution base station system and access method of wireless device | |
| CN101399728B (en) | Network, method and access point for sharing bandwidth | |
| WO2012006832A1 (en) | Terminal mode processing method, network access method and base station | |
| CN101355785A (en) | A method and system for transmitting non-access stratum messages during handover | |
| JP7383827B2 (en) | Time synchronization methods, electronic equipment and storage media | |
| CN102036414B (en) | Method and system for realizing X2 function | |
| WO2023045768A1 (en) | Communication method and related apparatus | |
| WO2006032213A1 (en) | A wireless network structure and a data transmission implementing method by applying the wireless network structure | |
| CN101115286A (en) | A communication method and system from a base station to a core network | |
| CN101742695B (en) | Data transmission method, base station and data transmission system | |
| CN116456483A (en) | Wireless communication method, network node and equipment | |
| CN115696655B (en) | Method and system for 5G evolution type virtual network | |
| CN114846825B (en) | Data forwarding method and device, and communication equipment | |
| WO2025025181A1 (en) | Wireless communication method, and device and storage medium | |
| WO2024207363A1 (en) | Signal transceiving method and apparatus and communication system | |
| WO2024016141A1 (en) | Method for establishing computing tunnel and related apparatus | |
| WO2025044889A1 (en) | Communication method and communication apparatus |
| Date | Code | Title | Description |
|---|---|---|---|
| C06 | Publication | ||
| PB01 | Publication | ||
| C10 | Entry into substantive examination | ||
| SE01 | Entry into force of request for substantive examination | ||
| C14 | Grant of patent or utility model | ||
| GR01 | Patent grant | ||
| C17 | Cessation of patent right | ||
| CF01 | Termination of patent right due to non-payment of annual fee | Granted publication date:20120606 Termination date:20121218 |