


技术领域technical field
本发明涉及公共安全领域,特别涉及公共电子安防监控技术领域,具体是指一种电子内窥镜。The present invention relates to the field of public security, in particular to the technical field of public electronic security monitoring, in particular to an electronic endoscope.
背景技术Background technique
电子内窥镜由于其具有柔性的探头,可以伸入到狭小的空间或者缝隙中进行观察,获得内部图像,因此电子内窥镜可广泛用于临床医学、工业探测、安检侦查等领域。Due to its flexible probe, the electronic endoscope can be extended into a small space or gap for observation and to obtain internal images. Therefore, the electronic endoscope can be widely used in clinical medicine, industrial detection, security inspection and other fields.
申请号为200710018533.2的中华人民共和国发明专利公开了一种蛇形无线电子内窥镜,采用无线信号收发装置接收图像信号,避免了因信号电缆线故障导致操作困难的问题。申请号为200610126495.8的中华人民共和国发明专利公开了一种电子内窥镜,该发明将电子内窥镜的摄像装置更换成不同规格摄像装置。The invention patent of the People's Republic of China with application number 200710018533.2 discloses a snake-shaped wireless electronic endoscope, which uses a wireless signal transceiver device to receive image signals, avoiding the problem of difficult operation caused by signal cable failures. The invention patent of the People's Republic of China whose application number is 200610126495.8 discloses an electronic endoscope, which replaces the imaging device of the electronic endoscope with an imaging device of different specifications.
电子内窥镜一般都配有照明系统,可以在黑暗的条件下进行工作。目前电子内窥镜的照明一般采用可见光照明,光源为金属卤素灯或者强光的发光二极管。在一些特殊的应用场合,不适合采用可见光照明,比如公安领域一些行动中,进行秘密侦察时如果采用可见光照明,容易被发现暴露目标,因此可见光照明的电子内窥镜不能够满足一些特殊的应用需求。Electronic endoscopes are generally equipped with lighting systems that can work in dark conditions. At present, the illumination of the electronic endoscope generally adopts visible light illumination, and the light source is a metal halide lamp or a strong light-emitting diode. In some special applications, it is not suitable to use visible light illumination. For example, in some operations in the public security field, if visible light illumination is used for secret reconnaissance, it is easy to be found to expose the target, so the electronic endoscope with visible light illumination cannot meet some special applications. need.
发明内容Contents of the invention
本发明的目的是克服了上述现有技术中的缺点,提供一种能够适用于各种特殊应用场合、结构简单、使用方便灵活、隐蔽性强、工作性能稳定可靠、适用范围较为广泛的电子内窥镜。The object of the present invention is to overcome the above-mentioned shortcomings in the prior art, and provide an electronic internal device suitable for various special applications, simple in structure, convenient and flexible in use, strong in concealment, stable and reliable in working performance, and wide in scope of application. looking glass.
为了实现上述的目的,本发明的电子内窥镜具有如下构成:In order to achieve the above object, the electronic endoscope of the present invention has the following structure:
该电子内窥镜,包括探头和内窥镜控制装置,所述的内窥镜控制装置通过信号线与所述的探头相连接,其主要特点是,所述的内窥镜控制装置中包括有红外照明激光器,所述的电子内窥镜中还包括照明光纤,所述的红外照明激光器与所述的照明光纤相连接。The electronic endoscope includes a probe and an endoscope control device, the endoscope control device is connected to the probe through a signal line, and its main feature is that the endoscope control device includes Infrared illuminating laser, the electronic endoscope also includes illuminating fiber, and the infrared illuminating laser is connected with the illuminating optical fiber.
该电子内窥镜中的红外照明激光器可以为固体激光器或者半导体激光器,且该红外照明激光器的波长范围为785nm~1560nm,输出功率范围为250mW~5W。The infrared illumination laser in the electronic endoscope can be a solid-state laser or a semiconductor laser, and the wavelength range of the infrared illumination laser is 785nm-1560nm, and the output power range is 250mW-5W.
该电子内窥镜中的照明光纤可以为单模光纤或多模光纤,且该照明光纤的芯径的范围为Φ0.01mm~Φ20mm。The illuminating optical fiber in the electronic endoscope can be a single-mode optical fiber or a multi-mode optical fiber, and the core diameter of the illuminating optical fiber ranges from Φ0.01 mm to Φ20 mm.
该电子内窥镜中的内窥镜控制装置中还包括有电源模块、图像信号处理模块、显示模块,所述的电源模块分别与所述的红外照明激光器、图像信号处理模块和显示模块均相连接,所述的探头依次通过所述的信号线和图像信号处理模块与所述的显示模块相连接。The endoscope control device in the electronic endoscope also includes a power supply module, an image signal processing module, and a display module, and the described power supply module is connected to the infrared illumination laser, image signal processing module, and display module respectively. connected, the probe is connected to the display module through the signal line and the image signal processing module in turn.
该电子内窥镜中的电源模块包括直流电源单元和控制开关,所述的控制开关与所述的直流电源单元相连接。The power supply module in the electronic endoscope includes a DC power supply unit and a control switch, and the control switch is connected with the DC power supply unit.
该电子内窥镜中的显示模块为显示屏。The display module in the electronic endoscope is a display screen.
该电子内窥镜中的信号线和照明光纤均穿设于一柔性套管中。The signal wires and the lighting optical fiber in the electronic endoscope are all passed through a flexible sleeve.
该电子内窥镜中的信号线通过探头弯曲控制机构与所述的内窥镜控制装置相连接。The signal line in the electronic endoscope is connected with the endoscope control device through the probe bending control mechanism.
该电子内窥镜中的探头弯曲控制机构为探头弯曲控制旋钮。The probe bending control mechanism in the electronic endoscope is a probe bending control knob.
该电子内窥镜中的探头包括成像器件和光学镜头,所述的光学镜头通过所述的成像器件与所述的信号线相连接。The probe in the electronic endoscope includes an imaging device and an optical lens, and the optical lens is connected to the signal line through the imaging device.
采用了该发明的电子内窥镜,由于其中具有照明光纤和红外照明激光器,从而在外部光线不足时,电子内窥镜控制装置可以打开该红外照明激光器,并通过照明光纤把红外照明激光器所发出的红外激光传送到需要照明的地方进行照明,同时成像器件通过光学镜头采集图像,并把图像信号通过信号线传递到电子内窥镜控制装置,电子内窥镜控制装置具有控制、供电、显示图像和照明输出功能,其中的图像信号处理模块接收并处理成像器件传来的图像信号,并转换成用于屏幕显示的视频图像信号,并传送到显示屏,使用者通过观察显示屏的图像来进行相应的监控工作,不仅能够适用于各种特殊应用场合,而且体积小,重量轻,结构简单,使用方便灵活,采用红外光照明隐蔽性强,工作性能稳定可靠,适用范围较为广泛,特别适用于秘密侦查等活动。Adopting the electronic endoscope of this invention, since it has an illuminating fiber and an infrared illuminating laser, when the external light is insufficient, the electronic endoscope control device can turn on the infrared illuminating laser, and send out the infrared illuminating laser through the illuminating optical fiber. The infrared laser is transmitted to the place that needs to be illuminated for illumination. At the same time, the imaging device collects images through the optical lens, and transmits the image signal to the electronic endoscope control device through the signal line. The electronic endoscope control device has the functions of control, power supply, and display images. And lighting output function, the image signal processing module in it receives and processes the image signal from the imaging device, converts it into a video image signal for screen display, and transmits it to the display screen. The corresponding monitoring work is not only suitable for various special applications, but also small in size, light in weight, simple in structure, convenient and flexible in use, strong in concealment by using infrared light lighting, stable and reliable in working performance, and has a wide range of applications, especially suitable for Secret investigation and other activities.
附图说明Description of drawings
图1为本发明的电子内窥镜的基本结构示意图。Fig. 1 is a schematic diagram of the basic structure of the electronic endoscope of the present invention.
图2为本发明的电子内窥镜中的内窥镜控制装置的功能模块示意图。Fig. 2 is a schematic diagram of the functional modules of the endoscope control device in the electronic endoscope of the present invention.
图3为本发明的电子内窥镜的具体实施方式中的结构示意图。Fig. 3 is a schematic structural view of an embodiment of the electronic endoscope of the present invention.
具体实施方式Detailed ways
为了能够更清楚地理解本发明的技术内容,特举以下实施例详细说明。In order to understand the technical content of the present invention more clearly, the following examples are given in detail.
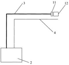
请参阅图1至图3所示,该电子内窥镜,包括探头1和内窥镜控制装置2,所述的内窥镜控制装置2通过信号线3与所述的探头1相连接,其中,所述的内窥镜控制装置2中包括有红外照明激光器21,所述的电子内窥镜中还包括照明光纤4,所述的红外照明激光器21与所述的照明光纤4相连接。1 to 3, the electronic endoscope includes a
其中,所述的红外照明激光器21可以为固体激光器或者半导体激光器,且该红外照明激光器21的波长范围为785nm~1560nm,输出功率范围为250mW~5W;所述的照明光纤4可以为单模光纤或多模光纤,且该照明光纤4的芯径的范围为Φ0.01mm~Φ20mm;所述的探头1包括成像器件11和光学镜头12,所述的光学镜头12通过所述的成像器件11与所述的信号线3相连接。Wherein, the
同时,该电子内窥镜中的内窥镜控制装置2中还包括有电源模块、图像信号处理模块22、显示模块23,所述的电源模块分别与所述的红外照明激光器21、图像信号处理模块22和显示模块23均相连接,所述的探头1依次通过所述的信号线3和图像信号处理模块22与所述的显示模块23相连接;所述的电源模块包括直流电源单元24和控制开关25,所述的控制开关25与所述的直流电源单元24相连接;所述的显示模块23为显示屏,所述的信号线3和照明光纤4均穿设于一柔性套管5中。At the same time, the
不仅如此,该电子内窥镜中的信号线3通过探头弯曲控制机构6与所述的内窥镜控制装置2相连接,所述的探头弯曲控制机构6为探头弯曲控制旋钮6。Furthermore, the
在实际使用当中,本发明的红外激光照明电子内窥镜,包括电子内窥镜控制装置2、信号线3、成像器件11、光学镜头12、照明光纤4。成像器件11通过光学镜头12采集图像,并通过信号线3传递到电子内窥镜控制装置2。电子内窥镜控制装2置由图像信号处理模块22、直流电源24、显示屏23、红外激光器21和控制开关25组成,具有控制、供电、显示图像和照明输出功能。在外部光线不足时,电子内窥镜控制装置2打开红外激光器21,并通过照明光纤4把红外激光器21发出的红外激光传送到需要照明的地方进行照明。In actual use, the infrared laser illumination electronic endoscope of the present invention includes an electronic
所述的电子内窥镜控制装置2具有控制、供电、显示图像和照明输出功能,用于照明的红外激光器21为固体激光器或半导体激光器,波长范围在785nm~1560nm之间,输出功率范围在250mW~5W之间;所采用的照明光纤4为单模光纤或多模光纤,光纤的芯径在Φ0.01mm~Φ20mm之间。The electronic
本发明的具体实施例中,包括直流电源24、控制开关25、图像信号处理模块22、红外激光器21、探头弯曲控制旋钮6、显示屏23、柔性套管5、探头1组成。柔性套管5内有信号线3和照明光纤4,探头1内装有成像器件11和光学镜头12。工作时,打开控制开关25,直流电源24给各部分电路供电,成像器件11开始采集图像信号,并通过信号线3把图像信号传给图像信号处理模块22进行处理,处理后把图像信号送到显示屏23。在需要照明的时候,打开照明的控制开关25,红外激光器21发出红外激光,并通过照明光纤4,把红外激光从探头1传出进行照明。探头弯曲控制旋钮6可以控制探头向不同的方向进行弯曲,柔性套管5的作用是保护内部的信号线3和照明光纤4。In a specific embodiment of the present invention, it includes a
本发明的红外激光照明电子内窥镜体积小、重量轻、性能可靠,采用红外光照明,隐蔽性强,可以用于秘密侦查等行动。The electronic endoscope with infrared laser illumination of the present invention is small in volume, light in weight, reliable in performance, adopts infrared light illumination, has strong concealment, and can be used in operations such as secret investigation.
采用了上述的电子内窥镜,由于其中具有照明光纤4和红外照明激光器21,从而在外部光线不足时,电子内窥镜控制装置2可以打开该红外照明激光器21,并通过照明光纤4把红外照明激光器21所发出的红外激光传送到需要照明的地方进行照明,同时成像器件11通过光学镜头12采集图像,并把图像信号通过信号线3传递到电子内窥镜控制装置2,电子内窥镜控制装置2具有控制、供电、显示图像和照明输出功能,其中的图像信号处理模块22接收并处理成像器件11传来的图像信号,并转换成用于屏幕显示的视频图像信号,并传送到显示屏23,使用者通过观察显示屏23的图像来进行相应的监控工作,不仅能够适用于各种特殊应用场合,而且体积小,重量轻,结构简单,使用方便灵活,采用红外光照明隐蔽性强,工作性能稳定可靠,适用范围较为广泛,特别适用于秘密侦查等活动。Adopt above-mentioned electronic endoscope, because there are illuminating
在此说明书中,本发明已参照其特定的实施例作了描述。但是,很显然仍可以作出各种修改和变换而不背离本发明的精神和范围。因此,说明书和附图应被认为是说明性的而非限制性的。In this specification, the invention has been described with reference to specific embodiments thereof. However, it is obvious that various modifications and changes can be made without departing from the spirit and scope of the invention. Accordingly, the specification and drawings are to be regarded as illustrative rather than restrictive.
| Application Number | Priority Date | Filing Date | Title |
|---|---|---|---|
| CN200910055709ACN101614870A (en) | 2009-07-31 | 2009-07-31 | Electronic endoscope |
| Application Number | Priority Date | Filing Date | Title |
|---|---|---|---|
| CN200910055709ACN101614870A (en) | 2009-07-31 | 2009-07-31 | Electronic endoscope |
| Publication Number | Publication Date |
|---|---|
| CN101614870Atrue CN101614870A (en) | 2009-12-30 |
| Application Number | Title | Priority Date | Filing Date |
|---|---|---|---|
| CN200910055709APendingCN101614870A (en) | 2009-07-31 | 2009-07-31 | Electronic endoscope |
| Country | Link |
|---|---|
| CN (1) | CN101614870A (en) |
| Publication number | Priority date | Publication date | Assignee | Title |
|---|---|---|---|---|
| CN102300498A (en)* | 2008-12-11 | 2011-12-28 | 生物医学临床研究基金会 | Infrared display device for anatomical structure and signal processing method thereof |
| CN106885841A (en)* | 2017-02-13 | 2017-06-23 | 深圳市古安泰自动化技术有限公司 | Eddy current inspection endoscope |
| CN107561679A (en)* | 2017-10-24 | 2018-01-09 | 深圳市菲比斯科技有限公司 | Industrial endoscope |
| CN109633888A (en)* | 2019-01-17 | 2019-04-16 | 深圳杰泰科技有限公司 | endoscope |
| CN110974123A (en)* | 2019-08-15 | 2020-04-10 | 成都术通科技有限公司 | An imaging-friendly endoscope assembly and method of using the same |
| Publication number | Priority date | Publication date | Assignee | Title |
|---|---|---|---|---|
| CN102300498A (en)* | 2008-12-11 | 2011-12-28 | 生物医学临床研究基金会 | Infrared display device for anatomical structure and signal processing method thereof |
| CN106885841A (en)* | 2017-02-13 | 2017-06-23 | 深圳市古安泰自动化技术有限公司 | Eddy current inspection endoscope |
| CN107561679A (en)* | 2017-10-24 | 2018-01-09 | 深圳市菲比斯科技有限公司 | Industrial endoscope |
| CN109633888A (en)* | 2019-01-17 | 2019-04-16 | 深圳杰泰科技有限公司 | endoscope |
| CN110974123A (en)* | 2019-08-15 | 2020-04-10 | 成都术通科技有限公司 | An imaging-friendly endoscope assembly and method of using the same |
| Publication | Publication Date | Title |
|---|---|---|
| US20190183324A1 (en) | Digital disposable endoscope system | |
| US20110087073A1 (en) | Medical inspection device | |
| WO2013125508A1 (en) | Dental handpiece video image acquisition apparatus, dental handpiece image capture device, dental handpiece, and dental handpiece system | |
| US20100191067A1 (en) | Cervix Examination device and cervix examination set | |
| WO2017067491A1 (en) | Endoscope, and camera assembly thereof | |
| CN101614870A (en) | Electronic endoscope | |
| US20070265504A1 (en) | Videolaryngostroboscope | |
| JP2010035971A (en) | Endoscope instrument and endoscope unit used therefor | |
| CN207356059U (en) | A kind of operation of capsule endoscope system | |
| CN204683538U (en) | A kind of WIFI electronic endoscope apparatus | |
| CN103479317A (en) | Medical detection device | |
| US20070225557A1 (en) | Medical inspection devices | |
| CN104665755A (en) | Household electronic endoscope | |
| US20130271589A1 (en) | Medical inspection device and method for assembling the same | |
| CN202948200U (en) | Endoscope device with wireless transmission function | |
| CN204188271U (en) | A kind of wear-type thermal infrared imager | |
| TWI381820B (en) | Medical inspection device | |
| CN104076502A (en) | Handheld electronic industrial endoscope | |
| CN106377218A (en) | Twin-lens capsule endoscope and working system thereof | |
| CN103340594B (en) | Body surface inspection tester | |
| US10591714B2 (en) | Endoscopic apparatus for thermal distribution monitoring | |
| KR102655475B1 (en) | Medical borescopes and related methods and systems | |
| CN107970022A (en) | Hand-held display device | |
| CN108693191A (en) | A kind of equipment detecting endoscope and a kind of endoscopic system | |
| CN204410769U (en) | A kind of fibre opic endoscope supporting with mobile phone |
| Date | Code | Title | Description |
|---|---|---|---|
| C06 | Publication | ||
| PB01 | Publication | ||
| C10 | Entry into substantive examination | ||
| SE01 | Entry into force of request for substantive examination | ||
| C02 | Deemed withdrawal of patent application after publication (patent law 2001) | ||
| WD01 | Invention patent application deemed withdrawn after publication | Open date:20091230 |