Movatterモバイル変換


[0]ホーム

URL:


CN101573792B - Preferentially deposited lubricant to prevent anti-stiction in micromechanical systems - Google Patents

Preferentially deposited lubricant to prevent anti-stiction in micromechanical systems
Download PDF

Info

Publication number
CN101573792B
CN101573792BCN2007800491340ACN200780049134ACN101573792BCN 101573792 BCN101573792 BCN 101573792BCN 2007800491340 ACN2007800491340 ACN 2007800491340ACN 200780049134 ACN200780049134 ACN 200780049134ACN 101573792 BCN101573792 BCN 101573792B
Authority
CN
China
Prior art keywords
lubricant
mechanical device
contact surface
micro mechanical
molecule
Prior art date
Legal status (The legal status is an assumption and is not a legal conclusion. Google has not performed a legal analysis and makes no representation as to the accuracy of the status listed.)
Expired - Fee Related
Application number
CN2007800491340A
Other languages
Chinese (zh)
Other versions
CN101573792A (en
Inventor
东敏·陈
福林·熊
威廉·斯潘塞·沃利三世
Current Assignee (The listed assignees may be inaccurate. Google has not performed a legal analysis and makes no representation or warranty as to the accuracy of the list.)
Miradia Inc
Original Assignee
Miradia Inc
Priority date (The priority date is an assumption and is not a legal conclusion. Google has not performed a legal analysis and makes no representation as to the accuracy of the date listed.)
Filing date
Publication date
Priority claimed from US11/556,154external-prioritypatent/US7463404B2/en
Priority claimed from US11/556,145external-prioritypatent/US7723812B2/en
Priority claimed from US11/556,155external-prioritypatent/US7616370B2/en
Application filed by Miradia IncfiledCriticalMiradia Inc
Publication of CN101573792ApublicationCriticalpatent/CN101573792A/en
Application grantedgrantedCritical
Publication of CN101573792BpublicationCriticalpatent/CN101573792B/en
Expired - Fee Relatedlegal-statusCriticalCurrent
Anticipated expirationlegal-statusCritical

Links

Images

Classifications

Landscapes

Abstract

Embodiments of the present invention generally relate to a device that has an improved usable lifetime due to the presence of a lubricant that reduces the likelihood of stiction occurring between the various moving parts in an electromechanical device. Embodiments of the present invention also generally include a device, and a method of forming a device, that has one or more surfaces or regions that have a volume of lubricant disposed thereon that acts as a ready supply of 'fresh' lubricant to prevent stiction occurring between interacting components found within the device. In one aspect, components within the volume of lubricant form a gas or vapor phase that reduces the chances of stiction-related failure in the formed device. In one example, aspects of this invention may be especially useful for fabricating and using micromechanical devices, such as MEMS devices, NEMS devices, or other similar thermal or fluidic devices.

Description

Be used for preventing the preferential deposition lubricant of micro mechanical system antiblock
Technical field
Embodiments of the invention relate generally to micro-electro-mechanical systems unifies and receives Mechatronic Systems, relates in particular to the antiblock (anti-stiction) that is used for these systems and lubricated.
Background technology
As everyone knows, along with device becomes more and more littler, the power of atom level and microscopic level becomes more and more crucial between the element of device.In the field of micro mechanical device (the for example MEMS (MEMS) and the Mechatronic Systems (NEMS) of receiving), the problem relevant with the power of these types is very general.Especially, " adhesion " power that produces in the course of the work between the moving component that contacts with each other (no matter be have a mind to or unintentionally) be the common problem of micro mechanical device.When the interface attraction that produces between the moving component that contacts with each other surpasses restoring force, the inefficacy of the type that sticks together.As a result, component failure or fault for good and all or temporarily adhering to each other are caused in the surface of these parts.Stiction force is the complex surfaces phenomenon, generally includes capillary force, Van der Waals force and electrostatic attraction.Any interaction between two surfaces of terminology used here " contact " general reference, and be not limited to the actual entities contact between these surfaces.Some examples of typical micro mechanical device are RF switch, optical modulator, little gear, accelerometer, worm gear, transducer, fluid tip, gyroscope and other similar device or actuator.
In such as RF switch, optical modulator, little gear and other actuator, adhesion problems is distinct issues particularly.In the process with several hertz (Hz) frequency between several GHzs (GHz), each element in these devices is often interact with each other.Various analyses show; The device of these types is not increased certain form lubricated with the situation that reduces adhesion and wearing and tearing between the element surface under; The scope of life of product maybe be only between contact several times to several thousand contacts, and this is significantly less than the life-span of commercially practical usually.Therefore, one of MEMS ultimate challenge that industry is faced with NEMS is exactly the long-term reliability that contacts micro-structural in the adhesion face.
Some technology have been discussed in various documents have been solved two adhesions between the contact surface.These technology comprise surface texturizing (for example micro-patterning or laser patterning) reducing total adhesion through reducing effective contact area, and select specific material to reduce surface energy, to reduce the charged or contact potential difference between the element for making contact surface.
In addition, some existing documents have proposed in the zone around the interactional device, to insert the probability that " lubricant " reduces the inefficacy relevant with adhesion.Depend on residing temperature and pressure of properties of materials and lubricant or environment, such lubricant is solid or liquid condition normally.Generally speaking, term " solid " lubricant or " liquid " lubricant are the lubricants that under environmental condition (ambientconditions), is in solid or liquid condition, and said environmental condition is generally defined as room temperature and atmospheric pressure.Some prior art document descriptions be in the lubricant of " gas " state.These documents are summarized mixture of ingredients with term " gas phase lubricant ", and said composition comprises second composition of carrier gas (for example nitrogen) and gasification, and said second composition is solid or liquid under the temperature and pressure near environmental condition (for example STP).In most conventional is used, the temperature more much higher than room temperature with and than atmospheric pressure under the much lower condition, solid or fluid lubricant will remain on solid or liquid condition.
With another kind approach commonly used that adhesion between the interactional element resists mutually is that organic passivation layer (for example self assembled monolayer (SAM)) with low-surface-energy applies each interactional element.Apply with the organic passivation layer of low-surface-energy and to have caused hydrophobic surface, be used for reducing or eliminate capillary force, molecular link is made a concerted effort, and reduces electrostatic attraction in some cases.(one or more) material that is used for forming the SAM layer is a liquid under environmental condition usually.Usually, through device being immersed in the liquid that contains the composition that is used to form the SAM molecule, the self assembled monolayer coating is applied to the device of MEMS type.In some cases; Can be exposed to the gas that contains carrier gas through surface with device; Form the organic passivation layer (for example SAM coating) of low-surface-energy; Usually through carrier gas is bubbled (bubble) through container, carrying (entrain) in the said carrier gas has the composition that forms the SAM layer, and said container contains the composition of the formation SAM layer that is heated.
Be to use atomizing (nebulization) processing with the another kind approach commonly used that adhesion between the interactional element resists mutually; This handles the hydrodynamic lubrication system of using; Said hydrodynamic lubrication system produces " fog " or " spraying " of lubricant of lubricant, and the surface through interactional surface being exposed to the fine droplet that is suspended in the fluid lubricant in the carrier gas to the MEMS device is lubricated.US6,921,680 the 3 28th line description a kind of such processing, wherein put down in writing " crucial is around device example, the atomizing system is remained the even cloud and mist of lubricant ".The system of these types requires more step to keep the liquid drop concentration in the lubricant " fog " even, and this possibly be complicated and expensive.Make with lubricator that " fog " also requires the more processing time that device is lubricated, form the proper lubrication layer to guarantee all parts that " spraying " arrives device.
The example that is in the typical lubricants of solid or liquid under environmental condition and under the temperature far above ambient temperature can find in 930,367 the document such as U.S. Patent application No.6.The lubricant of these prior aries comprises and utilizes vapour deposition to handle and be deposited on dichlorodimethylsilane (" DDMS "), the octadecyl trichlorosilane (octadecyltrichlorsilane on each interactional element; " OTS "), perfluoro capryl trichlorosilane (perfluoroctyltrichlorsilane; " PFOTCS "), perfluoro decanoate (" PFDA "), perfluor decyltrichlorosilane (" FDTS "), PFPE (" PFPE ") and/or PFO base trichlorosilane (" FOTS "), for example atmospheric pressure chemical vapour deposition (APCVD), low-pressure chemical vapor deposition (LPCVD), plasma enhanced chemical vapor deposition (PECVD) or other similar deposition processes are handled in said vapour deposition.
The technology that on the surface of MEMS/NEMS element, forms the organic passivation layer of low-surface-energy is commonly referred to " gas phase is lubricated " in the art and applies.A critical defect utilizing the organic passivation layer (for example SAM coating) of low-surface-energy is the thickness (though having reported the coating that several monolayers are arranged already) that they have only a monolayer usually.Usually, it is very limited that the coating of these types available benefited from, because they are because the impact that interaction produced of each moving component or wearing and tearing and damage easily or displacement.This takes place in the MEMS device of contact surface (for example optical modulator and RF switch) is arranged inevitably, and said MEMS device frequent contact in use takes place and contact many times takes place during life of product.Do not adopting some modes to come to recover reliably or repair under the situation of impaired coating, adhesion will be reproduced inevitably, cause device failure.
Be used for impaired contact area, displacement take place or a kind of approach that the coating (Figure 1A) of decomposing is repaired is in the encapsulation 100 (comprisingsubstrate 102,lid 104 and seal 106) at the array place ofMEMS device 108, getter (getter) 110 to be set.Figure 1B illustrates a kind oftraditional encapsulation 120, and it comprises theMEMS device 108 and getter 110 of thehead space 124 that is positioned at encapsulation 120.Encapsulation 120 also comprisespackage substrate 128,window 126 and diaphragm rings 125.U.S. Patent application No.6,843,936 with U.S. Patent application No.6, further described this two kinds of structures respectively in 979,893.As previously mentioned, these traditional devices have adopted certain type reversible absorption getter kind of lubricant storage molecule in zeolite crystal or in the inner space of microtubule.In the design of these types, ingetter 110, keep the supply of lubricant, and discharging is lubricated required amounts of lubrication toMEMS device 108 in course of normal operation.But the getter or the deposit that increase reversible absorption keep fluid lubricant to increase the complexity of package dimension and encapsulation, and have increased step for the manufacturing processing, thereby have increased the overall manufacturing cost of cost of parts and MEMS or NEMS device.Therefore; Using these technology to form device generally needs many labour intensives and expensive treatment step, for example getter material is mixed, getter material is applied to the encapsulation that comprises device, getter material is solidified, getter material is regulated (conditioning) or activated (activate), then MEMS device and getter are sealed in the sealed package.
As previously mentioned, need in the prior art more reliably to come to provide antiblock lubricated especially also supplemental lubrication agent in use except the initial coating of with lubricator carrying out the MEMS/NEMS device to MEMS and NEMS with the approach that has more efficiency-cost ratio.
Summary of the invention
One embodiment of the present of invention have been set forth a kind of micro mechanical device assembly, comprising: one or more walls, and it forms processing region; Storage surface, it is arranged in the said processing region; First contact surface, it is arranged in the said processing region; Moving element, it is arranged in the said processing region and has second contact surface, and wherein, said second contact surface interacts with said first contact surface in the device course of work; First lubricant layer; It is arranged on the said storage surface; Wherein, said lubricant layer comprises a plurality of lubricant molecules that preferentially are bonded to said storage surface, and is suitable for reducing between said first contact surface and said second contact surface power relevant with adhesion.
Embodiments of the invention can also provide a kind of micro mechanical device assembly, comprising: one or more walls, and it forms processing region, and wherein, the part of a wall is formed by optically transparent material in said one or more walls; Treatment surface, it is arranged in the said processing region; Micro mechanical device, it is arranged in the said processing region, wherein; Said micro mechanical device comprises: first contact surface, and it is arranged in the said processing region, moving element; It has second contact surface and conductive region, electrode, and it is coupled to substrate; Power supply, it is suitable for providing with respect to the enough electrical bias of said conductive region so that said moving element with respect to said substrate deflection, makes said first contact surface and second contact surface interact to said electrode; First lubricant layer; It is arranged on the said treatment surface; Wherein, Said lubricant layer comprises a plurality of lubricant molecules that preferentially are bonded to said treatment surface, and each lubricant molecule comprises the lubricant part, and said lubricant partly is suitable for reducing between said first contact surface and said second contact surface power relevant with adhesion.
Embodiments of the invention can also provide a kind of micro mechanical device assembly, comprising: moving element, and it has first contact surface; Second contact surface, wherein, said movable member is linked to said second contact surface, and said first contact surface interacts with said second contact surface in the device course of work; Encapsulation piece, it has the one or more walls that form the working region, and wherein, a wall in said one or more walls has the treatment surface that is arranged in the said working region; First lubricant molecule, it is arranged on the said treatment surface, and wherein, said first lubricant molecule has the head group that is bonded to said treatment surface, and said first lubricant molecule is suitable under normal working temperature, discharging from said treatment surface.
Embodiments of the invention can also provide a kind of method of operation micromachined device; Comprise that the one or more electrodes to being arranged in the processing region apply bias voltage; Wherein, Said one or more electrodes are applied bias voltage makes the moving element and second contact surface with first contact surface interact; And wherein, one or more normal running conditions make lubricant molecule first surface from be arranged in said processing region in course of normal operation move to the space that forms between said first contact surface and said second contact surface, and said lubricant molecule has the head group that is suitable for said first surface bonding.
Embodiments of the invention can also provide a kind of method of operation micromachined device; Comprise: the one or more electrodes to being arranged in the processing region apply bias voltage; Wherein, said one or more electrodes being applied bias voltage makes the moving element and second contact surface with first contact surface interact; From sending the energy of an amount to said treatment surface with the said energy source that is included in the treatment surface thermal communication in the said processing region; Wherein, The a plurality of lubricant molecules that are arranged on the said treatment surface are suitable for when being exposed to the energy of said amount, breaking away from from said treatment surface, and move to the position between said first contact surface and said second contact surface.
Embodiments of the invention can also provide a kind of method of operation micromachined device, comprising: micro mechanical device is arranged in primary importance, and wherein, said micro mechanical device comprises: first contact surface, and it is arranged in the said processing region; Electrode, it is coupled to substrate; Speculum, it is connected to said substrate and has conductive region, reflexive mirror surface and second contact surface, and wherein, said second contact surface interacts with said first contact surface in the device course of work; Power supply, it is communicated with said conductive region and said electrode electricity; A plurality of lubricant molecules, each said lubricant molecule has the head group that is suitable for being bonded to treatment surface, and wherein, said treatment surface is to seal the part of one or more walls of said processing region; Light source is set, makes that the part by the light radiation of said light emitted is reflected by said mirror surface; With respect to said conductive region with said electrode bias to making said mirror motion to desired location and make said first contact surface and the interactional electromotive force of said second contact surface; Wherein, In the course of normal operation of said micro mechanical device, said a plurality of lubricant molecules are moved to the space that forms between said first contact surface and said second contact surface from said treatment surface.
Embodiments of the invention can also provide a kind of processing that is used to form the micro mechanical device assembly; Said processing comprises: micro mechanical device is arranged in the processing region, and said processing region is formed between one or more inner surfaces of one or more walls of encapsulation piece; In said one or more walls of said encapsulation piece, form fluid channel, wherein, said fluid channel is extended between the outer surface of one of one of said one or more inner surfaces and said one or more walls; Through formed fluid passage a plurality of lubricant molecules are delivered to said processing region, wherein, said a plurality of lubricant molecules have head group, and said head group is suitable for being bonded to the surface of one of said one or more walls.
Embodiments of the invention can also provide a kind of processing that is used to form the micro mechanical device assembly, and said processing comprises: form substrate and lid; Said substrate is bonded to said lid to form the processing region of sealing; Micro mechanical device is arranged in the said processing region that is formed by said substrate and said lid; After said substrate is bonded to said lid, first group of a plurality of lubricant molecule is delivered to said processing region; Wherein, Said first group of a plurality of lubricant molecule have the first head group, and the said first head group is suitable for being bonded on the surface of one of said one or more walls.
Embodiments of the invention can also provide a kind of processing that is used to form the micro mechanical device assembly; Said processing comprises: micro mechanical device is arranged in the processing region, and said processing region is formed between one or more inner surfaces of one or more walls of encapsulation piece; In one or more walls of said encapsulation piece, form fluid channel, wherein, said fluid channel is extended between the outer surface of one of one of said one or more inner surfaces and said one or more walls; First group of a plurality of lubricant molecule is delivered to said processing region, and wherein, said first group of a plurality of lubricant molecule have the head group on the surface that is suitable for being bonded to one of said one or more walls; Second group of a plurality of lubricant molecule is delivered to said processing region, and wherein, said second group of a plurality of lubricant molecule have the head group that is suitable for being bonded to said first group of a plurality of lubricant molecule stub area separately.
An advantage of disclosed micro mechanical device is a preferential lubriation material of arranging big deposit on each surface in device package, makes and can send a certain amount of " fresh " lubriation material to the location that possibly stick together.In one aspect, lubriation material is suitable for forming one or more volatile ingredients, and said composition can be to spread than traditional solid or the much higher speed of fluid lubricant.Higher diffusion rate makes lubricant to repair voluntarily, means that in the course of the work the contact surface of electromechanical device makes after contact area physically is shifted, and lubricant can move back to this zone rapidly.Therefore, lubricant can prevent the component failure relevant with adhesion more reliably than traditional solid or fluid lubricant.
Description of drawings
Can explain that below with understood in detail above-mentioned characteristic of the present invention, some embodiment are illustrated in the accompanying drawing with reference to embodiment more specifically to the present invention of above brief description.But should be noted that accompanying drawing only illustrates exemplary embodiments of the present invention, therefore should not think and limit its scope, because the present invention can adopt other equivalent execution modes.
Figure 1A indicative icon comprise the cutaway view of the prior art device package of getter;
Figure 1B indicative icon comprise the cutaway view of the prior art device package of getter;
Fig. 2 illustrates the cutaway view according to the device package assembly of an embodiment of the present invention;
Fig. 2 A indicative icon according to the cutaway view of individualreflection mirror assembly 101 of the present invention;
Fig. 2 B indicative icon be in the cutaway view of the individualreflection mirror assembly 101 of non-deflection state according to an embodiment of the present invention;
Fig. 2 C indicative icon be in the cutaway view of the individualreflection mirror assembly 101 of deflection state according to an embodiment of the present invention;
Fig. 3 A illustrates the amplification view according to the individualreflection mirror assembly 101 of an embodiment of the present invention;
Fig. 3 B illustrates the amplification view according to the individualreflection mirror assembly 101 of an embodiment of the present invention;
Fig. 4 illustrates the amplification view that has the individualreflection mirror assembly 101 of impaired coating according to an embodiment of the present invention;
Fig. 5 A illustrates the cutaway view according to the device package assembly of an embodiment of the present invention;
Fig. 5 B indicative icon according to the cutaway view of individualreflection mirror assembly 101 of the present invention;
Fig. 5 C indicative icon according to an embodiment of the present, the cutaway view on the surface in the device package;
Fig. 5 D indicative icon according to an embodiment of the present, the cutaway view on the surface in the device package;
Fig. 5 E indicative icon according to an embodiment of the present, the cutaway view on the surface in the device package;
Fig. 5 F indicative icon according to an embodiment of the present, the cutaway view on the surface in the device package;
Fig. 5 G indicative icon according to an embodiment of the present, the cutaway view on the surface in the device package;
Fig. 5 H indicative icon according to an embodiment of the present, the cutaway view on the surface in the device package;
Fig. 6 A illustrates the cutaway view according to the device package assembly of an embodiment of the present invention;
Fig. 6 B indicative icon according to an embodiment of the present, be in the cutaway view of the individualreflection mirror assembly 101 of deflection state;
Fig. 6 C indicative icon according to the cutaway view of individualreflection mirror assembly 101 of the present invention;
Fig. 6 D indicative icon according to an embodiment of the present, be in the cutaway view of the individualreflection mirror assembly 101 of deflection state;
Fig. 7 A illustrates the cutaway top view according to the device package assembly of an embodiment of the present invention;
Fig. 7 B illustrates according to an embodiment of the present, the enlarged drawing of partial sectional view shown in Fig. 7 A;
Fig. 7 C illustrates the cutaway top view according to the device package assembly of an embodiment of the present invention;
Fig. 7 D illustrates the cutaway top view according to the device package assembly of an embodiment of the present invention;
Fig. 8 A indicative icon according to the cutaway view of improvement pixel device of the present invention;
Fig. 8 B indicative icon according to an embodiment of the present, be in the cutaway view of the improvement pixel device of deflection state;
Fig. 8 C indicative icon according to the cutaway view of improvement of the present invention MEMS moving reflector device;
Fig. 8 D indicative icon according to an embodiment of the present, be in the cutaway view of the improvement MEMS moving reflector device of deflection state;
Fig. 9 A illustrates the cutaway view according to the device package assembly of an embodiment of the present invention;
Fig. 9 B illustrates the cutaway view according to the device package assembly of an embodiment of the present invention.
Embodiment
Embodiments of the invention relate generally to such device: this device has reduced the possibility of the adhesion that takes place between each moving component of electromechanical device, and has improved probable life owing to there is lubricant.Embodiments of the invention generally speaking also comprise the device with one or more surfaces or zone, and the method that forms this device, are furnished with the lubricant of certain volumes on said one or more surfaces or the zone.This volume is as the ready-made supply of " fresh " lubricant, to stick together between the interactional element that prevents device.The ready-made supply of " fresh " lubricant can also be used to replenishing the impaired lubricant (wearing and tearing, decomposition etc.) in contact surface place that sticks together usually.In a kind of example, aspects more of the present invention are particularly advantageous in makes and uses micro mechanical device (for example MEMS device, NEMS device or other similar calorifics or fluid device).In one embodiment; The lubricant of certain amount is by in preferential deposition each zone in device; Make " fresh " lubricant can spread or be transferred to ready-madely the Zone Full of processing region with gas phase or vapor phase, thereby so that the interaction of moving component is as far as possible little and the probability of the inefficacy that reduction is relevant with adhesion.In another kind of embodiment, lubricant in the desired zone of device, is made that the interaction of each moving component can be minimized in the device by your machine of car preferentially.In another kind of embodiment, two or more dissimilar lubricant molecules preferentially are deposited in the desired zone of device, thus a plurality of lubricants that provide the interaction of each moving component that makes device to reduce.It will be understood by those skilled in the art that terminology used here " lubricant " will be understood that expression is suitable for providing the material of lubricated, antiblock and/or abrasion resistant qualities.In addition, terminology used here " lubricant " has been summarized the lubricant that is in liquid, steam and/or gaseous state in work and the storage process of device.
The example system general picture
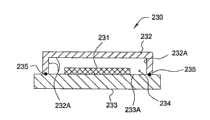
In order to make great efforts to prevent that pollutant effect MEMS or NEMS component life, these devices are encapsulated in the environment of keeping apart with external contamination thing, particle or the other materials that possibly impact the life-span of formed device usually.Fig. 2 A illustrates a kind of cutaway view of typicalMEMS device package 230, and this MEMS device package comprisesMEMS device 231, andMEMS device 231 is encapsulated in theprocessing region 234 that forms betweenlid 232 and the substrate 233.Usually;Lid 232 or other elements are bonded tosubstrate 233 withseal 235;Seal 235 is with air-tightness or non-bubble-tight modeencapsulation process zone 234, and thus, the element quilt in theprocessing region 234 is kept apart with causing the external contamination thing and the particle of interference to the use of device.
Fig. 2 B illustrates a kind of representative micro mechanical device that can in MEMS device 231 (Fig. 2 A), form, and with this micro mechanical device various embodiment of the present invention is described among the application.Device shown in Fig. 2 B schematically illustrates the cutaway view of a MEMS device, the individualreflection mirror assembly 101 that for example comprises in the spatial light modulator (SLM).Usually, the MEMS device comprises one or more moving components, said moving component in the device course of work with device in one or more surfaces come in contact or interact.The inner surface area of the MEMS/NEMS element of warp encapsulation can be divided into " contact surface " (for example surperficial 102B and 104A among Fig. 2 C) and " noncontact surface " (the for example surface of thetop surface 106A-106B of electrode,compliant member 107 and reflectingsurface 102A).Generally speaking, whole noncontact zones are than the regional big several magnitude of contact surface.It should be noted that; MEMS device shown in Fig. 2 B should not thought and by any way the described scope of invention of the application caused restriction; Because it will be understood by those skilled in the art that various embodiment described here can be used in other MEMS, NEMS, extensive actuator or transducer, perhaps stand in the analogous device of adhesion or other similar relevant issues.Although the application that various embodiment of the present invention uses MEMS or NEMS types of devices has been discussed in the discussion of hereinafter particularly, these configurations should not thought yet scope of the present invention has been caused restriction.
Generally speaking,single mirror assembly 101 can comprisespeculum 102,substrate 103 andcompliant member 107, andcompliant member 107 is connected tosubstrate 103 with speculum 102.Substrate 103 is typically provided with at least one electrode (element 106A or 106B) on thesurface 105 that is formed at substrate 103.Substrate 103 can be by in the stable substantially any suitable material manufacture of mechanical aspects, and can use common semiconductor processing techniques to form.In one aspect,substrate 103 is formed by dielectric material (for example silicon dioxide), and is handled according to the semiconductor processing techniques of standard.Electrode 106A, 106B can be by any material manufacture of conduction.In one aspect,electrode 106A, 106B are made by the metal on the surface that preferably is deposited onsubstrate 103 105 (for example aluminium, titanium).U.S. Patent application No.10/901 that submitted on July 28th, 2004, co-assigned has described such MEMS device in 706.
Speculum 102 comprises reflectingsurface 102A andmirror substrate 102B substantially.Reflectingsurface 102A goes up formation through metal level (for example aluminium or other suitable materials) being deposited on mirror substrate 102B.Speculum 102 is attached tosubstrate 103 by compliant member 107.In one aspect,compliant member 107 is cantilever springs, and it is suitable for bending in response to applied force, and after removing applied force, returns its original shape subsequently.In one embodiment,substrate 103 is by the first single piece of material manufacturing, andcompliant member 107 andmirror substrate 102B are by second single piece of material manufacturing, the for example monocrystalline silicon.As previously mentioned, any structure that in the course of work of device, makes the surface of an element (for example speculum 102) can contact the surface of another element (for example substrate 103) generally speaking all falls within the scope of the invention.For example, pivot, make another surperficial simple cantilever beam of an end in contact device of cantilever beam fall within the scope of the invention around hinge in response to applied force.
In one aspect, be formed with one or more optional landing pads (landing pad) (element 104A and 104B among Fig. 2 B) on thesurface 105 of substrate 103.The landing pad for example forms through the metal level that comprises aluminium, titanium nitride, tungsten or other suitable materials is deposited.In other structures, the landing pad can be by silicon (Si), polysilicon (poly-Si), silicon nitride (SiN), carborundum (SiC), diamond-like-carbon (DLC), copper (Cu), titanium (Ti) and/or other suitable material manufacture.
Fig. 2 C illustrates owing to apply electrostatic force FEAnd being in the individual reflection mirror assembly 101 of deformed state, this electrostatic force is between speculum 102 and electrode 106A, to apply voltage V with power supply 108AAnd produce.Shown in Fig. 2 C, usually hope landing pad (for example element 104A) is biased to the electromotive force identical with micro-reflector 102, to eliminate contact area with respect to the electrical breakdown of speculum 102 and electrostatic charge charge (electrical static charging).In the common course of work; Individual reflection mirror assembly 101 is activated; Make speculum 102 contact land pad 104A; Guaranteeing between speculum 102 and the substrate 103 obtaining required angle, thereby make the optical radiation " A " of incident leave the surface of speculum 102 along required direction " B " reflection.By applying voltage VAAnd make speculum 102 produce restoring force F because of the bending of compliant member 107 towards the deflection of electrode 106AR(for example moment).Restoring force FRSize limit the entity size of compliant member 107 and material behavior and the compliant member 107 suffered sizes of reversing substantially.Maximum restoring force FRUsually receive by applying maximum and can allow voltage VAThe electrostatic force F that can produceEThe restriction of the moment of torsion that is applied.In order to ensure contacting electrostatic force F between speculum 102 and the landing pad 104AEMust be greater than maximum restoring force FR
Along with the distance between speculum 102 and the landing pad 104A reduces, the interaction between the contact surface of 102B and 104A (and 104B) has produced the one or more stiction force F that act on the speculum 102 generallySAs stiction force FSEqualed or exceeded restoring force FRThe time, component failure has just taken place, because stoped as voltage VAThe electrostatic force that produces removed or when reducing speculum 102 move to different position (being released).Of the application's preamble, stiction force is the complex surfaces phenomenon, generally includes three main components.First composition is so-called " capillary force ", and this power is the generation at the interface between liquid and solid because the intermolecular force unbalance (for example Laplce's pressure reduction) at liquid surface place has produced the attraction that adheres to type.Capillary force in MEMS and the NEMS device interacts when usually occurring between the surface that liquid lamella is trapped in two contact elements.A typical case is the steam in the conventional environment.Second main component of stiction force is Van der Waals force, this power be atom or molecule each other very near the time molecular separating force on the basic quantum mechanics that produces.When the device element contacted with each other, because the existence of the atom of an element, the polarization that in the atom of second element, causes had produced Van der Waals force.For very flat structure (for example those structures in MEMS and the NEMS device), the stiction force of these types maybe be very remarkable owing to the size of effective contact area.The 3rd main component of stiction force is the electrostatic force that is produced by the Coulomb attraction between the electric charge that is absorbed in the interactional element.
Making a kind of scheme of the stiction force reduction that produces between the interactional element is to apply with the surface of organic coating (hereinafter being called " lubricant coating ") to interactional element.Fig. 3 A is the amplification side sectional view of the individualreflection mirror assembly 101 of deflection, and this assembly has applied organic layer (being lubricant coating) 301.Lubricant coating 301 has covered the interactive surfaces ofspeculum 102 and landing pad 104A.Should be noted that terminology used here " layer " will be understood that has described monolayer, and aspect thickness, has the set of the material of many molecules.Although Fig. 3 A illustrates on two interactive surfaces (forexample speculum 102 withlanding pad 104A) and arrangeslubricant coating 301, this structure should not thought the scope of invention described in the application is caused restriction.Therefore, generally speaking,lubricant coating 301 can be applied on the one or more surfaces in the interactive surfaces.
Shown in Fig. 3 A,lubricant coating 301 is used for (modify) modified on the surface ofspeculum 102 andlanding pad 104A, reducing their surface energies separately, thereby further reduces the possibility of the fault relevant with adhesion.Through addinglubricant coating 301 to contact surface, believe thatlubricant coating 301 can make these surfaces have more hydrophobicity, this has reduced the stiction force of capillary type.Also believe under the situation of suitably having selectedlubricant coating 301;Lubricant coating 301 can stop between the atom ofspeculum 102 andlanding pad 104A and produces Van der Waals force, and reduces the Coulomb attraction between the atom ofspeculum 102 andlanding pad 104A through the electrical potential difference between the surface that reduces these two elements.
Althoughlubricant coating 301 can reduce the inefficacy of adhesion type effectively; But the coating of these types has very limited probable life usually, because they are easily owing to the impact that interaction produced or the wearing and tearing of each motor element are damaged or are shifted.Fig. 3 B illustrates the enlarged drawing of the individualreflection mirror assembly 101 of deflection, and thelubricant coating 301 that this assembly has is owing to the interaction of moving component damages.Because each parts interaction repeatedly in the individualreflection mirror assembly 101 has formed the exposedregion 303 onlanding pad 104A and themirror substrate 102B in thelubricant coating 301 of damage.Stick together the easily inefficacy of type of exposed region 302 onlanding pad 104A and the mirror substrate 102B.This type coating lost efficacy and occurred in inevitably in the MEMS device (for example optical modulator), and said MEMS device receives frequent contact (for example 3000-5000 contact of per second) in the course of the work and during life of product, receives a large amount of contact (for example 1,000 hundred million contacts).Not adopting certain mode to recover reliably or repairing under the situation of the coating of damaging, can stick together inevitably, and cause component failure.
In one embodiment, come the failure area of repairing lubricant coating 301, or reduce the interaction between two contact surfaces of MEMS device with the lubricant molecule of one or more types.Refer again to Fig. 2 A-Fig. 2 C, in the MEMS device, the inner surface area of device package is usually than the big several magnitude of surface area of the contact area that forms between the moving component.The said inventive embodiment of the application has utilized the inner surface of device package (for example the MEMS device package 230) to store lubriation material, and this material is used for preventing the adhesion between the interactional element.The lubricant that stores on the inner surface can be to contact area as ready-made lubriation material supply.More particularly, the lubriation material that stores on the noncontact surface in the processing region 234 is used to store excessive lubricant molecule, and these molecules are discharged into along with the time in the processing region 234, with the lubricant material of repairing or additional contact area place damages.As shown in Figure 2, said inner surface area comprises the unused portion (not shown) of lid surface 232A, substrate surface 233A and/or MEMS device 231 substantially, and they contact with processing region 234.These inner surface are formed by the different surface material usually, for example the material of metal, dielectric material, glass, ceramic material and semiconductor type.
In one embodiment, lubricant molecule is by constituting withlubricant coating 301 material different, and is arranged on the inner surface area of device package, is used for the failure area oflubricant coating 301 is replenished and repairs, shown in Fig. 3 B.In another kind of embodiment, lubricant molecule is by constituting withlubricant coating 301 identical materials.The motion of lubricant molecule or migration are carried out through two kinds of conveyer mechanisms substantially.First kind of mechanism is diffusion into the surface mechanism, and wherein, lubricant molecule spreads on (one or more) inner surface of device, thus arrive destroy or the exposed contact region territory.In one aspect, lubricant molecule is selected as and on the surface oflubricant coating 301, has good diffusivity.Fig. 4 illustrates on the surface oflubricant coating 301 towards one group of lubrication molecule 131C (for example referring to lubricant molecule 131C) of the failure area migration of lubricant coating 301.Generally speaking, the motion of lubricant molecule or migration are determined by striking gram first law:
J=-D(dC/dx)
Wherein, J is the flow (atom/m of lubricant molecule2S), D is diffusion coefficient (m2/ s), C is concentration (atom/m3), and X is the length (m) along the direction of motion.It is thus clear that the destruction of the concentration of lubricant molecule and device or exposed region are compared greatly more in the noncontact surface area of device package, lubricant molecule is just high more towards the average diffusion or the migration rate of destroyed area.
The lubricant molecule 131D that stores in other zones that second kind of mechanism is device package 203 is towards the vapor phase or the gas-migration of the destroyed area oflubricant coating 301, like the example of the lubricant molecule among Fig. 4 131.In one aspect, to not selecting of device package, make it from these zone disengagings and/or release and form entering Fig. 2 A, to surround in theprocessing region 234 of MEMS element with steam or gas with the lubricant molecule that stores in the zone.In the course of work of device; Lubricant molecule 131D reaches balanced dividing potential drop inprocessing region 234; Arrive between the destroyed area or interactional surface oflubricant coating 301, shown in the lubricant molecule 131B among Fig. 4 with steam or gaseous state then.
Therefore; Arrange that on the noncontact surface of device lubricant molecule is more favourable than local storage device scheme described in the prior (for example traditional zeolite, microtubule or other getter encapsulation schemes); Because mainly depend on second kind of mechanism, i.e. vapor from the getter conveyor lubricant molecule of long distance.
Therefore; Because these two kinds of conveyer mechanisms help the accumulation of lubricant layer easily; Reduced the interaction of the MEMS element of motion; So the action that the exposed region of MEMS device is carried out " fixing " is generically and collectively referred to as lubricant layer " replenishing " hereinafter, the lubricant that moves through any conveyer mechanism is called " mobile lubricant " (for examplemobile lubricant 131).Generally speaking, in device package, store the supplemental lubrication agent molecule of q.s, made them can prevent the inefficacy of adhesion type at interaction zone place of the whole life MEMS device of product.
In one embodiment; The lubricant molecule that stores on the noncontact surface ofprocessing region 234 comprises the long-chain organic molecule material; It has suitable sense head end (functional head-group), and said sense head end is selected so that the inner surface ofprocessing region 234 is can lubricated agent molecule saturated fully.In such structure, organic molecule can be selected and be used on the required surface of device to form single monolayer particularly.In one aspect, the organic molecule of monolayer coating is selected because of its affinity, withprocessing region 234 in required exposed material bonding rather than with himself or other similar molecular linkages.In one embodiment; In normal work period; The organic molecule that is deposited breaks away from or release from (one or more) noncontact surface to all surfaces ofprocessing region 234, thereby so that the interaction of motor element is as far as possible little and the probability of the inefficacy that reduction is relevant with adhesion.
Through reducing the wear extent that lubricant coating receives in the course of the work, lubricant molecule can be used for strengthening the life-span of the MEMS device of solid with variation or hydrodynamic lubrication coating.In one aspect; Lubricant molecule can be rolled into a ball the form accumulation of 131B with lubricant molecule; The said lubricant molecule 131B of group has further reduced the possibility of the inefficacy relevant with adhesion as " buffering area " or " buffer " betweenspeculum 102 and the landing pad 104A.Lubricant can be owing to have the HMW (large-size of lubricant molecule for example>100amu) as the ability of " buffering area " or " buffer " between the interactive surfaces.Even without forming adsorption layer, the damping characteristics of lubricant also can exist.In yet another aspect, mobile lubricant can also form a plurality of absorbed layers, and these layers replenish the lubricated/antiblock/abrasion resistant qualities of lubricant or other additional lubrication materials.
The lubricant deposit
Selfreparing or recovery for the exposed region of lubricant coating on the contact surface of realizing the MEMS device; The too much lubricant molecule that q.s need be arranged in device package prevents the whole life period inefficacy relevant with adhesion of MEMS device to guarantee enough " fresh " lubricants.In order to address this problem, traditional device adopts certain type reversible absorption getter, for example U.S. Patent application No.6 usually; 843,936 with U.S. Patent application No.6,979; Such in 893, thus in the internal volume of zeolite crystal or microtubule the kind of lubricant storage molecule.But as previously mentioned, increase reversible absorption getter and keep fluid lubricant to increase package dimension and encapsulation complexity, and increased step, thereby improved the overall manufacturing cost of cost of parts and MEMS or NEMS device to manufacturing process.Therefore; Form to use these technological devices generally to need a large amount of labour intensives and expensive treatment step, for example getter material is mixed, getter material is applied to the encapsulation that comprises device, getter material is solidified, getter material is regulated or activated, then MEMS device and getter is sealed in the sealed package.
In order to address these problems, embodiments of the invention utilize the noncontact surf zone in the device package to store excessive molecule, and these molecules can discharge with repairing in the encapsulation of sealing or recover the impaired molecule in each contact area place.Even in little encapsulation, total encapsulation and the inner surface area of MEMS/NEMS element usually also than contact surface amass big several magnitude.
Fig. 5 A illustrates a kind of embodiment of the present invention, and wherein, on each surface or zone of formed device package 552, this device package 552 comprises the array of the individual reflection mirror assembly 101 that is arranged in processing region 234 to lubricant layer 401 by preferential deposition.As shown in the figure, processing region 234 is formed between the assembly of lid 561, and assembly of lid 561 usefulness seal members 562 are connected to substrate 553.Seal member 562 can be used between assembly of lid 561 and substrate 553, forming bubble-tight or non-bubble-tight sealing.Usually; In the processing that forms device package 552; Before assembly of lid 561 is connected to substrate 553 hermetically, among or afterwards, carry out one or more treatment steps and come preferential deposition lubricant layer 401 on the one or more surfaces in processing region 234.In formed device package 552, advantageously use the zone that comprises lubricant layer 401 that the ready-made supply of moving lubriation material is provided, so that the impaired lubricant of contact location is repaired.Usually, can be used for that the conventional seals that assembly of lid 561 is bonded to substrate 553 is handled (for example anode linkage, glass dust bonding and/or eutectic bonding) needs MEMS device, lubricant material and other device elements to be heated to the temperature between about 350 ℃ to about 450 ℃.These high bonding temperatures have seriously limited lubricant type available in the device package, also cause the decomposition of lubricant after long term exposure.Submitted on July 28th, 2004 and the open No.20060024919 of U.S. Patent application of co-assigned and submitted on December 23rd, 2004 and the open No.20060141745 of U.S. Patent application of co-assigned in further described the example of one or more methods that can be used for forming sealing MEMS device, apply for that mode is incorporated into this by reference for these two.
In one embodiment, the lubricant material of each the coated one or more types in surface in theprocessing region 234, said material selectivity ground forms the strong bond merging to contact surface noncontact surface or storage surface formation weak bond is closed.The lubricant molecule that noncontact surface weak bond is closed is suitable in the course of normal operation of device spreading apart and/or discharging (for example lubricant 131C and the 131D Fig. 4) from these storage surfaces, makes them can be used as the mobile lubricant material.
Big noncontact (do not utilize or underuse) zone is used to form the ready-made deposit of lubricant in the device package 552, and it comprises the lubricant material of high concentration.In this structure, interact along with the decomposition of lubricant material or with other elements in the processing region 234, formed (one or more) deposit is discharged into lubricant material in the processing region 234.In one aspect, lubricant layer 401 can be deposited on each zone of device package, thereby also prevents the inefficacy relevant with adhesion with the interaction that prevents each element.Embodiment described in the application has reduced the complexity of formed device package and device package processing, because they need not be arranged in outer member (getter material that for example contains lubricant) in the processing region of device package in manufacture process.Also reduced the number of element in the device package in addition.Therefore, can reduce to produce the cost of this device package greatly.Through the outer member (for example getter material) and the motor element of formed device package or the possibility that the interaction element comes in contact that reduce to place processing region in the course of the work, the embodiment described in the application has also improved device yield and device reliability.Embodiments of the invention also make formed surround the sealing of MEMS device after, lubricant can be placed in the device package, thereby makes that being exposed to the mobile lubricant that high temperature causes in the encapsulation process process decomposes as far as possible little.
Shown in Fig. 5 A, can be spatial light modulator (SLM) devices from thedevice package 552 that various embodiment described in the application are benefited.In a kind of example; The SLM device comprisessubstrate 553 and assembly oflid 561; Support (standoff) theelement 561B that assembly oflid 561 comprises optical clear zone 561A and processed by suitable material (for example silicon), said optical clear zone 561A by the display level glass that has ARC (for exampleEagle 2000TM) make.With reference to Fig. 2 A and Fig. 5 A, the surface ofspeculum 102A,landing pad 104A andelectrode 106A, 106B are formed by metal usually or comprise metal, and said metal is aluminium for example.Usually, the remaining surface of substrate (the forexample surface 553 of thesurface 105 of Fig. 2 A and Fig. 5 A) comprises silicon dioxide (SiO2), the back side ofspeculum 102B can be the material of silicon (Si) or other and landing pad dissimilar (dissimilar).
Materials variances in each zone of device package makes applies identical or different lubricant molecule can for these surface selectivity ground, and said lubricant molecule has required binding intensity to these zones of device.Fig. 5 B illustrates a kind of example, and wherein, thebackside surface 102B of speculum andlanding pad 104A, 104B are coated withlubricant layer 401, and lubricant layer forms strong key so that better contact and mar proof to be provided to these surfaces in the device use.Remaining noncontact surface (or storage surface) is coated with has the lubricant molecule that closes intensity than weak bond; So that the lubricant molecule of certain percentage can break away from from the surface and be discharged into theprocessing region 234 of device package in course of normal operation, and as mobile lubricant 131.Should be noted that formeddevice package 552 can comprise a plurality of different lubricant molecules, (one or more) described in Fig. 5 A-Fig. 5 B structure should not thought the scope of the present invention that limited by any way.
Optionally applying lubricant molecule on each surface in device package can accomplish through following manner: select and synthesize have required functional group in the one or both ends of the lubricant molecule long-chain organic molecule lubricant of (for example head group and afterbody group).The functional group of long-chain organic molecule can optionally react with surface (being with or without under the situation of catalyst), in device package, forms required bond strength.Further described in the following list of references form and the conventional method of synthetic lubricant molecule with required head group and by reference mode be incorporated into this: " An introduction toultrathin organic films from Langmuir-Blodgett to Self-Assembly "; Ulman; Academic press 1991; And " Self-Assembled Monolayer of Thiolates onMetals as a Form of Nanotechnology ", J.C.Love etc., Chem Rev.105; (1103-1169), 2005.
Shown in Fig. 5 C, the head of lubricant molecule 404 group 415 can be chosen to preferential and surperficial 410 bondings, and forms the layer of lubricant molecule 404, and this layer has appointment bond strength (or stability) through head group 415 to surface 410.In one aspect, lubricant molecule 404 has the joint of long-chain organic molecule 416, and this joint is used to further help the lubricated of MEMS element.In a kind of example, head group 415 is to have silane (SiH3), trichlorosilane (SiCl3) or (RsiX for example of oxosilane (oxysilane) head group3, X=H wherein, Cl, OCH2CH3) fluorocarbon or hydrocarbon chain, it forms the monolayer coating on the surface of device package, the surface of said device package is SiO for example2, tin indium oxide (ITO) and/or titanium dioxide (TiO2) surface.In another kind of example, lubricant molecule is fluorocarbon or the hydrocarbon chain with carboxyl head group (COOH), itself and metal (Al for example, Ni Ti) reacts with siliceous surface, even this surface has thin oxide own well.In one aspect; The organic molecule 416 that is attached to head group 415 is fluorocarbon (for example perfluocarbon) or hydrocarbon (for example alkane) molecule, and said molecule is being attached to the afterbody (tail) (seeing Fig. 5 C) that can have outside the surface is pointed at surperficial 410 o'clock through head group 415.In one aspect, lubricant layer 401 (Fig. 5 C) is confined to the organic coating of single monolayer voluntarily, and this layer is not attached to the functional group of organic molecule 416 tail ends.In a kind of example, head group can comprise dimethyl stearyl silicon chloride (C18H37Si (CH3)2Cl) or phosphoric acid octadecane dimethyl ester (C18H37PO (OH)2), its can with metal oxide layer (titanium oxide (TiO for examplex)) surface formation Direct Bonding.
In one embodiment; Lubriation material is the long-chain organic molecule that comprises link molecule or molecule link agent (linker); It can be designed (engineer) and be the end group of lubriation material, thereby gives other long-chains organic lubrication molecule at the bonding position, makes to form a plurality of lubriation material layers.The ability that lubricant molecule links each other makes can form laminated coating, thereby can in encapsulation, store more lubricant molecule.In one embodiment, shown in Fig. 5 D,lubricant layer 401 comprises a plurality of layers of organic molecule, and wherein, the tail end oflubricant molecule 402 is connected to as drawing the head end ofmachine molecule 403 by link agent 407.When the end oflubricant molecule 402 407A of group rolls into a ball the second layer thatagent 407 is convenient to form lubricant molecule that links that forms when 407B reacts with the head of lubricant molecule 403.The processing that increases the layer oflubricant molecule 403 can be repeated, to obtain requisite number purpose lubrication molecule layer.
In one aspect;Lubricant layer 401 hasorganic molecule 406 andhead group 405 and the 407A of afterbody group;Organic molecule 406 is fluorocarbon (for example perfluocarbon) or hydrocarbon (for example alkane) molecule, and head group and afterbody group are the (SiX for example of siloyl group functional group3, wherein X=H, Cl or CH2CH3).The 407A of the afterbody of groundfloor lubricant molecule 402 group and the head of secondlayer lubricant molecule 403 are rolled into a ball bonding between the 407B and can be comprised silica and link key (Si-O-Si).The siloyl group functional group of being discussed among the application should not think limitation of the scope of the invention because can synthesize many functional groups, and can design various link agent, to satisfy the concrete application requirements of MEMS device.
Refer again to Fig. 5 C, in one embodiment, be with or without under the situation of catalyst, the head group of lubricant molecule one end forms key with the surface in the MEMS device package.The byproduct that between the surface oflubricant molecule 404 and MEMS device package, forms the reaction of key can be a volatile particles, and these particles are drawn out of or stay in the device package in the process of deposition lubricant layer on can each surface in device package.Therefore, importantly select functional group so that this byproduct does not influence the probable life or the performance of device.Usually, utilize traditional chemical vapor deposition (CVD), molecular beam epitaxy (MBE) or liquid spin coating class depositing operation, lubricant molecule is deposited on one or more surfaces of device.
In one aspect; Hope to select lubricant molecule (for example perfluocarbon or hydrocarbon); This molecule is bonded directly to the surface except head group, also has the backbone that between adjacent molecule, shows significant Van der Waals force, obtains high-sequential and compact arranged monolayer.Usually, the number of C-F in Van der Waals force and the long-chain molecule structure or C-H fragment is proportional.The interaction of these fragments has increased the total bond strength of lubricant molecule.
Referring now to Fig. 5 E, in another kind of embodiment, suitably select the functional group in thehead group 405, cause crosslinked (for example the forming chemical bond 417) that be adjacent lubricant molecule 404.Crosslinked orchemical bond 417 helps to produceorderly lubricant layer 401, and increases the bond strength of lubricant molecule to the surface that deposits this molecule.
In another embodiment, form chemical bond 418, at the crosslinked lubricant molecule of link agent 407 location shown in Fig. 5 F.In another embodiment, near the zone of head group 405, form chemical bond 417, and near the link agent zone 407 of lubricant molecule, form chemical bond 418, shown in Fig. 5 G.Crosslinking functionality can tend to make them to be bonded together when substrate surface breaks away from lubricant molecule.Therefore, lubricant molecule to the overall bond strength on surface by the Van der Waals of the intensity of cross-bond, lubricant molecule interact, head group controls the bond strength of the link agent location of the bond strength on the surface of bonding with it and/or molecule.Usually, bond strength can since lubricant molecule structure (especially chain length), head group and afterbody roll into a ball used functional group's type and change with the material on the surface of these bondings.Through the type of formed key and cross-bond being made amendment or regulating, can design lubricant molecule to be strongly bound to contact area and weak bond is incorporated into the storage area.Should be noted that lubricant molecule contained in given working temperature lower treatment plot territory 234 equilibrium partial pressure can through suitable selection head group or afterbody group, or the crosslinking degree of regulating between the adjacent lubricant molecule control.At metal oxide surface (MOx) on have a lubricant molecule of different bond strengths a kind of example be perfluor dimethyl siloxane (Si (CH2)2C6F13), the key of its formation compares SiC8H17Much better than.The size of bond strength and molecule discharge residing temperature from the surface relevant.Si (CH2)2C6F13Lubricant molecule discharges from titania surface in about 390 ℃ temperature, and SiC8H17Discharge in about 300 ℃ temperature.In another kind of example, believe C18H37Molecule is from titania surface (TiO-C for example18H37) rate of release than (CH2)2C6F13From similar surfaces (TiO-(CH for example2)2C6F13) the rate of release Senior Three doubly.
A kind of example that can be used for the head group of crosslinked organic coating is C18H37SiX3(X=H, Cl, OCH3).Believe as this head group and metal oxide surface (titanium dioxide (TiO for example2)) when reacting, adjacent lubricant molecule forms cross-bond (being the Si-O-Si key), also forms silicon metal oxide key (being the Si-O-Ti key) simultaneously.When rolling into a ball as end/head, also can take place similarly crosslinked in link agent place with this functional group.
Refer again to Fig. 5 D, in one embodiment, the bond strength of two adjacent lubricant molecule layer bindings linkagent 407 together can be adjusted through selectingafterbody 407A of group and the 407B of head group.In one embodiment, make wittingly between the 407B of 407A of afterbody group and head group the key that linksagent 407 places than the binding intensity on 405 pairs ofsurfaces 410 of head group more a little less than, the bond fission that makes the key oflink agent 407 positions roll into aball 405 places than head is Zao.In one aspect,link agent 407 keys are selected as the course of normal operation cleaved that makes it at device, therebylubricant molecule 408 can be discharged in theprocessing region 234 ofdevice 552, enable asmobile lubricant 131 shown in Figure 4.In the case,link group 407 can break away from fromlayer 402 when being exposed to working temperature or other radiation withlubricant molecule 408, thereby can spread and/or discharge to form lubricant material.
Fig. 5 H illustrates the cutaway view oflower surface 555 of the transparent region 561A of Fig. 5 A, is furnished withlubricant layer 401 on this surface.In this structure,head group 405 is suitable for preferentially being bonded to the material of the surface of transparent region 561A, for example glass material.In one aspect; Whenlubricant molecule 404 is exposed to external radiation (for example light radiation " A "); When for example being exposed to the signal from the electromagnetic radiation source in the SLM system;Layer 403 breaks away to formmobile lubricant 131 fromlayer 402, and for example above-mentioned lubricant 131C or 131D, said mobile lubricant can easily be diffused near each element and before to reduce the inefficacy of adhesion type.In addition, in the course of work of device, volatile ingredient reaches equilibrium partial pressure in processing region.Should be noted that sent atlink group 407 places the energy of the bond fission betweenlayer 403 and thelayer 402 can be sent with various forms, for example electromagnetic radiation perhaps places device and lubricant molecule temperature required.
The lubricant characteristic
Generally speaking, exemplary lubricant material (can comprise lubricant molecule 404) has in the following properties one or multinomial.At first, lubricant material can have high adsorption coefficient (be big physisorption can or chemisorption can), make the exposed surface of lubricant covering device, thereby in the device course of work, reduce the direct interaction between the contact element surface.The second, lubricant material has low-surface-energy on placing the interaction element surface of device the time, and this has reduced when making element surperficial closer to each other in the device course of work power relevant with adhesion between the element.The 3rd, lubricant material can have good lubrication property, to reduce the frictional force between the contact surface.The 4th; Lubricant material can have lubricant part (lubricant part), and the lubricant part has low viscosity to reduce the decelerative force (retarding force) that possibly cause adverse effect in the course of the work to the dynamic motion of device element when being in gas phase or vapor phase.The 5th, lubricant material should not can cause chemical attack or reaction with it to the material of each element of making micro mechanical device.The 6th, lubricant material is repelled the stiction force of water (for example hydrophobic) with the capillary type that produces between the surface that reduces interactional element usually.The 7th, lubricant material or its part exist with the form of gas or steam under the standard temperature and pressure (STP) condition.The 8th, lubricant material or its part normal temperature be higher than that the form with gas or steam exists under the atmospheric pressure.The 9th, lubricant material can have the lubricant part, and this lubricant part form with gas or steam under normal temperature and pressure below atmospheric pressure exists.The tenth, lubricant material can have the lubricant part, this lubricant part its be introduced under the condition of the element that will lubricate the form with gas or steam exist.The 11, lubricant material can have the lubricant part, this lubricant part under the condition of work of the element that will lubricate the form with gas or steam exist.The 12, lubricant material can have the lubricant part, and this lubricant part form with gas or steam when element is in non-standard condition of work (for example temperature or pressure is not in expected range) exists.The 13, lubricant material can have the lubricant part, this lubricant part under standard temperature and pressure (STP) on element cambium layer.The 14, lubricant material can have the lubricant part, and this lubricant part is cambium layer on element in normal working conditions.The 15, lubricant material can have the lubricant part, this lubricant part under non-standard condition of work on element cambium layer.The 16, lubricant material can be repaired the thin layer on the element in normal working conditions.The 17, lubricant material is at the thin layer of repairing under the non-standard condition of work of element on the element.Admissible other factors are that whether lubricant is nontoxic and whether lubricant has low material cost when selecting the proper lubrication agent material.In yet another aspect, a kind of exemplary lubricants material also can be nonpolar, and this tends to alleviate the Van der Waals class stiction force that forms between the surface of interactional element.
Be used in the structure of optics (for example digital spatial light modulator) in lubricant material; Lubricant material can show following bells and whistles: (1) lubricant can not absorb the wavelength of the light radiation of incident or reflection significantly; (2) lubricant can not fluoresce owing to being exposed to the incident light radiation, and (3) lubricant can be owing to the existence of incident or reflected radiation (for example UV wavelength) is decomposed.
Be used in some structures in the micro mechanical device in lubricant material, lubricant material can show following additional electrical characteristic: (1) lubricant material can ionization in up to the electric field of about 300 volts/μ m; And (2) lubricant material has good electrical insulation characteristics (for example high-k or permittivity).In one aspect,lubricant molecule 404 is selected as and makes the lubricant oflubricant molecule 404 partly have than the higher dielectric constant of representative gases used in the conventional MEMS element (for example nitrogen, air, argon, helium or its combination).Thelubricant molecule 404 that use has the lubricant part of high-k more can be favourable, because electric capacity that it can allow circuit and the maximum bias voltage V that applies of can allowingAIncrease, thereby and allow maximum restoring force FRIncrease.Note capacitor C=ε0εrA/d, wherein ε0=permittivity of free space (constant), εrThe dielectric constant of=lubricant, the area of A=electrode, d=distance between electrodes.As previously mentioned, throughcompliant member 107 being designed again to increase restoring force FR, the possibility of the problem that sticks together will reduce, because need bigger stiction force just can cause component failure.
Lubricant applying method and device architecture
Fig. 6 A-Fig. 6 D schematically illustrates the different phase in its useful life, is in the cutaway view of the single MEMS device (for example single mirror assembly 101) in the device package 502.These accompanying drawings illustrate impaired lubricant coating 301 can be how owing to using mobile lubricant 131 to receive " treatment "; Said mobile lubricant 131 is formed by the lubricant of lubricant molecule (not shown) part or its part, and said lubricant molecule is arranged in the lubricant layer 401 on the surface 501 of device package 502.Fig. 6 A illustrates the cutaway view of individual reflection mirror assembly 101, and this mirror assembly has in processing region 513 and is deposited on the continuous lubricant coating 301 on the whole exposed surface and is arranged in the mobile lubricant 131 around it.How Fig. 6 B illustrates lubricant coating in the course of the work 301 owing to the interaction of element 102 with 104A is damaged.Especially, lubricant coating 301 maybe be because the contact between the interactive surfaces be shifted or damages, and this possibly be left the exposed region of the surface below shown in regional " G " among Fig. 6 C for example.Also show among Fig. 6 C and be in the not cutaway view of the individual reflection mirror assembly 101 of deflection state; Wherein, the impaired part of lubricant coating 301 is owing to the absorption of the mobile lubricant 131 in the exposed region " G " (the for example lubricant part of lubricant molecule 404) receives " treatment ".Fig. 6 D illustrates mobile lubricant 131 and how to reduce the interaction between element 102 and the 104A through the absorption or the buffering effect of lubricant in exposed region " G ".In addition, prolong through the probable life that makes the lubricant coating 301 on the interaction zone that is arranged in individual reflection mirror assembly 101, absorption or buffering effect have increased the life-span of individual reflection mirror assembly 101.
With reference to Fig. 6 A; In another kind of embodiment;Stratie 611 be bonded todevice package 502 do not usezone 615 inner or its surperficial on, contained lubricant molecule can preferentially discharge inheating element 611 tops or theadjacent lubricant coating 301 to help.Be coupled to thecontroller 613 ofpower supply 612 through utilization, whereinpower supply 612 is communicated with embeddedheating element 611, andheating element 611 tops or near lubricant molecule can preferentially be discharged in theprocessing region 513.
Lubricant is sent and bonding process
In order the mobile lubricant molecule to be delivered to each contact and the noncontact surface in the MEMS device package 130, can in MEMS encapsulation process process or after the MEMS encapsulation process, carry out one or more lubricant deposition techniques.Usually hope forming device package after, lubricant to be delivered to processing region (the forexample label 234 among Fig. 2 A), to prevent lubricant molecule because the high temperature of common MEMS element and deterioration in the processing of MEMS device package.
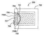
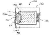
Fig. 7 A illustrates the vertical view of MEMS device package 230, and this MEMS device package comprises lubricant raceway groove 701, and this raceway groove is used for after forming device package mobile lubricant is delivered to the processing region 733 of MEMS device package 203.MEMS device package 230 comprises the MEMS device 731 that is arranged in processing region 733.The partial sectional view of Fig. 7 A has been given prominence to the lubricant raceway groove 701 that forms in the MEMS device package 130 shown in Fig. 2 A and Fig. 5 A.Fig. 7 B illustrates the enlarged drawing of lubricant raceway groove 701 shown in Fig. 7 A.Lubricant raceway groove 701 can be formed in any wall of those walls of sealing processing region 733.Patterning, photoetching and the material of lubricant raceway groove 701 routines capable of using removes technology (for example wet etching, dry etching, laser ablation) and forms.In one embodiment, shown in Fig. 7 A and Fig. 7 B, lubricant raceway groove 701 is formed in the wall 735.Lubricant raceway groove 701 extends to inner surface 735B from the outer surface 735A of one of those walls of having sealed processing region 733 substantially.In order to prevent that pollutant or particulate from getting into processing region 733 through lubricant raceway groove 701 from external environment condition, on raceway groove inlet 702, cap 704 is set usually.Cap 704 can be polymer (for example epoxy resin or a silicone), also can be other solid materials that join outer surface 735A with the conventional seals technology to.The U.S. Patent application No.11/538 of the co-assigned that on October 2nd, 2006 submitted to; Further described in 033 [MIRA 0008] and formed the equipment of the MEMS device package that contains the lubricant raceway groove and the example of method; This lubricant raceway groove can be used for mobile lubricant is delivered to processing region, and the full content of this application mode by reference is incorporated into this.
Lubricant raceway groove 701 is suitable for holding required lubricant material amount (not shown), and this lubricant material is evaporated along with the time or is diffused in the processing region 733.The speed that lubricant material is moved in processing region is through the geometrical property of lubricant raceway groove 701, the type of lubriation material (the for example molecular weight of lubricant), lubricant material the bond strength (for example physisorption or chemisorption) on processing region surface, lubricant to be set the pressure of contained volume in the temperature of the capillary force that surface tension produced on the surface in the raceway groove, lubricant and the processing region 733.With reference to Fig. 7 B, the volume of lubricant raceway groove 701 is limited the sectional area that formed length multiply by lubricant raceway groove 701.The length of lubricant raceway groove 701 is the length of the raceway groove of extension from outer surface 735A to inner surface 735B, for example the length sum of Segment A, B and C shown in Fig. 7 B.In one aspect, the sectional area (not shown) is limited the degree of depth (not shown) and the width W of the lubricant raceway groove 701 that in one of wall of having sealed processing region 733, forms.In one embodiment, the width W of lubricant raceway groove 701 is between about 10 microns (μ m) and about 800 μ m, and the degree of depth is between about 10 microns (μ m) and about 200 μ m.In one embodiment, lubricant raceway groove 701 is suitable for holding the about 0.1 lubricant volume received between liter (nl) and the about 1000nl.Square or rectangle are not necessarily wanted in the cross section of lubricant raceway groove 701, can be any desired shape under the situation that does not break away from base region of the present invention.Usually, in lubricant raceway groove 701, store the repairing lubricant molecule of q.s, making has enough lubricant molecules to use, with the stick together inefficacy of type of the interaction zone place that in the whole life cycle of product, prevents the MEMS device.
Substantially, the MEMS device package can be formed with one or morelubricant raceway grooves 701 in one or more zones of formed device.Each formed raceway groove can hold different mobile lubricants, and said mobile lubricant can be used for prolonging the life-span of formed MEMS device.Fig. 7 C illustrates theMEMS device package 230 that comprises two lubricant raceway groove 701A, 701B, and the mobile lubricant (being label 705A and 705B) that is furnished with certain volumes in each lubricant raceway groove is to provide the ready-made supply of one or more lubricants to processing region 733.In the course of normal operation ofMEMS device 731, the molecule of lubricant material tends to move to the All Ranges in the processing region 733.The continuous migration of mobile lubricant 705A, 705B helps preventing two contact area place inefficacies relevant with adhesion between the interactional MEMS element.In the course of work of device; Along with lubricant molecule is separated and/or is adsorbed onto on other surfaces in theprocessing region 733 in contact area punishment; The lubricant molecule of " fresh " has replaced lubricant molecule that decompose or absorption, thereby makes the lubricant of deposition in thelubricant raceway groove 701 can be used as the lubricant deposit.
In one embodiment, hope the pump (not shown) is linked to injection port 702 (Fig. 7 A), make it to be used for emptyingprocess zone 733 to remove one or more mobile lubricants and/or the diluent (dilutant) that wherein holds.In the case, pump can be used for processing region is emptied to enough pressure, thereby the lubricant evaporation is also cleared away from device package.In another kind of embodiment; Possibly hope the gas source (not shown) is linked to an injection port (the for example label 701A among Fig. 7 C); Remove cap (the forexample label 704 of Fig. 7 C) from second injection port (the for example label 701B Fig. 7 C) then, make the gas of sending to processing region from gas source can be used for clearing away the lubricant material of any that used or deterioration.Under any situation, use said method, the technology of these types can be used for removing lubricant material old and/or deterioration, makes new lubricant material can be added to processing region to prolong the life-span of MEMS device.
In a kind of embodiment shown in Fig. 7 D; The size of lubricant raceway groove is selected as and makes fluid lubricant cause the position of lubricant material outside MEMS device package 230 to be drawn into the lubricant raceway groove 701 to the surface tension of lubricant raceway groove 701, is drawn into then in the processing region 733.In this way, the lubricant raceway groove is as liquid injection system, and this system makes the user can utilize (one or more) capillary force of generation when lubricant contacts with the wall of lubricant raceway groove, and the lubricant material 705 of certain amount is delivered in the processing region 733.In a kind of example, the width W of lubricant raceway groove 701 is between 100 microns (μ m) and about 600 μ m, and the degree of depth is between about 100 microns (μ m) ± 50 μ m.In use, (one or more) capillary force can be used for sending the lubricant material of certain amount little or bigger than the volume of raceway groove 701.In this structure; Can send two kinds or more kinds of different lubricant of different volumes through same lubricant raceway groove 701; Promptly at first transmit one type lubricant, and in step subsequently, another kind of lubricant is remained in the same lubricant raceway groove through this raceway groove.In one embodiment, be delivered in the processing region 733 in order to ensure accurate lubricant material amount, lubricant material is diluted in the solvent to form mixture, and this mixture is injected in the processing region through lubricant raceway groove 701 subsequently.In some cases, possibly hope through processing region being emptied to the preferential pressure that desolvates and stay lubricant material that removes, come lubricant material with the processing region of MEMS device in required surface remove excessive solvent material after forming key.
With reference to Fig. 7 C-Fig. 7 D, in one embodiment, the first lubricant raceway groove 701A holds the first mobile lubricant 705A, and the second lubricant raceway groove 701B holds the second mobile lubricant 705B.In the case; The first mobile lubricant 705A can have different head group (the forexample label 415 among Fig. 5 C) and/or organic molecule (the forexample label 416 among Fig. 5 C) respectively with the second mobile lubricant 705B, make steam pressure, mobility and/or be bonded to different surfaces in theprocessing region 733 affinity can by the adjustment to improve the probable life of formed MEMS device.In one aspect, the first mobile lubricant 705A comprises the head group that preferentially is bonded to metal surface (thepad 104A-104B that for example lands (Fig. 2 B)), and the second mobile lubricant 705B comprises and is suitable for preferentially being bonded to other regional head groups of MEMS device.In one aspect, the second mobile lubricant 705B is suitable for being bonded to the storage surface of MEMS device, and this surface can comprise semi-conducting material and dielectric material, for example silicon, silicon dioxide or glass material.
In another kind of embodiment, mobile lubricant 705A, 705B are selected as and make the part of lubricant in the course of normal operation of device, evaporate in processing region, to form steam or gas.At the MEMS device is under the situation of spatial light modulator (SLM), and common device working temperature and/or ambient temperature can be in the scopes between about 0 ℃ and about 70 ℃.It should be noted that; The ability that lubricant forms steam or gas depends on the equilibrium partial pressure of lubricant, and this equilibrium partial pressure is along with the pressure of the temperature of lubricant, lubricant peripheral region, lubricant change the bond strength (for example physisorption, chemisorption) on surface in the processing region and change of molecular weight thereof.In another kind of embodiment, select this lubricant because of the ability that lubricant spreads rapidly along the surface in theprocessing region 733.
The spatial light modulator example
Fig. 8 A-Fig. 8 B shows the example of the another kind of device that can be benefited from the various embodiment of the said invention of the application.Fig. 8 A illustrates single " pixel " 20 that can see in digital micro-mirror device (DMD) spatial light modulator at its cutaway view of deflection state not.Shown in Fig. 8 A, the mobile lubricant 131 that is partly formed by the lubricant in the lubricant layer 401 is arranged in the zone 21 of encapsulation 24.Increase in this way and use lubricant layer 401 to reduce adhesion problems.Pixel 20 can comprise speculum 30, support column 34, yoke 32, speculum addressing electrode 50 and 52 and addressing electrode 26 and 28 substantially.After Fig. 8 B illustrates between addressing electrode 28 and yoke 32 and promotes and applies enough bias voltages between electrode 52 and the speculum 30, be in the cutaway view of the pixel 20 of its deflection state.In this structure, the mobile lubricant of arranging around pixel 20 131 has reduced the probability that produces stiction force between these surfaces through the interaction that reduces in the above described manner between yoke most advanced and sophisticated 58 and the addressing electrode 28.Further described a kind of concrete example of the device that can be benefited from the instruction of the invention that the application set forth in the United States Patent(USP) No. 5,771,116 that on October 21st, 1996 submitted to.
Fig. 8 C-Fig. 8 D shows the another kind of example of the MEMS device that can be benefited from the various embodiment of the said invention of the application.Moving reflector device 260 can comprise micromirror plate 210-, electrode 282 and 283, hinge support 263, the shallow via contacts 241 that is used to provide rotating shaft, wafer 281 and speculum stop 270 substantially.Fig. 8 C illustrates micromirror plate 210 and is in its not cutaway view of deflection state, and micromirror plate 210 is being furnished with mobile lubricant 131 in the zone 284 of micromirror plate 210.In addition, increase the relevant problem that has produced when mobile lubricant 131 has reduced other surface interactions when micromirror plate 210 and moving reflector device 260 with adhesion.After illustrating and between electrode 283 and micromirror plate 210, apply enough bias voltages through the power supply (not shown), Fig. 8 D is in the cutaway view of the micromirror plate 210 of its deflection state.In this structure, the mobile lubricant of arranging around micromirror plate 210 131 has reduced the probability that possibly produce significant stiction force between micromirror plate 210 and the glass substrate 280 through the interaction that reduces as stated between the surface.Further described a kind of concrete example of the device that can be benefited from the invention that the application set forth in the United States Patent(USP) No. 6,960,305 that on March 28th, 2003 submitted to.
The device package example
Fig. 9 A is the cutaway view that inprocessing region 713, is furnished with thedevice package 700 of two getters 360.As stated, increase the complexity of getter to keep lubriation material significantly to increase the device package size and formed device of reversible absorption to device package, returning to make to handle has increased step.Such device package design has higher cost of parts and higher overall manufacturing cost owing to having increased extra getter element.Therefore, shown in Fig. 9 B, through in formed device each not with the surface ondeposition lubricant layer 401, can be reliably and cheaply a large amount of lubricants are delivered toprocessing region 713 and other desired regions of device.Use lubricant layer 401 therefore can eliminate use for getter 360.
By contrast, Fig. 9 B illustrates the cutaway view of thedevice package 701 that comprisesmobile lubricant 131, and thismobile lubricant 131 is partly formed by the lubricant in the lubricant layer 401.Owing to the space that need not to be occupied by getter 360 before this in theprocessing region 234, this device package can be made much forr a short time than traditional devices encapsulation (the forexample device package 700 of Fig. 9 A).In addition, reduce the device package size and also advantageously reduced manufacturing cost and cost of parts.
Generally speaking; Disclosed system and the desired regions preferential deposition lubricant layer of technology among the application at device; Being formed for reducing the ready-made supply of lubricant of the power relevant, and/or between the contact surface of micro mechanical device (for example MEMS device, NEMS device), anti-wear protection is provided with adhesion.In addition, gas phase that is formed by (one or more) of preferential deposition layer or vapor phase lubricant part also spread with the speed than the high several magnitude of diffusion rate of traditional solid or fluid lubricant diffusion.Higher diffusion rate makes lubricant can receive voluntarily and repairs, and shows that in the course of the work the contact surface of micro mechanical device makes after contact area physically is shifted, and lubricant can move back to this zone rapidly.Therefore, lubricant prevent aspect the inefficacy relevant with adhesion more reliable than traditional solid or fluid lubricant.In addition, need not to introduce expensive manufacturing step or significantly increase the mode that the master-plan complexity can comprise lubricant and these lubricants are repaired in the device package design.Therefore, compare with traditional solid or fluid lubricant, this lubricant provides mode reliable, that have more efficiency-cost ratio to reduce the power relevant with adhesion in MEMS or the NEMS device.
Although preceding text to embodiments of the invention, under the situation that does not break away from base region of the present invention, can expect the present invention other with further embodiment, scope of the present invention is confirmed by accompanying claims.

Claims (25)

CN2007800491340A2006-11-022007-11-01Preferentially deposited lubricant to prevent anti-stiction in micromechanical systemsExpired - Fee RelatedCN101573792B (en)

Applications Claiming Priority (7)

Application NumberPriority DateFiling DateTitle
US11/556,154US7463404B2 (en)2005-11-232006-11-02Method of using a preferentially deposited lubricant to prevent anti-stiction in micromechanical systems
US11/556,1552006-11-02
US11/556,1452006-11-02
US11/556,1542006-11-02
US11/556,145US7723812B2 (en)2005-11-232006-11-02Preferentially deposited lubricant to prevent anti-stiction in micromechanical systems
US11/556,155US7616370B2 (en)2005-11-232006-11-02Preferentially deposited lubricant to prevent anti-stiction in micromechanical systems
PCT/US2007/083368WO2008057960A2 (en)2006-11-022007-11-01Preferentially deposited lubricant to prevent anti-stiction in micromechanical systems

Publications (2)

Publication NumberPublication Date
CN101573792A CN101573792A (en)2009-11-04
CN101573792Btrue CN101573792B (en)2012-11-21

Family

ID=39365246

Family Applications (1)

Application NumberTitlePriority DateFiling Date
CN2007800491340AExpired - Fee RelatedCN101573792B (en)2006-11-022007-11-01Preferentially deposited lubricant to prevent anti-stiction in micromechanical systems

Country Status (2)

CountryLink
CN (1)CN101573792B (en)
WO (1)WO2008057960A2 (en)

Families Citing this family (5)

* Cited by examiner, † Cited by third party
Publication numberPriority datePublication dateAssigneeTitle
CN102040186B (en)*2010-11-092012-11-21北京自动化控制设备研究所High vacuum ceramic LCC packaging method
US20140009379A1 (en)*2012-07-062014-01-09Qualcomm Mems Technologies, Inc.Cavity liners for electromechanical systems devices
US20170003499A1 (en)*2015-07-022017-01-05Pixtronix, Inc.Silane modified fluid for mems stiction reduction
CN108153078A (en)*2016-12-052018-06-12达意科技股份有限公司Electrophoresis type display panel
CN108892098B (en)*2018-06-202020-09-29青岛科技大学 A deflection-controllable MEMS micro-mirror structure

Citations (1)

* Cited by examiner, † Cited by third party
Publication numberPriority datePublication dateAssigneeTitle
US6746886B2 (en)*2001-03-192004-06-08Texas Instruments IncorporatedMEMS device with controlled gas space chemistry

Family Cites Families (3)

* Cited by examiner, † Cited by third party
Publication numberPriority datePublication dateAssigneeTitle
US6969635B2 (en)*2000-12-072005-11-29Reflectivity, Inc.Methods for depositing, releasing and packaging micro-electromechanical devices on wafer substrates
US7201937B2 (en)*2003-08-152007-04-10Microsurfaces, Inc.Methods for forming composite coatings on MEMS devices
US6979893B2 (en)*2004-03-262005-12-27Reflectivity, IncPackaged microelectromechanical device with lubricant

Patent Citations (1)

* Cited by examiner, † Cited by third party
Publication numberPriority datePublication dateAssigneeTitle
US6746886B2 (en)*2001-03-192004-06-08Texas Instruments IncorporatedMEMS device with controlled gas space chemistry

Also Published As

Publication numberPublication date
CN101573792A (en)2009-11-04
WO2008057960A2 (en)2008-05-15
WO2008057960A3 (en)2008-10-16

Similar Documents

PublicationPublication DateTitle
US7616370B2 (en)Preferentially deposited lubricant to prevent anti-stiction in micromechanical systems
US7463404B2 (en)Method of using a preferentially deposited lubricant to prevent anti-stiction in micromechanical systems
US7723812B2 (en)Preferentially deposited lubricant to prevent anti-stiction in micromechanical systems
US7952786B2 (en)Method of operating a micromechanical device that contains anti-stiction gas-phase lubricant
US9487397B2 (en)Coatings for relatively movable surfaces
US20080080832A1 (en)Micromechanical system containing a microfluidic lubricant channel
US7763489B2 (en)Method of forming a micromechanical system containing a microfluidic lubricant channel
CN101573792B (en)Preferentially deposited lubricant to prevent anti-stiction in micromechanical systems
HenckLubrication of digital micromirrordevicesTM
KomvopoulosAdhesion and friction forces in microelectromechanical systems: mechanisms, measurement, surface modification techniques, and adhesion theory
Tambe et al.Nanotribological characterization of self-assembled monolayers deposited on silicon andaluminium substrates
CN101542717B (en) Method of forming micromechanical devices with microfluidic lubricant channels
US7932569B2 (en)Micromechanical device with microfluidic lubricant channel
JP2008500564A (en) Changing the electromechanical movement of micromachined devices
Bhushan et al.Nanotribological characterization of perfluoroalkylphosphonate self-assembled monolayers deposited on aluminum-coated silicon substrates
US6475570B2 (en)Diluent assisted lubrication of micromechanical devices
US20060007515A1 (en)Surface lubrication in microstructures
US6259551B1 (en)Passivation for micromechanical devices
US7580174B2 (en)Anti-stiction gas-phase lubricant for micromechanical systems
US6979893B2 (en)Packaged microelectromechanical device with lubricant
US20250002334A1 (en)Forming a passivation coating for mems devices
US8071164B1 (en)Method for lubricating contacting surfaces
WO2007076172A2 (en)Anti-stiction gas-phase lubricant for micromechanical systems
US20070154622A1 (en)Surface lubrication in microstructures
Kim et al.MEMS lubrication with alcohol vapour

Legal Events

DateCodeTitleDescription
C06Publication
PB01Publication
C10Entry into substantive examination
SE01Entry into force of request for substantive examination
C14Grant of patent or utility model
GR01Patent grant
CF01Termination of patent right due to non-payment of annual fee

Granted publication date:20121121

Termination date:20181101

CF01Termination of patent right due to non-payment of annual fee

[8]ページ先頭

©2009-2025 Movatter.jp