Movatterモバイル変換


[0]ホーム

URL:


CN101571990A - Mobile intelligent meter reading system - Google Patents

Mobile intelligent meter reading system
Download PDF

Info

Publication number
CN101571990A
CN101571990ACNA2009101169779ACN200910116977ACN101571990ACN 101571990 ACN101571990 ACN 101571990ACN A2009101169779 ACNA2009101169779 ACN A2009101169779ACN 200910116977 ACN200910116977 ACN 200910116977ACN 101571990 ACN101571990 ACN 101571990A
Authority
CN
China
Prior art keywords
meter reading
mobile
interface
meter
terminal
Prior art date
Legal status (The legal status is an assumption and is not a legal conclusion. Google has not performed a legal analysis and makes no representation as to the accuracy of the status listed.)
Granted
Application number
CNA2009101169779A
Other languages
Chinese (zh)
Other versions
CN101571990B (en
Inventor
施旭军
李文芳
金备
陈怀奎
王丽
郑抗震
王筠
谈韵
桂宁
薛晓茹
Current Assignee (The listed assignees may be inaccurate. Google has not performed a legal analysis and makes no representation or warranty as to the accuracy of the list.)
Hefei Power Supply Co of State Grid Anhui Electric Power Co Ltd
State Grid Corp of China SGCC
Original Assignee
Hefei Power Supply Co of State Grid Anhui Electric Power Co Ltd
Priority date (The priority date is an assumption and is not a legal conclusion. Google has not performed a legal analysis and makes no representation as to the accuracy of the date listed.)
Filing date
Publication date
Application filed by Hefei Power Supply Co of State Grid Anhui Electric Power Co LtdfiledCriticalHefei Power Supply Co of State Grid Anhui Electric Power Co Ltd
Priority to CN2009101169779ApriorityCriticalpatent/CN101571990B/en
Publication of CN101571990ApublicationCriticalpatent/CN101571990A/en
Application grantedgrantedCritical
Publication of CN101571990BpublicationCriticalpatent/CN101571990B/en
Expired - Fee Relatedlegal-statusCriticalCurrent
Anticipated expirationlegal-statusCritical

Links

Images

Landscapes

Abstract

Translated fromChinese

移动智能抄表系统,其特征是系统构成包括PC接口端、PC工作站、GPRS网络、移动终端、电子标签、集中器和打印终端;PC接口端设置Web Service接口进行数据同步,实现数据的上传和下载;PC工作站用于使移动终端接入企业MIS网;GPRS网络用于移动终端接入企业MIS网;移动终端是采用掌上PDA,设置移动抄表程序、232串口、蓝牙接口和射频卡,实现包括下载、上传、抄表管理、表计信息、缺陷记录、现场抄表、电费通知单打印和抄表结果统计等各项任务;集中器实现掌上PDA上移动抄表程序与表箱电表的通讯;打印终端通过蓝牙实现掌上PDA上移动抄表程序电费通知单的现场打印,系统实现了移动智能抄表与营销MIS的结合。

The mobile intelligent meter reading system is characterized in that the system consists of a PC interface terminal, a PC workstation, a GPRS network, a mobile terminal, an electronic label, a concentrator and a printing terminal; the PC interface terminal is provided with a Web Service interface for data synchronization to realize data upload and Download; PC workstation is used to connect mobile terminal to enterprise MIS network; GPRS network is used to connect mobile terminal to enterprise MIS network; mobile terminal adopts handheld PDA, set mobile meter reading program, 232 serial port, bluetooth interface and radio frequency card to realize Including downloading, uploading, meter reading management, meter information, defect records, on-site meter reading, electricity bill printing and meter reading result statistics; the concentrator realizes the communication between the mobile meter reading program on the handheld PDA and the meter box meter ; The printing terminal realizes the on-site printing of the mobile meter reading program electricity bill on the handheld PDA through Bluetooth, and the system realizes the combination of mobile smart meter reading and marketing MIS.

Description

Mobile intelligent meter reading system
Technical field
The present invention relates to mobile intelligent meter reading system, be used to realize the on-the-spot collection automatically of meter reading data.
Background technology
Marketing department, has carried out actively and effectively exploration the miscellaneous service it under under the guidance that improves level of IT application thought as the important department of electric power enterprise.The management of work of checking meter is an important step in the power marketing division management work, be directly connected to economic benefit and corporate image, enforcement along with " Every household has an ammeter " engineering, the workload of checking meter of power supply enterprise is increasing, expose some distinct issues at present, comprise that manual meter reading efficiency is low, exist and copy more, leakage is copied, clerical mistake, estimate problems such as the table and the card mismanagement of checking meter, objectively provide convenience for illegal electricity consumption and illegal stealing, power department can't effectively be managed the work of checking meter at scene, therefore how to solve the difficulty of checking meter, the difficult problem of management becomes vast power supply enterprise comparison urgent subject.
Summary of the invention
The present invention is for avoiding above-mentioned existing in prior technology weak point, a kind of intelligent meter data recording system being provided, and by the native system construction, can realize the on-the-spot collection automatically of data, reduces the workload of the person of checking meter.Native system is not only realized check meter work electronization, informationization, intelligent management, and by operation flow optimization, whole check meter work quality and the efficient of improving also provides effective supervision and management means and method for administrative authority.
Technical solution problem of the present invention adopts following technical scheme:
The design feature of mobile intelligent meter reading system of the present invention is that system's formation comprises PC interface end, PC workstation, GPRS network, portable terminal, electronic tag, concentrator and printing terminal;
Described PC interface end is provided with Web Service interface as marketing MIS and the interface that the portable terminal that inserts the Enterprise MIS net carries out data interaction, utilizes described Web Service interface to carry out data sync, realizes uploading and downloading of data;
Described PC workstation is installed ActiveSync and is used to make portable terminal to insert the Enterprise MIS net;
Described GPRS network is to move or the APN of UNICOM is a network channel, to be used for portable terminal and to insert the Enterprise MIS net;
Described portable terminal is the palm PDA that adopts Windows Mobile operating system, mobile meter reading procedure, 232 serial ports, blue tooth interface and radio-frequency card are set in described portable terminal, realize comprising downloads, the management of uploading, check meter, show meter information, defect record, the each task that checks meter in the scene, tariff notification is printed, the result that checks meter adds up;
485 interfaces and RJ232 interface are set in the described concentrator, realize that palm PDA goes up mobile meter reading procedure and the communication of showing the case ammeter;
Described printing terminal is portable mobile printer, realizes that by bluetooth palm PDA goes up the field print of mobile meter reading procedure tariff notification.
The design feature of mobile intelligent meter reading system of the present invention also is:
The PC interface end is set inserts the Enterprise MIS network, utilize described Web Service interface to read the information that comprises the task of checking meter, customer profile, client's electric weight, client's electricity charge from marketing MIS, the result who utilizes described Web Service interface to be checked meter in the scene writes marketing MIS.
Described portable terminal inserts the Enterprise MIS network by PC workstation and GPRS network, but and online access PC interface end; Described portable terminal reads table case information in the electronic tag by radio-frequency card, reads 485 bus messages in the concentrator by the RJ232 interface, utilizes bluetooth to print the advice note of checking meter on printing terminal.
The present invention fundamentally promotes the technology independence of management system by business model resource and system are realized that technical point is separated.Service resources is the most frequent part that changes with user's request, by disassociation service and realization part, in the time of can accomplishing the service resources change, does not influence the realization technology of bottom, need not to reconfigure or upgrade running environment.And the independence of running environment then can guarantee to use and can stride the realization technology, operates on the different systems, and zero cost is moved to new realization technology at any time.
Compared with the prior art, beneficial effect of the present invention is embodied in:
1, the present invention carries out data sharing by Web Service interface and the marketing message management system MIS that promptly markets, realized combination with marketing MIS, need not to prepare especially and search, can download the relevant information of ammeter automatically, the scene can make things convenient for searching for user relevance information, system points out index unusual ammeter automatically, improved the accuracy of data greatly, can on-the-spot check the accuracy of marketing MIS data simultaneously, the consistance that promptly keeps database data and field condition, guarantee the safe operation of original system again, formed good interaction.
2, the present invention adopts Web Service interface accessing marketing MIS, Web Service interface mode is safe and reliable, the whole bag of tricks accessing database that program provides by calling Web Service, Web Service method can flexible configuration and expansion, improved the degree of modularity of program, the demand of information inquiry expansion after fully satisfying.
3, the present invention is using PDA to carry out that task is downloaded, check meter in the scene, on-the-spot advice note is printed, the result uploads organic whole of formation in the work program of formulating among the MIS in marketing and the kilowatt meter reading-out system, plan target is carried out closed-loop control, thereby realize Whole Course Management the work of checking meter.In marketing MIS after the formulation task, can use the PDA downloading task, downloading among the PDA of task is consistent with marketing MIS, upload the result that checks meter after using PDA to finish work on the spot, finish the whole schedule work of checking meter, realize the closed-loop process of task by uploading of work on the spot result, and provide the guidance foundation for the follow-up work plan.
4, check meter and utilize the RFID technology to read electronic labeling information in scene of the present invention, system is the current table case of coupling automatically, and access the ammeter user under the current table case automatically, concentrate 485 data that read ammeter by field erected converter, and compare automatically copying the data and the historical data of getting, remind the ammeter and the record defect information of meter reading personnel's data exception, finish the electric weight, the electricity charge and the prompting that calculate the user after the work of checking meter of table case automatically and whether print advice note, work on the spot is disposable all to be finished, and has greatly improved work efficiency.
5, meter reading data of the present invention upload, download complete electronization, avoided the manual inquiry and the manual typing work of information, improved the data stream rotary speed, reduced work difficulty, improved work efficiency.Task is formulated the back and is downloaded by directly click task of PDA, Automatic Program downloads to ammeter relevant information in mission bit stream and the task among the PDA, conveniently on-the-spot inquiry of the person of checking meter and electric weight, the electricity charge are calculated, the click task is uploaded after finishing the work of checking meter, directly the result that checks meter is uploaded among the marketing MIS, system uploads to the result that checks meter of each ammeter in the corresponding ammeter index recording automatically in the upload procedure, has guaranteed the accurate and reliable of data, has improved the speed of Data Update and processing greatly.
6, the present invention is electric weight, the electricity charge of calculating the user automatically according to the built-in computing formula of system, realizes the real-time calculating of the electricity charge, electric weight.After ammeter index and preservation are read in the scene, system tears back information such as index according to the ammeter index exception record (overturning, change table) of the ammeter index of preserving and the person's of checking meter typing open in conjunction with electricity price, last electric weight, the ammeter downloaded from marketing MIS, automatically use the current period electric weight and the electricity charge that the corresponding calculated formula calculates ammeter, guaranteed the reliable in real time of on-the-spot result of calculation.
7, the present invention utilizes Bluetooth technology and portable printer, the field print of the advice note of having realized checking meter.After index preservation and the corresponding defect record of typing are read in the scene, system calculates the electric weight and the electricity charge data of ammeter automatically, print the advice note of checking meter by bluetooth with portable printer then, work on the spot is disposable to be finished, change the mode of operation of the work of checking meter, improved the efficient of the on-the-spot work of checking meter.
Description of drawings
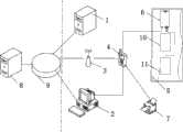
Fig. 1 constitutes synoptic diagram for system of the present invention.
Fig. 2 is system works flow process figure of the present invention.
Number in the figure: 1 be the PC interface end, 2 for the PC workstation, 3 for GPRS network, 4 for portable terminal, 5 for electronic tag, 6 for concentrator, 7 for printing terminal, 8 for marketing MIS, 9 for the Enterprise MIS net, 10 for electric energy meter A, 11 for electric energy meter B.
Below by embodiment, the invention will be further described in conjunction with the accompanying drawings:
Embodiment
Referring to Fig. 1, the system of this mobile intelligent meter reading system formation comprisesPC interface end 1,PC workstation 2,GPRS network 3, portable terminal 4,electronic tag 5,concentrator 6 andprinting terminal 7;
The marketing mis system comprises marketing MIS and Enterprise MIS net;
Table case formation comprises: each ammeter such as electricenergy meter A 10, electricenergy meter B 11.
The PC interface end utilizes Web Service interface to read information such as the check meter task of marketing among the MIS, customer profile, client's electric weight, client's electricity charge, and passing to portable terminal after the data compression process, uploads the result that checks meter who writes down among the PDA by interface simultaneously.
Portable terminal utilizes 485 buses, radio-frequency card, bluetooth printing terminal in conjunction with checking meter service management flow, realizes the Whole Course Management of the business of checking meter such as automatic data logging, information inquiry, electric weight calculating, tariff notification printing.The systemic-function task that mainly contains is downloaded, this management is uploaded, checked meter to task, show meter information, defect record, scene are checked meter, tariff notification is printed, the statistics of checking meter as a result etc.
Shown in Figure 1, system's formation also comprises:
PC interface end 1 is set inserts the Enterprise MIS network, utilize described Web Service interface to read information such as the task of checking meter, customer profile, client's electric weight, client's electricity charge from marketing MIS, the result who utilizes described Web Service interface to be checked meter in the scene simultaneously writes marketing MIS;
PCworkstation 2 andGPRS network 3 are set, are used for portable terminal 4 and insert Enterprise MIS network online accessPC interface end 1.
Portable terminal 4 is set carries out data sync by PCworkstation 2 orGPRS network 3 access Enterprise MIS network online accessPC interface end 1; Portable terminal 4 reads table case information in theelectronic tag 5 by radio-frequency card during work on the spot, reads 485 bus messages in theconcentrator 6 by the RJ232 interface, utilizes bluetooth to print the advice note of checking meter on printing terminal 7.The systemic-function task that mainly contains is downloaded, this management is uploaded, checked meter to task, show meter information, defect record, scene are checked meter, tariff notification is printed, the statistics of checking meter as a result etc.
Referring to Fig. 2, in use, operating mobile terminal is by online mode visit WebService interface, the task of checking meter of the download person of checking meter, customer profile, client's electric weight, information such as client's electricity charge, the meter reading personnel reaches on-the-spot back and carries out off-line land the system of entering in PDA, automatically access table case user by the electronic tag (RFID) that reads on the table case, and finishing the ammeter index reads work automatically or by hand to utilize ammeter 485 interfaces, system calculates electric weight and the electricity charge automatically and prints tariff notification by bluetooth at portable printer, finishes after the work on the spot by online mode visit WebService interface copying the table result privately in marketing MIS.

Claims (3)

Translated fromChinese
1、移动智能抄表系统,其特征是系统构成包括PC接口端(1)、PC工作站(2)、GPRS网络(3)、移动终端(4)、电子标签(5)、集中器(6)和打印终端(7);1. The mobile intelligent meter reading system is characterized in that the system consists of a PC interface terminal (1), a PC workstation (2), a GPRS network (3), a mobile terminal (4), an electronic label (5), and a concentrator (6) and print terminal (7);所述PC接口端(1)设置Web Service接口作为营销MIS(8)和接入企业MIS网的移动终端(4)进行数据交互的接口,利用所述Web Service接口进行数据同步,实现数据的上传和下载;Described PC interface end (1) sets Web Service interface as marketing MIS (8) and the interface that the mobile terminal (4) of access enterprise MIS network carries out data interaction, utilizes described Web Service interface to carry out data synchronization, realizes the uploading of data and download;所述PC工作站(2)安装ActiveSync用于使移动终端(4)接入企业MIS网(9);Described PC workstation (2) installs ActiveSync and is used for making mobile terminal (4) access enterprise MIS network (9);所述GPRS网络(3)是以移动或联通的APN为网络通道,用于移动终端(4)接入企业MIS网(9);The GPRS network (3) is based on the APN of China Mobile or China Unicom as a network channel for the mobile terminal (4) to access the enterprise MIS network (9);所述移动终端(4)是采用Windows Mobile操作系统的掌上PDA,在所述移动终端(4)中设置移动抄表程序、232串口、蓝牙接口和射频卡,实现包括下载、上传、抄表管理、表计信息、缺陷记录、现场抄表、电费通知单打印、抄表结果统计在内的各项任务;Described mobile terminal (4) is the palm-held PDA that adopts Windows Mobile operating system, and mobile meter reading program, 232 serial ports, bluetooth interface and radio frequency card are set in described mobile terminal (4), realize and comprise downloading, upload, meter reading management , Meter information, defect records, on-site meter reading, printing of electricity bills, and statistics of meter reading results;所述集中器(6)中设置485接口和RJ232接口,实现掌上PDA上移动抄表程序与表箱电表的通讯;485 interface and RJ232 interface are set in described concentrator (6), realize the communication of mobile meter reading program and meter box electric meter on the palm PDA;所述打印终端(7)为便携式移动打印机,通过蓝牙实现掌上PDA上移动抄表程序电费通知单的现场打印。The printing terminal (7) is a portable mobile printer, which realizes the on-site printing of the mobile meter reading program electricity bill on the palm PDA through bluetooth.2、根据权利要求1所述的移动智能抄表系统,其特征是设置PC接口端(1)接入企业MIS网络,利用所述Web Service接口从营销MIS读取包括抄表任务、客户档案、客户电量、客户电费在内的信息,利用所述Web Service接口将现场抄表的结果写入营销MIS。2, mobile intelligent meter reading system according to claim 1, it is characterized in that PC interface end (1) access enterprise MIS network is set, utilize described Web Service interface to read from marketing MIS and comprise meter reading task, client file, The information including the customer's power consumption and the customer's electricity fee is written into the marketing MIS by using the Web Service interface to write the results of on-site meter reading.3、根据权利要求1所述的移动智能抄表系统,其特征是所述移动终端(4)通过PC工作站(2)和GPRS网络(3)接入企业MIS网络,并可在线访问PC接口端(1);所述移动终端(4)通过射频卡读取电子标签(5)中的表箱信息,通过RJ232接口读取集中器(6)中的485总线信息,利用蓝牙在打印终端(7)上打印抄表通知单。3. The mobile intelligent meter reading system according to claim 1, characterized in that the mobile terminal (4) accesses the enterprise MIS network through the PC workstation (2) and the GPRS network (3), and can access the PC interface terminal online (1); the mobile terminal (4) reads the table box information in the electronic label (5) by the radio frequency card, reads the 485 bus information in the concentrator (6) by the RJ232 interface, and utilizes bluetooth to print the terminal (7) ) to print the meter reading notice.
CN2009101169779A2009-06-152009-06-15 Mobile smart meter reading systemExpired - Fee RelatedCN101571990B (en)

Priority Applications (1)

Application NumberPriority DateFiling DateTitle
CN2009101169779ACN101571990B (en)2009-06-152009-06-15 Mobile smart meter reading system

Applications Claiming Priority (1)

Application NumberPriority DateFiling DateTitle
CN2009101169779ACN101571990B (en)2009-06-152009-06-15 Mobile smart meter reading system

Publications (2)

Publication NumberPublication Date
CN101571990Atrue CN101571990A (en)2009-11-04
CN101571990B CN101571990B (en)2010-09-22

Family

ID=41231340

Family Applications (1)

Application NumberTitlePriority DateFiling Date
CN2009101169779AExpired - Fee RelatedCN101571990B (en)2009-06-152009-06-15 Mobile smart meter reading system

Country Status (1)

CountryLink
CN (1)CN101571990B (en)

Cited By (14)

* Cited by examiner, † Cited by third party
Publication numberPriority datePublication dateAssigneeTitle
CN101901539A (en)*2010-07-012010-12-01深圳市科陆电子科技股份有限公司 A reading method of electric energy meter based on configuration file customization of meter reading content
CN102014118A (en)*2010-08-132011-04-13深圳市科陆电子科技股份有限公司Method for reading multiple electric energy meters generally
CN102447970A (en)*2011-09-292012-05-09中山大学Water/electricity meter inquiry system based on digital television middleware
CN102945593A (en)*2012-12-052013-02-27四川海力智能科技有限公司Meter reading system based on smart phone
CN103499806A (en)*2013-09-252014-01-08国家电网公司Portable detector applied to electric energy measuring device and detecting method
CN103620425A (en)*2011-01-282014-03-05阿克拉拉输电线系统股份有限公司Utility electric meter web server
CN103793857A (en)*2014-02-132014-05-14广东电网公司江门供电局Electric power field operating system combined with smartphone
CN104021135A (en)*2014-04-042014-09-03上海君世电气科技有限公司Backstage management system of GPS positioning meter reading system
CN105894162A (en)*2014-12-162016-08-24上海仪电信息网络有限公司Intelligent water meter management system
CN106325237A (en)*2015-12-182017-01-11国网四川省电力公司电力科学研究院Application method for intelligent meter field operation and business centralized monitoring based on cloud technology
CN106780113A (en)*2016-11-282017-05-31国网山东省电力公司济宁供电公司electricity consumption data management system and method
CN107103557A (en)*2016-02-232017-08-29国网湖北省电力公司襄阳供电公司Intelligent rural power grids user residual current data query system
CN111899496A (en)*2020-06-242020-11-06国网江苏省电力有限公司苏州供电分公司 On-site verification management system for electricity marketing
CN114926303A (en)*2022-04-262022-08-19广东工业大学Electric larceny detection method based on transfer learning

Cited By (17)

* Cited by examiner, † Cited by third party
Publication numberPriority datePublication dateAssigneeTitle
CN101901539B (en)*2010-07-012013-03-20深圳市科陆电子科技股份有限公司Electric energy meter reading method for customizing meter reading contents based on configuration file
CN101901539A (en)*2010-07-012010-12-01深圳市科陆电子科技股份有限公司 A reading method of electric energy meter based on configuration file customization of meter reading content
CN102014118A (en)*2010-08-132011-04-13深圳市科陆电子科技股份有限公司Method for reading multiple electric energy meters generally
CN102014118B (en)*2010-08-132013-03-20深圳市科陆电子科技股份有限公司Method for reading multiple electric energy meters generally
CN103620425A (en)*2011-01-282014-03-05阿克拉拉输电线系统股份有限公司Utility electric meter web server
CN102447970A (en)*2011-09-292012-05-09中山大学Water/electricity meter inquiry system based on digital television middleware
CN102945593A (en)*2012-12-052013-02-27四川海力智能科技有限公司Meter reading system based on smart phone
CN103499806B (en)*2013-09-252015-10-28国家电网公司For portable detector and the method for electric energy measuring equipment
CN103499806A (en)*2013-09-252014-01-08国家电网公司Portable detector applied to electric energy measuring device and detecting method
CN103793857A (en)*2014-02-132014-05-14广东电网公司江门供电局Electric power field operating system combined with smartphone
CN104021135A (en)*2014-04-042014-09-03上海君世电气科技有限公司Backstage management system of GPS positioning meter reading system
CN105894162A (en)*2014-12-162016-08-24上海仪电信息网络有限公司Intelligent water meter management system
CN106325237A (en)*2015-12-182017-01-11国网四川省电力公司电力科学研究院Application method for intelligent meter field operation and business centralized monitoring based on cloud technology
CN107103557A (en)*2016-02-232017-08-29国网湖北省电力公司襄阳供电公司Intelligent rural power grids user residual current data query system
CN106780113A (en)*2016-11-282017-05-31国网山东省电力公司济宁供电公司electricity consumption data management system and method
CN111899496A (en)*2020-06-242020-11-06国网江苏省电力有限公司苏州供电分公司 On-site verification management system for electricity marketing
CN114926303A (en)*2022-04-262022-08-19广东工业大学Electric larceny detection method based on transfer learning

Also Published As

Publication numberPublication date
CN101571990B (en)2010-09-22

Similar Documents

PublicationPublication DateTitle
CN101571990B (en) Mobile smart meter reading system
CN202956806U (en) An intelligent power equipment inspection system
CN103927860A (en)GPS (Global Position System)-positioned meter reading smart handheld machine and meter reading system
CN105788211A (en)Portable positionable multi-interface data measuring, collecting and transmitting instrument
CN110444000A (en)A kind of multilist measurement data acquisition method and system based on technology of Internet of things
CN114037585A (en)Carbon data processing method, carbon data interaction method, carbon data presentation method, electronic device, and storage medium
CN105740262A (en)Crowdsourcing mode-based data acquisition sharing system and method
CN108600362A (en)A method of managing taiwan area archives automatically based on voltage characteristic
CN106781391A (en)A kind of remote wireless meter recording and transmission method
CN202404129U (en)Electric energy meter data acquisition instrument based on radio frequency identification (RFID) technology
CN104102979A (en)Office car using informatization system and application method of office car using informatization system
CN105704130A (en)Electricity safety system based on wireless communication devices
CN103235976A (en)Patrol optimization management platform for 10kV user patrol
CN103577945A (en)Intelligent warehouse management system
CN202677464U (en)An intelligent warehouse management system
CN201514693U (en)Mobile intelligent meter reading system
CN106952460A (en)Intelligent electric meter long-distance meter-reading system
CN203504578U (en)Automatic meter-reading device
CN201638264U (en) Mobile electricity inspection application system
CN202373127U (en)Wireless gas meter reading management system
CN107403339A (en)A kind of marketing electricity box collecting method based on mobile terminal
CN113660553B (en)Positioning navigation centralized meter reading operation and maintenance system
CN204990385U (en)Water management system based on near field communication
CN202067387U (en)Wireless gas meter reading system
CN201707704U (en)Placename general survey/survey quick acquisition system

Legal Events

DateCodeTitleDescription
C06Publication
PB01Publication
C10Entry into substantive examination
SE01Entry into force of request for substantive examination
C14Grant of patent or utility model
GR01Patent grant
ASSSuccession or assignment of patent right

Owner name:STATE GRID CORPORATION OF CHINA

Effective date:20121219

C41Transfer of patent application or patent right or utility model
TR01Transfer of patent right

Effective date of registration:20121219

Address after:230022 No. 133, Susong Road, Hefei, Anhui

Patentee after:Hefei Power Supply Company of Anhui Electric Power Corp.

Patentee after:State Grid Corporation of China

Address before:Susong road in Baohe District of Hefei city in Anhui province 230022 No. 133 power supply company

Patentee before:Hefei Power Supply Company of Anhui Electric Power Corp.

CF01Termination of patent right due to non-payment of annual fee

Granted publication date:20100922

CF01Termination of patent right due to non-payment of annual fee

[8]ページ先頭

©2009-2025 Movatter.jp