




















相关申请related application
本专利申请要求2008年8月18日提交的12/193,650号美国非临时专利申请和2008年4月2日提交的61/041,875号美国临时专利申请的优先权,两申请所公开的内容以引用的方式并入本文。This patent application claims priority to U.S. Nonprovisional Patent Application No. 12/193,650, filed August 18, 2008, and U.S. Provisional Patent Application No. 61/041,875, filed April 2, 2008, the disclosures of which are incorporated by reference way incorporated into this article.
技术领域technical field
本发明涉及架空输电线路领域。特别涉及一种用来防止或去除在诸如输电线路的电缆上的过度覆冰,从而使输电线路免于受到过度覆冰重量带来的破坏的方法和系统。The invention relates to the field of overhead transmission lines. More particularly, it relates to a method and system for preventing or removing excessive icing on electrical cables, such as power transmission lines, thereby protecting the power transmission lines from damage caused by excessive icing weights.
背景技术Background technique
在美国的一些地区冰暴相当普遍。冰暴会导致冰覆盖在结构上,包括架空输电线路和与之关联的电线杆与电塔;这些覆冰可达几英寸厚。幸运的是,发生这样的冰暴的时间仅占输电线路工作总时间的很小比例,并且,任何一条输电线路通常每年中只有几次会遭遇到这样的冰暴。Ice storms are quite common in some parts of the United States. Ice storms can cause ice to coat structures, including overhead power lines and their associated utility poles and pylons; these icings can be several inches thick. Fortunately, such ice storms occur only a small percentage of the total transmission line operating time, and any one transmission line typically sees such ice storms only a few times a year.
覆冰荷重对电缆和结构的机械加压会引发重大问题。例如,2英寸覆冰圆柱会使1英寸的电缆导线的重量每英里增加5.7t。电缆截面的改变将会增加风致压力,进一步增加电缆断裂的几率。覆冰会导致电力传输线和电线杆的断裂,以及电塔的倒塌;任何一种破坏都将干扰电力输送,并导致伤害地面人员和财产的严重风险。The mechanical stress on cables and structures caused by icing loads can cause major problems. For example, a 2-inch ice-coated cylinder will add 5.7 tons per mile to the weight of a 1-inch cable conductor. Changes in the cross-section of the cable will increase the wind-induced stress, further increasing the chance of cable breakage. Icing can lead to the breakage of power transmission lines and poles, as well as the collapse of electrical pylons; any kind of damage will interfere with power delivery and pose a serious risk of injury to people and property on the ground.
某些输电线路是对电动车辆供电的电车线。由于冰是不良导体,所以电车线上的覆冰会对电动车辆的供电产生干扰。Some transmission lines are trolley lines that power electric vehicles. Since ice is a poor conductor, icing on trolley lines can interfere with the power supply to electric vehicles.
输电线路通常被设计成具有稳定、低的总体电阻,以避免过度能耗和电线的高温运行。当电线达到高温时,无论是因为电流自身发热、还是高温环境,或者二者兼具,都会使得电线变长和变弱。导线变长可能导致电线杆或电塔之间的线路下垂,从而可能会导致对地面人员或财产的危害。此外,期望正常运行时的低电阻以避免过度能耗,所谓能耗意味着,因线路发热损失的一千瓦功率是虽未能到达用户,但却必须必发出的一千瓦电力。最后,由于高电阻引起的输电线路的过度电压降可能会导致电网系统不稳定。Transmission lines are usually designed to have a stable, low overall resistance to avoid excessive power consumption and high operating temperatures of the wires. When a wire reaches high temperatures, whether it's due to the current itself heating, the high temperature environment, or both, it lengthens and weakens the wire. Longer wires can cause the line between poles or pylons to sag, potentially causing a hazard to people or property on the ground. In addition, low resistance during normal operation is expected to avoid excessive energy consumption. The so-called energy consumption means that a kilowatt of power lost due to heat generation in the line is a kilowatt of power that must be delivered although it cannot reach the user. Finally, excessive voltage drops on transmission lines due to high resistance can lead to grid system instability.
多数输电线路中的电缆具有多根独立导线,这些导线通常被间隔数英寸,以并联的方式电连接以作为各相线。虽然通过改善导线彼此热接触的电缆在高温环境下的冷却条件,从而允许电缆的更大载流量,但由于这种设计为冰核提供了额外的表面,所以会增加覆冰量。例如,对于具有两条平行输电线路的系统,其中每条线路具有三根电缆,而每根电缆具有五根被间隔层隔开的导线,如果所有电缆全部覆盖有两英寸厚的冰层,这可能会使每英里线路增加172吨的额外重量。此外,在这样的设计与单开关除冰设计不相容,原因在于仅能对带电导体或与带电导体热接触的导体除冰。The cables in most transmission lines have individual conductors, usually spaced several inches apart, electrically connected in parallel for each phase. While allowing for greater ampacity of the cable in high temperature environments by improving cooling of the cable where the conductors are in thermal contact with each other, this design increases ice buildup because it provides additional surface for the ice core. For example, for a system with two parallel transmission lines, each with three cables, and each cable has five conductors separated by a spacer layer, if all cables are fully covered with two inches of ice, this may This would add 172 tons of extra weight per mile of line. Furthermore, such designs are incompatible with single switch deicing designs since only live conductors or conductors in thermal contact with live conductors can be deiced.
不仅覆冰线路的高重量和增加的风阻力会引起线路断裂和电塔倒塌,而且最初的线路断裂或电线杆或电塔倒塌所引起的电塔上的作用力突然改变也会引起其他临近的电塔或电线杆像多米诺骨牌一样地倒塌,从而,维修人员会发现不只一个倒下的电塔,而是一打或更多被落线纠缠的相邻电塔的残骸。输电线路的突然倒塌还会引起对配电设备和电厂的损害,并且会导致电网的不稳定。在最坏的情况下,输电线路的突然倒塌可能会引起相当的容量损失及电网的不稳定,而这样所导致的停电可能会延伸到其他州。因此需要预防、减少或去除这些线路上的覆冰。Not only the high weight and increased wind resistance of iced lines can cause line breaks and pylon collapses, but sudden changes in forces on towers caused by the initial line break or pole or pylon collapse can also cause other nearby damage. Towers or utility poles collapse like dominoes so that maintenance crews find not just one fallen tower, but the remains of a dozen or more adjacent towers entangled in downed wires. Sudden collapse of transmission lines can also cause damage to distribution equipment and power plants, and can lead to grid instability. In a worst-case scenario, a sudden collapse of a transmission line could cause considerable capacity loss and grid instability, and the resulting outages could extend to other states. There is therefore a need to prevent, reduce or remove icing on these lines.
Couture的6396132号美国专利以及2003/0006652和2008/0061632号美国专利申请公开了一种系统,该系统具有称重传感器或其他用来检测输电线路的覆冰的设备。在该系统中,当检测有覆冰时,通过闭合并联的机械和电子开关,将输电线路的某一相的一根或多根平行导线断开,这样输电线路中流动的电流被引入选定的一根或数根平行导线并对其进行除冰。之后重新配置闭合开关的模式将电流引入另外的一根或数根平行导线。US Patent No. 6,396,132 and US Patent Application Nos. 2003/0006652 and 2008/0061632 to Couture disclose a system with load cells or other devices for detecting icing of power transmission lines. In this system, when icing is detected, one or more parallel conductors of a certain phase of the transmission line are disconnected by closing parallel mechanical and electronic switches, so that the current flowing in the transmission line is introduced into the selected one or several parallel conductors and de-ice them. The pattern of closed switches is then reconfigured to introduce current into one or more parallel conductors.
在本领域的现有技术中,还存在其他的用于对输电线路进行除冰的系统。例如,在授予Shimada的4190137号美国专利中,将电车系统的平行线路连接成回路,然后,在通常沿回路传输的电力上沿该回路叠加电流,以进行线路除冰。在一个实施例中,Shimada公开了一种直流电车线,其具有沿电车线回路叠加的交流电用来感应出焦耳热以进行线路除冰。Other systems for deicing power transmission lines exist in the state of the art. For example, in US Patent No. 4,190,137 to Shimada, parallel lines of a trolley system are connected into a loop, and then a current is superimposed along the loop on top of the power normally transmitted along the loop for line deicing. In one embodiment, Shimada discloses a DC trolley line with alternating current superimposed along the trolley loop to induce Joule heating for line de-icing.
输电线路传输并非总是输送相同的电流量。被输电线路传输的电流随多种因素改变,包括负荷状态,还依次包括当日的时间和天气,在瞬间运行的发电厂的特定选择,以及其他因素。例如,一个将电力从一个风能和太阳能发电场运送到电网的输电网络,其传输的电流会受到云的状况、当日的时间和风力情况的影响。甚至对于传统的发电厂,例如那些具有多个机组的发电厂,其提供的输电线电流也可能随时间而改变,例如两个机组电厂中的一个机组可能因修理而被关闭。同样,将储能系统(包括抽水蓄能水电站和电池蓄能电站)连接到电网的电路传输线可能间歇地传导电流。Transmission lines do not always carry the same amount of current. The current carried by the transmission line varies with a variety of factors, including load conditions, which in turn include the time of day and weather, the particular selection of power plants operating at the instant of time, and other factors. For example, an electricity transmission network that carries electricity from a wind and solar farm to the grid can transmit electricity that is affected by cloud conditions, time of day, and wind conditions. Even for traditional power plants, such as those with multiple units, the transmission line currents they supply may vary over time, eg one unit in a two unit plant may be shut down for repairs. Likewise, circuit transmission lines connecting energy storage systems (including pumped hydro and battery storage plants) to the grid may conduct current intermittently.
发明内容Contents of the invention
一种用于输电线路除冰的系统,该输电线路包括电缆(每根电缆用于三相线的一相,或用于直流线的正极导线或负极导线),其中,电缆至少具有三根互相绝缘的导线。该系统具有开关,该开关在断开时将三根导线全部并联以进行正常的低电阻运行;而该开关在闭合时将三根导线全部电串联以便对电缆进行除冰操作。该系统在系统控制器的控制下运行。A system for deicing power transmission lines comprising cables (each for one phase of a three-phase line, or positive or negative for a DC line), wherein the cables have at least three mutually insulated of wires. The system has a switch that, when open, connects all three wires in parallel for normal low-resistance operation, and that, when closed, electrically connects all three wires in series to de-ice the cable. The system operates under the control of a system controller.
在一个具体实施例中,输电线路是对如电气机车、有轨电车或无轨电车的电动车辆供电的线路。几根导线中的一根直接与诸如集电弓或电车线的滑动机械连杆电接触。在一个具体实施例中,与集电弓电接触的导线的电阻和机械强度均大于另外两根导线。例如,与集电弓接触的导线可由钢、不锈钢、青铜、黄铜、铜包钢或铝包钢制成,而另外两根平行导线可以由铝、铝合金或铜制成。In a particular embodiment, the transmission line is a line that supplies electric vehicles such as electric locomotives, trams or trolleybuses. One of several wires is in direct electrical contact with a sliding mechanical linkage such as a pantograph or trolley wire. In a specific embodiment, the electrical resistance and mechanical strength of the wire in electrical contact with the pantograph are greater than the other two wires. For example, the wire in contact with the pantograph can be made of steel, stainless steel, bronze, brass, copper-clad steel or aluminum-clad steel, while the other two parallel wires can be made of aluminium, aluminum alloy or copper.
在一个具体实施例中,每根电缆至少具有5根互相绝缘的导线,在正常运行时五根导线并联,而在除冰时五根导线全部串联。在其他的实施例中,公开了3根、7根和其他数量的导线。In a specific embodiment, each cable has at least five mutually insulated conductors, all five conductors being connected in parallel during normal operation and all five conductors being connected in series during deicing. In other embodiments, 3, 7, and other numbers of wires are disclosed.
在用于对输电线路的电缆进行除冰的系统的另一个实施例中,每根电缆被至少分成两段。每段至少有3根导线,在正常运行时,这3根导线并联,而在除冰时,这3根导线串联。设置系统控制器以便相继对电缆段进行除冰,以防止除冰操作对输电线路的电力输送进行不适当的干扰。In another embodiment of the system for de-icing cables of a power transmission line, each cable is divided into at least two sections. Each segment has at least 3 wires, which are connected in parallel during normal operation and connected in series during deicing. The system controller is arranged to sequentially de-ice the cable segments to prevent undue disturbance of the power delivery of the transmission line by the de-icing operation.
在一个具体实施例中,提供一种设备以便监测电缆温度的,并且当被检测的导线温度过高时将导线恢复到并联状态。In a specific embodiment, an apparatus is provided for monitoring the temperature of a cable and restoring the conductors to parallel connection when the detected conductor temperature is too high.
在另一个实施例中,用于将输电线路的导线在并联配置和串联配置间进行切换的开关盒包括具有充电器的能量储能器件、用于接收指令的控制信号接收器、受控制信号接收器的控制以确定流过电缆的至少一根导线的电流量的至少一个开关、以及当检测到电缆导线的温度过高时,使控制信号接收器超驰并将电缆导线恢复成并联状态的设备。In another embodiment, a switch box for switching conductors of a transmission line between a parallel configuration and a series configuration includes an energy storage device having a charger, a control signal receiver for receiving commands, a controlled signal receiver control of the controller to determine the amount of current flowing through at least one conductor of the cable, and a device for overriding the receiver of the control signal and restoring the cable conductors to a parallel state when an excessive temperature of the cable conductors is detected .
在另一个实施例中,电缆无需具有多根导线,但具有例如钢丝的电阻增强芯和至少一根导线,该系统具有开关盒,其用于在第一运行模式下将足够的电流从导线转向而流过电阻增强芯以便对电缆进行除冰,其中,几乎所有的电流在第二运行模式下都流过导线。In another embodiment, the cable need not have multiple conductors, but has a resistance enhancing core such as steel wire and at least one conductor, the system has a switch box for diverting sufficient current from the conductors in the first mode of operation Instead, the resistance-enhanced core flows in order to de-ice the cable, wherein substantially all the current flows through the conductors in the second operating mode.
在一个具体的实施例中,通过放置或增加一个与导线串联的电感,开关盒使流过增强芯的电流转向;增强芯与电感和导线串联的组合并联,同时,由于电感具有感抗,因而流过增强芯的电流会增加。In a specific embodiment, the switch box diverts the current flowing through the reinforcing core by placing or adding an inductor in series with the wire; The current flowing through the reinforcing core will increase.
在另一个具体实施例中,开关盒具有变压器和开关,在正常运行时变压器被旁路,而在除冰模式下,该变压器可作为升压变压器将电力转向到增强芯。In another specific embodiment, the switch box has a transformer that is bypassed during normal operation and a switch that acts as a step-up transformer to divert power to the booster core in deicing mode.
在另一个具体实施例中,开关盒包含有用于监测电缆温度并且在温度过高时将增强芯中的电流值向正常运行水平值方向减少的器件。In another embodiment, the switch box contains means for monitoring the temperature of the cable and reducing the value of the current in the reinforcing core towards normal operating levels if the temperature is too high.
公开了一种用于对输电线路的电缆进行除冰的方法,其中,电缆具有位于第一开关盒和第二开关盒之间并由多根导线构成的电缆段。该电缆段具有正常运行模式,在该模式下,导线被电并联。当检测到有覆冰并需要除冰时,开关盒被重新配置成使一些导线电串联,从而使该电缆段处于高电阻除冰模式。该电缆段中的电流对该节电缆段进行加热并除冰。当除冰完成后,开关盒的开关被重新配置成使该电缆段恢复到正常运行模式。A method for de-icing a cable of a power transmission line is disclosed, wherein the cable has a cable section between a first switch box and a second switch box and is composed of a plurality of conductors. The cable segment has a normal operating mode in which the conductors are electrically paralleled. When icing is detected and deicing is required, the switch box is reconfigured to place some of the wires electrically in series, thereby putting that section of cable in a high resistance deicing mode. The current in the cable section heats and de-ices the cable section. When de-icing is complete, the switches of the switch box are reconfigured to return the cable section to normal operating mode.
在该方法的具体实施例中,对电缆的电流进行监测。在该实施例中,控制器根据电缆中的电流从几种开关配置中进行选择。另外,如果用于除冰的电流过低,控制器可能请求增加电缆中的电流。In a specific embodiment of the method, the electrical current of the cable is monitored. In this embodiment, the controller chooses from several switch configurations based on the current in the cable. Also, if the current for de-icing is too low, the controller may request an increase in the current in the cable.
附图说明Description of drawings
图1是用于电力传输线路的防止覆冰或去除覆冰的系统的示意图。FIG. 1 is a schematic diagram of a system for preventing or removing icing from power transmission lines.
图2示出了用于交通运输系统中的用于输送电力的电车线的防止覆冰或去除冰的实施例。Figure 2 shows an embodiment of de-icing or de-icing for a trolley line used in a transportation system for conveying electric power.
图3示出了用于图2中所示系统的电缆的另一个实施例。FIG. 3 shows another embodiment of a cable for the system shown in FIG. 2 .
图4是用于防止覆冰的系统的另一个实施例中的一根电缆的一段的电气原理图,其中,每根电缆具有5根导线。4 is an electrical schematic diagram of a section of a cable in another embodiment of a system for preventing icing, wherein each cable has 5 conductors.
图5是用于防止覆冰的系统的另一个实施例中的一段电缆的另一种操作方法的电原理图,其中,每根电缆具有5根导线。5 is an electrical schematic diagram of another method of operation of a length of cable in another embodiment of a system for preventing icing, wherein each cable has 5 conductors.
图6是用于防止覆冰的系统的另一个实施例中的一段电缆的另一种操作方法的电原理图,其中,每根电缆具有5根导线。6 is an electrical schematic diagram of another method of operation of a length of cable in another embodiment of a system for preventing icing, wherein each cable has 5 conductors.
图7是用于防止覆冰的系统的另一个实施例中的一根电缆的一段的电气原理图,其中,每根电缆具有6根导线。7 is an electrical schematic diagram of a section of a cable in another embodiment of a system for preventing icing, wherein each cable has 6 conductors.
图8是另一个实施例中的一段电缆的电气原理图,其中,每根电缆具有7根导线。Figure 8 is an electrical schematic diagram of a section of cable in another embodiment wherein each cable has 7 conductors.
图9是电缆的横截面图,其中,电缆具有互相热接触的7根导线和钢制增强部件。Figure 9 is a cross-sectional view of a cable with 7 conductors and a steel reinforcing member in thermal contact with each other.
图10是用在系统中的太阳能电池供电的开关盒的框图。Figure 10 is a block diagram of a solar cell powered switch box used in the system.
图11是另一种用在系统中的开关的框图。Figure 11 is a block diagram of another switch used in the system.
图12示出了具有多个电缆段,且每个电缆段能够独立或依次地进行除冰或抗冰操作。Figure 12 shows that there are multiple cable segments and each cable segment is capable of de-icing or anti-icing operations independently or sequentially.
图13示出了用于图1所示的系统中的第一种电缆的横截面。FIG. 13 shows a cross-section of a first type of cable used in the system shown in FIG. 1 .
图14示出了用于图4所示的系统中的第二种电缆的横截面。FIG. 14 shows a cross-section of a second type of cable used in the system shown in FIG. 4 .
图15示出了用于图1所示的系统中的第三种电缆的横截面。FIG. 15 shows a cross-section of a third type of cable used in the system shown in FIG. 1 .
图16示出了具有串联开关的另一个实施例。Figure 16 shows another embodiment with series switches.
图17示出了在PCT/US2004/27408号文献中提出的用于电力线的除冰系统。Figure 17 shows a de-icing system for power lines proposed in document PCT/US2004/27408.
图18示出了具有与外导电层电绝缘的钢增强芯的电缆的横截面。Figure 18 shows a cross-section of a cable with a steel reinforced core electrically insulated from the outer conductive layer.
图19示出了双导线、每电缆段单开关的除冰系统。Figure 19 shows a two conductor, single switch per cable segment de-icing system.
图20是适用于图19中所示的除冰系统的感应式开关的原理图。FIG. 20 is a schematic diagram of an inductive switch suitable for use in the deicing system shown in FIG. 19 .
图21是用于说明用于图20中所示的感应式开关盒的另一种铁芯的原理图。FIG. 21 is a schematic diagram for explaining another iron core used in the inductive switch box shown in FIG. 20 .
图22是另一个每电缆段单开关除冰系统的原理图,该系统具有升压变压器用以减少电缆上的电压损失。Figure 22 is a schematic diagram of another single switch per cable section de-icing system with a step-up transformer to reduce voltage loss on the cable.
图23是兼具图1和15中所示实施例的特征的另一个实施例的原理图。FIG. 23 is a schematic diagram of another embodiment incorporating features of the embodiment shown in FIGS. 1 and 15 .
具体实施方式Detailed ways
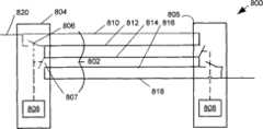
图1示出了用于电力去除或防止输电线路上的覆冰的系统100。为了简便起见,只在图中示出了三根电缆102中的一根或典型三相交流电线路的相线中的一根。在图1所示的实施例中,电缆102由三根平行导线104、106、108构成。三根导线104、106、108被间隔层110沿电缆102捆在一起。FIG. 1 shows a
电缆102被绝缘体112悬挂于电塔114之上,或另一个实施例中的电线杆之上(未图示)。在一节电缆102的端部,第一开关盒116和第二开关盒118与电缆102一起悬挂在绝缘子112上。开关盒116、118内各具有一个开关120和一个开关驱动控制器122。
对于一段输电线路,开关盒116、118要么处于开关断开的第一状态,要么处于开关闭合的第二状态。在正常运行时,开关盒保持在开关断开状态,此时电缆102的全部平行导线104、106、108以并联的方式电连接。当已知或怀疑输电线路100上有覆冰时,或由于积冰天气的到来需要预防覆冰产生时,开关盒116、118的开关120置于开关闭合状态。这使得电缆102的三根导线104、106、108以串联而非并联的方式电连接,此时,导线104向相反的方向输电,从而该段电缆102的有效电阻增加了9倍。For a section of transmission line, the
随着开关120处于开关闭合状态以及电缆102的有效电阻较正常状态增加至9倍,沿着该段电缆的电压也会相应地增加至9倍,这使电缆102的自身发热比正常的开关断开状态时的自身发热增加9倍,从而为融化覆冰和阻止再次覆冰提供了电缆102的发热。为了达到本发明的目的,在电缆段上进行的抗冰操作从而为融化覆冰或阻止再次覆冰提供了电缆102的发热。With the
开关盒116、118的开关120的运行受系统控制器124的控制。在一个实施例中,系统控制器124位于网络运行中心。在另一个实施例中,系统控制器124是一个能够探测包括覆冰情况在内的当地天气情况的自动装置,其被附连在易于遭受到覆冰的电缆段102的电塔114上,并对开关盒116、118进行控制。这样,即使开关盒116和开关盒118彼此相距数英里,二者的开关也可以基本上同时地闭合或断开。The operation of the
图1中所示的实施例也可用于直流输电线路的电缆或电极线,或如图2所示的电车供电线路。在图2所示的实施例中,在两个开关盒156、158之间具有连接成S形结构的三根平行导线150、152、154。三根导线中的一根,即接触导线154被设置成可与电动车辆162的集电弓160或其他电车线接触装置接触。The embodiment shown in FIG. 1 can also be used for cables or pole wires of direct current transmission lines, or for tram supply lines as shown in FIG. 2 . In the embodiment shown in FIG. 2 there are three
电动车辆162可以是具有使电动车辆电流通过铁轨164的回路的电气机车,或者图示的有轨电车单元。在另一个实施例中,两组平行导线154和开关箱156、158设置有双电车线接触装置160,分别用在直流或交流电车线系统中的各个相位线或电极线,这样,电动车辆162与两个相位线或电极线相连。在该实施例中,电动车辆162可以是使用橡胶轮胎的电动车辆,比如已经在旧金山运行了多年的电动公交车。The
在图2所示的实施例中,可以闭合开关168、166进入到除冰模式,或者将二者断开进入到通常运行模式。闭合开关168、166使导线154、152、150中流动的电流,例如在系统的后续部分被电动车辆162引流的电流依次而非并行地流过全部三根导线154、152、150,从而增加了电流密度和使导线发热。In the embodiment shown in FIG. 2, the
在图2所示的实施例中,接触导线154可以但非必须由不同于其他或非接触导线152、150的材料制成。例如,接触导线可以采用高强度、电阻值适当的青铜、黄铜、铜包钢、不锈钢或铝包钢制成,而并联的导线150、152由低电阻值的铜或铝制成。该实施例的优势在于,高强度的接触导线能够更好地克服由于与集电弓或其他电车线接触装置160接触而产生的机械应力。此外,虽然对非接触导线152、150进行除冰可以避免与重量负荷和风相关的破坏,接触导线154上的覆冰可能会干扰从接触导线154到集电弓或其他电车线接触装置160的电力传输。采用较大电阻的接触导线154,可有利于确保及时、快速地对接触导线154进行除冰,从而确保在覆冰状态下的电动车辆162的持续运行。在该实施例中,在短时间内闭合开关166、168可以对接触导线154除冰来确保持续的运行,而当覆冰会导致重量负荷或风力破坏时,反复闭合或较长时间地闭合开关166、168可以对非接触导线152、150进行除冰。In the embodiment shown in FIG. 2 , the
在图2所示的电车系统的一些实施例中,非接触导线150、152分别与接触导线154串联,或者相邻的导线150、152、154被间隔层隔开;在另一个如图3所示的实施例中,可将接触导线154形成为包含绝缘材料和非接触导线150、152的套管。In some embodiments of the trolley system shown in Figure 2, the
该系统100与Couture的专利中的系统的不同之处在于:电缆102的一根导线104中的电流沿相反方向流动;Couture的专利中的系统每次只能对一根或一些导线除冰,而在系统100中可以同时对一段电缆的全部三根导线除冰;对于间隔式导线电缆,Couture的专利中的系统需要几个连续的除冰操作以清除电缆的全部导线的覆冰。系统100与Couture的专利中的系统的不同之处还在于开关的数量和位置。在Couture的专利中的系统中,在每段电缆的两端之间的某点设置一组开关,而在系统100中,在每段电缆的两端都设置有开关。对于在输电线路中采用三芯电缆的情况,在Couture的专利中的系统需要3个开关,而系统100只需要2个开关。二者的另一个不同点在于,如果所有的系统开关不能位于闭合位置时,电流将被中断,从而电力传输也将被中断,而对于系统100,甚至当可能发生因系统停工或例如由闪电产生的破坏而导致的全部的开关闭合时,也可以提供持续的电流。同样地,系统100也不同于Shimada的专利中的系统,原因在于系统100未形成回路,从而无需对回路提供额外的电流。This
在如图4所示的用于去除覆冰或防止覆冰的系统的另一个实施例200中,每根电缆202具有五根导线而非三根。在该实施例中,每个开关盒204、210具有两个联动开关206、207、209和一个致动控制器208。在该实施例中,闭合开关206、207、209可使电缆202的有效电阻增加25倍;因此增加的电缆102自身发热可以用来融化覆冰和阻止再次覆冰。在图4所示的实施例中,五根导线中的两根沿反向传输电流,而其他三根导线沿正向传输电流。In another
在图4所示的实施例中,一段电缆102的全部导线的有效长度增加了5倍。因长度增加而导致的相移不会对在电网中运行的输电线路中的功率流产生明显的影响,原因在于,由于被除冰的电缆段只有数英里的长度,而60Hz的电力线交流电的波长大致为三千英里,故不会引起明显的相移。此外,由于同时操作全部三相的开关可以同时增加全部的三相线的长度(和导线电阻),所以在输电线路的不同相导线之间不会因除冰操作产生明显的相移。In the embodiment shown in FIG. 4, the effective length of all conductors of a section of
如上所述的电阻和功率消耗增加假设在实施例中电缆的每根导线的电阻相同,例如对于采用露天间隔层间隔导线电缆的情况。在其他的实施例中,在电缆中个别导线可能具有不同的电阻,同时所得出的电阻率将会随实际导体电阻而不同。The increase in resistance and power consumption as described above assumes that in embodiments the resistance of each conductor of the cable is the same, eg for a cable with open air spacer spaced conductors. In other embodiments, the individual conductors in the cable may have different resistances, and the resulting resistivity will vary with the actual conductor resistance.
如果电缆传导低电流时,电缆102自身发热增加25倍是可以接受的,但是如果电缆以大电流运行和/或几根导线被绑到一起而未被间隔层隔开,这种发热增加就可能过度了。可以如图5所示的另外的方式操作图4中所示的开关配置,以获得其他有效的功耗增加。A 25-fold increase in the self-heating of the
在图5所示的实施例中,闭合开关206、209而进入除冰模式,此时开关207维持断开状态。在该实施例中,假定每根导线电阻相同,那么每个电缆段的有效电阻的增长了5倍。In the embodiment shown in FIG. 5 , the deicing mode is entered by closing the
同样,在图6所示的实施例215中,开关206、207闭合而开关209断开。在该实施例中,假定每根导线的电阻为R,那么电缆段的有效电阻从1/5R增加到3R,电阻增长了15倍。Likewise, in the embodiment 215 shown in Figure 6, the
具有6根或更多导线的实施例可以采用偶数根导线。在图7所示的六芯实施例220中,当闭合开关206、222时,电缆段的有效电阻从1/6R增加到3/2R,增加倍数为9。也可以采用在除冰模式下使功率增大的其他系统配置;例如,如果保持开关222断开而闭合开关206,电阻从1/6R增加至3/4R,增加了9/2倍。Embodiments with 6 or more wires may use an even number of wires. In the six
同样地,在另一个实施例250中,每根电缆可以有7根导线,并在每个开关盒268、270内具有3个或4个(如图8所示)开关252、254、256、258、260、262、264、266。在图8所示的实施例中,根据例如图1所示的开关的开闭情况,可以设定电缆的有效电阻,当开关全部断开时,电缆的有效电阻增长49倍。值得注意的是,该实施例具有图1中未示出的更多的选择和模式。在某种程度上,闭合开关的模式还可以对在抗冰操作中选择对哪些导线进行加热和使哪些导线断电。在另一个实施例中,开关266和252被导线代替,而使得提供的电阻选择减少最小。在系统的最小电阻和最大电阻配置之间的运行模式在此处被称为中间电阻模式;在表1中对多种电阻模式加以说明。在一个实施例中,系统控制器监测流过输电线路的电流,并确定除冰所需要的电阻,从最小电阻、最大电阻和中间电阻模式中选出适合输电线路中的电流的模式。在一些实施例中,系统控制器可以也可以对能量存储系统、发电系统或网络运行中心发出增加输电线路中的电流的请求,从而为除冰提供足够的电流。Likewise, in another
表1Table 1
其他的实施例中可以使用其他数量的导线,例如,在每根电缆具有9根导线和4个开关的实施例中,当开关闭合时,有效电阻值可增长81倍。Other embodiments may use other numbers of wires, for example, in an embodiment with 9 wires and 4 switches per cable, the effective resistance may increase by a factor of 81 when the switches are closed.
在一个特定的实施例中,输电线系统具有相电缆267,该相电缆267具有若干电缆段,每段分别与图8所示的示意图对应。在本实施例中,根据图9所示的电缆截面图,电缆267具有7根由铝或铜制成的导线253、255、257、259、261、263、265,这些导线以互相并与中心钢制增强件280热接触和机械接触的方式被绑束在一起。这7根导线对应图8中所示的7根导线。在该实施例中,与图1中所示方式类似,相电缆被悬挂于电塔上,并配备有系统控制器124。In a particular embodiment, the transmission line system has a
在该实施例中,控制器124对流过输电线电缆的电流进行监测。当检测到有覆冰时,控制器124确定电阻增加值,以便为对电缆进行除冰提供足够的电缆267发热量,并避免对电缆267的破坏。然后该控制器自动地确定开关盒268、270中的开关253、255、257、259、261、263、265的闭合配置,以及将该配置传递到开关盒268、270,使系统进入到对电缆267的特定段进行除冰的模式。该电缆267的特定段的除冰完成后,开关断开以恢复正常运行。In this embodiment, the
当发生如下的情况时,即,检测到覆冰并确定需要进行除冰,但电缆267传输的电流过小,甚至即使开关盒268、270的开关253、255、257、259、261、263、265处于最大电阻配置时,也不能为除冰提供足够的热量,控制器124可以对网络管理系统发出重新配置电网的请求,从而通过电缆267输送足够的电力以对电缆267进行除冰。对于将储能系统连接到电网的输电线路,可能需要储能系统或存储或释放足够的能量到线路中以进行除冰。When the following situation occurs, that is, detection of icing and determination of the need for deicing, but the electric current transmitted by the
输电线路的电阻自发热量正比于通过输电线路的电流I的平方与线路电阻R的乘积(I2*R)。表1中的电阻增加的计算基于假设电缆中的每根导线的电阻值相同。由于有时输电线路中的电流相当低,所以可采用导线电阻不同的输电线路系统,与采用等电阻导线的系统相比,这样的配置可以显著提高最大电阻。例如,在图8所示的变形实施例中,导线263和导线265的电阻是其他或低电阻导线253、255、257、259、261的电阻的10倍。在正常运行时,导线263、265输送小电流,有效电阻R略小于低电阻导线253、255、257、259、261中的每根的电阻的1/5。如果仅通过断开开关252和开关256将全部的7根导线配制成串联,有效电阻会增至125R;如果断开开关258和开关260,有效电阻增至中间值70R。各种中间值电阻增加也可供控制器124选择,并可迅速地得到计算。The resistance self-heating of the transmission line is proportional to the product of the square of the current I passing through the transmission line and the line resistance R (I2 *R). The resistance increase calculations in Table 1 are based on the assumption that each wire in the cable has the same resistance value. Since the currents in transmission lines are sometimes quite low, transmission line systems with different conductor resistances can be used, which can significantly increase the maximum resistance compared to systems with equal resistance conductors. For example, in the variant embodiment shown in FIG. 8 , the resistance of
在又一个实施例中,导线263的电阻是其他低电阻导线253、255、257、259、261的10倍,而导线263的电阻是其他低电阻导线253、255、257、259、261的30倍。在该实施例中,有效电阻可增加至中间值70R,并可可增加至最大值225R。在这些实施例中,控制系统124基于在输电线路中可获得的电流值,选择为除冰提供足够热量的适当开关配置。此种配置然后被传递到开关盒268、270,二者据此来设置各自的开关。控制器继续监测传输线中的电流,此外,如果电流改变为既可以为除冰提供适当的热量,又避免可能导致对输电线路的破坏的过热,那么控制器还可以重新配置开关盒268、270的开关。控制器124可以是独立控制器,也可以与开关盒268、270一体。In yet another embodiment, the resistance of the
在一个实施例中,输电线电缆267用来运送太阳能发电系统或风能发电系统发出的电力,上述发电系统具有储能子系统。在该实施例中,如果即将进入到除冰模式,但传输线传送的电流过小或为零时,控制器124可以向储能子系统发出请求,请求其释放部分储藏电能到传输线以提供线路除冰所需的电流。In one embodiment, the
在其他的实施例的电缆中可能具有额外的电线,说明性地为N根电线,并且每根电线彼此相互绝缘。在类似于图8所示的实施例的实施例中的每根导线由N根电线中的一根或多根的组装而成。在一个实施例中,对于开关盒而言具有M根有效导线,而电缆中有N根绝缘电线,M小于或等于N。每根导线中电线的数量可能因导线而异,较大电阻的导线中的电线数量可能小于较小电阻的导线中的电线数量。In other embodiments the cable may have additional wires, illustratively N wires, each insulated from each other. Each wire in an embodiment similar to the embodiment shown in FIG. 8 is assembled from one or more of N wires. In one embodiment, there are M active wires for the switch box and N insulated wires in the cable, M being less than or equal to N. The number of wires in each wire can vary from wire to wire, with a larger resistance wire having fewer wires than a lower resistance wire.
本地电力分配输电线路的运行电压通常在3,500伏至25,000伏之间,而许多“高压”三相传输电线路的运行电压通常在60,000伏至1,200,000伏之间。采用传统结构的实施例可能仅适用于本地电力分配输电线路,而适用于高压输电线路运行的结构更具挑战性。Local power distribution transmission lines typically operate between 3,500 volts and 25,000 volts, while many "high voltage" three-phase transmission lines typically operate between 60,000 volts and 1,200,000 volts. Embodiments employing conventional structures may only be suitable for local power distribution transmission lines, while structures suitable for high voltage transmission line operation are more challenging.
在一个尤其适用于高压输电线路的实施例(图10)中,由于开关盒204、116、118的所有元件的运行电压接近电力线电缆102、202的电压,所以开关盒204、116、118附接于绝缘体112的电缆202、102端上,并与电缆共同被悬挂。在这样一个实施例中,用标准的115V交流电源对开关盒204、116、118供电是不切实际的。从而,开关盒204、116、118、300由诸如超级电容器或电池的内能存储器302供电。In one embodiment (FIG. 10) particularly suitable for use on high voltage transmission lines, the
在多数的实施例中,经充电器310从下述器件中的一种对能量存储器302充电,所述器件包括被电缆102、202的一根或多根导线围绕的电感传感器304、太阳能板306、或者接地的小容量电容308。能量存储器302对控制信号接收器312供能,而接收器312通常是开关盒300中唯一耗能的元件。In most embodiments, the energy storage 302 is charged via the
当控制信号接收器312接收到系统控制器124发出的正确编码的“除冰”命令时,接收器312驱动闭合高电流开关或开关316的电动开关驱动器314,其中,可以将系统控制器124发出的“除冰”命令通过在电缆102、202上叠加的高频载波与所传送的电力一起,或利用光纤以光信号的方式,或通过无线电信号从控制器124传送到接收器312。开关驱动器314可能包含螺线管、电磁铁或电动机,以及可能包含另外的用于如本领域中已知地快速地开闭电动转换器件的弹簧转换器件。在另一个实施例中,开关316是电子转换器件。而在又一个实施例中具有与电动机械开关并联的电子开关。When the control signal receiver 312 receives a properly coded "de-ice" command from the
在一个实施例中,驱动器314作用以克服弹簧318的维持控制开关316断开的弹力。In one embodiment,
在炎热的夏日,当输电线路满负荷运转时,因疏忽而闭合开关316不仅会导致额外的功率损耗和电线发热,还会导致足以威胁到地表人员或财产的电线下垂,甚至会对电缆102产生破坏;驱动器314通过与线夹322相连的熔线320作用并不抵靠在开关盒300的箱体上拉动开关316闭合,其中,线夹322附接在电缆102的例如导线104的一根导线上,并距开关盒300的距离较短。熔线320靠近导线104,其由低熔点金属或塑料制成,这样,在导线104达到会导致导线过度下垂或破坏电缆102的温度之前,熔线320会熔断,从而使得弹簧118断开开关116。因此,万一去除覆冰或防止覆冰系统停止运转,开关116将不能进入断开(低电阻)状态。On a hot summer day, when the transmission line is operating at full capacity, inadvertently closing the
如图11所示的另一个实施例的优势在于,可以采用商用电流接触器和/或固态继电器作为开关盒的开关元件,其中,开关元件可能会干扰稳定的电流。在该实施例中,控制信号接收器312通常通过对电激励接触器模块340进行激励在低电阻和高电阻状态之间对电缆102、202进行切换。接触器模块340可以包含机电混合式转换器件、固态继电器或二者兼具,其中,可以使用固态继电器的原因在于开关两端的最大电压远小于输电线路的运行电压。在使用固态继电器的同时对机电混合式开关进行适当地时间控制的优势在于,机电混合式转换器件为输电线路电流提供了低合闸电阻,而该电流可能是百安培数量级,同时减少了固态继电器的自身发热,此外,通过将固态继电器先于机电混合式转换器件断开而断开,并迟于机电混合式转换器件闭合而闭合,可以抑制任何伴随机电混合式转换器件的开闭而产生的接触弧。An advantage of another embodiment as shown in Figure 11 is that commercial contactors and/or solid state relays can be used as the switching elements of the switch box, where the switching elements might interfere with the steady current flow. In this embodiment, the control signal receiver 312 switches the
在图11所示的实施例中,接触器模块340以并联的方式与安全开关342连接,其中,只要熔丝320因固定有线夹322的导线346过热而熔断时,安全开关342就会由弹簧344断开。当导线346达到高温时,这样会有效地使控制信号接收器312和开关340超驰。这可以防止当开关盒失效时电缆102、202的过度下垂或过热损害,但是这样会对增加随后覆冰对电缆102、202造成损害的风险,尤其是如果对失效开关盒不进行修理的话。In the embodiment shown in Fig. 11, the contactor module 340 is connected with the
在另一个实施例中,控制信号接收器312监测温度传感器324测得的温度,当测得的温度表明除冰已完成但低于熔化熔线320所需的温度时,控制信号接收器312将开关340断开以恢复全部导线的并联状态。在一个实施例中,温度或状态发送器326向系统控制器124发送因高温而断开开关340的指示,从而在导线另一端的开关盒也可以全部导线恢复到并联状态。优选将熔线320置于当电缆段的开关盒处于不一致的状态时流过电流最大的导线上,所谓的不一致的状态指的是一个开关盒的开关340闭合,而另一个开关盒的开关340断开。In another embodiment, the control signal receiver 312 monitors the temperature measured by the temperature sensor 324, and when the measured temperature indicates that deicing has been completed but is lower than the temperature required to melt the
为了对系统控制器124提供反馈,以及促进对失效开关盒的修理,与安全开关342联动的传感器开关347一种状态为检测熔线320的失效,并将该信息通过发送器326向系统控制器124发送。In order to provide feedback to the
为了辅助系统的控制,可以在线夹322上附接温度传感器324(图10和图11),被温度发送器326向系统控制器124发送的温度示数例如表明电缆段的除冰在何时完成,因为电缆102的导线104的温度已经明显高于水的凝固温度。To aid in the control of the system, a temperature sensor 324 (FIGS. 10 and 11) may be attached to the
或者,在进行去除覆冰或防止覆冰操作时,可利用传感器324将电缆温度维持在例如+10℃的预先设定值。如果采用如此做法,当温度达到预先设定值时断开开关,而当温度低于该值时闭合开关。这样有效地减少了用于去除覆冰或防止覆冰的总能量消耗,同时可以防止电缆过热。Alternatively, the sensor 324 can be used to maintain the temperature of the cable at a preset value such as +10° C. during deicing or anti-icing operations. If this is done, the switch is opened when the temperature reaches a preset value and closed when the temperature falls below that value. This effectively reduces the overall energy consumption for deicing or preventing icing, while preventing the cable from overheating.
在图12所示的实施例中,输电线路的电缆400可能长达上百英里,并会经过多种地形带和气候带,每根电缆400被分成从1/10英里至10英里长的电缆段,例如电缆段402和电缆段404。每节电缆段具有第一开关盒406、410、414和第二开关盒408、412、416。为了防止输电线路上的过高电压降,当决定需要对电缆102进行除冰时,第一电缆段402的开关盒406、408被激励而将开关闭合。当对电缆段进行除冰后,第一电缆段的开关断开,而第二电缆段的开关盒410、412被激活而将开关闭合,以此类推顺次进行除冰,直至完成电缆400中所有覆冰的电缆段的除冰操作。同样地,将电缆400分段允许对电缆400中已处于或将要处于冰暴环境的各电缆段进行除冰,同时允许其他天气条件下的电缆段的继续正常运行。In the embodiment shown in Fig. 12, the
通过依次对输电线路的电缆段进行除冰可以减少电压降,从而有助于维持电网的稳定性以及避免可能会被用户察觉到的输电线路的电压降。Voltage drops can be reduced by sequentially de-icing cable sections of transmission lines, thereby helping to maintain grid stability and avoid voltage drops on transmission lines that may be perceived by customers.
图13示出了适用于本发明电缆除冰系统中的每个开关盒的开关的电缆,具体地是三芯电缆的横截面。一个可由绝缘的塑料、陶瓷或金属间橡胶绝缘体制成的三角间隔层502附接于电缆的每根导线504。可以通过将盖子模制、粘结在电缆和绝缘子的基础部分上,并用螺钉将盖子固定在绝缘体基础部分上,或其他的在间隔导体电缆领域已知的其他方法将间隔层502附接于导线504。每根导线504可以是套在可选择支承钢芯506上的导电铜制或铝制壳,或由导电铜绞线或铝绞线卷绕在多股钢绞线的支承芯组装而成。间隔层502沿电缆被设置成具有固定间距,该间距被选择的足够小以防止电缆导线之间的直接电接触。Fig. 13 shows the cables suitable for the switches of each switch box in the cable deicing system of the present invention, specifically the cross-section of the three-core cables. A triangular spacer 502, which may be made of an insulating plastic, ceramic or intermetallic rubber insulator, is attached to each conductor 504 of the cable. The spacer layer 502 may be attached to the conductors by molding the cover, gluing it to the base of the cable and insulator, and screwing the cover to the base of the insulator, or other methods known in the field of spaced conductor cables. 504. Each conductor 504 may be a conductive copper or aluminum sheath over an optional support steel core 506, or may be assembled from a support core of conductive copper or aluminum strands wound around multiple strands of steel. Spacer layers 502 are arranged along the cable with a fixed spacing, the spacing being chosen to be small enough to prevent direct electrical contact between the cable conductors.
在图14所示的实施例中,四根导线602被间隔层604围绕中心导线606设置,这5根导线具有基本相同的载流量。本实施例中的一根导线606或全部的5根导线602、606可以具有钢芯608以便为电塔间的长跨度导线提供所需的强度。由于在除冰时全部的5根导线602都会传导电流,所以即使这5根导线彼此并未热接触也可以全部进行除冰。In the embodiment shown in FIG. 14, four
在图15所示的实施例中,电缆700被作为电缆102或电缆202使用,由3根(已图示)、5根、7根或9根导线702、704、706围绕可以是绞合钢线的增强芯708组装而成。导线702、704、706可以是绞合铜线或铝线,彼此隔热并包覆有挤压塑料绝缘层710。In the embodiment shown in FIG. 15, the cable 700 is used as
参照图13、14及15,预见到无需采用实心的导线504、602、606、702、704、706和支承钢芯506、608、708;在大多数的实施例中,上述导线和钢芯采用的是现有传输电路电缆中的绞线结构,以确保柔韧性和易于安装性。这些导线和钢芯可以被合并成一体,即,成为具有多根独立导体钢绞线绞的导线,诸如成股的(铜包钢)电线。此外,实施例中可能具有聚集成这里所述的导线的更多数量的较小绝缘线;例如,根据本发明,为了实现除冰的目的,输电线路的电缆可能有6根电线,其被分成3组,每组2根,其中,如上文叙述到的,每对电线被作为除冰用导线使用。Referring to Figures 13, 14 and 15, it is foreseen that there is no need for
这里所述的原理也同样适用于直流输电线路。虽然不可能由输电线路中的电流感应或通过高压电容器来向直流输电线路的开关盒供能,但可以采用包括但不限于太阳能电池和电池组的其他开关盒动力装置。The principles described here also apply to DC transmission lines. While it is not possible to power DC line switch boxes by current induction in the transmission line or through high voltage capacitors, other switch box power means including but not limited to solar cells and batteries may be employed.
这里所述的系统使用从系统控制器124发送到开关盒300的控制信号。希望以加密和编码的形式传输控制信号,来防止开关盒的开关意外闭合或非授权人员对系统的破坏。The system described herein uses control signals sent from the
在图16所示的实施例中,另一种开关配置可以起到类似的作用。在电缆800的本实施例中,电缆802具有大于3的奇数根导线810、812、814、816、818布置在两开关盒804、805之间。在正常运行时,串联的开关806和开关807将导线812、814、816和818并联连接到导线810和输入端820上,以及连接到输出端开关盒805上,其上相应的开关被断开。当开关盒控制驱动器808闭合开关806和开关807时,电流被迫连续流过全部的五根导线810、812、814、816、818,从而引起这些导线的自身发热。这种配置具有减少任一开关两端电压的作用,而代价是增加了串联线路中第一开关(例如开关806)中的电流。In the embodiment shown in Figure 16, another switch configuration can serve a similar purpose. In this embodiment of the
如在PCT/US2004/27408号文献中所公开的那样,在如图17所示的输电线路的除冰系统中,通常的三相电中每一相在电缆900上传导,同时,每根电缆分为两根导线904、906。设置在电缆段910端部的开关908在正常运行模式和除冰模式间进行切换,其中,在正常运行模式下,两根导线904、906并联,而在除冰模式下,电流仅沿两根导线904、906中的导线906流动;在除冰时所使用的导线906的尺寸被确定成使电缆的电阻大达到足以产生足够的自身发热来为电缆除冰和防止再次覆冰,在正常运行时处于6并联的导线904的尺寸则被确定成提供适当的低电阻来减少正常运行时的能量损耗。在电缆段910的远离开关908并在下一电缆段916的开关914之前的一端,两根导线904、906被短路线912电短接在一起。除了在短路线912处以外,导线904、906均被绝缘层918隔开。在PCT/US2004/27408号文献所公开的技术方案中,进行除冰的第一导线904是与将被除去的覆冰物理接触的电缆的外层,而通常的第二导线906是电缆的中心部分,其可以包括电缆的任何芯部。As disclosed in the PCT/US2004/27408 document, in the deicing system of the transmission line shown in Figure 17, each phase of the usual three-phase electricity is conducted on the
包括改进型电缆1000(见图18)的高压输电线路电缆通常每根导线由如铝或铜绞线的多根绞线1002围绕着一根增强芯制成,该增强芯具有由强度和电阻更大的例如钢的材料制成的绞线1004,钢有助于支承电缆,从而允许电塔或电线杆的间距比其他可能方式的更大。在改进型电缆1000中,还增加了绝缘层1006,用来防止增强芯绞线1004与导电绞线1002之间的电接触。High voltage transmission line cables including improved cables 1000 (see FIG. 18 ) are typically made of
一种如图19中所示的用于输电线电缆的改进型除冰系统1100,其电缆1102具有钢芯1104、绝缘层1106和导电层1108,绝缘层1106防止钢芯1104与导电层1108接触;钢芯1104和导电层1108通常由多股绞线构成。可以设置诸如外绝缘层和防风雨层的附加层。电缆1102分为电缆段1110,电缆段1110的一端设置有开关盒1114,另一端则设置有钢芯1104和导电层1108之间的短路接线1116。An
在正常运行时,开关盒1114保持电缆1102的各段的导电层1108间的电连接。在这种正常运行模式下,电缆1102中所传输的多数电流经导电层1108传导。为了对电缆1102的电缆段1110进行除冰,与电缆1102的电缆段1110相关的开关盒1114的控制器1118将开关1120闭合,从而减少或切断了导电层1108中的电流,同时,由于电缆是继续输送电力的输电线路的一部分,所以相应地会增加该电缆段1110的钢芯1104中的电流。During normal operation, the
在另一个参照图15和图1的如图23所示实施例中,导电层包括如图15中所示的若干导线702、704、706,各导线与类似于图1或图4中所示的开关盒相连接。在每段电缆的端部,增强芯708被电连接在开关盒1401和开关盒1403之间。当开关1402、1404闭合时,导电层702、704、706的有效电阻相对于开关断开时电缆的有效电阻有所增加,从而使更多但非全部的电流转向而流过增强钢芯1104、708。In another embodiment shown in FIG. 23 with reference to FIG. 15 and FIG. 1, the conductive layer includes a plurality of
在一个实施例中,开关盒1114包括有感应器1122。当开关1120闭合时,该感应器与低电阻值的电缆段1110的外导电层1108电串联,该串联的电感1122和导电层1108与该电缆段的内钢芯1104电并联;这样,电感1102中的部分但非全部电流转向流过内钢芯1104;此时流过内钢芯1104的电流值远大于在开关1120断开的正常运行状态时流过内钢芯1104的电流值。In one embodiment, the
开关盒1114具有如先前参照图10和图11进行描述的供能装置和高温跨越装置。The
在另一个如图20所示的实施例中,在适于代替开关盒1114的开关盒1200内未设置开关1120。在该实施例中,开关盒1200具有功率输入引线1202,该功率输入引线1202均与前一电缆段的外导电层1108和内钢芯1104连接,还与用于与电缆段1110的内钢芯1104连接的电力输出引线1204连接;在一些实施例中,上述连接可包含电缆的局部裸露的钢芯1104。In another embodiment shown in FIG. 20 ,
如图20所示的实施例中还具有螺线圈1206,该螺线圈1206具有几圈高载流量电线,并被连接于功率输入引线1202和用来与电缆段1110的外导电层1108连接的第二功率输出引线1208之间。开关盒1200具有储能装置1212,该储能装置1212具有先前参照图10和图11进行描述的充电装置,以及控制信号接收器1214。当控制信号接收器1214接收到对电缆段1110进行除冰的指令时,控制信号接收器1214驱动电机驱动器1216拉动非磁电缆1218。非磁电缆1218绕过滑轮1220到达磁芯元件1222,对电机驱动器1216的驱动将铁芯元件1222拉进螺线圈1206。当铁芯元件1222被拉进线圈1206时,线圈1206的电感增加,从而将电缆1102中的部分电流转向流过电阻内钢芯1104。The embodiment shown in FIG. 20 also has a helical coil 1206 having several turns of high ampacity wire and is connected to the
滑轮1220通过卡子1224被安装在开关盒1200的盒体上,同时,还连接有其强度足以克服使铁芯元件1222进入螺线管1206的螺线管引力的弹簧1226,用来将铁芯元件1222从螺线管1206中拉出。当开关盒1200的控制信号接收器1214接收到停止对电缆段1110除冰的指令时,控制信号接收器1214命令电机驱动器1216放松非磁电缆1218。这将使得弹簧1226能够将铁芯元件1222从螺线圈1206中拉出,从而使电缆段1110回到正常运行模式。
在例如先前提到的参照图11所讨论的熔丝320的熔丝因电缆段1110过热而发生熔断时,安全致动杆1230被弹簧1232拉入开关盒1200内。被拉入到开关盒1200内的致动杆1230触发卡子1224松开滑轮1220,这会使得开关1226能够将铁芯元件1222从螺线管1206中拉出,从而使电缆段1110恢复到低阻抗运行状态;这样就有效地减少了增强芯1104中的电流并降低了电缆1102的自身发热。In the event that a fuse, such as
在图20所示的开关盒的实施例中,开关盒包含有例如图11所示的传感器324和温度/状态发送器326的电路,这样,系统控制器124(见图1)可以确定何时完成除冰,因此,系统控制器124将命令开关盒1200恢复到正常运行状态并开始下一电缆段的除冰操作(如有必要)。在一个实施例中,控制信号接收器1214也会对传感器324进行监测,并试图在温度低于熔丝320熔断所需温度时通过抽出铁芯元件1222使开关盒1200恢复到正常运行状态。In the embodiment of the switch box shown in FIG. 20, the switch box contains circuitry such as sensor 324 and temperature/
在另一个类似于图20所示的实施例中,如图21所示,利用双根铁芯来代替单根可动铁芯1222。在该实施例中,第一L形铁芯部1240被固定在开关盒上。第二L形铁芯部1242布置成其可从螺线圈1232中抽出到达如图21所示第一位置1242,以提供低阻抗设置,或者被拉入到螺线圈1232到达图21中由虚线表示的第二位置1244,以提供高阻抗设置。在该实施例中,当第二铁芯部1242位于高阻抗位置时,第一和第二L形状铁芯部1242、1240形成磁通回路。In another embodiment similar to that shown in FIG. 20 , as shown in FIG. 21 , a single
图19和20所示的实施例在先前参照图1所讨论的系统控制器124的控制下运行;在一个实施例中,一些电缆段为参照图19和20所描述的电缆段,而另一些电缆段为参照图1和4所描述的电缆段。The embodiment shown in FIGS. 19 and 20 operates under the control of the
图22所示的实施例也是用于输电线路电缆除冰的系统1300,在该实施例中,通过将部分电缆电力经升压变压器(线圈1304和线圈1306)和电缆1302的钢支承绞线1308分流对电缆1302进行加热。在该实施例中,钢绞线1308被绝缘体1310围绕,之后再被绞合铝或铜导电层1312。开关盒1313具有在正常运行时闭合的开关1314和断开的开关1316,以允许电流顺畅地流过导电层1312。开关盒1313还具有储能装置1322和指令接收器1324,二者类似于参照图11所述的储能装置302和指令接收器312,并具有等效的充电电路;以其他实施例一样,指令接收器1324与系统控制器124进行通信。The embodiment shown in FIG. 22 is also a
当需要对电缆1302进行除冰时,指令接收器1324接受指令并断开开关1314,首先建立通过钢支承绞线1308的电流通路;然后,指令接收器1324闭合开关1316以对变压器初级线圈1306提供相当大的电流。变压器次级线圈1304因此对支承绞线1308供电。变压器初级线圈1306仅具有几匝,并且变压器铁芯1318由饱和磁性材料制成,这样,电缆中现有的电力中只有很少量被供给到支承绞线1308;例如每米电缆为100至300W的情况,在600kV、输送电流为100安培的输电线路中,就每米电缆300W而言,需要150kW对每英里线路的全部三根电缆进行加热,这不到流过输电线路的总电力的百分之十,同时可以将初级线圈1306的电压降控制在较低的范围。When the
与其他的实施例一样,图22所示的实施例具有检测电缆过热状态的装置(未在图22中示出),例如熔丝和温度传感器。当用于检测电缆过热状态的装置检测到电缆处于过热状况时,开关1316或辅助开关(未图示)被断开以通过旁路变压器初级线圈1306来减少电缆芯1308中的电流;在正常运行模式下旁路初级线圈1306可以极大地减少电缆芯1308中的电流和电缆1302的电阻发热。Like the other embodiments, the embodiment shown in FIG. 22 has means (not shown in FIG. 22 ) to detect an overheated condition of the cable, such as fuses and temperature sensors. When the means for detecting a cable overheating condition detects that the cable is in an overheating condition, the
这里所述的所有实施例的开关盒,如图10、11、21和22中所示的开关盒例如通过温度传感器324检测电缆和开关盒是否处于过热状态,并在温度低于例如熔丝320的熔丝熔断所需温度时试图从除冰运行状态恢复到正常运行状态。万一出现系统控制器124,电开关制动器314、电动开关340、1120、1316、电机驱动器1216、温度传感器324或其他元件错误地进入除冰模式的情况,由熔丝320和相关装置提供的机械感应以及恢复线路的低电阻运行实现了一种备用机械跨越,从而使防止了对输电线路及其电缆的过热损害。The switch box of all embodiments described here, the switch box shown in Fig. 10,11, 21 and 22 for example detects whether cable and switch box are in overheating state by temperature sensor 324, and when temperature is lower than
尽管上文已经对具体实施例进行了具体描述,本领域的技术人员会理解的是,在不脱离本发明的精神的范围内可进行形式和细节上的改变。可以理解,在不脱离的此处披露的和根据所附权利要求所理解的更广泛的概念的范围内,可以对不同实施例的适应性描述做出各种改变。Although specific embodiments have been described in detail above, workers skilled in the art will understand that changes may be made in form and detail without departing from the spirit of the invention. It will be appreciated that various changes may be made to the description of adaptations of different embodiments without departing from the broader concepts disclosed herein and understood in accordance with the appended claims.
| Application Number | Priority Date | Filing Date | Title | 
|---|---|---|---|
| US4187508P | 2008-04-02 | 2008-04-02 | |
| US61/041,875 | 2008-04-02 | ||
| US12/193,650 | 2008-08-18 | 
| Publication Number | Publication Date | 
|---|---|
| CN101552444Atrue CN101552444A (en) | 2009-10-07 | 
| Application Number | Title | Priority Date | Filing Date | 
|---|---|---|---|
| CNA2009100095373APendingCN101552444A (en) | 2008-04-02 | 2009-02-18 | System and method for deicing of power line cables | 
| Country | Link | 
|---|---|
| US (1) | US20090250449A1 (en) | 
| EP (1) | EP2258030A1 (en) | 
| JP (1) | JP2011517267A (en) | 
| KR (1) | KR20100130220A (en) | 
| CN (1) | CN101552444A (en) | 
| CA (1) | CA2720352A1 (en) | 
| EA (1) | EA201071153A1 (en) | 
| RU (1) | RU2009103371A (en) | 
| WO (1) | WO2009123781A1 (en) | 
| Publication number | Priority date | Publication date | Assignee | Title | 
|---|---|---|---|---|
| CN102215633A (en)* | 2010-04-02 | 2011-10-12 | 鸿富锦精密工业(深圳)有限公司 | Circuit board and manufacturing method thereof | 
| CN103594999A (en)* | 2013-11-23 | 2014-02-19 | 大连尚能科技发展有限公司 | Transmission line ice melting method based on energy storage device and circuit | 
| CN103701080A (en)* | 2014-01-07 | 2014-04-02 | 国家电网公司 | Method for melting ice by utilizing power transmission circuit load current | 
| CN103703653A (en)* | 2011-07-22 | 2014-04-02 | 魁北克水电公司 | Switching device, control system and method for varying the impedance of a phase line | 
| CN102290767B (en)* | 2010-04-19 | 2016-05-18 | 阿尔斯通运输科技公司 | The method being used for to the supply lines deicing for rolling stock | 
| CN107196230A (en)* | 2017-06-19 | 2017-09-22 | 天津送变电工程公司 | A kind of big span tension stringing construction method and support frame | 
| CN108645347A (en)* | 2018-06-19 | 2018-10-12 | 贵州电网有限责任公司 | A kind of electric power line ice-covering thickness measuring device and its application method | 
| CN109033691A (en)* | 2018-08-16 | 2018-12-18 | 四川大学 | Heating transmission pressure parameter optimization method certainly based on exchange heating power supply | 
| CN109215874A (en)* | 2017-07-05 | 2019-01-15 | 汤恩山 | From thermal high (extra-high voltage) insulation enamel-cover power transmission line | 
| CN111380333A (en)* | 2020-05-14 | 2020-07-07 | 山西华通电力有限公司 | A kind of mine seven-core cable self-control heating dehumidification and moisture absorption device | 
| CN113746049A (en)* | 2021-08-27 | 2021-12-03 | 中航天建设工程集团有限公司 | High-voltage cable deicing device | 
| Publication number | Priority date | Publication date | Assignee | Title | 
|---|---|---|---|---|
| US20100206990A1 (en)* | 2009-02-13 | 2010-08-19 | The Trustees Of Dartmouth College | System And Method For Icemaker And Aircraft Wing With Combined Electromechanical And Electrothermal Pulse Deicing | 
| JP5218134B2 (en)* | 2009-02-18 | 2013-06-26 | トヨタ自動車株式会社 | Charging system | 
| US20110024183A1 (en)* | 2009-07-31 | 2011-02-03 | Electric Power Research Institute, Inc. | Coaxial-type cable for overhead transmission | 
| CN101856656A (en)* | 2010-07-11 | 2010-10-13 | 智勇军 | High voltage insulator de-icing machine | 
| CN102208791B (en)* | 2011-02-23 | 2014-01-15 | 苏州蓝特照明科技有限公司 | Defroster for high-tension transmission line | 
| RU2459329C1 (en)* | 2011-03-22 | 2012-08-20 | Владимир Александрович Парамошко | Method to protect overhead power supply lines against icing and wire breaks resulting from thick layers of covering snow | 
| RU2478244C2 (en)* | 2011-03-31 | 2013-03-27 | Закрытое акционерное общество "Группа компаний "Таврида Электрик" (ЗАО "ГК "Таврида Электрик") | MELTING METHOD OF GLAZE ICE ON 6( 10 ) kV OVERHEAD TRANSMISSION LINES | 
| CN102221381B (en)* | 2011-06-10 | 2012-10-03 | 国网信息通信有限公司 | Method and system for monitoring power transmission line of power grid | 
| CN102228876B (en)* | 2011-07-01 | 2013-09-18 | 北京深浪电子技术有限公司 | Remote control automatic coating robot for preventing icing on transmission line | 
| FR2981615A1 (en)* | 2011-10-20 | 2013-04-26 | Alstom Transport Sa | Method for de-icing power supply line utilized in feeder of railway vehicle e.g. during winter, involves establishing voltage difference between voltages at outputs of energy storage and supply systems such that current flows in line | 
| US9530583B2 (en) | 2012-01-19 | 2016-12-27 | Hydro-Quebec | Device for an outdoor switching apparatus | 
| US9048649B2 (en) | 2012-03-20 | 2015-06-02 | The Boeing Company | Method and apparatus for anti-icing and deicing power transmission lines | 
| US20130256613A1 (en) | 2012-03-30 | 2013-10-03 | Elwha LLC, a limited liabiility company of the State of Delaware | Mobile device configured to travel on a transmission line and provide assistance | 
| US9483063B2 (en) | 2012-04-24 | 2016-11-01 | Elwha Llc | Transmission-line coupled heat-dissipation device with an assembly of one or more controllable fins | 
| US9113347B2 (en) | 2012-12-05 | 2015-08-18 | At&T Intellectual Property I, Lp | Backhaul link for distributed antenna system | 
| US10009065B2 (en) | 2012-12-05 | 2018-06-26 | At&T Intellectual Property I, L.P. | Backhaul link for distributed antenna system | 
| US9198500B2 (en)* | 2012-12-21 | 2015-12-01 | Murray W. Davis | Portable self powered line mountable electric power line and environment parameter monitoring transmitting and receiving system | 
| US9999038B2 (en) | 2013-05-31 | 2018-06-12 | At&T Intellectual Property I, L.P. | Remote distributed antenna system | 
| US9525524B2 (en) | 2013-05-31 | 2016-12-20 | At&T Intellectual Property I, L.P. | Remote distributed antenna system | 
| CN103296899A (en)* | 2013-06-20 | 2013-09-11 | 国家电网公司 | Direct-current voltage output mechanism of six-pulse-wave de-icing rectifier | 
| CH708520B1 (en)* | 2013-09-13 | 2017-10-31 | Société Astresight | Cable break detection system. | 
| US8897697B1 (en) | 2013-11-06 | 2014-11-25 | At&T Intellectual Property I, Lp | Millimeter-wave surface-wave communications | 
| US9209902B2 (en) | 2013-12-10 | 2015-12-08 | At&T Intellectual Property I, L.P. | Quasi-optical coupler | 
| RU2569318C1 (en)* | 2014-08-14 | 2015-11-20 | федеральное государственное бюджетное образовательное учреждение высшего профессионального образования "Южно-Российский государственный политехнический университет (НПИ) имени М.И. Платова" | Method for melting ice on wires of overhead electric line | 
| US9692101B2 (en) | 2014-08-26 | 2017-06-27 | At&T Intellectual Property I, L.P. | Guided wave couplers for coupling electromagnetic waves between a waveguide surface and a surface of a wire | 
| US9768833B2 (en) | 2014-09-15 | 2017-09-19 | At&T Intellectual Property I, L.P. | Method and apparatus for sensing a condition in a transmission medium of electromagnetic waves | 
| US10063280B2 (en) | 2014-09-17 | 2018-08-28 | At&T Intellectual Property I, L.P. | Monitoring and mitigating conditions in a communication network | 
| US9628854B2 (en) | 2014-09-29 | 2017-04-18 | At&T Intellectual Property I, L.P. | Method and apparatus for distributing content in a communication network | 
| US9615269B2 (en) | 2014-10-02 | 2017-04-04 | At&T Intellectual Property I, L.P. | Method and apparatus that provides fault tolerance in a communication network | 
| US9685992B2 (en) | 2014-10-03 | 2017-06-20 | At&T Intellectual Property I, L.P. | Circuit panel network and methods thereof | 
| US9503189B2 (en) | 2014-10-10 | 2016-11-22 | At&T Intellectual Property I, L.P. | Method and apparatus for arranging communication sessions in a communication system | 
| US9762289B2 (en) | 2014-10-14 | 2017-09-12 | At&T Intellectual Property I, L.P. | Method and apparatus for transmitting or receiving signals in a transportation system | 
| US9973299B2 (en) | 2014-10-14 | 2018-05-15 | At&T Intellectual Property I, L.P. | Method and apparatus for adjusting a mode of communication in a communication network | 
| US9653770B2 (en) | 2014-10-21 | 2017-05-16 | At&T Intellectual Property I, L.P. | Guided wave coupler, coupling module and methods for use therewith | 
| US9627768B2 (en) | 2014-10-21 | 2017-04-18 | At&T Intellectual Property I, L.P. | Guided-wave transmission device with non-fundamental mode propagation and methods for use therewith | 
| US9520945B2 (en) | 2014-10-21 | 2016-12-13 | At&T Intellectual Property I, L.P. | Apparatus for providing communication services and methods thereof | 
| US9577306B2 (en) | 2014-10-21 | 2017-02-21 | At&T Intellectual Property I, L.P. | Guided-wave transmission device and methods for use therewith | 
| US9312919B1 (en) | 2014-10-21 | 2016-04-12 | At&T Intellectual Property I, Lp | Transmission device with impairment compensation and methods for use therewith | 
| US9564947B2 (en) | 2014-10-21 | 2017-02-07 | At&T Intellectual Property I, L.P. | Guided-wave transmission device with diversity and methods for use therewith | 
| US9769020B2 (en) | 2014-10-21 | 2017-09-19 | At&T Intellectual Property I, L.P. | Method and apparatus for responding to events affecting communications in a communication network | 
| US9780834B2 (en) | 2014-10-21 | 2017-10-03 | At&T Intellectual Property I, L.P. | Method and apparatus for transmitting electromagnetic waves | 
| US10009067B2 (en) | 2014-12-04 | 2018-06-26 | At&T Intellectual Property I, L.P. | Method and apparatus for configuring a communication interface | 
| US9654173B2 (en) | 2014-11-20 | 2017-05-16 | At&T Intellectual Property I, L.P. | Apparatus for powering a communication device and methods thereof | 
| US10243784B2 (en) | 2014-11-20 | 2019-03-26 | At&T Intellectual Property I, L.P. | System for generating topology information and methods thereof | 
| US9461706B1 (en) | 2015-07-31 | 2016-10-04 | At&T Intellectual Property I, Lp | Method and apparatus for exchanging communication signals | 
| US9800327B2 (en) | 2014-11-20 | 2017-10-24 | At&T Intellectual Property I, L.P. | Apparatus for controlling operations of a communication device and methods thereof | 
| US9954287B2 (en) | 2014-11-20 | 2018-04-24 | At&T Intellectual Property I, L.P. | Apparatus for converting wireless signals and electromagnetic waves and methods thereof | 
| US10340573B2 (en) | 2016-10-26 | 2019-07-02 | At&T Intellectual Property I, L.P. | Launcher with cylindrical coupling device and methods for use therewith | 
| US9680670B2 (en) | 2014-11-20 | 2017-06-13 | At&T Intellectual Property I, L.P. | Transmission device with channel equalization and control and methods for use therewith | 
| US9997819B2 (en) | 2015-06-09 | 2018-06-12 | At&T Intellectual Property I, L.P. | Transmission medium and method for facilitating propagation of electromagnetic waves via a core | 
| US9544006B2 (en) | 2014-11-20 | 2017-01-10 | At&T Intellectual Property I, L.P. | Transmission device with mode division multiplexing and methods for use therewith | 
| US9742462B2 (en) | 2014-12-04 | 2017-08-22 | At&T Intellectual Property I, L.P. | Transmission medium and communication interfaces and methods for use therewith | 
| US10144036B2 (en) | 2015-01-30 | 2018-12-04 | At&T Intellectual Property I, L.P. | Method and apparatus for mitigating interference affecting a propagation of electromagnetic waves guided by a transmission medium | 
| US9876570B2 (en) | 2015-02-20 | 2018-01-23 | At&T Intellectual Property I, Lp | Guided-wave transmission device with non-fundamental mode propagation and methods for use therewith | 
| US9749013B2 (en) | 2015-03-17 | 2017-08-29 | At&T Intellectual Property I, L.P. | Method and apparatus for reducing attenuation of electromagnetic waves guided by a transmission medium | 
| US10224981B2 (en) | 2015-04-24 | 2019-03-05 | At&T Intellectual Property I, Lp | Passive electrical coupling device and methods for use therewith | 
| US9705561B2 (en) | 2015-04-24 | 2017-07-11 | At&T Intellectual Property I, L.P. | Directional coupling device and methods for use therewith | 
| US9793954B2 (en) | 2015-04-28 | 2017-10-17 | At&T Intellectual Property I, L.P. | Magnetic coupling device and methods for use therewith | 
| US9948354B2 (en) | 2015-04-28 | 2018-04-17 | At&T Intellectual Property I, L.P. | Magnetic coupling device with reflective plate and methods for use therewith | 
| US9748626B2 (en) | 2015-05-14 | 2017-08-29 | At&T Intellectual Property I, L.P. | Plurality of cables having different cross-sectional shapes which are bundled together to form a transmission medium | 
| US9490869B1 (en) | 2015-05-14 | 2016-11-08 | At&T Intellectual Property I, L.P. | Transmission medium having multiple cores and methods for use therewith | 
| US9871282B2 (en) | 2015-05-14 | 2018-01-16 | At&T Intellectual Property I, L.P. | At least one transmission medium having a dielectric surface that is covered at least in part by a second dielectric | 
| US10679767B2 (en) | 2015-05-15 | 2020-06-09 | At&T Intellectual Property I, L.P. | Transmission medium having a conductive material and methods for use therewith | 
| US10650940B2 (en) | 2015-05-15 | 2020-05-12 | At&T Intellectual Property I, L.P. | Transmission medium having a conductive material and methods for use therewith | 
| US9917341B2 (en) | 2015-05-27 | 2018-03-13 | At&T Intellectual Property I, L.P. | Apparatus and method for launching electromagnetic waves and for modifying radial dimensions of the propagating electromagnetic waves | 
| US10348391B2 (en) | 2015-06-03 | 2019-07-09 | At&T Intellectual Property I, L.P. | Client node device with frequency conversion and methods for use therewith | 
| US10103801B2 (en) | 2015-06-03 | 2018-10-16 | At&T Intellectual Property I, L.P. | Host node device and methods for use therewith | 
| US10154493B2 (en) | 2015-06-03 | 2018-12-11 | At&T Intellectual Property I, L.P. | Network termination and methods for use therewith | 
| US9912381B2 (en) | 2015-06-03 | 2018-03-06 | At&T Intellectual Property I, Lp | Network termination and methods for use therewith | 
| US10812174B2 (en) | 2015-06-03 | 2020-10-20 | At&T Intellectual Property I, L.P. | Client node device and methods for use therewith | 
| US9866309B2 (en) | 2015-06-03 | 2018-01-09 | At&T Intellectual Property I, Lp | Host node device and methods for use therewith | 
| US9913139B2 (en) | 2015-06-09 | 2018-03-06 | At&T Intellectual Property I, L.P. | Signal fingerprinting for authentication of communicating devices | 
| US10142086B2 (en) | 2015-06-11 | 2018-11-27 | At&T Intellectual Property I, L.P. | Repeater and methods for use therewith | 
| US9608692B2 (en) | 2015-06-11 | 2017-03-28 | At&T Intellectual Property I, L.P. | Repeater and methods for use therewith | 
| US9820146B2 (en) | 2015-06-12 | 2017-11-14 | At&T Intellectual Property I, L.P. | Method and apparatus for authentication and identity management of communicating devices | 
| US9667317B2 (en) | 2015-06-15 | 2017-05-30 | At&T Intellectual Property I, L.P. | Method and apparatus for providing security using network traffic adjustments | 
| US9640850B2 (en) | 2015-06-25 | 2017-05-02 | At&T Intellectual Property I, L.P. | Methods and apparatus for inducing a non-fundamental wave mode on a transmission medium | 
| US9509415B1 (en) | 2015-06-25 | 2016-11-29 | At&T Intellectual Property I, L.P. | Methods and apparatus for inducing a fundamental wave mode on a transmission medium | 
| US9865911B2 (en) | 2015-06-25 | 2018-01-09 | At&T Intellectual Property I, L.P. | Waveguide system for slot radiating first electromagnetic waves that are combined into a non-fundamental wave mode second electromagnetic wave on a transmission medium | 
| CN105034854B (en)* | 2015-07-13 | 2017-06-13 | 中电博瑞技术(北京)有限公司 | Deicing device | 
| US10205655B2 (en) | 2015-07-14 | 2019-02-12 | At&T Intellectual Property I, L.P. | Apparatus and methods for communicating utilizing an antenna array and multiple communication paths | 
| US10033108B2 (en) | 2015-07-14 | 2018-07-24 | At&T Intellectual Property I, L.P. | Apparatus and methods for generating an electromagnetic wave having a wave mode that mitigates interference | 
| US9628116B2 (en) | 2015-07-14 | 2017-04-18 | At&T Intellectual Property I, L.P. | Apparatus and methods for transmitting wireless signals | 
| US9853342B2 (en) | 2015-07-14 | 2017-12-26 | At&T Intellectual Property I, L.P. | Dielectric transmission medium connector and methods for use therewith | 
| US10033107B2 (en) | 2015-07-14 | 2018-07-24 | At&T Intellectual Property I, L.P. | Method and apparatus for coupling an antenna to a device | 
| US10044409B2 (en) | 2015-07-14 | 2018-08-07 | At&T Intellectual Property I, L.P. | Transmission medium and methods for use therewith | 
| US9847566B2 (en) | 2015-07-14 | 2017-12-19 | At&T Intellectual Property I, L.P. | Method and apparatus for adjusting a field of a signal to mitigate interference | 
| US10320586B2 (en) | 2015-07-14 | 2019-06-11 | At&T Intellectual Property I, L.P. | Apparatus and methods for generating non-interfering electromagnetic waves on an insulated transmission medium | 
| US10170840B2 (en) | 2015-07-14 | 2019-01-01 | At&T Intellectual Property I, L.P. | Apparatus and methods for sending or receiving electromagnetic signals | 
| US9722318B2 (en) | 2015-07-14 | 2017-08-01 | At&T Intellectual Property I, L.P. | Method and apparatus for coupling an antenna to a device | 
| US10341142B2 (en) | 2015-07-14 | 2019-07-02 | At&T Intellectual Property I, L.P. | Apparatus and methods for generating non-interfering electromagnetic waves on an uninsulated conductor | 
| US9882257B2 (en) | 2015-07-14 | 2018-01-30 | At&T Intellectual Property I, L.P. | Method and apparatus for launching a wave mode that mitigates interference | 
| US10148016B2 (en) | 2015-07-14 | 2018-12-04 | At&T Intellectual Property I, L.P. | Apparatus and methods for communicating utilizing an antenna array | 
| US9836957B2 (en) | 2015-07-14 | 2017-12-05 | At&T Intellectual Property I, L.P. | Method and apparatus for communicating with premises equipment | 
| US9793951B2 (en) | 2015-07-15 | 2017-10-17 | At&T Intellectual Property I, L.P. | Method and apparatus for launching a wave mode that mitigates interference | 
| US9608740B2 (en) | 2015-07-15 | 2017-03-28 | At&T Intellectual Property I, L.P. | Method and apparatus for launching a wave mode that mitigates interference | 
| US10090606B2 (en) | 2015-07-15 | 2018-10-02 | At&T Intellectual Property I, L.P. | Antenna system with dielectric array and methods for use therewith | 
| US9749053B2 (en) | 2015-07-23 | 2017-08-29 | At&T Intellectual Property I, L.P. | Node device, repeater and methods for use therewith | 
| US9948333B2 (en) | 2015-07-23 | 2018-04-17 | At&T Intellectual Property I, L.P. | Method and apparatus for wireless communications to mitigate interference | 
| US9912027B2 (en) | 2015-07-23 | 2018-03-06 | At&T Intellectual Property I, L.P. | Method and apparatus for exchanging communication signals | 
| US10784670B2 (en) | 2015-07-23 | 2020-09-22 | At&T Intellectual Property I, L.P. | Antenna support for aligning an antenna | 
| US9871283B2 (en) | 2015-07-23 | 2018-01-16 | At&T Intellectual Property I, Lp | Transmission medium having a dielectric core comprised of plural members connected by a ball and socket configuration | 
| US9967173B2 (en) | 2015-07-31 | 2018-05-08 | At&T Intellectual Property I, L.P. | Method and apparatus for authentication and identity management of communicating devices | 
| US10020587B2 (en) | 2015-07-31 | 2018-07-10 | At&T Intellectual Property I, L.P. | Radial antenna and methods for use therewith | 
| US9735833B2 (en) | 2015-07-31 | 2017-08-15 | At&T Intellectual Property I, L.P. | Method and apparatus for communications management in a neighborhood network | 
| US9904535B2 (en) | 2015-09-14 | 2018-02-27 | At&T Intellectual Property I, L.P. | Method and apparatus for distributing software | 
| US10009063B2 (en) | 2015-09-16 | 2018-06-26 | At&T Intellectual Property I, L.P. | Method and apparatus for use with a radio distributed antenna system having an out-of-band reference signal | 
| US9705571B2 (en) | 2015-09-16 | 2017-07-11 | At&T Intellectual Property I, L.P. | Method and apparatus for use with a radio distributed antenna system | 
| US10009901B2 (en) | 2015-09-16 | 2018-06-26 | At&T Intellectual Property I, L.P. | Method, apparatus, and computer-readable storage medium for managing utilization of wireless resources between base stations | 
| US10079661B2 (en) | 2015-09-16 | 2018-09-18 | At&T Intellectual Property I, L.P. | Method and apparatus for use with a radio distributed antenna system having a clock reference | 
| US10136434B2 (en) | 2015-09-16 | 2018-11-20 | At&T Intellectual Property I, L.P. | Method and apparatus for use with a radio distributed antenna system having an ultra-wideband control channel | 
| US10051629B2 (en) | 2015-09-16 | 2018-08-14 | At&T Intellectual Property I, L.P. | Method and apparatus for use with a radio distributed antenna system having an in-band reference signal | 
| US9769128B2 (en) | 2015-09-28 | 2017-09-19 | At&T Intellectual Property I, L.P. | Method and apparatus for encryption of communications over a network | 
| US9729197B2 (en) | 2015-10-01 | 2017-08-08 | At&T Intellectual Property I, L.P. | Method and apparatus for communicating network management traffic over a network | 
| US10074890B2 (en) | 2015-10-02 | 2018-09-11 | At&T Intellectual Property I, L.P. | Communication device and antenna with integrated light assembly | 
| US9882277B2 (en) | 2015-10-02 | 2018-01-30 | At&T Intellectual Property I, Lp | Communication device and antenna assembly with actuated gimbal mount | 
| US9876264B2 (en) | 2015-10-02 | 2018-01-23 | At&T Intellectual Property I, Lp | Communication system, guided wave switch and methods for use therewith | 
| US10355367B2 (en) | 2015-10-16 | 2019-07-16 | At&T Intellectual Property I, L.P. | Antenna structure for exchanging wireless signals | 
| US10665942B2 (en) | 2015-10-16 | 2020-05-26 | At&T Intellectual Property I, L.P. | Method and apparatus for adjusting wireless communications | 
| US10051483B2 (en) | 2015-10-16 | 2018-08-14 | At&T Intellectual Property I, L.P. | Method and apparatus for directing wireless signals | 
| CN106203718B (en)* | 2016-07-15 | 2018-01-12 | 国网湖南省电力公司 | Neighbouring grid powerline ice-covering Forecasting Methodology based on the height above sea level factor | 
| CN106203715B (en)* | 2016-07-15 | 2017-11-21 | 国网湖南省电力公司 | Powerline ice-covering type prediction method based on temperature Vertical Profile | 
| CN106169729A (en)* | 2016-08-23 | 2016-11-30 | 中国电力工程顾问集团西南电力设计院有限公司 | A kind of transmission line of electricity roundabout series connection ground wire de-icing method | 
| CN106159798A (en)* | 2016-08-23 | 2016-11-23 | 中国电力工程顾问集团西南电力设计院有限公司 | A kind of transmission line of electricity connection in series-parallel mixing ground wire de-icing method | 
| US9912419B1 (en) | 2016-08-24 | 2018-03-06 | At&T Intellectual Property I, L.P. | Method and apparatus for managing a fault in a distributed antenna system | 
| US9860075B1 (en) | 2016-08-26 | 2018-01-02 | At&T Intellectual Property I, L.P. | Method and communication node for broadband distribution | 
| US10291311B2 (en) | 2016-09-09 | 2019-05-14 | At&T Intellectual Property I, L.P. | Method and apparatus for mitigating a fault in a distributed antenna system | 
| US11032819B2 (en) | 2016-09-15 | 2021-06-08 | At&T Intellectual Property I, L.P. | Method and apparatus for use with a radio distributed antenna system having a control channel reference signal | 
| US10135146B2 (en) | 2016-10-18 | 2018-11-20 | At&T Intellectual Property I, L.P. | Apparatus and methods for launching guided waves via circuits | 
| US10340600B2 (en) | 2016-10-18 | 2019-07-02 | At&T Intellectual Property I, L.P. | Apparatus and methods for launching guided waves via plural waveguide systems | 
| US10135147B2 (en) | 2016-10-18 | 2018-11-20 | At&T Intellectual Property I, L.P. | Apparatus and methods for launching guided waves via an antenna | 
| US10811767B2 (en) | 2016-10-21 | 2020-10-20 | At&T Intellectual Property I, L.P. | System and dielectric antenna with convex dielectric radome | 
| US10374316B2 (en) | 2016-10-21 | 2019-08-06 | At&T Intellectual Property I, L.P. | System and dielectric antenna with non-uniform dielectric | 
| US9876605B1 (en) | 2016-10-21 | 2018-01-23 | At&T Intellectual Property I, L.P. | Launcher and coupling system to support desired guided wave mode | 
| US9991580B2 (en) | 2016-10-21 | 2018-06-05 | At&T Intellectual Property I, L.P. | Launcher and coupling system for guided wave mode cancellation | 
| US10312567B2 (en) | 2016-10-26 | 2019-06-04 | At&T Intellectual Property I, L.P. | Launcher with planar strip antenna and methods for use therewith | 
| US10498044B2 (en) | 2016-11-03 | 2019-12-03 | At&T Intellectual Property I, L.P. | Apparatus for configuring a surface of an antenna | 
| US10291334B2 (en) | 2016-11-03 | 2019-05-14 | At&T Intellectual Property I, L.P. | System for detecting a fault in a communication system | 
| US10224634B2 (en) | 2016-11-03 | 2019-03-05 | At&T Intellectual Property I, L.P. | Methods and apparatus for adjusting an operational characteristic of an antenna | 
| US10225025B2 (en) | 2016-11-03 | 2019-03-05 | At&T Intellectual Property I, L.P. | Method and apparatus for detecting a fault in a communication system | 
| US10340601B2 (en) | 2016-11-23 | 2019-07-02 | At&T Intellectual Property I, L.P. | Multi-antenna system and methods for use therewith | 
| US10090594B2 (en) | 2016-11-23 | 2018-10-02 | At&T Intellectual Property I, L.P. | Antenna system having structural configurations for assembly | 
| US10178445B2 (en) | 2016-11-23 | 2019-01-08 | At&T Intellectual Property I, L.P. | Methods, devices, and systems for load balancing between a plurality of waveguides | 
| US10340603B2 (en) | 2016-11-23 | 2019-07-02 | At&T Intellectual Property I, L.P. | Antenna system having shielded structural configurations for assembly | 
| US10535928B2 (en) | 2016-11-23 | 2020-01-14 | At&T Intellectual Property I, L.P. | Antenna system and methods for use therewith | 
| US10305190B2 (en) | 2016-12-01 | 2019-05-28 | At&T Intellectual Property I, L.P. | Reflecting dielectric antenna system and methods for use therewith | 
| US10361489B2 (en) | 2016-12-01 | 2019-07-23 | At&T Intellectual Property I, L.P. | Dielectric dish antenna system and methods for use therewith | 
| US10326494B2 (en) | 2016-12-06 | 2019-06-18 | At&T Intellectual Property I, L.P. | Apparatus for measurement de-embedding and methods for use therewith | 
| US10135145B2 (en) | 2016-12-06 | 2018-11-20 | At&T Intellectual Property I, L.P. | Apparatus and methods for generating an electromagnetic wave along a transmission medium | 
| US10694379B2 (en) | 2016-12-06 | 2020-06-23 | At&T Intellectual Property I, L.P. | Waveguide system with device-based authentication and methods for use therewith | 
| US10727599B2 (en) | 2016-12-06 | 2020-07-28 | At&T Intellectual Property I, L.P. | Launcher with slot antenna and methods for use therewith | 
| US10382976B2 (en) | 2016-12-06 | 2019-08-13 | At&T Intellectual Property I, L.P. | Method and apparatus for managing wireless communications based on communication paths and network device positions | 
| US10819035B2 (en) | 2016-12-06 | 2020-10-27 | At&T Intellectual Property I, L.P. | Launcher with helical antenna and methods for use therewith | 
| US10755542B2 (en) | 2016-12-06 | 2020-08-25 | At&T Intellectual Property I, L.P. | Method and apparatus for surveillance via guided wave communication | 
| US10020844B2 (en) | 2016-12-06 | 2018-07-10 | T&T Intellectual Property I, L.P. | Method and apparatus for broadcast communication via guided waves | 
| US10637149B2 (en) | 2016-12-06 | 2020-04-28 | At&T Intellectual Property I, L.P. | Injection molded dielectric antenna and methods for use therewith | 
| US9927517B1 (en) | 2016-12-06 | 2018-03-27 | At&T Intellectual Property I, L.P. | Apparatus and methods for sensing rainfall | 
| US10439675B2 (en) | 2016-12-06 | 2019-10-08 | At&T Intellectual Property I, L.P. | Method and apparatus for repeating guided wave communication signals | 
| US9893795B1 (en) | 2016-12-07 | 2018-02-13 | At&T Intellectual Property I, Lp | Method and repeater for broadband distribution | 
| US10243270B2 (en) | 2016-12-07 | 2019-03-26 | At&T Intellectual Property I, L.P. | Beam adaptive multi-feed dielectric antenna system and methods for use therewith | 
| US10027397B2 (en) | 2016-12-07 | 2018-07-17 | At&T Intellectual Property I, L.P. | Distributed antenna system and methods for use therewith | 
| US10168695B2 (en) | 2016-12-07 | 2019-01-01 | At&T Intellectual Property I, L.P. | Method and apparatus for controlling an unmanned aircraft | 
| US10359749B2 (en) | 2016-12-07 | 2019-07-23 | At&T Intellectual Property I, L.P. | Method and apparatus for utilities management via guided wave communication | 
| US10446936B2 (en) | 2016-12-07 | 2019-10-15 | At&T Intellectual Property I, L.P. | Multi-feed dielectric antenna system and methods for use therewith | 
| US10139820B2 (en) | 2016-12-07 | 2018-11-27 | At&T Intellectual Property I, L.P. | Method and apparatus for deploying equipment of a communication system | 
| US10389029B2 (en) | 2016-12-07 | 2019-08-20 | At&T Intellectual Property I, L.P. | Multi-feed dielectric antenna system with core selection and methods for use therewith | 
| US10547348B2 (en) | 2016-12-07 | 2020-01-28 | At&T Intellectual Property I, L.P. | Method and apparatus for switching transmission mediums in a communication system | 
| US9911020B1 (en) | 2016-12-08 | 2018-03-06 | At&T Intellectual Property I, L.P. | Method and apparatus for tracking via a radio frequency identification device | 
| US10938108B2 (en) | 2016-12-08 | 2021-03-02 | At&T Intellectual Property I, L.P. | Frequency selective multi-feed dielectric antenna system and methods for use therewith | 
| US10530505B2 (en) | 2016-12-08 | 2020-01-07 | At&T Intellectual Property I, L.P. | Apparatus and methods for launching electromagnetic waves along a transmission medium | 
| US10326689B2 (en) | 2016-12-08 | 2019-06-18 | At&T Intellectual Property I, L.P. | Method and system for providing alternative communication paths | 
| US10777873B2 (en) | 2016-12-08 | 2020-09-15 | At&T Intellectual Property I, L.P. | Method and apparatus for mounting network devices | 
| US10601494B2 (en) | 2016-12-08 | 2020-03-24 | At&T Intellectual Property I, L.P. | Dual-band communication device and method for use therewith | 
| US10411356B2 (en) | 2016-12-08 | 2019-09-10 | At&T Intellectual Property I, L.P. | Apparatus and methods for selectively targeting communication devices with an antenna array | 
| US9998870B1 (en) | 2016-12-08 | 2018-06-12 | At&T Intellectual Property I, L.P. | Method and apparatus for proximity sensing | 
| US10916969B2 (en) | 2016-12-08 | 2021-02-09 | At&T Intellectual Property I, L.P. | Method and apparatus for providing power using an inductive coupling | 
| US10069535B2 (en) | 2016-12-08 | 2018-09-04 | At&T Intellectual Property I, L.P. | Apparatus and methods for launching electromagnetic waves having a certain electric field structure | 
| US10103422B2 (en) | 2016-12-08 | 2018-10-16 | At&T Intellectual Property I, L.P. | Method and apparatus for mounting network devices | 
| US10389037B2 (en) | 2016-12-08 | 2019-08-20 | At&T Intellectual Property I, L.P. | Apparatus and methods for selecting sections of an antenna array and use therewith | 
| US10264586B2 (en) | 2016-12-09 | 2019-04-16 | At&T Mobility Ii Llc | Cloud-based packet controller and methods for use therewith | 
| US9838896B1 (en) | 2016-12-09 | 2017-12-05 | At&T Intellectual Property I, L.P. | Method and apparatus for assessing network coverage | 
| US10340983B2 (en) | 2016-12-09 | 2019-07-02 | At&T Intellectual Property I, L.P. | Method and apparatus for surveying remote sites via guided wave communications | 
| US9973940B1 (en) | 2017-02-27 | 2018-05-15 | At&T Intellectual Property I, L.P. | Apparatus and methods for dynamic impedance matching of a guided wave launcher | 
| US10298293B2 (en) | 2017-03-13 | 2019-05-21 | At&T Intellectual Property I, L.P. | Apparatus of communication utilizing wireless network devices | 
| CN106898985B (en)* | 2017-03-17 | 2024-02-06 | 国家电网公司 | Multifunctional power conductor de-icer | 
| CN108598967A (en)* | 2018-05-08 | 2018-09-28 | 淮阴师范学院 | A kind of power equipment snow-removing device | 
| EP3693207A1 (en) | 2019-02-11 | 2020-08-12 | Lef Holding S.r.l. | Heating system for overhead lines of electrified railway lines | 
| CN112054466A (en)* | 2020-08-28 | 2020-12-08 | 山东理工大学 | De-service lithium battery-based ice melting device and method | 
| CN113370849B (en)* | 2021-07-30 | 2022-12-02 | 清华大学 | Traction power supply system with ice melting and energy feedback functions | 
| US20230122484A1 (en)* | 2021-10-18 | 2023-04-20 | Dennis Gladney | Powerline De-icing Device | 
| CN115175390A (en)* | 2022-07-21 | 2022-10-11 | 华北电力科学研究院有限责任公司 | Anti-freezing device for wire clamp | 
| CN119209297B (en)* | 2024-09-28 | 2025-05-02 | 国英智能科技(山东)有限公司 | Winding collection device based on unmanned aerial vehicle circuit is taken and is hung foreign matter and clear away | 
| Publication number | Priority date | Publication date | Assignee | Title | 
|---|---|---|---|---|
| US4190137A (en)* | 1978-06-22 | 1980-02-26 | Dainichi-Nippon Cables, Ltd. | Apparatus for deicing of trolley wires | 
| CA2253762A1 (en)* | 1998-12-04 | 2000-06-04 | Hydro-Quebec | Apparatus and switching method for electric power transmission lines | 
| EP1028464B1 (en)* | 1999-02-11 | 2006-07-26 | STMicroelectronics S.r.l. | Semiconductor device with improved interconnections between the chip and the terminals, and process for its manufacture | 
| US6018152A (en)* | 1999-04-13 | 2000-01-25 | Allaire; Marc-Andre | Method and device for de-icing conductors of a bundle of conductors | 
| CA2469778A1 (en)* | 2004-06-04 | 2005-12-04 | Pierre Couture | Switching modules for the extraction/injection of power (without ground or phase reference) from a bundled hv line | 
| Publication number | Priority date | Publication date | Assignee | Title | 
|---|---|---|---|---|
| CN102215633A (en)* | 2010-04-02 | 2011-10-12 | 鸿富锦精密工业(深圳)有限公司 | Circuit board and manufacturing method thereof | 
| CN102290767B (en)* | 2010-04-19 | 2016-05-18 | 阿尔斯通运输科技公司 | The method being used for to the supply lines deicing for rolling stock | 
| CN103703653B (en)* | 2011-07-22 | 2018-04-20 | 魁北克水电公司 | Switching device, control system and method for varying the impedance of a phase line | 
| CN103703653A (en)* | 2011-07-22 | 2014-04-02 | 魁北克水电公司 | Switching device, control system and method for varying the impedance of a phase line | 
| CN103594999A (en)* | 2013-11-23 | 2014-02-19 | 大连尚能科技发展有限公司 | Transmission line ice melting method based on energy storage device and circuit | 
| CN103594999B (en)* | 2013-11-23 | 2016-01-20 | 大连尚能科技发展有限公司 | A kind of transmission line de-icing Method and circuits based on energy storage device | 
| CN103701080A (en)* | 2014-01-07 | 2014-04-02 | 国家电网公司 | Method for melting ice by utilizing power transmission circuit load current | 
| CN107196230A (en)* | 2017-06-19 | 2017-09-22 | 天津送变电工程公司 | A kind of big span tension stringing construction method and support frame | 
| CN109215874A (en)* | 2017-07-05 | 2019-01-15 | 汤恩山 | From thermal high (extra-high voltage) insulation enamel-cover power transmission line | 
| CN108645347A (en)* | 2018-06-19 | 2018-10-12 | 贵州电网有限责任公司 | A kind of electric power line ice-covering thickness measuring device and its application method | 
| CN109033691A (en)* | 2018-08-16 | 2018-12-18 | 四川大学 | Heating transmission pressure parameter optimization method certainly based on exchange heating power supply | 
| CN109033691B (en)* | 2018-08-16 | 2022-12-30 | 四川大学 | Self-heating power transmission line parameter optimization method based on alternating current heating power supply | 
| CN111380333A (en)* | 2020-05-14 | 2020-07-07 | 山西华通电力有限公司 | A kind of mine seven-core cable self-control heating dehumidification and moisture absorption device | 
| CN113746049A (en)* | 2021-08-27 | 2021-12-03 | 中航天建设工程集团有限公司 | High-voltage cable deicing device | 
| Publication number | Publication date | 
|---|---|
| KR20100130220A (en) | 2010-12-10 | 
| US20090250449A1 (en) | 2009-10-08 | 
| CA2720352A1 (en) | 2009-10-08 | 
| EA201071153A1 (en) | 2011-04-29 | 
| WO2009123781A1 (en) | 2009-10-08 | 
| EP2258030A1 (en) | 2010-12-08 | 
| JP2011517267A (en) | 2011-05-26 | 
| RU2009103371A (en) | 2010-08-10 | 
| Publication | Publication Date | Title | 
|---|---|---|
| CN101552444A (en) | System and method for deicing of power line cables | |
| WO2012034124A2 (en) | System and method for deicing of power line cables | |
| US20140232191A1 (en) | Contact wire system for traction supply of an electric tractive vehicle | |
| CN101689757A (en) | Ice melting device and method suitable for split conductor power transmission line | |
| CN101431224A (en) | De-icing technology for overhead transmission line | |
| CN101242087A (en) | Ice fusion method for power transmission line | |
| CN101459327B (en) | Automatic ice melting method for multiple division electricity transmission line and special switch thereof | |
| CN103701080A (en) | Method for melting ice by utilizing power transmission circuit load current | |
| CN103066542A (en) | Deicing and anti-freezing system during transportation of electric transmission line | |
| CN101350234B (en) | Outer layer insulation mongline round wire concentric gallows empty conductor and automatic deicing apparatus | |
| CN116073311B (en) | A method for detecting and discharging the neutral section of a contact network during ice melting process to prevent melting | |
| CN101295863A (en) | Ensure stable operation of the power grid without power outage Automatic heating of anti-ice and snow overhead power lines | |
| CN112102984A (en) | Novel steel core ice melting insulated wire and ice melting system and method thereof | |
| CN109742709B (en) | Live-line ice melting system and ice melting method thereof | |
| CN102437542A (en) | Alternating current ice melting system of electrified railway traction network | |
| CN201251941Y (en) | Outer layer insulating single-line insulating round-line concentric stranded wire overhead line conductor and an automatic thawing apparatus | |
| CN103730201A (en) | High-resistance steel core ice melting wire | |
| CN103094869B (en) | Electric transmission line current circulation intelligent ice melting device of five divided conductors | |
| CN103050918B (en) | Intelligent device for circularly melting ice on power transmission line with four split sub-conductors by current | |
| CN111181118A (en) | Ice melting method and device for power transmission conductor | |
| CN211239262U (en) | Ice melting device for transmission conductor | |
| CN103050923B (en) | Intelligent device for circularly melting ice on power transmission line with eight split sub-conductors by current | |
| CN101477852A (en) | High voltage electricity transmission conductive wire with heating core and heating circuit thereof | |
| CN103050917A (en) | Intelligent device for circularly melting ice on power transmission line with twelve split sub-conductors by current | |
| CN103050921B (en) | Intelligent device for circularly melting ice on power transmission line with six split sub-conductors by current | 
| Date | Code | Title | Description | 
|---|---|---|---|
| C06 | Publication | ||
| PB01 | Publication | ||
| C10 | Entry into substantive examination | ||
| SE01 | Entry into force of request for substantive examination | ||
| C02 | Deemed withdrawal of patent application after publication (patent law 2001) | ||
| WD01 | Invention patent application deemed withdrawn after publication | Application publication date:20091007 |