Movatterモバイル変換


[0]ホーム

URL:


CN101515343A - Dynamic supervision system for checking equipment of qualification certification products - Google Patents

Dynamic supervision system for checking equipment of qualification certification products
Download PDF

Info

Publication number
CN101515343A
CN101515343ACNA2009100216861ACN200910021686ACN101515343ACN 101515343 ACN101515343 ACN 101515343ACN A2009100216861 ACNA2009100216861 ACN A2009100216861ACN 200910021686 ACN200910021686 ACN 200910021686ACN 101515343 ACN101515343 ACN 101515343A
Authority
CN
China
Prior art keywords
database
information
qualification
enterprise
inspection
Prior art date
Legal status (The legal status is an assumption and is not a legal conclusion. Google has not performed a legal analysis and makes no representation as to the accuracy of the status listed.)
Pending
Application number
CNA2009100216861A
Other languages
Chinese (zh)
Inventor
郭建
胡畅
杨悦
齐小玲
Current Assignee (The listed assignees may be inaccurate. Google has not performed a legal analysis and makes no representation or warranty as to the accuracy of the list.)
Xi'an Institute of Measurement Technology
Original Assignee
Xi'an Institute of Measurement Technology
Priority date (The priority date is an assumption and is not a legal conclusion. Google has not performed a legal analysis and makes no representation as to the accuracy of the date listed.)
Filing date
Publication date
Application filed by Xi'an Institute of Measurement TechnologyfiledCriticalXi'an Institute of Measurement Technology
Priority to CNA2009100216861ApriorityCriticalpatent/CN101515343A/en
Publication of CN101515343ApublicationCriticalpatent/CN101515343A/en
Pendinglegal-statusCriticalCurrent

Links

Images

Landscapes

Abstract

Translated fromChinese

本发明涉及计量技术领域,具体公开了一种资质认证产品的检验设备动态监管系统。该系统包括:产品分类基础数据库,存储有各资质认证的产品的分类信息;检验设备数据库,存储有各资质认证对应的各产品所必需的检验设备的名称、以及各检验设备的测量范围、精度等级信息;资质企业数据库,存储有各资质认证类型的各企业信息,包括:企业名称、企业产品信息;关联单元,用于关联所述资质企业数据库、产品分类基础数据库、检验设备数据库,获取所述各资质认证企业下各资质产品必备的检验设备信息。应用其能够为用户和监管部门提供快捷、方便、安全的数据资源,使之能轻松对检验设备信息进行申报、查询、评审、汇总、分析等功能。

Figure 200910021686

The invention relates to the technical field of measurement, and specifically discloses a dynamic monitoring system for testing equipment of qualification certified products. The system includes: a product classification basic database, which stores the classification information of products with various qualification certifications; an inspection equipment database, which stores the names of inspection equipment necessary for each product corresponding to each qualification certification, as well as the measurement range and accuracy of each inspection equipment Level information; qualification enterprise database, which stores information of each enterprise of each type of qualification certification, including: enterprise name, enterprise product information; association unit, used to associate the qualification enterprise database, product classification basic database, and inspection equipment database to obtain all Describe the necessary inspection equipment information for each qualified product under each qualification certification enterprise. Its application can provide users and regulatory authorities with fast, convenient, and safe data resources, enabling them to easily declare, query, review, summarize, and analyze inspection equipment information.

Figure 200910021686

Description

The inspection machine dynamic supervision system of qualification certification product
Technical field
The present invention relates to field of measuring techniques, be specifically related to a kind of inspection machine dynamic supervision system of qualification certification product.
Background technology
Measurement technology is an important technology that guarantees the accuracy of the every metering sample instrument in every key areas.Measurement instrument is managed is modernization of the country construction needs in accordance with the law, is the interests of safeguarding country and consumer, the security needs of protection people ' s health and life, property.Therefore, the source that the quality of the product that concerns its manufacturing is known in the standard censorship of the measurement instrument of enterprise guarantees, quality is talked with regard to quality simply by enterprise, if the basic tool of quality--the degree of accuracy of-measurement instrument itself is not high and itself be used to examine and determine, can't from the source, scientifically solve quality security problem forever.
Because the unique always existence of knowing this problem of people, in recent years, taking place frequently of field security incidents such as food, medicine, construction work, highway communication, special equipment obtained the effective supervision of card enterprise measurement utensil outfit with country to QS, CCC, GMP, commercial production licence etc. to a great extent and lacked relevant.This mainly be since at present domestic still do not have and above-mentioned field between the comprehensive fundamental research of substantial connection, though cause each field clearly regulation has all been made in metering, but can't form the effective oversight mechanism of a cover all the time, and then cause obtaining card enterprise and correctly be not equipped with measurement instrument, measurement instrument in accordance with regulations and conceal, fail to report, do not report, refuse serious problems such as inspection and supercycle use, this is directly to cause enterprise's quality of production low, one of basic reason of poor safety performance.
Comprehensive regulation qualification certification enterprise measurement weak link is prestige and the national image that improves home made article in China's product quality safety integral level, the maintenance, the plan of effecting a permanent cure of consolidating every focus efforts on special areas achievement.
Summary of the invention
The present invention is directed to the problem that prior art exists, a kind of inspection machine dynamic supervision system of qualification certification product is provided, use its for can the user and supervision department fast, convenient and safe data resource is provided, make it easily to inspection machine information declare, inquire about, evaluate, gather, function such as analysis.
The inspection machine dynamic supervision system of qualification certification product provided by the invention comprises:
The product classification basic database stores the classified information of the product of each qualification certification, and described classification according to product step by step;
The inspection machine database stores the title of the necessary inspection machine of each product of each qualification certification correspondence and measurement range, the accuracy class information of each inspection machine;
The qualification enterprise database stores each company information of each qualification certification type, comprising: enterprise name, enterprise product information;
Associative cell is used for related described qualification enterprise database, product classification basic database, inspection machine database, obtains the inspection machine information of each qualification product indispensability under described each qualification certification enterprise.
Therefore, use the technical scheme of the embodiment of the invention, the qualification enterprise database of associative cell association, the product classification basic database, the inspection machine database, find the indispensable inspection machine of each qualification certification product correspondence of each qualification enterprise: according to enterprise name, can in the qualification enterprise database, find its product, in the product classification basic database, find the type of this product according to product, type according to product, in the inspection machine database, find these types title of corresponding inspection machine respectively, get access to this enterprise each product type inspection machine that should be equipped with under one's name, and the measurement range of each inspection machine, and information such as accuracy class.
Use this system and can make things convenient for the mechanism of quality monitoring department of each side to check that the correct outfit and the measurement instrument of the indispensable inspection machine of each enterprise of mechanism inspect situation by ready samples on the one hand on time, for effective supervision provides sound assurance.
On the other hand, use native system and also make things convenient for business unit to check the indispensable inspection machine that each product of this enterprise should be equipped with simultaneously, the product quality that improves self for enterprise provides strong assurance.
To sum up, use native system and can provide fast, convenient and safe data resource for user and supervision department, make it easily to inspection machine information declare, inquire about, evaluate, gather, function such as analysis.
Description of drawings
Accompanying drawing described herein is used to provide further understanding of the present invention, constitutes the application's a part, does not constitute to improper qualification of the present invention, in the accompanying drawings:
The structural representation of a kind of inspection machine dynamic supervision system that Fig. 1 provides for the embodiment of the invention 1;
Fig. 2 is the product classification structural representation in the product classification basic database in the embodiment of the invention 1;
Fig. 3 is the data structure synoptic diagram in the inspection machine database in the embodiment of the invention 1;
The structural representation of a kind of inspection machine dynamic supervision system that Fig. 4 provides for the embodiment of the invention 2;
The structural representation of a kind of inspection machine dynamic supervision system that Fig. 5 provides for the embodiment of the invention 3;
The structural representation of a kind of inspection machine dynamic supervision system that Fig. 6 provides for the embodiment of the invention 4.
Embodiment
Describe the present invention in detail below in conjunction with accompanying drawing and specific embodiment, be used for explaining the present invention in this illustrative examples of the present invention and explanation, but not as a limitation of the invention.
Embodiment 1:
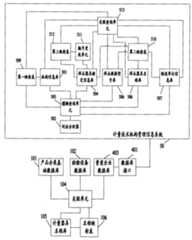
Referring to shown in Figure 1, the inspection machine dynamic supervision system of a kind of qualification certification product of present embodiment mainly comprises: product classificationbasic database 101,inspection machine database 102,qualification enterprise database 103, associative cell 104.Its concrete annexation and principle of work can be as follows:
Wherein the product classificationbasic database 101, store the classified information of the product of each qualification certification.
According to the type of each qualification certification, store the classified information step by step of the product under every qualification certification.
When setting up this database, can be according to all kinds of authentications, the permission of up-to-date announcement, the administrative permission products catalogue is set up this product classificationbasic database 101 step by step.
Product classification structure in this product classificationbasic database 101 can but be not limited to referring to shown in Figure 2.
Wherein,inspection machine database 102 stores the information such as measurement range, accuracy class of the title of the essential inspection machine of products all types of in each qualification certification and each inspection machine.
When setting up thisinspection machine database 102, can collect, put in order the data of indispensable inspection machine in all detailed rules and regulations prevailing for the time being in force that the concerned countries authoritative department announces, the rule, and add corresponding product one by one to and check in theindispensable equipment library 102.
Innotebook data storehouse 102, inspection machine is corresponding with the type of product, and its data structure of storing can be referring to Fig. 3.
Wherein thequalification enterprise database 103, store the qualification certification company information, comprising: company informations such as enterprise name, enterprise product.
The mode of keyboarder's typing can be adopted in the source of thisqualification enterprise database 103, the mode that also can adopt database to import.
Whereinassociative cell 104, be used forassociative cell 104 and be used for relatedqualification enterprise database 103, product classificationbasic database 101,inspection machine database 102, find the indispensable inspection machine of each qualification certification product correspondence of each qualification enterprise: according to enterprise name, can inqualification enterprise database 103, find its product, in product classificationbasic database 101, find the type of this product according to product, type according to product, in inspection machine data Kuku 102, find these types title of corresponding inspection machine respectively, get access to this enterprise each product type inspection machine that should be equipped with under one's name, and the measurement range of each inspection machine, and information such as accuracy class.
Use the inspection machine situation that should be equipped with that this system can make things convenient for the mechanism of quality monitoring department of each side to check each enterprise of mechanism on the one hand, for supervision provides strong reference.
On the other hand, use native system and also make things convenient for business unit to check the indispensable inspection machine that each product of this enterprise should be equipped with simultaneously, the quality of production that improves self for enterprise provides strong assurance.
To sum up, use native system and can provide fast, convenient and safe data resource for user and supervision department, make it easily to inspection machine information declare, inquire about, evaluate, gather, function such as analysis.
Inspection machine can be measurement instrument and non-metering utensil, and measurement instrument can be compulsory verification measurement instrument or general measurement instrument.In order further to improve the practical application effect of native system, so that the information management effect better is provided, convenient user (enterprise and regulator) uses, and native system can also comprise:
Measurement instrument namebase 105 stores the title of various measurement instruments.
Name map table 106 stores the mapping relations of the formal name used at school and the another name of described each measurement instrument title.
Because in the process of setting upmeasurement instrument namebase 105, measurement instrument title in the database that imports is inconsistent, perhaps typing personnel's typing is lack of standardization, may cause inmeasurement instrument namebase 105, to have nonstandard measurement instrument title, also claim another name, in order to make that the application of native system is more convenient and flexible, guarantee to use another name also can inquire full name, formal name used at school down metering appliance information, so in the present embodiment system, be provided with name map table 106.
Associative cell 104 is after obtaining the indispensable inspection machine situation of each enterprise like this, inspection machine can also be segmented,associative cell 104 is according to inspection machine name querymeasurement instrument namebase 105, if in measurement instrument namebase 105, search its title, then this inspection machine is a measurement instrument, if do not find,associative cell 104 also further carries out associative search in name map table 106, see the title whether this title is mapped to other, if, then according to the inquiry inmeasurement instrument namebase 105 again of its mapped title, if inquire, then this inspection machine is a measurement instrument.Otherwise, judge by the user whether it is measurement instrument.Like this, system can divide whether to be the mode of measurement instrument offer the user to the inspection machine information of each each product of enterprise, further facilitates the user.
In addition, because the compulsory verification measurement instrument is extremely important to product quality, so can also further ininspection machine database 102, add the type identification of inspection machine in the present embodiment, the type is designated be used to indicate whether described inspection machine is the compulsory verification measurement instrument.
Such as, can when setting upinspection machine database 102,, then also increase by a sign so that can determine that it is the compulsory verification measurement instrument according to sign for this inspection machine if this inspection machine is the compulsory verification measurement instrument.Be such as but not limited to and as 11, it be masked as the compulsory verification measurement instrument to increasing a character denotation by the compulsory verification measurement instrument.
Certainly, can also on general measurement instrument, increase a character denotation as possibility, as 01, it is masked as general measurement instrument, and can not mark for the inspection machine of non-metering utensil, perhaps also can increase a character denotation, it is masked as the inspection machine of non-metering utensil as 00.
Like this, because whether also store ininspection machine database 102 and be used for identifying this measurement instrument is the sign of compulsory verification measurement instrument, therefore theassociative cell 104 of present embodiment can also be further according to the sign of this inspection machine, determine whether current qualification certification this metering outfit enterprise, the following indispensability of this product is the compulsory verification measurement instrument, if, then can also be divided into the compulsory verification measurement instrument at measurement instrument, general measurement instrument is shown to the user, check to further facilitate the user.
Embodiment 2:
Referring to shown in Figure 4, the inspection machine dynamic supervision system of the qualification certification product that present embodiment provides and the difference of system shown in Figure 1 are:
Native system also comprises:
Database interface 401, this database interface can be used for inserting outside database, the information sharing of fulfillment database reality and regularly renewal.
Thisdatabase interface 401 both can adopt wired mode to be electrically connected with external data base also can preferably to adopt the mode of internet to connect in the present embodiment by unlimited mode.
Like this; can utilize the resource consolidation of xenogenesis isomeric data and the distributed management technology of internet; makedatabase interface 401 supervise general bureau with national quality respectively; CNCA CCC forcible authentication mechanism; State Food and Drug Administration; national environmental protection portion; each province and city transportation department; the database of the regulator of each side such as quality testing mechanism of each province and city Department of Construction is connected; realize the timing renewal of shared and both sides' data of data; reach benign cycle; for user and supervision department provide quick; convenient; the data resource of safety makes it easily metering appliance information to be declared; inquiry; evaluation; gather; functions such as analysis.
In addition; in the present embodiment; thisdatabase interface 401 can pass through the internet; the food production permission that inserts in the official website of State General Administration for Quality Supervision obtains the card enterprise database; food Related product and cosmetics obtain the card enterprise database; food quality security marketplace access enterprise database; the commercial production licence obtains the card enterprise database; the special equipment permission obtains the card enterprise database within the border; and CNCA CCC forcible authentication obtains the card enterprise database; the GMP of State Food and Drug Administration GSP obtain the card enterprise database; the environmental labelling product authentication of national environmental protection portion obtains the card enterprise database; the highway engineering test of each province and city transportation department publicity detects the qualification database; and/or quality testing mechanism of each province and city Department of Construction enterprise database connects; obtain each company information of various each qualification certification type; bydatabase interface 401 these information are imported in thequalification enterprise database 403; set upqualification enterprise database 403; and setting up this qualification of regularupdate enterprise database 403 afterwards;system data interface 401 can be realized the automatic filling of data each other by the consistance of automatic verification enterprise name and utensil title; automatically upgrade.
Present embodiment is united by the regulator that QS authentication, CCC authentication, GMP authentication, famous brand examination, field laboratory examine, check is installed in industrial products examination of production licence, special equipment, database is shared supervision mutually, help realizing the horizontal integration of each functional department, professional institution, bring into play co-operating advantage between the different departments, helped enlarging the coverage rate of measuring control and detection, eliminated the dead angle in the metering supervision, avoided because of supervising risk of bringing not in place and potential safety hazard.By docking and data sharing of native system and each regulator, for changing to " initiatively ensureing " from " passive reply ", the supervision that realizes China provides the foundation and means, the product quality supervision process that promotes China there is powerful positive role.
In addition, because may there be nonstandard situation in the enterprise name that each external data base obtained, the perhaps situation and may cause that there are letter situations such as a plurality of enterprise names in an enterprise in these external data bases because enterprise renames etc., the authenticity and the integrality of the information that gets access to of associative cell are not good enough like this.
For the authenticity and the integrality of the information that gets access to that improves native system, the network interface of native system also is electrically connected with the loom structure code database that the unit organization Institution Code of each place is done,
Owing to store information such as the unit code of each enterprise, current title and former name claim in the loom structure code database,database interface 401 can insert this loom structure code database like this, utilize this database and other company information database to set up the qualification enterprise database of native system, make in the qualification enterprise database constituent parts code and the former name of enterprise, current title corresponding, and after foundation,database interface 401 can also be regularly according to the renewal of each external data basequalification enterprise database 403 to native system.
Even the permission of the food production in the official website of described like this State General Administration for Quality Supervision obtains the card enterprise database; food Related product and cosmetics obtain the card enterprise database; food quality security marketplace access enterprise database; the commercial production licence obtains the card enterprise database; the special equipment permission obtains the card enterprise database within the border; CNCA CCC forcible authentication obtains the card enterprise database; the GMP of State Food and Drug Administration GSP obtain the card enterprise database; the environmental labelling product authentication of national environmental protection portion obtains the card enterprise database; the highway engineering test of each province and city transportation department publicity detects the qualification database; and/or the several situation of existence one enterprise in quality testing mechanism of each province and city Department of Construction these databases of enterprise database; associative cell still can accurately get access to its information according to unit code wherein, and the visible loom structure code database of doing bydatabase interface 401 access organization mechanism codes is in the present embodiment set up the enterprise qualification database and helped improving the native system information integrity; authenticity.
Need illustrate, also import loom structure code database in the present embodiment and set up the enterprise qualification database, claim incidence relation to be implemented in the unit's of foundation code in the storehouse, current title, former name, it is as just a kind of optional reference of implementation, this example does not also mean that eliminating can take other mode (such as manual entry or the like), stores also at each enterprise inqualification enterprise database 403 that its unit code, former name claim, current title.
Embodiment 3:
Referring to shown in Figure 5, present embodiment system and institute of embodiment 2 systems difference are that thedatabase interface 401 of native system also is electrically connected with the measurement technologyorganization management infosystem 50 that mainly contains metering mechanism and the use of censorship mechanism.
Wherein this measurement technology organization management infosystem comprises:mechanism information storehouse 501,lexical analyzer 502,fuzzy query unit 503, first mapping table 509, sample instrument calibratinginformation bank 504, sample instrument namebase 505, samplespecification model storehouse 506, manufacturer'sinformation bank 507, second mapping table 510, numberingchange unit 511, the 3rd mapping table 512,correlation inquiry unit 513.
Mechanism information storehouse 501 stores the information of mechanism, and described mechanism information comprises: mechanism's sign, organization names and mechanism's contact details.Wherein, mechanism is designated the symbol of this mechanism's identity of unique sign.
Wherein,lexical analyzer 502 is electrically connected with user's load module, the search word definite according to the information of current input.Wherein, the information of this input both can be organization names information, also can be the utensil name information, can also be information such as utensil model specification.
Wherein,fuzzy query unit 503, be electrically connected withlexical analyzer 502, the searching word search corresponding database thatfuzzy query unit 503 useslexical analyzer 502 to determine, obtain information similar, offer the user, select for the user, so that the user carries out manual analysis, judges, determines which is a full name, and which is not Search Results.
Such as, when the information of current input is organization names, then obtain the organization names that meets search condition in mechanism information storehouse 501: the title from the organization mechanism code database can be thought full name; Otherwise, the organization names that obtains is offered the user with the form of tabulating, so that the user carries out manual analysis, judges, determines which is the full name organization names which is not to select one as the full name organization names at Search Results.
First mapping table 509, the mapping relations that are used to store described each non-full name organization names full name organization names corresponding with it.
Such as: the user imports " Xi'an Research Institute of Metrology ",lexical analyzer 502 is determined current search,fuzzy query unit 503 is according to this search, inmechanism information storehouse 501, search for, if inquire " Xi'an metering institute ", " Xi'an quantitative study institute ", and these results are provided to the user, the user finds according to Search Results, wherein " Xi'an metering institute ", " Xi'an quantitative study institute " are the another name or the abbreviation of " Xi'an Research Institute of Metrology ", so the user can specify selection.
As a kind of example of organization names search implementation, can but be not limited to adopt following keyword search mode:
Lexical analyzer 502 is according to the organization names of input and thecommon dictionary 509 that prestores common speech (such as country ", " provinces ", " city " " Shaanxi ", " Xi'an ", " company ", " company limited ", " research ", " institute ", " institute " etc.); the common speech that comprises in the input mechanism title is used the space replacement; obtain keyword;fuzzy query unit 503 these keywords of use carry out fuzzy query inmechanism information storehouse 501, search for similar organization names.
For the ease of the user Search Results is judged, determined, can also onfuzzy query unit 503, connect sequencing unit 150, sequencing unit 150 bases sort to Search Results with the height of the similarity degree of the organization names of input, check to further facilitate the user.For example:
When the organization names uniqueness is examined, input mechanism title " Xi'an metering institute ", bylexical analyzer 502 with " Xi'an ", " research ", common general term such as " institutes " is left out, remaining " metering " speech is separated with the space, be key word " metering ", fuzzy query is carried out in the mechanism information storehouse, obtain containing similar to key word " metering " organization names tabulation, the user can analyze this organization names tabulation, judge " Xi'an metering institute " and be non-full name organization names, the full name organization names is " Xi'an Research Institute of Metrology ", find that simultaneously " Xi'an measurement technology research institute " also is non-full name organization names, the user can select " Xi'an Research Institute of Metrology " as mechanism information in tabulation.
Sample instrument calibratinginformation bank 504 stores described each sample instrument sign, the next calibrating Shi Jian metrical information of sample instrument such as alignment time, censorship cycle again.In the present embodiment, sample instrument is designated the unique symbol that is used to indicate this sample instrument in the native system, includes mechanism's sign in the sample instrument sign.
Wherein the sample instrument namebase 505, are used to store each sample instrument title.
Samplespecification model storehouse 506, the specifications and models that are used to store sample instrument.
Manufacturer'sinformation bank 507, the manufacturer's title that is used to store sample instrument.
Second mapping table 510 stores the mapping relations between each sample instrument sign, sample instrument title, specifications and models, the manufacturer's title.
Wherein numbering is changedunit 511, be used at sample instrument calibratinginformation bank 104, according to selecting of user, the sample instrument of described non-full name organization names correspondence sign is carried out label again: become second sample instrument sign by first sample instrument sign, and make second sample instrument sign comprise the mechanism that inspect mechanism to identify.Such as:
Search for when finding to exist the current organization names that has a non-full name byfuzzy query unit 103, the organization names that has non-full name as current discovery: " Xi'an metering institute " (mechanism is designated 0000000769), its full name is that " Xi'an Research Institute of Metrology " (mechanism is designated 0000000001, numberingchange unit 511 is in the sample instrument information database, with organization names be: the sign of the sample instrument of the sample instrument in " Xi'an metering institute " renumbers, and the mechanism that makes the sign of the sample instrument after the numbering include full name organization names " Xi'an Research Institute of Metrology " is designated 0000000001.
Constitute example with utensil sign by Institution Code sign+serial number: establish from " Xi'an metering institute " sample instrument calibratinginformation bank 104 interpolation, raw sample utensil code be 00000007690039 (the 0000000769th, mechanism's sign of " Xi'an metering institute ", the 0039th, the position code of this sample in former mechanism submitted sample information bank, also claim serial number) the sample instrument coding change of sample steel ruler be: 00000000010239 (the 0000000001st, mechanism's sign of " Xi'an Research Institute of Metrology ", the 0239th, the serial number of this sample in fresh sample utensil storehouse).
Simultaneously, when the sample instrument sign was renumberd, the mapping relations of the forward and backward value of the sample instrument sign that system will be renumberd automatically stored in the 3rd mapping table.In this example, specifically will revise preceding sample instrument sign " 00000007690039 " and identify storing in the 3rd mapping table 512 of " 00000000010239 " with amended sample.
Wherein above-mentioned fuzzy query mode can but be not limited to adopt inquiry mode " symbol lookup ", " keyword query " or " pinyin queries " several inquiry modes.
The 3rd mapping table 512, be used to store mapping relations between described first sample instrument sign, second sample instrument sign, sample instrument sign before wherein this first sample instrument is designated and renumbers, the sample instrument sign after second sample instrument is designated and renumbers.
Correlation inquiry unit 513, be used for sample instrument sign according to current input, according to first mapping table 109, second mapping table 510, the 3rd mapping table 512, related describedmechanism information storehouse 101, sample instrument are examined and determine the information ininformation bank 104, sample instrument namebase 105, samplespecification model storehouse 106, the manufacturer's information bank 107, determine information, the censorship mechanism information of sample instrument.The user by display terminal or other mode (such as: print etc.) can see details, the censorship mechanism information of this sample instrument.
Therefore, use measurement technology organization management infosystem, be provided with the sample instrument sign at each sample instrument, and be stored in the sample instrument calibratinginformation bank 101, when mechanism inspects this sample instrument by ready samples once more,correlation inquiry unit 513 utensil sign per sample can inquire the details such as title, specification of this sample instrument according to the mapping relations of second mapping table 510 by this sample instrument sign; Mechanism's sign that the correlation inquiry unit comprises in the utensil sign per sample can inquire the title and the contact details of this mechanism inmechanism information storehouse 101.
The present embodiment system also is provided withfuzzy query unit 103, (when mechanism inspects by ready samples) searches forunit 103 generally can be by the similar organization names of search inquiry of organization names, determine that according to Search Results selecting one is referred to as the full name organization names for the user, and automatically the current definite non-full name organization names and the mapping relations of full name mechanism are kept in first mapping table 109 by system, assurance is to the compatibility of old organization names, after guaranteeing system update,correlation inquiry unit 513 can according to first mapping table 109 inquire before upgrading former non-full name organization names with and corresponding mechanism's sign, information such as address, the continuity of guarantee information.
Because after the organization names of non-full name is replaced, numbering change unit 511 is automatically in sample instrument calibrating information bank 104, sign to non-full name organization names sample instrument is under one's name carried out label again: become second sample instrument sign by first sample instrument sign (the mechanism's sign that includes non-full name organization names correspondence), make second sample instrument sign include mechanism's sign of full name organization names, and system is automatically with this first sample instrument sign, the mapping relations of second sample instrument sign are stored in the 3rd mapping table 512, guarantee signal more in system, correlation inquiry unit 513 still can be according to the mapping relations of the 3rd mapping table 512 according to original sample instrument sign, find it to be mapped to the sample instrument sign, so that further according to mapped sample instrument sign, mechanism's sign, according to first mapping table, second mapping table inquires the details of this sample instrument: the censorship mechanism information, the sample instrument title, model specification, manufacturer, factory number or the like.And help avoiding taking place owing to sample instrument identifies not unique not unique situation of sample instrument information that causes inquiring.Use this measurement technology organization management infosystem and can check complete, the real situation of measurement instrument censorship of this enterprise.So in native system, native system and above-mentioned measurement technology organization management infosystem are connected shared, the renewal mutually of the data between the realization system by database interface.
Use the system of present embodiment, the measurement instrument actual disposition situation and the censorship situation of each enterprise can be checked by each regulator, can know the quality monitoring situation of this enterprise, helps the dynamics that improves the quality and monitor.
On the other hand, calibration authority use the present embodiment system can understand every qualification certification product of each qualification certification enterprise simultaneously should indispensable inspection machine, metering outfit, and the censorship situation of this enterprise, therefore the calibrating scheme that can initiatively help enterprise to work out suitable measurement instrument is utilized native system to also help calibration authority and is better commenced business.
In addition, metering appliance detecting information for the ease of censorship mechanism to this enterprise, and the inspection machine of the indispensability of qualification certification product, measurement instrument, the grasp of the situation of compulsory verification measurement instrument, the network interface of present embodiment system also is electrically connected with a plurality of client terminals, the user can be at each client terminal, check, operate this dynamic supervision system, understand the metering appliance detecting information of this enterprise, and the inspection machine of the indispensability of qualification certification product, measurement instrument, the situation of compulsory verification measurement instrument, censorship mechanism quotes native system at the client word and realizes the essential inspection machine of the qualification certification of this enterprise, and the measurement verification situation is monitored, make things convenient for the automatic configuration check equipment of enterprise, and the censorship of regularly arranging measurement instrument, help improving the product quality of enterprise.
Native system also is electrically connected with each client terminal, and described each client terminal is used for checking, operate the metering appliance detecting information of this censorship mechanism of this dynamic supervision system.
After enterprise lands native system by client terminal, promptly can enter the inspection machine storehouse of this enterprise, can inquire about inspection machine that this enterprise should be equipped with and measurement instrument, the inspection machine that has been equipped with and measurement instrument, the measurement instrument of censorship on time, the measurement instrument that is about to overdue measurement instrument, exceeds the time limit not examine.
In addition, in the system of present embodiment, online censorship unit can also be set on client terminal, censorship mechanism can will inspect inventory by ready samples by the mode of online submission automatically by online censorship unit at local terminal and be committed to calibration authority, submit the censorship request to, conveniently censorship mechanism censorship.
In addition, in the system of present embodiment, uploading unit can also be set on client terminal, censorship mechanism can will inspect inventory by ready samples by the mode of off-line submission automatically by uploading unit at local terminal and be committed to calibration authority, submission censorship request, and the convenient mechanism that inspects by ready samples inspects by ready samples.
Embodiment 4:
Referring to shown in Figure 6,3 differences of present embodiment system and embodiment are:
Present embodiment system example also include the next calibrating time alignment time monitoring unit 601 again.
Examine and determine this next time the time alignment time monitoring unit 601 and sample instrument calibrating information bank 504 again, and correlation inquiry unit 513 is electrically connected respectively, examine and determine this next time Shi Jian again in the described sample instrument calibrating of the alignment time monitoring unit 601 monitoring information bank 504 next time of each sample instrument examine and determine Shi Jian alignment time again, when current time and nearest next time examine and determine the time when the difference in time interval of alignment time and described censorship cycle is greater than predetermined value (being a negative of determining) again, promptly this client exceeds the time limit not inspect by ready samples to this sample instrument or is about to expire when not inspecting by ready samples, calibrating time next time alignment time monitoring unit 601 notice correlation inquiry unit 513 again, and the sample instrument sign of this not censorship of exceeding the time limit not inspect by ready samples or be about to expire is passed to correlation inquiry unit 513, pass through utensil sign per sample by correlation inquiry unit 513, the correlation inquiry corresponding database, obtain the title of this sample instrument, specification, information such as model, and the title of censorship unit, contact method.Measurement unit can be notified censorship unit according to these information, and minimizing even the situation of avoiding exceeding the time limit not examine take place.
In addition, in order further to improve the practicality and the intelligent degree of present embodiment, native system is provided withautomatic notification unit 602, calibrating time next time alignment time monitoring unit 601 and sample instrument are examined and determine information bank 604 and correlation inquiry unit 613 is electrically connected respectively again, automaticallynotification unit 602 is electrically connected with correlation inquiry unit 613
When next time examine and determine Shi Jian again alignment time monitoring unit 601 detect the client and certain sample utensil is exceeded the time limit not inspect by ready samples or be about to expire when not inspecting by ready samples, calibrating time next time alignment time monitoring unit 601 noticecorrelation inquiry unit 513 again, and the sample instrument sign of this not censorship of exceeding the time limit not inspect by ready samples or be about to expire is passed tocorrelation inquiry unit 513, obtain the title of this sample instrument bycorrelation inquiry unit 513, specification, information such as model, and the title of censorship unit, contact method, then, (be such as but not limited to mail byautomatic notification unit 602 according to the contact method of setting, modes such as note), automatically with this advisory censorship mechanism.The situation that reduces even avoid exceeding the time limit not examine takes place.
More than the technical scheme that the embodiment of the invention provided is described in detail, used specific case herein the principle and the embodiment of the embodiment of the invention are set forth, the explanation of above embodiment only is applicable to the principle that helps to understand the embodiment of the invention; Simultaneously, for one of ordinary skill in the art, according to the embodiment of the invention, the part that on embodiment and range of application, all can change, in sum, this description should not be construed as limitation of the present invention.

Claims (14)

Translated fromChinese
1、一种资质认证产品的检验设备动态监管系统,其特征是,包括:1. A dynamic monitoring system for testing equipment for qualification certification products, characterized by including:产品分类基础数据库,存储有各资质认证的产品的分类信息,所述按照产品的逐级分级;The basic database of product classification stores the classification information of products with various qualification certifications, which are classified according to the level of the product;检验设备数据库,存储有各资质认证对应的各产品所必需的检验设备的名称、以及各检验设备的测量范围、精度等级信息;Inspection equipment database, which stores the name of inspection equipment necessary for each product corresponding to each qualification certification, as well as the measurement range and accuracy level information of each inspection equipment;资质企业数据库,存储有各资质认证类型的各企业信息,包括:企业名称、企业产品信息;Qualified enterprise database, which stores the information of each enterprise of each type of qualification certification, including: enterprise name, enterprise product information;关联单元,用于关联所述资质企业数据库、产品分类基础数据库、检验设备数据库,获取所述各资质认证企业下各资质产品必备的检验设备信息。The associating unit is used for associating the qualified enterprise database, the basic product classification database, and the inspection equipment database to obtain the inspection equipment information necessary for each qualified product of each of the above-mentioned qualified certification enterprises.2、根据权利要求1所述的资质认证产品的检验设备动态监管系统,其特征是,2. The dynamic monitoring system for inspection equipment of qualification certified products according to claim 1, characterized in that:计量器具名称库,存储有各种计量器具的名称;Measuring instrument name library, which stores the names of various measuring instruments;名称映射表,存储有所述各计量器具名称的学名与别名的映射关系;A name mapping table, which stores the mapping relationship between the scientific name and the alias of each measuring instrument name;所述关联单元,还用于在获取所述各资质认证企业下各资质产品必备的检验设备库之后,还进一步关联所述计量器具名称库、名称映射表,获取所述各资质认证企业下各资质产品必备计量器具信息。The associating unit is further configured to further associate the measurement instrument name database and the name mapping table after obtaining the inspection equipment library necessary for each qualified product under each qualification certification enterprise, and obtain the inspection equipment library under each qualification certification enterprise. Information on the necessary measuring instruments for each qualified product.3、根据权利要求2所述的资质认证产品的检验设备动态监管系统,其特征是,3. The dynamic monitoring system for inspection equipment of qualification certified products according to claim 2, characterized in that:所述检验设备数据库中还存储有检验设备的类型标识,The type identification of the inspection equipment is also stored in the inspection equipment database,其中,所述类型标识为用于标志所述检验设备是否为强制检定计量器具,Wherein, the type identification is used to mark whether the inspection equipment is a compulsory verification measuring instrument,所述关联单元,还用于在获取所述各资质认证企业下各资质产品必备的计量器具信息之后,还进一步根据所述检验设备数据库中的类型标识,获取所述各资质认证企业下各资质产品必备的强制检定计量器具信息。The associating unit is further configured to, after acquiring the necessary measuring instrument information for each qualified product under each of the qualification certified enterprises, further obtain the information of each of the qualification certified enterprises according to the type identification in the inspection equipment database. Information on mandatory verification measuring instruments necessary for qualified products.4、根据权利要求1、2或3所述的资质认证产品的检验设备动态监管系统,其特征是,还包括:4. The dynamic monitoring system for inspection equipment of qualification certified products according to claim 1, 2 or 3, characterized in that it also includes:数据库接口,用于连接外部的数据库,实现与外部数据库的信息共享、以及定时更新。The database interface is used to connect to an external database, realize information sharing with the external database, and update regularly.5、根据权利要求4所述的资质认证产品的检验设备动态监管系统,其特征是,还包括:5. The dynamic monitoring system for inspection equipment of qualification certified products according to claim 4, further comprising:网络接口,与所述数据库接口电连接,用于接入互联网,A network interface, electrically connected to the database interface, for accessing the Internet,所述数据库接口通过所述网络接口与所述外部数据库连接。The database interface is connected to the external database through the network interface.6、根据权利要求5所述的资质认证产品的检验设备动态监管系统,其特征是,6. The dynamic monitoring system for inspection equipment of qualification certified products according to claim 5, characterized in that:所述网络接口分别与国家质检总局官方网站上的食品生产许可获证企业数据库、食品相关产品及化妆品获证企业数据库、食品质量安全市场准入企业数据库、工业生产许可证获证企业数据库、特种设备许可境内获证企业数据库、国家认监委CCC强制认证获证企业数据库、国家食品药品监督管理局GMP\GSP获证企业数据库、国家环境保护部环境标志产品认证获证企业数据库、各省市交通厅公示的公路工程试验检测资质数据库、和/或各省市建设厅质量检测机构企业数据库连接,The network interface is respectively connected to the database of food production licensed enterprises, the database of food-related products and cosmetics certified enterprises, the database of food quality and safety market access enterprises, the database of industrial production licensed enterprises on the official website of the General Administration of Quality Supervision, Inspection and Quarantine. Special equipment license domestic certified enterprise database, CNCA CCC compulsory certification certified enterprise database, State Food and Drug Administration GMP\GSP certified enterprise database, Ministry of Environmental Protection environmental label product certification certified enterprise database, provinces and cities The highway engineering testing and testing qualification database publicized by the Department of Communications, and/or the connection to the enterprise database of the quality inspection agency of the construction department of each province and city,所述数据库接口,具体用于导入所述国家质检总局官方网站上的食品生产许可获证企业数据库、食品相关产品及化妆品获证企业数据库、食品质量安全市场准入企业数据库、工业生产许可证获证企业数据库、特种设备许可境内获证企业数据库、国家认监委CCC强制认证获证企业数据库、国家食品药品监督管理局GMP\GSP获证企业数据库、国家环境保护部环境标志产品认证获证企业数据库、各省市交通厅公示的公路工程试验检测资质数据库、和/或各省市建设厅质量检测机构企业数据库,建立、更新所述资质企业数据库。The database interface is specifically used to import the database of food production licensed enterprises, the database of food-related products and cosmetics certified enterprises, the database of food quality and safety market access enterprises, and the industrial production license on the official website of the General Administration of Quality Supervision, Inspection and Quarantine. Certified enterprise database, special equipment licensing domestic certified enterprise database, CNCA CCC compulsory certification certified enterprise database, State Food and Drug Administration GMP\GSP certified enterprise database, Ministry of Environmental Protection environmental labeling product certification The enterprise database, the highway engineering test and inspection qualification database publicized by the provincial and municipal transportation departments, and/or the enterprise database of the quality inspection agency of the provincial and municipal construction departments, establish and update the qualification enterprise database.7、根据权利要求7所述的资质认证产品的检验设备动态监管系统,其特征是,7. The dynamic monitoring system for inspection equipment of qualification certified products according to claim 7, characterized in that:所述网络接口与织机构代码数据库电连接,其中,所述织机构代码数据库存储有各企业的单位代码、当前名称、以及曾用名称信息;The network interface is electrically connected to the weaving mechanism code database, wherein the weaving mechanism code database stores unit codes, current names, and previously used name information of each enterprise;所述数据库接口,还用于根据所述织机构代码数据库,建立、更新所述资质企业数据库,使所述各企业名称分别与单位代码、曾用名称相对应。The database interface is also used to establish and update the qualification enterprise database according to the weaving organization code database, so that the names of the enterprises correspond to the unit codes and former names respectively.8、根据权利要求1、2或3所述的资质认证产品的检验设备动态监管系统,其特征是,8. The dynamic monitoring system for inspection equipment of qualification certified products according to claim 1, 2 or 3, characterized in that:所述资质企业数据库中存储的资质认证企业信息,还包括:各企业的单位代码、曾用名称、当前名称。The qualification certified enterprise information stored in the qualified enterprise database also includes: unit code, former name, and current name of each enterprise.9、根据权利要求4所述的资质认证产品的检验设备动态监管系统,其特征是,所述数据库接口还电连接有所述计量技术机构管理信息系统,9. The dynamic monitoring system for inspection equipment of qualification certified products according to claim 4, characterized in that the database interface is also electrically connected to the management information system of the measurement technology institution,所述计量技术机构管理信息系统,包括:The management information system of the measurement technology institution includes:机构信息库,用于存储机构的信息,所述机构信息包括:机构标识、机构名称全称、以及机构联系信息;The institution information database is used to store the information of the institution, and the institution information includes: the institution logo, the full name of the institution, and the contact information of the institution;词法分析器,用于根据当前输入的信息获取搜索词;A lexical analyzer for obtaining search terms based on the information currently entered;模糊查询单元,用于使用所述搜索词搜索相应的数据库,获取相似的信息,以供用户选择,当输入的信息为机构名称时,搜索所述机构信息库,获取符合所述搜索条件的名称,以供用户选择全称机构名称;The fuzzy query unit is used to use the search term to search the corresponding database to obtain similar information for the user to choose. When the input information is the name of the institution, search the institution information database to obtain the name that meets the search condition , for the user to select the full institution name;第一映射表,与所述机构名称删除单元电连接,用于存储所述非全称机构名称与其对应的全称机构名称的映射关系;The first mapping table is electrically connected to the institution name deletion unit, and is used to store the mapping relationship between the incomplete institution name and its corresponding full institution name;样品器具检定信息库,存储有所述各样品器具标识、下次检定时间\再校准时间、送检周期,其中,所述各样品器具标识包含有其送检机构标识;The sample utensil verification information database stores the identification of each sample utensil, the next verification time\recalibration time, and the inspection period, wherein the identification of each sample utensil includes the identification of its inspection institution;样品器具名称库,用于存储各样品器具名称;The sample appliance name library is used to store the name of each sample appliance;样品规格型号库,用于存储样品器具的规格型号;Sample specification and model library, used to store the specifications and models of sample utensils;制造单位信息库,用于存储样品器具的制造单位名称;The manufacturing unit information base is used to store the name of the manufacturing unit of the sample appliance;第二映射表,存储有所述各样品器具标识、与样品器具名称、规格型号、制造单位名称之间的映射关系;The second mapping table stores the mapping relationship between the identification of each sample appliance, the name of the sample appliance, the specification model, and the name of the manufacturing unit;编号更改单元,用于在所述样品器具检定信息库中,将当前确定的所述非全称机构名称名下的样品器具标识重新标号:由第一样品器具标识变成第二样品器具标识,使第二样品器具标识包含有所述全称机构名称的机构标识;The number changing unit is used to renumber the currently determined sample appliance identifier under the name of the non-full name of the organization in the sample appliance verification information database: from the first sample appliance identifier to the second sample appliance identifier, Make the second sample utensil identification include the institution identification with the full name of the institution;第三映射表,与所述编号更改单元电连接,用于存储所述第一样品器具标识、第二样品器具标识之间映射关系;A third mapping table, electrically connected to the serial number changing unit, for storing the mapping relationship between the first sample appliance identifier and the second sample appliance identifier;关联查询单元,用于根据当前输入的样品器具标识,根据所述第一映射表、第二映射表、第三映射表中的映射关系,关联所述机构信息库、样品器具检定信息库、样品器具名称库、样品规格型号库、制造单位信息库的信息,确定所述样品器具的信息、送检机构信息。The association query unit is used to associate the organization information database, sample equipment verification information database, sample The information of the appliance name library, the sample specification model library, and the information library of the manufacturing unit determines the information of the sample appliance and the information of the inspection institution.10、根据权利要求9所述的资质认证产品的检验设备动态监管系统,其特征是,10. The dynamic monitoring system for inspection equipment of qualification certified products according to claim 9, characterized in that:所述网络接口还电连接有各客户终端,所述各客户终端用于查看、操作本动态监管系统中的本送检机构的计量器具检定信息。The network interface is also electrically connected to various client terminals, and each client terminal is used to view and operate the verification information of the measuring instruments of the inspection institution in the dynamic supervision system.11、根据权利要求9所述的资质认证产品的检验设备动态监管系统,其特征是,11. The dynamic monitoring system for inspection equipment of qualification certified products according to claim 9, characterized in that:在所设置有网上送检单元,用于供所述终端侧的送检机构向本系统在线递交送检清单。An online inspection submission unit is provided in the station, which is used for the inspection submission mechanism on the terminal side to submit the inspection submission list to the system online.12、根据权利要求9所述的资质认证产品的检验设备动态监管系统,其特征是,12. The dynamic monitoring system for inspection equipment of qualification certified products according to claim 9, characterized in that:在所述客户终端上设置有上传单元,用于供所述终端侧的送检机构向本系统离线上传送检清单。An upload unit is provided on the client terminal for the inspection sending mechanism on the terminal side to transmit the inspection list to the system offline.13、根据权利要求10的资质认证产品的检验设备动态监管系统,其特征是,还包括:13. The dynamic monitoring system for inspection equipment of qualification certified products according to claim 10, characterized in that it also includes:下次检定时间\再校准时间监控单元,与样品器具检定信息库、以及关联查询单元分别电连接,The next verification time/recalibration time monitoring unit is electrically connected to the sample appliance verification information database and the associated query unit respectively,用于监控所述样品器具检定信息库中各样品器具的下次检定时间\再校准时间,当监控到样品器具超期未送检、或者即将到期未送检时,通知所述关联查询单元该超期未送检、或者即将到期未送检的样品器具的标识,以便所述关联查询单元根据所述样品器具的标识,确定所述样品器具的名称、送检单位信息联系信息。It is used to monitor the next verification time\recalibration time of each sample appliance in the sample appliance verification information database, and when it is monitored that the sample appliance has not been submitted for inspection within the time limit, or has not been submitted for inspection after the expiration date, the associated query unit will be notified of the The identification of the sample appliance that has not been submitted for inspection or will not be submitted for inspection when it is about to expire, so that the association query unit can determine the name of the sample appliance and the information and contact information of the unit that submitted the inspection according to the identification of the sample appliance.14、根据权利要求13所述的资质认证产品的检验设备动态监管系统,其特征是,还包括:14. The dynamic monitoring system for inspection equipment of qualification certified products according to claim 13, further comprising:通知模块,与所述关联查询单元电连接,用于通过短信、或者邮件的方式,通知所述未送检、或者即将到期未送检的样品器具的送检机构。The notification module is electrically connected to the association query unit, and is used to notify the inspection institution of the sample appliance that has not been submitted for inspection or is about to expire and has not been submitted for inspection by means of short messages or emails.
CNA2009100216861A2009-03-252009-03-25Dynamic supervision system for checking equipment of qualification certification productsPendingCN101515343A (en)

Priority Applications (1)

Application NumberPriority DateFiling DateTitle
CNA2009100216861ACN101515343A (en)2009-03-252009-03-25Dynamic supervision system for checking equipment of qualification certification products

Applications Claiming Priority (1)

Application NumberPriority DateFiling DateTitle
CNA2009100216861ACN101515343A (en)2009-03-252009-03-25Dynamic supervision system for checking equipment of qualification certification products

Publications (1)

Publication NumberPublication Date
CN101515343Atrue CN101515343A (en)2009-08-26

Family

ID=41039790

Family Applications (1)

Application NumberTitlePriority DateFiling Date
CNA2009100216861APendingCN101515343A (en)2009-03-252009-03-25Dynamic supervision system for checking equipment of qualification certification products

Country Status (1)

CountryLink
CN (1)CN101515343A (en)

Cited By (11)

* Cited by examiner, † Cited by third party
Publication numberPriority datePublication dateAssigneeTitle
CN102143202A (en)*2010-11-232011-08-03北京三博中自科技有限公司Information integration method and information integration system for industrial production equipment
CN103093323A (en)*2013-02-262013-05-08江南大学Special equipment inspection, detection and management system based on two-dimension code
CN104616109A (en)*2015-02-032015-05-13张润虎Method for implementing measurement and calibration based on network
CN105493125A (en)*2014-07-312016-04-13华为技术有限公司Trade order processing method and related device
CN107608242A (en)*2017-08-302018-01-19滁州市西控电子有限公司A kind of distributed metering and centralized management system
CN107679770A (en)*2017-10-262018-02-09苏州赛维新机电检测技术服务有限公司A kind of enterprise qualification certification assessment system
CN107809434A (en)*2017-11-082018-03-16济南大陆机电股份有限公司A kind of continuous data validation verification system and method
CN108197897A (en)*2018-01-192018-06-22山东大陆计量科技有限公司Compulsory verification measurement instrument intelligence identification and device
CN108256743A (en)*2017-12-272018-07-06北京市计量检测科学研究院One kind relates to electric product common detection service platform
CN110083592A (en)*2019-05-082019-08-02中国建筑第八工程局有限公司Architectural engineering sample managing method based on BIM
CN111324061A (en)*2020-01-212020-06-23长江流域水环境监测中心Equipment verification calibration management method and related equipment and storage device thereof

Cited By (15)

* Cited by examiner, † Cited by third party
Publication numberPriority datePublication dateAssigneeTitle
CN102143202A (en)*2010-11-232011-08-03北京三博中自科技有限公司Information integration method and information integration system for industrial production equipment
CN103093323A (en)*2013-02-262013-05-08江南大学Special equipment inspection, detection and management system based on two-dimension code
CN103093323B (en)*2013-02-262015-09-23江南大学Based on special equipment inspection and the management system of Quick Response Code
CN105493125A (en)*2014-07-312016-04-13华为技术有限公司Trade order processing method and related device
CN104616109A (en)*2015-02-032015-05-13张润虎Method for implementing measurement and calibration based on network
CN107608242A (en)*2017-08-302018-01-19滁州市西控电子有限公司A kind of distributed metering and centralized management system
CN107679770A (en)*2017-10-262018-02-09苏州赛维新机电检测技术服务有限公司A kind of enterprise qualification certification assessment system
CN107809434A (en)*2017-11-082018-03-16济南大陆机电股份有限公司A kind of continuous data validation verification system and method
CN107809434B (en)*2017-11-082020-09-15济南大陆机电股份有限公司System and method for verifying validity of metering data
CN108256743A (en)*2017-12-272018-07-06北京市计量检测科学研究院One kind relates to electric product common detection service platform
CN108256743B (en)*2017-12-272022-03-15北京市计量检测科学研究院Public detection service platform for power-related products
CN108197897A (en)*2018-01-192018-06-22山东大陆计量科技有限公司Compulsory verification measurement instrument intelligence identification and device
CN110083592A (en)*2019-05-082019-08-02中国建筑第八工程局有限公司Architectural engineering sample managing method based on BIM
CN111324061A (en)*2020-01-212020-06-23长江流域水环境监测中心Equipment verification calibration management method and related equipment and storage device thereof
CN111324061B (en)*2020-01-212021-07-20生态环境部长江流域生态环境监督管理局生态环境监测与科学研究中心Equipment verification calibration management method and related equipment and storage device thereof

Similar Documents

PublicationPublication DateTitle
CN101515343A (en)Dynamic supervision system for checking equipment of qualification certification products
CN106682150B (en) Method and device for processing information
US20020129001A1 (en)Method and system for assimilation, integration and deployment of architectural, engineering and construction information technology
CN110119395B (en)Method for realizing association processing of data standard and data quality based on metadata in big data management
Zaveri et al.Quality assessment methodologies for linked open data
CN102479351B (en)A kind of intelligent management method and system to newly-built measurement standard
US7464067B2 (en)Object monitoring and management system
US8892534B2 (en)System and method for integrating data quality metrics into enterprise data management processes
CN110347644A (en)A kind of with no paper inspection and detection system and its operating method
WO2018049796A1 (en)Green product management system and method
CN106844730B (en)Method and device for displaying file content
CN101515342A (en)Management system and method for uniqueness of sample instrument information in metrological verification technical institutions
CN112200547B (en)Laboratory science data management system
Ureña-Cámara et al.A method for checking the quality of geographic metadata based on ISO 19157
CN111177139A (en)Data quality verification monitoring and early warning method and system based on data quality system
Franceschini et al.A novel approach for estimating the omitted‐citation rate of bibliometric databases with an application to the field of bibliometrics
CN119416270B (en) Data verification method, device, equipment and readable storage medium
Talha et al.Towards a powerful solution for data accuracy assessment in the big data context
Goasdoué et al.An Evaluation Framework For Data Quality Tools.
CN114792145A (en)Standard digital management maintenance system and method based on knowledge graph
CN102855590A (en)Standard self-service trusteeship system used in laboratory
CN110826975A (en)Number association method, server and user side
CN117473493A (en)Data tracing and quality detection method and system based on data elements
CN114066423B (en) Management system and method for rail transit vehicle products
CN113886411A (en)Universal product cooperative work information processing and recording method and device

Legal Events

DateCodeTitleDescription
C06Publication
PB01Publication
C10Entry into substantive examination
SE01Entry into force of request for substantive examination
C12Rejection of a patent application after its publication
RJ01Rejection of invention patent application after publication

Application publication date:20090826


[8]ページ先頭

©2009-2025 Movatter.jp