Movatterモバイル変換


[0]ホーム

URL:


CN101430316A - Electroosmosis-load combined consolidometer - Google Patents

Electroosmosis-load combined consolidometer
Download PDF

Info

Publication number
CN101430316A
CN101430316ACNA2008101633152ACN200810163315ACN101430316ACN 101430316 ACN101430316 ACN 101430316ACN A2008101633152 ACNA2008101633152 ACN A2008101633152ACN 200810163315 ACN200810163315 ACN 200810163315ACN 101430316 ACN101430316 ACN 101430316A
Authority
CN
China
Prior art keywords
cylindrical chamber
electric osmose
lever
loading
electroosmosis
Prior art date
Legal status (The legal status is an assumption and is not a legal conclusion. Google has not performed a legal analysis and makes no representation as to the accuracy of the status listed.)
Granted
Application number
CNA2008101633152A
Other languages
Chinese (zh)
Other versions
CN101430316B (en
Inventor
龚晓南
李瑛�
焦丹
Current Assignee (The listed assignees may be inaccurate. Google has not performed a legal analysis and makes no representation or warranty as to the accuracy of the list.)
Zhejiang University ZJU
Original Assignee
Zhejiang University ZJU
Priority date (The priority date is an assumption and is not a legal conclusion. Google has not performed a legal analysis and makes no representation as to the accuracy of the date listed.)
Filing date
Publication date
Application filed by Zhejiang University ZJUfiledCriticalZhejiang University ZJU
Priority to CN2008101633152ApriorityCriticalpatent/CN101430316B/en
Publication of CN101430316ApublicationCriticalpatent/CN101430316A/en
Application grantedgrantedCritical
Publication of CN101430316BpublicationCriticalpatent/CN101430316B/en
Expired - Fee Relatedlegal-statusCriticalCurrent
Anticipated expirationlegal-statusCritical

Links

Images

Landscapes

Abstract

Translated fromChinese

本发明公开了一种电渗-加载联合固结仪。它是在绝缘材料制成的圆柱容器的中轴处设置电渗阴极,紧贴四壁设置电渗阳极;圆柱容器的顶部安放活塞式加载顶盖;圆柱容器底板的中心开有排水孔;电渗阴阳两极分别与提供电压的稳压直流电源的负极和正极相连;加载顶盖与提供力学压力的杠杆系统连接。排水孔与量筒以软管连接以测量土体固结排出水的体积,加载顶盖上安放千分表以测量土体沉降,通过加载顶盖上的小孔在土样合适深度以固定间距安置测量电压分布的测针和测量孔隙水压力的孔压传感器来分别测量土样径向的电势分布和孔隙水压力。本发明主要应用于软粘土、疏浚土、淤泥质土等的室内电渗-加载联合固结试验研究。

Figure 200810163315

The invention discloses an electroosmosis-loading combined consolidation instrument. It is to install the electroosmotic cathode at the central axis of the cylindrical container made of insulating material, and to install the electroosmotic anode close to the four walls; the top of the cylindrical container is placed with a piston-type loading top cover; the center of the bottom plate of the cylindrical container has a drainage hole; The negative and positive poles of the infiltration positive and negative poles are respectively connected with the negative pole and the positive pole of the regulated direct current power supply which provides the voltage; the loading top cover is connected with the lever system which provides the mechanical pressure. The drainage hole is connected to the measuring cylinder with a flexible hose to measure the volume of water discharged from soil consolidation. A dial gauge is placed on the loading top cover to measure the settlement of the soil. The small holes on the loading top cover are placed at a fixed distance at the appropriate depth of the soil sample. The stylus for measuring the voltage distribution and the pore pressure sensor for measuring the pore water pressure are used to measure the radial potential distribution and pore water pressure of the soil sample respectively. The invention is mainly applied to the indoor electroosmosis-loading joint consolidation test research of soft clay, dredged soil, silty soil and the like.

Figure 200810163315

Description

Electroosmosis-load combined consolidometer
Technical field
The present invention relates to a kind of test unit, especially relate to a kind of electroosmosis-load combined consolidometer.
Background technology
The drainage by electroosmosis method can overcome conventional water discharge method (as well-point method and preloading method) initial stage effect obviously but the later stage drainage speed is slow, the unfavorable shortcoming of consolidation effect when handling weak soil and mud.So on the engineering load modes such as electric osmose and vacuum preloading, low-energy strong-ramming are combined use in recent years, obtained than simple electric osmose or loaded better effect merely.But the main experience by the technician of the design of present this united drainage reinforcement means and construction is that its mechanism of action and proterties imperfectly understand because method is newer on the one hand; Be to lack designing and calculating parameter accurately on the other hand.Existing indoor consolidometer only can be considered the effect that loads, can not measure parameter when fixed and load symphyogenetic test unit at electric osmose or electric osmose.
Summary of the invention
The object of the present invention is to provide a kind of electroosmosis-load combined consolidometer, can carry out electric osmose simultaneously and load the fixed laboratory testing rig of united drainage the soil body, it can realize that the associating of electric osmose and loading is fixed, can realize that also simple consolidation by electroosmosis or simple loading are fixed, can also measure the parameters in the consolidation process.
The technical solution used in the present invention is:
At the cylindrical chamber axis place of placing soil sample the electric osmose negative electrode is set, the inwall place of cylindrical chamber is provided with the electric osmose anode, the top of cylindrical chamber is provided with the piston type loading cap, be covered with the insulation division board under the piston type loading cap, the top-loaded bar is installed on the loading cap, the bottom centre of cylindrical chamber has osculum, connect graduated cylinder through scupper hose, cylindrical chamber is placed on the instrument table, fixedly connected with the two ends of top-loaded bar in the upper end that is arranged on two outer montants of cylindrical chamber, fixedly connected with the two ends of bottom-loaded bar in the lower end of two montants, bottom-loaded bar and lever are rotationally connected, the clock gauge contact withstands on the top-loaded bar, the upper end of lever fixed bar is fixed on the instrument table bottom surface, the lower end of lever fixed bar is rotationally connected through lever set bolt and lever, one end of lever is provided with counterpoise, the other end of lever is provided with the loading counterweight through the counterweight hook, being connected the hole presses 3 above hole pressure sensor gauge heads of display to insert the soil sample from loading cap, one end of 3 above chaining pins inserts the soil sample from loading cap, the other end of 3 above chaining pins is connected with the digital display multimeter through telegraph key, constant voltage dc source and electric osmose negative electrode, electric osmose anode and digital display multimeter are electrically connected.
Described electric osmose negative electrode is the complex pipe that has trap drainage and conducting function concurrently; The electric osmose anode is the sheet metal or the wire netting of ring-type.
Described cylindrical chamber material is that insulating material is made; Electric osmose negative electrode, electric osmose anode, cylindrical chamber and loading cap coaxial arrangement.
The beneficial effect that the present invention has is:
1, can provide electric osmose-loading synergy, three kinds of different test conditions of electroosmosis and loading effect.
2, the negative electrode of center arrangement can rely on the water amount discharge container that gravity flows out soil sample, equipment such as needing no vacuum pump.
3, parameters in the soil sample consolidation process be can measure, sedimentation, pore water pressure, drainage water volume, voltage and current mainly contained
The present invention is mainly used in the shop experiment research of soft clay, dredging soil, muck soil etc.
Description of drawings
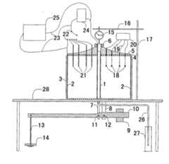
Accompanying drawing is the synoptic diagram of apparatus of the present invention.
Among the figure: 1, the electric osmose negative electrode, 2, the electric osmose anode, 3, cylindrical chamber, 4, the insulation division board, 5, loading cap, 6, the top-loaded bar, 7, montant, 8, the lever fixed bar, 9, counterpoise, 10, lever, 11, the bottom-loaded bar, 12, the lever set bolt, 13, the counterweight hook, 14, load counterweight, 15, clock gauge, 16, the clock gauge fixed transverse rod, 17, clock gauge is montant fixedly, and 18, hole pressure sensor gauge head, 19, hole pressure sensor cable, 20, display, 21 are pressed in the hole, chaining pin, 22, telegraph key, 23, electric wire, 24, the digital display multimeter, 25, constant voltage dc source, 26, scupper hose, 27, graduated cylinder, 28, instrument table.
Embodiment
The present invention will be further described below in conjunction with drawings and Examples.
As shown in drawings, the present invention vertically is provided with electric osmosenegative electrode 1 at thecylindrical chamber 3 axis places of placing soil sample, and the inwall of being close tocylindrical chamber 3 is provided with electric osmose anode 2.The top ofcylindrical chamber 3 is provided with pistontype loading cap 5, and loading cap is covered with insulation division board 4 for 5 times, and top-loadedbar 6 is installed on the loading cap 5.The bottom centre ofcylindrical chamber 3 has osculum, connects graduatedcylinder 27 throughscupper hose 26, and the water of the fixed discharge of soil sample converges to electric osmosenegative electrode 1 under effect of electric field, flow into measured volume in the graduatedcylinder 27 through osculum, scupper hose 26.Cylindrical chamber 3 is placed on the instrument table 28.The upper end that is arranged on twoouter montants 7 ofcylindrical chamber 3 is connected through bolt with the two ends of top-loaded bar 6 (should be from side view, twomontants 7 have been can't see in the accompanying drawing), the lower end of twomontants 7 is connected through bolt with the two ends of bottom-loadedbar 11, bottom-loadedbar 11 passes aperture pre-drilled on thelever 10 andlever 10 is rotationally connected, andclock gauge 15 contacts withstand on the vertical decrement that is used to measure soil sample on the top-loaded bar 6.The upper end of leverfixed bar 8 is fixed on instrument table 28 bottom surfaces, and the lower end of lever fixedbar 8 is rotationally connected through lever setbolt 12 and lever 10.One end oflever 10 is provided withcounterpoise 9, andcounterpoise 9 is used for the balance of adjustment (adjusting) lever self; The other end oflever 10 is provided with throughcounterweight hook 13 andloads counterweight 14, andloading counterweight 14 is identical with the general room consolidometer, selects to load the rank ofcounterweight 14 during experiment as requested with the enlargement factor of lever 10.Being connected the hole presses more than 3 of display 20 (in the accompanying drawing being 4) hole pressuresensor gauge head 18 to insert the soil sample from loadingcap 5 pre-drilled apertures, one end of thechaining pin 21 that (in the accompanying drawing is 4) more than 3 inserts the soil sample from loadingcap 5 pre-drilled apertures, and the other end of 3 abovechaining pins 21 is connected withdigital display multimeter 24 through telegraph key 22.The hole pressure sensor is used to measure the radially pore water pressure of soil sample, andchaining pin 21 is used to measure the radially Potential Distributing of soil sample, the both sides of theirseparation loading cap 5, and their arrangement mode can be identical, also can be different.Constantvoltage dc source 25 is connected with electric osmosenegative electrode 1,electric osmose anode 2 anddigital display multimeter 24.
Described electric osmosenegative electrode 1 is the complex pipe that has trap drainage and conducting function concurrently;Electric osmose anode 2 is sheet metal or wire nettings of ring-type.The material of describedcylindrical chamber 3 is an insulating material; Electric osmosenegative electrode 1,electric osmose anode 2,cylindrical chamber 3 and loadingcap 5 coaxial arrangement.
Specific operation process is as follows:
1) installing electrodes:
Electric osmose anode 2 is close tocylindrical chamber 3 inwalls places, electric osmosenegative electrode 1 vertically is placed in the axis place ofcylindrical chamber 3, and the osculum of assurance andcylindrical chamber 3 bottoms and loadingcap 5 assemblings are good.
2) insert soil sample, install and measure equipment:
The hole pressuresensor gauge head 18 that will connect cable 19 in inserting the process of soil sample buries in place; After treating the soil sample surface andcylindrical chamber 2 edges flushing, lay insulation division board 4, loadingcap 5 and top-loadedbar 6 successively, and pressdisplay 21 to be connected with the hole other end of cable 19, insertchaining pin 21; 26 1 of scupper hoses are connectedcylindrical chamber 2 bottom discharge holes, and graduatedcylinder 27 is put in the other end.
3) leveling lever, fixedly clock gauge:
Connect top-loadedbar 6 and levers 10 withmontant 7, and thecounterpoise 9 onshift lever 10 right sides comes the balance of adjustment (adjusting)lever 10 self; After treating lever balance, on top-loadedbar 6, use fixedlyclock gauge 15 of clock gauge fixedtransverse rod 16 and montant 17, and guarantee thatclock gauge 15 initial readings are zero.
4) connecting circuit:
Withelectric wire 23electric osmose anode 2 is linked to each other with negative pole with the positive pole ofpower supply 25 respectively with electric osmosenegative electrode 1, andchaining pin 21,digital display multimeter 24 andtelegraph key 22 are also coupled together according to circuit shown in Figure 1.
5) carry additionally counterweight, connect circuit, begin test:
Behind theloading counterweight 14 of carrying additionally testing requirements on thecounterweight hook 13,opening power 25 also is adjusted to the voltage and current that test is adopted, and pressestelegraph key 22, the associating consolidation test of beginning electric osmose-preloading.
Utilizing the present invention also can and only carry additionallycounterweight 14 by aswitch power supply 25 realizes the simple consolidation by electroosmosis of soil sample respectively and loads fixed merely.

Claims (3)

1. electroosmosis-load combined consolidometer, it is characterized in that: electric osmose negative electrode (1) is set at cylindrical chamber (3) the axis place of placing soil sample, the inwall place of cylindrical chamber (3) is provided with electric osmose anode (2), the top of cylindrical chamber (3) is provided with piston type loading cap (5), be covered with insulation division board (4) under the piston type loading cap (5), loading cap (5) goes up installs top-loaded bar (6), the bottom centre of cylindrical chamber (3) has osculum, connect graduated cylinder (27) through scupper hose (26), cylindrical chamber (3) is placed on the instrument table (28), fixedly connected with the two ends of top-loaded bar (6) in the upper end that is arranged on outer two montants (7) of cylindrical chamber (3), fixedly connected with the two ends of bottom-loaded bar (11) in the lower end of two montants (7), bottom-loaded bar (11) is rotationally connected with lever, clock gauge (15) contact withstands on top-loaded bar (6), the upper end of lever fixed bar (8) is fixed on instrument table (28) bottom surface, the lower end of lever fixed bar (8) is rotationally connected through lever set bolt (12) and lever (10), one end of lever (10) is provided with counterpoise (9), the other end of lever (10) is provided with through counterweight hook (13) and loads counterweight (14), being connected the hole presses 3 above hole pressure sensor gauge heads (18) of display (20) to insert the soil sample from loading cap (5), one end of 3 above chaining pins (21) inserts the soil sample from loading cap (5), the other end of 3 above chaining pins (21) is connected with digital display multimeter (24) through telegraph key (22), constant voltage dc source (25) and electric osmose negative electrode (1), electric osmose anode (2) and digital display multimeter (24) are electrically connected.
2. a kind of electroosmosis-load combined consolidometer according to claim 1 is characterized in that: described electric osmose negative electrode (1) is the complex pipe that has trap drainage and conducting function concurrently; Electric osmose anode (2) is the sheet metal or the wire netting of ring-type.
3. a kind of electroosmosis-load combined consolidometer according to claim 1 is characterized in that: described cylindrical chamber (3) material is that insulating material is made; Electric osmose negative electrode (1), electric osmose anode (2), cylindrical chamber (3) and loading cap (5) coaxial arrangement.
CN2008101633152A2008-12-152008-12-15electroosmosis-load combined consolidometerExpired - Fee RelatedCN101430316B (en)

Priority Applications (1)

Application NumberPriority DateFiling DateTitle
CN2008101633152ACN101430316B (en)2008-12-152008-12-15electroosmosis-load combined consolidometer

Applications Claiming Priority (1)

Application NumberPriority DateFiling DateTitle
CN2008101633152ACN101430316B (en)2008-12-152008-12-15electroosmosis-load combined consolidometer

Publications (2)

Publication NumberPublication Date
CN101430316Atrue CN101430316A (en)2009-05-13
CN101430316B CN101430316B (en)2011-12-21

Family

ID=40645833

Family Applications (1)

Application NumberTitlePriority DateFiling Date
CN2008101633152AExpired - Fee RelatedCN101430316B (en)2008-12-152008-12-15electroosmosis-load combined consolidometer

Country Status (1)

CountryLink
CN (1)CN101430316B (en)

Cited By (21)

* Cited by examiner, † Cited by third party
Publication numberPriority datePublication dateAssigneeTitle
CN101813691A (en)*2010-05-112010-08-25中交第三航务工程勘察设计院有限公司Method for detecting secondary consolidation coefficient of soft soil indoors and measuring device using same
CN102393404A (en)*2011-09-152012-03-28王军Large model test box for studying electroosmosis consolidation treated soft soil foundation
CN102507652A (en)*2011-09-302012-06-20清华大学Bidirectional electricosmosis consolidometer
CN102565139A (en)*2012-01-112012-07-11清华大学Indoor vacuum electro-osmosis combined solidification tester
CN103207136A (en)*2013-03-192013-07-17河海大学Device and method for measuring hydraulic permeability-electroosmosis coefficients
CN103245770A (en)*2013-04-192013-08-14河海大学Electroosmosis-vacuum-loading combined consolidometer
CN103424434A (en)*2013-08-212013-12-04国家电网公司Experimental method for consolidating soft clay by means of electro-osmosis under follow-up effect of anode
CN104569341A (en)*2014-11-282015-04-29温州大学Vacuum preloading and electroosmosis combined testing device and vacuum preloading and electroosmosis combined testing method
CN105158034A (en)*2015-07-312015-12-16河海大学Cohesive soil large-scale triaxial sample consolidating apparatus and consolidating method thereof
CN105759012A (en)*2016-03-212016-07-13温州大学Multifunctional soil mass testing device capable of achieving combined application
CN105866382A (en)*2016-04-142016-08-17山东大学Electro-osmotic consolidation test device and method for consolidating soft clay foundation
CN106198376A (en)*2016-08-022016-12-07广西大学Measure the consolidation apparatus of pore pressure
CN107012854A (en)*2017-05-222017-08-04江苏绿畅路面新材料有限公司A kind of batch production heavy metal mud water discharge method
CN107024499A (en)*2016-12-282017-08-08塔里木大学One-dimensional earth pillar frost-heaving deformation analyzer
CN108562518A (en)*2018-02-122018-09-21浙江大学A kind of device and method for studying heavy metal ion traveling locus in the Polluted Soil that electric osmose is handled
CN109695259A (en)*2019-03-092019-04-30中国矿业大学A kind of electric osmose system that can administer underground space dew
CN109991099A (en)*2019-04-292019-07-09中交天津港湾工程研究院有限公司 A kind of ultra-soft soil large-scale consolidation test device and test method
CN110845110A (en)*2019-11-212020-02-28山东科技大学Vacuum preloading combined surcharge-loading sludge dewatering test device
WO2022105103A1 (en)*2021-04-082022-05-27南通大学Apparatus and method for testing effective electric potential of soil mass in real time using soft clay electroosmosis process
CN114878784A (en)*2022-05-182022-08-09江苏科技大学Soft soil solidification test device and method
CN115855618A (en)*2022-12-122023-03-28江苏科技大学 A model box for electroosmotic vacuum surcharge combined reinforcement of soft soil and its application method

Family Cites Families (5)

* Cited by examiner, † Cited by third party
Publication numberPriority datePublication dateAssigneeTitle
JP2006224056A (en)*2005-02-212006-08-31National Institute Of Advanced Industrial & Technology In-situ and on-site purification method for contaminated soil and apparatus used therefor
KR20070113420A (en)*2006-05-232007-11-29한양대학교 산학협력단 Ground Improvement System with Integral Aluminum Electrode
CN101224942B (en)*2008-01-212010-04-07陈江涛Soft soil, sludge impulse type electro-dewatering treating method and device thereof
CN101311133B (en)*2008-02-052011-07-20陈江涛Tank type electroosmosis sludge soil reproducing method and device thereof
CN101245592A (en)*2008-03-262008-08-20张志铁Soft groundsill fastening method based on vacuum electroosmosis composite preloading method

Cited By (30)

* Cited by examiner, † Cited by third party
Publication numberPriority datePublication dateAssigneeTitle
CN101813691B (en)*2010-05-112012-12-26中交第三航务工程勘察设计院有限公司Method for detecting secondary consolidation coefficient of soft soil indoors and measuring device using same
CN101813691A (en)*2010-05-112010-08-25中交第三航务工程勘察设计院有限公司Method for detecting secondary consolidation coefficient of soft soil indoors and measuring device using same
CN102393404A (en)*2011-09-152012-03-28王军Large model test box for studying electroosmosis consolidation treated soft soil foundation
CN102393404B (en)*2011-09-152012-12-26温州大学Large model test box for studying electroosmosis consolidation treated soft soil foundation
CN102507652A (en)*2011-09-302012-06-20清华大学Bidirectional electricosmosis consolidometer
CN102565139B (en)*2012-01-112014-04-02清华大学Indoor vacuum electro-osmosis combined solidification tester
CN102565139A (en)*2012-01-112012-07-11清华大学Indoor vacuum electro-osmosis combined solidification tester
CN103207136A (en)*2013-03-192013-07-17河海大学Device and method for measuring hydraulic permeability-electroosmosis coefficients
CN103207136B (en)*2013-03-192015-09-30河海大学Waterpower-electric power apparatus for measuring permeability coefficient and measuring method
CN103245770A (en)*2013-04-192013-08-14河海大学Electroosmosis-vacuum-loading combined consolidometer
CN103245770B (en)*2013-04-192015-03-25河海大学Electroosmosis-vacuum-loading combined consolidometer
CN103424434A (en)*2013-08-212013-12-04国家电网公司Experimental method for consolidating soft clay by means of electro-osmosis under follow-up effect of anode
CN103424434B (en)*2013-08-212015-08-26国家电网公司 Experimental method of electroosmotic consolidation of soft clay under the action of anode follow-up
CN104569341A (en)*2014-11-282015-04-29温州大学Vacuum preloading and electroosmosis combined testing device and vacuum preloading and electroosmosis combined testing method
CN105158034A (en)*2015-07-312015-12-16河海大学Cohesive soil large-scale triaxial sample consolidating apparatus and consolidating method thereof
CN105759012A (en)*2016-03-212016-07-13温州大学Multifunctional soil mass testing device capable of achieving combined application
CN105866382A (en)*2016-04-142016-08-17山东大学Electro-osmotic consolidation test device and method for consolidating soft clay foundation
CN105866382B (en)*2016-04-142018-06-22山东大学For reinforcing the consolidation by electroosmosis experimental rig of Soft Clay Foundation and method
CN106198376A (en)*2016-08-022016-12-07广西大学Measure the consolidation apparatus of pore pressure
CN107024499A (en)*2016-12-282017-08-08塔里木大学One-dimensional earth pillar frost-heaving deformation analyzer
CN107012854A (en)*2017-05-222017-08-04江苏绿畅路面新材料有限公司A kind of batch production heavy metal mud water discharge method
CN108562518A (en)*2018-02-122018-09-21浙江大学A kind of device and method for studying heavy metal ion traveling locus in the Polluted Soil that electric osmose is handled
CN109695259A (en)*2019-03-092019-04-30中国矿业大学A kind of electric osmose system that can administer underground space dew
CN109991099A (en)*2019-04-292019-07-09中交天津港湾工程研究院有限公司 A kind of ultra-soft soil large-scale consolidation test device and test method
CN110845110A (en)*2019-11-212020-02-28山东科技大学Vacuum preloading combined surcharge-loading sludge dewatering test device
WO2022105103A1 (en)*2021-04-082022-05-27南通大学Apparatus and method for testing effective electric potential of soil mass in real time using soft clay electroosmosis process
CN114878784A (en)*2022-05-182022-08-09江苏科技大学Soft soil solidification test device and method
CN114878784B (en)*2022-05-182023-09-22江苏科技大学 Soft soil solidification test device and method
CN115855618A (en)*2022-12-122023-03-28江苏科技大学 A model box for electroosmotic vacuum surcharge combined reinforcement of soft soil and its application method
CN115855618B (en)*2022-12-122023-08-11江苏科技大学 A model box for electroosmotic vacuum surcharge combined reinforcement of soft soil and its application method

Also Published As

Publication numberPublication date
CN101430316B (en)2011-12-21

Similar Documents

PublicationPublication DateTitle
CN101430316B (en)electroosmosis-load combined consolidometer
CN101634141B (en) A Multifunctional Soil Electroosmotic Consolidation Instrument
CN201347562Y (en)Electro osmosis-loading combination consolidometer
CN104569341B (en)The method of vacuum pre-pressed joint electric osmose test
CN107167410B (en) A periodic reciprocating seepage experimental device and method
CN107905211B (en)Electric osmosis electrode capable of quickly crusting by newly dredger fill and use method thereof
CN102393404A (en)Large model test box for studying electroosmosis consolidation treated soft soil foundation
CN106872524B (en) A multifunctional electroosmotic strengthening soft clay equipment and testing method
CN102269725B (en) A device and method for testing the uniformity and compactness of concrete pouring
CN102937644A (en)Compound vacuum negative pressure soft foundation solidification technology indoor simulation analysis meter
CN102169082A (en)Seepage deformation tester
CN103604734B (en)The unsaturated soil rain infiltration simulation system that raininess is controlled
CN107101894A (en)A kind of coarse-grained soil large scale cell cube specimen surface injection combined test apparatus
CN103245770A (en)Electroosmosis-vacuum-loading combined consolidometer
CN204944999U (en)A kind of simple and easy humidification soil sample pore water pressure real-time test device
CN103808642A (en)Electronic-clogging experiment device of geotextile
CN106442196A (en)Weighing type automatic subsurface evaporation-filtration measuring device
CN206311604U (en)The device of silt/sludge dehydration speed under the conditions of a kind of test multiple physical field
CN1277996C (en) Unsaturated soil pile foundation model test device
CN203929477U (en)A kind of unsaturated soil direct shear apparatus infiltration device
CN106771070A (en)The apparatus and method of silt/sludge dehydration speed under the conditions of a kind of test multiple physical field
CN203643236U (en)High-pressure consolidation test device with temperature cyclically changing
CN108254529A (en)The electric osmose combined heap load precompacting device that a kind of electrode plate is arranged up and down
KR101966694B1 (en)Test method and test device for chloride ion penetration resistance and diffusion coefficient of concrete structures
CN107144513A (en)A kind of soil moisture infiltration rate test device

Legal Events

DateCodeTitleDescription
C06Publication
PB01Publication
C10Entry into substantive examination
SE01Entry into force of request for substantive examination
C14Grant of patent or utility model
GR01Patent grant
C17Cessation of patent right
CF01Termination of patent right due to non-payment of annual fee

Granted publication date:20111221

Termination date:20121215


[8]ページ先頭

©2009-2025 Movatter.jp