Movatterモバイル変換


[0]ホーム

URL:


CN101415031B - Mutual authentication method and system between terminals - Google Patents

Mutual authentication method and system between terminals
Download PDF

Info

Publication number
CN101415031B
CN101415031BCN2008102279574ACN200810227957ACN101415031BCN 101415031 BCN101415031 BCN 101415031BCN 2008102279574 ACN2008102279574 ACN 2008102279574ACN 200810227957 ACN200810227957 ACN 200810227957ACN 101415031 BCN101415031 BCN 101415031B
Authority
CN
China
Prior art keywords
terminal
serviced
service providing
information
authentication
Prior art date
Legal status (The legal status is an assumption and is not a legal conclusion. Google has not performed a legal analysis and makes no representation as to the accuracy of the status listed.)
Expired - Fee Related
Application number
CN2008102279574A
Other languages
Chinese (zh)
Other versions
CN101415031A (en
Inventor
吴静
Current Assignee (The listed assignees may be inaccurate. Google has not performed a legal analysis and makes no representation or warranty as to the accuracy of the list.)
Individual
Original Assignee
Individual
Priority date (The priority date is an assumption and is not a legal conclusion. Google has not performed a legal analysis and makes no representation as to the accuracy of the date listed.)
Filing date
Publication date
Application filed by IndividualfiledCriticalIndividual
Priority to CN2008102279574ApriorityCriticalpatent/CN101415031B/en
Publication of CN101415031ApublicationCriticalpatent/CN101415031A/en
Application grantedgrantedCritical
Publication of CN101415031BpublicationCriticalpatent/CN101415031B/en
Expired - Fee Relatedlegal-statusCriticalCurrent
Anticipated expirationlegal-statusCritical

Links

Images

Landscapes

Abstract

The invention discloses a mutual aid authentication method between terminals and a system thereof. The method comprises: (1) a central control server saves the authentication information of all user terminals and the subscribing list of the 'information' item subscribed by the user terminals; the user thermals memorize the authentication information of the user thermals in the central control server; (2) after the central control server passes the authentication on a service supply terminal, the service supply terminal obtains the authentication information of a served terminal and transmits the authentication information to the central control server; (3) the central control server carries out authentication on the served terminal according to the authentication information of the servedterminal; (4) if the authentication is passed, the central control server receives the operation carried out by the service supply terminal in the authority range of the served terminal in the statusof the served terminal. The service supply terminal can log in the central control server in the status of the service supply terminal to help the served terminal to operate.

Description

A kind of terminal room mutual authentication method and system
Technical field
The invention belongs to communication technical field, specifically, relating to a kind of information service person provides the mutual authentication method and the system of terminal room in the communication technical field of information to the user.The information had here both comprised content products such as song, video display, also comprised other virtual objects such as software, represented with " information " hereinafter.
Background technology
Along with the continuous development of computer technology, network technology, fixed communication and mobile communication technology, people have more and more got used to waiting with PC (PC), mobile communication terminal and have carried out obtaining of " information ".Above-mentioned " information " can be divided into two big classes, one class is the information communication that takes without payment information carried out with technology such as mail (Email), instant messaging (IM), forum, blog, note, multimedia message, voice communications between mutually of people and exchange, and this " information " often occurs between individual and the individual; Another kind of is " information " that information service person provided by specialty, and this information might be free, also might charge.For example, channel contents such as the news in the portal website, literature, society, and the tinkle of bells picture of mobile communication terminal user download, or the like.
At present, PC or mobile communication terminal may be summarized to be " user terminal+information-providing server " pattern to the technological frame that the information service provider obtains " information " service, and " information " that provide is stored in information service person's the computer system (server).The user is by certain network access information server's computer system, " information " to needs is downloaded or online browse, concrete visit and the mode of obtaining " information " have two kinds: 1, under client-server (C/S) technology, all users use PC of oneself or portable terminal to connect with server, carry out the transmission of " information " between PC or portable terminal and server.2, under the P2P technology, server becomes the inlet of " information " memory address index, all users after access server, form reciprocity main body, carry out the transmission of " information ".
Some information service person will be to user charge and some information service person is free to the user.Under the charge situation, information service person has two kinds of processing usually, and a kind of is to provide " information " to be free of charge to the user, wants the content issued by add advertiser on server, to charge advertisers; Another kind is that the situation of in server the user being obtained " information " is carried out record, charges to the user in view of the above.
As can be seen, the present main support information server of system and method and " information " between the user are transmitted and charge." information " must realize by the visit to information-providing server of user PC or mobile communication terminal from information service person to the transmission the user.When information service person charged to the user, the user need be undertaken by the unified charge interface that system provided.
At the information service field at PC and mobile communication terminal, typically as mobile dream network, the Technical Architecture of its content propagation and charge is simple " user terminal+information-providing server " framework.In this framework, user terminal can only be operated the business of oneself with after the identity login system of oneself, obtains " information " from information-providing server, and buys the expense of " information " to its payment.And can not operate others business.For example, can only the subscription " information " of controlling oneself be increased, deletes, change, can only the account of oneself be paid dues, can only download " information " of oneself subscribing to.
Because each user terminal is downloaded " information " again with the identity login system server of oneself, " information " of subscribing to as a plurality of users is when having intersection, server need be respectively each user service is provided, cause the information flow-rate load of server big, increased load of server, when serious even can influence the performance of server.
Summary of the invention
Technical problem to be solved by this invention provides a kind of terminal room mutual authentication method and system, alleviates the information flow-rate load of information-providing server, improves system works efficient.
In order to solve the problems of the technologies described above, the invention provides a kind of terminal room mutual authentication method, comprising:
(1) central control server is preserved the subscription list of the authentication information of all user terminals and " information " item that user terminal is ordered, and user terminal is stored the authentication information of this user terminal at central control server; Described " information " is the information service by central control server provided;
(2) central control server is by after the authentication to service providing terminal, and service providing terminal obtains the authentication information of serviced terminal, and sends to central control server;
(3) central control server carries out authentication according to the authentication information of described serviced terminal to serviced terminal;
(4) if described authentication is passed through, central control server provides terminal to provide the context session of service to serviced terminal by maintenance service, accepts service providing terminal and carries out operation in the serviced terminal extent of competence with the identity of serviced terminal.
Furthermore, described authentication information is: any one in user identifier, user name, password, the cell-phone number etc. or two or more combination in any.
Furthermore, described service providing terminal obtains the authentication information of serviced terminal, comprising: service providing terminal is with after serviced terminal connects, and service providing terminal reads the authentication information of serviced terminal; Perhaps serviced terminal sends pass-along message to service providing terminal, comprises the authentication information of serviced terminal in the described pass-along message.
Furthermore, operation described in the step (4) comprises: service providing terminal copies the particular content of " information " item of serviced terminal subscribes to serviced terminal, and perhaps service providing terminal replaces serviced terminal to pay dues.
Furthermore, described method is further comprising the steps of:
Service providing terminal or serviced terminal send record request message to central control server, and the request central control server writes down the behavioural information of helping each other; After central control server is received described record request message, the described behavioural information of helping each other is carried out record; The described behavior of helping each other comprises the behavior that service is provided mutually between the terminal.
Furthermore, central control server manages the described behavior of helping each other according to described record; Described management comprises: it is necessarily preferential to give service providing terminal according to the behavior of helping each other, and perhaps according to the predefined ratio of calculating payment service providing terminal is calculated payment.
Furthermore, described method also comprises:
Service providing terminal is chosen as serviced terminal the behavior of helping each other is provided for a long time, then serviced end message is listed in " the long-term table that helps "; Service providing terminal is according to the serviced end message in " the long-term table that helps ", for all serviced terminals provide the behavior of helping each other.
In order to solve the problems of the technologies described above, the present invention also provides a kind of terminal room mutual authentication system, comprising: central control server, service providing terminal, serviced terminal; Comprise on the described central control server: first memory module, authentication module, current mutual-aid relation maintenance module; Comprise on the described service providing terminal: second memory module, authentication information sending module, authentication information obtains module; Comprise on the described serviced terminal: the 3rd memory module;
Described first memory module is used to preserve the subscription list of the authentication information of all user terminals and user terminal ordered " information "; Described " information " is the information service by central control server provided;
Described second memory module is used to store the authentication information of this service providing terminal at central control server;
Described the 3rd memory module is used to store the authentication information of this serviced terminal at central control server;
Described authentication information obtains module and links to each other with described the 3rd memory module, is used to obtain serviced terminal authentication information;
Described authentication information sending module obtains module with described second memory module and authentication information respectively and links to each other, and the authentication information that is used to send the authentication information of service providing terminal and serviced terminal is described authentication module extremely;
Described authentication module is used for according to authentication information service providing terminal and serviced terminal being carried out authentication;
Described current mutual-aid relation maintenance module, be used for after the authentication of service providing terminal and serviced terminal is passed through, maintenance service provides terminal to provide the context session of service to serviced terminal, accepts service providing terminal and carries out operation in the serviced terminal extent of competence with the identity of serviced terminal.
Furthermore, described central control server also comprises logging modle, and described service providing terminal or serviced terminal also comprise the request message sending module;
The described request message transmission module is used for sending record request message to described logging modle;
Described logging modle, be used to receive described record request message after, behavioural information is carried out record to helping each other; The described behavior of helping each other comprises the behavior that service is provided mutually between the terminal.
Furthermore, described central control server also comprises administration module, links to each other with described logging modle, is used for according to described record the described behavior of helping each other being managed; Described management comprises: it is necessarily preferential to give service providing terminal according to the behavior of helping each other, and perhaps according to the predefined ratio of calculating payment service providing terminal is calculated payment.
Furthermore, described service providing terminal also comprises: help the table record module, being used for being chosen as serviced terminal in service providing terminal provides when helping each other behavior for a long time, writes down described serviced end message in " the long-term table that helps ".
By system and method for the present invention, service providing terminal can be logined central control server with the identity of oneself, help serviced terminal to carry out the loading of its ordered " information " or pay dues etc., do not need serviced terminal input authentication information during the course; In addition, service providing terminal or serviced terminal are after the mutual authentication behavior takes place, transmission is helped each other behavioural information to central control server, central control server can write down service providing terminal automatically and help serviced terminal will carry out the behavioural information of helping each other that " information " is loaded or paid dues etc., and can give preferential to service providing terminal or calculate payment according to this record.
And, the present invention is under the situation that a plurality of user terminals are all helped by same user terminal, if wherein " information " of ordering between certain user's terminal has the part of repetition, then only need service providing terminal to download a correlations " information " afterwards to central control server, send described " information " by service providing terminal to other user terminals, and need not arrive the central control server download more repeatedly, thereby can alleviate the traffic load of central control server.
Description of drawings
Fig. 1 is the terminal room mutual authentication method first embodiment flow chart of the present invention.
Fig. 2 is the terminal room mutual authentication method second embodiment flow chart of the present invention.
Fig. 3 is terminal room mutual authentication method the 3rd an embodiment flow chart of the present invention.
Fig. 4 is a terminal room mutual authentication system schematic of the present invention.
Embodiment
To provide the behavior of service to be called the behavior of helping each other between the terminal mutually in the present invention, to information service be provided and the server that this mutual help service of terminal room manages will be referred to as central control server (RCCS) for the user, to offer help or the terminal of serving is called service providing terminal to other-end, be called serviced terminal accepting the help each other terminal of behavior of other-end.Be understandable that, described service providing terminal and described serviced terminal can be any user terminal of initiating or accepting mutual help service, such as PC (personal computer), mobile phone etc., and system and method for the present invention can be implemented in the bilateral network of computer network, mobile communications network, fixed communication network or any combination between them.
Core concept of the present invention is: self has obtained the authentication information of serviced terminal by the service providing terminal of authentication, and send to RCCS, RCCS carries out after authentication passes through serviced terminal according to the authentication information of serviced terminal, RCCS safeguards that a service providing terminal provides the context session of service to serviced terminal, accepts service providing terminal and carries out operation in the serviced terminal extent of competence with the identity of serviced terminal.By system and method for the present invention, need not be serviced terminal login central control server, just can help serviced terminal to realize acquisition " information " and pay operation such as expense by service providing terminal.
Below in conjunction with the drawings and the specific embodiments technical solution of the present invention is elaborated.
With reference to shown in Figure 1, be terminal room mutual authentication method flow chart of the present invention.Said method comprising the steps of:
Step 101:RCCS stores the subscription list of the authentication information of all user terminals and " information " item that user terminal is ordered; User terminal is stored the authentication information of this user terminal in RCCS;
Step 102:RCCS is by the authentication to service providing terminal;
Step 103: after service providing terminal obtains the authentication information of serviced terminal, send the authentication request message that comprises described authentication information and arrive RCCS;
After step 104:RCCS receives described authentication request message, serviced terminal is carried out authentication according to wherein authentication information;
Step 105: if authentication is passed through, RCCS safeguards that a service providing terminal provides the context session of service to serviced terminal, accepts service providing terminal and carries out operation in the serviced terminal extent of competence with the identity of serviced terminal.
Specifically, authentication information described in thestep 101 can be any one in user ID, user name, password, the cell-phone number etc. or two or more combination in any, as long as can realize user terminal is distinguished the information of record, can can be adopted by the present invention as described authentication information;
Step 102 is specifically as follows: user login services provides terminal, and service providing terminal sends to RCCS with user's authentication information, and RCCS carries out authentication to service providing terminal.
Instep 103, service providing terminal obtains the specific implementation of the authentication information of serviced terminal, can illustrate below by two embodiment in several ways:
As one embodiment of the present of invention, service providing terminal is with after serviced terminal connects, and service providing terminal reads the authentication information of storing on the serviced terminal.Be specifically as follows: the storage card of serviced terminal is pulled up the corresponding draw-in groove that service providing terminal is inserted in the back, directly read authentication fileinfo in the card by service providing terminal; Perhaps make service providing terminal and serviced terminal realize that certain physics (wired or wireless) is connected, as data wire, bluetooth, infrared, and other available internetwork connection modes.
As an alternative embodiment of the invention, in thestep 102, service providing terminal obtains the specific implementation of the authentication information of serviced terminal, for: serviced terminal sends pass-along message to service providing terminal, comprises the authentication information of serviced terminal in the described pass-along message;
Also comprise the step that authenticating result is turned back to service providing terminal in thestep 104.
Accept service providing terminal in thestep 105 and carry out operation in the serviced terminal extent of competence with the identity of serviced terminal, comprise multiple situation, such as: the particular content of the item of information that service providing terminal is ordered with serviced terminal copies serviced terminal to, be specially the download behavior of service providing terminal enforcement from RCCS, copy serviced terminal again to, in mobile phone or mobile phone memory card, service providing terminal self is also stored portion generally speaking; Perhaps service providing terminal helps serviced terminal to pay dues; Perhaps help the particular content of the ordered information of serviced terminal modifications; certainly the situation that also comprises other; so long as the task that service providing terminal can help serviced terminal to finish all is included among the described behavior of helping each other of present embodiment, all within protection scope of the present invention.
With reference to shown in Figure 2, be the terminal room mutual authentication method second embodiment flow chart of the present invention.In order to realize record being carried out in this behavior of helping each other of terminal room according to the result of first embodiment, then on the basis of embodiment one, increased step, the concrete steps of second embodiment are as follows:
Step 201:RCCS stores the authentication information of all user terminals and reaches the subscription list of ordered " information " item of user terminal; User terminal is stored the authentication information of this user terminal in RCCS;
Step 202:RCCS is by the authentication to service providing terminal;
Step 203: after service providing terminal obtains the authentication information of serviced terminal, send the authentication request message that comprises described authentication information and arrive RCCS;
After step 204:RCCS receives described authentication request message, serviced terminal is carried out authentication according to wherein authentication information;
Step 205: if authentication is passed through, RCCS safeguards that a service providing terminal provides the context session of service to serviced terminal, accepts service providing terminal and carries out operation in the serviced terminal extent of competence with the identity of serviced terminal;
Step 206: service providing terminal or serviced terminal send record request message to RCCS, comprise the behavioural information of helping each other in the described record request message;
After step 207:RCCS receives described record request message, the described behavioural information of helping each other is carried out record.
As seen, after above-mentioned steps, can realize record is carried out in this behavior of helping each other of terminal room.
Furthermore, described method can also comprise:
Step 208:RCCS manages the described behavior of helping each other according to described record.Described management can comprise a lot of aspects, such as give according to the behavior of helping each other service providing terminal necessarily preferential, service providing terminal is calculated payment etc. according to the predefined ratio of calculating payment.
With reference to shown in Figure 3, be terminal room mutual authentication method the 3rd embodiment flow chart of the present invention.
Step 301:RCCS stores the authentication information of all user terminals and reaches the subscription list of ordered " information " item of user terminal; User terminal is stored the authentication information of this user terminal in RCCS;
Step 302:RCCS is by the authentication to service providing terminal;
Step 303: after service providing terminal obtains the authentication information of serviced terminal, send the authentication request message that comprises described authentication information and arrive RCCS,
After step 304:RCCS receives described authentication request message, serviced terminal is carried out authentication according to wherein authentication information;
Step 305: if authentication is passed through, RCCS safeguards that a service providing terminal provides the context session of service to serviced terminal, accepts service providing terminal and carries out operation in the serviced terminal extent of competence with the identity of serviced terminal;
Step 306: service providing terminal is chosen as serviced terminal the behavior of helping each other is provided for a long time, then serviced end message is listed in " the long-term table that helps ";
Specifically, can send a request message to service providing terminal for serviced terminal, the request service providing terminal provides the behavior of helping each other for a long time, after serviced terminal receives this request message, is chosen as serviced terminal the behavior of helping each other is provided for a long time; Also can be, service providing terminal be for after serviced terminal provides the behavior of once helping each other, and selection provides the behavior of helping each other for a long time automatically.
Step 307: service providing terminal is according to the serviced end message in " the long-term table that helps ", for all serviced terminals provide the behavior of helping each other.
As seen, can realize that in the present embodiment service providing terminal provides the behavior of helping each other for serviced terminal for a long time.In fact,step 306,step 307 also can combine with the second embodiment of the present invention, and this has just constituted another embodiment of the present invention, like this, just both can realize that service providing terminal for a long time for serviced terminal provides the behavior of helping each other, can realize again the described behavior of helping each other is managed.
Specifically the serviced end message of record can comprise the information content that serviced terminal is ordered in " the long-term table that helps ", perhaps need service providing terminal for the expense of handing over, and the behavior time of origin etc. of helping each other, then service providing terminal is downloaded the ordered information content according to this behavior time of origin of helping each other or is replaced serviced terminal to pay dues.
Adopt the method for present embodiment, when serviced terminal request service providing terminal is offered help, if service providing terminal determines serviced terminal in " the long-term table that helps ", judge then whether related content is on the books in this locality, if related content has had copy in this locality, then use local content; If local not record, service providing terminal send authentication request to serviced terminal after RCCS, for serviced terminal provides the behavior of helping each other.As, user terminal B and user terminal C ask user terminal A to help, and the item of information that user terminal B and user terminal C subscribe to intersects to some extent, the item of information that intersects only needs user terminal A to use background process to download portion in advance and no longer is two parts, like this, oneself load ordered intersection information item content respectively than user terminal B and user terminal C, the load of RCCS has reduced half.
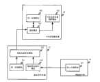
With reference to shown in Figure 4, be terminal room mutual authentication system schematic of the present invention.Described system comprisescentral control server 40,service providing terminal 41, servicedterminal 42; Comprise on the described central control server 40:first memory module 401,authentication module 402, current mutual-aidrelation maintenance module 403; Comprise on the described service providing terminal 41:second memory module 411, authenticationinformation sending module 412, authentication information obtainsmodule 413; Comprise on the described serviced terminal: the3rd memory module 421;
Describedfirst memory module 401 is used to preserve the subscription list of the authentication information of all user terminals and user terminal ordered " information ";
Describedsecond memory module 411 is used to store the authentication information of this service providing terminal at central control server;
Described the3rd memory module 421 is used to store the authentication information of this serviced terminal at central control server;
Described authentication information obtainsmodule 413 and links to each other with described the3rd memory module 421, is used to obtain serviced terminal authentication information;
Described authenticationinformation sending module 412 obtainsmodule 413 with describedsecond memory module 411 and authentication information respectively and links to each other, and the authentication information that is used to send the authentication information of service providing terminal and serviced terminal is described authentication module extremely;
Describedauthentication module 402 is used for according to authentication information service providing terminal and serviced terminal being carried out authentication;
Described current mutual-aidrelation maintenance module 403, be used for after the authentication of service providing terminal and serviced terminal is passed through, maintenance service provides terminal to provide the context session of service to serviced terminal, accepts service providing terminal and carries out operation in the serviced terminal extent of competence with the identity of serviced terminal.
As one embodiment of the present of invention, described central control server also comprises logging modle, and described service providing terminal or serviced terminal also comprise the request message sending module;
The described request message transmission module is used for sending record request message to described logging modle;
Described logging modle, be used to receive described record request message after, the described behavioural information of helping each other is carried out record.
And described central control server also comprises administration module, links to each other with described logging modle, is used for according to described record the described behavior of helping each other being managed; Described management comprises: it is necessarily preferential to give service providing terminal according to the behavior of helping each other, and perhaps according to the predefined ratio of calculating payment service providing terminal is calculated payment.
As another embodiment of the present invention, described service providing terminal also comprises: help the table record module, being used for being chosen as serviced terminal in service providing terminal provides when helping each other behavior for a long time, writes down described serviced end message in " the long-term table that helps ".
Below by the example in the concrete application technical solution of the present invention is carried out exemplary illustration.
Step 1: in remote central control system RCCS, stored the record of all users' authentication information (user ID, user name, password, cell-phone number etc.), user subscription information item, the particular content of item of information that all can be subscribed to for the user, pc client is when work, all be in the networking state, can ask RCCS to carry out authentication operations, store the authentication information (user ID, user name, password, cell-phone number etc.) of this user in RCCS in user's mobile phone or the mobile phone memory card;
Step 2: behind the identity login pc client of user A with oneself, mobile phone or the mobile phone memory card of user B connected with the pc client of oneself;
Step 3: the pc client of user A is read the authentication information of user B and is sent to RCCS, and RCCS carries out authentication to user B and the result returned the pc client of user A;
Step 4: if the authentication of user B is passed through, then the particular content of the pc client of user A item of information that user B is ordered copies in the mobile phone or mobile phone memory card of user B;
Step 5: the message that the pc client of user A helps user B to copy ordered content user A passes to RCCS and carries out record.
Step 6: whether user A can select to be willing to mean the help that user B provides item of information to load for a long time, as is ready, then pc client is listed user B in " the long-term table that helps ".
Step 7: the item of information generation intersection that each user in the pc client basis of user A oneself and " the long-term table that helps " orders, with the mode of background process the content of the item of information that intersection comprised is downloaded.
Step 8: user A if related content has had copy in local PC, then uses the content of local PC when providing the item of information loading to help for the user in " the long-term table that helps "; Otherwise, judge whether to start at once download by user A.
As seen, after method and system of the present invention can realize the identity login pc client of certain user terminal with oneself, be connected to the mobile phone of pc client or the authentication file in the mobile phone memory card carries out authentication by other user terminals, item of information that it is ordered is loaded in this mobile phone or the mobile phone memory card.The user terminal that this process does not need to be helped is imported authentication information (including but not limited to user name, password, cell-phone number etc.), and, when being other subscriber terminal authorities, pc client can store whether for a long time provide the help of hosting Information for it by this user intention.Then, pc client provides the user's that hosting Information helps subscription situation for a long time according to it, automatically the intersection of all users' subscription information is downloaded in advance in the mode of background process, then PC connected networks not when helping other people information of carrying out to load.
The above; only for the preferable embodiment of the present invention, but protection scope of the present invention is not limited thereto, and anyly is familiar with the people of this technology in the disclosed technical scope of the present invention; the variation that can expect easily or replacement all should be encompassed within protection scope of the present invention.Therefore, protection scope of the present invention should be as the criterion with the protection range of claim.

Claims (11)

CN2008102279574A2008-12-032008-12-03Mutual authentication method and system between terminalsExpired - Fee RelatedCN101415031B (en)

Priority Applications (1)

Application NumberPriority DateFiling DateTitle
CN2008102279574ACN101415031B (en)2008-12-032008-12-03Mutual authentication method and system between terminals

Applications Claiming Priority (1)

Application NumberPriority DateFiling DateTitle
CN2008102279574ACN101415031B (en)2008-12-032008-12-03Mutual authentication method and system between terminals

Publications (2)

Publication NumberPublication Date
CN101415031A CN101415031A (en)2009-04-22
CN101415031Btrue CN101415031B (en)2011-07-27

Family

ID=40595339

Family Applications (1)

Application NumberTitlePriority DateFiling Date
CN2008102279574AExpired - Fee RelatedCN101415031B (en)2008-12-032008-12-03Mutual authentication method and system between terminals

Country Status (1)

CountryLink
CN (1)CN101415031B (en)

Families Citing this family (1)

* Cited by examiner, † Cited by third party
Publication numberPriority datePublication dateAssigneeTitle
CN106713253B (en)*2015-11-182020-10-13中兴通讯股份有限公司Method and device for sending and receiving information in peripheral perception networking

Citations (5)

* Cited by examiner, † Cited by third party
Publication numberPriority datePublication dateAssigneeTitle
US20050022242A1 (en)*2003-07-242005-01-27Rosetti Carl U.J.Technique for providing a virtual digital video recorder service through a communications network
CN1897528A (en)*2005-07-132007-01-17腾讯科技(深圳)有限公司Method and system for demanding and sending virtual articles in instant telecommunication
CN101175051A (en)*2007-12-052008-05-07腾讯科技(深圳)有限公司Instant communication system, method and apparatus
CN101247368A (en)*2008-03-262008-08-20腾讯科技(深圳)有限公司User search method, system, server and client terminal for instant communication
US20080228778A1 (en)*2007-03-162008-09-18Tsuyoshi MabachiDistributed database system and retrieval server and retrieval method for the same

Patent Citations (5)

* Cited by examiner, † Cited by third party
Publication numberPriority datePublication dateAssigneeTitle
US20050022242A1 (en)*2003-07-242005-01-27Rosetti Carl U.J.Technique for providing a virtual digital video recorder service through a communications network
CN1897528A (en)*2005-07-132007-01-17腾讯科技(深圳)有限公司Method and system for demanding and sending virtual articles in instant telecommunication
US20080228778A1 (en)*2007-03-162008-09-18Tsuyoshi MabachiDistributed database system and retrieval server and retrieval method for the same
CN101175051A (en)*2007-12-052008-05-07腾讯科技(深圳)有限公司Instant communication system, method and apparatus
CN101247368A (en)*2008-03-262008-08-20腾讯科技(深圳)有限公司User search method, system, server and client terminal for instant communication

Also Published As

Publication numberPublication date
CN101415031A (en)2009-04-22

Similar Documents

PublicationPublication DateTitle
CN101115225B (en)System and method for implementing RSS subscription using multimedia message of mobile terminal
CN1879081B (en) Cache server at hotspot for download service
EP1958401B1 (en)Message modification apparatus and method
CN101854377B (en)Information platform system supporting wireless terminal and implementation method thereof
US20010049721A1 (en)Method and system for continuous interactive communication in an electronic network
CN101212446A (en)Mobile multimedia content sharing application system
US7860995B1 (en)Conditional audio content delivery method and system
WO2002103486A2 (en)Apparatus, systems and methods for managing incoming and outgoing communication
WO2007081432A2 (en)Systems and methods to provide availability indication
US20150036807A1 (en)Methods and Systems for Remotely Recording and Managing Associated Recorded Files & Electronic Devices
WO2007049945A1 (en)System and method for providing bidirectional message communication services with portable terminals
TWI242359B (en)Method using multimedia messaging service to subscribe electronic newspaper and structure thereof
JP4372936B2 (en) Proxy management method and agent device
CN100514969C (en)Dynamic content transfer method and personalized engine and dynamic content transmitting system
CN104579915A (en)Multimedia message publishing method and device
CN101136876A (en)Event prompting device and system in instant communication
CN101415031B (en)Mutual authentication method and system between terminals
CN1997032B (en)A system and method for homepage customization based on WAP browsing request
CN100558188C (en)Message processing device, system and method
US7203295B2 (en)Virtual telecommunication messaging service system and method
CN101388861A (en)Management system for mutual assistance behavior between terminals, and method thereof
KR20000049679A (en)Message system using an internet and method thereof
KR100858754B1 (en)apparatus and method of imformation shared using communication network
KR101101966B1 (en) Multi Recipient Designated Message Sending System and Method
WO2002082837A1 (en)Message distribution system

Legal Events

DateCodeTitleDescription
C06Publication
PB01Publication
C10Entry into substantive examination
SE01Entry into force of request for substantive examination
C14Grant of patent or utility model
GR01Patent grant
CF01Termination of patent right due to non-payment of annual fee
CF01Termination of patent right due to non-payment of annual fee

Granted publication date:20110727

Termination date:20171203


[8]ページ先頭

©2009-2025 Movatter.jp