The specific embodiment
Definition.As used in this explanation and claims, term below will have illustrated implication, unless the context requires otherwise:
" user's input " of device comprises that device user or other operator can be used for any mechanism of control device function.User input can comprise machinery (for example switch, press button), for example, for example, for the interface of wave point (RF, infrared), acoustic interface (for example, with speech recognition), computer network interface (USB port) and other type of communicating by letter with remote controllers.
Input relevant " button " with user, so-called " the injecting button (bolus button) " being for example discussed below, can be the user's input that can carry out any type of required function, and be not limited to press button.
" siren " comprises can be used for any mechanism of giving the alarm to user or third party.Siren can comprise audible alarm (for example speaker, buzzer, speech synthesizer), visual alarm (for example LED, LCD screen), haptic alerts device (for example vibrating elements), wireless signal (for example for remote controllers or keeper wireless transmit) or other mechanism.Can side by side, synchronously or sequentially use a plurality of mechanisms that alarm occurs, comprise standby mechanism (for example, two different audio frequency sirens) or complementary means (for example, audio frequency siren, haptic alerts device and wireless alarm).
" fluid " means can for example, by the mobile material of flowline, liquid.
" impedance " means device or flowline for the obstruction of the fluid stream therefrom flowing through.
" moistening " forms with fluid the member directly contacting during being described in normal fluid conveying operations.Because fluid is not limited to liquid, " moistening " member not necessarily becomes moistening.
" patient " comprises from the FLUID TRANSPORTATION device of the part as medical care and receives fluid or otherwise receive people or the animal of fluid.
" sleeve pipe " means to inculcate to patient the disposable device of fluid.Sleeve pipe can refer to traditional sleeve pipe or pin as used herein.
" analyte sensor " means to determine any sensor that has analyte in patient.The embodiment of analyte sensor includes but not limited to determine the sensor of the existence of any viral, parasitic, antibacterial or chemical analyte.Term analyte comprises glucose.Analyte sensor can with FLUID TRANSPORTATION device in other member (for example, the controller in non-once part) and/or communicate by letter with remote controllers.
" allocation component sensor " means for determining the mechanism of the fluid volume existing in dispensed chambers.
" sharp object " means to pierce through or to expose animal skin, in particular any object of people's skin.Sharp object can comprise that sleeve pipe, cover tube inserter part, analyte sensor or analyte sensor insert device.For example, in cartridge case, can provide respectively or a plurality of sharp objects can be provided together.
" disposable " refers to be expected in the fixed time period and uses, the parts that are then dropped and change, device, part or other is similar.
" non-once " refer to be intended to have do not limit the use age can use again part.
" patch size " means enough little size, so that for example utilize binding agent or belt can be fixed to patient skin and be worn as medical device between the matter era containing in carrying described device.Little of belonging to as the medical device of graft the scope of this definition.
" the limited flow resistance conventionally existing " means in the conventional process of FLUID TRANSPORTATION, that is, and and the limited flow resistance for example, existing when not there is not error condition (, stopping up).
" passive " impedance is during pumping circulation, not to be subject to the impedance of active control.
" acoustic volume measurement " means to use for example in U.S. Patent No. 5,349, the quantitative measurement of the acoustic technique of describing in 852 and 5,641,892 and the relevant volume of technology described here.
" temperature sensor " comprises any mechanism for measuring temperature and transmitting temperature information to controller.This device can comprise for measuring for example one or more temperature sensors of skin temperature, AVS temperature, ambient temperature and fluid temperature (F.T.).
The embodiment of device described here, pumping mechanism, system and method relates to such FLUID TRANSPORTATION, and described FLUID TRANSPORTATION comprises that pumping and fluid volume are measured and actuating and the control of FLUID TRANSPORTATION.The embodiment of described device comprises the portable or non-portable device for FLUID TRANSPORTATION.Some embodiment of described device comprise the top of disposable base portion and non-once.Described device comprises that wherein the embodiment in patient body is inserted and directly entered to delivery device by base portion.These devices embodiment is patch pump device (patch pump device).Can use binding agent, belt or other appropriate device that patch pump is attached to patient.Binding agent can have the peelable band of protectiveness, and described band can be removed to expose binding agent before using.
Yet in other embodiments, FLUID TRANSPORTATION device is that wherein pipeline is connected to the portable device of flowline.Usually, by sleeve pipe, pipeline is connected to patient.
Use therein in some embodiment at disposable base portion and non-once top, base portion comprises wetted parts, but not in disposable top, included part is generally non-wetted part.
The various embodiment of pumping mechanism comprise upstream inlet valve, pumping actuated components, lower exit valve and movable part.In certain embodiments, use identity unit to realize pumping actuated components and valve downstream function.Pumping mechanism is pumped into outlet by fluid from reservoir by flowline.Pumping mechanism is used conventionally together with non-pressurised reservoir, yet the scope of the invention is not limited to this.
In an embodiment of fluid delivery system, described device comprises analyte sensor housing.Analyte sensor is introduced in patient body by the analyte sensor housing of device base portion.In these embodiments, also by the shroud of device base portion, introduce delivery device.In these embodiments, described device is worn by user as patch pump.
Described system usually comprises controller, and described controller can comprise wireless transceiver.Therefore, can be fully by wireless controller device or partly control described device.Controller device can receive information from analyte sensor and/or FLUID TRANSPORTATION device by radio communication.Patient or third party can use described controller device to control the function of FLUID TRANSPORTATION device.
In an embodiment of FLUID TRANSPORTATION device, described device is that insulin pump and described analyte sensor are blood-glucose sensors.The controller that receives the information relevant with blood glucose data with the volume of insulin of the conveying number of pump stroke (or during certain hour) contributes to user to programme to the actuating time table of described pump machanism.
Exemplary allocation component and volume sensing device are here described.Allocation component comprises at least one mike and microphone.Described assembly determines that stereomutation in dispensed chambers is to determine the fluid volume being pumped.Volume sense data is used to determine the state of FLUID TRANSPORTATION device.Therefore, various control can depend on volume sense data.
In an embodiment of the present invention, user carries device via user interface fluid, thereby makes FLUID TRANSPORTATION device conveyance fluid in a suitable manner.In one embodiment, user interface be can with the independently hand-held user's interface unit of described paster radio communication.Described paster can be disposable, or partly disposable.
As mentioned above, the exemplary purposes of described device embodiment is for carrying insulin to diabetics, but other purposes comprises, carries any fluid.Fluid comprises analgesics for pain patients, for cancer patient's chemotherapy and for the enzyme of arteries in metabolic disorder patients.Various treatment fluids can comprise micromolecule, natural prodcuts, peptide, protein, nucleic acid, carbohydrate, nano granule suspension and relevant acceptable carrier molecule aspect materia medica.Therapeutic activity molecule can be modified to improve the stability (for example,, by the Pegylation (PEGization) of peptide or protein) of carrying in device.Although the illustrative examples is here described drug delivery application, embodiment can be used to other application, comprises that the liquid of the reagent of the analysis to measure (for example miniature laboratory technique application and capillary chromatography) for highoutput distributes.For the object the following describes, term " therapeutic agent " or " fluid " are used interchangeably, yet, in other embodiments, can use any fluid as above.Therefore the device and the explanation that, here comprise are not limited to therapeutic use.
Exemplary embodiments comprises for keeping the reservoir of fluid supply.In the situation of insulin, reservoir can be made as easily has the size that can keep being enough to the insulin supply of carrying in a day or many days.For example, reservoir can hold about 1 to 2ml insulin.Potential user for about 90%, 2ml insulin cartridge can be corresponding to the supply of about 3 days.In other embodiments, reservoir can have any size or shape and can be suitable for holding any amount of insulin or other fluid.In certain embodiments, the fluid type that the size and dimension of reservoir is suitable for holding with reservoir is relevant.Fluid reservoirs can have eccentric or irregular shape and/or can be locked that thereby defence is wrong installs or use.
Some embodiment of FLUID TRANSPORTATION device are applicable to diabetics and use, and therefore, in these embodiments, device is carried for supplementing or change the insulin of patient's beta Cell of islet.Be applicable to the conveying that embodiment that insulin carries attempts by the FLUID TRANSPORTATION of foundation level being provided and injecting level and simulate pancreas effect.By using wireless hand-held user interface to set foundation level by patient or the opposing party, injecting level and timing.Additionally, can respond the output of analyte sensor (for example glucose monitors part or blood-glucose sensor) one or outside and trigger or regulate basis and/or inject level.In certain embodiments, can use the regulation button or other input equipment that are positioned on FLUID TRANSPORTATION device to trigger and inject by patient or third party.In a further embodiment, inject or foundation level can be programmed or be managed by the user interface being positioned on FLUID TRANSPORTATION device.
According to an exemplary embodiment of the present, Fig. 1 illustrates and wearsFLUID TRANSPORTATION device 10 and grip thepatient 12 of wirelesssubscriber interface assembly 14 who carries the operation ofdevice 10 with regulated fluid for monitoring.User'sinterface unit 14 usually comprises for example, for input message (touch screen or keypad) and for example, for the equipment to user's transmission of information (LCD display, speaker or vibration alarm device).FLUID TRANSPORTATION device is general enough little and light, thereby in a few days, keeps being cosily attached to patient.
In Fig. 1,FLUID TRANSPORTATION device 10 is illustrated as being worn onpatient 12 arm.In other embodiments,FLUID TRANSPORTATION device 10 can be worn on patient other position with it, at these position patient bodies, can advantageously utilize the special fluid being transferred.For example, fluid can be advantageously transported to patient's abdomen area, lumbar region, lower limb or other position.
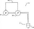
With reference now to Fig. 2 A,, the generalized schematic ofFLUID TRANSPORTATION device 10 is shown, this device has thefeedback loop 360 fromallocation component 120 to pump 16.Pump 16 is toallocation component 120 pumping fluids; Fluid is then by comprising that thespout assembly 17 ofcurrent limiter 340 and efferent leaves.Described efferent usually comprises sleeve pipe and leads topatient.Allocation component 120 can comprise elastic variable volume dispensed chambers and at least one mike and microphone, for measure with along with the time is by the relevant parameter of the stream of describedefferent.Feedback loop 360 makes repeated measure that can be based on being undertaken by sensor and regulates the operation of pump 16.Current limiter 340 forms high impedance betweenallocation component 120 and the efferent of flowline 5010.Current limiter 340 can be for example a part for narrow hole pipe or microtubule.
With reference now to Fig. 2 B,, in one embodiment, pump 16 is pumped intoallocation component 120 by fluid fromreservoir 20.
With reference now to Fig. 3,, the block diagram of another embodiment that adopts fluid mechanics principle is shown.Flowline 310 connects reservoir 20, pump 16, allocation component 120 and spout assembly 17.Spout assembly 17 can comprise high impedance current limiter 340 and delivery device 5010, for example sleeve pipe.The output of current limiter 340 is sent to delivery device 5010, to flow to patient.Current limiter 340 has the higher flow resistance of part that is positioned at allocation component 120 upstreams than flowline 310.Therefore the situation that, pump 16 can be left spout assembly 17 than fluid pumps fluid in allocation component 120 quickly.Allocation component 120 can comprise the variable volume dispensed chambers 122 with elastic wall.In the embodiment providing below, elastic wall is barrier film.The example of diaphragm material comprises silicones, NITRILE and has for the required elasticity playing a role as described in here and any other material of characteristic.Additionally, other structure can be for identical object.When the effect due to pump 16 receives fluid supply, barrier film elasticity drives the fluid contents of allocation component 120 to arrive the required discharge pressure of patient through current limiter 340 by allowing chamber 122 first to expand and then providing.When being equipped with proper sensors (being described below the example), allocation component 120 can be measured fluid stream by variable volume dispensed chambers 122 and can be provided feedback with 16 pumpings of control pump sending component or partly be filled timing and/or the speed of dispensed chambers 122 by feedback loop 360, carries required dosage thus with desired rate to patient.
Refer again to Fig. 3, additionally,current limiter 340 prevents that fluid stream from surpassing regulation flow rate.And then, because completing pressure fluid, the reciprocal action bypump 16,allocation component 120 andcurrent limiter 340 carries, therefore can adoptnon-pressurised reservoir 20.
Still with reference to figure 3,feedback loop 360 can comprise controller 501.Controller 501 can comprise processor and for actuatedpump sending component 16 with the control circuit toallocation component 120pumping fluids.Controller 501 repeatedly receives with fluid and flows relevant parameter from the sensor that can be integrally formed withallocation component 120, and uses this parameter controlpump sending component 16 to flow to realize by the desired of efferent.For example,controller 501 can regulate actuating timing or the degree ofpump 16, to realize required basis or inject flow rate and/or carry required basis or inject accumulated dose.When determining the timing of pumping or degree, the output (not shown) thatcontroller 501 can use sensor is with the speed of estimating of fluid stream, integrated flux or the two (and much other amounts), and then based on described estimation, determines suitable compensation behavior.In various embodiments, can carry out pulsedly pumping, they can be with 10-9rising every pulse carries to any speed between the every pulse of microlitre.Can be by carrying a plurality of pulses to realize basis or bolus dose.(illustrating below and describe the example of basis and bolus dose).
The localnon-pressurised reservoir 20 that can subside of use can advantageously prevent that the fluid in reservoir from accumulating air in reservoir whileexhausting.Reservoir 20 can be connected toflowline 310 by barrier film (not shown).Can prevent that fluid from flowing out fromreservoir 20 ventilation reservoir hollow QI-mass is tired, particularly when system is tilted while making to get involved air bag between the fluid that contains and the barrier film ofreservoir 20 in reservoir.As during can wearing the normal operating of device, wish that system is tilted.Figure 104-106C has described various embodiment and the view of an embodiment of reservoir.Additionally, comprise below reservoir further instruction.
With reference now to Fig. 4 A-4C,, the various embodiment of current limiter 340 are shown.With reference now to Fig. 4 A,, current limiter is molded runner 340, and it can be the molded indentation (not shown) in base portion.In one embodiment, the cross section of molded runner 340 is roughly 0.009 inch.In this embodiment, current limiter 340 is molded in equipment.With reference now to Fig. 4 B,, as the alternate embodiments of current limiter, microtubule 340 is shown.In one embodiment, microtubule has the roughly internal diameter of 0.009 inch.Molded runner and microtubule are all used the long path with little internal diameter or cross section to give flow resistance.With reference now to Fig. 4 C,, show the accurate orifice plate as current limiter 340.In one embodiment, accurately orifice plate is the plate with laser drill.In alternate embodiments, can use any flow resistance device or the method that are known in the art.Conventionally to be considered to form the prior art fluid delivery system of active downstream valve of unlimited flow resistance on functional meaning different from having possibility, and current limiter 340 is formed with current limliting resistance.Different from the prior art systems that may sometimes be obstructed due to obstruction, impedance of the present invention also exists when normal condition.Due to the finiteness of flow resistance, in comprising the embodiment of dispensed chambers 122, even when dispensed chambers 122 expands, fluid also may be revealed by outlet.
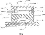
Fig. 5-8 briefly show the cross sectional view of the illustrative examples of allocation component 120.Should be appreciated that, for example, for the FLUID TRANSPORTATION of other object (industrial process), belong to the scope of the invention, and the explanation providing with concrete term is only way of example.As shown in Figure 5, allocation component 120 can comprise variable volume dispensed chambers 122 and sensor 550.Variable volume dispensed chambers 122 comprises elasticity distribution diaphragm 125, and its allows chamber 122 expand and shrink according to the fluid stream of turnover allocation component 120.In certain embodiments of the present invention, as will be here further discussed, variable volume dispensed chambers 122 can be separated by other element from allocation component 120.Utilize double-headed arrow to show the concept that permission chamber 122 expands and the elasticity of contraction is distributed diaphragm 125.Measurement chamber 122 has been believed to comprise a part for the circuit with fluid flow characteristics 110 that utilizes arrow 112 appointments in Fig. 5.Position or the characteristic of the termination of fluid stream 112 or circuit 110 all do not limit the scope of the present invention that explicitly calls for protection as claims.Than the situation that fluid enters chamber 122 when being pumped assembly 16 and being pumped into chamber 122, current limiter 340 makes fluid leave more lentamente dispensed chambers 122.As a result, when fluid supply enters, dispensed chambers 122 expands and is pressurized.The distribution diaphragm 125 being out of shape due to the expansion of dispensed chambers 122 provides conveying and metering volume to make it through current limiter 340, arrive the required active force of spout assembly 17.As discussed above, sensor 550 is repeatedly measured parameter that can be relevant to the volume of elasticity dispensed chambers 122, for example displacement or thermodynamic variable or capacity.The cubing producing by sensor 550 can be for timing and the speed to dispensed chambers 122 pumping fluids by feedback loop control pump sending component, thereby suitable fluid stream is transported to spout assembly 17 and pipeline subsequently, and be for example transported to thus patient.Sensor 550 can adopt acoustic volume sensing for example (describing in further detail below) or for determining other method (optics or capacitive character, as other example) of volume or volume relevant parameter.Acoustic volume measuring technique is the U.S. Patent No. 5 of authorizing DEKA ProductsLimited Partnership, 575,310 and 5,755,683 and the exercise question submitted on April 5th, 2006 for " for the volume measuring method that flows and control ", series number be No.60/789, the theme of 243 the interim U.S. Patent application of common pending trial, they are all bonded to here by reference.Utilize this embodiment to carry out fluid volume sensing receiving in the scope of liter, therefore contribute to pin-point accuracy and accurately monitor and conveying.Also can use for measuring other alternative technology of fluid stream; For example, the method based on Doppler (Doppler); Hall (Hall) effect sensor that use and leaf valve or flapper valve are combined; Use strain beam (for example relevant deflection for sensing compliant member of the compliant member in ,Yu fluid chamber); Use utilizes the capacitive sensing of plate; Or the time-of-flight method (thermal time offlight method) of heat.
With reference now to Fig. 6 to 9,, the embodiment that sensor wherein utilizes acoustic volume sensing (AVS) technology is shown.First discussion is with reference to the embodiment describing in Fig. 6 and 7.Allocation component 120 has sensor, and it comprises reference chamber 127 and the variable volume measurement chamber 121 that is connected to fixed volume chamber 129 by port one 28.Although can utilize reference chamber 127 as shown in Figures 6 and 7 to implement the present invention, in some other embodiment of the present invention, not provide reference space.Should be appreciated that, space 129 b referred to as " fixing " here as term, but its actual volume can change a little on acoustics firing time yardstick, as when utilizing speaker diaphragm driving to be known as the region of fixed space 129.Fluid flow to input part 123 by elasticity dispensed chambers 122 from pump 16, and flows out exit passageway 124.Due to high downstream impedance, when fluid enters dispensed chambers 122, distribute diaphragm 125 to expand in variable volume chamber 121.The electronic building brick that can be arranged on printed circuit board (PCB) 126 has microphone 1202, sensing mike 1203 and benchmark mike 1201, for measuring the parameters,acoustic relevant to the gas (being generally air) of variable volume chamber 121, cavity volume is by distributing the position of diaphragm 125 to limit.The sound wave of being responded to by microphone 134 advances to variable volume chamber 121 via port one 28 by fixed volume chamber 129; Sound wave also advances to reference chamber 127.When distributing diaphragm 125 mobile along with fluid flow via flow line, the volume of air in variable volume chamber 121 changes, and causes that relevant change occurs its acoustic characteristic, and this can utilize microphone and mike 1203 to survey.For identical acoustic excitation, benchmark mike 1201 can be surveyed the acoustic characteristic in fixed reference space 127.These reference measurements can be for example for eliminating inaccuracy and other mistake of inexactness and resistance acoustic excitation common schema.Can determine by comparing the measurement volume of variable volume chamber 121 and the original volume of variable volume chamber 121 volume of the fluid being shifted.Because the total measurement (volume) of dispensed chambers 122 and variable volume chamber 121 remains unchanged, can also estimate the absolute volume of dispensed chambers 122.
Embodiment shown in Fig. 6 utilizes intrinsicelastic distribution diaphragm 125, and the embodiment shown in Fig. 7 utilizes elasticity to distributespring 130, described elasticity distributesspring 130 when with 125 combination of distribution diaphragm, increased the elasticity of dispensedchambers 122 and can allow to use than in the embodiment shown in fig. 5 by thedistribution diaphragm 125 of the distribution diaphragm requiring submissiveer (that is, more low elasticity).Distributingspring 130 to be usually positioned in the side relative with dispensedchambers 122 ofdiaphragm 125 is adjacent to and distributesdiaphragm 125.
Alternately, in order to reduce the background noise from mike, microphone 1202 can be connected to via separated port variable volume chamber 121 with sensing mike 1203.As briefly showed in Fig. 8, microphone 1202 via loudspeaker ports 6020 acoustics produce pressure wave in being coupled in the fixedly microphone space 6000 of variable volume chamber 121.Pressure wave, from microphone 1202, is advanced to variable volume chamber 121 and then before sensed mike 1203 records, is passed through microphone port 6010 by loudspeaker ports 6020.Loudspeaker ports 6020 can comprise the pipeline part 6040 with flared hole 6030.Flared hole 6030 forms for all axial path to pipeline part 6040 the even length that sound wave is advanced along it.For example, pipeline part 6040 can have the geometry of cylinder, for example column body or vertical cylindrical geometry.Similar flared hole also can be in abutting connection with pipeline part to limit microphone port 6010.Different from the AVS sensor of Fig. 6 and 7, in the embodiment of Fig. 8, the pressure wave of advancing from microphone 1202 does not have the directapath that arrives sensing mike 1203.Therefore, prevent from directly impacting not first through variable volume 121 in the situation that from the pressure wave of microphone 1202 sensing mike 1203.Therefore mike receives the background signal of reduction and has realized the better letter/ratio of making an uproar.Additionally, can comprise shelf 6050 in any one of the embodiment of Fig. 6-8, thereby advantageously reduce the volume of reference chamber 127.
By in the embodiment being further described, the sensor of separated allocation component and measurement chamber's part easily, thus dispensed chambers is dismountable and disposable.In this case, dispensed chambers is arranged in the single use portion of paster, and sensor is arranged in and can uses part again.Dispensed chambers can by elastic fluid distribute diaphragm (as in Fig. 6 as shown in the of 122 and 124) define.Alternately, as in Fig. 7, dispensedchambers 122 can be defined by submissive diaphragm 125.In this case, distributespring 130 to can be used in dispensedchambers 122 and give elasticity.In the time of together withsensor 550 is placed in dispensedchambers 122, distributespring 130 to cover submissive distribution diaphragm 125.Distributespring 130 and distributediaphragm 125 to be alternately used, as the single part that limits dispensedchambers 122.
The alternate embodiments of allocation component is shown as shown in Figure 9.In the embodiment of theallocation component 120 of describing at Fig. 9, variable volume is measuredchamber 121 and is shared compliant wall (being shownsubmissive diaphragm 125 here) with dispensed chambers 122.Port one 28 acoustics ground are coupled to fixedvolume chamber 129 bymeasurement chamber 121, thereby form the acoustics neighboring region bylabel 1290 overall marks.Compressible fluid (being generally air or another gas) is filledacoustics neighboring region 1290 and drivenparts 1214 excite, and thisdriver part 1214 is driven by actuator 1216itself.Driver part 1214 can be the diaphragm of speaker, the diaphragm of audition additional loudspeaker for example, and in this speaker,actuator 1216 is for example voice coil loudspeaker voice coil solenoid or piezoelectric element.In the scope of the invention,driver part 1214 can also be coextensive (coextensive) withactuator 1216, for example, whendriver part 1214 self can be piezoelectricelement.Driver part 1214 can be contained inDrive Module 1212, and this Drive Module can containreference space 1220 in the side away from fixedspace 129 of driver part 1214.Yet, in the present invention's practice, generally do not adoptreference space 1220.
Benchmark mike 1208 be illustrated as whensignal mike 1209 acoustics be coupled to while measuringchamber 121 and fixedspace 129 acoustic connection.The pressure variation that the corresponding position that the volume of measuredzone 121 can be arranged inacoustics neighboring region 1290 based on it by one ormore mikes 1208,1209 is measured (or, equivalently, acoustic signal) and the electronic signal providing is determined.Can, by by the response phase at one or more mikes place and acoustics excites phase place to compare or compare with the response phase of position at another mike, come excute phase tomeasure.By processor 1210 based on phase place and/or as discussed below amplitude measurement determine the volume of measuredzone 121 and the volume of inferring thus dispensedchambers 122, described processor obtains electric power frompower supply 1211, and described power supply is shown accumulator typically.
In order accurately to carry the treatment reagent of small quantity, be desirably in and in each pump stroke, carry the little but unusual amount of accurate-metering.Yet if pass through the fluid ofcircuit 110 pumping micro volumes during each pump stroke, metering process requires high resolution.Therefore, according to embodiments of the invention, bysensor 550 with at least 10 changes of receiving the resolution measurement volume that rises.Can realize in some embodiments of the invention the measurement for 0.01% resolution of the vacant volume of measured zone 121.According to other embodiments of the present invention,sensor 550 provides and is better than 13 and receives the resolution rising.Yet in other embodiments,sensor 550 provides and is better than 15 and receives the resolution rising, and in a further embodiment, provide to be better than 20 and to receive the resolution rising.In this case, the total measurement (volume) ofacoustics neighboring region 1290 can be less than 130 μ l, and, in other embodiments, be less than 10 μ l.
According to various embodiments of the present invention; can use to dispensedchambers 122 and variable volume chamber subsequently 121 (here; also can be called " metric space ") the formerly modeling of volume response, this formerly modeling is based on owing to entering, the fluid filled dispensed chambers that is pumped volume ofinput part 123 carries out.Although other model belongs to the scope of the invention, a model that can adopt is expressed as baseline volume V by the incoming fluid in response to being pumped and the fluid volume that has in the dispensedchambers 122 of the fixedly outlet of flow resistancebwith by peak displacement Vdthe exponential damping volume sum characterizing, thus the measurement chamber's volume during measuring is characterized as being the function of time t, as follows:
In order to make the parametrization of modeling exponential damping (or other function model) be fit to a series of acoustic measurement, the response of the system of for example describing in Fig. 6 to 9 is derived as follows.For response is carried out to modeling, port one 28 is characterised in thatlength 1 and diameter d.Pressure and the volume of desirable adiabatic gas can pass through PVγ=K is associated, and wherein K is the constant being limited by system initial state.
Desirable adiabatic gas law can become disturbance p (t) v (t) statement when according to average pressure P and volume V and little on those pressure:
(P+p(t))(v+v(t))γ=K
These are declined and minute are obtained:
Or simplification obtains:
If acoustic stress level is more much smaller than ambient pressure, described equation can be further reduced to:
Application perfect gas law, P=ρ RT, and replaced pressure and provide following result:
Can be according to speed of soundBe written as:
And, about the acoustic impedance of certain volume, be defined as:
According to a group model, in the situation that all fluids in supposition port are in fact as moving along the reciprocal rigidity cylinder of axial direction, acoustical ports is carried out to modeling.Suppose that all fluids in passage (port one 28) advance with phase same rate, suppose that described passage has constant cross-section, and enter " end effect " that the fluid with leaving channel causes and be left in the basket.
Suppose and beThe laminar flow friction of form, the friction force acting on the flowing material in described passage can be written as:
Then can write out for the hydrodynamics in passage second-order differential equation:
Or, according to volume flow rate:
Then the acoustic impedance of passage can be written as:
Use volume and the port kinetics of definition in the above, can describe acoustic volume sensing system (wherein index k represents speaker, and r represents resonator) by equation system below:
According to identical agreement,And
In addition,
If p2be greater than p1, volume is tending towards accelerating along positive direction.
Reduce equation number (by p0be considered as input), and substitution
Use these equatioies to provide a structure
Or
These equatioies also can be expressed with the form of transfer function." intersection speaker (cross-speaker) " transfer function, p1/ p0for:
Or
Wherein:
And
Similarly, " cross system " transfer function based on to the measurement of arbitrary end ofport 128 is p2/ p0, by following formula, provided:
Use the volume estimation of cross system phase place
Similarly, use same principle, be easy to the transfer function of deriving, utilize the pressure in the pressure representative fixedvolume chamber 129 in thevariable volume chamber 121 that fixedvolume chamber 129 connects with it via port one 28.Especially, described transfer function is:
In aforesaid arbitrary situation, system resonance frequency can be expressed as variable volume V2function:
Because other all parameters is all known, therefore can for example based on resonant frequency, calculate variable volume V2, but derive V2other method may be favourable, and further describe in this application.A parameter that is not constant in this equation is speed of sound a, and it can be calculated or otherwise derived or measure based on relevant temperature.
As described, can adopt various strategies to inquire described system, thus derivation volume V2.According to some embodiment of the present invention, bydriver part 1214, with single-frequency, excite described system, monitor one or more transducer (mike 1208 and 1209, response Fig. 9) simultaneously.As complex signal, catch described response, the amplitude and the phase place that keep pressure to change.Advantageously, single query frequency approaches the resonance of system in mid-stroke, and this is in being used for emptying the gamut of chamber, to follow the maximum phase of volume to change because realized thus.
Response that cancorrection signal mike 1208, to eliminate due to the common-mode effect that excites the characteristic of the dependent Frequency of microphone 1202 (being shown in Fig. 6) or driver part 1214 (being shown in Fig. 9) to cause.As the complex ratio (complex ratio) of microphone signal and the correction signal obtaining can be expressed as mi, wherein, the continuous time samples of index i representation signal.
Be similar to second order machinery Helmholtz resonator (Helmholtzresonator), with the form of transfer function, express, described signal can be represented as:
Here, normalization variable is introduced into, thereby maintains the useful dynamics range aspect calculating that related parameter is positioned at order unit.Final expression formula is expressed divided by common denominator by real part and imaginary part.Obtain the ratio of real part μ and imaginary part v, (that is, phase place cotangent),
Error may be defined as:
Wherein N and D represent molecule and the denominator of described model respectively.
If minimize described error about each model parameter, realized best fit.Can adopt any method model of fit parameter.In one embodiment of the invention, adopt Gradient Descent method to find minima:
For each application-specific of the present invention, obtained the interval of each continued time domain sample, and the skip number of sampling for matching Model in Time Domain parameter is advantageously optimized.When but fluid flows with relatively constant slowly speed, as in basal insulin is carried, have been found that to sample to the cycle of 3 τ from τ/3 be effective.In another egregious cases, when carrying the fluid of injecting relatively greatly, in the time scale of exponential decay time constant, fluid may only be present inallocation space 122 within short-term.In this case, on the shorter period of characteristic decay time, sample.
According to a preferred embodiment of the invention, the cross system phase measurement based on carrying out with single stimulating frequency, according to the matching of the model of volume-time is determined to the fluid volume distributing by allocation space 122.And, during the initial part of pump stroke, with reference to the flow chart shown in Figure 117, combine and carry out preliminary surveying and operate with calibration system with measuring agreement, as described in the present.By the metering process of label 1170 overall marks, advantageously save computer resource and reduce power consumption, extend thus in charging or change the service time between power supply 1211 (being shown in Fig. 9), by frequency calibration, providing the desired accuracy of measurement of mode conveyance fluid with every stroke with above-mentioned resolution simultaneously.
Before each pump stroke or at it, start at 1171 o'clock, or in both cases,processor 1210 starts the self calibration phase place 1172 of AVS system.Do not measure until the electronics transition causing due to actuated pump significantly decays.In step 1173, with a series of frequency, mike and speaker gain are set, anddriver part 1214 activated, and wherein conventionally adopt substantially near five frequencies in abutting connection with acoustical area 1290 (or be here known as " acoustic chamber ") resonance.Usually adopt the frequency within the scope of 6-8kHz, but use any frequency all to belong to the scope of the invention.At each when frequency activate to start in succession, within the period of 5ms roughly, data acquisition is delayed, until decay substantially of acoustics transition.
For the persistent period that roughly 64 infrasonics circulate, following image data: to the temperature reading sampling being provided by temperature sensor 132 (Figure 70 B illustrates), andsignal mike 1209 is sampled respectively with respect to the real part representing with ρ and ι and the imaginary part of the ratio of the output signal ofbenchmark mike 1208 in step 1174.In order to describe the object of AVS system, the complex ratio of signal, or microphone signal can be called as " signal " here with respect to other functional combination of described benchmark.
The measurement under each frequency based on roughly carrying out on period of 200ms in each frequency, for each of the signal real part under each frequency and imaginary part and derive a cell mean and variance for temperature reading.In step 1175, the analysis of these numerical value is made to determine error and whether be arranged in prescribed limit.Abnormal transfer function is exemplary system fault advantageously, described fault includes but not limited to the fault in mike or other sensor, speaker, transducer, electronic device, mechanical component, fluid intake, bad acoustic seal, excessive environmental noise, and excess impact and vibration.Additionally, in step 1176, determine that the phase angle of signal is as the functional dependence relation of frequency function.The phase angle of signal, the arc tangent of its imaginary part and real part ratio, can be used as phase measurement, yet can use any phase measurement within the scope of the present invention.Can be by the fitting of a polynomial of phase place and frequency or the described functional dependence relation of otherwise deriving.In step 1177, based on described fitting of a polynomial, or otherwise, under cubing frequency, determine the slope of phase place to frequency, and carry out cubing.Additionally, and importantly, phase place is shown in the fluid containing in dispensed chambers 122 and has bubble the abnormal slope of frequency.
For the following section of each pump stroke, activateddrive parts 1214 under single-frequency excite the gas inacoustics neighboring region 1290 thus under this frequency on acoustics substantially.In the regulation of roughly 64 circulations, in the sampling interval, general based onsignal mike 1209, the signal data with respect to the output signal complex ratio ofbenchmark mike 1208 is collected and equalization.For each sampling interval, record real part and imaginary part and the temperature data of described signal.Data based on being sampled and gathering, carry out matching to Model in Time Domain.In various embodiments of the invention, as mentioned above, adopt Gradient Descent method, thereby during each pump stroke, make model of fit parameter, be i.e. the baseline volume V ofvariable volume chamber 121b, peak displacement Vdand the error minimize in die-away time τ, the fluid volume of carrying by dispensedchambers 122 is provided thus.
With reference now to Figure 10,, distributespring 130 can have with the spiral of diaphragm complementation or fan shape and can there are a plurality of helical grooves 131.The embodiment of spring can apply roughly active force uniformly on diaphragm as shown.This roughly uniform active force keeps the roughly shape of spill while contributing to diaphragm to work as itsexpansion.Groove 131 allows air free ground by spring, and therefore most of air are not trapped between spring and diaphragm.
With reference now to Figure 11 A and 11B,, for representative basis transport pulse (Figure 11 A) and for typical case, inject the kinetic measurement of volume and the example of the cumulative volume of discharging from dispensed chambers 122 calculated that conveying (Figure 11 B) illustrates dispensed chambers 122 (shown in Fig. 5).As from Figure 11 A, actuated pump sending component 16 causes that dispensed chambers 122 expanded from about 0 to about 1.5 μ l within about 2 second time, as measured in acoustic volume sensor 550.Notice that elasticity dispensed chambers 122 is shunk within the period of about 30 seconds and by high impedance output, from chamber 122, discharge its fluids, wherein exponential damping kinetics relation was by the half-life (t of about 6 seconds1/2) characterize.From utilize the measurement of being undertaken by sensor 550, calculate from the cumulative volume of dispensed chambers 122 outputs, and also notice that it rises to about 1.5 μ l exponentially.Can find high impedance output at actuated pump assembly and carry between most of displacement fluid and introduce and postpone.Can consider the t of the impedance level selective system of the elastic acting force that applied by dispensed chambers 122 and output1/2characteristic.In various embodiments, time constant can change economize on electricity and eliminate drifting problem.Time constant can be for example t1/2=2 seconds or t1/c=2 seconds.
Figure 11 B illustrates and utilizes the kinetics of injecting FLUID TRANSPORTATION ofFLUID TRANSPORTATION device 10 to distribute.About No. 29 pumps in succession activate (that is, pulse) and all from fluid source, fluid are moved on to elasticity dispensedchambers 122 fast, therefore cause that corresponding change occurs the parameter of being measured by acoustic volume measuring transducer 550.The volume that can notice dispensedchambers 122 expand into about 1.5 μ l in first pump pulse, and this numerical value is similar to the numerical value of observing in Figure 11 A.Realize allocation component 120 and discharge completely under the other pulsation pumping under the pulse spacing in desired period being shorter than, dispensedchambers 122 volumes further expand; This expansion reaches maximum about 6 μ l.After about 85 seconds, pump surging stops and finding that the volume ofchamber 122 reduces with exponential damping kinetics relation, thereby with the time of about 30 seconds, discharges its contained fluid completely after stopping pumping.T for this final discharge1/2with basis for shown in Figure 11 A carry basic identical.Notice that calculated accumulation output volume raises with substantial linear dynamic behavior in pump period and when stopping pumping, reaches maintenance level.
In described system, by cubing but not by pressure measxurement detection failure state, therefore, can in several seconds, determine fault.Figure 11 C-11F shows thesensor 550 of Fig. 5-7 and surveys various types of malfunctions.With reference to figure 5-7, all explanations about Figure 11 C-11F are described.
Figure 11 C is illustrated in the kinetics of exporting with respect to the time about thesensor 550 of pumping pulse in normal operating state and distributes.In contrast, Figure 11 D illustrates the expected results that obstruction occurs inallocation component 120 downstreams;Sensor 550 detects (or undiminished) volume of the increase of the fluid in dispensedchambers 122 rapidly.
At low volume state shown in Figure 11 E-11F.In Figure 11 E, reach roughly maximum sensor signal, be too fast decay subsequently; This state can be illustrated the internal leakage inpump 16,flowline 310 or allocation component 120.The kinetics of Figure 11 F distributes and has low peak volume signals and can represent failure of pump,vacant reservoir 20 or be positioned at the obstruction of dispensedchambers 122 upstreams.The delayed expansion that dispensedchambers 122 activates in response to pump also can be illustrated the problem in flowline 310.Sensor 550 also may can be surveyed the bubble in fluid.Can activate in response to the detection of malfunction siren.
Figure 12 illustrates the flow chart of the circulation of describing acoustic volume sensing and compensation (corresponding to the control loop 360 of Fig. 2 A-3).The amplitude of the circulation change of sensor in can the variable volume chamber 121 based on being brought out by pumping circulation is measured the Fluid Volume distributing from device 10.For example, sensor 550 can repeated obtain resonance variable volume chamber 121 and reference space chamber 127 acoustics frequency spectrum (step 2611) and maintain the parameter for each pumping pulse, the volume that this parameter is updated in conjunction with the gas in variable volume chamber 121 reduces.Correspondingly, the parametric representation being updated has entered the net flow scale of construction in dispensed chambers 122.When there is fully delay between pulse, the fluid entering in dispensed chambers 122 is substantially equal to the volume having been distributed by device 10.Alternately, sensor 550 can increase by the gas volume of repeated measure in variable volume chamber 121, to determine the amount (if exist fully and postpone) of being distributed by device between pulse.Acoustics frequency spectrum is compared with the model frequency spectrum in enquiry form, and this model frequency spectrum can be corresponding to having bubble, there is no bubble or have any one or all (steps 2621) of dispensed chambers 122 of the bubble of varying dimensions.Enquiry form can contain obtain by experiment, use a model definite or according to working experience established data.Enquiry form can have representative containing bubble and/or the representative data about the normal condition of a plurality of degrees of expansion of dispensed chambers 122 that change.If the summation matching of frequency spectrum and renewal proper flow model (step 2631), obtain another acoustics frequency spectrum and in step 2611 place repetitive cycling.If not matching of the summation proper flow model of frequency spectrum and/or renewal, determines and exists low or to stop up flow (step 2641).By utilizing lower than prediction or setting numerical value, or lower than the two the summation of renewal, the volume of the constant super scope of variable volume chamber 121 can be illustrated low or stop up and flow.If detect low or stop up flow regime, siren will be triggered (step 2671).Siren can comprise audible signal, vibration or these two.If do not find low or stop up flow regime, described device determine described frequency spectrum whether matching corresponding to the model (step 2661) of the alveolate state of tool in dispensed chambers 122.If determine and to have bubble, start the reaction that can comprise alarm and/or compensation behavior, described compensation behavior can comprise interim increase pump rate (step 2651) and described in circulate in step 2611 place and again start.If determine and not have bubble, siren is triggered to illustrate the malfunction (step 2671) of not determined.Embodiments of the invention also can utilize as jointly do not examined U.S. Patent Application Serial No.60/789, the bubble detection of the use AVS technology disclosing in 243, and described patent application is bonded to here by reference.
Thepump 16 of Fig. 2 A-3 is actuatedallocation component 120 by fluid from reservoir 20.When use according to Fig. 6-7 allocation component time, needn't use high accuracy pump, because the Measurement accuracy of the feedback permission for offeredpump 16 byallocation component 120 based on being transferred volume regulates pump 16.Each pumping pulse can have enough low volume to allow carrying out fine compensation based on feedback.Therefore can adopt a lot ofdifferent pump 16 schemes.Be described below the various possible embodiment ofpump 16.
Figure 13 and 14 is roughly illustrated according to the alternate embodiments of some members in the FLUID TRANSPORTATION device of the embodiment of the present invention.Figure 13 illustrates theflowline 310 withpump 16, and described flowline has thepumping element 2100 between upstream one-way valve 21 and downstream one-way valve 22.Pumping element 2100 can be used actuator so that a part of flowline is out of shape, thereby produces pressure in flowline 310.Upstream one-way valve 21 suppresses the refluence towards fluid source (not shown) from pumpingelement 2100, and the refluence that downstream one-way valve 22 suppresses fromvolume sensing chamber 120 to pumping element 2100.As a result, fluid is driven along the direction ofspout assembly 17, and this spout assembly comprises high impedance channel in one embodiment.
In the alternate embodiments shown in Figure 14, by combinedvalve pump 2200, carry out the function of pumping element, that is, inflowline 310 and upstream one-way valve 21, produce pressure.Therefore, thepump 16 in Figure 14 embodiment is formed by two members, that is, and and combinedvalve pump 2200 and downstream one-way valve 22, but not for three members of Figure 13 embodiment.Can use other embodiment of pump16.In valve pump 2200, the combination of valve and pump function can be by various winding machines, and some of them are described with reference to figure 15A-16 and 22-56 below.
In a lot of embodiment that are described below, for the lift valve ofinlet valve 21, for the lift valve ofoutlet valve 22 and pumping actuatedcomponents 54 all directly or indirectly (for example, as in Figure 50-56) be communicated withflowline 310, thus each of these elements all can form various fluid pressures or react for various fluid pressures.As pointed in the above, upstream and downstream valve (also can be called import and outlet valve here) is check valve.In the check valve of other type, described valve can be volcano valve (volcano), flapper valve, check-valves or duckbill valve, or towards device, exports the valve of other type of bias current.Be to authorize on January 12nd, 1993 the U. S. application No.5 of Dean L.Kamen, disclosed the example of volcano valve in 178,182, this United States Patent (USP) is combined in here by reference.
In the embodiment shown in Figure 15 A-15D, pump comprisesinlet valve 21 andoutlet valve 22, and wherein each valve includes fluid inlet, fluid issuing and movable part (for each valve, movable part is a part ofbarrier film 2356).Pump also comprises pumping element 2100.Pumping element is positioned atinlet valve 21 downstreams andoutlet valve 22 upstreams.In the following description, outlet valve is from closed position, that is, fluid does not flow through outlet valve.Yet, when enough pressure is provided when fluid, by exerting pressure to open valve on thelift valve 9221 at barrier film and outlet valve, make fluid pressure open described outlet valve, and then fluid can flow through outlet valve 22.Single mechanical action not only block pumps import but also and then force under the meaning mobile by pump discharge, Figure 15 A can be considered to combined valve pump (as theobject 2200 in Figure 14) to the embodiment of 15D.
This pumping installations has advantages of the opposite side that movable part and moistening line components is separated into flexible barrier barrier film 2356.As a result, can be arranged in can with member, wetted portions (flowline 310) can be arranged in disposable member to movable part again.
In the preferred embodiment of pumping mechanism, fluid source is non-pressurized reservoir.When the movable part of inlet valve is in an open position and have negative pressure in pumping chamber, there is from reservoir the pressure differential towards inlet valve pumping fluid.Can utilize the elasticity of the barrier film in pumping chamber to form this negative pressure.In an alternate embodiments, can be built in spring in barrier film and can send rebounding of barrier film in chamber for donkey pump.Non-pressurised reservoir can subside, thereby when from reservoir pumping fluid, subsides accordingly and reduce its volume in reservoir.As a result, prevent from forming negative pressure or air in reservoir.
In the preferred embodiment of pumping mechanism, after inlet valve cuts out, pressure is applied to pumping chamber to actuate fluid from pumping chamber towards outlet valve.The pressure forming by pumping campaign is opened outlet valve and is allowed fluid to flow through the fluid issuing of outlet valve.
Movable part can be any parts that can play a role as mentioned above.In certain embodiments, movable part is flexible partition or elasticity pumping film.In other embodiments, movable part is spherical rigid structure or can prevents another object that the opening of fluid from fluid path flows out.
In practice, can before using, pour into pumping mechanism.Therefore, pumping mechanism circulates by a plurality of strokes, from flowline air-out, until the most of or all air in flowline are discharged from.Because fluid volume that have in pumping chamber outside but between valve is little, a lot of pumping mechanisms that therefore here disclose have the ability of " perfusion certainly ".When pump is actuated the air in pump chambers, it basically forms enough pressure to send outlet valve.Backward stroke subsequently therefore can form enough negative pressure so that pump from reservoir pumping liquid.If " extremely " volume of pump is too large, the air in pumping chamber cannot form enough pressure to overflow from outlet valve.As a result, pump may shut-down operation.
Figure 15 A-15D, 16 and 22-56 a plurality of embodiment of pumping mechanism are shown.With reference now to Figure 15 A-15D,, an embodiment of pumping mechanism is shown, with a plurality of steps in example pumping procedure: 1. fluid is through inlet valve 21 (as shown in Figure 15 B); 2. inlet valve cuts out (as shown in Figure 15 C); With 3. when fluid pressure is openedoutlet valve 22 pumping actuatedcomponents 54 towards downstream, actuate fluid and make it flow through fluid issuing (as shown in Figure 15 D).
The pumping mechanism of Figure 15 A-15D comprises movable part, and described movable part is a part offlexible partition 2356 in this embodiment.Inlet valve and outlet valve comprise thelift valve 9221,9222 as valve blockage device.Each oflift valve 9221,9222 and pump actuatedcomponents 54 includesspring 8002,8004,8006.Pump plate 8000 is attached to pump actuatedcomponents 54 andimport lift valve 9221 and as its terminal ofspring 8004,8002 separately.
The parts of diaphragm position exerted pressure to affect in term " lift valve " towards movable part (that is, barrier film) for expression.Although can use other design, be described below and utilize some particular example (in conjunction with Figure 50-56) with the structure of mechanical advantage and the spring of principle loading lift valve valve.Yet the mechanism except lift valve can be used in execution identical function.In Figure 15 B-15D,inlet valve 21 comprises a part and thelift valve 9221 of fluid inlet and fluid issuing, barrier film2356.Outlet valve 22 comprises a part and thelift valve 9222 of fluid inlet, fluid issuing, barrier film.
In the embodiment shown in Figure 15 A-15D, by can be that structure rigidity or that have certain flexibility (preferably flexibility is lower than barrier film 2356) (object 9310 in Figure 15 A) limits fluid path 310.As shown in Figure 15 A,shell structure 9310 definesvalve chamber 9321,9322 andpumping chamber 2350; Three chambers of all this are all arranged influid path 310.
With reference now to Figure 15 B-15D,,inlet valve 21,outlet valve 22 andpump element 2100 all have fluid inlet and fluid issuing.Pumping actuatedcomponents 54 has fluidmobile pumping chamber 2350 herein after leaving inlet valve.Pumping actuatedcomponents 54 is exerted pressure onbarrier film 2356, forms normal pressure in flowline.
As shown in Figure 15 B-15D (and similar for thevalve seat 4070 for outlet valve shown in Figure 50-56), when barrier film is not activated by thelift valve 9221 of inlet valve, thevalve seat 9121 ininlet valve 21 preferably separates withbarrier film 2356.
Flowline 310 is limited partly by barrier film 2356.In this embodiment,barrier film 2356 is separated with fluid by the some parts of pumping mechanism.Therefore, the wetted and pumpingactuator 54 offlowline 310 andvalve lift valve 9221,9222 are not wetted.Yet the alternate embodiments of pump does not need to comprise thebarrier film 2356 contacting with flowline 310.On the contrary, different movable parts can be used to valve and/or pump.Therefore in a further embodiment, the only some parts offlowline 310 is separated with pumping mechanism, Wetting pump sending component partly.
Import lift valve 9221 comprisesend 8018, and this end represents the surf zone of import lift valve of the membrane portions of contact flow pipeline 310.Pumping actuatedcomponents 54 comprises theend 8012 of the membrane portions of contact flow pipeline 310.Similarly,outlet lift valve 22 comprises theend 8022 of the membrane portions of contact flow pipeline 310.Exerting pressure in theend 8018,8022 of valve lift valve on its respective regions ofbarrier film 2356, stops or open the appropriate section of flow path 310.Also exerting pressure in theend 8012 of pressure actuated parts on the respective regions of barrier film, thereby causes flowing byflowline 310.
Pumping actuatedcomponents 54 byplunger biasing spring 8004 around.Plunger biasing spring 8004 has the supporting construction that is positioned atpump plate 8000 and is positioned at the terminal at 8014 places and also keeps pumping actuated components.
Import lift valve 21 by importlift valve spring 8002 around, but therefore in alternate embodiments, import lift valve self is elastic and the function of spring is provided.Importlift valve spring 8002 have be positioned atpump plate 8000 place and near the terminal of theend 8018 ofimport lift valve 9221.
Outlet lift valve 9222 by passive outletlift valve spring 8006 around.Outletlift valve spring 8006 has the lip protruding 8020 that is positioned at the terminal of outlet liftingvalve plate 8024 and the end of closeoutlet lift valve 9222.
In each situation,spring 8002,8004,8006 stopped and did not disturb thesurf zone 8018,8012,8022 ofcontact barrier film 2356 before corresponding end.
In a preferred embodiment, fluid pumping device also comprises at least one shape memory actuator 278 (for example, conductive shapes memorial alloy wire) along with temperature change shape.Can utilize heater, or by applying electric current, change more easily the temperature of shape memory actuator.Figure 15 B-15D illustrates the embodiment with a shape memory actuator 278, yet, (be described below) and can have more than one shape memory actuator 278 in other embodiments.In one embodiment, shape memory actuator is the shape memory wire that utilizes nickel/titanium alloys structure, for example NITINOL
tMor

yet, in other embodiments, also can use any device that can produce active force, for example solenoid.In certain embodiments, shape memory actuator 278 has the diameter of about 0.003 inch and the length of about 1.5 inches.Yet, in other embodiments, shape memory actuator 278 can by can utilize any alloy that heat shrinks make (thereby and expand and can alloy be stretched to auxiliary the carrying out of mechanism of initial length by apply active force on alloy, it is spring, but this mechanism is not necessarily), thus as in embodiment described here, activate pumping mechanism.In certain embodiments, the diameter of shape memory actuator 278 can be required any length to required any diameter and length from 0.001 inch.Conventionally, diameter is larger, and obtainable contraction power is higher.Yet, for the desired electric current of heating wires, conventionally will increase along with diameter.Therefore, the diameter of marmem 278, length and component can affect for activating the required electric current of pumping mechanism.Irrelevant with the length of shape memory actuator 278, actuation force constant.The increase of actuation force can produce by increasing the diameter of shape memory actuator 278.
Shape memory actuator 278 is connected to pumpplate 8000 by adapter 8008.Adapter 8008 is described below in further detail.Shape memory actuator 278 is connected to fluid pumping device by terminal adapter 8010.According to device or the system of wherein using pumping mechanism, terminal link position will change.Terminal adapter 8010 is described below in further detail.
Figure 15 B-15D illustrates the flowline being poured 310 as discussed above and pumping mechanism.With reference now to Figure 15 B,,inlet valve 21 is opened, and pumping actuatedcomponents 54 is not pressed on barrier film 2356.Duringoutlet valve 22 is in the closed position.Shape memory actuator 278 is in expanding position.In this configuration, fluid is drawn intoinlet valve 21 fluid inlets from reservoir (not shown).(although illustrate as the protuberance in the barrier film in inlet valve region, in this step, pumping fluid can cause barrier film depression, or barrier film does not deform).When import lift valve is in an open position, fluid can flow to fluid issuing and enterpumping chamber 2350 from fluid inlet.Now, outletlift valve end 8022 is pressed onbarrier film 2356 and sealingoutlet valve 22 tightly.
Below with reference to Figure 15 C, electric current has been applied toshape memory actuator 278, and shape memory actuator shrinks towards required final lengths from starting length.The contraction ofshape memory actuator 278 pullspump plate 8000 towards flowline 310.Import lift valve 9221 and pumping actuatedcomponents 54 are all connected to pumping plate 8000.The motion ofplate 8000 pullsimport lift valve 9221 and pumping actuatedcomponents 54 towards barrier film 2356.As shown in Figure 15 C, importlift valve end 8018 is pressed onbarrier film 2356 securely, by diaphragm seal tovalve seat 9121 and close inlet valve 21.(motion of import lift valve can be actuated in imported valve chamber, and the small amount of fluid in theobject 9321 in Figure 15 A flows through fluid inlet or the fluid issuing ofinlet valve 21.)
Side by side, pumping actuatedcomponents 54 starts its path towards pumping chamber 2350.During this process, when importlift valve spring 8002 is compressed (now, importlift valve end 8018 is pressed securely onto flowline 310),pump plate 8000 and pumping actuatedcomponents 54 continue to advance towards flowline 310.Importlift valve spring 8002 allowspump plate 8000 along with pump actuatedcomponents 54 continues to move towardsflowline 310, even whenimport lift valve 9221 no longer can be advanced.
With reference now to Figure 15 D,, the region on pumpingchamber 2350 and fluid that pumping actuatedcomponents 54 is pressed ontobarrier film 2356 are pumped, thereby increase the pressure of the fluid in pumping chamber 2350.Outletlift valve end 8022 keeps being pressed in securely on (under outletlift valve spring 8006 auxiliary)barrier film 2356, thereby fluid inlet and the fluid issuing of sealingoutlet valve 22, until the pressure of the fluid flowing out from pumpingchamber 2350forces outlet valve 22 to be opened.When reaching enough pressure, fluid leaves by the fluid issuing ofoutlet valve 22, has therefore overcome 22 pairs ofbarrier film 2356 applied pressures of outlet valve.While stopping when flowing,passive spring 8006forces outlet valve 22 to be closed.
During driving stroke, pump actuatedcomponents spring 8004 is loaded.Finally, pump actuatedcomponents spring 8004 will pull pump actuatedcomponents 54 away from barrier film 2356.As a result, during lax stroke,spring 8004 turns back to pump actuatedcomponents 54 andpumping plate 8000 slack position of Figure 15 C; Load importlift valve spring 8002 and can also provide energy for backward stroke.When pumpingplate 8000 approaches its slack position, it engages the end cap ofimport lift valve 9221 to mention import lift valve and to be pulled away from base, thereby opens inlet valve 21.During backward stroke, pump actuatedcomponents spring 8004 is also unloaded.
When reach wherein importlift valve spring 8002 in the threshold values withpump plate 8000 pars apart from time, will utilize pump actuated components spring 8004 de-ballast pump plates 8000.Elastic diaphragm 2356 in pumpingchamber 2350 will turn back to its starting position.This forms negative pressure, and when inlet valve is opened, fluid flow to fluid issuing by the fluid inlet by inlet valve and flows towards pumping chamber 2350.Therefore, pumping mechanism is now by the state in as shown in Figure 15 B.
When during actuated pump, repeat whole pump sequences of describing about Figure 15 B-15D byshape memory actuator 278 is applied to electric current at every turn.
Here so-called barrier film comprisesbarrier film 2356, thereby it can be made by producing any elastomeric material that necessary characteristic plays a role as described here.Additionally, diaphragm material can comprise biocompatible material, thereby can not hinder the operation of pump or the therapeutic value of reduction fluid.Multiple biocompatible elastic material may be suitable, comprises nitrile and silicones.Yet different treatment fluid components may require to select different elastomeric materials.
Can above-mentioned pumping mechanism be described also just like various embodiment described here according to length of stroke.A kind of mode of determining length of stroke is that utilization is in total variation of the shape memory actuator length of a cycle period of shape memory actuator pucker & bloat.This difference flows out inlet plenum 2354 and flows to pumpingchamber 2350, outlet chamber 2352 the last fluid total volume that flows out outlet chamber 2352 determining total distance that pump rod is advanced and therefore having determined.The another way of determining length of stroke is the travel distance of pump plate 8000.For pratial stroke,pump plate 8000 will not reach its maximum travel distance.In one embodiment, very little stroke or micro-stroke are started continuously, in the mode of continuous or rule from the fluid of reservoir pumping microlitre volume to outlet.For example, micro-stroke volume of thepumping chamber 2350 that is less than 20%, 10% or 1% that can be shifted.
Figure 16 illustrates the modification of the pumping mechanism embodiment shown in Figure 15 B.In Figure 16, use two kinds of different shape memory actuators-one long and shorter one.Figure 16 illustrates the embodiment of pumping mechanism shown in Figure 15 B, and whereinshape memory wire 278 is aroundpulley 286 tensionings and split into longer strand and shorter strand.As the common junction of negative terminal, can be positioned at the position of long and shorter strand division.The circuit that utilizes either one or two of two alternative paths and realize allows to regulate pump action power and/or length of stroke.In alternate embodiments, material piece, for example Kevlar material, extend toactive force plate 8000, and two separated shape memory wires extends to its corresponding support member from common junction around pulley from common junction.Two wires by use with different length, these embodiment provide pumping pattern and the exhaust mode as being described below.
About using shape memory actuator variable to change stroke, for the shape memory actuator of given length, stroke depends on the number of variable: 1. the total time of switch on/heating; 2. total voltage; Diameter with 3. shape memory actuators.At some variable embodiment shown in Figure 17-19.Yet, in certain embodiments, can when keeping length, conduction time and voltage, change stroke.These embodiment comprise a plurality of shape memory actuators (seeing Figure 19) and a plurality of switch (seeing Figure 17) on a shape memory wire.As discussed above, also can be by revising any one or a plurality of variable obtains required length of stroke.
Additionally, to the timing of shape memory actuated heating or energising, can change to control stroke.Shape memory actuator is heated at every turn and can be regarded as a pulse.For example the factor of pulse frequency, pulse duration and length of stroke can affect the amount of the fluid of carrying at certain hour.
The embodiment of the pump of fluid pumping pattern and exhaust mode is additionally described to have in Figure 17-19.When activateding, exhaust mode applies parts by active force and has applied the compression stroke that applies and/or increase displacement that active force strengthens.Can activate exhaust mode based on there is the probability of air or the relevant situation of understanding in pump.For example, can work as pipeline while being attached to reservoir, when detecting bubble by sensor or sensor device, or when detecting insufficient flow by sensor or sensor device, activate exhaust mode.Alternately, described two kinds of patterns can be selected for the pumping pulse to given between the fluid of less and larger volume that is shifted.
With reference now to Figure 17,, briefly show and utilizeshape memory actuator 278 pump that activate and that there are a plurality of operator schemes.When pumpingchamber 2350 is filled fluid, pump operates with fluid pumping pattern.During fluid pumping pattern, electric current flows between negative electricity lead-in wire 2960 and positiveelectrical lead 2961, causes alloyshape memory actuator 278 resistance heated and causes thus phase change and power stroke.In one embodiment, between pumping mechanism flush phase or when suspecting while there isbubble 2950 in pumpingchamber 2350, exhaust mode activated and electric current along length is extended between negative electricity lead-in wire 2960 and positive electrical lead 2965 path flow; Result is to have the compression stroke of higher active force and displacement that active force appliesparts 2320 should be enough to air 2950 to be displaced to pumpdischarge 2370 from pumping chamber 2350.In alternate embodiments, positive and negative lead-in wire can be put upside down.
With reference now to Figure 18,, briefly show the alternative pump of theshape memory actuator 278 with a plurality of equal length.Other actuator can be for example for increasing the actuation pressure on pumpingchamber 2350, to eliminate obstruction or the bubble in other region of flowline, pumping chamber or pumping mechanism.Other actuator can also provide standby to any pumping device.Single shape memory actuator may be able to produce enough active forces to eliminate bubble from pumping chamber.Additionally, in the embodiment shown in Figure 18, according to the length of the second shape memory actuator, other return spring may be necessary.
When first reservoir is attached to the flowline with pump, pumping mechanism (objects 16 in Figure 13-14) is conventionally by fills with air.Due to a variety of causes, air can also enter pumping mechanism in the normal operation period.Because air ratio fluid is easy to compression more, so if there is large quantity of air in flowline, the compression stroke that applies the length with the fluid that is enough to be shifted may be not enough to produce enough pressure, with the opening pressure of customer service pumping mechanism check valve.Correspondingly, pumping mechanism may shut-down operation.Yet, between flush phase or when harmlessly there is a small amount of air in pump, may expect to force air to pass through pipeline.Therefore, the embodiment shown in Figure 18 can be used in and produces in this case extra active force.
Figure 19 briefly shows the alternative pump 16 with a plurality of shape memory actuators.The first, shorter shape memory actuator 2975 has the first electrical lead 2976 and the second electrical lead 2977.Shorter actuator 2975 can produce the compression stroke of the fluid in pumping chamber 2350 that is enough to be shifted; At the shorter shape memory alloy actuator 2975 of normal fluid pumping pattern operating period use.When signal exhaust mode or require larger while being pumped fluid volume, can be by sending electric current and use the second longer shape memory alloy actuator 2970 along being placed in actuator length between the first electrical lead 2973 and the second electrical lead 2972.By formation, be included in short circuit of the power path between the first electrical lead 2972 and the second electrical lead 2971, longer shape memory alloy actuator 2970 can also be used as the standby actuator for the operation of fluid pumping pattern.Shorter shape memory actuator 2975 can also be for changing stroke capacity to provide better control under the fluid volume speed reducing.The multi-modal actuator of Figure 17-19 be not limited to shown in pumping element together with use, but can use with together with any one of the various embodiment of pumping mechanism described herein, described embodiment comprises those of those and the valve pump that adopts as be described below of the fluid pumping device that uses as be described below.Therefore, by forming required length of stroke to providing the length shapes memory actuator of required length of stroke to switch on/heat.
With reference now to Figure 20 A and 20B,, each all illustrates an embodiment for attachment shape memory actuator.These different embodiment can be used in the described here any mechanism or device that have wherein adopted shape memory actuator 278.With reference to figure 20A and Figure 20 B,shape memory actuator 278 is fed in grommet 280.Thengrommet 280 is attached to parts 284.Although two embodiment of this attachment pattern are only shown, and various other patterns are used in other embodiment.Can use other pattern that grommet is attached to a part or any fixed position.
With reference now to Figure 21 A and 21B,, attachment is shown for two exemplary embodiments of theshape memory actuator 278 of pumping mechanism 16.In each of these embodiment,shape memory actuator 278 is designed to rotate around pulley 286.With reference to figure 21A,shape memory actuator 278 is attached to thepart 288 of preferably being made by KEVLAR material by grommet 280.An end ofshape memory actuator 278 is illustrated as being attached toparts 284 by dog screw device 289.With reference now to Figure 21 B,, an end of shape memory actuator is illustrated as being attached toparts 284 bygrommet 280.
The various embodiment of pumping mechanism shown here.Pumping mechanism can comprise inlet valve, pumping actuated components and outlet valve.As discussed above, dissimilar check valve can be in alternate embodiments.Although the skeleton diagram shown in Figure 15 A-15D has illustrated an embodiment, accompanying drawing below illustrates alternate embodiments.
With reference now to Figure 22 and Figure 23,, side view and the cross section of a part of pumping mechanism is shown.In this embodiment, pumping actuated components is pumping elongate finger member part 32.When active force is applied infinger 32,finger 32 is depressed movable part and is reduced the internal volume of flowline.
The part of the pumping mechanism in Figure 22 and 23 only illustrates pumping chamber.When combined with check valve (object 21 and 22 in Figure 13), tomovable part 23, apply metamorphosis power, force fluid to flow towards spout assembly (not shown).As shown in Figure 22 and 23,finger 32 be point to concentrate active force, but in other embodiments,finger 32 can be flat or any othersuitable shape.Spring 31 is for pressingfinger 32 with respect toelastomeric element 23 towards the contracting offset of giving up the throne, therebyfinger 32 turns back to that contracting is moved back, decompressed position in the situation that not applying active force.As shown in figure 23, motor can be used to active force to be applied in finger 23.Yet, in other embodiments, use shape memory actuator.Various types of motors are suitable, comprise motor and piezo-electric motor.
With reference to Figure 22 and 23, by preventing thatmovable part 23 from offing normal in response to applying active force byfinger 32, potential the advancing ofbackstop 33restriction finger 32, supportsmovable part 23, and guarantees to reduce the volume of flowline or pumping chamber.As shown in figure 22, backstop 33 can advantageously have the shape withelastomeric element 23 complementations.In various embodiments, pump 16 can comprise lever or crank, and this lever or crank are driven by a motor on an end, and at place, the other end elasticity ofcompression parts 23.
With reference now to Figure 24,, another embodiment of pumping actuated components is shown about a part of pump.Motor or shape memory actuator (not shown) apply turning effort power to one group ofprojection 42 connecting.Theseprojections 42 are as pumping actuated components and tomovable part 23, apply active force in turn.Correspondingly, active force intermittent pulse is applied to movable part 23.Backstop 33, as shown in the figure, can inhousing 44, advance and byspring 46 towardselastomeric element 23 bias voltage upwards.
With reference now to Figure 25,, be illustrated in the embodiment inplunger barrel 52 with the force application assembly of pumping actuated components (being plunger) 54 here.Motor causes thatplunger 54 alternately returns and insert in plunger barrel.Whenplunger 54 is return, negative pressure is drawn intofluid passage 51 andinner chamber 56 from reservoir (not shown).Whenplunger 54 is inserted into, the pressure of the increase combining with check valve (not shown) is towards allocation component (not shown) drivefluid.Inner chamber 56 is connected topassage 51 and plunger barrelinner chamber 56 volume viainterface channel 58 reduces along with the reeve action ofplunger 54, actuates thus fluid byflowline 310.
Figure 26 and 27 illustrates another embodiment, and wherein pumping actuated components is plunger 54.Force application assembly and comprise shape memory actuated 278 linear actuator drives plunger 54.In Figure 26,shape memory wire 278 is in low temperature, swelling state and be attached to thefirst support member 241 and plunger attachment end cap 244.244 of end caps are attached to biasingspring 243 in turn, and described biasing spring is attached to thesecond support member 242 in turn.Whenwire 278 is during in swelling state, biasingspring 243 is in relaxed state.Figure 27 illustrateshape memory actuator 278 due to guidingline 278 apply electric current and simultaneously heating and in contraction state.When shrinking, active force is applied onend cap 244, thereby causes insertion campaign and the corresponding pump action of plunger 54.In contraction state, biasingspring 243 is in high potential energy state.When stopping applying electric field,Nitinol wire 278 is cooling and expansion again, with the contracting that allows biasingspring 243 that plunger 54 is turned back to it, moves back state.As shown in Figure 21 A-21B,shape memory actuator 278 can be wound around around one or more pulleys.
Figure 28-30 illustrate various embodiment, wherein by the pumping actuated components 54 that uses shape memory actuator 278 compressions to form the movable part of pumping chamber, realize pumping.Pumping chamber is defined by check valve 21,22.Figure 28 illustrates and comprises that wherein pumping actuated components is the embodiment of the pumping mechanism of the plunger 54 in plunger barrel 52.This mechanism also comprises lever 273, fulcrum 274, and shape memory actuator 278.Shape memory actuator 278 is maintained at the plus end 275 that is attached to conductive support 279 in housing 298 and an end and is attached to lever 273 in the other end.273, lever is attached in turn fulcrum 274 and is attached to plunger 54 at the second end place in its center.Apply electric current and pass through terminal 275, shape memory actuator 278 and conductive support 279 to cause current flowing, cause that thus shape memory actuator 278 shrinks, and causes lever 273 effectively shrinking back around fulcrum 274 pivotables and plunger 54.Power-off allows cooling shape memory actuator 278, allows it to expand.Return spring 276 is via lever 273 effects, so that plunger 54 is turned back to the on position in plunger barrel 52.Return spring 276 is maintained in housing 277.O shape ring 281 prevents that fluid is from the 52 assemblies leakages of plunger 54-plunger barrel.The insertion of plunger 54 and shrink back and cause that fluid flows through flowline along the definite direction of orientation by two check-valves (the first check valve 21 and the second check valve 22).Can use any suitable backflow prevention device, it comprises check valve, check-valves, duckbilled valve, flapper valve and volcano valve.
Figure 29 illustrate there isplunger 54,plunger barrel 52 and another embodiment of pumping mechanism of comprising the force application assembly of shape memory actuator 278.Yet unlike the embodiment shown in Figure 28, this embodiment does not comprise lever.Shape memory actuator 278 is maintained inhousing 298 and an end and is attached toconductive support 279 and bycontact 275, is attached toplunger end cap 244 in the other end.Plunger end cap 244 is attached to plunger 54.Once apply sufficient electric current bycontact 275,shape memory actuator 278 shrinks.This contraction causes pulling onplunger end cap 244, to realize,plunger 54 is inserted in plunger barrel 52.Power-off allows coolingshape memory actuator 278, allows thus it to expand.When wire expands,return spring 276 plays a role that plunger 54 is turned back to the retracted position in plunger barrel 52.Return spring 276 is maintained in housing 277.Oshape ring 281 prevents that fluid is from the 52 assemblies leakages of plunger 54-plunger barrel.The insertion ofplunger 54 and shrinking back causes that fluid is along by directed thefirst check valve 21 and thesecond check valve 22 and definite direction flows through flowline.
With reference now to Figure 30,, the embodiment of the pumping device that usesplunger 54 andplunger barrel 52 is shown.In this embodiment, form is to be arranged in theshape memory actuator 278 of wire of axle ofplunger 54 for apply active force on plunger.Shape memory actuator 278 extends to support base 299 fromplunger end cap 272 by theaxle plunger 54 and by passage 58.Oshape ring 281 and 282 sealedplungers 54,plunger barrel 52 and passage 58.To the first lead-in wire 258 and the second lead-in wire 257, apply electric current and causeshape memory actuator 278 heating, this causesshape memory actuator 278 to shrink.The contraction ofshape memory actuator 278 is applied onplunger end cap 272 downward active force, and this downward active force is enough to overcome the upwards biasing force ofreturn spring 276, andactuation plunger 54 enters in the inner chamber 290 ofplunger barrel 52 thus.The expansion ofshape memory actuator 278 allowsreturn spring 276 that plunger 54 is turned back to retracted position.The insertion ofplunger 54 and shrinking back causes that fluid is along by directed thefirst check valve 21 and thesecond check valve 22 and definite direction flows through flowline.
Figure 31 illustrates the alternate embodiments of pumping mechanism.Pumping actuated components is theassembly 101 in conjunction with the function of reservoir and pumping mechanism.Under the order ofcontroller 501,motor 25actuation plunger 102, with mineralization pressure inreservoir 104, force fluid to pass through thefirst check valve 106 thus.Then fluid enters the elasticity dispensedchambers 122 of thevolume sensing component 120 withsensor 550, and flow to spout assembly 17.Can comprise optional the second check valve 107.Feedback control viacontroller 501 betweensensor 550 andmotor 25 guarantees that required fluid flow to patient.Thefirst check valve 106 makes reverse fluid flow for preventing when chamber is filled and expand due to the elastic acting force of the dispensedchambers 122 of volume sensing component 120.Thesecond check valve 107 is for preventing that fluid is fromspout assembly 17 or patient's 12 reverse flow to dispensed chambers 122.In this embodiment,sensor 550 can be surveyed the volume in dispensedchambers 122 immediately.
Figure 32-34 briefly show the cross sectional view of combined valve pump 2200.Figure 32 illustrates to have before activating and is positioned at the collection chamber 2345 of rest position and the valve pump 2200 of pumping chamber 2350; Figure 33 is illustrated in the valve pump 2200 in actuated state during compression stroke; And Figure 34 the is illustrated in compression stroke pump in actuated state while finishing.Pump inlet 2310 and the upstream fluid source fluid of for example reservoir are communicated with and are connected to the first end of passage 2360.Passage 2360 is connected to 2345 ,Gai collection chamber of collection chamber and is communicated with fenestra 2390 fluids that are placed in elasticity pumping film 2340 at the second end place.Collection chamber 2345 is defined by elasticity pumping barrier film 2330 by elasticity pumping film 2340 and in the second side in the first side.In various materials, pumping barrier film 2330 can be made by latex or silica gel.Pumping chamber 2350 is led in the downstream of fenestra 2390.During charge pump and activating between circulation, fluid is advanced by pump inlet 2310, passage 2360, collection chamber 2345 and fenestra 2390 from the fluid source of for example reservoir, then arrives pumping chamber 2350.Check valve 22 prevents that fluid from leaving pumping chamber 2350 via pump discharge 2370, unless until and sufficient fluid pressure be applied on check valve 22 so that check valve 22 is opened.In Figure 32, pumping actuated components 2320 is shown in rest position, and elasticity pumping barrier film 2330 is shown in the lax structure with minimal surface region, has maximized thus the volume of collection chamber 2345.Although in this embodiment, pumping actuated components is illustrated as spherical, and in other embodiments, thereby pumping actuated components can be can activate and elasticity pumping barrier film 2330 is applied to any actuated components that sufficient active force activates pumping mechanism.
As from Figure 33, when activating pumping actuated components 2320 during compression stroke, pumping actuated components 2320 starts to advance and dilatational elasticity pumping barrier film 2330 towards the fenestra 2390 of elasticity pumping film 2340, thereby causes that the fluid being collected in collection chamber 2345 flows backwards.At active force, apply in stroke, as shown in figure 34, pumping actuated components 2320 will be delivered to fenestra 2390 by elasticity pumping barrier film 2330 with sealing means later.For auxiliary seal, pumping actuated components 2320 can have the shape with the shape complementarity of fenestra 2390.For example, pumping actuated components 2320 can be spherical or taper and fenestra 2390 can be cylindricality through hole.At active force, apply this stage of stroke, from the refluence of pumping chamber 2350 by suppressed.Pumping actuated components 2320 continues to advance and will make 2340 distortion of elasticity pumping film and increase the pressure in pumping chamber 2350, continues sealing fenestra 2390 to prevent from 2350 refluences of pumping chamber simultaneously.When the pressure in pumping chamber 2350 applies sufficient fluid pressure to check valve 22, fluid will flow through pump discharge 2370 from pumping chamber 2350.During backward stroke, pumping actuated components 2320, elasticity pumping barrier film 2330 and elasticity pumping film 2340 turn back to the slack position shown in Figure 32.During backward stroke, the internal pressure of pumping chamber 2350 and collection chamber 2345 will decline, and this will flow through pump inlet 2310 and passage 2360 from fluid source by inducing fluid and impel again valve pump 2200 is filled.
With reference now to Figure 35,, the summary cross sectional view of an embodiment of elasticity pumping film 2340 is shown.Diaphragm body 2515 can be by the elastomeric materials of for example silica gel.Also can comprise that diaphragm spring 2510 is with to flexible or be that elastic body 2515 is given elasticity.Diaphragm spring 2510 can embed in elasticity pumping film 2340 or near elasticity pumping film 2340 and arrange.The example of an embodiment of diaphragm spring 2510 shown in Figure 36.Can use and comprise the diaphragm body 2515 of submissive material and the combination that comprises the diaphragm spring 2510 of elastomeric material; Consequently pumping film 2340 will present high-seal and have high flexibility when contact is pumped the elasticity pumping barrier film 2330 of actuated components (not shown, to see Figure 32-34) distortion.Valve seat 2517 can be around fenestra 2390 location.Valve seat 2517 can be with the receptor that acts on the crushed element of elasticity pumping barrier film 2330.Active force applies parts 2320 can make 2330 distortion of pumping barrier film, thereby causes barrier film 2330 distortion and contact valve seat 2517 with sealing means.If apply enough active forces, thereby valve seat can strain prevent that to guarantee thoroughly sealing fluid from flowing backwards.Conventionally can differently select the depth of section of valve seat 2517 and the ratio of cross-sectional width that itself and flowing environment are matched.
With reference now to Figure 36,, the example for thediaphragm spring 2510 of thepumping film 2340 of Figure 35 is shown.Outside anchor ring 2520 is connected by least threeelastic arms 2530 with inner anchor ring 2540.The center ofinner anchor ring 2540 hasspring eye 2550, and described spring eye can be aimed at thefenestra 2390 of pumpingfilm 2340 as shown in figure 35.
With reference now to Figure 37,, show a skeleton diagram, this skeleton diagram with comprise that the force application assembly of pumping actuated components 2320, actuator and lever 273 has shown the cross sectional view that is shown in the valve pump 2200 in Figure 32-34 above combinedly.When being encouraged by the actuator of for example shape memory actuator 278, lever 273 around fulcrum 274 pivotables to start compression stroke.Hammer body 2630 is outstanding from lever 273.During compression stroke, the pumping actuated components 2320 of hammer body 2630 contact spherings, cause that pumping actuated components advances in the space of supporting construction 2660, and pumping actuated components 2320 is pressed to elasticity pumping barrier film 2330, until pumping actuated components 2320 remains to the fenestra 2390 that is arranged in elasticity pumping film 2340 with sealing means.When lever 273 continues to advance, pumping actuated components 2320 causes 2340 distortion of pumping film.When enough fluid pressures are applied on check valve 22, check valve 22 is opened.This allows fluid to flow through pump discharge 2370 from pumping chamber 2350.When shape memory actuator 278 is cooling, the elasticity of the elasticity of pumping film 2340 and pumping barrier film 2330 will cause that lever 273 turns back to by lever stop part 2650 and the definite starting position of lever brake component 2640.Alternately, return spring (not shown) can be for turning back to starting position by lever 273.Although be illustrated as spheroid, active force applies projection or other appropriate format that parts 2320 can be alternately piston, lever 273.
Figure 38 briefly shows the cross sectional view of the embodiment of the valve pump that uses elasticity Cylindrical Buckling 2670.In one embodiment, elasticity Cylindrical Buckling is made by rubber, but in other embodiments, it can be made by any elastomeric material.Cylindrical Buckling 2670 hascentral corridor 2675, and against a plurality of resilientradial fins 2672 ofhousing 2673 sealing arrangements.Enter thefluid process passage 2360 ofpump inlet 2310 and be collected in the region ofcheck valve 22 upstreams: thecentral corridor 2675 ofcollection chamber 2345, Cylindrical Buckling 2670, and pumping chamber 2350.The mode that pumping chamber is communicated withcollection chamber 2345 fluids bycentral corridor 2675 connection.During pumping mechanism compression stroke, pumping actuatedcomponents 2320 applies active force to elasticitypumping barrier film 2330, makes its distortion, until elasticitypumping barrier film 2330 is remained to thevalve seat 2680 of Cylindrical Buckling 2670 hermetically; Stop thus the refluence fromcollection chamber 2345 to pump inlet 2310.The continuing to advance of pumping actuatedcomponents 2320 causes Cylindrical Buckling 2670 distortion; Pressure in pumpingchamber 2350 increases until while being enough to open check valve 22.Then fluid can flow throughpump discharge 2370.
In Figure 38, pumping actuatedcomponents 2320 is illustrated as spherical.Yet in other embodiments, pumping actuatedcomponents 2320 can be any shape that can play a role as mentioned above.
With reference now to Figure 39,, the alternate embodiments of the Cylindrical Buckling 2670 (being shown in Figure 38) that adoptselastic part 2680 andrigidity cylinder support 2690 is shown.Be similar to the Cylindrical Buckling 2680 of Figure 38, the elastic part of Cylindrical Buckling 2670 comprises thevalve seat 2680 that sealscentral corridor 2675 when applying active force by pumping actuated components 2320.Therefore, the distortion of theelastic part 2680 of Cylindrical Buckling 2670 is with to pumpingchamber 2350 transmission of pressures.
Figure 40-44 are schematically shown in the cross sectional view of the alternate embodiments of valve pump in various actuated state.Thevalve pump 2200 of Figure 40-44 hasflexible sheet spring 6100 and elasticpacking barrier film 6120, and they bring into play the function ofelasticity pumping film 2340 functions that are similar to valve pump shown in Figure 32-34 2200 together.Figure 40 illustrates thevalve pump 2200 in the state of resting.In the state of resting, fluid can flow to fromimport 2360 top 2346 ofcollection chamber 2345, by thehole 6110 indiaphragm spring 6100 and enter in the bottom 2347 of collection chamber 2345.Then fluid can continue by one ormore opening 6130 inseal dissepiment 6120 and enter pumping chamber 2350.Under low-pressure state, bycheck valve 22, stop fluid further to flow.Spring diaphragm 6100 and sealdissepiment 6120 all can be constructed by elasticity, biocompatiblematerial.Spring diaphragm 6100 can have the elasticity higher than seal dissepiment 6120.For example,spring diaphragm 6100 can be flexible biological inert plastic disk and sealdissepiment 6120 can be silicones or Fluorosilicone elastomers.
Figure 41 and 42 illustrates thevalve pump 2200 in two middle, local actuated state.Pumping actuatedcomponents 2320 makes pumpingbarrier film 2330 distortion and forces it bycollection chamber 2345 andpress spring diaphragm 6100, and spring diaphragm is out of shape in turn and is forced to press seal dissepiment 6120.This point in compression stroke, by thehole 6110 ofspring diaphragm 6100, or by theopening 6130 inseal dissepiment 6120, or all suppressed by the two refluence.Seal dissepiment opening 6130 allows to form sealing betweenspring diaphragm 6100 and sealdissepiment 6120 with respect to the skew of spring eye 6100.In certain embodiments, sealing can utilize the backup seal between filled chamber elasticitypumping barrier film 2330 andspring diaphragm 6100 to be supplemented (for example, the embodiment of Figure 43-44 lacks this backup seal).Circumferential ridge (not shown) aroundspring fenestra 6110 can be as valve seat to strengthen described sealing.
With reference now to Figure 42,, the continuing to advance of pumping actuatedcomponents 2320 causes that pumpingbarrier film 2330,spring diaphragm 6100 and sealdissepiment 6120 are further out of shape.As a result, the fluid in pumpingchamber 2350 is compressed until fluid pressure forces checkvalve 22 to be opened; Further compression causes that fluid is by exporting 2370 outflows.
In Figure 43, briefly show the alternate embodiments of thevalve pump 2200 of Figure 40-42.In this embodiment, pumping actuatedcomponents 2320 passes through elasticity pumping barrier film 2330.Pumping barrier film 2330 is attached to the periphery of pumping actuatedcomponents 2320 hermetically in the midpoint along pumping actuatedcomponents 2320 length.When activateding,diaphragm spring hole 6110 only sealedbarrier film 6120 seals in case backflow; Elasticitypumping barrier film 2330 will not contact hole 6110.The alternate embodiments of device shown in Figure 40 shown in Figure 44.
With reference now to Figure 45,, the cross sectional view of the alternate embodiments of combined valve pump 2200 is shown.Shape memory actuator 278 activates compression stroke, and to cause that elasticity pump blade 2710 lifts (lever) around fulcrum 274, this causes 2330 distortion of elasticity pumping barrier film.Elasticity pump blade 2710 and elasticity pumping barrier film 2330 are exerted pressure to the fluid having in the step pumping chamber 2720 in shallow region 2730 and darker region 2740.Early interim in compression stroke, pump blade 2710 causes that elasticity pumping barrier film 2330 blocks the passage 2360 that pump inlet 2310 is connected to step pumping chamber 2720.When compression stroke continues, active force is applied to the fluid in step pumping chamber 2720, until the fluid pressure in step pumping chamber 2720 is enough high to open check valve 22.Then fluid leaves pump discharge 2370.Pump blade 2710 can be in whole or in part by the elastomeric materials of for example rubber.In certain embodiments, elastomeric material comprises non-resilient side's bolt (spline).Alternately, in certain embodiments, by Hookean region 2750, apply elasticity, therefore, Hookean region 2750 is only elastic parts of the pump blade 2710 in these embodiment.In these embodiments, the bottom of Hookean region 2750 contact step pumping chambers 2720.The elasticity of pump blade 2710 allows compression stroke after the base portion 2780 in the pumping vanes 2710 shallow regions 2730 of contact to continue.Return spring (not shown) turns back to starting position by pump blade 2710 during backward stroke.
With reference now to Figure 46,, the cross sectional view of the alternate embodiments of pumping mechanism is shown.This embodiment comprises elasticity pump blade 2710.Elasticity pump blade 2710 comprises to pumpblade 2710 provides elastic Hookean region 2830.Hookean region 2830 is attached to pumpblade 2810 by pumping actuated components 2820.When using together with valve pump (not shown), it is (not shown that theelasticity pump blade 2710 of Figure 42 will stop up intake channel, in Figure 45, be shown 2360) and then inflexible region 2830 places bending, to allow active force to applyparts 2820, to the fluid in step pumping chamber (not shown, be shown 2720 in Figure 45), apply further pressure.Active force applyparts 2820 can be all by the elastomeric materials of for example rubber.Yet in alternate embodiments, the region that only contacts pumping chamber (not shown) bottom is made by elastomeric material.Elasticity pump blade 2710 will turn back to its relaxed shape during backward stroke.
With reference now to Figure 47,, the cross sectional view of another embodiment of pumping mechanism is shown.Described pumping mechanism is illustrated as wherein lever in activating the interstage, and whereininlet valve 2941 is closed.Pumping mechanism comprisesflowline 2930, is themovable part 2330 of barrier film,inlet valve 2941lift valves 2940, pumping actuatedcomponents 2942, pumpingchamber 2350 andoutlet valve 22 in thisembodiment.Inlet valve 2941 and pumping actuatedcomponents 2942 each by byreturn spring 276 around and theshape memory actuator 278 that is connected to lever 273activate.Lever 273 activatesinlet valve 2941 and pumping actuated components 2942.Lever 273 comprises theelongated spring members 2910 that is attached to thelever 273 that is articulated withfulcrum 274 and ends at valve actuation hammer body 2946.Spring members 2910 can be crooked.Spring members 2910 is away fromlever 273 and towards the position ofinlet valve 2941 ground bias voltage valve actuation hammer bodies 2946.Lever 273 has the pumpactuating hammer body 2948 that is not attached tospring members 2910, and contiguous pumping actuatedcomponents 2942 location.
Electric current causes that shapememory actuator 278 contractions andlever 273 are aroundfulcrum 274 pivotables.Described pivotable is placed in valveactuation hammer body 2946 position that forcesinlet valve 2941 to be closed.Whenshape memory actuator 278 continues to shrink,lever 273 continues pivotable and pump actuatinghammer body 2948 presses to pumpingchamber 2350 by pump actuatedcomponents 2942, even when theelongated spring members 2910 of further compression.When realizing enough pressure, fluid pressure is openedoutlet valve 22, and fluid flows out by this valve.
During lax stroke,return spring 276 unloads andlever 273 is turned back to starting position, discharges pumping actuated components 2942.Inlet valve 2941 is opened.The elasticity of pumpingchamber 2350 causes that pumpingchamber 2350 fills again.
With reference now to Figure 48 and 49,, they briefly show, and pumping mechanism wherein adopts crankthrow 7200 and the cross section of embodiment thatvalve pump 2200 is combined with bias current valve.Crank throw 7200 is transformed into horizontal pump action power by the active force of rememberingactuator 278 generations by linearity configuration.Figure 48 illustrates described mechanism in resting or again in fill pattern, and Figure 49 illustrates described mechanism in actuatedstate.Actuator 278 shrinks and causes crankthrow 7200 aroundaxle 7210 rotations and be pressed against active force and apply on parts 2320.This driveselastic diaphragm 7220 be sealed inelasticity pumping film 2340 and towards dispensedchambers 122, actuate fluid from pumping chamber 2350.Return spring 276 cooperates to discharge pump action power with returnspring support member 7221, causes that pumpingchamber 2350 expands and fromreservoir 20 pumping fluids.Still with reference to Figure 48 and 49, biascurrent valve 4000 is also shown, it hasvalve spring 4010, lift valve orplunger 4020.
In some embodiment of above-mentioned pumping mechanism, be correlated with in one or more aspect of valve operation explanation below.With reference now to Figure 50,, the example of pent biascurrent valve 4000 is shown.Valve spring 4010 applies active force hermeticallyvalve barrier film 4060 is pressed to around thevalve seat 4070 of the terminal hole ofvalve export 4040 on lift valve 4020.Valve seat 4070 can comprise that circumferential raised portion is to improve sealing.As explained with reference to figure 54-55 below, the back pressure that the effect by elasticity allocation component forms should be not enough to cause the refluence by bias current valve 4000.As shown in Figure 51, when pump activated, should produce enough pressure so thatbarrier film 4060 andlift valve 4020 depart from fromvalve seat 4070, allow thus fluid to flow fromvalve inlet 4030, byinlet plenum 4050 and flow to valve export 4040.Figure 52-53 illustrate the alternative valve with thevalve seat 4070 of not being with circumferential raised portion.
With reference now to Figure 54 and 55,, illustrate how exemplary bias current valve is distinguished to the signal of flowing and flowing backwards forward.Figure 54 summary has represented the valve in the closed position.Back pressure inoutlet 4040 applies active force and therefore liftvalve 4020 can not be shifted out compared with zonule thecontiguous valve seat 4070 of elastomeric valves barrier film 4060.With reference now to Figure 55,, this figure has briefly showed the valve between pumping actuated components period of energization.The pressure of the fluid being pumped is adjacent to being greater than ofbarrier film 4060 on the region in region of valve seat and applies active force.As a result, inlet pressure has larger mechanical advantage so thatlift valve 4020 departs from valve seats, and in response to the action of pumping actuated components, makes to flow forward and occur immediately.Therefore, lower in outlet at import ratio for the required critical pressure of thelift valve 4020 that is shifted.Correspondingly, thus the active force being associated with fluid inlet and fluid issuing applies the spring-biased active force in region and size can be selected and flow substantially along forward direction.
With reference now to Figure 56,, the cross sectional view of scalable bias current valve 4130 is shown, described valve is to be similar to the operate of the bias current valve in Figure 50, but allow to regulate and open the necessary pressure of valve, i.e. " opening pressure " (in certain embodiments, can from 0.2 to 20 pound per square inch or " psi ").By rotating spring tensioning screw 4090, regulate opening pressure, described rotation changes the volume of recess 4080 with compression or decompress(ion) valve spring 4010, changes thus spring 4010 bias effect power.Valve spring 4010 towards valve barrier film 4060 biased pistons 4100 to be actuated valve seat.The active force that plunger 4100 performances are similar to the fixation power lift valve of bias current valve (being shown respectively 4020 and 4000 in Figure 50-53) applies function.Compression valve spring 4010, by increasing its biasing force, increases opening pressure thus.On the contrary, separate pressing spring 4010 and will reduce its biasing force and relevant opening pressure.Valve spring 4010 coaxially locates and applies on plunger 4100 its bias effect power around the axle of plunger 4100.In certain embodiments, the axle of plunger 4100 can be shorter than length valve spring 4010 and recess 4080, to allow it to be freely shifted in response to the fluid pressure increasing in fluid inlet 4030.Plunger 4100 can have brings into play the necessary any size of function as required.As in the embodiment of Figure 50-53, wetted portions can be arranged in single use portion 2610 and active force and apply member (for example, plunger and spring) and can be arranged in and can use part 2620 again.Operating principle is also similar; In fluid inlet 4030, with respect to the larger mechanical advantage that exports 4040, be more beneficial to and flow forward but not refluence.Alternately, plunger 4100 can be raised valve (being illustrated as 4020 in Figure 50-55) and substitutes.In certain embodiments, may expect to eliminate the valve seat raising; In these embodiments, plunger can be spherical or can concentrate another shape of active force.
Biascurrent valve 4000 alleviates or prevents from entering from dispensedchambers 122 refluence of pumpingchamber 2350 substantially.As in Figure 50-56,valve spring 4010 bias voltage lift valves orplunger 4040 are so thatbarrier film 7220 is pressed tovalve seat 4070, and its mode makes as flowing mechanical advantage is provided forward by line 310.By the function of performancepumping barrier film 2330 and valve barrier film,barrier film 7220 allowsflowline 310, pumpingchamber 2350 and pumping film 2340 (to be for example arranged in a member, single use portion 2610) and the remainder of pumping mechanism is arranged in second, removable member (for example, can use againpart 2620).By can be again with settling more durable and expensive member inpart 2620, can realize economy and convenience.
The pumping mechanism of describing in above various embodiment can be used in various devices with pumping fluid.As an exemplary embodiment, the pumping mechanism of describing in Figure 59 A-59E, Figure 60 A-60D and Figure 60 A-60C will be described to be integrated in fluid pumping device.
With reference to Figure 57 and 58, the alternative way for fluid signal is shown.They are two skeleton diagrams, and whereinreservoir 20 and pump 16 are coupled to allocation component 120.In the embodiment shown in Figure 57, reservoir and pump are in series connected to allocation component 120.In the embodiment shown in Figure 58,shunt line 150 connects and turns back toreservoir 20 from the output of pump 16.Because most of fluid output ofpump 16 is returned toreservoir 20 viashunt line 150, so pump 16 can comprise thevarious pumping mechanisms 16 that can not bring into play Figure 57 illustrated embodiment required function.Therefore, adopt therein in some embodiment of large volume pumping mechanism, it is functional thatshunt line 150 can be given little volume to large volume pumpingmechanism.Check valve 21 and the 22 and backflow that be included prevent do not wish occur directed with equidirectional.
With reference now to Figure 59,, the fluid skeleton diagram of an embodiment of fluid pumping device is shown.In this embodiment, fluid is arranged in thereservoir 20 that is connected to flowline 310.Flowline 310 is communicated withpumping mechanism 16, bybarrier film 2356 separation.Fluid is pumped into delivery device orsleeve pipe 5010 to flow to patient by current limiter 340.Should be appreciated that delivery device orsleeve pipe 5010 are not parts of device itself, but be attached to patient so that conveyance fluid.Descriptive system embodiment and they comprise delivery device orsleeve pipe 5010 in further detail below.
With reference now to Figure 59 B,, the alternate embodiments of skeleton diagram shown in Figure 59 A is shown.In Figure 59 A illustrated embodiment, fluid is pumped throughcurrent limiter 340 then by sleeve pipe 5010.Yet in Figure 59 B, fluid is not pumped through current limiter; But fluid is pumped through thesleeve pipe 5010 with same impedance.
In Figure 59 A and 59B, in one embodiment, utilize pump stroke rough calculation to be pumped into patient's fluid volume.Length of stroke will provide being pumped into the rough estimate of patient's volume.
With reference now to Figure 59 C,, the fluid skeleton diagram of an embodiment of fluid pumping device is shown.In this embodiment, fluid is arranged in thereservoir 20 that is connected to flowline 310 by partition 6270.Flowline 310 is communicated withpumping mechanism 16, bybarrier film 2356 separation.Fluid is pumped into variablevolume delivery chamber 122 and then bycurrent limiter 340, arrivessleeve pipe 5010 to flow to patient.
Use comprises acoustic volume sensing as above (AVS) assembly, variablevolume delivery chamber 122 and distributes theallocation component 120 ofspring 130 to determine the fluid volume of carrying.Be similar to pumping mechanism,barrier film 2356 forms variable volume dispensed chambers 122.Barrier film is made by the identical material of thebarrier film 2356 in pumping mechanism 16 (describing in detail in the above) (or, in certain embodiments, different materials).AVS assembly is described in the above in further detail.
With reference now to Figure 59 D,, the alternate embodiments of Figure 59 C illustrated embodiment is shown, in this embodiment, between variable
volume delivery chamber 122 and
sleeve pipe 5010, there is not current limiter
with reference now to Figure 59 E,, the alternate embodiments of Figure 59 C illustrated embodiment is shown, this embodiment is with
alternative pumping mechanism 16.
With reference now to Figure 59 A-59E,,reservoir 20 can be any fluid source, include but not limited to syringe, can subside reservoir medicated bag, vial, glass medicine bottle (glass vile) or can hold safely any other container of the fluid beingtransferred.Partition 6270 is the junction points betweenflowline 310 and reservoir 20.The various embodiment ofpartition 6270 andreservoir 20 are described below in further detail.
FLUID TRANSPORTATION device embodiment shown in Figure 59 A-59E can be used in the fluid of carrying any type.Additionally, this embodiment can be as one, two or three mating part and being used independently.With reference now to Figure 60 A-60D,, the identical embodiment describing about Figure 59 A-59D is illustrated as being separated into a plurality of mating parts.Part X comprises moveable part and part Y comprises flowline 310 and barrier film 2356.In some embodiment of this design, part Y is single use portion and part X is non-single use portion.The not direct contacting with fluid of part X, only part Y is the part with wetting zones.In above embodiment, reservoir 20 can have any size, and or is integrated in disposable unit or disposable unit independently.In arbitrary embodiment, reservoir 20 can be re-filled.Reservoir 20 is integrated in the embodiment in single use portion Y therein, and reservoir 20 can be manufactured into and be filled with fluid, or by partition 6270, uses syringe to fill reservoir 20 by patient or user.Reservoir 20 is in the embodiment of independently component therein, reservoir 20 can be manufactured into and be filled with fluid, or, patient or user use syringe (not shown) to fill reservoir 20 or manually use syringe to fill reservoir 20 by partition 6270 by load the partition 6270 of a part of device (not shown, to describe in further detail below) as reservoir.Be described below relevant further details of filling the process of reservoir 20.
Although described various embodiment about Figure 59 A-59E and Figure 60 A-60D, pumping mechanism can be any pumping mechanism of here describing as embodiment or have similar functions and the alternate embodiments of feature.For example, with reference now to Figure 61 A, be shown to have with similar embodiment shown in Figure 59 A the representative module that comprises pumping mechanism 16.This is to illustrate, and anypumping mechanism 16 described here or that play a role similarly can be used in described fluid pumping device.Similarly, Figure 61 B and Figure 61 C are the representatives of system that comprises respectively the embodiment of Figure 59 B and Figure 59 C.
In the operable device of patient, can realize the summary of above-mentioned fluid pumping device.There are a plurality of embodiment.Described device can be device or be integrated in another device independently.Described device can have any size or shape.Described device can be portable or non-portable.Term " portable " means patient and can tie up in the pocket region of health or otherwise carry described device.Term " non-portable " means described device and is arranged in health institution or family, and in addition, patient can not bring to their mobile almost any position by described device.The remainder of this explanation is using the portable device of paying close attention to as exemplary embodiment.
About portable device, described device can be worn by patient or be carried by patient.Patient wears in the embodiment of described device therein, and the object for this explanation is called " patch pump ".When patient carries described device, the object for this explanation, is called " portable pump ".
Explanation below can be applicable to the various embodiment about patch pump embodiment or portable pump embodiment.In various embodiments, this device comprises housing, pumping mechanism, flowline, movable part, reservoir, power supply and microprocessor.In various embodiments, allocation component, for example, comprise that the volume sensing device of AVS assembly is included in described device in certain embodiments.And embodiment can also comprise current limiter, but do not give and describing in this figure below because flowline to be illustrated as be homogeneous, with simplified schematic.For the object of this explanation, when comprising allocation component, exemplary embodiment will comprise AVS assembly.Although AVS assembly is preferred embodiment, in other embodiments, can use the volume sensing device of other type.Yet, in certain embodiments, do not use volume sensing device, but reservoir self will be determined the volume of the fluid carry, or be suitable for pump stroke and determine roughly carried volume.Should be appreciated that shown here summary device is intended to illustrate some changes in described device.Each all also can comprise sensor housing, vibrating motor, antenna, radio device or other member of describing about Figure 70-70D the embodiment being represented by these skeleton diagrams.Therefore, these describe to be not intended to limit described member but in order to illustrate how various members can be interrelated in device.
With reference now to Figure 62 A,, the skeleton diagram ofindividual devices 10 is shown.Housing 10 can have any shape or size and be adapted to desired use.For example, when described device is used as paster, described device will be enough compact so that itself can be worn.When described device is used as portable pump, thereby described device will enough compactly correspondingly be used.In certain embodiments, housing is made of plastics, and in certain embodiments, plastics are the plastics of any injection-molded fluid compatible, for example Merlon.In other embodiments, housing is made by the combination of aluminum or titanium and plastics or any other material, and described material is lightweight and durable in certain embodiments.Other material can include but not limited to rubber, steel, titanium and alloy thereof.As shown in Figure 62 A,device 10 can have required any size or required form.
Figure 62 A-69B is the skeleton diagram that exemplary embodiment is shown.Exact Design depends on several factors, includes but not limited to device size, Power Limitation and desired use.Therefore, Figure 62 A-69B is intended to the various features of outlines device and possible combination, yet those of ordinary skills can be easy to design and implementation practical devices.As an example, be described below and illustrate device embodiment.Yet these embodiment are not intended to restriction, and are intended to example.
With reference now to Figure 62 B,, about surface-mounted device, in certain embodiments,housing 10 comprises insertion region form 342.This form allows to have that a position ,Gai position delivery device or sleeve pipe (not shown) are inserted into it and insight patient.Shroud 5030 regions ofdevice 10 are shown here.Form 342, by being that transparent any material is made, includes but not limited to plastics.Althoughform 342 is shown on a device with concrete shape in a particular location, form 342 can be integrated in required any position in any housing embodiment.
With reference now to Figure 63 A,,device 10 is shown.Reservoir 20 is illustrated as being connected toflowline 310. flowline and is then connected to pumping mechanism 16.Allocation component 120 is illustrated as being connected to flowline 310.Pumping mechanism 16 andallocation component 120 is bybarrier film 2356 and separated with flowline 310.Shroud 5030 is positioned at the downstream of cubing device.Shape memory actuator 278 is illustrated as being connected to pumping mechanism 16.Microprocessor on printed circuit board (PCB) 13 and power supply oraccumulator 15 are included.Also can betweenallocation component 120 andshroud 5030, realize flow resistance as above.
With reference now to Figure 63 B,, thesimilar device 10 as shown in Figure 63 A is shown, just in this embodiment, do not comprise allocation component.In this embodiment, the fluid volume of carrying will depend on pump stroke (number and length), reservoir 20 (volume and time), both or above about monitoring any other method described in institute's conveyance fluid volume.
With reference now to Figure 63 C,, thesimilar device 10 as shown in Figure 63 B is shown, justdevice 10 comprises dispensedchambers 122 andsensor housing 5022.
With reference now to Figure 64 A,, an embodiment ofpatch pump device 10 is shown.The embodiment of thedevice 10 of this embodiment based on shown in Figure 63 A.In this embodiment,patch pump device 10 is divided into two parts: top X and base portion Y.Top X containspumping mechanism 16, allocation component 120 (it is optional, but illustrates as exemplary embodiment),power supply 15 and microprocessor and printed circuit board (PCB) 13.They are non-moistening elements, that is, and and their not direct contacting with fluid.Base portion Y containsflowline 310 and barrier film 2356.Whenreservoir 20 is built in described device, reservoir is also comprised on base portion Y.Yetreservoir 20 is in the embodiment of independently component therein, when assembling completely,reservoir 20 is connected to flowline (see Figure 66 A-66D and with reference to their explanation), and is not built in described device.
Patch pump device also comprises shroud 5030.This is the region atcover pipeline 5031 places.A part forflowline 310,cover pipeline 5031 allows sleeve pipes (or other delivery device) to receive fluids and to patient's (not shown) conveyance fluid.
With reference now to Figure 65 A,, in certain embodiments,sleeve pipe 5010 is directly inserted in patient body by housing 5030.Sleeve pipe 5010 is connected to the partition (not shown) that coverpipeline 5031 is connected tosleeve pipe 5010.
With reference now to Figure 65 B,, in other embodiments, use insertion external member (comprise sleeve pipe and pipeline, not shown in Figure 65 B, in Figure 64 B, be shownobject 5033 and 5010); Therefore, thepipeline 5033 of insertion external member is connected to sleeve pipe (not shown) by being connected on an end oncover pipeline 5030 and the opposed end at pipeline.
Refer again to Figure 64 A, in use, thereservoir 20 that fluid is contained in inside (as mentioned above, be molded in base portion Y or independently and be attached to base portion Y) be connected to flowline 310.Microprocessor transmitted signal on printed circuit board (PCB) 13, to activatepumping mechanism 16 and by being applied to the current start stroke of shape memory actuator 278.Fluid flow toallocation component 120 orAVS assembly flowline 310 from reservoir 20.Here, determine the accurate volume of fluid in AVS chamber and force fluid to flow out AVS chamber, flow to coverpipeline 5031 andshroud 5030.
With reference now to Figure 64 B,, shown in Figure 64 A, device is illustrated as being connected to insertion external member, that is, and andpipeline 5033 and sleeve pipe 5010.In Figure 64 C, the base portion Y of device is illustrated as using binding agent paster orpad 3100 and is attached topatient 12 health.Be noted that in this embodiment,element 3100 can be pad or paster.Yet as more described in detail below,object 3100 is called as paster, andobject 3220 is called as pad.Just to simple and clear object,use object 3100; Yet, in certain embodiments, use pad, therefore in those situations,object 3220 will be suitable.
Thereby byshroud 5030, inserting thesleeve pipe 5010 that utilizessleeve pipe partition 5060 to be coupled to coverpipeline 5031 is inserted in patient's 12 bodies.Yet about as shown in Fig. 2 B and described, base portion Y can fluidly be attached to patient by comprising the insertion external member ofpipeline 5033 andsleeve pipe 5010 as in the above.In Figure 64 B and 64C, base portion Y can or be attached to patient before insertingsleeve pipe 5010 afterwards.Refer again to Fig. 2 C, oncesleeve pipe 5010 in inserting patient's 12 bodies after, will directly from device, receive fluid and need not infuse and set pipeline (shown in Figure 64 B).Base portion Y is before insertingsleeve pipe 5010 or utilize afterwards bindingagent paster 3100 to be attached to patient 12.With reference now to Figure 64 D,, insleeve pipe 5010 has been inserted into patient's 12 bodies after, the top X ofdevice 10 and then be attached to the base portion Y ofdevice 10.
As described below, binding agent paster can have a lot of embodiment, and in some cases, described paster is placed on the top of device.Therefore the paster, illustrating is in these embodiments only an embodiment.As mentioned above, pad, if you are using, will be placed in the position identical with paster in Figure 64 A-64D.
With reference now to Figure 66 A-66D,, in this embodiment,reservoir 20 is illustrated as separated parts.As shown in Figure 66 A, base portion Y comprises thereservoir cavity 2645 with partition pin 6272.As shown in Figure 66 B,first reservoir 20 is placed in top reservoir cavity 2640.Now,reservoir 20 is not attached to device.Now, with reference to figure 66C, in the time of on top X is placed in base portion Y,reservoir 20 is sandwiched in base portion reservoir cavity 2645.As shown in Figure 66 D, by top being attached to the active force that base portion Y forms,partition pin 6272 is pushed in the partition ofreservoir 20 6270, thispartition 6270 is connected toreservoir 20flowline 310 of base portion Y.
With reference now to Figure 67 A-F,, the alternate embodiments of Figure 64 A, 64C and 66A-66D illustrated embodiment is shown.In these alternate embodiments, exceptshroud 5030, base portion Y comprises sensor housing 5022.With reference now to Figure 69 A-69B,,sensor housing 5022 andshroud 5030 include the outlet that arrives base portion Y downside, are shown respectively 5022 and 5030 in Figure 69 A.Embodiment shown in Figure 69 B depiction 69A, wherein sharp object is given prominence to by housing.Sensor housing holds sensor.In certain embodiments, sensor is analyte sensor.The analyte of institute's sensing comprises blood-glucose, but in other embodiments, and this analyte sensor can be the analyte sensor of required any type.
With reference now to Figure 67 B,, base portion Y is illustrated as being positioned onpatient 12health.Sensor 5020 is illustrated as by base portionY sensor housing 5022, being inserted in patient's 12 bodies.With reference now to Figure 67 C, in certain embodiments,sleeve pipe 5010 andsensor 5020 are side by side inserted into and enter in patient's 12 bodies by their corresponding housings (5030 and 5022).Below with reference to Figure 67 D, base portion Y be illustrated as utilizingsleeve pipe 5010 and by base portion Y be attached topatient 12sensor 5020 both be attached to patient.
With reference now to Figure 67 E,, thesleeve pipe 5010 that base portion Y is illustrated as being attached topatient 12 and inserts by shroud 5030.In this embodiment,sensor housing 5022 is illustrated as not having sensor.Yetsensor 5020 is shown in another location and inserts in patient's 12 bodies.Therefore, do not require thatsensor 5020 is inserted into by base portion Y, still, below described with monitor blood-glucose and can implement in this way by the relevant embodiment of sleeve pipe pumping insulin.Additionally, can implement in this way with in response to or relate to other relevant embodiment of the fluids administration of analyte level.
With reference now to Figure 67 F,, thedevice 10 by base portion Y withsensor 5020 andsleeve pipe 5010 is illustrated as having top X thereon.Again, in the embodiment shown in Figure 66 A-66D, once top X is placed in base portion Y above,reservoir 20 is connected to flowline 310 by fluid.
With reference now to Figure 68,, an embodiment of the portable pump embodiment ofdevice 10 is shown.In thisdevice 10, comprise that the insertion external member ofsleeve pipe 5010 andpipeline 5033 must be connected topatient 12 by the flowline in device 10.Therefore,sleeve pipe 5010 is not directly connected topatient 12 byportable pump device 10 in this embodiment.Additionally, although this embodiment can bring into play the function of describing about analyte sensor and fluid pump as below,sensor 5020 will be similar to the embodiment ofsensor 5020 shown in Fig. 5 F and is positioned at the outside ofportable pump device 10.
With reference now to Figure 70-70D,, the patch pump being described and portable pump embodiment all additionally contain the various members (in can Application Example) of allocation component, and for the embodiment that comprises AVS assembly, the various members of allocation component comprise at least one mike, temperature sensor, at least one speaker, variable volume dispensed chambers, variable volume chamber, port and reference chamber.In certain embodiments, this device contains one or more in device below: vibrator motor (and, in those embodiment, motor driver), antenna, radio device, skin temperature transducer, inject button, and one or more other button in certain embodiments.In certain embodiments, described antenna is quarter-wave tracking antenna.Antenna can be half-wavelength or quarter-wave tracking, dipole, one pole or loop antenna in other embodiments.Described radio device, is 2.4GHz radio device in certain embodiments, but in other embodiments, described radio device is 400MHz radio device.In a further embodiment, described radio device can be the radio device of any frequency.Therefore, in certain embodiments, described device comprises that intensity is enough to and the radio device of communicating by letter at the receptor in several feet of distances of described device.In certain embodiments, described device comprises the second radio device.In certain embodiments, described the second radio device can be special long distance wireless electric installation, for example 433 or 900MHz radio device, or, in certain embodiments, have any frequency in ISM frequency band or other frequency band, not shown in Figure 70-70D, described device contains screen and/or user interface in certain embodiments.
To the explanation of these members and various embodiment thereof, two kinds of type of device can be applicable to below, and and then the various embodiment about each type of device description can be applicable to.With reference now to Figure 67 F,, just to illustrative purpose,sleeve pipe 5010 andsensor 5020 have all been inserted in device 10.And with reference to figure 70-70D, various members (some of them nonessential being included in all embodiment) are illustrated as the electrical connection that summary represents those members.Figure 70-70D therefore representative can be included in the various elements in described device.According to dimensional requirement, Power Limitation, purposes and preference and other variable, these elements can mixed and coupling.Figure 70 illustrates the relation of Figure 70 A-70D.
Described device contains at least one microprocessor 271.This microprocessor can be the microprocessor that at least can process any speed that makes the necessary various electrical connections of described device operation.In certain embodiments, described device contains more than one microprocessor, and as shown in Figure 70 A-70B, described device is shown to have twomicroprocessors 271.
Microprocessor 271 (or in certain embodiments, multi-microprocessor) is connected to main printed circuit board (hereinafter, " PCB " refers to term " printed circuit board (PCB) ") 13.The power supply that is incertain embodiments accumulator 15 is connected to main PCB 13.In one embodiment,accumulator 15 is to be re-charged electric lithium polymer storage battery.In other embodiments, described accumulator can be removable accumulator or the chargeable accumulator of any type.
In certain embodiments, described device comprises theradio device 370 that is connected to main PCB13.Radio device 370 usesantenna 3580 to communicate by letter with remote controllers 3470.Therefore communication betweendevice 10 andremote controllers 3470 be wireless.
In certain embodiments, described device contains vibrating motor 3210.Vibratingmotor 3210 is connected to themotor driver 3211 onmain PCB 13motor drivers 3211.
Some embodiment comprise and inject button 3213.Injecting press-button structure 3213 thatbutton 3213 made by rubber or any other suitable material by user Xiang Ke applies active force and plays a role.This active force activates and is attached to the press-button actuated of injecting of injectingpress button 3214 on mainPCB 13.Switch 3214 activates single injecting, and it will illustrate the fluid of concrete predetermined will be fed to patient.After user presses and injectsbutton 3213, in certain embodiments,device 10 will produce alarm (for example, activate vibratingmotor 3210 and/or to remote controllers transmitted signal) to illustratebutton 3213 to be pressed to user.Then user for example needs, and bypress push button 3213, is confirmed to inject and should be transferred.In a further embodiment,remote controllers 3470 inquiry users inject and be transferred with confirmation.
Similarly inquiry/response sequence can be for various embodiment with test and report patient response.For example, described device for example can be configured to, for example, by producing alarm (, audition and/or haptic alerts) and waiting for patient's response (, actuation button 3213) and test patient response.Can be for example, at different time (, every five minutes) or when for example detecting the anomaly analysis thing level that monitors via analyte sensor or carrying out this test during via the state of the abnormal body temp of temperature sensor monitors.If patient does not provide suitable response in the given time, can by part, can send alarm to remote controllers or keeper again.For due to device fault or other former thereby may become lose consciousness or incapabitated patient for, this test and report may be valuable especially.
NITINOL circuit on main PCB 13 (reference figuration memory actuator in certain embodiments, is NITINOL strand) 278 provides electric current to NITINOL adapter.As shown in Figure 67 F and Figure 70 A, this device can comprise two NITINOL adapters 278 (with two NITINOL strands).Yet as mentioned above, in certain embodiments, this device comprises a NITINOL adapter (with a NITINOL strand).
In certain embodiments, this device comprises thetemperature sensor 3216 shown in Figure 70B.Temperature sensor 3216 is positioned on the downside of base portion Y and sensing patient's skin temperature.Skin temperature transducer 3216 is connected to the signal conditioner by 3217 representatives.As shown in Figure 70 B,Signal Regulation 3217 is represented as a square frame, yet this device comprises a plurality of signal conditioners as required, and each all filters unlike signal.Below,AVS temperature sensor 132,AVS mike 133 andanalyte sensor 5020 are all connected to the signal conditioner representing in a square frame as 3217.
AVS speaker 134 is connected to the loudspeaker drive 135 on main PCB 13.AVS speaker 134 is audition additional loudspeaker in one embodiment.Yet in other embodiments, speaker 134 (speaker that contains voice coil loudspeaker voice coil, with the magnet of solenoid) is piezoelectric speaker (is shown in Figure 50, represents an embodiment of described device).
Still with reference to figure 70-70D, in certain embodiments,antenna 3580 has special-purpose PCB3581, and then this special use PCB is connected to main PCB 13.And in certain embodiments, each all has the special-purpose PCB1332,1333 that is connected tomain PCB 13 AVS mike 133.Can use traditional method, for example flexible circuit or wire, be connected tomain PCB 13 by various PCB.
With reference to figure 67F, for the purpose of illustration, as exemplary embodiment,device 10 is shown.Yet the layout of various piece can change, and a lot of embodiment are shown below.Yet other alternate embodiments is not illustrated, but can be determined based on size, power and purposes.
According to alternate embodiments,single use portion 2610 can comprisereservoir 20 and comprise alternatively accumulator.Reservoir 20 can form one or otherwise be connected to single use portion with single use portion.Accumulator can be for the main or unique power supply of described device or can be back-up source, and can with the electronic device in part and/or single use portion, provide electric power forXiang Kezai.Reservoir 20 and accumulator generally all require periodic replacement, so these two members are included insingle use portion 2610 convenience of this increase of changing can be provided to user simultaneously.Additionally, by change accumulator when changing reservoir at every turn, user can more difficultly make exhaustion of the accumulators.
Single use portion 2610 can be additionally or is alternately comprised processor, this processor can be for, for example, in the situation breaking down (for example, can be again by the fault of the master controller in part) continue the operation of some device, to produce alarm in the situation breaking down, or Xiang Kezai provides status information by part.About status information, processor can keep following the tracks of the operation history of single use portion and various characteristics and reserved state information in case between the installation period ofsingle use portion 2610 by user,FLUID TRANSPORTATION device 10 and/oruser interface 14 access.For example, can storage relevant with shelf life, maximum exposure or operative temperature, manufacturer, safety distribution restriction of being used for the treatment of etc. the state of processor.If it is unacceptable that described device is determined any one of these positioning indicators, described device can be refused to pump and allocation component power supply and illustrate single use portion to use to user.Processor can be by using the storage battery power supply in part or single use portion again.
More generally, this device can be configured to via bar code reader, or (comprise from any single use portion via RFID technology, for example,single use portion 2610 and as used herein any disposable member, for example fluid reservoirs, accumulator or sharp-pointed cartridge case or each sharp-pointed member), for example, from being placed in the processor of single use portion, obtain status information.For example, if described device (detects single use portion existing problems, for using again invalid model numbering or the fluid of part expired), described device can be taked remedial action, as, for example prevent or stop device operation and produce suitable alarm.
Other member can be included in certain embodiments.For example, can adopt standby fault-finding and notice mechanism.Described device can adopt audible alarm.Themicrophone 1202 ofsensor 550 can be for audible alarm, or other speaker can comprise microphone and for audible alarm.Device vibrating mechanism 3210 also can be used as siren.If detect the system failure that requirement is paid close attention at once, two sirens all can activated.Additionally, can be used as the backup of main accumulator is adopted to chargeable storage or ultracapacitor.If arbitrary accumulator all can not be worked, controller can activate one or more siren, thereby sends at least one notice of accumulator failure.
Siren can also be for illustrating device correctly to work to user.For example, user may be about carrying injecting of specific period to described device programming.User may expect to know that programmed conveying correctly carries out.Processor can use vibrating motor or audio sound to illustrate that successfully programming is carried.Therefore, in some embodiment of described device, can adopt some mechanisms to provide sure or negative feedback to patient or user.
Mike also can be for surveying the shortage of any abnormal vibrations or normal vibration, and trigger alarm state.In various embodiments, the mike of acoustic volume sensing system can be for carrying out this supervision, or can comprise that independent mike is for this supervision.Also can check the execution cycle, to determine that by utilizing the pump of mike inspection expection to vibrate described device operates.If mike detects incorrect vibration, if or correct vibration be not detected, can activate siren.
With reference now to Figure 71,, briefly show the various members of device 10.In an embodiment ofdevice 10, top X coordinates with base portion Y andreservoir 20 is sandwiched between top X and base portion Y.Clamping action power allowsreservoir partition 6272 to match with base portion Y.In certain embodiments,delivery device 5010 andanalyte sensor 5020 all insert and enter in patient's (not shown) body by base portion Y.
In a lot of embodiment, base portion Y andreservoir 20 are that single use portion and top X are non-single useportion.Delivery device 5010 and analyte sensor are all also disposable.
As previously discussed, patch pump device can be disposable in whole or in part.Figure 72 illustrates the embodiment of theFLUID TRANSPORTATION device 10 with disposable and non-once part.In this embodiment, single use portion Y contains the member directly contacting with fluid, comprise thereservoir 20 that can subside, pump (not shown), variable volume dispensed chambers 122 (allocation component 120 be positioned at the part on the X of top) and current limiter (not shown), and reservoir is connected to fluid path (not shown) and the check valve (not shown) of the pumping mechanism of variable volume dispensed chambers 122.Additionally, single use portion Y comprisesreservoir cavity 2645.
Can with part X, comprise again the element ofallocation component 120, except being positioned at the variable volume dispensedchambers 122 on single use portion Y.In certain embodiments,allocation component 120 is AVS assemblies.Describe AVS assembly in the above in detail.With reference now to Figure 73,, Integrated Acoustic cubing sensor is illustrated on PCB.
With reference now to Figure 74,, thedevice 10 shown in Figure 49 is shown.Base portion single use portion Y comprises reservoir cavity 2645.Top non-once part X comprisesaccumulator 15 and allocation component 120.Mike 133 anddiaphragm spring 130 are shown.In certain embodiments,allocation component 120 comprises more than one mike.Although run through this explanation, each mike is all known as 133, and this does not illustrate mike always identical.In certain embodiments, mike is identical, and in other embodiments, mike is different.
In Figure 74, top non-once part X also comprisesmain PCB 13, vibratingmotor 3210 and pumping actuated components 54.Top, non-once part X comprise AVS assembly or allocation component 120.In Figure 74,mike 133 is shown.Top, non-once part X also comprise can be for theaccumulator 15 of the electronic device power supply in non-once part and/or single use portion.In certain embodiments, thisaccumulator 15 is rechargeable.Can recharge by the method being described below.Single use portion Y comprises the moistening member with flowline (not shown) and pump.In Figure 74, only pumpingplunger 54 can be seen.This embodiment ofdevice 10 can also comprise above-mentioned a lot of elements, includes but not limited to flow resistance, flexible partition, shroud and sensor housing.Can use any pumping mechanism.
With reference now to Figure 75,, can see thereindevice 10 shown in another view of multicomponent more.In Figure 75,device 10 is shown to have and comprises coiling microtubulecurrent limiter 340 and be connected the base portion single use portion Y ofimport 21 with theflowline 310 ofoutlet 22 valves.Pumping actuatedcomponents 54 is also shown.Top X comprisesmain PCB 13, vibratingmotor 3210, twomikes 133,speaker 134,reference chamber 127 and fixed volume chambers 129.Accumulator 15 is also shown.Because select very little diameter forcurrent limiter 340, may causeflowline 310 obstructions (for example, due to polymerization of protein in treatment fluid), therefore may expect to use the longer pipeline of length with larger diameter.Yet, for the housing intermediate package in patch size has the pipeline of length, may crooked pipeline to form crooked route, for example coiling or snakelike.
With reference now to Figure 76,, the decomposition view of thedevice 10 shown in Figure 72,74 and 75 is shown.Top, non-once part X are illustrated as separated with base portion single use portion Y.In practice, reservoir (not shown) will be placed between top X and base portion Y part.Once top X and base portion Y are assembled to formdevice 10, reservoir will be connected toflowline 310.
With reference now to Figure 77,, the decomposition view of another embodiment of thedevice 10 that comprises disposable base portion Y and non-once top X part is shown.Also comprisereservoir 20, keep bindingagent 3100 and bridge joint 5040 equipment ofdelivery device 5010 and sensor 5020.Thisdevice 10 comprises trace and the domed shape ofsphering more.Accumulator 15 andmain PCB 13 are illustrated as being positioned on the X of top.Base portion Y comprises reservoir cavity2645.At binding agent 3100 shown in two-piece type embodiment.Bridge joint 5040 is for insertingdelivery device 5010 andsensor 5020 by baseportion Y.Reservoir 20 is shown to have irregularly shaped, yet in other embodiments,reservoir 20 can have any shape and can be varying sized according to required fluid displacement.In this embodiment ofdevice 10, non-moistening member is arranged in top non-once part X and moistening member is arranged in base portion single use portion Y.
When assembled,device 10 can utilize binding agent middle section (not shown) to be attached to together.Alternately,device 10 can be used any one embodiment for a lot of embodiment of locking described here to be mechanically locked into together.Although be described below some embodiment here, a lot of other embodiment are apparent, and when device shape changes, in a lot of situations, lockset also will change.
With reference now to Figure 78,, the decomposition view of another embodiment ofdevice 10 is shown.Top non-once part X is basic domed shape, yet, protrude X1 and be illustrated as holding the mechanism in the X of top.Therefore, device shape can change and can comprise polyp portion (polyps) and protrusion, scrobicula and other textured feature, to be suitable for the various designs of described device.
Reservoir 20,delivery device 5010 andsensor 5020 areshown.Delivery device 5010 andsensor 5020 can insert and enter in patient's (not shown) body by base portion Y.Base portion Y is shown in has bindingagent 3100 orpad 3220 below.In practice, firstbinding agent 3100 orpad 3220 can be attached to skin and base portion Y.Then,delivery device 5010 andsensor 5020 insert (not shown, to be illustrated as 5020 and 5010 in Figure 79) in patient body by base portion Y.Then byfirst reservoir 20 being placed in to top X, be then sandwiched between top X and base portion Y, or,reservoir 20 is placed in toreservoir cavity 2645 and be then sandwiched in top X and base portion Y between,reservoir 20 is placed in to reservoir cavity 2645.Either type all can be used.Final result is thatreservoir 20 is connected to by the partition on reservoir 20 (be reversed and illustrate) and partition pin (not shown, to see 6272) the flowline (not shown) that is arranged in base portion Y.Then, by using binding agent, or in this embodiment by mechanically usinglockset 654 that top X and base portion Y are clipped together and top X is fixed to base portion Y.
Base portion Y comprises those wetted members.Base portion Y is disposable.Top X comprises non-moistening member.Top X right and wrong are disposable.With reference now to Figure 79,, base portion Y comprises variable volume dispensedchambers 122,inlet valve 21 andoutlet valve 22 and pumping chamber 2350.As shown in the drawing, those elements are illustrated as covering the barrier film as the region of chamber or valve.Therefore, base portion Y comprises barrier film, and this barrier film keeps wetting zones securely, therefore, has kept such as the non-wetting zones in the (not shown) of top.As shown in Figure 79,sensor 5020 anddelivery device 5010 have been inserted in their corresponding housings and by base portion Y and have arrived patient's (not shown).Base portion Y is shown to havereservoir cavity 2645, but need to connect reservoir (not shown), thereby has been connected from reservoir to chamber and to the flowline of delivery device.
With reference now to Figure 80,, the top X of described device is shown.Top X comprises those non-moistening members, comprises, as shown in the figure,temperature sensor 3216,diaphragm spring 130, inletvalve lift valve 21 and outletvalve lift valve 22 and pumping actuated components 54.Top Y also comprises thatrecess 2640 is to hold reservoir (not shown).
With reference now to Figure 81 A-81C,, the sequence of clamping the process ofreservoir 20 between top X and base portion Y for being shown in is shown.As shown in Figure 81 A, thereservoir 20 of top X and X outside, top is shown.Reservoir comprises partition 6270.Top X comprises reservoir recess 2640.Below, as shown in Figure 81 B, prepare top to clamp together with base portion Y.With reference now to Figure 81 C,,reservoir 20 is placed in base portion Y, wherein under partition side direction.Partition will be connected and reservoir is connected to flowline (not shown) with the partition pin (not shown) with sleeve pipe in base portion Y.In alternate embodiments, reservoir can comprise with the pin of sleeve pipe but not partition, and fluid path can comprise the reservoir interface with partition, but not with the pin of sleeve pipe.
Below with reference to Figure 82, top X is shown, wherein pumpingmechanism 16 embodiment isdecomposed.Pumping mechanism 16 is mounted in the pumping mechanism housing 18 in the X of top.A part of thelockset 654 that base portion Y is also shown and top X and base portion Y are clipped together.
With reference now to Figure 83,, base portion Y is shown, wherein using fluid path assembly 166 as thebarrier film 2356 decomposing from base portion Y.This illustrates in some embodiment of device, andfluid path assembly 166 is to insert in base portion Y and the individual components that utilizesbarrier film 2356 to clamp.Also illustrate in the figure, binding agent in certain embodiments orpad 3100/3220 comprise the hole for delivery device and sensor (not shown).With reference now to Figure 84,, the bottom view of base portion Y is shown.The bottom offluid path assembly 166.
With reference now to Figure 85 A and 85B,, another embodiment of device is shown.In this embodiment, also the disposable top X of right and wrong comprises and injects button 654.Reservoir 20 illustrates with decomposition view, yet in one embodiment,reservoir 20 is built in base portion Y.In another embodiment,reservoir 20 is removable and uses to be similar in the above and be placed inreservoir cavity 2645 about the process described in another embodiment of device.
Base portion Y is disposable and comprises the wetted portions of device 10.Sensor 5020,sleeve pipe 5010, variable volume dispensedchambers 122,inlet valve region 21,outlet valve region 22 and pumping chamber 2350.Capacity distribution chamber,inlet valve region 21,outlet valve region 22 and pumping chamber 2354 are all covered by diaphragm material, and described diaphragm material can have the form of single barrier film or different barrier films.
Utilize thelocking mechanism 654 on top X and base portion Y thatdevice 10 is clipped together.With reference now to Figure 85 C-85D,,device 10 is the retainingmechanisms 654 that are shown in open position (Figure 85 C) and clamping or closed position (Figure 85 D).Can also see and injectbutton 3213 as what more describe in detail in the above.
Lid (not shown) can be provided in any one of described device embodiment, substitutes reservoir and top when base portion is connected to patient to be removed when reservoir.Described lid will not contain electric member, therefore, can in moisture state, use.Yet in some cases, reservoir can be removed and not use any lid.
Sleeve pipe and inserter
Figure 86 A briefly shows transfusion and the exemplary embodiment ofsensor cluster 5040, and described assembly comprises can be the delivery device of sleeve pipe orpin 5010 and comprisesensor probe 5025 and the analyte sensor of sensor base portion 5023.Bridge joint 5070 is securely in conjunction withtransfusion sleeve pipe 5010 and analyte sensor base portion 5023.Delivery device 5010 is defined bypartition 5060 on upside, and described partition allows fluid flow and be supplied to patient bydelivery device 5010 from fluid source.Sensor base portion 5023 is the parts in patient body that are not inserted into of analyte sensor.In one embodiment,base portion 5023 is containing the electric contact that is useful on blood-glucose electrochemical analysis.Probe 5025 is outstanding from thebase portion 5023 ofanalyte sensor 5020.
With reference now to Figure 86 B,, in this embodiment,delivery device 5010 is to use introducingpin 5240 to be introduced into the sleeve pipe in patient body.In the time of in being inserted into patient body, introducingpin 5240 and be arranged in sleeve pipe 5010.Aftersleeve pipe 5010 is inserted in patient bodies, introduce thatpin 5240 is removed andpartition 5060 is sealed with respect to fluid source, in some embodiment of device described here, described fluid source is flowline.In certain embodiments,sensor probe 5025 is associated with introducingpin 5072, and this helps skin penetrating, to insert sensor probe 5025.Whensensor probe 5025 is inserted in patient body, sensor is introducedpin 5072 in certain embodiments at least in part aroundsensor probe 5025.
In other embodiments,delivery device 5010 is pins and does not need to introduce pin 5240.In these embodiments,delivery device 5010 is inserted in patient body andpartition 5060 sealant flow body sources.
In Figure 86 A and 86B, whendelivery device 5010 andsensor probe 5025 are all suitably arranged, active force is applied to bridge joint 5070.This forcesdelivery device 5010 andsensor probe 5025 to enter in patient body.Once be positioned at patient body, by hole actuation ofrelease 5052, thusdelivery device 5010 is separated withpartition 5060, andsensor base portion 5023 is separated with bridge joint 5070.With reference to figure 86B, wherein used introducingpin 5240 and 5072, they conventionally remain and are attached to bridge joint 5070 after inserting.
Described bridge joint can be made by any material requested that comprises plastics.Sleeve pipe can be any sleeve pipe in thisarea.Partition 5060 can be made and be had any design that can produce required function by rubber or plastics.Delivery device is in the embodiment of pin therein, and any pin all can be used.Use therein in the embodiment that introduces pin, any pin, pin device or introducing device all can be used.
Transfusion and sensor cluster require to apply active force, thereby are inserted in patient body.And transfusion and sensor cluster require to discharge delivery device and sensor from transfusion and sensor cluster.Therefore, active force and release member all can manually be activated, and, carry out the personnel of these functions that is, or, insert device and can be used to correctly activate described assembly.With reference now to Figure 87 A-87E,, illustrating can be by the example of theinserter 5011 with manual mode ofoperation.Delivery device 5010 andsensor 5023 are bridged 5070maintenances.Inserter 5011 comprises for bothlids 5012 ofdelivery device 5010 and sensor 5023.As shown in Figure 87 B-87E,use inserter 5011,delivery device 5010 andsensor 5023 are all inserted in this device 10.Although Figure 87 A illustrates the sharp object being exposed, in certain embodiments,lid 5012 encapsulated sharp object completely before insertion process.
Inserter 5011 can be manually actuated, but also can be bonded in another inserter device, thereby can application machine advantage.With reference now to Figure 88 A-88B,, an embodiment ofinserter device 5013 is used to be similar to the equipment ofinserter 5012 shown in Figure 87 A-87E.The mechanism ofinserter device 5013 is shown in Figure 88 C-88D.Actuation lever 5014 retracting springs (as shown in Figure 88 C-88D) or provide and allowinserter 5012 to be inserted into another mechanical advantage in device (not shown).Inserter 5012 therefore byrelease delivery device 5010 andsensor 5023 and then inserter 5012 can be removed frominserter device 5013 andinserter device 5013 is re-filled, orinserter device 5013 andinserter 5012 can go out of use.
Various insertion devices have here been described.Yet, in other embodiments, used different insertion devices, or delivery device and sensor are manually introduced.
Can comprise for transfusion and sensor cluster 5040 are fixed to the feature of automatic inserter.For example, in Figure 86 A-86B, be illustrated as the pin that 5052 release member can receive automatic inserter part.With reference to figure 89A and 89B, the exemplary embodiment of automatic inserter 5100 is shown.As shown in the front view of Figure 89 A, inserter 5100 is included in the pin 5130 of advancing in the pin slit 5140 inserting in cartridge case recess 5120.In practice, transfusion and sensor cluster (not shown, be shown 5040 in Figure 86 A and 86B) are pressed in cartridge case recess 5120, cause that pin 5130 is inserted in the hole in transfusion and sensor cluster (being illustrated as 5052 in Figure 86 A and 86B).As shown in the rearview of Figure 89 B, cocking lever 5145 is used to prepare inserter 5100 to discharge.Then inserter 5100 is held skin or aims at shroud on base portion (not shown) and sensor housing and being released by depression of trigger 5110.When discharging, sell 5130 and advance in their slit 5140, force thus delivery device and sensor (all not shown) to enter in patient body.The 5160 restriction transfusions of inserter footing and sensor cluster are advanced downwards.Inserter also can automatically be introduced pin (not shown, to see Figure 86 B) from transfusion and sensor cluster retraction.
Before distributing to terminal use, transfusion and sensor cluster can be preloaded in inserter 5100.As shown in Figure 90, in other embodiments,cartridge case 5080 can and be protected the sharp object keeping in the assembly that is illustrated as 5040 in Figure 56 A and 56B for the protection of user.With reference to Figure 90 and Figure 86 A-86B and Figure 89 A, incartridge case embodiment 5080, transfusion andsensor cluster 5040 embed in cartridge case 5080.Cartridge case 5080 is installed in cartridge case recess 5120.Pin 5130 can be given prominence to and be entered in thegroove 5090 incartridge case 5080 by hole 5052.After activatinginserter 5100, atcartridge case 5080, when patient advances, pin advances to insert sharp object in groove 5090.Cartridge case 5080 can be by constructed of rigid materials.
With reference now to Figure 91 A-91C,, a plurality of views for the embodiment of the inserter mechanism of inserter are shown, for example in Figure 89 A and 89B, be illustrated as 5100 one.Figure 91 A illustrates the perspective view of an embodiment of inserter mechanism, and Figure 91 B illustrates front view, and Figure 91 C illustrates side view.Inserter 5100 has cocking lever 5145, and it is connected to hammer body stage clip slide block 5330 via stage clip connecting rod 5350, and for stage clip slide block 5330 is moved to load situation.Power spring 5390 is connected to trigger 5110 by hammer body stage clip slide block 5330, and, when compressed, provide and insert delivery device or transfusion and the necessary downward active force of sensor cluster (not shown).Triggering hammer body 5340 is placed between the below and a pair of stage clip connecting rod 5350 of hammer body stage clip slide block 5330; Trigger hammer body 5340 and transmit the kinetic energy discharging from power spring 5390 when depression of trigger 5110.The triggering hammer body 5340 being energized impacts the cartridge case bolt 5380 that is positioned at below.Cartridge case bolt 5380 is coupled to the cartridge case housing 5370 that holds cartridge case, for example, shown in Figure 90 one of them.Cartridge case bolt 5380 is also placed on the top of return spring 5360 cartridge case housing 5350 is turned back to contracting and gives up the throne and put.
Figure 92 A-92F briefly shows for perk (cock) and discharges has the time series with reference to the inserter 5100 of the described type of figure 91A-91C.Figure 92 A illustrates and draws together device 5100 in rest position.Reduce stage clip lever (not shown, to see Figure 91 A, 5145) and cause that hammer body stage clip slide block 5330 reduces and joint triggers hammer body 5340.Figure 92 B illustrates in the position of hammer body stage clip slide block 5330 in reducing, and in this position, it engages and triggers hammer body 5340.Rising cocking lever causes that hammer body stage clip slide block 5330 and hammer body 5340 are raised, so compression power spring 5390; Result position is shown in Figure 92 C.After guaranteeing correctly to locate inserter 5100 with respect to base portion (not shown) and/or patient skin, trigger is depressed, and sends downwards and triggers hammer body 5340 thus; Figure 92 D illustrates in triggering hammer body 5340 in transit.As shown in Figure 92 E, trigger hammer body 5340 and impact cartridge case bolts 5380, cause that it advances downwards, be inserted in the one or more pins that keep in cartridge case housing (not shown), and compression retracteding position spring 5360.Figure 92 F illustrates return spring 5360 in upwards actuating the process of cartridge case bolt 5380; This causes cartridge case housing and the cartridge case (not shown) wherein comprising and any introducing pin being associated using retreat.
With reference now to Figure 93 A-93C,, illustrate for the embodiment of seasonal effect in time series in base portion Y is inserted and be fixed to delivery device (that is, sleeve pipe or pin 5010).Figure 93 A illustrates the base portion Y with the lock feature 5210 that is positioned at shroud 5030 tops.When inserting delivery device or sleeve pipe 5010, base portion Y locates against patient 5220 skin conventionally.Figure 93 B illustrates and forces sleeve pipe 5010 by the shroud 5030 in base portion Y.In the figure, use and introduce pin 5240, it runs through partition (not shown) and coaxially locates in sleeve pipe 5010; The sharp point of introducing pin 5240 occurs to pierce through patient 5220 from the top (not shown) of sleeve pipe 5010.During inserting sleeve pipe 5010, elastic locking feature 5210 is pushed to a side.Figure 93 C illustrates the shroud 5030 of sleeve pipe 5010 by base portion Y and is fully inserted into, and wherein cannula tip is fully inserted in patient's 5220 bodies.Introduce that pin 5240 has been removed and partition 5060 with respect to fluid source or the self sealss of flowline (not shown).Elastic locking feature 5210 abutment sleeve 5010, prevent that sleeve pipe 5010 from moving with respect to base portion Y thus.Although Figure 93 A-93C illustrates sleeve pipe 5010, can use and with the lock feature 5210 of describing and method, the transfusion shown in Figure 86 B and sensor cluster inserted shown in Figure 93 A-93C.
With reference now to Figure 92 G-92H,, in order to inserter, for example at that the insertion cartridge case screw bolt locking mechanism using together shown in Figure 91 A-92F, be illustrated as 5100.Cartridge case screw bolt locking mechanism can be as interlocking, to prevent the unexpected release during by perk when mechanism.Retaining mechanism comprises brake component 5420, and in the time of in being bonded on brake component recess 5410, this brake component 5420 prevents that cartridge case bolt 5380 from moving downward.As shown in Figure 92 G, when stage clip lever 5145 is in the closed position, stage clip lever 5145 contact brake component levers 5440, thereby rotation brake part 5420 and prevent that brake component 5420 is inserted in brake component recess 5410.Be placed in brake component spring 5430 between brake component 5420 and brake component spring support 5450 in compression position.Cartridge case bolt 5380 and triggering hammer body 5340 move freely.As shown in Figure 92 H, when stage clip lever 5145 rotates to in upper/lower positions time, brake component lever 5440 is released, allow thus brake component spring 5430 to force brake component 5420 to be inserted into (brake component 5420 is illustrated as being arranged in recess, but is illustrated as 5410 at recess described in Figure 92 G) in recess here; Prevent thus moving downward of cartridge case bolt 5380.The returning and then brake component 5420 turned back to unlocked position of stage clip lever 5145.Then cartridge case bolt 5380 freely moves downward in trigger process.
With reference now to Figure 94 A-94C,, an embodiment of the process thatsleeve pipe 5010 is coupled to base portion Y and is communicated withflowline 310 formation fluids is shown, its middle sleeve is the traditional sleeve (as shown in Figure 86 B) that pin is introduced in requirement.Figure 94 A illustrates and has two partitions the cross sectional view of thesleeve pipe 5010 of (introducingpin partition 5062 andflowline partition 5270).Introduce thepath 5280 of the hollow needle (not shown, be illustrated as 5290 in Figure 94 B) ofpin partition 5062 seal guide sleeve pipes 5010.Sleeve pipe is introducedpin 5240 and is illustrated as being positioned at and introducespin partition 5062 tops and just in time before inserting and introducingpin 5240.
With reference now to Figure 94 B,, introducepin 5240 and be illustrated as inserting by introducing pin partition 5062.User is coupled tosleeve pipe 5010 in base portion Y, and described base portion has towards upper rigid hollow pin 5290.During insleeve pipe 5010 is inserted to base portion Y, introducepin 5240 and pierce throughflowline partition 5270, to form fluid betweenflowline 310 andpath 5280, be communicated with.If base portion Y is retained as the (not shown) against patient during insleeve pipe 5010 is inserted to base portion Y, betweenflowline 310 andpath 5280, forms fluid and be communicated with being pierced the approximately identical time of time with patient skin.With reference now to Figure 94 C,, thesleeve pipe 5010 being fully inserted in base portion Y is shown, wherein introduce that pin is removed and form fluids withflowline 310 and be communicated with.
In alternate embodiments, by the vibrating motor assisted transfusion device that cooperates with FLUID TRANSPORTATION device and/or the insertion of sensor.With the insertion of delivery device and/or sensor side by side, vibrating motor can activated.
Binding agent
With reference now to Figure 95,, illustrate for for example object ofFLUID TRANSPORTATION device 10 being fixed to the top perspective of an embodiment of thebinding agent paster 3100 of patient's (not shown) skin.Although bindingagent paster 3100 is illustrated as current shape, can use other shape.Can use anybinding agent paster 3100 that can keep securely FLUID TRANSPORTATION device.
FLUID TRANSPORTATION device 10 be securely held in by bindingagent parts 3111 be attached to patient skin bindingagent paster 3100middle section 3130 below.
These bindingagent parts 3111 scatter with radial pattern frommiddle section 3130 and pass through 3121 spaces, region between two parties.The radial arrangement of bindingagent parts 3111 allows, with fast way,device 10 is attached to patient.In certain embodiments,middle section 3130 coverswhole devices 10, yet, in other embodiments, a part formiddle section 3130 covering devices 10.Middle section 3130 can also comprise interlocking attachment feature (not shown), and it can be supported by the complementary interlock feature (not shown) of device 10.In alternate embodiments,device 10 is attached on the top of middle section 3130 (for example,, by binding agent or interlock feature) securely.
Bindingagent paster 3100 normally flat and by polymer flake or fabric, formed.Bindingagent paster 3100 can be supplied with the binding agent adhering in a side, and is subject to for example protection of the release liner of peelable plastic sheet, and it will be looser to being attached to described release liner comparing binding agent with paster 3100.Described liner can be single serialgram, or can be divided into a plurality of regions that can be removed respectively.
In illustrative examples, for the liner of middle section 3130, can be removed and not remove the liner for binding agent parts 3111.In order to use binding agent paster 3100, the binding agent newly exposing that user removes the liner of middle section 3130 and device 10 pressed to middle section is to be attached to middle section 3130 by device 10.Then user is placed into described device on skin again, from binding agent parts 3111, removes liner, and binding agent parts are attached to skin, and utilizes other parts to repeat attaching process.User can adhere to all binding agent parts 3111 or some parts only, and saves other binding agent parts 3111 to use in another day.Because be generally used for being attached to the binding agent of skin, only within a couple of days, keep attachment securely, therefore at same date not, use one group of binding agent parts 3111 (for example,, every 3 to 5 days) to keep being attached to securely the time of skin and reduce time, cost and the sense of discomfort often relating to while again applying described device extending device 10.Different small pieces can have for example different colours or digital labelling, to indicate the appropriate time that adheres to various binding agent parts 3111.Binding agent parts 3111 can comprise perforation, make it more fragile with respect to middle section 3130, thereby binding agent parts used can be removed after using.With reference to figure 79-83, discussed for extending and made device 10 keep the other embodiment of persistent period of adhering in the above.
Figure 96 briefly shows the cross sectional view ofFLUID TRANSPORTATION device 10, thesleeve pipe 5010 being wherein inserted into be securely held inbinding agent paster 3100below.Pad 3220 can be included betweendevice 10 andpatient skin 3250 and allow air flow to skin.Can be by comprising that atpad 3220path 3230 is increased to the Air Flow of skin.Also can be by using a plurality of pads separately or by utilizing high porositymaterial structure pad 3220 to form paths 3230.Therefore,pad 3220 can have any shape and size, and in certain embodiments,pad 3220 consists of the sheet of a plurality ofseparation.Pad 3220 can be attached to the downside ofdevice 10 during manufacture, or can be attached todevice 10 by user.Alternately,pad 3220 can be placed on skin by user's loosely before using binding agent paster 3100.Pad 3220 can comprise submissive material, for example porous polymer foam.
Figure 97 illustrates embodiments of the invention, and it uses the firstbinding agent paster 3100 and otherbinding agent paster 3300 so that device (not shown) is fixed to patient.First, device (not shown) is positioned and uses thebinding agent paster 3100 of lamellar-bindingagent parts 3111 to be fixed to patient skin (not shown) to use and utilize.Middle section 3130 can be positioned at (as shown) in described top device or be fixed on it below.After long or short a period of time, locate the secondbinding agent paster 3300, so that its middle section is positioned on the top of the firstbinding agent paster 3100, and be fixed to patient skin in the region between two parties of the bindingagent parts 3320 of the second binding agent paster between thebinding agent parts 3111 of the first binding agent paster.Weak section can be provided to remove the loose or unwantedbinding agent parts 3111 relevant with thepaster 3100 of early stage placement.
With reference now to Figure 98 and 99,, the embodiment that bindingagent paster 3100 has wherein been divided at least two less binding agent pasters is shown.In these embodiments, bindingagent paster 3100 is divided into twobinding agent pasters 3410 and 3420, and each all has around the bindingagent parts 3111 ofcentral void 3430 radial arrangement.The semicircle that these twobinding agent pasters 3410 and 3420 each equal generate are about 180 °, but can use other configuration, for example: each all launches three pasters of 120 ° or each all launches four pasters of 90 °.In certain embodiments, binding agent can comprise the paster more than four.The configuration of describing about these embodiment is in accordance with the formula of 360 °/n, and wherein n is paster number.But, in other embodiments, according to the shape of device, the inapplicable formula with describing shown here.In a further embodiment, described paster also can cover the scope more than 360 °, and so crossover.
As shown in the perspective view of Figure 99, owing to there is central void (not shown, shown in Figure 98),middle section 3130 has the form of adhering to the thin band of location for the periphery along device 10.Twopasters 3410 are attached to securely skin (not shown) bydevice 10 together with 3420.In the embodiment describing with reference to Figure 95, whenpath 3230 is provided, air can flow between bindingagent parts 3111 and belowdevice 10 especially.
Figure 100 illustrates and comprises and use a plurality of binding agent pasters to makedevice 10 before removing, keep being attached to the perspective view of embodiment of the time of patient's (not shown) to extend.Whendevice 10 is held in place (or by all the otherbinding agent pasters 3410 and/or pass through user), one in a plurality of part bindingagent pads 3420 is removed.Then the bindingagent paster 3420 being removed is substituted by new alternative binding agent paster (not shown).Substituting binding agent paster can be identical with removedpad 3420 or can havebinding agent parts 3111, these bindingagent parts 3111 in alternative configuration to allow to adhere to the new skin between the region that bonded dose ofpaster 3420 covers before.Then can change in a similar fashion remaining binding agent paster 3410.What for example the labelling of color code can be used to indicate binding agent paster uses the time.Paster also can have color change mechanism to indicate their probable life to expire.Decorative pattern such as image and design can be included on paster.
Figure 101 briefly shows the embodiment that a plurality of bindingagent parts 3111 are wherein attached topatient 12 and are connected to annularcentral region 3130 viatether 3730.Tether 3730 can be fiber or rope and can be the elastic motion of carrying out in response to patient's 12 motions to alleviate device 10.Use tether 3730 also to increase selection available for the skin site of bindingagent parts 3111.
Binding agent for embodiment described in Figure 95-101 can be any effective and safe binding agent that can be used on patient skin.Yet in one embodiment, binding agent used is 3M production code member 9915, the medical nonwoven adhesive tape of light and shade weaving lace (value spunlace).
Clamp and locking
Figure 102 A-102C briefly shows a kind of for the mechanism with base portion clamping or together with being locked to by the top of FLUID TRANSPORTATION device.First with reference to figure 102A, the front view offixture 6410 is shown.Figure 102 B illustrates the base portion Y having for thekeyhole 6440 of two fixtures; Corresponding keyhole also can be included in the (not shown) of top.With reference now to Figure 102 C,, top X and base portion Y can aim at andfixture 6410 can pass through keyhole (not shown, be illustrated as 6440 in Figure 102 B) insertion.With 90 ° of rollingclamps 6410, cause thatmast 6430 moves in latched position.Depresscam lever 6400, engaged thecam 6415 that is hinged tofixture pin 6420, to push top X.As a result, top X and base portion Y utilize clamping action power to be maintained betweencam 6415 and mast 6430.Risingcam lever 6400, has discharged clamping action power, andfixture 6410 can half-twist and retract to allow separately top X and base portion Y.In certain embodiments, lever can be with the over cap that acts on top X.
In the alternate embodiments for a plurality of parts of described device are clipped together shown in Figure 103 A-103D.Perspective view and Figure 103 B that Figure 103 A illustratescam guide 6500 illustrate topview.Cam guide 6500 has keyhole 6440 and inclined surface 6510.Figure 103 C illustrates the cam-follower 6520 withcentral pin 6540, and whereintermination 6560 is in first end place attachment andbar 6550 is attached to opposed end.As shown in the cross sectional view of Figure 103 D, cam-follower (not shown, shown in Figure 103 C) can be inserted in the keyhole (not shown, to be shown in Figure 103 C) in top X, base portion Y and cam guide 6500.The motion that is attached to thelever 6530 ofcentral pin 6540 causes that cam-follower is (not shown, be shown in Figure 103 C) rotation, this causes thatbar 6550 advances and thus turning effort power converted to the active force that clamps securely base portion Y and top X between cam-follower termination 6560 andbar 6550 along inclined surface (not shown, be shown 6510 in Figure 103 C).
Reservoir
Shown in Figure 104-106C for keeping the exemplary embodiment of the subsided reservoir of fluid.The reservoir that can subside has at least one part or the wall of depression when fluid exits, and keeps ambient pressure within it thus in portion.In most of embodiment, salable port (for example, partition) is included in reservoir.This port allows to utilize syringe that fluid filled is fallen to this reservoir and for being connected to flowline without revealing.Alternately, adapter can be for being connected to flowline by reservoir.Alternately, as in the above, with reference to as shown in Figure 71, pin can be associated with reservoir and partition can be associated with the terminal of flowline.Reservoir can be constructed with the plastic material of fluid compatible that comprise in reservoir by known, even for the very short persistent period.In certain embodiments, reservoir can subside completely, that is, reservoir does not comprise the body surface of any rigidity.
With reference now to Figure 104,, the cross sectional view ofreservoir 20 is shown.Betweenrigidity reservoir body 6200 and flexiblereservoir barrier film 6330, be formed for keeping thecavity 2645 of certain volume fluid.The periphery offlexible partition 6330 surroundingcavity 2645 is attached hermetically, with containing fluid in cavity 2645.Flexible partition 6330 is given crushability toreservoir 20; When fromcavity 2645 pumping fluid, it is to internal strain.
Partition 6270 seatings are thecervical region 6240 extending from body 6200.Partition 6270 is as the interface betweencavity 2645 and flowline.In some devices, flowline ends at pin (not shown).In these embodiments, described pin can be inserted throughpartition 6270, to lead topin chamber 6280 parts ofcavity 2645.By partition 6270 being positioned betweenend cap 6250 and flange (not shown),partition 6270 positions can be kept, and wherein this flange is formed on theinwall 6281 ofpin chamber 6280 and the place, joint portion of end cap boring 6282.In end cap boring 6282, can utilize frictional fit to keep end cap 6250.When insertingend cap 6250, its position is subject to the restriction of thewall 6261 of end cap boring 6282.The part of the mostclose partition 6270 ofend cap 6250 can have central hole, to allow pin to insert and enter inpartition 6270 by end cap 6250.Alternately,end cap 6250 can be by needle-penetration.
Figure 105 illustrates the perspective view ofreservoir 20 inside that can subside.Edge 6230 allows attachment flexible reservoir barrier films, and described barrier film can be by welding, clamp, adhere to or other proper method being attached, to form fluid-tight.Can comprise thatsafeguard structure 6290 is to allow fluid to flow tocavity 2645 or to flow out fromcavity 2645, but prevent that pin from entering in cavity, prevent that thus it from may pierce through reservoir barrier film.
Figure 106 A-106C illustrates the alternate embodiments of reservoir, and whereinend cap 6250 is attached to partition 6270wall 6320 ofreservoir hermetically.Wall 6320 can for example be constructed by flexible flake, for example PVC, silicones, polyethylene, or by ACLAR film configuration.In certain embodiments,wall 6320 can be constructed by the thermoformable polyethylene sheets of utilizing ACLAR thin film to form.Flexible flake and fluid compatible.Described wall may be attached to stiff case, or for example can pass through a part for the formed flexible plastic pouch in end of folding and welding plastic thin slice.Figure 106 A illustrates theend cap 6250 that is sealed towall 6320 via circularfin 6350.Partition 6270 can insert from the outstanding pivotedframe 6340 of end cap 6250.But pivotedframe 6340 can be at room temperature the material structure of rigidity, for example Low Density Polyethylene by can being at high temperature out of shape.With reference now to Figure 106 B,,hot press 6310 or be used to fusing or crooked pivotedframe 6340 onpartition 6270 for another equipment of melting or process.With reference now to Figure 106 C,,partition 6270 is illustrated as being fixed to endcap 6250.
Some fluid is responsive for store status.For example, insulin is stable to a certain extent in common its vial of storage in transportation, but may be unsettled when some plastics of Long Term Contact.In certain embodiments,reservoir 20 is by this constructed in plastic material.In this case, can just in time before using, utilize fluid filledreservoir 20, thereby fluid exists and contacts within compared with short-term with plastics.
Reservoir is filled station
With reference now to Figure 107,, illustrate for utilizing the reservoir of fluid filled reservoir 20 to fill station 7000.Fluid can utilize syringe 7040 to extract out and fill station 7000 by use from its original container and be introduced into reservoir 20.Fill station 7000 and can comprise the filling station base portion 7010 of substantially rigid that is hinged to the filling station lid 7020 of substantially rigid via hinge 7030.Correspondingly, stand and 7000 can be opened and closed to accept and keep reservoir 20.The pin 7050 that is attached to syringe 7040 then can be by covering the filler opening 7060 in 7020 and being inserted into through reservoir partition 6270.Because it is rigidity that filling station covers 7020, so advancing of syringe 7040 is construed as limiting for it and therefore controlling pin 7050 penetrates the degree of depth in reservoir 20, to prevent from piercing through the downside of reservoir 20.When supported, from the teeth outwards time, supporting leg 7070 remains on station 7000 in obliquity.Because stand, 7000 are tilted, so when fluid is by when syringe 7040 injection enters reservoir 20, air will be tending towards towards partition 6270 risings.After in syringe 7040 enters reservoir 20 by the fluid injecting of aequum, syringe 7040 can be used to remove any surplus air in reservoir 20.Because filling station base portion 7010 and lid 7020 is rigidity, so flexible reservoir 20 conventionally can not be extended to over fixed volume and prevent reservoir 20 excessively to fill.Base portion 7010 and lid 7020 can utilize together with fastener is locked into, or heavy lid can be for further stoping reservoir excessive expansion and excessively filling.
With reference now to Figure 108 A and 108B,, the alternate embodiments that reservoir is filledstation 7000 is shown.In this embodiment, reservoir (not shown) be placed incover 7020 andbase portion 7010 betweenspace in.Hinge 7030 attachment covers 7020 and base portion 7010.As shown in Figure 108 B, reservoir (not shown) is positioned at inside, and syringe (not shown) pin (not shown) is inserted in filler opening7060.Filler opening 7060 is directly connected to the partition (not shown) ofreservoir.Form 7021 represents flowline to be injected into the fluid volume of reservoir.
Fluid delivery system generally includes FLUID TRANSPORTATION device and external user interface, but in certain embodiments, completely or the internal user interface of part be included in device.Described device can be any device described here or its modification.
Figure 109 A illustrates the flow chart for the data acquisition and control scheme of the exemplary embodiment of fluid delivery system.Patient or health worker utilize external user interface 14, and this external user interface 14 is generally base station or is independent of FLUID TRANSPORTATION device 10 and the handheld unit that holds.In certain embodiments, user interface 14 is integrated with computer, portable radiotelephone phone, personal digital assistant or other consumer's device.User's interface unit can be via radio frequency emissions (for example, via LF, RF or standard wireless protocol, for example " bluetooth ") carry out continuously or data communication intermittently with FLUID TRANSPORTATION device 10, but also can connect and connect via data cable, optics connection or other proper data.External user interface 14 is communicated by letter with input control parameter with processor 1504, for example body weight, fluid dosage range or other data, and accepting state and function renewal, for example exist owing to stop up flowing, leakage, empty reservoir, bad battery condition, need repairing, expired, that carry or that residual fluid total amount or unverified disposable member cause any error condition.Interface 14 can transmit rub-out signal to patient monitoring people or Medical Technologist by phone, Email, pager, instant message or other suitable communication media.Reservoir actuator 1519 comprises actuator 1518 and reservoir 1520.Allocation component 120 is transmitted and passes through the mobile relevant data of flowline to processor 1504.Processor 1504 uses the action of flow-data control actuator 1518, being derived from the mobile increase of reservoir pump assembly 1519 or being reduced to roughly required dosage and timing.Alternatively, the feedback controller 1506 of processor 1504 can receive the data relevant with the operation of reservoir pump assembly 1519 with acquisition mode, for example open or short trouble, or actuator temperature.
Figure 109 B illustrates the alternate embodiments of the flow chart in Figure 102 A.In this embodiment, the shortage of allocation component/sensor has been eliminated the feedback based on fluid volume.
With reference now to Figure 110 A,, be illustrated in the flow chart of an embodiment of the overall operation of the FLUID TRANSPORTATION device in fluid delivery system.User uses switch or starts system (step 2800) from external user interface.System is initialised by load default numerical value, operational system test (step 2810) and acquisition variable element, for example required basis and bolus dose.Can be by user user interface, that is, use the entering apparatus of the touch screen on user interface for example or by load the parameter of preserving from memorizer, select variable element (step 2820).Performance based on FLUID TRANSPORTATION device that estimate or calibration is calculated actuator regularly (step 2830).Allocation component is activated (step 2840) when FLUID TRANSPORTATION device activates beginning.Allocation component data collection 2835 is by activating and carrying and continue.During operation, allocation component provides data, and these data allow to determine cumulative volume and the flow rate of the fluid that has flow through dispensed chambers within one or more period.FLUID TRANSPORTATION device activated to cause the moving pipeline of fluid flows and enters dispensed chambers (step 2840).Medicine flow to patient with given pace from dispensed chambers, and this speed is determined by exporting impedance, and in certain embodiments, the active force being applied by diaphragm spring and the active force being applied by pump are determined (step 2860).If have that user stops interruption, low flow regime, the accumulation based on estimating is flowed or utilize the detection of other reservoir volume sensor and determined that reservoir is for empty situation, or arbitrary part of system has any other alert action, or have user-defined any other alert action, system will stop and notifying user (step 2870).If there is no user's stop signal, reservoir are empty determining or another alarm indicator, and checking to determine whether needs control actuator regularly (step 2880) due to the deviation between actual and required flow rate or because user changes required flow rate.If do not need to regulate, this process is returned to step 2840.If need to regulate, this process is returned to step 2830.With reference now to Figure 110 B,, the flow chart of another embodiment of the FLUID TRANSPORTATION device overall operation in fluid delivery system is shown.In this embodiment, the variation based on user's input or another feedback are made regulating and are activated decision regularly.In this embodiment, do not comprise and having for determining the allocation component of the sensor of volume; Therefore based on alternative feedback mechanism, regulate.
Radio communication
With reference now to Figure 111,, be illustrated in fluid delivery system and use coil for the layout of the embodiment of induction charging and radio communication.As previously mentioned, user'sinterface unit 14 can be implemented with the form of the hand-held user'sinterface unit 14 withFLUID TRANSPORTATION device 10 radio communications.Can inFLUID TRANSPORTATION device 10, adopt secondary coil (being solenoid) 3560, as the wireless transceiver antenna combining with wireless controller 3580.Secondary coil 3560 also can be used as secondary transformer, at least inpart device accumulator 3150 being charged in combination with battery charging circuit 3540.In this embodiment, user'sinterface unit 14 is containing being useful on induction mode theprimary coil 3490 tosecondary coil 3560 by Energy Coupling.When user'sinterface unit 14 is during nearFLUID TRANSPORTATION device 10,primary coil 3490 excitation secondary coil 3560.3560 pairs of battery charging circuits of secondary coil, 3540 power supplies that are energized, withaccumulator 3150 chargings in fluid delivery device 10.In certain embodiments,primary coil 3490 also as antenna to launch in combination withwireless controller 3470 and fromFLUID TRANSPORTATION device 10 reception information.
With reference now to Figure 112,, some embodiment comprise remote radio communication (for example, 20-200 foot or farther) hardware at FLUID TRANSPORTATION device 10.Therefore, can telemonitoringFLUID TRANSPORTATION device 10.
Still with reference to Figure 112, theintermediary transceiver 6600 of conventionally being carried by patient can provide the advantage of telecommunication, does not increase size, weight and the power consumption ofFLUID TRANSPORTATION device 10 simultaneously.As shown in the data flow diagram of Figure 112, can wearFLUID TRANSPORTATION device 10 and use short distance hardware and related software that data transmission is received to data tointermediary transceiver 6600 or from it.For example,device 10 can be equipped to transmitting data in the distance of 3-10 foot roughly.Thenintermediary transceiver 6600 can receive these data and use remote hardware and software to these data of user'sinterface unit 14transfers.Intermediary transceiver 6600 also can be accepted control signal and to these signals ofdevice 10 transfers from user's interface unit 14.Alternatively, user'sinterface unit 14 also can withFLUID TRANSPORTATION device 10 direct communications that are arranged in scope.When this direct communication can be configured to occur over justintermediary transceiver 6600 and is not detected or alternately user'sinterface unit 14 and FLUID TRANSPORTATION device in scope each other whenever.
Can launch in this way very eurypalynous data, include but not limited to:
Activate regularly relevant with cubing data with pump and can be launched intointermediary transceiver 6600 and be arrived user'sinterface unit 14 by transmitted in sequence from other data of allocation component;
Alarm signal can be transmitted intoFLUID TRANSPORTATION device 10 and can be launched fromFLUID TRANSPORTATION device 10;
Can be fromuser interface 14 tointermediary transceiver 6600 and fromintermediary transceiver 6600 to 10 transmittings of FLUID TRANSPORTATION device in order to confirm the signal of data receiver;
Can useintermediary transceiver 6600 to launch for changing the control signal of the operating parameter ofdevice 10 toFLUID TRANSPORTATION device 10 from user'sinterface unit 14.
With reference now to Figure 113,, the plane graph of the specific embodiment ofintermediary transceiver 6600 is shown.Short range transceiver 6610 is communicated by letter with near FLUID TRANSPORTATION device.The short range transceiver of device andintermediary transceiver 6600 can be used one or more agreement of a lot of agreements and the known tranmitting frequency for junction service (for example radio frequency emissions) to communicate.The data thatintermediary transceiver 6600 receives be transported to can for example, in memorizer 6620 (, flash chip)microprocessor 6630 of storage data, and retrieve data asrequired.Microprocessor 6630 is also connected to theremote transceiver 6640 that carries out data communication with user interface.For example,intermediary transceiver 6600 and user's interface unit can operate according to bluetooth standard, and described bluetooth standard is use the radio frequency of about 2.45MHz and can reach the spread spectrum protocol operating in the distance of about 30 feet.Zigbee standard is the alternative standard operating in the ISM frequency band of about 2.4GHz, 915MHz and 868MHz.Yet, can use any radio communication.
Alternatively, the data thatmicroprocessor 6630 analyses receive are to survey the failure condition relevant with described device or maintenance needs.Some examples of malfunction include but not limited to:
Surpass to set restriction time interimly lack received data;
Lack the data reception acknowledgement signal from device or user's interface unit;
The overflow ofdevice memory 6620 or nearly overflow situation;
Low-power;
FromFLUID TRANSPORTATION device 10, receive the cubing of too high, too low or incorrect timing.
Based on this accident analysis,microprocessor 6630 can trigger siren 6650 (for example, bell or buzzer).Microprocessor 6630 can also be to remote device communications and warning system state.Remote device can be for example, to use the user's interface unit of long-range transceiver 6640,FLUID TRANSPORTATION device 10 or user's interface unit and the FLUID TRANSPORTATION device of use close range transceiver.When receiving siren signal, then user's interface unit can be relayed to Medical Technologist or patient monitoring people (for example,, by pager or phone or other communication means) by siren signal via longer distance.
Power supply 6670 can be rechargeable, and can store enough energy with continued operation a period of time, for example, and at least 10 hours.Yet the operating time will change based on purposes and device.Thereby the size of FLUID TRANSPORTATION device can reduce it can easily carry in pocket, wallet, briefcase, knapsack etc.An embodiment of device comprises for bearing the device of conventional impact or overflow.Can comprise other feature in certain embodiments, include but not limited to ornamental feature or such as can play video game, sending and receiving instant message, watch digital video, any one in the ability of the large-scale consumer electronic devices of listening to the music etc.Can comprise that third party controls the use of cancelling or limit this function with a period of time at one day or all time durations.Alternately, this device can be as far as possible little and simple, and only for repeat closely signal in longer distance.For example, memorizer and analysis ability can be removed.
With reference now to Figure 114,, the data flow diagram for system embodiment is shown.Intermediary transceiver 6600 is illustrated as general patient interface, and this general patient interface carries out short-range communication and the information from those devices is relayed to one or more user interface relevant with those devices via long distance to a plurality of devices.The example of device comprise can wear, transplantation or inner medical device, comprise fluid delivery system, glucose sensor, there is the knee joint of integrated strain transducer, device is carried in the instrument electron probe of pill form, defibrillator, pacemaker and other treatment that can wear.Because dissimilar device and can utilize different short-range communication standard and frequency from the device of different manufacturers, for example, sointermediary transceiver 6600 can comprise hardware (, a plurality of antennas and circuit) and the software of supporting a plurality of agreements.
Battery charger
With reference now to Figure 115 and 116.Illustrate for to the equipment of battery recharge embodiment 7100.In Figure 15, the top ofFLUID TRANSPORTATION device 2620, non-once are partly illustrated as disconnecting from the base portion of FLUID TRANSPORTATION device, single use portion.Battery charger 7100 is for the accumulator (not shown) charging to top 2620.In Figure 116, top 2620 is illustrated as being positioned on battery charger 7100.Lockset 6530 is shown and is closed, and top 2620 is connected to battery charger 7100.Therefore, for thelockset 6530 that top 2620 is connected to base portion (not shown) also for top 2620 is connected to battery charger 7100.Docking can form direct electric power and connect, or can utilize induction coupling transfer electrical power.And in some embodiment of system, patient adopts a plurality ofnon-once parts 2620 of rotation; That is, when using the second non-once part (not shown), anon-once part 2620 is charged.
Various embodiment described here comprises element dissimilar and configuration, as, for example pump structure, pump actuator, volume sensor, current limiter, reservoir (and reservoir interface), sharp-pointed inserter, housing, locking mechanism, user interface, built-in (on-board) peripheral hardware (for example controller, processor, power supply, network interface, sensor) and other peripheral hardware (for example, handheld remote controller, base station, transponder, filling station).Should be noted that alternate embodiments can be in conjunction with the various combinations of these elements.Therefore, for example, the pump configuration of describing with reference to an embodiment (for example, the pump that illustrates and describe with reference to figure 15-15D) can with the pump actuator of various configurations (for example, have single operation pattern single shape memory actuator, there are a plurality of shape memory actuators of single shape memory actuator, same size or the different size of multiple modes of operation) in anyly use together, and can be for thering is the device of the various combinations (or not having other element) of other element and/or any current limiter of various current limiters.
And then, although described various embodiment with reference to non-pressurised reservoir here, should be noted that in certain embodiments or can use pressurized reservoir under some state (for example,, between perfusion and/or exhaust cycle).Especially, for example, follow the retraction of the pump actuatedcomponents 54 that illustrates and describe with reference to figure 15A-15D, pressurized reservoir can be so that filling pump chamber.
Additionally, although can with the pump motor of part, various embodiment have been described again with reference to being placed in housing here, should be noted that pump and/or pump motor can be alternately for example with together with the various members of contacting with fluid, be arranged in single use portion.As about some in other motor described here, the motor that is placed in single use portion can comprise one or more shape memory actuator.
Should be noted that and comprised for simplicity division header, and they are not intended to limit the scope of the invention.
In various embodiments, what here disclose comprises that fluid flows and can be used as computer program realization for set up the method for those operations of communication between associated components for controlling and measuring, and described product is used together with the controller with suitable or other computer system (being commonly called " computer system " here).This realization can comprise sequence of computer instructions, this sequence of computer instructions is fixed on tangible medium, computer-readable medium (for example magnetic disc, CD-ROM, ROM, EPROM, EEPROM or hard disk) for example, or can be transferred in computer system via the modem or other interface device that are for example connected to the communication adapter of network by medium.Described medium can be tangible medium (for example optics or analog communication line) or the medium that utilizes wireless technology (for example microwave, infrared or other lift-off technology) realization.Sequence of computer instructions can realize here about described system in previously described desired function.Those skilled in the art should understand that this computer instruction can be with multiple programming language programming, for a variety of computer architectures or operating system.
And then, this instruction can be stored in any storage component part, for example, in quasiconductor, magnetic, light or other storage component part, and can use any communication technology (for example optics, infrared, acoustics, radio, microwave or other lift-off technology) to be launched.Expect that this computer program can be used as and (for example has subsidiary printing or electronic literature, shrink-wrapped software) removable media and distributing, utilizes computer system prestrain (for example, on system ROM, EPROM, EEPROM or hard disk) or for example, is distributed by server or broadcasting bulletin system via network (the Internet or WWW).Certainly, some embodiments of the present invention can for example, be implemented with the form of software (computer program) and hardware combinations.The other embodiment of the present invention is all as hardware or substantially for example, implement with the form of software (computer program).
Should be noted that size, the size and number listed are exemplary here, and the present invention is never limited to this.In exemplary embodiment of the present invention, the length of the FLUID TRANSPORTATION device of patch size can be for roughly 6.35cm (~2.5 inches), width are roughly 3.8cm (~1.5 inches) and are highly roughly 1.9cm (~0.75 inch), but, equally, these sizes are only exemplary, and can change on a large scale for different embodiment sizes.
Although described principle of the present invention here, those skilled in the art should understand that this explanation only provides by way of example, but not as limitation of the scope of the invention.Except exemplary embodiment shown here and that describe, in the scope of the invention, also can conceive other enforcement.The modification of being made by those of ordinary skills and substitute and to be considered to belong to scope of the present invention.