Movatterモバイル変換


[0]ホーム

URL:


CN101400381A - Composite implant material - Google Patents

Composite implant material
Download PDF

Info

Publication number
CN101400381A
CN101400381ACNA2007800086265ACN200780008626ACN101400381ACN 101400381 ACN101400381 ACN 101400381ACN A2007800086265 ACNA2007800086265 ACN A2007800086265ACN 200780008626 ACN200780008626 ACN 200780008626ACN 101400381 ACN101400381 ACN 101400381A
Authority
CN
China
Prior art keywords
complex
bone
composite implant
implant material
screw
Prior art date
Legal status (The legal status is an assumption and is not a legal conclusion. Google has not performed a legal analysis and makes no representation as to the accuracy of the status listed.)
Pending
Application number
CNA2007800086265A
Other languages
Chinese (zh)
Inventor
敷波保夫
Current Assignee (The listed assignees may be inaccurate. Google has not performed a legal analysis and makes no representation or warranty as to the accuracy of the list.)
Takiron Co Ltd
Original Assignee
Takiron Co Ltd
Priority date (The priority date is an assumption and is not a legal conclusion. Google has not performed a legal analysis and makes no representation as to the accuracy of the date listed.)
Filing date
Publication date
Application filed by Takiron Co LtdfiledCriticalTakiron Co Ltd
Publication of CN101400381ApublicationCriticalpatent/CN101400381A/en
Pendinglegal-statusCriticalCurrent

Links

Images

Landscapes

Abstract

It is intended to provide a composite implant material to be used in treating articular bone/cartilage injuries such as avascular necrosis of the femoral head at the hip joint and avascular necrosis of the knee bone head, reconstructing and fixing an artificial ligament or tendon of a biological origin, bonding and fixing a bone, etc. wherein a part thereof substitutes for the bone tissue and stably bonds to a living bone at the early stage while the remainder thereof sustains a required strength for a required period of time and the whole material finally substitutes for the living bone and thus disappears. A composite implant material wherein a dense composite comprising a biodegradable/bioabsorbable polymer containing a bioabsorbable and biologically active bioceramic powder therein and a porous composite comprising a biodegradable/bioabsorbable polymer containing a bioabsorbable and biologically active bioceramic powder therein are united together. The porous composite substitutes for the bone tissue and stably bonds to a living bone at the early stage while the dense composite sustains a required strength for a required period of time and the whole material finally substitutes for the living bone and thus disappears. Owing to these characteristics, this composite implant material sufficiently meets the demand in the clinical field.

Description

Composite implant material
Technical field
The present invention relates to be used for the treatment of the composite implant material of articular cartilage disorder such as the necrosis of femoral hip prosthesis head and the necrosis of knee joint bone portion, reconstruction/fixed biologically source or synthetical ligament or tendon, joint/bone fixation etc.
Background technology
In order to rebuild, to regenerate or strengthening significantly impaired or injured os osseum or cartilage portion, so far after deliberation various regenerative medicine technology.Widely be understood that, rebuild the injured part with definite shape, must need support basically, described support is by avoiding exterior mechanical load or cytology or physiology invasion and attack and formation/maintenance required form, till the regeneration of finishing tissue, help finish reconstruction.
At present, for be in the timbering material that uses under the situation that abnormality and this cartilage need be repaired, regenerate or rebuild at joint such as hip joint or kneed cartilage various suggestions have been proposed.Yet, because the difficulty on the material science, do not develop can as support treat or rebuild the ossa articularia head downright bad partly or be used to strengthen material with the mutually attached ligament portion in joint.Its reason is that this support will be applied on the border, and described border is incoherent osteoarthrosis part, relates to different functions and material, and wherein cartilage and os osseum contact with each other when activity, that is to say, support will be used for the part in joint.
A kind of method of developing this support can be following technology, wherein preparation comprises the repair materials of combination and incorporate cartilage succedaneum and os osseum succedaneum, and ossa articularia head and articular cartilage portion are implanted and be fixed to os osseum succedaneum and cartilage succedaneum respectively.Yet, be not under the situation of combination of integrated form but individual components at two kinds of succedaneum, between cartilaginous tissue and os osseum tissue, can not obtain continuously and be connected mobile.And a problem is that two kinds of succedaneum are separated from each other when being moved in the joint.Therefore, the timbering material that can be used for the joint should be such material, wherein aspect the affinity that relates to body tissue and mechanics, the part that is installed in the os osseum has gratifying affinity to os osseum, aspect the affinity that relates to body tissue and mechanics, be installed to endochondral part cartilage is had gratifying affinity, thereby described timbering material stably is retained in intraarticular, be mobilizable interface, and can be not separated.
In this case, when the target repair materials is the material that can not assimilate such as metal, pottery or polymer in vivo, it can not be passed in time and be replaced by living tissue, keeps embedded material for a long time and has about for example worry of the problem of infection and mechanical breakdown always.Therefore necessity is, repair materials should make up biological activity and biodegradability, and this makes material progressively to be replaced by living tissue, with the reconstruction shape, and is finally degraded, assimilates and disappear by live body.On machinery and physiology, the expectation repair materials should be such material, it has tight section and porous part simultaneously, wherein porous portion is as the cartilage succedaneum, become towards cartilage surface and have higher open rate, tight section is as the os osseum succedaneum, becomes towards the tight section inside of wherein having implanted repair materials to have lower open rate.
That is to say, when exploitation is used for the treatment of or rebuilds the support of articular cartilage disease for example, the needs of material are comprised: porous portion, wherein along with scaffold degradation, cell rapid permeability, cartilaginous tissue make porous portion be replaced by living tissue at top layer part induced growth; And compacted zone, its guiding also tightly adheres on the os osseum, keeps enough intensity in special time period, and till degraded, final all degradeds are also organized alternative fully by os osseum.
Incidentally, the inventor had proposed to repair/rebuild as embedded material the artificial bone of the defect part of bone alive in the past, and described artificial bone comprises spongy bone and goes up the cortical bone (patent document 1) of formation in spongy bone top layer (outside).This artificial bone comprises: three-dimensional porous thing, comprise biodegradable and biological absorbable polymer, and described polymer inside has interconnected pores and comprises biological activity bioceramic particle; And dense skin, its part surface that overlays porosity is gone up and is integrated with it, and comprises biodegradable and the biological absorbable polymer that contains biological activity bioceramic particle.This embedded material plan is so implanted, and promptly three-dimensional porous thing is applied to the defect part of the inner spongy bone of bone alive, and dense skin is applied to the defect part of surface portion cortical bone.This artificial bone is suitable as the succedaneum of autotransplantation bone lobe or allograft bone lobe.
On the other hand, as follows about reconstruction/background technology fixing or reinforcement ligament or tendon.What know is that four (two groups) ligaments are arranged in the knee joint.One group is tibial collateral ligament and fibular collateral ligament, and another group is anterior cruciate ligament and posterior cruciate ligament.When the motion in knee reverse the most common relevant situation be the damage anterior cruciate ligament (ACL).The technology that is used for the treatment of this damage at present is: utilize patient normal and the ACL of bone photo company or BTB (bone-tendon-bone) method of kneecap tendon (PT); Utilize not half tendon method with bone photo Lian De popliteal tendon; With the method for utilizing prosthetic ligament.Adopt the whole bag of tricks to come fixedly to be not only highly reliably autograft, allograft, corpse and connected bone tendon and ligament, and also had prosthetic ligament, made it possible to the nature activity in such a way.Injured ACL is fixed to BTB (bone-tendon-bone) method between the bone with normal ligament and only will have the ligament of bone or exemplary that tendon is fixed to the method between the bone that is formed by soft tissue comprises following three kinds.
(1) fixing with interference screw (interference screw).
(2) fixing with crossing pin (cross pin).
(the end button (end button) of 3) Yong popliteal tendons is fixing.
Yet the shortcoming that these technique for fixing generally have is to fix that part of of ligament or tendon and fluffed along with time lapse.In fixing (1), although the main usually metallic screw that uses, this knee that is fixed on is extremely crooked as can bring problem when squatting.Therefore, begin recently to use various assimilable screws with quite high ratio.Yet the fixed shortcoming of this screw is that screw does not directly combine with the bone of implant part.The screw load that acceptance is caused by bending in the time that prolongs, this is the reason that fluffs.Under the situation of (3), also pointed out same problem.Under the situation of (2), this worry is less relatively.Yet this technique for fixing has following probability inevitably, and promptly when long-term existence was in the joint portion that participates in a large amount of motions, the position of metal cross bolts may drift about and cause stimulation, and sometimes this may produce serious illeffects.In addition, the poor reliability of assimilable material aspect bending strength and crooked lax deformation.
Following illustration is rebuild injured ACL with ligament.The method of knowing is to use the fixedly two ends of ligament of metal interface screw.In this case, implantation connects the bone ligament in the following manner.The osseous part at ligament two ends is inserted in the hole that forms in live on the kneed respectively bone and the bone (femur side and tibial side) of living down.The metal interface screw is screwed in the space between the inner surface in each bone parts and hole, osseous part is fixed to each end of ligament.On the other hand, as the prosthetic ligament that is used for this reconstruction, following prosthetic ligament is known, and it comprises many ligaments of embarking on journey basically and stretching and arranging, and wherein the two ends of ligament is formed ring-type for fixing (patent documents 2) such as screws.
As mentioned above, use metal or ceramic interference screw to rebuild/fixedly tendon or ligament.Yet, the elastic modelling quantity height of these screws, especially, the metal interface screw may influence live body nocuously owing to the metal ion stripping.Therefore problem is carry out surgical operation once more, in early days screw is taken out in body after treatment.
In this case, the applicant had proposed to be used for fixing the interference screw of tendon or ligament in the past, described interference screw comprises biodegradable and biological absorbable polymer, and have along the through hole that is used to insert Kirschner wire (Kirschner wire) of screw centrage formation, the top of described through hole (the lateral part of head of screw) is big Long Circle hole portion, is used to install throw (patent document 3).
This interference screw that is used for fixing tendon or ligament is used in plan as follows.Kirschner wire (being used for the guide pin of gratifying degree of accuracy at required direction guiding and screw-in screw) is inserted in the through hole.The tip of throw is installed in the Long Circle hole portion of through hole, rotation is most advanced and sophisticated, with correct direction screw is screwed in each hole form in the bone in joint (hole that forms in the bone of the upper and lower in joint respectively), be inserted with the tendon that to transplant/rebuild or the end of ligament in the described hole.Therefore, the bone graft lobe at tendon or ligament two ends is pressed towards and is fixed on the inner surface in hole.The hydrolysis and assimilated of biodegradable and biological absorbable polymer by live body owing to contact body fluid.Therefore, need not in body, to take out this interference screw by surgical operation once more.
Next, explanation is about the joint/fixed background technology of bone.Be used for bone joint/fixed technology and comprise following content.
1. engage the part of fracture by bone
A) being used for the inside of joint such as ankle joint, knee joint, hip joint, elbow joint and shoulder joint and the open reduction of surrounding fracture fixes
B) open reduction that is used for hands or foot fracture of ossiculum such as metacarpal bone or fracture of the metatarsal bone is fixed
2. fixing bone graft during bone is transplanted
A) fixing bone graft lobe in the artificial femoral articulation displacement
B) fixing bone graft lobe in the artificial knee joint displacement
C) fixing bone graft lobe in the tumor curettage
3. bone fixation lobe in the osteotomy
A) bone fixation lobe in the acetabular bone osteotomy
B) bone fixation lobe in the osteotomy of proofreading and correct intoe
C) bone fixation lobe (Kapanji method) in the carpal joint reconstruction operations
Other
A) temporary fixed joint (for example temporary fixed tibiofibular joint)
B) fracture portions correct joint the/fixing) except that top 1.a
In order to engage/fix these bones, synthetism material such as metal or ceramic screw or pin have been used up to now.Yet, because these synthetism materials have the elastic modelling quantity more much higher than bone alive, therefore have problems, for example, according to their intensity, the bone strength around reduction rather than the raising grafting material.Especially, under the situation of metallic screw, worrying that the metal ion that therefrom progressively discharges may surpass after implantation in 10 years long-time section influences live body nocuously.Therefore, worry must be carried out once more surgical operation in early days to take out screw in body.
In these cases, take up research and comprise biodegradable and biological absorbable polymer and needn't operating once more screw.The applicant has also developed various synthetism materials, for example screw and pin, it comprises biodegradable and the biological absorbable polymer that contains biological activity and biological absorbable bioceramic particle, biological activity, biodegradability and Bioabsorbable have been made up, with the requirement for height (patent document 4 and 5) that satisfies doctor and patient.In addition, also developed the screw that comprises described composite, form in described screw for Kirschner wire insertion through hole wherein, Kirschner wire is used for gratifying degree of accuracy, screws in the given part (hollow screw is called as hollow screw) with correct direction guiding screw and with it.
Patent document 1:JP-A-2004-121301
Patent document 2:(is when being used for this paper, and term " JP-T " refers to the announcement Japanese Translator that the PCT patent is announced.)
Patent document 3:JP-A-2000-166937
Patent document 4:JP-A-11-70126
Patent document 5:JP-A-10-85231
Summary of the invention
The problem to be solved in the present invention
Yet, the embedded material thatpatent document 1 proposes is a kind of artificial bone, it is suitable as the succedaneum of autotransplantation bone lobe or allograft bone lobe, but be not suitable for use in stent applications to the border, described border is discrete osteoarthrosis part, relate to different functions and material, wherein cartilage and os osseum are in contact with one another when activity, as the support that is applied on the joint.
Has following shortcoming with the fixing method that connects the bone ligament of metal interface screw.Interference screw does not combine with the upper and lower in the joint bone direct chemical of living, but because the screw thread form of interference screw itself and physical fixation.Therefore, be difficult to think that the constant intensity at the bone at ligament two ends is enough to reliably and with long-term.Especially, when using prosthetic ligament such aspatent document 2 those disclosed and being screwed terminal ring portion, then very likely this prosthetic ligament may break away from bone alive, because ring portion does not directly combine with the upper and lower in joint bone alive.In addition, very likely be that when repeating to apply tension force, prosthetic ligament may extend or cut off by screw thread owing to stress relaxation.
Patent document 3 proposes with the fixing technology of tendon or ligament of interference screw, its problem is, with other material as the situation of metal and bioceramic, the inner surface (bone joint) that the bone graft lobe on the end of tendon or ligament is joined to the hole that forms in bone needs a lot of times.Also a problem is, after obtaining bone and engaging, needs more time to make the screw bone of being lived replace fully and disappear.On the other hand, what know is that biology skeletal growth factor such as BMP (bone morphogenetic protein) quicken to live effectively, and bone replaces and regeneration.Yet these, skeletal growth factor can not directly mix in the screw that comprises biodegradable and biologically absorbable polymer biology.This be because, in the reinforcing of screw, molded and preparation process, the screw that comprises biodegradable and biologically absorbable polymer has and is heated at least 100 ℃ or higher thermal history, therefore, skeletal growth factor can heat changes and also lose its activity biology.
In addition, the through hole of this interference screw not too is fit to experience osseous tissue invasion/growth (bone is grown into).Therefore, the problem of existence is that it is vacant that a part of through hole keeps, till replacing up to the most of degraded/assimilation of screw and by bone.To insert technology in the hole from the body skeletal grain from what another part took out although can use, donor partly is still the part of defective, therefore, should fill with artificial skeletal grain.Can not be with finishing reparation from the body bone.
Patent document 4 disclosed screws and patent document 5 disclosed pins are such, and polymer is progressively hydrolysis in vivo, and the result of hydrolysis is that osseous tissue is owing to the biological activity of the bioceramic particle that exposes conducts growth.Screw and pin are finally lived, and bone replaces and disappearance.Yet as the interference screw that patent document 3 proposes, the problem of described screw and pin is, identical with the situation of other material such as metal and bioceramic, bone engage to need a lot of times, after obtaining bone and engaging, needs when a lot of the chien shih screw bone of being lived fully to replace and disappear.In addition, the situation of the interference screw that proposes as patent document 3, also there is following point, be biology skeletal growth factor such as BMP (bone morphogenetic protein) can not directly mix in the screw that comprises biodegradable and biologically absorbable polymer or the pin, know that the hollow screw major part is degraded/assimilates and by till the bone replacement, it is vacant that a part of through hole keeps.
Realized the present invention in these cases.Theme of the present invention provides a kind of composite implant material, in the joint such as hip joint or kneed cartilage are in abnormality and this cartilage needs to repair, regeneration or rebuild, the downright bad part that is the ossa articularia head needs under the situation of treatment or reconstruction, perhaps under the situation that the tough band portion that is engaged to the joint need be strengthened, described composite implant material is as interim reparation/timbering material, it has the above-mentioned character or the function of this medical domain expectation, and can stably implant and be fixed on the joint.
Another theme of the present invention provides the composite implant material as the terminal anchor (anchor part) of tough tape member or tendon parts.It is the composite implant material that is used for anchoring, with the end portion (composite implant material is corresponding with the bone that connects bone ligament or tendon) that is connected to tough tape member or tendon parts.It combines with the kneed bone alive or the bone (femur or tibia) of living down in early days, therefore, maybe can assimilate the fixed situation of interference screw with the metal of using previous use and compare, make the end of tough tape member or tendon parts can fix and have the constant intensity that improves greatly in the short period of time.
Also theme of the present invention provides the composite implant material that is used for fixing tendon or ligament and is used for the composite implant material that bone engages, described composite implant material can be eliminated the problems referred to above, promptly the situation with metal and bioceramic is identical, bone engages the problem that needs a lot of times, after obtaining the bone joint, screw is lived, and bone replaces fully and the problem of a lot of times of needs that disappear, directly the problem of admixture skeletal growth factor biology such as BMP and a part of through hole keep vacant and are degraded/assimilates and by the problem till the bone replacement up to the screw major part.
The mode of dealing with problems
In order to realize these themes, the invention provides biology can absorb and bioactive composite implant material, it is characterized in that comprising that containing biology can absorb and the biodegradable of biological activity bioceramic particle and the fine and close complex of biologically absorbable polymer, with contain biology and can absorb and the biodegradable of biological activity bioceramic particle and the porous complex of biologically absorbable polymer, described porous complex and fine and close complex are integrated.This composite implant material of the present invention comprises four types.First kind composite implant material is used for the treatment of or rebuilds the ligament of articular cartilage disease or reconstruction or reinforcement connecting joints, be used to the joint portion that the ossa articularia head contacts with articular cartilage, knee joint, hip, ankle, shoulder, elbow and vertebra (cervical vertebra and lumbar vertebra) joint for example, as interim repair materials or support, and as the carrier that progressively discharges skeletal growth factor biology.The second class composite implant material is connected to the end of tough tape member or tendon parts as anchor part.The 3rd class composite implant material is used for fixing tendon or ligament, for example interference screw.The 4th class composite implant material is used for bone and engages.
First kind composite implant material of the present invention is characterised in that, described porous complex comprises that containing biology can absorb biodegradable and biologically absorbable polymer with biological activity bioceramic particle, it is stacked on the one side of fine and close complex or all surface and is integrated with it, and described fine and close complex comprises that containing biology can absorb biodegradable and biologically absorbable polymer with biological activity bioceramic particle.
In this first kind composite implant material, preferably, porosity with porous complex of interconnected pores should change gradually having the gradual change degree, thereby porosity interior layer segment from porous complex with interconnected pores in the scope of 50-90% increases towards the top layer part.The also preferred content of bioceramic particle in the porous complex should change gradually having the gradual change degree, thereby this content interior layer segment from the porous complex in the scope of 30-80 quality % increases towards the top layer part.In addition, preferably, should be with at least a biology of skeletal growth factor and/or be derived from the osteoblast dipping porous complex of Living Organism, described biology, skeletal growth factor was selected from: BMP (bone morphogenetic protein), TGF-β (transforming growth factor), EP4 (prostaglandin receptoroid), b-FGF (basic fibroblast growth factor) and PRP (plateletrich blood plasma).
The second class composite implant material of the present invention is the composite implant material as the terminal anchor of tough tape member or tendon parts.Described composite implant is connected to the end portion of tough tape member or tendon parts as anchor part, thereby can therefrom not break away from, it is characterized in that, described porous complex comprises that containing biology can absorb biodegradable and biologically absorbable polymer with biological activity bioceramic particle, it is stacked on some or all surfaces of fine and close complex and is integrated with it, and described fine and close complex comprises that containing biology can absorb biodegradable and biologically absorbable polymer with biological activity bioceramic particle.
In this second class composite implant material (anchor part), angle from intensity, preferred porous complex should have the porosity of 50-90%, at least 50% is interconnected pores in all holes, the porosity of porous complex progressively changes having the gradual change degree, thereby porosity increases towards the top layer part from the interior layer segment of porous complex.From can with the angle of on every side the direct bonded bone conductibility of bone, the also preferred content of bioceramic particle in the porous composite layer should progressively change having the gradual change degree, thereby this content interior layer segment from the porous complex in the scope of 30-80 quality % increases towards the top layer part.In addition, preferably should be with at least a biology of skeletal growth factor and/or be derived from the osteoblast dipping porous composite layer of Living Organism, described biology, skeletal growth factor was selected from: BMP, TGF-β, EP4, b-FGF and PRP.Also preferably should within the end of this composite implant material (anchor part) or on be formed for connecting the many apertures or the kick of tough tape member or tendon parts.
The 3rd class composite implant material of the present invention is the composite implant material that is used for fixing tendon or ligament, it is characterized in that comprising: interference screw, and it comprises fine and close complex and has for Kirschner wire insertion through hole wherein; And implant, it comprises the porous complex and is filled in the through hole with it that described implant comprises skeletal growth factor biology.
In this 3rd class composite implant material, the content of preferred bioceramic particle in the fine and close complex that constitutes interference screw should be 30-60 quality %, and the content of bioceramic particle in the porous complex that constitutes implant is 60-80 quality %.The porosity that also preferably constitutes the porous complex of implant should be 60-90%, and wherein institute at least 50% is an interconnected pores in porose, and the aperture of interconnected pores is 50-600 μ m.In addition, preferably with at least a biology of skeletal growth factor dipping implant, described biology, skeletal growth factor was selected from: BMP, TGF-β, EP4, b-FGF and PRP.
The 4th class composite implant material of the present invention is to be used for the composite implant material that bone engages, and it is characterized in that comprising: the synthetism body of material, and it comprises fine and close complex and is drilled to the hole with at least one opening; With the filler of inserting in the hole, described filler comprises the porous complex.The example of this composite implant material (synthetism material) comprising: wherein synthetism body of material is the material of screw, described screw has the boring that will fill with filler, this hole is along the screw centrage, extends (bone screw) from the upper end face of head of screw towards screw-tipped; Wherein synthetism body of material is the material of pin, and described pin has the boring that will fill with filler, and this hole is along pin center, extends (pin) from an end of pin towards the other end.
In this 4th class composite implant material (synthetism material), preferably should comprise the filler of porous complex with at least a biology of skeletal growth factor dipping, described biology, skeletal growth factor was selected from: BMP, TGF-β, EP4, b-FGF and PRP.The content of also preferred bioceramic particle in the fine and close complex that constitutes the synthetism body of material should be 30-60 quality %, and the content of bioceramic particle in the porous complex that constitutes filler is 60-80 quality %.The porosity that also preferably constitutes the porous complex of filler should be 60-90%, and wherein institute at least 50% is an interconnected pores in porose, and the aperture of interconnected pores is 50-600 μ m.
Advantage of the present invention
In composite implant material of the present invention, the porous complex is by body fluid that contacts with its surface and the effect of infiltrating the body fluid in its interconnected pores, from its surface and inner hydrolysis rapidly.By this hydrolysis, by the induced growth of biological activity bioceramic particle triggering osseous tissue, osseous tissue grows into the inside of porous complex.Composite implant material is replaced by (cartilage) osseous tissue in the short relatively time thus.On the other hand, fine and close complex is not only hard but also firm, hydrolysis get up than the porous complex slowly many.It keeps enough intensity, till hydrolysis proceeds to a certain degree, and finally degraded fully.The bone of living passes through the effect induced growth of biological activity bioceramic particle, and fine and close complex is replaced by osseous tissue thus.Because contained bioceramic particle is biological absorbable in porous complex and the fine and close complex, they neither can replace with regenerated (cartilage) osseous tissue in delay/accumulation, can not enter in soft tissue or the blood vessel yet.
As first kind composite implant material of the present invention, in the composite implant material, the porous complex is stacked on the one side of fine and close complex or all surface and is integrated with it, and such composite implant material has required character or the functions such as timbering material that are used for for example treating above-mentioned articular cartilage disorder.In first kind composite implant material, the porous complex is stacked the one side of fine and close complex and integrated with it, therefore, when the position of this composite implant material being implanted and being fixed to the downright bad part of for example having excised the ossa articularia head, thereby when the porous complex was placed in the cartilage side of ossa articularia head surface, then it played a role by following mechanism.The porous complex is induced the cartilaginous tissue of generation to replace fully in early days and is disappeared, and the final os osseum that is also generated by conduction of fine and close complex with intensity is organized and replaced fully and disappear.The bioceramic particle is also by total assimilation.Thus, the os osseum of Huai Si ossa articularia head part and cartilage portion regeneration.On the other hand, in first kind composite implant material, the porous complex is added on all surface of fine and close complex and is integrated with it, when with the cut-out of this composite implant material implantation joint bone portion, except that above-mentioned effect/advantage, also brought following effect/advantage.With after the os osseum of cut-out contacts, os osseum is organized in the porous complex induced growth rapidly, thereby this composite implant material combines and is fixed to the upper with the cut-out of ossa articularia head in a short time.
In first kind composite implant material, the porosity of porous complex progressively changes having the gradual change degree, thereby porosity interior layer segment from the porous complex in the scope of 50-90% increases towards the top layer part, and this composite implant material has following advantage.Body fluid and osteoblast are easier to infiltrate the face side of the high porosity porous complex with interconnected pores, and the induced growth progress of hydrolysis and (cartilage) osseous tissue rapidly.Therefore, this composite implant material is at more early stage and work (cartilage) synosteosis, to finish regeneration.In whole porous complex, the content of bioceramic particle in the porous complex can be uniform.Yet, when the content of bioceramic particle in the porous complex progressively changes to have the gradual change degree, thereby this content in the scope of 30-80 quality % from the interior layer segment of porous complex when the top layer part increases, such porous complex has following advantage.Because therefore the bioceramic particle ratio height of the face side of porous complex has higher biological activity, has strengthened osteoblast and the osseous tissue induced growth in face side especially.The result is further to have quickened to be replaced by (cartilage) osseous tissue.The osteoblastic porous complex that comprises at least a biology of skeletal growth factor (described biology, skeletal growth factor was selected from: BMP, TGF-β, EP4, b-FGF and PRP) and/or be derived from Living Organism has the following advantages.Osteoblastic propagation/growth is quickened greatly, therefore, and (cartilage) osseous tissue active growth.Therefore, regeneration is carried out rapidlyer.
The second class composite implant material (anchor part) of the present invention can be used for for example rebuilding in the following manner/fixing ligament.This anchor part is connected to each end at tough tape member two ends, and making can be from wherein coming off.The anchor part that will link to each other with the ligament component ends inserts in the hole that forms in live on the kneed respectively bone and the bone (femur and tibia) of living down.Then interference screw is screwed in the space between the inner surface in each anchor part and hole.The result is, the porous composite layer is added on the part of fine and close complex of each anchor part or all surface and is integrated with it, described porous composite layer is by with its body fluid of contact of surface with by infiltrating the body fluid in the interconnected pores, from its surface and inner rapid hydrolysis.Along with this hydrolysis, osseous tissue is by the osteoinductive of biological activity bioceramic particle, and induced growth is to the inside of porous composite layer.The porous composite layer bone of being lived in early days thus replaces, and the inner surface in the hole that forms in anchor part and live on kneed bone and the bone down alive combines.
As mentioned above, when the second class composite implant material (anchor part) that is used for anchoring linked to each other with the end of tough tape member, this anchor part combined with the bone (inner surface in hole) of living in early days.Therefore, compare with the conventional physical fixation of only using interference screw, the two ends of tough tape member become and have the constant intensity that improves greatly.And in this anchor part, fine and close complex is not only hard but also firm, hydrolysis get up than the porous composite layer slowly many, and keep enough intensity, till hydrolysis proceeds to a certain degree.Yet final, fine and close complex complete hydrolysis also disappears, and the while quilt is because the bone replacement alive that effect two conduction of biological activity bioceramic particle form.The result is that the hole that forms in kneed upper and lower bone alive is filled by bone alive.In addition, because contained bioceramic particle is biological absorbable in porous composite layer and the fine and close complex, they neither can or not enter in soft tissue or the blood vessel replacing and regenerated bone retention alive/accumulation yet.
Be used for the second class composite implant material (anchor part) of anchoring, the porosity of porous complex is 50-90%, at least 50% was interconnected pores during institute was porose, the porosity of porous composite layer progressively changes to have the gradual change degree, thereby porosity increases towards the top layer part from the interior layer segment of porous composite layer, and this composite implant material has following advantage.Body fluid and osteoblast are easier to infiltrate in the surface portion of the porous composite layer with high porosity, and the induced growth of hydrolysis and osseous tissue progress is rapid, thereby anchor part combined with the bone (inner surface in hole) of living in the stage more early.When the content of bioceramic particle in the porous composite layer progressively changes having the gradual change degree, thus this content in the scope of 30-80 quality % from the interior layer segment of porous composite layer when the top layer part increases, have following advantage.Because therefore the bioceramic particle ratio height of top layer part has higher biological activity, has strengthened osteoblast and the osseous tissue induced growth in the top layer part especially, further quickened to be lived bone (inner surface in hole) replaces and with the synosteosis of living.And the osteoblastic porous composite layer that comprises at least a skeletal growth factor biology (described osteogenesis biotic factor is selected from: BMP, TGF-β, EP4, b-FGF and PRP) and/or be derived from Living Organism has following advantage.Osteoblastic propagation/growth is quickened greatly, and therefore, the osseous tissue active growth makes to replace carrying out rapidlyer with the live synosteosis and the bone of being lived.And, within the end portion of anchor part or on be formed for the many apertures or the kick that link to each other with tough tape member or tendon parts, this has following advantage.Pass through aperture by the organic fiber that makes ligament or tendon parts, then they are tethered on the anchor part, or, can make biogenetic derivation or synthetical tough tape member or tendon parts and anchor part coupled, thereby can therefrom not break away from so that lose efficacy by organic fiber is tethered in the kick.
Next, can use the 3rd class composite implant material of the present invention by for example following manner, it is used for fixing tendon or ligament (interference screw).The bone graft lobe of transplanting on the tendon end portion is inserted in the hole that forms in the sending down the fishbone on the joint respectively, this interference screw is screwed in the space between the inner surface in each bone graft lobe and hole, thereby the bone graft lobe is pressed to the inner surface in hole and be fixed.In this is used, interference screw itself comprises fine and close complex, described fine and close complex comprises biodegradable and the biologically absorbable polymer that contains the bioceramic particle, although described interference screw is the hollow object that has wherein formed through hole, but it still has enough mechanical strengths, and experience is by the slow hydrolysis of body fluid.Therefore, interference screw keeps its intensity at least 3 months time, and this engages for common bone is necessary, and the bone graft lobe of transplanting each end of tendon can be determined inerrably to press to and be fixed on the inner surface in hole.On the other hand, implant comprises the biodegradable that contains the bioceramic particle and the porous complex of biologically absorbable polymer, and it is inserted in the through hole of interference screw, is the porous body that is similar to spongy bone.This implant makes body fluid and osteoblast infiltrate the inside of porous complex through interconnected pores, compare with the interference screw that comprises fine and close complex, degraded and assimilate more early represents its bone conductibility and osteoinductive based on the biological activity of bioceramic particle simultaneously.Before this degraded/assimilation or simultaneously, progressively discharge the skeletal growth factor such as BMP biology of load.Therefore, the conduction of effectively having quickened bone alive (from the body bone) forms, and finishes bone and engage in several approximately weeks, and this time was compared obviously shorter in essential three months with common bone joint.Therefore, transplant the bone graft lobe of tendon end on the inner surface that so just has been fixed in early days the hole (promptly being fixed on the bone alive).Thereafter, each interference screw and implant be degraded and assimilation further, is finally replaced fully by the bone alive that forms by bone conduction or bone inductive effect, thus the joint is returned to initial condition, and wherein, it is vacant that the through hole of screw no longer keeps.In addition, do not experience the used thermal history of preparation screw, do not worry taking place thermal change owing to comprise interior contained skeletal growth factor biology of the implant of porous complex.And because contained bioceramic particle is biological absorbable in implant and the screw, they neither can or not enter yet/be trapped in soft tissue or the blood vessel in displaced bone retention alive/accumulation.And because the conduction of the osseous tissue due to hydrolysis growth, the top layer part of each interference screw combines with the bone graft lobe of transplanting the tendon end in early days, and combines with the inner surface in hole in early days, therefore can prevent that screw from fluffing.
In the 3rd class composite implant material, the content of bioceramic particle in the fine and close complex that constitutes interference screw is 30-60 quality %, the content of bioceramic particle in the porous complex that constitutes implant is 60-80 quality %, the porosity of porous complex is 60-90%, at least 50% was interconnected pores during institute was porose, the aperture of interconnected pores is 50-600 μ m, and this composite implant material has following advantage.This composite implant material shows gratifying bone conductibility and osteoinductive, keeps the required full strength of interference screw and implant simultaneously, and the bone of can being lived replaces and the bone alive of regenerating.In addition, this implant can be easily and is promptly flooded skeletal growth factor biology.
The present invention's the 4th class composite implant material (synthetism material) that is used for the bone joint uses with following state, and wherein skeletal growth factor was injected/infiltered in the filler that comprises the porous complex biology.Based on the function of following basic constituent material, this synthetism material provides good method for the problem of the synthetism material of above-mentioned correlation technique.It is used under the situation of the composite implant material that is used for fixing tendon or ligament, as the 3rd embodiment.
1. (constituent material)
This composite implant material is the complex that comprises three kinds of compositions.That is to say, it comprises hollow object, although be hollow, but spending the retention time, high mechanical properties that this object has and changqiang make this hollow object can be used as biodegradable synthetism material, wherein through hole is filled with porous material, described porous material works as bone substitute, itself have bone conductibility and osteoinductive, its porous character and mechanical strength are similar to spongy bone, perhaps as accelerated bone infiltration and regenerated support, described porous material comprises skeletal growth factor biology.
2. (function)
A) although comprise three kinds of compositions, but described complex still have as a whole the required sufficient mechanical strength of synthetism material (insert required torsional strenght and will be for some reason such as fracture and isolating bone engages required intensity), and having the ability that in trimestral at least period, keeps intensity, this engages for common bone is essential.
B) the spongy bone sample porous body itself that is filled in the through hole shows bone conductibility and osteoinductive, and than the fine and close object degraded of hollow with assimilate more early, its intensity is not less than outermost high strength cortical bone.Before this behavior or simultaneously, skeletal growth factor biology of load is progressively discharged.Therefore, porous body works as support, promotes effectively to form from the inductivity of body bone.
C) this time is significantly shorter than three months, and three months is that common bone engages necessary.A kind of probability is, bone engages and may finish being as short as in the time in several weeks.Therefore, the patient leaves bed and the required time obviously shortens, and patient, doctor and hospital all obtain huge benefits.
D) thereafter, the porous support of biodegradable hollow synthetism material and formation synthetism material is in vivo progressively degraded and is assimilated, and the bone of finally being lived replaces fully.Bone returns to normal initial condition thus.
E) biology, skeletal growth factor was responsive to heat or chemical change, and its injection or dropping liquid preparation that can be used as solution or suspension state adds in the porous body with interconnected pores, therefore can not change.
Be used for the 4th class composite implant material that bone engages, under the situation of the synthetism body of material that comprises fine and close complex, this main body screwed in the knochenbruch part, with the part of joint and fixing fracture for for example screw.In the synthetism body of material is under the situation of for example pin, this main body is squeezed in the knochenbruch part, to engage and fixing part of fracturing.Engaging like this and fixedly after the fracture portions, the synthetism body of material keeps its intensity at least 3 months time, this engages for common bone is essential, and can determine bone fixation bonding part inerrably, the biodegradable that described synthetism body of material comprises and the close composite of biologically absorbable polymer contain the bioceramic particle.This be because, although main body is a hollow object, have the through hole that will fill with filler, it still has enough mechanical strengths, also because it can be by the slow hydrolysis of body fluid.On the other hand, described filler is the porous body that is similar to spongy bone, and the porous complex of biodegradable that it comprises and biologically absorbable polymer contains the bioceramic particle, and is received in the hole of synthetism body of material.This filler makes body fluid and osteoblast infiltrate the inside of porous complex by interconnected pores, it is than the synthetism body of material degraded that comprises fine and close complex and assimilate more early, based on the biological activity of bioceramic particle, show its bone conductibility and osteoinductive simultaneously.Before this degraded/assimilation or simultaneously, load biology skeletal growth factor such as BMP progressively discharged.Therefore, the conduction of effectively having quickened bone alive (from the body bone) forms, and has finished the bone joint in several approximately weeks, and this is significantly shorter than common bone and engages essential three months.Thereafter, synthetism body of material and filler be degraded and assimilation further, is finally induced the bone alive of formation to replace fully by bone conduction or bone, thus bone recovery is arrived initial condition, and it is vacant that the hole of wherein synthetism body of material no longer keeps.In addition, do not experience the used thermal history of preparation synthetism body of material, do not worry taking place thermal change, and can bring into play the effect of accelerated bone growth owing to comprise interior contained skeletal growth factor biology of the filler of porous complex.And because contained bioceramic particle is biological absorbable in filler and the synthetism body of material, they neither can or not enter yet/be trapped in soft tissue or the blood vessel in displaced bone retention alive/accumulation.
Be used for the 4th class composite implant material that bone engages, the content of bioceramic particle in the fine and close complex that constitutes the synthetism body of material is 30-60 quality %, the content of bioceramic particle in the porous complex that constitutes filler is 60-80 quality %, and this composite implant material has following advantage.This synthetism body of material shows gratifying bone conductibility, keeps essential full strength simultaneously, and the bone of can being lived replaces, and filler also shows gratifying osteoinductive simultaneously, and the bone of can being lived in early days replaces.In addition, be used for the composite implant material that bone engages, the porosity that constitutes the porous complex of filler is 60-90%, and at least 50% was interconnected pores during institute was porose, and the aperture of interconnected pores is 50-600 μ m, and this composite implant material has following advantage.An amount of biology of skeletal growth factor easily can be injected and infiltered in the filler, to promote body fluid or osteoblastic infiltration.Therefore, the hydrolysis of filler and the induced growth of osseous tissue carry out in early days, and filler is replaced fully by bone alive in a short time and disappears.
The accompanying drawing summary
Fig. 1 is the oblique view as the first kind composite implant material of one embodiment of the invention.
Fig. 2 is the figure that illustrates the example that wherein uses described composite implant material.
Fig. 3 is the sectional view that amplifies, and shows the part of described composite implant material.
Fig. 4 is the sectional view as the first kind composite implant material of another embodiment of the invention.
Fig. 5 is the sectional view as the first kind composite implant material of another embodiment of the present invention.
Fig. 6 is the figure that the example that wherein uses described composite implant material is shown.
Fig. 7 is the sectional view as the first kind composite implant material of another embodiment of the invention.
Fig. 8 is the sectional view as the first kind composite implant material of another embodiment of the present invention.
Fig. 9 shows the figure of the example that wherein uses described composite implant material.
Figure 10 (a) is an oblique view, shows an example of the first kind composite implant material of change, and Figure 10 (b) is the schematic section of this composite implant material.
Figure 11 shows the figure of the example that wherein uses described composite implant material.
Figure 12 is a schematic section, shows another example of the first kind composite implant material of change.
Figure 13 is a schematic section, shows another example of the first kind composite implant material of change.
Figure 14 shows the figure of the example that wherein uses described composite implant material.
Figure 15 is a schematic section, shows another example of the first kind composite implant material of change.
Figure 16 shows the figure of the example that wherein uses described composite implant material.
Figure 17 is the oblique view as the second class composite implant material of another embodiment of the present invention.
Figure 18 is the sectional view in the intercepting of the line A-A place of Figure 17.
Figure 19 is the sectional view in the intercepting of the line B-B place of Figure 17.
Figure 20 is the oblique view that its each end is connected with the prosthetic ligament of described composite implant material.
Figure 21 shows the figure of the example that wherein uses described prosthetic ligament.
Figure 22 is the oblique view as the second class composite implant material of another embodiment of the present invention.
Figure 23 is the longitudinal section as the second class composite implant material of another embodiment of the present invention.
Figure 24 is the cross-sectional view as the second class composite implant material of another embodiment of the present invention.
Figure 25 is the cross-sectional view as the second class composite implant material of another embodiment of the present invention.
Figure 26 is the cross-sectional view as the second class composite implant material of another embodiment of the present invention.
Figure 27 is a longitudinal section, shows an example of the second class composite implant material of change.
Figure 28 is the cross-sectional view of described composite implant material.
Figure 29 is a longitudinal section, shows another example of the second class composite implant material of change.
Figure 30 has illustrated the 3rd class composite implant material as another embodiment of the present invention: (a) and (b) and (c) be respectively its front view, longitudinal section and vertical view.
Figure 31 shows an example of the device that is used for fixing tendon or ligament: (a) be the front view of device median surface screw; (b) be the front view of implant in the device; (c) be the front view of container in the device, described container comprises skeletal growth factor biology.
Figure 32 shows the figure of the example of the device that wherein uses described fixedly tendon or ligament.
Figure 33 shows another example of the device that is used for fixing tendon or ligament: (a) be the vertical elevational view of screw in the device; (b) be the longitudinal section of the implant in the device.
Figure 34 shows the 4th class composite implant material as another embodiment of the present invention: (a) and (b) and (c) be respectively its front view, longitudinal section and vertical view.
Figure 35 shows the 4th class composite implant material as another embodiment of the present invention: (a) and (b) and (c) be respectively its front view, longitudinal section and vertical view.
Figure 36 shows an example of synthetism material apparatus: the longitudinal section that (a) is the synthetism body of material of filling with filler in the device; (b) be the front view of the container in the device, described container comprises skeletal growth factor biology.
Figure 37 shows another example of synthetism material apparatus: (a) be the front view of synthetism body of material in the device; (b) be the front view of filler in the device; (c) be the front view of container in the device, described container comprises skeletal growth factor biology.
Figure 38 is the longitudinal section of synthetism body of material in the described synthetism material apparatus.
Figure 39 shows another example of synthetism material apparatus: (a) be the front view of synthetism body of material in the device; (b) be the front view of filler in the device.
Figure 40 (a) is the longitudinal section of synthetism body of material in the synthetism material apparatus, (b) is its vertical view.
Symbol description
1 fine and close complex
2 porous complex
10 interference screws
10c, 11d, 13d through hole
11,13 screws
The 11a head of screw
11b, 12b, 13b hole
12 pins
20 implants
21,22,23 fillers
37 tough tape members
43 Kirschner wires
Preferred forms of the present invention
Describe specific embodiments of the present invention below with reference to the accompanying drawings in detail.
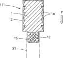
Fig. 1 is the oblique view as the first kind composite implant material of one embodiment of the invention; Fig. 2 shows the figure of an example that wherein uses this composite implant material; Fig. 3 is an amplification sectional view, shows the part of described composite implant material.
Composite implant material 100 shown in Figure 1 is first kind composite implant materials, it comprises fine andclose complex 1 andporous complex 2, andporous complex 2 is superimposed upon the side (in this embodiment for upside) of the top layer part of fine andclose complex 1 and integrated with it.
Fine andclose complex 1 is fine and close complex piece, and biodegradable that it comprises and biologically absorbable polymer contain biology and can absorb and biological activity bioceramic particle.Although in this embodiment, fine andclose complex 1 is the form of solid cylinder, and according to the joint component that composite implant material will be implanted, it can be the solid prism of tetragon, oval solid cylinder or flat plate shape or any other different shape.The size of fine andclose complex 1 is also unrestricted, can be the size that is fit to the joint that composite implant material will implant.
This fine andclose complex 1 requires to have high strength, and described intensity is equal to or higher than the intensity of joint os osseum.Therefore, as the biodegradable of raw material and biologically absorbable polymer preferably crystalline polymer as poly-(L-lactic acid) or poly-(glycolic).Specially suitable is by viscosity-average molecular weight about 150,000 or higher, preferred about 200,000-600, the fine and close complex 1 that 000 poly-(L-lactic acid) obtains.
Mix the preferably following particle of bioceramic particle of thisdensification complex 1, its biologically active, be biological absorbable, can replace fully to have gratifying bone conductibility (inductivity) and gratifying biocompatibility by the live body total assimilation and by osseous tissue.Its example comprises the not calcining of hydroxyapatite, dicalcium phosphate, tricalcium phosphate, tetracalcium phosphate, OCP, calcite, Ceravital, diopside and natural coral and sintering particle not.Wherein, calcining and unsintered hydroxyapatite, tricalcium phosphate and OCP are not optimal, because they have high biological activity and good bone conductibility, are low invasive, and can be assimilated by live body in a short time.From the angle of dispersibility biodegradable and biologically absorbable polymer and Bioabsorbable, the particle diameter of any of these bioceramic particle that use is 30 μ m or littler, preferred 10 μ m or littler, more preferably from about 0.1-5 μ m.The content of bioceramic particle will be explained in the back.
Prepare fine and close complex 1 by for example following method, in described method, the biodegradable that will comprise the bioceramic particle becomes solid cylinder or other given shape with the biologically absorbable polymer injection mould, perhaps by following method preparation, in described method, will comprise the biodegradable of bioceramic particle and the mechanograph of biologically absorbable polymer and cut into solid cylinder or other given shape.Especially, the fine and close complex 1 that obtains by a kind of method in back is specially suitable, in described method, by compression mold or forging, has formed the mechanograph that wherein polymer molecule and crystal are orientated, and has cut this mechanograph.This is because this fine andclose complex 1 is because compression and very fine and close, and the intensity that has further raising owing to the polymer molecule and the crystal of 3 D tropism.In addition, can also use the fine and close complex of obtaining by the mechanograph of cutting stretch forming acquisition.
On the other hand,porous complex 2 is porous bodies, and its inside has interconnected pores, and comprises that containing biology can absorb biodegradable and biologically absorbable polymer with biological activity bioceramic particle.Part bioceramic particle is exposed on the inner surface of the surface of thisporous complex 2 and interconnected pores.Although in this embodiment,porous complex 2 is discs, so that comply with cylindrical fine andclose complex 1, it can have different shape arbitrarily, for example foursquare lamellar and oval-shaped lamellar according to the shape of fine and close complex.In addition, the thickness of thisporous complex 2 is not specifically limited, as long as this complex is thinner than fine and close complex 1.Yet, when the induced growth of considering (cartilage) osseous tissue and with work (cartilage) bone combine character the time, the thickness ofporous complex 2 is preferably about 0.5-15mm.The thickness of its each several part can be different, to form depression and projection.
This porous complex 2 need not to have as the high intensity of fine andclose complex 1, and is just enough for complex 2 as the intensity and the motility of cartilage.This porous complex 2 requires to be degraded rapidly in early days and replace fully with work (cartilage) synosteosis and by it.Therefore, following biodegradable and biologically absorbable polymer are suitable as the raw material ofporous complex 2, and described polymer is safe, can degrade rapidly, and be not too frangible, and be unbodied or the mixture of crystal and amorphous phase.Its example comprises: poly-(D, L-lactic acid), L-lactic acid and D, the copolymer of the copolymer of the copolymer of the copolymer of L-lactic acid, lactic acid and glycolic, lactic acid and caprolactone, lactic acid and ethylene glycol and lactic acid and to the copolymer of dioxanone.These polymer can use separately, perhaps as wherein two or more mixture use.When considering the required intensity ofporous complex 2, biodegradable time etc., it is about 50 that biodegradable that use and biologically absorbable polymer preferably have, 000-600,000 viscosity-average molecular weight.
When considering physical strength, osteoblast infiltration, stability etc., the porosity of wishingporous complex 2 should be 50-90%, preferred 60-80%, interconnected pores accounts for foraminous 50-90%, preferred 70-90%, and the aperture of interconnected pores is 50-600 μ m, preferred 100-400 μ m.The porosity of porous complex 2 surpass 90% and the situation of aperture greater than 600 μ m under, the physical strength of thisporous complex 2 descends and is frangible.On the other hand, when its porosity is lower than 50%, interconnected pores is lower than 50% based on foraminous ratio, and the aperture is during less than 50 μ m, and then body fluid or osteoblast become and be difficult to infiltration.In this case, the hydrolysis ofporous complex 2 and osseous tissue induced growth therein is slack-off, has prolonged with live synosteosis and quilt (cartilage) osseous tissue to replace the required time fully.Yet, have been found that when the tiny interconnected pores of submicron order of 1-0.1 μ m coexists with the interconnected pores with preferred aperture, show osteoinductive.
In whole complex, the porosity of porous complex 2 can be uniform.Yet, when consider with (cartilage) bone of living combine character and conduction/induced growth the time, preferably its porosity should progressively continue to change, thus porosity from the interior layer segment of porous complex 2 towards the increase of top layer part, as shown in Figure 3.Inporous complex 2 with this porosity gradual change degree, wish that its porosity should progressively continue to increase 50-90%, preferred 60-80% from interior layer segment towards the top layer part, the aperture of interconnected pores should progressively increase 100-400 μ m from interior layer segment towards the top layer part.In having theporous complex 2 of these character, hydrolysis is carried out on its top layer one side rapidly, has increased the induced growth of osteoblast infiltration and (cartilage) osseous tissue.This porous complex 2 in early days with work (cartilage) synosteosis.Therefore, early stage after implantation can further improve composite implant material and work (cartilage) synosteosis and by its displaced character.
The bioceramic particle that mixes in this porous complex 2 can be identical with above-mentioned fine and close complex 1 interior contained bioceramic particle.Yet, especially preferable particle size is the bioceramic particle of about 0.1-5 μ m, because use the impossible cut staple of such bioceramic particle, when described fiber prepares the porous complex in the method that for example will describe by the back, form by spraying, and because this such bioceramic particle has gratifying Bioabsorbable.
In wholeporous complex 2, the content of bioceramic particle inporous complex 2 can be uniformly, perhaps can be uneven.Under the uniform situation of a kind of content of pro-, the content of preferred bioceramic particle should be 60-80 quality %.Its content surpasses 80 quality % and causes following point, and promptly so high bioceramic particle content combines with the high porosity ofporous complex 2, causes the physical strength of porous complex 2 to descend.Its content is lower than 60 quality % and causes following point.The biological activity of thisporous complex 2 descends, and therefore, the induced growth of (cartilage) osseous tissue is slack-off.The result is, with the combining and replaced the too many time of needs fully by it of work (cartilage) bone.The more preferably scope of the content of bioceramic particle is 60-70 quality %.
On the other hand, under one situation of back, content is uneven, the preferred content of bioceramic particle inporous complex 2 should be higher than the content of bioceramic particle in fine andclose complex 1, and progressively change having the gradual change degree, thereby content interior layer segment from porous complex 2 that interconnected pores is arranged in the scope of 30-80 quality % increases towards the top layer part.That is to say, inporous complex 2, the mass ratio of preferred bioceramic particle/biodegradable and biologically absorbable polymer should be greater than the mass ratio in fine andclose complex 1, and progressively change having the gradual change degree, thereby mass ratio increases towards the top layer part with 30/70 to 80/20 the scope interior layer segment from porous complex 2.In theporous complex 2 of bioceramic particle content with this gradual change degree, have high-load top layer side and have high biological activity, especially strengthened osteoblast and (cartilage) osseous tissue induced growth in the top layer side.This porous complex 2 in early days with work (cartilage) synosteosis, thereby replaced.
On the contrary, the content of bioceramic particle in fine and close complex 1 preferably is lower than the content of bioceramic particle in porous complex 2, and is in the scope of 30-60 quality %.Its content surpasses 60 quality % and causes following point, promptly requires firm fine and close complex 1 to become frangible, the shortage that becomes intensity.Its content is lower than 30 quality % and causes following point, and promptly the conductivity bone formation by the effect of bioceramic particle becomes not enough, and is replaced a lot of time of needs fully by (cartilage) osseous tissue.In whole fine and close complex 1, the content of bioceramic particle can be uniform, perhaps can change to have the gradual change degree, thereby content from the core of fine and close complex 1 towards around the top layer part or progressively increase towards upside from the bottom side of fine and close complex 1, condition is that its content is lower than the content in the above-mentioned porous complex 2, and is in the scope of 30-60 quality %.In fine and close complex 1 with this bioceramic particle content gradual change degree, have the conduction growth of high-load top layer part or upside experience (cartilage) osseous tissue, the core or the bottom side that have low content simultaneously keep intensity.Finally, this densification complex 1 is all replaced.
Incidentally, want under the situation of gradual change at bioceramic particle separately content in fine andclose complex 1 andporous complex 2, the content of preferred bioceramic particle should progressively continue to change, thereby this content is in the scope of 30-80 quality %, upside from the bottom side of fine and close complex 1 towards porous complex 2 increases, perhaps this content from the core of fine and close complex 1 towards porous complex 2 upside and increase towards the side and the bottom side of fine andclose complex 1.
Preferably should flood this porous complex 2 with at least a biology skeletal growth factor and/or the osteoblast that is derived from Living Organism, described biology, skeletal growth factor was selected from: BMP (bone morphogenetic protein), TGF-β (transforming growth factor), EP4 (prostaglandin receptoroid), b-FGF (basic fibroblast growth factor) and PRP (plateletrich blood plasma).By with any or osteoblast dipping complex 2 in these skeletal growth factor, osteoblastic propagation and growth have been quickened greatly biology.The result is, in the extremely short time (about 1 week), (cartilage) osseous tissue is implemented in the face side growth of porous complex 2, and porous complex 2 is replaced rapidly fully by (cartilage) osseous tissues thereafter, thereby repairs/rebuild work (cartilage) bone.In these factors, TGF-β and b-FGF are effective especially for cartilage-derived growth, and BMP and EP4 are effective especially for the os osseum growth.Therefore, preferably when wanting regenerated bone alive to be cartilage, should flood complex 2 with TGF-β or b-FGF, when wanting regenerated bone alive to be os osseum, with BMP or EP4.On the other hand, PRP is the blood plasma with very high PC, adds PRP and quickens the new growth of bone growth promoting again.In some cases, can infilter other somatomedin such as IL-1, TNF-α, TNF-β or IFN-γ, perhaps medicine.
Oxidation processes such as corona discharge, Cement Composite Treated by Plasma or hydrogen peroxide treatment can be passed through in the surface of this porous complex 2.The advantage of this oxidation processes is, further quickened and the combining and replaced fully of work (cartilage) bone by it, because the surperficial wettability ofporous complex 2 is improved, make osteoblast more effectively infiltrate the interior and growth therein of interconnected pores of this complex 2.Certainly, such oxidation processes also can be passed through in the surface of fine andclose complex 1.
Prepareporous complex 2 by for example following method.At first, biodegradable and biologically absorbable polymer are dissolved in the volatile solvent, the bioceramic particle is mixed with solution with the preparation suspension.By spraying or other technology, make this suspension be configured as fiber, to prepare the fibrous fiber agglomerate that twines by each other.This fiber agglomerate is immersed in volatile solvent such as methanol, ethanol, isopropyl alcohol, dichloroethanes (methane) or the chloroform, make it be swelling or semi-molten state.With the porous fibre agglomerate of the fiber agglomerate of this state compacting, as shown in Figure 1 with the bond vitrified that obtains disc format.Make the interior filament contraction and the fusion of fiber agglomerate of this bond vitrified, thereby eliminate their fiber shape basically, to form matrix.Therefore, the fiber agglomerate becomes the porous complex in form, and wherein the space between the fiber becomes circular interconnected pores.
Under the situation of the porous complex that will increase from interior layer segment towards the top layer part by this prepared porosity, can use following method, in described method, make it enter swelling or semi-molten state and suppress then when obtaining the porous fibre agglomerate of bond vitrified when the fiber agglomerate being immersed volatile solvent, adjust the amount of fiber agglomerate, it is descended from interior layer segment towards the top layer part.On the other hand, under the situation that will prepare the porous complex that content with interconnected pores and bioceramic particle increases from interior layer segment towards the top layer part, can use following method, this method comprises: preparation is mixed with several suspensions of not commensurability bioceramic particle, formation has several fiber agglomerates of different bioceramic particle contents, the order that increases according to the bioceramic particle content these fiber agglomerates that superpose make this assembly be swelling or semi-molten state, and with its compacting.
Composite implant material 100 shown in Figure 1 is to obtain like this: with the be added to upside of fine and close complex 1 in the solid cylinder form of theporous complex 2 of disc-shape, make them integrated by for example hot melting cohesion or other technology.Be used for fine andclose complex 1 is not limited to hot melting cohesion with porous complex 2 incorporate technology.For example, by bonding with binding agent, can make two parts integrated, perhaps can use following method, this method comprises: form wedge-shaped impression on a contact surface of fine andclose complex 1 andporous complex 2, on another contact surface, form the wedge head, the wedge head is installed in the wedge-shaped impression, two complex are integrated.
When above-mentioned composite implant material 100 was used for the treatment of articular cartilage disorder such as the necrosis of kneecap head, its occupation mode was shown in Fig. 2.That is to say, excise the downright bad part of kneecap head, the part 30 of the fine and close complex 1 (preferably comprise BMP, EP4 or PRP, they are effective to the os osseum growth separately) of composite implant material 100 being implanted excision is also fixing.Porous complex 2 (preferably comprise TGF-β or b-FGF, they are respectively naturally to cartilage effective biology of somatomedin) is arranged to cartilage 31 sides, so that be in contact with it.After implanting described embedded material 100 like this, the body fluid hydrolysis in body fluid that porous complex 2 is contacted with the surface of complex 2 and infiltration intraconnection hole, this hydrolysis is from its surface and inner propelling rapidly.By the effect of bioactive ceramics particle, in the peripheral sides of the porous complex 2 that contacts with cartilage 31, cartilaginous tissue is induced growth in the extremely short time, thereby porous complex 2 combines with cartilage 31.Thereafter, porous complex 2 is replaced fully by cartilaginous tissue and rapidly disappears.On the other hand, fine and close complex 2 generation hydrolysis to a certain degree.Yet it keeps enough intensity, till porous complex 2 is almost replaced by cartilaginous tissue.Thereafter, the hydrolysis of fine and close complex 2 further advances, and along with this hydrolysis, because the bone conductibility of bioceramic particle, the os osseum of knee joint bone portion is organized in the conducted inside growth of fine and close complex 1.Finally, fine and close complex 1 is replaced by the os osseum tissue and disappears.In addition, porous complex 2 and also total assimilation and the disappearance of fine and close complex 1 interior contained bioceramic particle.Thereby repaired/rebuild the ill part of knee cartilage fully.
Fig. 4 is the sectional view as the first kind composite implant material of another embodiment of the invention.
Thiscomposite implant material 101 is first kind composite implant materials, and whereinporous complex 2 is added on all surface of top layer part of fine andclose complex 1, just upside, side and bottom side, and integrated with it.Fine andclose complex 1 and porous complex 2 have and above-mentionedcomposite implant material 100 identical construction, have therefore omitted the explanation to them.
Except the effect and advantage of above-mentionedcomposite implant material 100, thiscomposite implant material 101 also has following advantage.Behind the cut-out with fine and close complex 1 implantation joint bone, os osseum is organized in conduction growth in theporous polymer 2, and described porous complex 2 is superimposed upon the side and the bottom side and integrated with it of fine and close complex 1.The result is that in extremely short period, fine andclose complex 1 combines and is fixed to the upper with the inner surface of ossa articularia cut-out.
Fig. 5 is the sectional view as the first kind composite implant material of another embodiment of the present invention, and Fig. 6 shows the figure of the example that uses this composite implant material.
Thiscomposite implant material 102 is first kind composite implant materials, it comprises the fine andclose complex 1 of solid prism shape and theporous complex 2 and 2 of square lamellar, and they are also more integrated with it than complex 1 upside and downside thin and the fine and close complex 1 top layer part that is added to respectively.Fine andclose complex 1 and eachporous complex 2 have and above-mentionedcomposite implant material 100 identical construction, have therefore omitted the explanation to them.
Thiscomposite implant material 102 is for example inserted in the joint component between vertebra such as spinal column, lumbar vertebra or the cervical vertebra, as shown in Figure 6 as spacer.After like this insertingcomposite implant material 102,porous complex 2 and the 2 rapid hydrolysis that contacts with 32 withvertebra 32 up and down respectively, osseous tissue is grown fromvertebra 32 and 32 conduction up and down, and the top layer part of infiltrationporous complex 2 and 2.Porous complex 2 and 2 combines with vertebra in short-term thus, therebycomposite implant material 102 can not break away from joint component.Theseporous complex 2 and 2 are replaced fully by osseous tissue in early days and disappear.On the other hand, fine andclose complex 1 keeps intensity in certain period of time.Yet thereafter, the conduction of osseous tissue is grown in the fine andclose complex 1 and advances, and fine andclose complex 1 is finally replaced fully by osseous tissue and disappears.
In the above-mentionedcomposite implant material 102 that inserts as spacer between the vertebra,porous complex 2 and 2 thickness is excessive to cause following probability, and promptly theseporous complex 2 and 2 narrow down the vertical open space betweenvertebra 32 and 32 by from the above-below direction extruding.Therefore, preferably adjust the thickness of eachporous complex 2 and 2, make little to about 0.1-2.0mm.Turn 90 degrees and be inserted betweenvertebra 32 and 32 by thiscomposite implant material 102 is revolved, andporous complex 2 and 2 lays respectively at the left side and the right side of fine andclose complex 1, fully ruled it out.When implanting describedcomposite implant material 102 by this way, the last lower limb that is in the left side and theporous complex 2 on right side and 2 respectively is as the bridging platform, make to combine in early days withvertebra 32 up and down, the space about keeping simultaneously between thevertebra 32 and 32, and fine and close complex 1 can not lose efficacy.Thus, can prevent thatcomposite implant material 102 from coming off.
Fig. 7 is the sectional view as the first kind composite implant material of another embodiment of the invention.
Thiscomposite implant material 103 also can be used as spacer and inserts between the vertebra such as spinal column, lumbar vertebra or cervical vertebra of joint component.It comprises fine andclose complex 1 andporous complex 2, side up and down in the top layer of described fine and close complex 1 part, arrangeformation projection 1a with sawtooth, andporous complex 2 is added to each of fine and close complex 1 up and down on the side and integrated with it, therebyporous complex 2 has been filled the depression betweenprojection 1a and the 1a.Fine andclose complex 1 and porous complex 2 have and above-mentionedcomposite implant material 100 identical construction, have therefore omitted the explanation to them.
Thiscomposite implant material 103 is inserted between the vertebra, thereby make the inclined-plane ofserration 1a face the front side, thereby except the effect and advantage of above-mentionedcomposite implant material 102, also brought following advantage.Theprojection 1a of fine and close complex 1 bites vertebra up and down gently, therefore, can prevent thatcomposite implant material 103 just breaks away from the space between the vertebra after just inserting.
In eachcomposite implant material 102 and 103 that inserts as spacer between the vertebra, fine andclose complex 1 is solid.Yet, can use inside to be filled with the fine and close complex of hollow of porous complex, the bone powder of living etc.Such advantage is that osseous tissue replaces the progress of fine and close complex 1 rapid.
Fig. 8 is the sectional view as the first kind composite implant material of another embodiment of the present invention, and Fig. 9 shows the figure of the example that uses this composite implant material.
Thiscomposite implant material 104 is composites of lamellar (strip), it comprises fine andclose complex 1 andporous complex 2, described porous complex 2 is thinner than fine andclose complex 1, and two opposition of the complex 1 top layer part that is added to lateral each go up also integrated with it.The tough band portion that it is used to rebuild or reinforcement is connected with the joint.Fine andclose complex 1 and porous complex 2 have and above-mentionedcomposite implant material 100 identical construction, have therefore omitted the explanation to them.
Using this composite implant material 104 to conduct under the situation of the reconstruction of the tough band portion that is connected with the joint or reinforcement, can for example use following method, as shown in Figure 9.On two bones in joint, form hole 33 and 33 respectively, with two ends 34a and 34a patchhole 33 and 33 of ligament 34.Composite implant material 104 and 104 is clipped between the side of two end portion 34a of ligament 34 and 34a and hole 33 and 33 inner surfacies.Interference screw 35 and 35 is screwed in the space between the opposite sides of two end portion 34a and 34a and hole 33 and 33 inner surfacies, with fixing ligament 34.In this case, the porous complex 2 and 2 that is in each composite implant material 104 both sides combines with two the end portion 34a of ligament 34 and the inner surface of 34a and hole 33 and 33, is replaced fully by osseous tissue thereafter and rapidly disappears.In addition, thereafter soon, fine and close complex 1 is also replaced fully by osseous tissue and disappears.Therefore, two of ligament 34 terminal 34a and 34a combine with hole 33 and 33 by complete displaced osseous tissue.In this case, when biodegradable that comprises when interference screw 35 and 35 and biologically absorbable polymer contain biological activity bioceramic particle, then these screws 35 and 35 are also replaced fast by osseous tissue, and combine, thereby further improved the constant intensity of ligament bonding part with two the terminal 34a and the 34a of the inner surface of hole 33 and 33 and ligament 34.
Next, explain the change to composite implant material, the problem that described change is eliminated is identical with 104 problems of being eliminated with above-mentioned first kind composite implant material 100,101,102, can bring effect and the advantage identical with above-mentioned composite implant material.
The composite implant material of these changes comprises: (1) a kind of composite implant material, it is characterized in that comprising that containing biology can absorb and the biodegradable of biological activity bioceramic particle and the porous complex of biologically absorbable polymer, its porosity progressively changes having the gradual change degree, thereby porosity top layer part from the top layer part of complex one side towards its opposite side in the scope of 10-90% increases; (2) a kind of composite implantation material, it is characterized in that comprising that containing biology can absorb and the biodegradable of biological activity bioceramic particle and the porous complex of biologically absorbable polymer, its porosity progressively changes having certain gradual change degree, thus porosity top layer part from the mid portion of complex towards its both sides or increase towards the top layer part around it in the scope of 10-90% from the core of complex.
The composite implantation material of Gai Bianing (embedded material of gradual change) has following advantage like this.Body fluid is easy to infiltrate in the interconnected pores of the porous composite skin part with high porosity.This porous complex so body fluid and the surperficial and inside hydrolysis rapidly of the body fluid in the infiltration interconnected pores from it by contacting with the surface on top layer.Because osteoblast also is easy to infiltrate the top layer part with high porosity, the induced growth of (cartilage) osseous tissue is triggered by biological activity bioceramic particle, and along with hydrolysis, advances towards inside from the top layer part with high porosity.Therefore, the top layer part is replaced by (cartilage) osseous tissue in a short time with the coupled interior layer segment with relative high porosity.On the other hand, the porous complex has the top layer part of that side of low porosity or mid portion or core and has intensity, hydrolysis get up than the top layer part with high porosity slowly many.It keeps intensity, till hydrolysis is advanced to a certain degree, and finally degraded fully.Effect conduction by biological activity bioceramic particle forms the bone of living, and the part of low porosity is replaced by osseous tissue thus.Because contained bioceramic particle is biological absorbable in this porous complex, they neither can replace with regenerated (cartilage) osseous tissue in delay/accumulation, can not enter in soft tissue or the blood vessel yet.
As mentioned above, the composite implant material of these changes (gradual change material) has required character or the function of timbering material that is used for for example treating articular cartilage disorder.Therefore, last kind is implanted in the composite (material of gradual change), porosity progressively changes to have certain gradual change degree, thereby the top layer part of porosity from the top layer part of a side towards opposite side increases, when with its implantation and for example be fixed to the wherein cut part of downright bad part of ossa articularia head, thereby when the top layer part with high porosity was positioned at the cartilage side of ossa articularia head surface, then it worked by following mechanism.In early days, the top layer part with high porosity is induced the cartilaginous tissue of generation to replace fully with the coupled interior layer segment with relative high porosity and is disappeared.And the part that is in offside has low porosity and has intensity, and the final os osseum that is also generated by conduction is organized and replaced fully and disappear.The bioceramic particle is also by total assimilation.Thus, the os osseum of Huai Si ossa articularia head part and cartilage portion regeneration.On the other hand, in a kind of composite implant material in back (gradual change material), porosity progressively changes to have the gradual change degree, thereby the top layer part of porosity from the mid portion of complex towards its both sides increases, perhaps the core from complex increases towards the top layer part around it, when with the cut-out of its implantation joint bone portion, except above-mentioned effect/advantage, also brought following effect/advantage.Os osseum is organized in the rapid induced growth of top layer part that contacts, has high porosity with the os osseum of cut-out, thereby described composite implant material (gradual change material) combines and is fixed to the upper with the cut-out of ossa articularia head in a short time.
In whole porous complex, the content of bioceramic particle can be uniform.Yet, in a kind of composite implant material of pro-(gradual change material), the content of preferred bioceramic particle should progressively change having the gradual change degree, thereby content top layer part from the top layer part of porous complex one side towards its offside in the scope of 30-80 quality % increases.In a kind of composite implant material in back (gradual change material), the content of preferred bioceramic particle should progressively change having the gradual change degree, thus content top layer part from the mid portion of porous complex towards its both sides or increase towards the top layer part around it in the scope of 30-80 quality % from the core of complex.In these composite implant materials (gradual change material), the changes of contents of bioceramic particle is to have this gradual change degree, and the top layer part with high bioceramic particle content has higher biological activity.Therefore, strengthened osteoblast and (cartilage) osseous tissue induced growth especially, further quickened by the replacement of (cartilage) osseous tissue in the top layer part.
Preferred admixture at least a biology of skeletal growth factor and/or be derived from the osteoblast of Living Organism in the composite implant material (gradual change material) of these changes, described biology, skeletal growth factor was selected from: BMP, TGF-β, EP4, b-FGF and PRP.In any composite implant material in comprising these somatomedin or osteoblast (gradual change material), osteoblastic propagation/growth is quickened greatly, therefore, and (cartilage) osseous tissue active growth.Thus, regeneration makes progress rapidlyer.
Explain that below with reference to the accompanying drawings these change the example of composite implant material (gradual change material).
The oblique view of Figure 10 (a) shows an example that changes first kind composite implant material, and Figure 10 (b) is the schematic section of this composite implant material.Figure 11 shows the figure of the example that uses this composite implant material.
This composite implant material (gradual change material) 105 comprises that containing biology can absorb and the biodegradable of biological activity bioceramic particle and theporous complex 2 of biologically absorbable polymer, its porosity progressively changes having the gradual change degree, thereby porositytop layer part 2b (the top layer part of upside) from thetop layer part 2a (the top layer part of downside) of complex one side towards offside in the scope of 10-90% increases.Be shown the form of solid cylinder although comprise the composite implant material (gradual change material) 105 of this porous complex 2 in Figure 10 (a), its shape is not limited thereto.According to the joint component that composite implant material will be implanted, composite implant material can be the solid prism of tetragon, oval solid cylinder or flat plate shape or any other different shape.Its size also can be the optimal size in joint that will implant composite implant material.
The biodegradable and the biologically absorbable polymer that are used to do the raw material of this porous complex 2 can be that crystalline polymer is as poly-(L-polylactic acid) or poly-(glycolic).Yet following biodegradable and biologically absorbable polymer are suitable as the raw material of porous complex 2, and described polymer is safe, can degrade rapidly, and be not too frangible, is unbodied or the mixture of crystalline phase and amorphous phase.This be because, in this porous complex 2, top layer part 2b with high porosity and the coupled interior layer segment with relative high porosity require to have intensity and the motility as cartilage, also require in early days degraded rapidly and replace fully with work (cartilage) synosteosis and by it.The example of suitable polymers comprises: poly-(D, L-lactic acid), L-lactic acid and D, the copolymer of the copolymer of the copolymer of the copolymer of L-lactic acid, lactic acid and glycolic, lactic acid and caprolactone, lactic acid and ethylene glycol and lactic acid and to the copolymer of dioxanone.These polymer can use separately, perhaps as wherein two or more mixture use.When considering the required intensity of porous complex 2, biodegradable time etc., it is about 50 that biodegradable that use and biologically absorbable polymer preferably have, 000-600,000 viscosity-average molecular weight.
Theporous complex 2 that constitutes thiscomposite implant material 105 has the intraconnection hole and comprises the bioceramic particle, and a part of bioceramic particle is exposed on the surface of the inner surface of interconnected pores and complex 2.As mentioned above, the porosity of this porous complex 2 progressively continue to change, thereby porosity is in the scope of 10-90%, preferably thetop layer part 2b (the top layer part of upside) from thetop layer part 2a (the top layer part of downside) of a side towards offside increases in the scope of 20-80%.Preferred interconnected pores should account for foraminous 50-90%, especially 70-90%.The aperture process of interconnected pores is adjusted, thereby is in the scope of 50-600 μ m, preferably is in the scope of 100-400 μ m; The aperture increases towards thetop layer part 2b of the side with high porosity.
The porosity of this gradual change etc. has following advantage.Thetop layer part 2b (the top layer part of high porosity hereinafter referred to as) that is positioned at high porosity one side ofporous complex 2 is because easily infiltration hydrolysis wherein and rapidly of body fluid.In addition, osteoblast is easy to infiltrate wherein, and the high-load of this effect and the following biological activity bioceramic particle that will describe combines, and feasible (cartilage) osseous tissue is induced growth in early days.This porous complex 2 thus with work (cartilage) synosteosis, thereby replaced.The porosity of high porositysurface layer part 2b surpass 90% and the situation of aperture greater than 600 μ m under, this high porositysurface layer part 2b is unfavorable, because its physical strength descends and be frangible.Interconnected pores be lower than foraminous 50% and the situation of aperture less than 50 μ m under, thistop layer part 2b also is unfavorable, because body fluid and osteoblast are difficult to wherein infiltration, the induced growth of hydrolysis and osseous tissue is slow, causes replacing the time lengthening of needs with (cartilage) synosteosis alive with by it.Yet, have been found that when the tiny interconnected pores of submicron order of 1-0.1 μ m coexists with the interconnected pores with this preferred aperture, show osteoinductive.
On the other hand, the intensity that is positioned at thetop layer part 2a (low porosity top layer part hereinafter referred to as) of the low porosityporous complex 2 of offside (downside) descends along with porosity and improves.Yet, owing to will not need high intensity, also just do not need the porosity of low porositytop layer part 2a is not adjusted to value near zero as the composite implant material of the stent applications of joint component.Therefore, the porosity lower limit of low porositytop layer part 2a is adjusted to 10%, and preferred 20%.Thus, given the intensity of suitable support, and can reduce hydrolysis and be replaced the required time fully by (cartilage) osteocyte.
The bioceramic particle that mixes thisporous complex 2 is identical with above-mentioned bioceramic particle, therefore omits the explanation to it.
In wholeporous complex 2, the content of bioceramic particle inporous complex 2 can be even.Yet preferably its content should progressively change having the gradual change degree, thereby contenttop layer part 2b from thetop layer part 2a of low porosity towards high porosity in the scope of 30-80 quality % increases.That is to say, the mass ratio of preferred bioceramic particle/biodegradable and biologically absorbable polymer should progressively change having the gradual change degree, thereby thetop layer part 2b from thetop layer part 2a of low porosity towards high porosity increases in the scope of mass ratio from 30/70 to 80/20.The bioceramic particle content of this gradual change has following advantage, thetop layer part 2b that is high porosity has high bioactivity, strengthened osteoblast and (cartilage) osseous tissue induced growth therein especially, thereby further quickened with work (cartilage) synosteosis with by its replacement.
Surpass under the situation of 80 quality % at the content of bioceramic particle in high porositysurface layer part 2b, bring following point, promptly the physical strength of high porositysurface layer part 2b descends.Be lower than under the situation of 30 quality % at its content in thepart 2a of low porosity top layer, bring following point, promptly in thepart 2a of low porosity top layer, the induced growth of (cartilage) osseous tissue that the effect by the bioceramic particle causes is slack-off, therefore, with the combining and replaced the too many time of needs fully of work (cartilage) bone by it.The more preferably upper limit of bioceramic particle content is 70 quality %.
Preferably should flood this porous complex 1 with above-mentioned at least a biology skeletal growth factor and/or the osteoblast that is derived from Living Organism.By with these material dippingporous complex 2, osteoblastic propagation and growth have been quickened greatly.The result is, in the extremely short time (about 1 week), (cartilage) osseous tissue begins to grow in the high porositysurface layer part 2b ofporous complex 2, andporous complex 2 is replaced fully by (cartilage) osseous tissues thereafter, thereby repairs/rebuild work (cartilage) bone.Incidentally, can infilter biology skeletal growth factor with above-mentioned biology skeletal growth factor identical, therefore omit explanation to them.In some cases, can infilter other somatomedin such as IL-1, TNF-α, TNF-β or IFN-γ, perhaps medicine.
Oxidation processes such as corona discharge, Cement Composite Treated by Plasma or hydrogen peroxide treatment can be passed through in the surface of this porous complex 2.The advantage of this oxidation processes is, further quickened and the combining and replaced fully of work (cartilage) bone by it, because the surperficial wettability ofporous complex 2 is improved, make osteoblast more effectively infiltrate the interior and growth therein of interconnected pores of thiscomplex 2.
Method by substantially the same with the porous complex 2 that is used for for example above-mentioned composite implantation material 100 can prepare the composite implantation material (material of gradual change) 105 that comprises porous complex 2.That is to say that it can be according to following method preparation.Biodegradable and biologically absorbable polymer are dissolved in the volatile solvent, the bioceramic particle is mixed with solution with the preparation suspension.By spraying or other technology, make this suspension form fiber, to prepare the fibrous fiber agglomerate that twines by each other.This fiber agglomerate is immersed in volatile solvent such as methanol, ethanol, isopropyl alcohol, dichloroethanes (methane) or the chloroform, make it be swelling or semi-molten state.The fiber agglomerate of suppressing this state is to obtain the fused viscose fibre agglomerate of porous of solid cylinder form, as shown in figure 10.Make the interior filament contraction and the fusion of fiber agglomerate of this bond vitrified, thereby eliminate their fiber shape basically, to form matrix.Therefore, the fiber agglomerate becomes the porous complex in form, and wherein the space between the fiber becomes circular interconnected pores.In this operation, wherein the fiber agglomerate is immersed volatile solvent so that it is swelling or semi-molten state, suppresses the mode that can carry out with the step of the fiber agglomerate that obtains bond vitrified then and make that the amount of fiber agglomerate is adjusted, reduce from a side (downside) towards offside (upside).The result is, can obtain following porous complex 2, and in described porous complex 2, the top layer part 2b of porosity from the top layer 2a part of a side towards offside progressively increases.Under the situation that will prepare the porous complex 2 that the content of bioceramic particle wherein partly increases towards high porosity surface layer 2b from low porosity top layer part 2a, can use following method, described method comprises: preparation is mixed with several suspensions of not commensurability bioceramic particle, formation has several fiber agglomerates of different bioceramic particle contents, the order that increases according to the bioceramic particle content these fiber agglomerates that superpose, make this assembly be swelling or semi-molten state, and with its compacting.
When above-mentioned composite implant material (gradual change material) 105 was used for the treatment of articular cartilage disorder such as the necrosis of kneecap head, its occupation mode was shown in Figure 11.That is to say, the downright bad part of excision kneecap head 36, with composite implant material 105 (preferred following composite implant material, wherein, will be separately to the os osseum effective BMP that grows, EP4 or PRP mix low porosity top layer part 2a and the coupled interior layer segment with relative low porosity respectively and will mix high porosity surface layer part 2b and the coupled internal layer with relative high porosity to cartilage effective biology of skeletal growth factor TGF-β or b-FGF separately) implant the part 30 of excision and fixing, thus high porosity surface layer part 2b is arranged to cartilage 31 sides and is in contact with it.After implanting described composite implant material 105 like this, high porosity surface layer part 2b is by the surface with top layer part 2b body fluid that contacts and the body fluid that infiltrates the intraconnection hole, from its surface and inner rapid hydrolysis.By the effect of bioactive ceramics particle, in the peripheral sides of the high porosity surface layer part 2b that contacts with cartilage 31, cartilaginous tissue is induced growth in the extremely short time, thereby high porosity surface layer part 2b combines with cartilage 31.Thereafter, high porosity surface layer part 2b is replaced fully by cartilaginous tissue with the coupled interior layer segment with relative high porosity and rapidly disappears.On the other hand, in porous complex 2, low porosity top layer part 2a and coupled interior layer segment generation hydrolysis to a certain degree with relative low porosity.Yet they keep enough intensity, till high porosity surface layer part 2b is almost replaced by cartilaginous tissue.Thereafter, along with hydrolysis further advances, because the bone conductibility of bioceramic particle, the os osseum of kneecap head 36 is organized in low porosity top layer part 2a and the coupled interior layer segment conduction growth with relative low porosity.Finally, these parts are replaced by the os osseum tissue and disappear.In addition, contained bioceramic particle is also also disappeared by total assimilation in this porous complex 2.Therefore, repair/rebuild knee cartilage disease part fully.
The schematic cross-section of Figure 12 illustrates another example that changes first kind composite implant material.
This composite implant material (gradual change material) the 106th, cylinder comprises that containing biology can absorb and the biodegradable of biological activity bioceramic particle and theporous complex 2 of biologically absorbable polymer, as above-mentioned composite implant material 105.Yet, the difference of it and above-mentionedcomposite implant material 105 is, its porosity progressively changes to have the gradual change degree, thereby porosity is in the scope of 10-90%, preferably increase towards thetop layer part 2d around it from thecore 2c of porous complex 2 in the scope of 20-80%, and the content of bioceramic particle progressively changes having the gradual change degree, therebycontent core 2c from porous complex 2 in the scope of 30-80 quality % increases towards thetop layer part 2d around it.
When with the cut-out 30 of this composite implant material (gradual change material) 106 implantation joint bones, except the effect and advantage of above-mentionedcomposite implant material 105, also brought following advantage.Have high porosity and high bioceramic particle content and withtop layer part 2d that the inner surface of cut-out 30 contacts in, the conduction growth rapidly of os osseum tissue.The result is that in a short time,top layer part 2d combines and is fixed to the upper with the inner surface of the cut-out 30 of ossa articularia.
The schematic cross-section of Figure 13 illustrates another example that changes first kind composite implant material, and Figure 14 shows the example that uses this composite implant material.
As above-mentionedcomposite implant material 105, this composite implant material (gradual change material) 107 comprises that containing biology can absorb and the biodegradable of biological activity bioceramic particle and theporous complex 2 of biologically absorbable polymer.Yet, the difference of it and above-mentionedcomposite implant material 105 is, it is prismatical form, its porosity progressively changes to have the gradual change degree, thereby porosity is in the scope of 10-90%, preferably top layer part 2f from themid portion 2e of porous complex 2 towards upper and lower sides and 2f increase in the scope of 20-80%, the content of bioceramic particle progressively changes having the gradual change degree, thereby content top layer part 2f and 2f from themid portion 2e of porous complex 2 towards upper and lower sides in the scope of 30-80 quality % increases.
This composite implant material (gradual change material) 107 is for example inserted thevertebra 32 and 32 of joint component as between spinal column, lumbar vertebra or the cervical vertebra, as shown in figure 14 as spacer.After like this inserting composite implant material 107, porosity and bioceramic particle content height, the top layer part 2f and the rapid hydrolysis of 2f that contacts with 32 withvertebra 32 up and down respectively, osseous tissue is fromvertebra 32 and 32 conduction growths up and down, and infiltration top layer part 2f and 2f.Top layer part 2f and 2f combine with vertebra thus in a short time, thereby composite implant material 107 can not break away from joint component.These top layers part 2f and 2f are replaced fully by osseous tissue in early days and disappear.On the other hand,mid portion 2e keeps intensity in certain period of time.Yet thereafter, the conduction of osseous tissue is grown among themid portion 2e and advances, and it is finally replaced by osseous tissue fully and disappears.
In the above-mentioned composite implant material (material of gradual change) 107 that will insert as spacer between the vertebra, have that the thickness of the part 2f of top layer up and down of high porosity and 2f is excessive to cause following probability, be that these top layers part 2f and 2f are pushed from above-below direction, the vertical open space betweenvertebra 32 and 32 is narrowed down.Therefore, the thickness separately of top layer part 2f and 2f about preferred the adjustment makes thickness little of about 0.1-2.0mm.Turn 90 degrees and be inserted betweenvertebra 32 and 32 by this composite implant material 107 is revolved, and high porosity surface layer part 2f and 2f lay respectively at left side and the right side of low porositymid portion 2e, can eliminate this probability fully.When implanting described composite implant material 107 by this way, the last lower limb that is in the left side and the high porosity surface layer part 2f on right side and 2f respectively is as the bridging platform, combine withvertebra 32 and 32 up and down in early days, keep the space between thevertebra 32 and 32 up and down simultaneously, and the low porositymid portion 2e with intensity can not lose efficacy.Thus, can prevent that composite implant material 107 from coming off.
The schematic cross-section of Figure 15 illustrates another example that changes first kind composite implant material, and Figure 16 shows the example that wherein uses this composite implant material.
As above-mentionedcomposite implant material 105, this composite implant material (gradual change material) 108 comprises that containing biology can absorb and the biodegradable of biological activity bioceramic particle and theporous complex 2 of biologically absorbable polymer.Yet, the difference of it and above-mentionedcomposite implant material 105 is, it is the form of sheet (small pieces), thereby the tough band portion that is fit to reconstruction or reinforcement and articulation, its porosity progressively changes to have the gradual change degree, thereby porosity is in the scope of 10-90%, preferably top layer part 2g from themid portion 2e of porous complex 2 towards left and right sides and 2g increase in the scope of 20-80%, the content of bioceramic particle progressively changes having the gradual change degree, thereby content top layer part 2g and 2g from themid portion 2e of porous complex 2 towards left and right sides in the scope of 30-80 quality % increases.
This composite implant material (gradual change material) 108 is used to rebuild or the ligament of reinforcement and articulation, as shown in figure 16.That is to say that it uses according to following manner shown in Figure 16.Hole 33 and 33 forms on two bones in joint respectively, with two ends 34a and 34a patchhole 33 and 33 of ligament 34.Composite implant material 108 and 108 is clipped between the side of two end portion 34a of ligament 34 and 34a and hole 33 and 33 inner surfacies.Interference screw 35 and 35 is screwed in the space between the offside of two end portion 34a and 34a and hole 33 and 33 inner surfacies, with fixing ligament 34.In this case, two end portion 34a of the high porosity surface layer part 2g of each composite implant material 108 both sides and 2g and ligament 34 and 34a also combine with the inner surface of hole 33 and 33, are replaced fully by osseous tissue then and rapidly disappear.In addition, thereafter soon, the low porosity mid portion 2e with intensity is also replaced fully by osseous tissue and disappears.Therefore, two of ligament 34 end portion 34a and 34a combine with hole 33 and 33 by complete displaced osseous tissue.In this case, when interference screw 35 and 35 comprises the biodegradable that contains biological activity bioceramic particle and biologically absorbable polymer, then these screws 35 and 35 are also replaced fast by osseous tissue, and combine, thereby further improved the constant intensity of ligament bonding part with two the end portion 34a and the 34a of the inner surface of hole 33 and 33 and ligament 34.
Certainly, preferably with above-mentioned any biology skeletal growth factor and/or the osteoblast that is derived from body alive flood each composite implant material (gradual change material) 106,107 and 108.
The second class composite implant material of the present invention is described below with reference to the accompanying drawings, and it will be connected to the end portion of tough tape member or tendon parts as anchor part.
Figure 17 is the oblique view as the second class composite implant material of another embodiment of the present invention.Figure 18 is the sectional view in the intercepting of the line A-A place of Figure 17.Figure 19 is the sectional view in the intercepting of the line B-B place of Figure 17.Figure 20 is the oblique view that each end has the prosthetic ligament of this composite implant material.
Figure 17 extremely second class composite implant material 109 shown in Figure 19 will be connected to each end of tough tape member 37 as anchor part, as shown in figure 20, perhaps be connected to each end of tendon parts.It is fixed to the two ends of tough tape member 37 in the hole that forms on two bones alive in joint respectively toughly.As shown in figure 17, this composite implant material (anchor part) the 109th, the parts of oval solid cylinder form, it has the projection tab 1b in the core formation of an edge surface (edge surfaces of tough tape member 37 sides), many aperture 1c that get out are arranged on the projection tab 1b, be used for tough tape member 37 is connected with it.The organic fiber that makes the tough tape member 37 that the back will describe is by these apertures 1c and tie down, thereby composite implant material 109 can be connected to the end portion of prosthetic ligament parts 37, prevents that simultaneously it from coming off.The shape of composite implant material 109 is not limited to oval solid cylinder, composite implant material 109 can have Any shape, as long as it can easily be inserted in the hole that forms in joint such as the kneed bone of living up and down, and can stably fix by enough interference screws, screw in the inner surface and the space between the composite implant material 109 in each hole.
As Figure 18 and shown in Figure 19, thiscomposite implant material 109 as ligament component ends anchor comprises fine andclose complex 1 andporous complex 2, described fine andclose complex 1 is oval solid cylinder form, comprise that containing biology can absorb biodegradable and biologically absorbable polymer with biological activity bioceramic particle, described porous complex 2 is to contain biology can absorb biodegradable and biologically absorbable polymer with biological activity bioceramic particle,porous complex 2 is added to a part of upward surperficial and integrated with it of fine andclose complex 1, promptly is the circumferential surface of complex 1 in the presentembodiment.Projection tab 1b is integrated and therefrom stretch out with an edge surface of fine and close complex 1 in oval solid cylinder form.
As the core of thecomposite implant material 109 that is used for anchoring, fine andclose complex 1 requires to have high strength.Therefore, preferably biodegradable and the biologically absorbable polymer with the fine and close complex 1 that is used for above-mentionedcomposite implant material 100 is identical with biologically absorbable polymer as the biodegradable of raw material.The bioceramic particle that mixes this fine andclose complex 1 is also identical with contained bioceramic particle in the fine andclose complex 1 of above-mentionedcomposite implant material 100, therefore omits the explanation to them.
Prepare this fine and close complex 1 by for example following method, in described method, the biodegradable that will comprise the bioceramic particle becomes oval solid cylinder with the biologically absorbable polymer injection mould, hasprojection tab 1b on the described cylindrical edge surface and with thisprojection tab 1b boring, perhaps by following method preparation, in described method, the mechanograph that will comprise the biodegradable of bioceramic particle and biologically absorbable polymer cuts into oval solid cylinder, hasprojection tab 1b on the described cylindrical edge surface and with thisprojection tab 1b boring.Especially, the fine and close complex 1 that obtains by a kind of method in back is specially suitable, in described method, by compression molded or forge, form the mechanograph that wherein polymer molecule and crystal are oriented, and cuts this mechanograph.This is because this fine andclose complex 1 is because compression and very fine and close, the intensity that has further raising owing to the polymer molecule and the crystal of 3 D tropism.In addition, can also use the fine and close complex that obtains by the mechanograph that obtains of cutting stretch forming.
On the other hand, the layer ofporous complex 2 is porous bodies, and its inside has interconnected pores, and comprises that containing biology can absorb biodegradable and biologically absorbable polymer with biological activity bioceramic particle.Part bioceramic particle is exposed on the inner surface of the surface of thisporous complex 2 and interconnected pores.Although in this composite implant material (anchor part) 109 as embodiment, 2 of porous complex are superimposed upon on the circumferential surface of fine and close complex 1 in the oval solid cylinder form, it is also integrated with it on all surface of fine and close complex 1 exceptprojection tab 1b butporous complex 2 also can be added to, that is to say the circumferential surface of fine andclose complex 1 and two edge surfaces.
The layer thickness ofporous complex 2 is not specifically limited, as long as thiscomplex 2 is thinner than fine and close complex 1.Yet, when the induced growth of considering osseous tissue and with the bone of living combine character the time, its thickness is preferably about 0.5-15mm.In addition, the layer thickness of porous complex 2 need not fully evenly, and in the porous composite layer that for example has depression and projection, the thickness between the each several part can be different.
The layer of porous complex 2 need not to have the high intensity of the fine and close complex ofpicture 1, but requires hydrolysis rapidly in early days, replaces fully with synosteosis alive and by it.Therefore, preferably biodegradable and the biologically absorbable polymer with theporous complex 2 that is used for above-mentionedcomposite implant material 100 is identical with biologically absorbable polymer as the biodegradable of the raw material ofporous complex 2.
When considering physical strength, osteoblast infiltration, stability etc., wish that the porosity of the layer of porous complex 2 should be 50-90%, preferred 60-80%, interconnected pores accounts for institute foraminous 50% or more, preferred 70-90%, the aperture of interconnected pores is 50-600 μ m, preferred 100-400
μ m is the same with the situation of theporous complex 2 of above-mentioned composite implant material 100.Its reason with on to regard to theporous complex 2 ofcomposite implant material 100 described the same, therefore omit explanation here to them.
In whole complex, the porosity of porous complex 2 can be uniform.Yet, when consider with the bone of living combine character and conduction/induced growth the time, preferred its porosity should progressively change to have the gradual change degree, thereby porosity increases towards the top layer part from the interior layer segment of the layer ofporous complex 2, as the situation of theporous complex 2 of composite implant material 100.In the layer of porous complex 2 with this gradual change porosity, wish that its porosity should be in the scope of 50-90%, preferably in the scope of 60-80%, progressively continue to increase towards the top layer part from interior layer segment, the aperture of interconnected pores should progressively increase towards the top layer part from interior layer segment in the scope of 50-600 μ m.In the layer of theporous complex 2 with these character, the hydrolysis progress of its top layer side has increased the induced growth of osteoblast infiltration and osseous tissue rapidly.This porous complex 2 in early days with live synosteosis.Therefore, in early days, can improve the constant intensity of the bone of living up and down of 109 pairs of knee joints of composite implant material (anchor part) etc.
The bioceramic particle that mixes in this porous complex 2 can be identical with above-mentioned fine and close complex 1 interior contained bioceramic particle.Yet, especially preferable particle size is the bioceramic particle of about 0.1-5 μ m, because use the impossible cut staple of these bioceramic particles, described fiber can be when the method that for example will describe by the back preparesporous complex 2, form by spraying, and because these bioceramic particles have gratifying Bioabsorbable.
In whole porous composite layer 21d, the content of bioceramic particle inporous complex 2 can be uniformly, as the situation of theporous complex 2 of above-mentionedcomposite implant material 100, perhaps can be uneven.Under the uniform situation of a kind of content of pro-, the content of preferred bioceramic particle should be 60-80 quality %.Its reason with on to regard to the description ofporous complex 2 ofcomposite implant material 100 the same, therefore omit explanation here to them.More preferably the content range of bioceramic particle is 60-70 quality %.
On the other hand, under the uneven situation of a kind of content in back, the preferred content of bioceramic particle in porous complex 2 should be higher than the content of bioceramic particle in fine and close complex 1, and progressively change to have the gradual change degree, thereby content interior layer segment from the layer of porous complex 2 in the scope of 30-80 quality % increases towards the top layer part, as the situation of the porous complex 2 of composite implant material 100.That is to say, in porous complex 2, the mass ratio of preferred bioceramic particle/biodegradable and biologically absorbable polymer should be greater than the mass ratio in fine and close complex 1, and progressively change having the gradual change degree, thereby the interior layer segment from the layer of porous complex 2 increases towards the top layer part in the scope of mass ratio from 30/70 to 80/20.In the porous composite layer 2 of bioceramic particle content with this gradual change, have biological activity height in the side of high-load top layer, especially strengthened osteoblast and osseous tissue induced growth in the top layer side.This porous complex 2 replaces fully with synosteosis alive and by it in early days.Therefore, in early days, can improve the constant intensity of the bone of living up and down of 109 pairs of knee joints of composite implant material (anchor part) etc.
On the contrary, the content of bioceramic particle in fine and close complex 1 preferably is lower than the content of bioceramic particle in porouscomposite layer 2, and is in the scope of 30-60 quality %, and is the same with the situation of the fine andclose complex 1 of above-mentioned composite implant material 100.Its reason with on to regard to the description of fine andclose complex 1 ofcomposite implant material 100 the same.
In whole fine andclose complex 1, the content of bioceramic particle in fine and close complex 1 can be uniformly, and condition is that its content is lower than the content inporous complex 2 and is in the scope of 30-60 quality %, as mentioned above.
Perhaps, the content of bioceramic particle in fine and close complex 1 can progressively change to have the gradual change degree, thereby content increases towards peripheral part from the axial portions of fine andclose complex 1, condition is that its content is lower than the content inporous complex 2 and is in the scope of 30-60 quality %, as mentioned above.
In the fine andclose complex 1 of bioceramic particle content with this gradual change, have the conduction growth of high-load peripheral part experience osseous tissue, the axial portions that has low content simultaneously keeps intensity.Finally, thisdensification complex 1 is all replaced.
Incidentally, want under the situation of gradual change at the content of bioceramic particle in each fine andclose complex 1 andporous complex 2, preferred its content should progressively continue to change to have the gradual change degree, thereby this content is in the scope of 30-80 quality %, and the top layer part from the axial portions of fine and close complex 1 towards porous complex 2 increases.
From flooding the angle of skeletal growth factor and various medicines, having the porous complex with these character on the surface of fine and close complex 1 also is useful for 2 layers.That is to say that hope should be flooded this porous composite layer 21d with at least a above-mentioned skeletal growth factor biology (being BMP, TGF-β, EP4, b-FGF and PRP) and/or the osteoblast that is derived from Living Organism.By with any and/or osteoblast dipping porous composite layer in these skeletal growth factor, osteoblastic propagation and growth have been quickened greatly biology.The result is that in the extremely short time (about 1 week), osseous tissue begins to divide growth in the skin section of porous composite layer 21d.Porous composite layer 21d thus with live synosteosis, the bone of being lived thereafter replaces rapidly fully.In these factors, BMP and EP4 are effective especially for the os osseum growth.Therefore, in these factors, preferably should will implant and be fixed to the porous complex 2 of the composite implant material (anchor part) 109 in the hole with any dipping among BMP and the EP4, described hole forms in os osseum such as kneed femur or tibia.On the other hand, PRP is the blood plasma with very high PC, adds PRP and can quicken the new growth of bone growth promoting again.In some cases, can infilter other somatomedin such as IL-1, TNF-α, TNF-β or IFN-γ, perhaps medicine.
The laminar surface of porous complex 2 can pass through oxidation processes such as corona discharge, Cement Composite Treated by Plasma or hydrogen peroxide treatment.The advantage of this oxidation processes is, further quickened and the combining and being substituted by it of the bone of living, because the laminar surface wettability ofporous complex 2 is improved, makes osteoblast more effectively infiltrate in the interconnected pores of this complex 2 and growth therein.Improved the early stage constant intensity of this composite implant material (anchor part) 109.Certainly, such oxidation processes also can be passed through in the surface of fine andclose complex 1.
Method by substantially the same with theporous complex 2 that is used forcomposite implant material 100 can prepare 2 layers of porous complex.At first, biodegradable and biologically absorbable polymer are dissolved in the volatile solvent, the bioceramic particle is mixed with solution with the preparation suspension.By spraying or other technology, make this suspension be configured as fiber, to prepare the fibrous fiber agglomerate that twines by each other.This fiber agglomerate is immersed in volatile solvent such as methanol, ethanol, isopropyl alcohol, dichloroethanes (methane) or the chloroform, make it be swelling or semi-molten state.With the fiber agglomerate of the fiber agglomerate of this state compacting with the porous bond vitrified that obtains oval hollow circular cylinder form.Make the interior filament contraction and the fusion of fiber agglomerate of this bond vitrified, thereby eliminate their fiber shape basically, to form matrix.Therefore, the fiber agglomerate becomes the porous composite layer of oval hollow circular cylinder form, and wherein the space between the fiber becomes circular interconnected pores.In this case, can use following method, in described method, form two porous composite layers of half oval hollow circular cylinder form, then that they are integrated each other.
Under the situation of the porous composite layer that will increase from interior layer segment towards the top layer part by this prepared porosity, can use following method, in described method, when the fiber agglomerate is immersed volatile solvent, make it be swelling or semi-molten state, compacting then is when obtaining the porous bond vitrified fiber agglomerate of oval hollow circular cylinder form or half oval hollow circular cylinder form, adjust the amount of fiber agglomerate, this amount is descended from interior layer segment towards the top layer part.On the other hand, under the situation that will prepare the porous complex that the bioceramic particle content increases from interior layer segment towards the top layer part, can use following method, this method comprises: preparation is mixed with several suspensions of not commensurability bioceramic particle, formation has several fiber agglomerates of different bioceramic particle contents, the order that increases according to the bioceramic particle content these fiber agglomerates that superpose make this assembly be swelling or semi-molten state, and with its compacting.
Obtain Figure 17 to composite implant material (anchor part) 109 shown in Figure 19 by following manner.The fine andclose complex 1 of oval solid cylinder form is installed in 2 layers of the porous complex of oval hollow circular cylinder form.Perhaps, the two-layerporous complex 2 of half oval hollow circular cylinder form is integrated each other, and in the oval solid cylinder form that is added to fine and close complex 1 around.By for example hot melting cohesion that these synergetic parts are integrated, to obtain the target composite implant material.Be used for fine andclose complex 1 is not limited to hot melting cohesion with 2 layers of incorporate technology of porous complex.For example, by bonding with cement, can make two parts integrated, perhaps can use following method, this method comprises: form wedge-shaped impression on a contact surface of 2 layers of fine andclose complex 1 and porous complex, on another contact surface, form the wedge head, the wedge head is installed in the wedge-shaped impression, two complex are integrated.
Thereby prosthetic ligament shown in Figure 20 comprises theprosthetic ligament parts 37 that form as raw material with organic fiber and each the terminalcomposite implant material 109 that can therefrom not break away from that is connected totough tape member 37 as anchor part.
More specifically,prosthetic ligament parts 37 can comprise array structure down, and described structure is the three-dimensional woven structure, or comprises along the braiding structure of the organic fiber of three or more arrangement, or comprises the structure of the combination of textile structural and braiding structure.Perhaps, it can comprise fabric that contains organic fiber etc.Thisprosthetic ligament parts 37 have hot strength and the motility that is equal to or higher than the live body ligament, and show the deformational behavior that is similar to the live body ligament.The structure that constitutesprosthetic ligament parts 37 is identical with Japanese patent application 6-254515 number (No. 3243679, Japan Patent) described structure being submitted to by the applicant.When represent used geometry with dimension, when representing the direction number of fiber alignment with the number of axle, then this structure is above-mentioned three dimensional structure with three or more.
Three three dimensional structures be by along three axially, i.e. the fibrous structure of length, width and the vertical direction three-dimensional arrangement of extending.The typical shape of this structure is thick bar shaped as shown in figure 20.Yet hollow cylinder shape also is possible.According to architectural difference, this three three dimensional structures are categorized as right-angle structure, on-right angle structure, leno (leno) structure, cylindrical structure etc.Advantage with three dimensional structure of four or a plurality of is, and is fiber arranged by the direction along 4,5,6,7,7 or 11 etc., can improve the intensity isotropism of structure.By the prosthetic ligament parts of selecting these factors, can prepare to be similar to thelive body ligament 37.
Comprise that theprosthetic ligament parts 37 of said structure preferably have the interior porosity of 20-90%.Portion's porosity is lower than under 20% the situation within it, and thistough tape member 37 is too fine and close, and motility and deformability are impaired.Therefore, this tough tape member is not satisfied as the succedaneum of biogenetic derivation ligament.On the other hand, portion's porosity surpasses under 90% the situation within it, and the shape-retaining force of thistough tape member 37 descends, and demonstrates too high percentage elongation.Therefore, this tough tape member also is not satisfied as the succedaneum of biogenetic derivation ligament.
The organic fiber that will be used as the material ofprosthetic ligament parts 37 is preferably the fiber of the inert synthetic resin fiber of biological example such as polyethylene, polypropylene and politef, or through coated fibres, described coated fiber is by obtaining to give its biologically inert with any coating organic core core fibre in these biologically inert resins.Especially, from the angle of the intensity of woven/knitted, hardness, elasticity, the suitability etc., be best with the linear low density polyethylene coating ultra high molecular polyethylene nuclear coated fiber that core fibre obtains, diameter is about 0.2-0.5mm.
The structure that constitutes the organic fiber ofprosthetic ligament parts 37 is disclosed in (No. 3243679, Japan Patent) in detail above-cited Japanese patent application 6-254515 number.Therefore omit further explanation to it.
Except above-mentioned organic fiber structure or fabric, also can be used asprosthetic ligament parts 1 by absorbable poly-(lactic acid) fibroplastic fabric of biology or three-dimensional woven fiber.
Organic fiber by makingtough tape member 37 is connected tocomposite implant material 109 on each end oftough tape member 37 as anchor part, thereby can therefrom break away from by being tethered on theprojection tab 1b at themany aperture 1c that form on theprojection tab 1b and with them.
Figure 21 shows the example that wherein uses above-mentionedprosthetic ligament 38.
This makes use-case that following situation has been described, wherein by following manner, in the knee joint betweenprosthetic ligament 38 implantedfemurs 39 and thetibia 40, torebuild.In femur 39 andtibia 40,form hole 33 and 33 at first, respectively.Prosthetic ligament 38 is inserted in the knee joint by these holes, and the composite implant material (anchor part) 109 and 109 atprosthetic ligament parts 37 two ends is inserted respectively in twoholes 33 and 33.Interference screw 35 is screwed in the inner surface and the space betweencomposite implant material 109 in thehole 33 on thefemurs 39, thiscomposite implant material 109 being pressed to the inner surface side in thehole 33 ofscrew 35 offsides, thus fixing composite implant material 109.In addition,interference screw 35 is screwed in the inner surface and the space between anothercomposite implant material 109 inhole 33 on thetibia 40, keepprosthetic ligament parts 37 appropriateness lax simultaneously, thiscomposite implant material 109 being pressed to the inner surface side in thehole 33 ofscrew 35 offsides, thus fixing composite implant material 109.Thus,prosthetic ligament 38 is implanted and is fixed on the knee joint.
After implanting prosthetic ligament 38 by this way, by with its body fluid of contact of surface with infiltrate the effect of the body fluid of its interconnected pores, 2 layers of porous complex of each composite implant material (anchor part) 109 are from its surface and inner rapid hydrolysis.Along with this hydrolysis, because the osteoinductive of biological activity bioceramic particle, the osseous tissue that exists in the hole 33 is at the inside induced growth of 2 layers of porous complex, and the porous complex is replaced by osseous tissue for 2 layers in early days.Composite implant material 109 combines with the osseous tissue of existence in the hole 33 and 33 that forms in femur 39 and tibia 40 respectively thus.Therefore, with only with interference screw fixedly the regular situation at ligament two ends compare, the composite implant material 109 and 109 that lays respectively at prosthetic ligament 38 two ends has the constant intensity of improvement greatly.On the other hand, the fine and close complex 1 of each composite implant material 109 is not only hard but also firm, hydrolysis get up than 2 layers of porous complex slowly many.It keeps enough intensity, till hydrolysis proceeds to certain degree.Finally, replace by the bone alive that is formed by the effect of biological activity bioceramic particle conduction, fine and close complex 1 complete hydrolysis also disappears.Therefore, the hole 33 and 33 that forms in kneed femur 39 and tibia 40 is almost by the bone complete filling of living.In addition, because in each composite implant material 109, contained bioceramic particle is biological absorbable in 2 layers of porous complex and the fine and close complex 1, described bioceramic particle neither can replace and regenerated bone alive in delay/accumulation, can not enter in soft tissue or the blood vessel yet.
In addition, comprise that theprosthetic ligament parts 37 of biologically inert organic fiber structure have intensity and the motility that is equal to or higher than the live body ligament, and show and be similar to bone ligament deformational behavior alive.Therefore, even because knee joint bending and whenprosthetic ligament parts 37 repeated to apply tensile force, thisprosthetic ligament parts 37 almost were not afraid of fracture yet.In crooked and stretching process, it can not bring sense of discomfort.
Incidentally, when usedinterference screw 35 when being biodegradables that contain the bioceramic particle of comprising with biologically absorbable polymer and the fine andclose complex 1 of formation identical, its advantage is, these screws also can hydrolysis and the bone of being lived replace, therebyhole 33 and 33 is by the bone complete filling of living.
Figure 22 is the oblique view as the second class composite implant material of another embodiment of the present invention.
Thiscomposite implant material 110 has from theoutstanding projection tab 1b face of the end face oftough tape member 37 sides, has many kick 1d on the upper and lower sides ofprojection tab 1b and the left and right sides, replaces aperture 1c.The organic fiber ofprosthetic ligament parts 37 is tethered on the kick 1d, is connected on each end atprosthetic ligament parts 37 two ends, prevent that simultaneously it from coming off therebycomposite implant material 110 can be used as anchor part.As shown in the figure, each kick 1d can have homogeneous thickness all the time.Yet the end of preferred kick should expand or be crooked, comes off with the organic fiber that prevents to tie down.Other structure of this composite implant material (anchor part) 110 is identical to above-mentioned composite implant material (anchor part) 109 shown in Figure 19 with Figure 17, therefore omits the explanation to them.
Be tethered on the kick 1d by organic fiber, also thiscomposite implant material 110 can be connected on theprosthetic ligament parts 37, thereby can therefrom do not break away from tough tape member 37.Therefore, thiscomposite implant material 110 can be used for implantation/reconstruction.Certainly, thiscomposite implant material 110 can produce effect and the advantage identical with thecomposite implant material 109 of above-mentionedprosthetic ligament 38.
Figure 23 is the longitudinal section as the second class composite implant material of another embodiment of the present invention.
This composite implant material (anchor part) 111 comprises: fine andclose complex 1 andporous complex 2, and described fine andclose complex 1 comprises theannular projection 1e that has the saw-tooth shaped cross section shape and form on its circumferential surface; Describedporous complex 2 is superimposed on the circumferential surface of fine andclose complex 1 and is integrated with it, thus the depression thatporous complex 2 is filled between the annular projection 1e.Other structure of thiscomposite implant material 111 is identical with thecomposite implant material 109 of above-mentionedprosthetic ligament 38, therefore omits the explanation to them.
Except the effect and advantage of thecomposite implant material 109 of above-mentionedprosthetic ligament 38, thiscomposite implant material 111 also has following advantage.When in mode shown in Figure 21, withinterference screw 35, when being fixed to thiscomposite implant material 111 compressings in thehole 33 and 33 that forms in kneedfemur 39 andtibia 40 respectively, the inner surface of eachhole 33 and 33 is bitten at the tip of the zigzagannular projection 1e in the fine andclose complex 1 of then thiscomposite implant material 111 gently.Therefore, even when prosthetic ligament being applied the tensile force that knee joint bending causes, with the direction shown in the arrow that ought press Figure 23, whencomposite implant material 111 applies power F, in describedcomposite implant material 111,porous complex 2 does not combine with the osseous tissue that exists in eachhole 33 and 33, does not worry that thencomposite implant material 111 may deviate from from eachhole 33 and 33.
Figure 24 is the cross-sectional view as the second class composite implant material of another embodiment of the present invention.
This composite implant material (anchor part) 112 comprises: fine andclose complex 1 andporous complex 2, and described fine andclose complex 1 is the form of oval solid cylinder, it comprises theridge 1f that has triangular cross-sectional shape separately and form on its circumferential surface; Describedporous complex 2 is superimposed upon on the circumferential surface of fine andclose complex 1 and is integrated with it, thus the depression thatporous complex 2 is filled between these ridges 1f.Other structure of thiscomposite implant material 112 is identical with thecomposite implant material 109 of above-mentionedprosthetic ligament 38, therefore omits the explanation to them.
Thiscomposite implant material 112 is connected on each end at prosthetic ligament parts two ends as anchor part, and the structure of Huo Deing also has following advantage like this.The inner surface in each hole that forms is bitten at the tip ofridge 1f gently in knee joint is lived bone up and down.Therefore, thiscomposite implant material 112 can have the constant intensity of improvement, till the osseous tissue that exists in the hole of theporous complex 2 ofcomposite implant material 112 and each bone of living combines.
Figure 25 is the cross-sectional view as the second class composite implant material of another embodiment of the present invention.
This composite implant material (anchor part) 113 comprises: 2 layers of fine andclose complex 1 and porous complex, and described fine andclose complex 1 is the form of above-mentioned oval solid cylinder; Described porouscomposite layer 2 is superimposed upon on the one side of fine and close complex 1 circumferential surface in the oval solid cylinder form and is integrated with it, described one side will be pressed to that circumferential surface one side of eachhole 33 inner surface exactly, and describedhole 33 forms on kneed two bones alive respectively.Other structure of thiscomposite implant material 113 is identical with thecomposite implant material 109 ofprosthetic ligament 38, therefore omits the explanation to them.
In thecomposite implant material 113,porous complex 2 is stacked to be added on only side of aforesaid fine and close complex 1 circumferential surface and integrated with it, when it is connected to each terminal going up ofprosthetic ligament parts 1 as anchor part, brings following advantage.Press to that layerporous complex 2 rapid hydrolysis ofhole 33 inner surfacies, replaced by osseous tissue, and combine with the inner surface in hole 33.Therefore, in early days, can improve the bond strength of composite implant material 113.Yet, being noted that the offside porous composite layer of no use of fine and close complex 1 circumferential surface covers, it all is slowly that its conduction at hydrolysis and osseous tissue is grown aspect two, therefore,chien shih hole 33 was almost filled by bone alive when needs were considerable.
Figure 26 is the cross-sectional view as the second class composite implant material of another embodiment of the present invention.
This composite implant material (anchor part) the 114th, the composite with three-decker, it comprises the core layer that contains fine andclose complex 1, is superimposed upon 2 layers of each upper and lower sides of core layer and incorporate with it porous complex.Thiscomposite implant material 114 is the form of oval solid cylinder as a whole.It comprises the projection tab (not shown) with aperture or projection, is used to fasten the organic fiber ofprosthetic ligament parts 37, and described projection tab is formed on the edge surface of the core layer that comprises fine andclose complex 1.
When thiscomposite implant material 114 is connected to each terminal going up ofprosthetic ligament parts 37 as anchor part, bring following advantage.Be placed in the close inner surface that contacts thehole 33 that on the bone alive of joint, forms of 2 layers of beginning of porous complex oncomposite implant material 114 1 sides, in hydrolysis, replaced rapidly by osseous tissue.Theporous complex 2 of one side thus with rapid combination of inner surface in hole, therefore, in early days, can improve the bond strength of this composite implant material 114.On the other hand, 2 layers of also hydrolysis in early days of the porous complex of opposite side, by the effect of bioceramic particle, the induced osteogenesis cell grows up to osseous tissue in interconnected pores.Therefore, compare with the situation ofcomposite implant material 113 shown in Figure 25, can be when shortchien shih hole 33 bone of almost being lived be full of.
Next, explain the change to composite implant material, described change has been eliminated and the identical problem of the above-mentioned second class composite implant material, and it is as the anchor part of prosthetic ligament etc., and can have effect and the advantage identical with those composite implant materials.
The change of the second class composite implant material comprises: (1) a kind of composite implant material, it will be connected to the end portion of tough tape member or tendon parts as anchor part, thereby can therefrom not break away from, it is characterized in that comprising following porous complex, described porous complex is to contain biology can absorb biodegradable and biologically absorbable polymer with biological activity bioceramic particle, the porosity of described material progressively changes having the gradual change degree, thereby porosity axial portions from complex in the scope of 0-90% increases towards its peripheral part; (2) a kind of composite implant material, be connected to the end portion of tough tape member or tendon parts as anchor part, thereby can therefrom not break away from, it is characterized in that comprising following porous complex, described porous complex is to contain biology can absorb biodegradable and biologically absorbable polymer with biological activity bioceramic particle, its porosity progressively changes having the gradual change degree, thereby the end portion of porosity from the end portion of that complex that will connect tough tape member or tendon parts towards offside increases.
When be used for for example following manner rebuilding/fixedly during ligament, the composite implant material of Gai Bianing respectively has following advantage like this.Composite implant material is connected to each end of tough tape member as anchor part, thereby can therefrom not break away from.These composite implant materials are inserted respectively in the hole that the kneed bone (femur and tibia) of living up and down upward forms.Then interference screw is screwed in the space between the inner surface in each composite implant material and hole.The result is, by the effect of the body fluid in body fluid that contacts with composite surface and the interconnected pores that infiltrates peripheral part or end portion, constitute high hole peripheral part or end portion surperficial and rapid hydrolysis in inside of the porous complex of each composite implant material from it.Along with this hydrolysis because the osteoinductive of biological activity bioceramic particle, induce osseous tissue from peripheral part of high hole or end portion towards growth inside.This peripheral part or end portion are replaced by bone alive thus in early days, and composite implant material combines with the inner surface in the hole that forms on knee joint bone alive up and down.As mentioned above, by composite implant material is had following advantage as each terminal prosthetic ligament that obtains that anchor part is connected to tough tape member, be that composite implant material combines with the bone (inner surface in hole) of living in early days, therefore, with only compare with the conventional physical fixation of interference screw, the two ends of tough tape member become and have the constant intensity of improvement greatly.
In addition, in these composite implant materials, the low porosity axial portions of porous complex is connected tough tape member with the porous complex that end is firm, hydrolysis get up than the end portion of peripheral part of high porosity and offside slowly many, therefore keep enough intensity, till hydrolysis is advanced to certain degree.Yet final, low porosity part complete hydrolysis also disappears, and the bone alive that is conducted formation simultaneously by the effect of biological activity bioceramic particle replaces.The result is that the hole that forms on the bone of living is filled by bone alive.In addition, because contained bioceramic particle is biological absorbable in fine and close complex and the porous complex, they neither can or not enter in soft tissue or the blood vessel replacing and regenerated bone retention alive/accumulation yet.
In the composite implant material of a kind of change (1), the content of preferred bioceramic particle should progressively change having the gradual change degree, thus content in the scope of 30-80 quality % from the axial portions of porous complex towards peripheral part increase that will contact with bone.In the composite implantation material of a kind of change in back (2), the content of preferred bioceramic particle should progressively change having the gradual change degree, thereby content end portion from the porous complex end portion that will connect tough tape member or tendon parts towards offside in the scope of 30-80 quality % increases.
The composite implantation material of the change of these bioceramic particle content gradual changes has following advantage.Because peripheral part or oppose end partly have high bioceramic particle content, therefore have higher biological activity, strengthened osteoblast and osseous tissue part or oppose end induced growth partly around especially.Therefore, further quickened to be replaced by the bone of living and with the combining of the bone of living.
In addition, in the composite implant material of these changes, also wishing should be with at least a above-mentioned biology of skeletal growth factor and/or be derived from the osteoblast dipping porous complex of Living Organism.The advantage of this composite implant material is that osteoblastic propagation/growth is quickened greatly, therefore, the osseous tissue active growth, make with the bone of living combine and the bone replacement of being lived makes progress rapidlyer.Within the also preferred part endways or on be formed for connecting the many apertures or the kick of tough tape member or tendon parts.The advantage of this composite implant material is, pass through aperture by the organic fiber that makes tough tape member or tendon parts, tie down them then, perhaps by organic fiber is tethered in the kick, tough tape member or tendon parts can be connected thereto, determine simultaneously inerrably to prevent to come off.
Explain that below with reference to the accompanying drawings these change the example of the second class composite implant material.
The longitudinal section of Figure 27 shows an example of the second class composite implant material of change, and Figure 28 is the cross-sectional view of this composite implant material.
Thisanchor part 115 is parts of oval solid cylinder form, and it comprises that containing biology can absorb and the biodegradable of biological activity bioceramic particle and theporous complex 2 of biologically absorbable polymer.It is connected to each end of above-mentionedprosthetic ligament parts 37, thereby can therefrom break away from.Will as the biodegradable of the material ofporous complex 2 and biologically absorbable polymer and bioceramic particle can with used identical of theporous complex 2 of above-mentionedcomposite implant material 109 etc.
The porosity that constitutes theporous complex 2 ofanchor part 115 progressively changes having the gradual change degree, thereby porosity is in the scope of 0-90%, preferably theaxial portions 2h from complex 2 increases towards itsperipheral part 2i in the scope of 15-80%.In thisporous complex 2, preferred interconnected pores accounts for institute foraminous 50% or more, especially 70-90%, the aperture of interconnected pores should be adjusted, make it in the scope of 50-600 μ m, preferably in the scope of 100-400 μ m, and increase towardsperipheral part 2i of high porosity.
This change in porosity and aperture has following advantage.Has peripheral part 2i (peripheral part of high porosity hereinafter referred to as) of the porous complex 2 of large aperture and high porosity hydrolysis rapidly because body fluid infiltrates wherein easily.In addition, osteoblast is easy to infiltrate wherein, and the high-load of this effect and the following biological activity bioceramic particle that will describe combines, and makes osseous tissue induced growth in early days.Peripheral part 2i is thus in early days with synosteosis alive and by its replacement.Therefore, in the hole 33 that in the composite implant material 115 that comprises this porous complex 2 is inserted in kneed each bone of living up and down, forms, and with interference screw fixedly the time, high porosity peripheral part 2i of then this composite implant material 115 in early days with the inner surface in hole 33 in synosteosis alive.The result is, and only compares with the fixed situation of interference screw, and this composite implant material 115 becomes and has higher constant intensity.For high porosity peripheral part 2i, porosity surpass 90% and the aperture be unacceptable greater than 600 μ m because the physical strength of this high porosity peripheral part 2i descends and is frangible.Interconnected pores be less than foraminous 50% and the situation of aperture less than 50 μ m under, this peripheral part 2i is unacceptable, because body fluid and osteoblast are difficult to infiltration wherein, the induced growth of hydrolysis and osseous tissue is slow, cause being replaced by the bone of living and with the time lengthening that combines needs of the bone of living.
On the other hand, the axial portions 2h (low porosity axial portions hereinafter referred to as) with porous complex 2 of low hole is firm, and the intensity of this low hole axle center 2h reduces to improve because of porosity.Therefore, when the anchor part that is used for articular ligament need not to have high strength, the porosity of low porosity axial portions 2h need not to be always 0%, although when needs high strength, its porosity should as implied abovely be 0%.Therefore, wish that the porosity lower limit of low porosity axial portions 2h should be preferably 15%, thereby give the intensity of the anchor part that is suitable for ligament, reduce hydrolysis and replaced the required time by bone alive fully.Form projection tab 2j, make its edge surface integrated and therefrom give prominence to this low porosity axial portions 2h that intensity arranged.Projection tab 2j has aperture 2k.When the organic fiber that makes prosthetic ligament parts 37 is by these apertures 2k and on fastening it, then this composite implant material 115 can be connected on the end portion of tough tape member 37, thereby can therefrom break away from.Certainly, the organic fiber of prosthetic ligament parts 37 end portion can be imbedded and is fixed among the firm low porosity axial portions 2h of composite implant material 115, make organic fiber can not come off.
In the porous complex 2 that constitutes composite implant material 115, the content of bioceramic particle in whole porous complex 2 can be even.Yet preferably its content should progressively change having the gradual change degree, thereby content increases from low porosity axial portions 2h towards high porosity peripheral part 2i in the scope of 30-80 quality %.That is to say that the mass ratio of preferred bioceramic particle/biodegradable and biologically absorbable polymer should progressively continue to change, thereby mass ratio increases in 30/70 to 80/20 scope towards high porosity peripheral part 2i from low porosity axial portions 2h.The bioceramic particle content of this gradual change has following advantage, and promptly high porosity peripheral part 2i has high bioactivity, strengthened osteoblast and osseous tissue induced growth therein especially, thus further quickened to be replaced by the bone of living and with the combining of the bone of living.Surpass under the situation of 80 quality % at the content of bioceramic particle in high porosity peripheral part 2i, this has brought following point, and promptly the physical strength of high porosity peripheral part 2i descends.Its content in low porosity axial portions 2h is lower than under the situation of 30 quality %, this has brought following point, and is promptly in low porosity axial portions 2h, slack-off by the osseous tissue induced growth that the effect of bioceramic particle causes, therefore, replaced the too many time of needs fully by the bone of being lived.The more preferably upper limit of bioceramic particle content is 70 quality %.
Preferably should constitute theporous complex 2 ofcomposite implant material 115 with above-mentioned any biology skeletal growth factor and/or the osteoblast dipping that is derived from Living Organism.By this dipping, osteoblastic propagation and growth have been quickened greatly.The result is, in the extremely short time (about 1 week), osseous tissue begins to grow in high porosityperipheral part 2i ofporous complex 2, to quicken and the combining of the inner surface in hole 33.In addition, the bone major part of being lived is filled the required time by replacing fully of porous complex 2 can to reduce hole 33.Oxidation processes such as corona discharge, Cement Composite Treated by Plasma or hydrogen peroxide treatment can be passed through in the surface of thisporous complex 2, thereby have improved the surperficial wettability ofporous complex 2, further quicken osteoblastic infiltration and growth.
The composite implant material 115 that can comprise porous complex 2 by for example following method preparation.At first, biodegradable and biologically absorbable polymer are dissolved in the volatile solvent, with the bioceramic mix particles wherein with the preparation suspension.By spraying or other technology, make this suspension be configured as fiber, to prepare the fibrous fiber agglomerate that twines by each other.This fiber agglomerate is inserted in the oval hollow circular cylinder, make fibre weight therefrom mind-set reduce around.The fiber agglomerate of inserting is further immersed in the volatile solvent, make it be swelling or semi-molten state.With the fiber agglomerate of this state of axial compacting of elliptical cylinder body, with the fiber agglomerate of the porous bond vitrified that obtains oval solid cylinder form.Make filament contraction and fusion in this bond vitrified piece fiber agglomerate, thereby eliminate their fiber shape basically, to form matrix.Therefore, the fiber agglomerate becomes the porous complex in form, and wherein the space between the fiber becomes circular interconnected pores.Cut an end of this porous complex of oval solid cylinder form, to form projection tab and aperture.Thus, prepared composite implant material 115.Under the situation of the content that will prepare bioceramic particle porous complex 2 of piece 2i increase on every side, can use following method from low porosity axle center piece 2h towards high porosity.Preparation is mixed with several suspensions of not commensurability bioceramic particle, therefrom forms the different several fiber agglomerates of bioceramic particle content.These fiber agglomerates are inserted in the oval hollow circular cylinder, are made fiber agglomerate be placed in the center with minimum content, the order that other coma increases according to content towards around lay.Use volatile solvent, make the fiber agglomerate of inserting like this be swelling or semi-molten state, then compacting.
The longitudinal section of Figure 29 shows another example that changes the second class composite implant material.
Thiscomposite implant material 116 also is the parts of oval solid cylinder form, and it comprises the biodegradable that contains the bioceramic particle and theporous complex 2 of biologically absorbable polymer.Yet, in thisporous complex 2, its porosity progressively changes having the gradual change degree, thus porosity in the scope of 0-90%, preferably in the scope of 15-80% from an end of complex 2, theend portion 2m that promptly will connecttough tape member 37 increases towards theend portion 2n of offside.In addition, the content of bioceramic particle progressively changes having the gradual change degree, therebycontent end portion 2n fromend portion 2m towards offside in the scope of 30-80 quality %increases.Projection tab 2j is outstanding from end portion, and the porosity of described end is low or be 0%, and firm, formsmany aperture 2k on this projection tab 2j.The organic fiber ofprosthetic ligament parts 37 is inserted in theseapertures 2k, therebycomposite implant material 116 is connected on the end portion oftough tape member 37 as anchor part, thereby can therefrom break away from.Other structure of thiscomposite implant material 116 is identical withanchor part 115, therefore omits the explanation to them.
Can use thiscomposite implant material 116 according to following manner.Composite implant material 116 is connected to each end oftough tape member 1 as anchor part.Thesecomposites 116 are inserted in thehole 33 that forms in knee joint is lived bone up and down respectively, fix with interference screw then.The result is, upside and circumferential surface with opposeend part 2n of high porosity, and be positioned under the high porosity opposeend part 2n and the rapid hydrolysis of circumferential surface with part of relative high porosity, and the inner surface with eachhole 33 combines in early days, and the bone of being lived simultaneously replaces.Therefore, in early days, improved the constant intensity of each composite implant material 116.On the other hand, porosity is low or be that 0% end portion 2m hydrolysis is slow, and keeps its intensity in the regular hour section.Yet thisend portion 2m is replaced fully by bone alive and rapidly disappears, and the almost superseded bone alive in eachhole 33 is full of.
The form of oval solid cylinder although above-mentioned composite implant material (anchor part) 115 and 116 is respectively done for oneself, its shape is not limited to oval solid cylinder.Composite implant material can have Any shape, needs only them and can easily insert in thehole 33 that forms on knee joint is lived bone up and down respectively, and can stably fix by enough interference screws.
After on the end portion of the tough tape member that is connected to biogenetic derivation or tendon parts, artificial tendon parts etc., can use above-mentioned various composite implant material (anchor part) 109,110,111,112,113,114,115 and 116, make can therefrom not break away from.
Next, will explain the 3rd class composite implant material with reference to the accompanying drawings, it uses the interference screw of fix tendon or ligament.
Figure 30 shows the 3rd class composite implant material as another embodiment of the present invention: (a) and (b) and (c) be respectively its front view, longitudinal section and vertical view.
Thiscomposite implant material 117 that is used for fixing tendon or ligament comprises: interference screw 10 (hereinafter referred is a screw), it comprises that containing biology can absorb and the biodegradable of biological activity bioceramic particle and the fine and close complex of biologically absorbable polymer, and has the throughhole 10c that is used to insert Kirschner wire that forms along its centre line C L; Withimplant 20, it comprises that containing biology can absorb with the porous complex of the biodegradable of biological activity bioceramic particle and biologically absorbable polymer and be used for fillingvias 10c, and describedimplant 20 usefulness above-mentioned any biology of skeletal growth factor flooded.
Thescrew 10 of thiscomposite implant material 117 has roughly approximate hemispheric head of screw 10a.The diameter of the head ofscrew 10a almost external diameter withscrew thread 10b is identical.The top of cuttingscrew thread 10b is to have flat surface.Especially, near the top of thescrew thread 10b in screw tip zone through obviously cutting, with the external diameter that obtains reducing.This screw form make screw can be smoothly and the hole that in kneecap, forms of precession in depth in, the plane of threaded top is pressed towards the end portion bone graft lobe of the inner surface in hole and the transplanting tendon in the patchhole etc. simultaneously.
Thisscrew 10 has the throughhole 10c that is used to insert Kirschner wire that forms along its centre line C L.This throughhole 10c is made up of following part: can only therefrom insert the wholecircle boreportion 10e and thebig bore portion 10d of Long Circle of Kirschner wire, it is positioned on the 10e of hole, and the tip of throw also can be installed therein.Being used for being not limited to the Long Circle hole to thebore portion 10d that the throw tip wherein is installed, can be the hole of Any shape, for example oval, tetragon or hexagon, and wherein can not dally in the tip of throw, and revolving force can be delivered on thescrew 10.
Screw 10 in thisscrew 10, can form the aperture (not shown) that links to each other with throughhole 10c (10d and 10e), as long as can be kept for the required intensity of screw of fixing tendon or ligament.Form these apertures and have following advantage.Body fluid and osteoblast are easy to infiltrate in theimplant 10 of clogging in the through hole by aperture, and contained skeletal growth factor biology is easy to discharge along with the degraded ofimplant 20 and assimilation.Therefore, can further quicken the growth and the bone joint of bone alive.
Thescrew 10 of thiscomposite implant material 117 comprises that the above-mentioned biology that contains can absorb and the biodegradable of biological activity bioceramic particle and the fine and close complex of biologically absorbable polymer, and requires to have and be equal to or higher than live the up and down high strength of bone (os osseum) of joint.Therefore, being suitable as the biodegradable of its raw material and biologically absorbable polymer is that crystalline polymer is as poly-(L-lactic acid) or poly-(glycolic).Preferred especially viscosity-average molecular weight is 150,000 or higher, is desirably about 200,000-600,000 poly-(L-lactic acid).
As the bioceramic particle that will mix in the fine and close complex that constitutesscrew 10, contained identical in the fine andclose complex 1 of the preferred bioceramic particle that uses and above-mentionedcomposite implant material 100.
In the fine and close complex that constitutes screw 10, the content of bioceramic particle is preferably in the scope of 30-60 quality %.Surpass under the situation of 60 quality % at its content, it is frangible that fine and close complex may become, and causes screw 10 to lack intensity.Its content is lower than 30 quality % and causes following point, and promptly the conduction bone formation of the effect by the bioceramic particle becomes insufficient, and screw 10 needing to be replaced more time fully by osseous tissue.In the whole fine and close complex that constitutes screw 10, the content of bioceramic particle can be uniform in the scope of 30-60 quality %, perhaps can change having the gradual change degree, thus content in the scope of 30-60 quality % from the core of fine and close complex towards around progressively increase.In the later case, screw 10 comprises the fine and close complex of the bioceramic particle content with this gradual change, its advantage is, in early days, osseous tissue is in peripheral part with high bioceramic particle content (peripheral part of the peripheral part of head of screw 10a and screw handle) conduction growth, these peripheral part combine with the inner surface in each hole that forms in bone is lived in the joint up and down respectively in early days, and with patchhole in each end of transplanting tendon on the bone graft lobe combine.Therefore screw 10 can not become flexible etc.
Can be prepared as follows thescrew 10 of composite implant material 117: the biodegradable and the biologically absorbable polymer that will comprise the bioceramic particle are molded, to produce the fine and close complex mechanograph of solid cylinder form, this mechanograph is cut into screw form for example shown in Figure 30.In this case, prepare fine and close complex mechanograph, and when cutting this mechanograph, bring following advantage when using compression molded or forging.This fine and close complex is very fine and close owing to compress, and polymer molecule wherein and crystal are by 3 D tropism.Therefore, can obtain to have more high-intensity screw 10.In addition, can preparescrew 10 like this:, obtain the mechanograph that polymer molecule wherein is orientated by single shaft, and cut this mechanograph by stretch forming.
On the other hand, theimplant 20 ofcomposite implant material 117 is configured as cylindrical, correspondence and the throughhole 10c that meets screw 10.That is to say that thisimplant 20 comprises: have thecolumn part 20b of wholecircle tee section and certain-length, correspondence also meets the wholecircle shape boreportion 10e that only is used for therefrom inserting Kirschner wire; With thebarrel portion 20a with long round section and certain-length, correspondence also meets theLong Circle macropore 10d that is positioned on thebore portion 10e, wherein throw can also be installed, andbarrel portion 20b and 20a are by vertically integrated.
Thisimplant 20 comprises and above-mentioned contain biology and can absorb and the biodegradable of biological activity bioceramic particle and the porous complex of biologically absorbable polymer that its inside has interconnected pores.Part bioceramic particle is exposed on the surface of the inner surface of interconnected pores and porous complex.
The porous complex that constitutes thisimplant 20 need not to have as the high intensity of thescrew 10 that comprises fine and close complex, for the porous complex, its intensity and flexibly performance prevent thatimplant 20 from breaking just enough when inserting the throughhole 10c of screw 10.This porous complex requires in early days the degraded rapidly and the bone of being lived to replace fully.Therefore, as the biodegradable of the raw material of porous complex and biologically absorbable polymer preferably with theporous complex 2 of above-mentionedcomposite implant material 100 in biodegradable and biologically absorbable polymer be identical.
When consider essential physical strength, with biology skeletal growth factor dipping well-formedness, osteoblast permeability and stability etc. the time, the porosity of wishing the porous complex of formation implant 20 should be 60-90%, preferred 65-85%, interconnected pores accounts for institute foraminous 50% or more, preferred 70-90%, the aperture of interconnected pores is 50-600 μ m, preferred 100-400 μ m.The porosity of porous complex surpass 90% and the situation of aperture greater than 600 μ m under, the physical strength of this porous complex descends, and makes implant 20 become frangible.On the other hand, when its porosity is lower than 60%, interconnected pores is lower than 50% based on foraminous ratio, and the aperture then is difficult to inject and infilter an amount of skeletal growth factor biology rapidly during less than 50 μ m, and body fluid or the osteoblastic infiltration difficulty that also becomes.In this case, the hydrolysis of porous complex and osseous tissue induced growth therein is slack-off, and therefore, the through hole 10c that has prolonged screw 10 bone of being lived replaces fully and fills the required time.Yet, have been found that when the tiny interconnected pores of submicron order of 1-0.1 μ m coexists with the interconnected pores with this preferred aperture, show osteoinductive.
In whole porous complex, the porosity that constitutes the porous complex ofimplant 20 can be uniformly in the scope of 60-90%, perhaps can continue to increase towards circumferential surface and last lower end in the scope of 60-90%.In whole complex, the aperture of interconnected pores can be uniformly in the scope of 50-600 μ m, perhaps can progressively increase towards circumferential surface and last lower end in the scope of 50-600 μ m.Theimplant 20 that comprises the porous complex in porosity with this gradual change and aperture has following advantage.By having high porosity and wide-aperture lower end and the circumferential surface of going up, can inject and infilter an amount of skeletal growth factor biology rapidly.Therefore, hydrolysis advances rapidly from last lower end and circumferential surface, has strengthened the induced growth of osteoblast infiltration and osseous tissue.Therefore, further quickened the bone replacement of being lived.
The bioceramic particle that mixes in the porous complex that constitutesimplant 20 can be identical with contained bioceramic particle in the fine and close complex that constitutes above-mentioned screw 10.Yet, especially preferable particle size is the bioceramic particle of about 0.1-5 μ m, because use the impossible cut staple of such bioceramic particle, described fiber can be when the method that for example will describe by the back prepares the porous complex, form by spraying, and because such bioceramic particle has gratifying Bioabsorbable.
In the porous complex that constitutesimplant 20, the content of bioceramic particle is preferably 60-80 quality %.In whole porous complex, its content can be uniformly in this scope, perhaps can have the gradual change degree, thereby content increases towards circumferential surface and last lower end in this scope.Its content surpasses 80 quality % and causes following point, and promptly so high bioceramic particle content combines with the high porosity of porous complex, causes comprising the physical strength decline of theimplant 20 of described porous complex.Its content is lower than 60 quality % and causes following point.The biological activity of this porous complex descends, and therefore, the induced growth of osseous tissue is slack-off.The result is to have prolonged the bone of being lived and replaced the required time fully.The more preferably scope of bioceramic particle content is 60-70 quality %.In having the porous complex of this gradual change content, have high-load top layer and have high biological activity, strengthened osteoblast and osseous tissue induced growth therein especially.Therefore, further quickened the bone replacement of being lived.
Infilter skeletal growth factor biology in theimplant 20 that comprises described porous complex and can be any among for example above-mentioned BMP, TGF-β, EP4, b-FGF and the PRP.These factors can infilter separately, perhaps infilter as two or more mixture wherein.The osteoblast that also preferably any combination in these skeletal growth factor should be derived from biology Living Organism infilters in the implant 20.Can with any or its mixture in these skeletal growth factor biology be derived from injection or the instillation preparation of the osteoblast of Living Organism as solution or suspension state, infilter in thecore 20.
Any and/or osteoblast in these skeletal growth factor is infiltered in thecore 20 biology, and this has following advantage.Beforecore 20 hydrolysis or simultaneously, biology, osteoblastic propagation/growth was obviously quickened in outflow such as skeletal growth factor.Therefore, bone engages (for example, engaging between the inner surface in the hole that forms) and finishes in several approximately weeks in the bone graft lobe of transplanting tendon one end and sending down the fishbone on the joint, and osseous tissue begins to grow at the skin section branch of the porous complex that constitutes implant 20.Thereafter, the porous complex is replaced fully by bone alive rapidly, and the throughhole 10c ofscrew 10 is filled by bone alive.As mentioned above, the biology shown in the above, BMP and EP4 were effective especially to the os osseum growth in the skeletal growth factor.PRP is the blood plasma with very high PC, adds PRP and can quicken the new growth of bone growth promoting again.In some cases, can mix other somatomedin such as IL-1, TNF-α, TNF-β or IFN-γ.
Oxidation processes such as corona discharge, Cement Composite Treated by Plasma or hydrogen peroxide treatment can be passed through in the surface that comprises theimplant 20 of described porous complex.This oxidation processes has following advantage.The surperficial wettability ofimplant 20 improves, and osteoblast more effectively infiltrates interconnected pores and growth therein by the slight void betweenimplant 20 and the through hole 10c.Therefore, quickened further to be lived that bone replaces fully and the throughhole 10c ofscrew 10 is lived in early days that bone is filled.Certainly, such oxidation processes also can be passed through in the surface that comprises thescrew 10 of described fine and close complex.
Theimplant 20 that can comprise described porous complex by for example following method preparation.At first, biodegradable and biologically absorbable polymer are dissolved in the volatile solvent, the bioceramic particle is mixed with solution with the preparation suspension.By spraying or other technology, make this suspension be configured as fiber, to prepare the fibrous fiber agglomerate that twines by each other.This fiber agglomerate is immersed in volatile solvent such as methanol, ethanol, isopropyl alcohol, dichloroethanes (methane) or the chloroform, make it be swelling or semi-molten state.With the fiber agglomerate of the fiber agglomerate of this state compacting, corresponding and meet the throughhole 10c ofscrew 10 with the porous bond vitrified that obtains the cylinder form.Make the filament contraction and the fusion of the interior piece of coma of this bond vitrified, thereby eliminate their fiber shape basically, to form matrix.Therefore, the fiber agglomerate becomes the porous complex in form, and wherein the space between the fiber becomes circular interconnected pores, thereby producesimplant 20.
Can be used for fixing the composite implant material 117 of tendon or ligament according to following manner, described composite implant material 117 is forms of above-mentioned interference screw.Interference screw screwed in the inner surface in each hole form in the sending down the fishbone respectively and for example in the space between each the terminal bone graft lobe of transplanting tendon in the patchhole on the joint, thereby the bone graft lobe is pressed to the inner surface in hole and fixed it.In this is used, although screw 10 is the hollow objects that wherein formed through hole, it comprises biodegradable and the biologically absorbable polymer that contains the bioceramic particle, itself has enough mechanical strengths, can slowly be degraded by body fluid, described screw comprises fine and close complex.Therefore, screw 10 kept its intensity at least 3 months, this is essential for transplanting on the inner surface that each terminal bone graft lobe of tendon joins the hole to, and can press to the inner surface in hole and determine inerrably to be fixed to the upper transplanting each terminal bone graft lobe of tendon.On the other hand, implant 20 comprises the biodegradable that contains the bioceramic particle and the porous complex of biologically absorbable polymer, and it is inserted among the through hole 10c of screw 10, this makes body fluid and osteoblast can infiltrate the inside of porous complex by interconnected pores, compare with the screw that comprises fine and close complex, more early be degraded and assimilate, show bone conductibility or osteoinductive based on the biological activity of bioceramic particle simultaneously.Before this degraded/assimilation or simultaneously, progressively discharge the skeletal growth factor such as BMP biology of load.Therefore, finished the bone joint in several approximately weeks, this time limit is significantly shorter than common bone and engages required three months, although time bar can be according to the position with skeletal growth factor and different.Therefore, the bone graft lobe that just will transplant the tendon two ends in the stage so early is fixed on the inner surface in hole (promptly being fixed on the bone alive), and has quickened the induced growth of bone alive in implant 20 effectively.Thereafter, further degraded and the assimilation of screw 10 and implant 20 finally induced formed bone alive to replace fully, thereby the joint returned to initial condition by bone conduction or bone, and this moment, the through hole 10c of screw 10 no longer kept vacant.In addition, do not experience the used thermal history of preparation screw, do not worry taking place thermal change owing to comprise implant 20 interior contained skeletal growth factors biology of porous complex.And because contained bioceramic particle is biological absorbable in screw 10 and the implant 20, they neither can or not enter yet/be trapped in soft tissue or the blood vessel in displaced bone retention alive/accumulation.And because the conduction of the osseous tissue due to hydrolysis growth, the top layer of each screw 10 combines with the bone graft lobe of transplanting the tendon end and the inner surface in hole in early days, can prevent that screw 10 from fluffing.
The above-mentionedcomposite implant material 117 that is used for fixing tendon or ligament can provide as a cover component parts.
A this example that is used for fixing the device of tendon or ligament is characterised in that the combination that comprises following part: (1) interference screw, and it comprises that containing biology can absorb with the fine and close complex of the biodegradable of biological activity bioceramic particle and biologically absorbable polymer and have for Kirschner wire and insert wherein through hole; (2) implant, it comprises that containing biology can absorb with the porous complex of the biodegradable of biological activity bioceramic particle and biologically absorbable polymer and be received in the through hole; (3) to infilter skeletal growth factor biology in the implant.
Another example is characterised in that the combination that comprises following part: (1) interference screw, and it comprises that containing biology can absorb with the fine and close complex of the biodegradable of biological activity bioceramic particle and biologically absorbable polymer and have for Kirschner wire and insert wherein through hole; (2) implant, it comprises that containing biology can absorb and the biodegradable of biological activity bioceramic particle and the porous complex of biologically absorbable polymer, and comprises skeletal growth factor biology that infilters wherein, and is received in the through hole.
Another example is characterised in that the combination that comprises following part: (1) interference screw, and it comprises that containing biology can absorb with the fine and close complex of the biodegradable of biological activity bioceramic particle and biologically absorbable polymer and have for Kirschner wire and insert wherein through hole; (2) implant, it comprises that containing biology can absorb with the porous complex of the biodegradable of biological activity bioceramic particle and biologically absorbable polymer and be received in the through hole.
In being used for fixing each device of tendon or ligament, the content of bioceramic particle in the fine and close complex that constitutes interference screw is preferably 30-60 quality %, and the content of bioceramic particle in the porous complex that constitutes implant is preferably 60-80 quality %.In the porous complex that constitutes implant, its porosity is preferably 60-90%, and interconnected pores preferably accounts for institute foraminous 50% or more, and the aperture of interconnected pores is preferably 50-600 μ m.Also preferably with at least a above-mentioned biology skeletal growth factor penetrate in the implant.Its reason with top about thecomposite implant material 117 that is used for fixing tendon or ligament explained the same.
Figure 31 shows an example of these devices that are used for fixing tendon or ligament: (a) be the front view of device median surface screw; (b) be the front view of implant in the device; (c) be the front view of container in the device, described container comprises skeletal growth factor biology.Figure 32 shows the example that wherein uses this tendon or ligament fixture.
This tendon or ligament fixture comprise the combination of following part: screw 10, and it has the throughhole 10c for the insertion Kirschner wire that forms along centre line C L; Insert theimplant 20 of throughhole 10c; With thecontainer 41 of packing into as skeletal growth factor biology in the ampoule.This combination for example can be packed in sack or the box.Thisscrew 10 is identical with thescrew 10 of above-mentioned Figure 30, and the core 20 alsocore 20 with above-mentioned Figure 30 is identical.Therefore, in Figure 31, with identical numeral or the similar part of symbolic representation, and omission is to their explanation.In addition, biology, skeletal growth factor was also identical with skeletal growth factor biology in the core 20 that infilters above-mentioned Figure 30.With it as the injection of solution or dispersion state or theinstillation preparation container 41 of packing into.Therefore omit explanation to them.
Be used under the situation of for example transplanting/reconstruction of knee joint tendon at this tendon or ligament fixture, in femur 39 and tibia 40, form hole 33 and 33 respectively, take out and transplant tendon 42, make the bone graft lobe 42a and the 42a that lay respectively at two ends pass through hole 33 and 33, shown in figure 32.The most advanced and sophisticated (not shown) of Kirschner wire (not shown) and throw is inserted in the through hole 10c of screw 10, screw 10 is screwed in the tram in the space between the inner surface in a hole 33 and the bone graft lobe 42a with correct direction under rotation, thereby this bone graft lobe 42a is pressed to the offside inner surface in this hole 33 and fixed it.Then, extract throw and Kirschner wire out, implant 20 is inserted in the through hole 10c of screw 10., open container 41 thereafter, with biology skeletal growth factor infilter in the implant 20.Perhaps, open container 41, with biology skeletal growth factor infilter in the implant 20, then implant 20 is inserted.Equally, screw 10 is screwed in the inner surface and the space between the bone graft lobe 42a in another hole 33, to compress and to fix this bone graft lobe 42a., implant 20 is inserted through hole 10c thereafter, with biology skeletal growth factor infilter in the implant 20.Thereby finished tendon transplanting/fixing operation.Incidentally, it is almost same as described above to carry out the transplanting/fixed program of ligament.
So fixing transplant tendon after, eachscrew 10 keeps enough intensity at least 3 months time limit, it is normally essential that this joins to forbone graft lobe 42a on the inner surface inhole 33, with definite fixedly synthetism part inerrably.On the other hand,implant 20 discharges skeletal growth factor biology when rapid hydrolysis.Therefore, in several approximately weeks, justbone graft lobe 42a is joined on the inner surface inhole 33, although this time limit can be according to part with skeletal growth factor and different.In addition, owing to the biological activity of bioceramic particle,implant 20 is replaced by bone alive, and therefore throughhole 10c is being filled by bone alive relatively in early days.Finally, screw 10 is also replaced fully by bone alive and disappears, thus the bone recovery initial condition, and this moment, throughhole 10c no longer kept vacant.
Figure 33 shows another example of the device that is used for fixing tendon or ligament: (a) being the vertical elevational view of screw in the device, (b) is the longitudinal section of implant in the device.
This tendon or ligament fixture and tendon shown in Figure 31 or the difference of ligament fixture are, the throughhole 10c ofscrew 10 is straight holes, in whole screw length, has long round section, therefore implant 20 is the cylinder bodily form with long round section shape, skeletal growth factor biology in the container etc. of packing into is not used as the member of combination, has only screw 10 andimplant 20 to be combined to use and is loaded in sack, the box etc.Thisscrew 10 have cross section be oblong straight hole as throughhole 10c, its advantage is to be easy to cutting and forms through hole 10c.Yet when inserting Kirschner wire and screwing inscrew 10, center of rotation may slight deflection.In order to eliminate this probability, preferably the end portion at throughhole 10cforms tapering part 10f, and is shown in dotted line, thereby the lower ending opening of throughhole 10c is a wholecircle shape, its diameter is almost the same with Kirschner wire, and forms implant 20, makes its shape correspondence and meets this throughhole 10c.
Constitute the fine and close complex of the biodegradable of thisscrew 10 and biologically absorbable polymer, wherein contained bioceramic particle, its content etc. are identical with the screw of above-mentioned Figure 30, therefore omit the explanation to them.In addition, constitute the aperture of ratio, the interconnected pores of porous complex, its porosity, the interconnected pores of the biodegradable ofimplant 20 and biologically absorbable polymer, wherein contained bioceramic particle, its content etc. also the implant with above-mentioned Figure 30 is identical, therefore omit explanation to them.
As above-mentioned fixture shown in Figure 31, can use this device that is used for fixing tendon or ligament by following manner.In the inner surface that screw 10 is screwed in each hole that on the joint, forms in the sending down the fishbone respectively and the patchhole with in the space between the bone graft lobe of the transplanting tendon (or transplanting ligament) of bone fixation lobe.Extract Kirschner wire out.,implant 20 inserted the throughhole 10c ofscrew 10 in, independent skeletal growth factor biology for preparing is infiltered in theimplant 20 thereafter.Perhaps, with biology skeletal growth factor infilter in theimplant 20, then thisimplant 20 is inserted in the throughhole 10c of screw 10.Transplant tendon (or transplanting ligament) by fixing thus, obtained tendon or the same effect and the advantage of ligament fixture with above-mentioned Figure 31.
Can according to fixture one quadrat method that is used for above-mentioned Figure 31, use another example of tendon or ligament fixture, be that described tendon or ligament fixture comprise interference screw and the combination of having flooded the implant of skeletal growth factor biology, although do not show in the accompanying drawing.In the inner surface that screw is screwed in each hole on the joint, form in the sending down the fishbone respectively and the patchhole with in the space between the bone graft lobe of the transplanting tendon (or transplanting ligament) of bone fixation lobe.Extract Kirschner wire out.The implant of having flooded biology skeletal growth factor inserted the through hole of screw thereafter.By the fixing like this tendon (or transplanting ligament) of transplanting, tendon or the same effect and the advantage of ligament fixture have been obtained with above-mentioned Figure 31.
When in the manner described above, will be used for fixing the present invention's the 3rd classcomposite implant material 117 of tendon or ligament, or any device that is used for fixing tendon or ligament be used for rebuilding/fixedly when tendon or ligament, obtained following obvious advantage.The transplanting tendon in skeletal growth factor biology that discharges fromimplant 20 has significantly reduced each hole that forms in the sending down the fishbone respectively on the joint inner surface and the patchhole or the bone graft lobe of transplanting ligament engage the required time.Therefore, patient, doctor and hospital have obtained huge benefits.In addition, owing to the bone conductibility or the osteoinductive of biological activity bioceramic particle contained inscrew 10 and theimplant 20, the bone of living replaces also regeneration, the bone recovery former state, thus no longer have remaining hollow space.
If situation needs, can use following technology, wherein form implant by biodegradable that does not contain the bioceramic particle and biologically absorbable polymer, with biology skeletal growth factor infilter in this implant.Undeniable, after having flooded skeletal growth factor biology, aspect live bone conductibility or inductivity, this implant that does not contain the bioceramic particle is weaker than the implant that comprises the bioceramic particle slightly.Yet skeletal growth factor biology of implant load is released, and therefore, has just finished the joint of the bone graft lobe on each end of transplanting tendon or transplanting ligament in several approximately weeks.Therefore, obviously shortened the patient and left the required time of bed, patient, doctor and hospital all obtain huge benefits.Thus, can fully realize a main purpose of the present invention.
Following will the explanation with reference to the accompanying drawings is used for the present invention's the 4th class composite implant material that bone engages.
Figure 34 shows to engage as the bone of another embodiment of the present invention and use composite implant material: (a) and (b) be respectively its front view, longitudinal section and vertical view (c).
This composite implant material 118 that is used for the bone joint comprises: the synthetism body of material, and it is configured asscrew 11 and has cylindricaldeep hole 11b, and the upper end face of describeddeep hole 11b along its centrage from head ofscrew 11a extends to the part near screw-tipped; With thefiller 21 of solid cylinder form, its diameter and length meet diameter and the length ofhole 11b and are used forfiller opening 11b, and describedfiller 21 has flooded any in above-mentioned biology of the skeletal growth factor.
The diameter of thehole 11b ofscrew 11 is not particularly limited.Yet, preferably its diameter is adjusted to about 1/3 to 2/3 of the shank diameter that accounts for screw 11 (diameter that the paddy portion between the top ofscrew thread 11c measures).Under the diameter of thishole 11b 2/3 situation greater than the screw shank diameter, the intensity decreases of thisscrew 11 causes thisscrew 11 to rupture when screwing in fracture portions.Its diameter less than 1/3 situation under, thefiller 21 that insert is too thin, the ratio of thisfiller 21 descends, and forms the effect that live bone and accelerated bone engage and becomes not enough thereby induce.Therefore, both of these case all is unfavorable.
Thehead 11a of thescrew 11 of this composite implant material 118 has the square plan-form shapes of four fillets.Therefore, be applied in the hollow prism shape, thisscrew 11 can be screwed in the part of fracture, thereby head ofscrew 11a is installed in the prismatic tip of hollow, and rotation be most advanced and sophisticated by having most advanced and sophisticated throw.Therefore, the screw that has the cross recess that inserts for Phillips screwdriver with head of screw is compared, and the fracture of head ofscrew 11a not too can take place when screwing in thisscrew 11, therefore can tightly screw in, and tightly pushes down bone up to the lower surface of head ofscrew 11a.
The shape of head ofscrew 11a is not limited to square plan-form shapes, the head of screw can have different shape arbitrarily, for example the head of hexagonal or anistree flat shape, have the cross recess that inserts for Phillips screwdriver head, have the head of a word groove that inserts for straight screwdriver or have the head in four jiaos of inserting, hexagonal or anistree hole for four jiaos of spanners, die nut or anistree spanner.This spanner patchhole can be inserted thefiller 21 that has flooded skeletal growth factor biology wherein as thehole 11b that will be filled byfiller 21.
At the shank of thescrew 11 of this composite implant material 118, the aperture (not shown) that can form and will link to each other with thehole 11b thatfiller 21 is filled needs only screw 11 and can keep the required intensity of synthetism body of material.Form these apertures and have following advantage.Body fluid and osteoblast are easy to infiltrate in thefiller 21 by aperture, and along with the degraded and the assimilation offiller 21, skeletal growth factor became and was easy to flow out biology.Therefore, can further quicken the growth and the bone joint of bone alive.
In thescrew 11 of this composite implant material 118, screw shank has thescrew thread 11c that extends along its whole length.Yet screw 11 can formscrew thread 11c at the mid portion of its screw shank in most advanced and sophisticated scope.In addition, although having from the upper end face of head ofscrew 11a, thisscrew 11 extends to hole 11c near the part of screw-tipped, but screw 11 can have following structure, wherein form the through hole that extends to screw-tipped from the upper end face of head ofscrew 11a,filler 21 is inserted the whole length of this through hole.
The synthetism body of material is shaped as thescrew 11 of this composite implant material 118, it comprises that containing biology can absorb and the biodegradable of biological activity bioceramic particle and the fine and close complex of biologically absorbable polymer, need have the high strength that is equal to or higher than bone alive (os osseum).Therefore, being suitable as the biodegradable of its raw material and biologically absorbable polymer is that crystalline polymer is as poly-(L-lactic acid) or poly-(glycolic).Preferred especially viscosity-average molecular weight be 150,000 or higher, be desirably about 200,000-600,000 poly-(L-lactic acid).
As the bioceramic particle that will mix in the fine and close complex that constitutes this screw 11 (synthetism body of material), bioceramic particle contained in the fine andclose complex 2 of the preferred bioceramic particle that uses and above-mentionedcomposite implant material 100 is identical.
In the fine and close complex that constitutes screw 11 (synthetism body of material), the content of bioceramic particle is preferably in the scope of 30-60 quality %.Surpass under the situation of 60 quality % at its content, it is frangible that fine and close complex may become, and causes screw 11 to lack intensity.Its content is lower than 30 quality % and causes following point, and promptly the conduction bone formation that is caused by the effect of bioceramic particle becomes insufficient, and screw 11 bone of being lived fully replaces needing a lot of times.In the whole fine and close complex that constitutesscrew 11, the content of bioceramic particle can be uniform in the scope of 30-60 quality %, perhaps can in the scope of 30-60 quality %, change having the gradual change degree, thus it from the centrage of fine and close complex towards around progressively increase.Under latter event, thescrew 11 that comprises the fine and close complex with this gradual change bioceramic particle content has following advantage, promptly in early days, osseous tissue is in peripheral part with high bioceramic particle content (peripheral part of head ofscrew 1a and screw handle around) conduction growth, these peripheral part in a short time with the synosteosis of living.Therefore can prevent thatscrew 1 from becoming flexible etc.
Can prepare screw 11 (synthetism body of material) like this: molded biodegradable and the biologically absorbable polymer that comprises the bioceramic particle, producing the fine and close complex mechanograph of solid cylinder form, this mechanograph is cut into as shown in figure 34 screw form.In this case, prepare fine and close complex mechanograph, and when cutting this mechanograph, bring following advantage when using compression molded or forging.This fine and close complex is because compression and high compaction, polymer molecule wherein and crystal have from around thescrew 11 towards the tilted alignment of centrage.Therefore, can obtain to have more high strength and themore screw 11 of high rigidity.Incidentally, can preparescrew 11 like this: by stretch forming, obtain wherein that polymer molecule is the mechanograph of uniaxial orientation, and cut this mechanograph.
On the other hand, the filler of inserting in the 11b ofhole 21 comprises that containing biology can absorb and the biodegradable of biological activity bioceramic particle and the porous complex of biologically absorbable polymer, describedhole 11b forms in screw 11 (synthetism body of material), and at least one end is anopening.Filler 21 inside have interconnected pores.Part bioceramic particle is exposed on the surface of the inner surface of interconnected pores and porous complex.Thisfiller 21 has flooded an amount of skeletal growth factor biology.
The porous complex that constitutes thisfiller 21 need not to have as the high intensity of thescrew 11 that comprises fine and close complex (synthetism body of material), for the porous complex, intensity as spongy bone is just enough, and this intensity can preventfiller 21 fracture or damage when inserting thehole 1b of screw 1.This porous complex needs in early days the degraded rapidly and the bone of being lived to replace fully.Therefore, identical as biodegradable and the biologically absorbable polymer in theporous complex 2 of the biodegradable of porous complex raw material and biologically absorbable polymer and preferred above-mentionedcomposite implant material 100.
When consider the intensity, osteoblast infiltration and the stability that are fit tofiller 21, with biology the skeletal growth factor dipping fitness etc. the time, the porosity of wishing the porous complex offormation filler 21 should be 60-90%, preferred 65-85%, interconnected pores accounts for institute foraminous 50% or more, preferred 70-90%, the aperture of interconnected pores is 50-600 μ m, preferred 100-400 μ m.To this reason with on to regard to theimplant 20 that comprises the porous complex in thecomposite implant material 117 the same.
In whole complex, the porosity that constitutes the porous complex offiller 21 can be uniformly in the scope of 60-90%, perhaps can continue to increase towards circumferential surface and upper and lower side in the scope of 60-90%.In whole complex, the aperture of interconnected pores can be uniformly in the scope of 50-600 μ m, perhaps can progressively increase towards circumferential surface and upper and lower side in the scope of 50-600 μ m.Thefiller 21 that comprises the porous complex with this gradual change porosity and aperture has following advantage.By having high porosity and wide-aperture upper and lower side and circumferential surface, can an amount of skeletal growth factor biology of rapid permeability.Therefore hydrolysis advances rapidly from upper and lower side and circumferential surface, has strengthened the induced growth of osteoblast infiltration and osseous tissue.Therefore, further quickened the bone replacement of being lived.
The bioceramic particle that is incorporated in the porous complex that constitutesfiller 21 can be identical with contained bioceramic particle in the fine and close complex that constitutes above-mentioned screw 11.Yet, special preferable particle size is the bioceramic particle of about 0.1-5 μ m, because use the impossible cut staple of this bioceramic particle, when described fiber prepares the porous complex in the method that for example will describe by the back, form by spraying, and because such bioceramic particle has gratifying Bioabsorbable.
In the porous complex that constitutesfiller 21, the content of bioceramic particle is preferably 60-80 quality %.In whole porous complex, its content can be uniformly in this scope, perhaps can continue to increase towards circumferential surface and upper and lower side in this scope.Under its content surpassed the situation of 80 quality %, so high bioceramic particle content combined with the high porosity of porous complex, caused comprising the physical strength decline of thefiller 21 of porous complex.Its content is lower than 60% quality and brings following point.The biological activity of this porous complex descends, and therefore, the induced growth of osseous tissue is slack-off.The result is that thehole 11b that has prolongedscrew 11 is owing to the bone of being lived replaces being filled required time bar fully.The more preferably scope of bioceramic particle content is 60-70 quality %.In thefiller 21 that comprises porous complex with this gradual change content, have the biological activity height of high-load top layer part, strengthened osteoblast and osseous tissue induced growth therein especially.Therefore, further quickened the bone replacement of being lived.
Oxidation processes such as corona discharge, Cement Composite Treated by Plasma or hydrogen peroxide treatment can be passed through in the surface that comprises thefiller 21 of porous complex.This oxidation processes has following advantage.The surperficial wettability offiller 21 improves, and osteoblast more effectively infiltrates the interior and growth therein of interconnected pores offiller 21 by the slight void between thehole 1b offiller 21 and screw 11.Therefore, quickened further by living that bone replaces fully and thehole 11b that fills with filler ofscrew 11 bone of being lived is in early days filled.Certainly, the surface that comprises thescrew 11 of fine and close complex also can experience such oxidation processes.
Thefiller 21 that can comprise the porous complex by for example following method preparation.At first, biodegradable and biologically absorbable polymer are dissolved in the volatile solvent, the bioceramic particle is mixed with solution with the preparation suspension.By spraying or other technology, make this suspension be configured as fiber, to prepare the fibrous fiber agglomerate that twines by each other.This fiber agglomerate is immersed in volatile solvent such as methanol, ethanol, isopropyl alcohol, dichloroethanes (methane) or the chloroform, make it be swelling or semi-molten state.With the compacting of the fiber agglomerate of this state,, corresponding and meet thehole 11b ofscrew 11 with the fiber agglomerate of the porous bond vitrified that obtains the solid cylinder form.Make the interior filament contraction and the fusion of fiber agglomerate of this bond vitrified, thereby eliminate their fiber shape basically, to form matrix.Therefore, the fiber agglomerate becomes the porous complex in form, and wherein the space between the fiber becomes circular interconnected pores, thuspreparation filler 21.
Penetrate into skeletal growth factor biology in the porous complex that constitutesfiller 21 and can be any among above-mentioned BMP, TGF-β, EP4, b-FGF and the PRP.These, skeletal growth factor can be separately or as the container 3 of packing into of two or more mixture wherein biology.Also preferably the osteoblast that is derived from Living Organism should be added in any in these of skeletal growth factor biology.Can with any or its mixture in these skeletal growth factor biology be derived from injection or the instillation preparation of the osteoblast of Living Organism as solution or suspension state, infiltrate in thefiller 21.
Any and/or osteoblast in these skeletal growth factor is infiltered in thefiller 21 biology, and this has following advantage.Beforefiller 21 hydrolysis or simultaneously, biology, osteoblastic propagation/growth was obviously accelerated in outflow such as skeletal growth factor.Therefore, just finished the bone joint in several approximately weeks, although this time limit is depended on position and somatomedin, osseous tissue begins to divide growth in the skin section of the porous complex that constitutes filler 21.Thereafter, the porous complex is replaced fully by bone alive rapidly, and thehole 11b ofscrew 11 is filled by bone alive.Biology in the above, BMP and EP4 were effective especially to the os osseum growth in the skeletal growth factor.PRP is the blood plasma with very high PC, adds PRP and can quicken the new growth of bone growth promoting again.In some cases, can mix other somatomedin such as IL-1, TNF-α, TNF-β or IFN-γ.
By screw 11 (synthetism body of material) being screwed in the knochenbruch part, the composite implant material 118 that will have said structure is used for engaging/and fixing.When joint/bone fixation folding part timesharing by this way, bring following advantage.Although screw 11 is the hollow objects with hole 11b of an end opening, it comprises the biodegradable that contains the bioceramic particle and the fine and close complex of biologically absorbable polymer, has enough mechanical strengths, and can be by the slow hydrolysis of body fluid.Therefore, screw 11 kept its intensity at least 3 months time limits, and this engages for common bone is essential, and can determine inerrably to fix the bone bonding part.On the other hand, filler 21 comprises the biodegradable that contains the bioceramic particle and the porous complex of biologically absorbable polymer, and be inserted in the hole 11b of screw 11, make body fluid and osteoblast infiltrate the inside of porous complex by its interconnected pores, compare with the screw 11 that comprises fine and close complex, earlier degrade and assimilate, show its bone conductibility and osteoinductive based on the biological activity of bioceramic particle simultaneously.Before this degraded/assimilation or simultaneously, progressively discharge the skeletal growth factor such as BMP biology of filler 21 loads.Therefore, the conduction of having quickened bone alive effectively forms, and has finished the bone joint in several approximately weeks, and this time limit is significantly shorter than required three months of common bone joint, although this time limit can be according to position and skeletal growth factor and different biology.Thereafter, further degraded and the assimilation of screw 11 and filler 21, and finally induce the bone of being lived to replace fully by bone conduction or bone, thus bone recovery is arrived initial condition, this moment, the hole 11b of screw 11 no longer kept vacant.In addition, because filler 21 contained skeletal growth factors biology that comprise the porous complex do not experience the used thermal history of preparation screw 11, the function of not worrying thermal change takes place He losing promote osteogenesis.And because contained bioceramic particle is biological absorbable in filler 21 and the screw 11, they neither can or not enter yet/be trapped in soft tissue or the blood vessel in displaced bone retention alive/accumulation.
Figure 35 shows to engage as the bone of another embodiment of the present invention and use composite implant material: (a) and (b) with (c) be respectively its front view, longitudinal section and vertical view.
Thiscomposite implant material 119 that is used for the bone joint comprises the synthetism body of material that contains fine and close complex and be configured as pin 12.Thispin 12 hashole 12a, and describedhole 12a is in each end openings, and along the centrage ofpin 12, extends to the surface (rear surface) of the other end from an end surfaces (upper end face) of pin 12.Filler 22 is inserted among the 12a of hole, and describedfiller 22 is the solid cylinder form, and its diameter and length meet diameter and the length ofhole 12a, and have flooded skeletal growth factor biology.
This pin 12 (synthetism body of material) comprises the fine and close complex identical with above-mentionedscrew 11, promptly contains biology and can absorb and the biodegradable of biological activity bioceramic particle and the fine and close complex of biologically absorbable polymer.Its circumferential surface alternately occurs towards an end progressively narrow down theconical surface 12b and theflange portion 12c of (progressively narrowing down downwards).This shape can prevent that thepin 12 that is driven in the hole that forms from coming off in the knochenbruch part, because the surrounding edge offlange portion 12c has been bitten bone alive.Preferably the diameter of the throughhole 12a of thispin 12 is adjusted to and accounted for about 1/3 to 2/3 ofpin 12 diameters (the conical surface lower end is the diameter of thin part).Under the situation of bore dia greater than it, the intensity decreases of thispin 12 causes thispin 12 to rupture when squeezing into fracture portions or to damage.Under the situation of bore dia less than it,filler 22 is too thin, and the ratio offiller 22 descends, thereby induces the effect that forms the bone of living to become not enough.
The shape ofpin 12 is not limited to the shape of the present embodiment, can be any desired shape.For example, pin 12 can be simple hollow cylindrical or the prismatic pin of hollow, wherein has the throughhole 12a that extends along centrage, or the prismatic pin of hollow, laterally have inclined surface and the flange that alternately occurs on each at its four, in case shotpin comes off.In addition,hole 12a is not limited to have at each end the through hole of opening.Certainly, it can be that a end surfaces (upper end face) frompin 12 extends to the dark bottom outlet near the part of other end surface (rear surface).The advantage of this bottom outlet is that the lower end (tip) ofpin 12 has high strength, therefore not too is easy to fracture when squeezing intopin 12.
On the other hand,filler 22 comprises that containing biology can absorb and the biodegradable of biological activity bioceramic particle and the porous complex of biologically absorbable polymer.In the present embodiment,filler 22 is forms of solid cylinder, and its diameter and length meet diameter and the length of the throughhole 12a ofpin 22, and has flooded any in the above-mentioned skeletal growth factor.The not only thin but also long time as thishole 12a then not only thin but also longly is difficult to insert and insert in the hole so that meet thefiller 22 in hole.Therefore, preferably should prepare two or moreshort fillers 22, describedshort filler 22 has the solid cylinder form, its diameter meets the diameter of thishole 12a,short filler 22 is inserted among thehole 12a ofpin 12 continuously, thereby insertfiller 2, so that the whole length offiller opening 12a.
At thiscomposite implant material 119 that is used for the bone joint, the aperture (not shown) that can form inpin 12 and will link to each other with thehole 12a thatfiller 22 is filled is as long as can keep necessary strength.Form these apertures and have following advantage.Aperture makes that body fluid and osteoblast are easy to contact withfiller 22 and infiltrate wherein, and promotes the outflow of skeletal growth factor biology.Therefore, the growth and the bone joint of bone alive have further been quickened.
Constitute the fine and close complex of the biodegradable ofpin 12 and biologically absorbable polymer, wherein contained bioceramic particle, the content of particle etc. are identical with thescrew 11 of above-mentioned Figure 34, therefore omit the explanation to them.In addition, constitute the aperture of ratio, the interconnected pores of porous complex, its porosity, the interconnected pores of the biodegradable offiller 22 and biologically absorbable polymer, wherein contained bioceramic particle, its content etc. also thefiller 21 with above-mentioned Figure 34 is identical, therefore omit explanation to them.
When squeezing in the hole that in the knochenbruch part, forms by selling 12 (synthetism body of material), this bone is engaged when being used for bone joint/fixedly withcomposite implant material 119, as the situation of above-mentioned osteosynthesis screw type composite implant material 118, brought followingadvantage.Pin 12 keeps enough intensity at least 3 months time limit, this engages for bone is essential, and determines inerrably to fix the bone bonding part.On the other hand,filler 22 is discharging skeletal growth factor biology in the hydrolysis rapidly.Therefore, the bone of having finished joint/standing part in several approximately weeks engages, although the time limit can be according to the position with skeletal growth factor and different.In addition, because the biological activity of bioceramic particle,filler 22 bone of being lived replaces, and therefore thehole 12a ofpin 12 fills at the bone of being lived relatively in early days.Finally,pin 12 is also replaced fully by bone alive and disappears, thus the bone recovery initial condition that fractures, and this moment,hole 12a no longer kept vacant.
Other embodiment that bone of the present invention engages with composite implant material comprises: a kind of synthetism body of material, it comprises that containing biology can absorb and the biodegradable of biological activity bioceramic particle and the fine and close complex of biologically absorbable polymer, and is configured as above-mentionedscrew 11 or sells 12; With the filler that comprises above-mentioned porous complex (filler that biology, skeletal growth factor flooded of no use), described porous complex comprises that containing biology can absorb biodegradable and biologically absorbable polymer with biological activity bioceramic particle, described filler is inserted among thehole 11b or 12a of synthetism body of material, and describedhole 11b or 12a have opening at least one end.
Can use this bone to engage and use composite implant material according to following manner.The synthetism body of material is screwed in or squeezes in the knochenbruch part, thus joint/bone fixation.Before or after this joint/fixing, with biology of independent preparation in the skeletal growth factor any injection and infiltrate in the filler.The result is to have obtained to engage advantage and the effect of usingcomposite implant material 118 and 119 as bone.In this case, whenscrew 11 or the synthetism body of material of selling 12 forms had the aperture that links to each other withhole 11b or 12a, the advantage of this structure was, has promoted infiltering of skeletal growth factor biology.
Can be used as a cover component parts above-mentioned bone joint composite implant material of the present invention is provided.
In such device, the first bone engagement device is characterised in that the combination that comprises following part: the synthetism body of material that fill with filler (1), following acquisition: form the synthetism body of material, it comprises that containing biology can absorb and the biodegradable of biological activity bioceramic particle and the fine and close complex of biologically absorbable polymer, on main body, form the hole of at least one end opening, use the filler filler opening, described filler comprises that containing biology can absorb with the porous complex of the biodegradable of biological activity bioceramic particle and biologically absorbable polymer and (2) and will infilter skeletal growth factor biology in the filler.
The second bone engagement device is characterised in that the combination that comprises following part: (1) synthetism body of material, it comprises that containing biology can absorb and the biodegradable of biological activity bioceramic particle and the fine and close complex of biologically absorbable polymer, and formed the hole of at least one end opening therein, (2) filler, described filler will be inserted in the hole of synthetism body of material, and comprise that containing biology can absorb with the porous complex of the biodegradable of biological activity bioceramic particle and biologically absorbable polymer and (3) and will infilter skeletal growth factor biology in the filler.
The 3rd bone engagement device is characterised in that the combination that comprises following part: (1) synthetism body of material, it comprises that containing biology can absorb and the biodegradable of biological activity bioceramic particle and the fine and close complex of biologically absorbable polymer, and formed the hole of at least one end opening therein, (2) filler, described filler will be inserted in the hole of synthetism body of material, comprise that containing biology can absorb and the biodegradable of biological activity bioceramic particle and the porous complex of biologically absorbable polymer, and comprise skeletal growth factor biology.
The 4th bone engagement device is characterised in that the combination that comprises following part: (1) synthetism body of material, it comprises that containing biology can absorb and the biodegradable of biological activity bioceramic particle and the fine and close complex of biologically absorbable polymer, and formed the hole of at least one end opening therein, (2) filler, described filler will be inserted in the hole of synthetism body of material, and comprises that containing biology can absorb and the biodegradable of biological activity bioceramic particle and the porous complex of biologically absorbable polymer.
In these bone engagement devices, the exemplary of synthetism body of material is: wherein formed the screw in hole, described Kong Yaoyong filler is filled, and along centrage, extends towards screw-tipped from the upper end face of head of screw; Wherein formed the pin in hole, described Kong Yaoyong filler is filled, and along centrage, extend on the surface from an end surfaces towards the other end.
Use the first bone engagement device by following manner.When the synthetism body of material of filling with filler is the screw of for example filling with filler, this main body is screwed in knochenbruch part, with joint/bone fixation.When the synthetism body of material of filling with filler is the pin of for example filling with filler, this main body is squeezed in the knochenbruch part, with joint/bone fixation.Thereafter, with biology skeletal growth factor such as BMP inject/infilter in the filler.By using described device by this way, effect and the advantage the same have been obtained withcomposite implant material 118 and 119.
Use the second bone engagement device by following manner.With synthetism body of material joint/fixation of bone fragments part.Thereafter, filler is inserted in the hole of synthetism body of material, described hole is at least one end opening, and then, skeletal growth factor such as BMP inject/infilter in this filler with biology.Perhaps, after with synthetism body of material joint/fixation of bone fragments part, in skeletal growth factor infiltration biology filler, this filler is inserted in the hole of synthetism body of material.By using described device by this way, effect and the advantage the same have been obtained withcomposite implant material 118 and 119.
Use the 3rd bone engagement device by following manner.With synthetism body of material joint/fixation of bone fragments part.Thereafter, will insert in the hole of synthetism body of material with the filler that biology, skeletal growth factor such as BMP flooded, described hole is at least one end opening.By using described device by this way, effect and the advantage the same have been obtained withcomposite implant material 118 and 119.
Use the 4th bone engagement device by following manner.With synthetism body of material joint/fixation of bone fragments part.Thereafter, filler is inserted in the hole of synthetism body of material, described hole is at least one end opening, then, with independent preparation biology skeletal growth factor such as BMP inject/infilter in this filler.Perhaps, after with synthetism body of material joint/fixation of bone fragments part, independent skeletal growth factor biology for preparing is infiltered in the filler, and this filler is inserted in the hole of synthetism body of material.By using described device by this way, effect and the advantage the same have been obtained withcomposite implant material 118 and 119.
In each of these bone engagement devices, the content of bioceramic particle in the fine and close complex that constitutes the synthetism body of material is preferably 30-60 quality %, and the content of bioceramic particle in the porous complex that constitutes filler is preferably 60-80 quality %.Bone engagement device with these content has gratifying bone conductibility, has kept the required full strength of synthetism body of material simultaneously, and the bone of can being lived replaces.Filler also shows gratifying osteoinductive, and the bone of can being lived in early days replaces.The porosity that also preferably constitutes the porous complex of filler should be 60-90%, and it is foraminous at least 50% that interconnected pores accounts for institute, and the aperture of interconnected pores is 50-600 μ m.Bone engagement device with this porosity and diameter has following advantage.An amount of skeletal growth factor biology can easily be injected/infilter in the filler, to promote body fluid and osteoblastic infiltration.Therefore, the hydrolysis of filler advances, and osseous tissue is induced growth in early days, and bone replaces and disappears thereby filler is lived in a short time.About skeletal growth factor biology, can use any among above-mentioned BMP, TGF-β, EP4, b-FGF and the PRP or two or more mixture wherein.
Figure 36 shows an example of these synthetism material apparatus: (a) be the longitudinal section of the synthetism body of material of filling with filler in this device, (b) be the front view of the container in this device, described container comprises skeletal growth factor biology.
This synthetism material apparatus comprises the combination of following part: with the synthetism body of material of filler filling, it comprises thescrew 11 that has wherein formedhole 11b and inserts theinterior filler 21 ofhole 11b, describedhole 11b extends along the centrage ofscrew 11, and at least one end opening; With thecontainer 41 of packing into as skeletal growth factor biology in the ampoule.This combination for example can be packed in sack or thebox.Screw 11 in the composite implant material 118 of screw 11 (synthetism body of material) and above-mentioned Figure 34 is identical, andfiller 21 is also identical withfiller 21 in the composite implant material 118 of above-mentioned Figure 34.Therefore, omission is to their explanation.In addition, biology, skeletal growth factor was also identical with skeletal growth factor biology in thefiller 21 of the composite implant material 118 that infilters above-mentioned Figure 34, with it as the injection of solution or dispersion state or theinstillation preparation container 41 of packing into.Therefore omit explanation to them.
Can use this synthetism material apparatus according to following manner.To screw in the knochenbruch part, with the screw 11 (with the synthetism body of material of filler filling) thatfiller 21 is filled with joint/bone fixation.Before this joint/fixing,open container 41, with injection in the biology skeletal growth factor and infilter in the filler 21.When using by this way, this device brings followingadvantage.Screw 11 keeps enough intensity in the time limit more than 3 months, this is essential for bone is engaged, to determine bone fixation bonding part inerrably.On the other hand,filler 21 discharges skeletal growth factor biology when rapid hydrolysis.Therefore, the bone of just having finished the bone bonding part in several approximately weeks engages, although this time limit can be according to the position with skeletal growth factor and different.In addition, owing to the biological activity of bioceramic particle,filler 21 is replaced by bone alive, and therefore thehole 11b of screw is being filled by bone alive relatively in early days.Finally, screw 11 is also replaced fully by bone alive and disappears, thereby knochenbruch recovers initial condition, and this moment,hole 11b no longer kept vacant.
Figure 37 shows another example of bone grafting material device: (a) being the front view of synthetism body of material in this device, (b) is the front view of filler in the device, (c) is the front view of the container in this device, and described container comprises skeletal growth factor biology.Figure 38 is the longitudinal section of the synthetism body of material in this synthetism material apparatus.
This synthetism material apparatus comprises: the synthetism body of material, and it is configured asscrew 11, and has thehole 11b that extends along the centrage ofscrew 11; Insert thefiller 21 in the 11b of hole; With thecontainer 41 of packing into as skeletal growth factor biology in the ampoule.This combination for example can be packed in sack or the box.This screw 11 (synthetism body of material) comprises that containing biology can absorb and the biodegradable of biological activity bioceramic particle and the fine and close complex of biologically absorbable polymer.As shown in figure 38,screw 11 has thehole 11d that inserts forKirschner wire 43, and describedhole 11d penetratesscrew 11, thereby along the centrage ofscrew 11, extends to screw-tipped from the upper end face of head of screw 11a.ThisKirschner wire patchhole 11d is also as thehole 11b that will insert filler 21.As thescrew 11 of above-mentioned Figure 34, thisscrew 11 is shaped, make head ofscrew 11a have the square plan-form shapes at four perfectly round turnings.Yet different with above-mentionedscrew 11,screw thread 11c does not form in the whole length of screw handle, but is forming to its most advanced and sophisticated area part from screw handle middle part.
On the other hand,filler 21 comprises that containing biology can absorb and the biodegradable of biological activity bioceramic particle and the porous complex of biologically absorbable polymer, and be the form of solid cylinder, its diameter and length correspondence also meet the throughhole 11b (Kirschner wire patchhole 11d) that forms along the centrage of screw 11.Yet, when thehole 11b that will fill with this filler thin but also long time not only, preferably should prepare short cylindrical pad, length is length about 1/2,1/3 or 1/4 of thishole 11b, with two, three or four this short fillers inscrew 11 charging apparatus.The advantage of this short filler is, even as thehole 11b ofscrew 11 very long time, the operation of inserting filler also is easy, because these fillers are continuously among the patchhole 11b.
Constitute the fine and close complex of the biodegradable of screw 11 (synthetism body of material) and biologically absorbable polymer, wherein thescrew 11 in the composite implant material 118 of contained bioceramic particle, its content etc. and above-mentioned Figure 34 is identical.Therefore omit explanation to them.It is also identical withfiller 21 in the composite implant material 118 of above-mentioned Figure 34 to constitute the aperture of ratio, the interconnected pores of porous complex, its porosity, the interconnected pores of the biodegradable offiller 21 and biologically absorbable polymer, contained bioceramic particle, its content etc., therefore omits the explanation to them.In addition, skeletal growth factor biology in thecontainer 41 of packing into is also identical with skeletal growth factor biology in thecontainer 41 of the synthetism device of the above-mentioned Figure 36 that packs into, therefore omits the explanation to them.
Can this synthetism material apparatus be used for joint/fixation of bone fragments part according to following manner.At first,Kirschner wire 43 is inserted thehole 11b (Kirschner wire patchhole 11d) that extends along the centrage of screw 11 (synthetism body of material).This Kirschner wire, accurately screws inscrew 11 in the target position of fracture portions, with joint/bone fixation with given direction as guide.Then, extract Kirschnerwire out.Filler 21 inserted thehole 11b ofscrew 11 inthereafter.Open container 41, with skeletal growth factor injection biology and infilter in the filler 21.Perhaps,open container 41, with biology skeletal growth factor infilter in thefiller 21, then thisfiller 21 that has flooded skeletal growth factor is inserted in thehole 11b of screw 11.The result is to have obtained effect and the advantage the same with the synthetism material apparatus of above-mentioned Figure 36.
Although above-mentioned synthetism material apparatus include thecontainer 41 of packing into biology skeletal growth factor as the constituent material that merges, the synthetism material need not always comprise that the biology skeletal growth factor is as the constituent material that will merge.Figure 39 shows another example of this synthetism material apparatus: (a) being the front view of synthetism body of material in this device, (b) is the front view of filler in the device.Figure 40 (a) is the longitudinal section of the synthetism body of material in this synthetism material apparatus, (b) is its vertical view.
This synthetism material apparatus comprises the combination of following part: be configured as the synthetism body of material of big screw 13, its bone that is used for the greater trochanter fracture engages, and has the hole 13b that extends along the centrage of this big screw 13; With the filler 23 that will insert hole 13b.For example this combination can be packed in sack or the box.This big screw 13 (synthetism body of material) comprises that containing biology can absorb and the biodegradable of biological activity bioceramic particle and the fine and close complex of biologically absorbable polymer.As shown in figure 40, form the macropore 13e that has female thread on the inner surface continuously and insert wherein hole 13d,, penetrate big screw 13 towards screw-tipped from the upper end face of head of screw 13a so that along the centrage of screw 13 for Kirschner wire.Macropore 13e and Kirschner wire patchhole 13d also are used as the hole 13b that will use filler 23 to fill.The head 13a of this big screw 13 is forms of solid hexagonal prismoid, as Figure 40 (a) with (b).Near most advanced and sophisticated screw shank, form pin thread 13c, wherein the pin thread top is flat, paddy portion is a groove of beating circle.Shown in Figure 39 (a), the circumferential surface of screw handle has the little outer groove 13f that extends in parallel with centrage.
On the other hand,filler 23 comprises that containing biology can absorb and the biodegradable of biological activity bioceramic particle and the porous complex of biologically absorbable polymer.Shown in Figure 39 (b), following acquisition filler 23: the whole and large diameter solid cylinder body portion of cavities formed co-axial 23a, its diameter and length are corresponding and meet themacropore 13e of big screw, and the solid cylinder 23b of whole and cavities formed co-axial minor diameter, its diameter and length correspondence also meetKirschner wire patchhole 13d.
Be configured for the fine and close complex of the biodegradable of the big screw 13 (synthetism body of material) that the greater trochanter fractured bones engages and biologically absorbable polymer, wherein contained bioceramic particle, its content etc. are identical with thescrew 11 of above-mentioned Figure 34.Therefore omit explanation to them.In addition, it is also identical withfiller 21 in the synthetism material of above-mentioned Figure 34 to constitute the aperture of ratio, the interconnected pores of porous complex, its porosity, the interconnected pores of the biodegradable offiller 23 and biologically absorbable polymer, contained bioceramic particle, its content etc., therefore omits the explanation to them.
Can this synthetism material apparatus be used for the first grade fracture portions of joint/resected femur according to following manner.At first, bymacropore 13e, Kirschner wire is inserted in theKirschner wire patchhole 13d of big screw 13 (synthetism body of material).This Kirschner wire, accurately screws inbig screw 13 in the target position of fracture portions, with joint/bone fixation with given direction as guide.Then, extract Kirschner wire out.Thereafter,filler 23 is inserted in themacropore 13e andKirschner wire patchhole 13d ofbig screw 13, they are injected skeletal growth factor biology of independent preparation and infilter in thisfiller 23 also as thehole 13b that will be filled.Perhaps, independent skeletal growth factor biology for preparing is infiltered in thefiller 23, then thisfiller 23 that has flooded skeletal growth factor biology is inserted inmacropore 13e and the Kirschner wire patchhole 13d.The result is to have obtained effect and the advantage the same with the synthetism material apparatus of above-mentioned Figure 36 and Figure 37.
Other example that does not comprise the synthetism material apparatus of the constituent material that the skeletal growth factor conduct will merge biology, the synthetism material apparatus that comprises the combination that contains following part: screw (synthetism body of material), it comprises that containing biology can absorb and the biodegradable of biological activity bioceramic particle and the fine and close complex of biologically absorbable polymer, and has the filler that the upper end face along the centrage of screw from head of screw extends towards screw-tipped and insert boring; And filler, described filler is wanted in the patchhole, comprises that containing biology can absorb and the biodegradable of biological activity bioceramic particle and the porous complex of biologically absorbable polymer, and comprises skeletal growth factor biology that infilters wherein.For example this combination can be packed in sack or the box.
Can use this synthetism material apparatus according to following manner.Screw (synthetism body of material) is used for joint/fixation of bone fragments part.The filler that flooded biology skeletal growth factor inserted the hole of screw in thereafter.The result is to have obtained effect and the advantage the same with the synthetism material apparatus of above-mentioned Figure 36, Figure 37 and Figure 39.
In each of above-mentioned various synthetism material apparatus, its synthetism body of material is a screw, and this screw has the boring that will fill with filler, and described hole is along the centrage of screw, extends towards screw-tipped from the upper end face of head of screw.Yet certainly, the synthetism body of material of these synthetism material apparatus can be to be used for the pin that bone engages, and forms the hole that will fill with filler in described pin, make this hole along centrage, extends towards other end surface from an end surfaces of pin.
In addition, be used for various synthetism material apparatus and the composite implant material that bone engages above-mentioned, filler comprises that containing biology can absorb biodegradable and biologically absorbable polymer with biological activity bioceramic particle.Yet, can use down array structure, wherein form filler by biodegradable that does not contain the bioceramic particle and biologically absorbable polymer, with biology skeletal growth factor infiltrate in this filler.Undeniable, after having flooded skeletal growth factor biology, aspect live bone conductibility or inductivity, this filler that does not contain the bioceramic particle is weaker than the filler that comprises the bioceramic particle slightly.Yet skeletal growth factor biology of filler load flows out, and therefore, the bone of just having finished the bone bonding part in several approximately weeks engages.Therefore, obviously shortened the patient and left the required time bar of bed, patient, doctor and hospital all obtain huge benefits.Thus, can fully realize a main purpose of the present invention.
Industrial applicibility
Composite implant material of the present invention treatment or rebuild the ossa articularia head downright bad part or Can be valuably when strengthening with ligament that the joint is connected as temporarily reparation/timbering material, perhaps work For being connected to the anchor part of tough tape member or tendon component ends part, perhaps solid as being used for Decide the interference screw of tendon or ligament, perhaps as the synthetism material that is used for fracture portions. Porous is multiple Compound is replaced by bone tissue in early days, to realize with synosteosis alive and to be fixed on the bone alive, simultaneously Fine and close compound keeps necessary intensity in the time period of necessity. Finally, fine and close compound is complete The bone of entirely being lived replaces and disappears. This composite implant material can fully satisfy in this medical domain Requirement.

Claims (15)

CNA2007800086265A2006-03-102007-03-08Composite implant materialPendingCN101400381A (en)

Applications Claiming Priority (6)

Application NumberPriority DateFiling DateTitle
JP2006066291AJP2007236802A (en)2006-03-102006-03-10Material for implant inclination
JP066292/20062006-03-10
JP066291/20062006-03-10
JP209013/20062006-07-31
JP209012/20062006-07-31
JP207816/20062006-07-31

Publications (1)

Publication NumberPublication Date
CN101400381Atrue CN101400381A (en)2009-04-01

Family

ID=38582922

Family Applications (1)

Application NumberTitlePriority DateFiling Date
CNA2007800086265APendingCN101400381A (en)2006-03-102007-03-08Composite implant material

Country Status (2)

CountryLink
JP (1)JP2007236802A (en)
CN (1)CN101400381A (en)

Cited By (11)

* Cited by examiner, † Cited by third party
Publication numberPriority datePublication dateAssigneeTitle
CN105534619A (en)*2016-01-282016-05-04江苏奥康尼医疗科技发展有限公司Cartilage repair and compensation prosthesis
CN106659568A (en)*2014-08-052017-05-10迪特马尔·松莱特纳 Method for making multilayer film
CN108451673A (en)*2017-02-202018-08-28中国科学院沈阳自动化研究所A kind of Invasive lumbar fusion device material-structure
CN108969152A (en)*2018-09-062018-12-11北京安颂科技有限公司A kind of acetabular component and artificial hip joint
CN109528356A (en)*2019-01-212019-03-29北京爱康宜诚医疗器材有限公司Compound insert
CN111051381A (en)*2017-09-032020-04-21赢创运营有限公司Biocompatible polymer powder for additive manufacturing
CN112618109A (en)*2019-12-302021-04-09雅博尼西医疗科技(苏州)有限公司Porous structure with containing space and base connecting structure and its making method and prosthesis
CN112957539A (en)*2021-02-012021-06-15北京大学第三医院(北京大学第三临床医学院)Zinc-manganese-magnesium alloy interface screw for reconstruction and fixation of anterior cruciate ligament
CN114642771A (en)*2020-12-212022-06-21立心(深圳)医疗器械有限公司 Artificial ligament with traction unit and preparation method thereof
CN115175640A (en)*2019-12-202022-10-11特法公司Resorbable implant for bone defect reconstruction
CN115551564A (en)*2020-03-122022-12-30史密夫和内修有限公司 Tissue repair implants and compositions and methods of implantation

Families Citing this family (8)

* Cited by examiner, † Cited by third party
Publication numberPriority datePublication dateAssigneeTitle
JP5669248B2 (en)*2007-10-182015-02-12独立行政法人物質・材料研究機構 Porous scaffold
JP2009119206A (en)*2007-11-112009-06-04Univ Nagoya Multilayer porous scaffold and method for producing the same
EP2339985A4 (en)*2008-09-122013-07-03Articulinx IncTether-based orthopedic joint device delivery methods
JP5469872B2 (en)*2009-01-212014-04-16日本特殊陶業株式会社 Drug sustained-release body and method for producing the same
EP2389901B8 (en)*2010-05-242013-05-15Episurf IP Management ABAn implant for cartilage repair
JPWO2012036286A1 (en)*2010-09-162014-02-03国立大学法人大阪大学 Artificial bone, artificial bone manufacturing apparatus and artificial bone manufacturing method
CA3018629A1 (en)*2016-03-242017-09-28Locate Therapeutics LimitedScaffolding material, methods and uses
JP7002885B2 (en)*2017-08-212022-01-20日本特殊陶業株式会社 Vertebral spacer

Family Cites Families (4)

* Cited by examiner, † Cited by third party
Publication numberPriority datePublication dateAssigneeTitle
JPH02271856A (en)*1989-04-141990-11-06Mitsubishi Materials CorpCeramics artificial bone and production thereof
JP3571560B2 (en)*1998-11-272004-09-29タキロン株式会社 Concentration gradient material
JP3897220B2 (en)*2000-01-192007-03-22独立行政法人物質・材料研究機構 Calcium phosphate porous sintered body and method for producing the same
KR100903761B1 (en)*2001-11-272009-06-19타키론 가부시기가이샤 Implant Materials and Manufacturing Method Thereof

Cited By (16)

* Cited by examiner, † Cited by third party
Publication numberPriority datePublication dateAssigneeTitle
CN106659568A (en)*2014-08-052017-05-10迪特马尔·松莱特纳 Method for making multilayer film
CN106659568B (en)*2014-08-052019-06-28迪特马尔·松莱特纳Method for producing multilayer film
US10624747B2 (en)2014-08-052020-04-21Dietmar SONNLEITNERMethod for producing a multilayer film
CN105534619A (en)*2016-01-282016-05-04江苏奥康尼医疗科技发展有限公司Cartilage repair and compensation prosthesis
CN108451673A (en)*2017-02-202018-08-28中国科学院沈阳自动化研究所A kind of Invasive lumbar fusion device material-structure
KR102645701B1 (en)2017-09-032024-03-12에보니크 오퍼레이션즈 게엠베하 Biocompatible polymer powders for additive manufacturing
CN111051381A (en)*2017-09-032020-04-21赢创运营有限公司Biocompatible polymer powder for additive manufacturing
KR20200049832A (en)*2017-09-032020-05-08에보니크 오퍼레이션즈 게엠베하 Biocompatible polymer powder for additive manufacturing
CN108969152A (en)*2018-09-062018-12-11北京安颂科技有限公司A kind of acetabular component and artificial hip joint
CN109528356A (en)*2019-01-212019-03-29北京爱康宜诚医疗器材有限公司Compound insert
CN115175640A (en)*2019-12-202022-10-11特法公司Resorbable implant for bone defect reconstruction
CN112618109A (en)*2019-12-302021-04-09雅博尼西医疗科技(苏州)有限公司Porous structure with containing space and base connecting structure and its making method and prosthesis
CN115551564A (en)*2020-03-122022-12-30史密夫和内修有限公司 Tissue repair implants and compositions and methods of implantation
CN114642771A (en)*2020-12-212022-06-21立心(深圳)医疗器械有限公司 Artificial ligament with traction unit and preparation method thereof
CN112957539A (en)*2021-02-012021-06-15北京大学第三医院(北京大学第三临床医学院)Zinc-manganese-magnesium alloy interface screw for reconstruction and fixation of anterior cruciate ligament
CN112957539B (en)*2021-02-012022-05-13北京大学第三医院(北京大学第三临床医学院)Zinc-manganese-magnesium alloy interface screw for reconstruction and fixation of anterior cruciate ligament

Also Published As

Publication numberPublication date
JP2007236802A (en)2007-09-20

Similar Documents

PublicationPublication DateTitle
CN101400381A (en)Composite implant material
US20090157194A1 (en)Implant composite material
EP1883377B1 (en)Synthetic loadbearing collagen-mineral composites for spinal implants
US9456905B2 (en)Continuous phase composite for musculoskeletal repair
EP1755697B1 (en)Compressed porous materials suitable for implant
US8715286B2 (en)Porous and nonporous materials for tissue grafting and repair
US9308076B2 (en)Bi-phasic compressed porous reinforcement materials suitable for implant
CN100490752C (en)Artificial intervertebral disc insertion jig, jig device, and artificial intervertebral disc
EP3244830B1 (en)Device for tendon and ligament reconstruction
EP1478304A2 (en)Pre-fabricated tissue-engineered plug
JP2007236803A (en)Implant composite material
US10105207B2 (en)Porous and nonporous materials for tissue grafting and repair
WO2018091524A1 (en)Implant and kit for treating a bone defect
Huang et al.Composites in biomedical applications
Supradeeptha et al.Results of Defect Augmentation with Tricalcium Phosphate in Tibial Plateau Fractures

Legal Events

DateCodeTitleDescription
C06Publication
PB01Publication
C10Entry into substantive examination
SE01Entry into force of request for substantive examination
C02Deemed withdrawal of patent application after publication (patent law 2001)
WD01Invention patent application deemed withdrawn after publication

Application publication date:20090401


[8]ページ先頭

©2009-2025 Movatter.jp