Movatterモバイル変換


[0]ホーム

URL:


CN101400084A - Method for changing service core network node of UE - Google Patents

Method for changing service core network node of UE
Download PDF

Info

Publication number
CN101400084A
CN101400084ACNA200710164227XACN200710164227ACN101400084ACN 101400084 ACN101400084 ACN 101400084ACN A200710164227X ACNA200710164227X ACN A200710164227XACN 200710164227 ACN200710164227 ACN 200710164227ACN 101400084 ACN101400084 ACN 101400084A
Authority
CN
China
Prior art keywords
mme
hnb
enb
message
information
Prior art date
Legal status (The legal status is an assumption and is not a legal conclusion. Google has not performed a legal analysis and makes no representation as to the accuracy of the status listed.)
Pending
Application number
CNA200710164227XA
Other languages
Chinese (zh)
Inventor
孙春迎
李小强
Current Assignee (The listed assignees may be inaccurate. Google has not performed a legal analysis and makes no representation or warranty as to the accuracy of the list.)
Beijing Samsung Telecommunications Technology Research Co Ltd
Samsung Electronics Co Ltd
Original Assignee
Beijing Samsung Telecommunications Technology Research Co Ltd
Samsung Electronics Co Ltd
Priority date (The priority date is an assumption and is not a legal conclusion. Google has not performed a legal analysis and makes no representation as to the accuracy of the date listed.)
Filing date
Publication date
Application filed by Beijing Samsung Telecommunications Technology Research Co Ltd, Samsung Electronics Co LtdfiledCriticalBeijing Samsung Telecommunications Technology Research Co Ltd
Priority to CNA200710164227XApriorityCriticalpatent/CN101400084A/en
Publication of CN101400084ApublicationCriticalpatent/CN101400084A/en
Pendinglegal-statusCriticalCurrent

Links

Images

Landscapes

Abstract

Translated fromChinese

一种改变UE的服务核心网络节点MME的方法,包括步骤:UE移动到MME池的时候,eNB给UE从MME池中选择一个MME;当所述MME发现自己不是目标MME时,所述MME告诉UE目标MME的路由信息;在UE与网络进行通信时,将该信息告诉eNB;eNB根据UE提供的路由信息,选择新的MME作为UE的目标MME。通过本发明,能够简化UE在eNB与HNB之间进行切换时的流程复杂度,使得切换过程更加简单实用。

Figure 200710164227

A method for changing the UE's serving core network node MME, comprising steps: when the UE moves to the MME pool, the eNB selects an MME from the MME pool for the UE; when the MME finds that it is not the target MME, the MME tells The routing information of the target MME of the UE; when the UE communicates with the network, the information is notified to the eNB; the eNB selects a new MME as the target MME of the UE according to the routing information provided by the UE. Through the present invention, it is possible to simplify the process complexity when UE switches between eNB and HNB, making the switching process simpler and more practical.

Figure 200710164227

Description

Change the method for the service core network node of UE
Technical field
The present invention relates on the basis of universal mobile telecommunications system (hereinafter to be referred as UMTS), carry out the mobile communication system (hereinafter to be referred as E-UMTS) of evolution, particularly a kind of method that the network service node of subscriber equipment is changed.
Background technology
The research of the long evolving system of UMTS system (LTE) is a standardization effort that is undertaken by third generation partner program 3GPP leader.LTE is intended to set up a high data access rate, inserts and the mobile communication system of high-throughput fast.
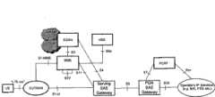
Fig. 1 describes is system construction drawing in the present stage LTE standardisation process.Subscriber equipment (hereinafter to be referred as UE) carries out radio communication by the air interface of LTE and the Access Network of enhancing (EUTRAN).Pass through the transfer of data that S1-U interface carries out user plane between the Access Network EUTRAN that strengthens and the SAE gateway of service.Carry out the Signalling exchange of control plane between EUTRAN and the mobile management entity (hereinafter to be referred as MME) by S1-MME interface.When UE is belonging to EUTRAN node motion under the different MME control, carry out the relevant contextual transmission of UE by the S10 interface between the MME, concrete process can be with reference to the existing flow process between the existing SGSN, as shown in Figure 2.Carry out the foundation of SAE carrying between the SAE gateway of MME and service by the S11 interface, UE such as adheres at function.Between the SAE gateway of service and the foundation of carrying between the PDN SAE gateway, and the transmission of data.
As shown in Figure 2, the capital equipment among EUTAN is exactly eNB (enhanced base station), is the S1 interface between eNB and the MME, and eNB is connected with a plurality of MME, and these a plurality of MME are in the same MME pond.
In Fig. 2, eNB can and a plurality of MME between set up the S1 interface.When the sub-district below a UE moves to this eNB, it is the contextual MME of that in store UE that eNB will find the serving network node of this UE so.UE offers for example network resource identifier (NRI) of eNB routing iinformation, which node eNB decides according to the NRI of its preservation and the corresponding relation between the MME is the serving network node of UE, and the non-access layer information that then UE will be sent to core network node MME is transmitted to MME.If the routing iinformation that eNB provides according to UE can not find corresponding core network node, mean that so UE moves to this MME pond for the first time, eNB distributes a MME according to the load balancing scheduling algorithm randomly to UE from the MME pond so.
HNB is used in family, university, the base station in places such as company.HNB is a plug and play.Be with the difference of common macro base station: common not every subscriber equipment can insert HNB.Can insert the HNB of family such as the subscriber equipment that has only subscriber household, perhaps this household agrees the subscriber equipment that other can insert.Have only the employee of company and the affiliate of its company permission to insert in a company.There is the one group of HNB HNB of same company (as be used in) of identical access customer group to be called closed user group (hereinafter to be referred as CSG, Closed Subscriber Group).The coupled core network node of HNB is set up S1 and is connected.But different with ENB is that a HNB only sets up S1 with a MME and is connected.For example shown in Figure 3, HNB1, the overlay area of HNB2 and HNB3 is in the overlay area of eNB.(MM1, MME2 MME3) set up the S1 interface, and HNB only sets up the S1 interface with MME3, and HNB2 only sets up the S1 interface with MME2, and HNB3 only sets up the S1 interface with MME2 for eNB and all MME.The MME that HNB connected is selected by network node, for example operation and management center (OMC).Whether this selection course has the UE existence with HNB, and it doesn't matter, and the general and residing position of HNB etc. has relation.
From top analysis we as can be seen, the serving MME of a subscriber equipment may not be same with the MME that HNB was connected under the UE.So this just mean when UE move to contiguous HNB local time, if switch, the serving MME of UE will change, simultaneously the UE S-GW that receives data also will change.If what UE carried out is again data service, do not allow obliterated data, forwarding of data is undertaken by two S-GW in addition so, and this is irrational for handoff procedure, the waste Internet resources.
Summary of the invention
The method that the purpose of this invention is to provide the service core network node of a kind of UE of change.
For achieving the above object, a kind of method that changes the service core network node MME of UE comprises step:
When a) UE moved to the MME pond, eNB selected a MME to UE from the MME pond;
B) when described MME found oneself not to be target MME, described MME told UE target MME's
Routing iinformation;
C) when UE and network communicate, tell eNB with this information;
D) routing iinformation that provides according to UE of eNB is selected the target MME of new MME as UE.
By the present invention, the flow process complexity in the time of can simplifying UE and switch between eNB and HNB makes handoff procedure more simple and practical.
Description of drawings
Fig. 1 is the system construction drawing of present LTE;
Fig. 2 is the annexation between eNB and the MME;
Fig. 3 is HNB and MME connection layout;
Fig. 4 is the invention flow chart;
Fig. 5 is the method that MME knows the MME that HNB connects;
Fig. 6 is the mode that another MME knows the MME that HNB connects of UE;
Fig. 7 is the action behavior figure of MME;
Fig. 8 is the action behavior figure of eNB;
Fig. 9 is the action behavior figure of UE.
Embodiment
What Fig. 4 described is flow chart of the present invention.
We call old MME432 to eNB to the MME that UE selects, and the MME that is connected with HNB is called target MME433.When UE moved to the MME pond at the beginning, eNB selected a MME according to the load balancing scheduling algorithm to UE from the MME pond, and promptly 432.We suppose the information of preserving the target MME that HNB connected of this UE among the old MME, and we describe concrete mode in Fig. 5 and Fig. 6.402 old MME find it oneself is not target MME, just accept to comprise in the message routing iinformation of target MME at its 403 routing region updatings that send to UE, the temporary mark S-TMSI that old MME distributes to UE.Network resource identifier field among the S-TMSI is used for identifying old MME.Also comprise the timer length of periodically carrying out routing region updating in this message.Present position is very near from HNB if old MME finds UE, just can be provided with timer time shortlyer, otherwise just can be provided with longly.After timer expiry, UE initiates routing area update procedures 404 again.UE sends Radio Resource connection protocol RRC405 to eNB, comprises the routing region updating request message that UE will send to core network node MME in this message, also comprises the routing iinformation of core network node MME.If general routing area update procedures, this routing iinformation is the network resource identifier NRI among the S-TMSI of UE so.And routing area update procedures hereto, this routing iinformation is the routing iinformation of the target MME that receives in 403.When eNB receives after 405, search the routing iinformation preserved in its configuration information and the mapping relations of MME address, find target MME, the routing region updating request message is transmitted to target MME.407 target MME find old MME by S-TMSI, carry out context swap 408 with it, then routing region updating are accepted message and send to UE, accept the update request of UE.Wherein 408 is prior aries, does not give unnecessary details at this.
What Fig. 5 described is the method that MME knows the MME that HNB connects.
Step 501, HNB sends and " adheres to request information and give OMC.The positional information that comprises HNB in the message.
Step 502, OMC HNB for this reason selects MME.OMC sends " adhering to response " message and gives HNB.Comprise above-mentioned the OMC MME and the S-GW address of HNB selection for this reason in described " adhering to response " message.Optionally, comprise the frequency that this HNB uses in the described message.The information that comprises adjacent cells in described " adhering to response " message.Optionally, the tracing area sign (hereinafter to be referred as TAI) that comprises this HNB in described " adhering to response " message.
Step 503, the process that the MME in HNB initiation and the above-mentioned message connects.HNB sends " connection request " message and gives MME.Optionally, comprise information ' there is the cell information of overlapping or adjacent covering HNB or CSG sub-district therewith ' in the described message.MME preserves the relevant information of HNB in the described message.MME sends " connection response " message and gives HNB.
Step 504, the connection request that MME response HNB initiates, set up with HNB between S1 be connected.Step 505 and 506, OMC sends " MME configuration notification " message to being the MMEs among same Pool of the selected MME of HNB and the adjacent Pool.The information that wherein comprises HNB.Optionally, the information of described HNB comprises the TAI at HNB place; Optionally, the information of described HNB comprises the cell information that there are overlapping or adjacent covering in HNB therewith or CSG sub-district; Optionally, the information of described HNB comprises the S-GW that HNB connects; Optionally, the information of described HNB comprises the position of HNB; Optionally, the information of described HNB comprises the HNB sign.
What Fig. 6 described is the mode that another MME knows the MME that HNB connects of UE.
HNB sends and " adheres to request information 601 and give OMC.The positional information that comprises HNB in the message.
Step 602, OMC HNB for this reason selects MME.OMC sends " adhering to response " message and gives HNB603.Comprise above-mentioned the OMC MME and the S-GW address of HNB selection for this reason in described " adhering to response " message.Optionally, comprise the frequency that this HNB uses in the described message.The information that comprises adjacent cells in described " adhering to response " message.Optionally, the tracing area sign (hereinafter to be referred as TAI) that comprises this HNB in described " adhering to response " message.
We suppose that OMC is 633 to the MME that HNB selects in the figure.
Step 604, the process that the MME in HNB initiation and the above-mentioned message connects.HNB sends " connection request " message and gives MME.Optionally, comprise information ' there is the cell information of overlapping or adjacent covering HNB or CSG sub-district therewith ' in the described message.MME preserves the relevant information of HNB in the described message.MME sends " connection response " message and gives HNB.
Step 605, the connection request that MME response HNB initiates, set up with HNB between S1 be connected.Afterwards, MME is registered to the information of this HNB among the HSS and goes.MME sends 606 location registration request message, comprises the sign of HNB in this message, the sign of the MME that it connected, the sign of CSG under the HNB, information such as UE sign.After HSS preserves these information, just return 607HNB location registration request acknowledge message.
After the UE start of this HNB, send 608 and adhere to request to core network node MME632, this MME will obtain the contextual information of UE from HSS there.MME sends 609 location update request message to HSS, comprises the sign of UE in this message, the sign of MME, information such as the residing tracing area sign of UE.HSS returns the relevant context of UE and gives MME, and these information can be upgraded in the response in 610 positions and comprise, also can after insertion UE subscription data in comprise.The information that comprises is exactly the MME sign that the HNB under this UE connects.Along with the moving of UE, can be sent to the new MME from old MME and go after these information.This finishes by 408 context swap.
That Fig. 7 describes is the action behavior figure of MME.
701MME judges whether the message of receiving is the routing region updating request message, if turn to 702.702MME judges whether it has preserved the HNB information of UE, then turns to 703 if having, otherwise turns to 705.703MME may judge the information such as distance of UE current location from HNB, if decision allows UE reselect MME, then turns to 704, otherwise turns to 705.704MME accepts to comprise in the message routing iinformation of target MME at the routing region updating that sends to UE.705MME handles the routing region updating request message, sends routing region updating to UE and accepts message.
Fig. 8 is the action behavior figure of eNB.
Whether what the 801eNB judgement was received is initial directly message transfer, if then turn to 802.802eNB seeks MME according to the routing iinformation that comprises in this message, turns to 803.803eNB judges whether can find corresponding M ME according to routing iinformation, if can, turn to 805, otherwise turn to 804.804eNB selects a MME according to the load balancing scheduling algorithm, turns to 805.The non-access layer information that 805eNB will comprise in will initially directly transmitting is transmitted to MME.
Fig. 9 is the action behavior figure of UE.
901UE judges whether the message of receiving is that routing region updating is accepted message, if turn to 903, otherwise turns to 902.903, UE judges whether comprise routing iinformation in this message, if then turn to 904, otherwise this message of normal process.904UE preserves this routing iinformation.
902UE judges whether it is periodicity routing area update procedures timer expiry, if then turn to 905.905UE judges whether it has preserved routing iinformation, if then turn to 906, otherwise turns to 907.The routing iinformation that 906UE comprises in the initial directly transmission that sends to eNB be exactly it at 904 routing iinformations of being preserved, turn to 908.907, the routing iinformation that UE comprises in the initial directly transmission that sends to eNB is exactly the routing iinformation that the temporary mark S-TMSI from UE extracts, and for example network resource identifier etc. turns to 908.908UE sends and initially directly is transferred to eNB.

Claims (5)

1. method that changes the service core network node of UE comprises step:
When a) UE moved to the MME pond, eNB selected a MME to UE from the MME pond;
B) when described MME found oneself not to be target MME, described MME told the routing iinformation of UE target MME;
C) when UE and network communicate, tell eNB with this information;
D) routing iinformation that provides according to UE of eNB is selected the target MME of new MME as UE.
2. method according to claim 1 is characterized in that also comprising:
Target MME finds old MME by S-TMSI, carries out context swap with it, then routing region updating is accepted message and sends to UE.
3. method according to claim 2 is characterized in that routing iinformation is a network resource identifier.
4. method according to claim 1 is characterized in that described eNB selects a MME according to load-balancing algorithm to UE from the MME pond.
5. method according to claim 2 is characterized in that present position is very near from HNB if old MME finds UE, then timer time be provided with shorter, otherwise can be provided with longer.
CNA200710164227XA2007-09-302007-09-30Method for changing service core network node of UEPendingCN101400084A (en)

Priority Applications (1)

Application NumberPriority DateFiling DateTitle
CNA200710164227XACN101400084A (en)2007-09-302007-09-30Method for changing service core network node of UE

Applications Claiming Priority (1)

Application NumberPriority DateFiling DateTitle
CNA200710164227XACN101400084A (en)2007-09-302007-09-30Method for changing service core network node of UE

Publications (1)

Publication NumberPublication Date
CN101400084Atrue CN101400084A (en)2009-04-01

Family

ID=40518274

Family Applications (1)

Application NumberTitlePriority DateFiling Date
CNA200710164227XAPendingCN101400084A (en)2007-09-302007-09-30Method for changing service core network node of UE

Country Status (1)

CountryLink
CN (1)CN101400084A (en)

Cited By (14)

* Cited by examiner, † Cited by third party
Publication numberPriority datePublication dateAssigneeTitle
WO2011050723A1 (en)*2009-11-022011-05-05中兴通讯股份有限公司Method, system and device for selecting target mobility management entity (mme) during mobile terminal switch process
WO2011144145A1 (en)*2010-06-282011-11-24华为技术有限公司Switch method, communications device and communications system
WO2011147098A1 (en)*2010-05-282011-12-01华为技术有限公司Processing method and equipment for acquiring context
CN102291805A (en)*2010-06-212011-12-21中兴通讯股份有限公司Method and system for selecting mobility management entity (MME)
WO2012019471A1 (en)*2010-08-122012-02-16华为技术有限公司Handover method, access node and donor station
CN102395121A (en)*2011-10-272012-03-28大唐移动通信设备有限公司Method, system and device for resending Update-Location-Request information
WO2012041131A1 (en)*2010-09-292012-04-05中兴通讯股份有限公司Method and system for subscriber to participate in establishment of local access connection
CN102892211A (en)*2011-07-222013-01-23华为终端有限公司Traffic offloading method and mobile management entity
CN103139853A (en)*2010-06-282013-06-05华为技术有限公司Switching method, communication device and communication system
CN104105214A (en)*2013-04-012014-10-15电信科学技术研究院Data transmission method and device
CN105338557A (en)*2014-07-102016-02-17成都鼎桥通信技术有限公司User migration method and apparatus
CN105874828A (en)*2013-09-262016-08-17华为技术有限公司Information determination method and related device
WO2017101045A1 (en)*2015-12-162017-06-22华为技术有限公司Network element selection method and network element selector
CN108810867A (en)*2011-09-302018-11-13日本电气株式会社System, core network node, terminal, radio access network node and method

Cited By (28)

* Cited by examiner, † Cited by third party
Publication numberPriority datePublication dateAssigneeTitle
WO2011050723A1 (en)*2009-11-022011-05-05中兴通讯股份有限公司Method, system and device for selecting target mobility management entity (mme) during mobile terminal switch process
CN102369761A (en)*2010-05-282012-03-07华为技术有限公司Processing method and equipment for acquiring context
WO2011147098A1 (en)*2010-05-282011-12-01华为技术有限公司Processing method and equipment for acquiring context
CN102369761B (en)*2010-05-282014-06-11华为技术有限公司Processing method and equipment for acquiring context
CN102291805A (en)*2010-06-212011-12-21中兴通讯股份有限公司Method and system for selecting mobility management entity (MME)
CN103139853A (en)*2010-06-282013-06-05华为技术有限公司Switching method, communication device and communication system
WO2011144145A1 (en)*2010-06-282011-11-24华为技术有限公司Switch method, communications device and communications system
US9801098B2 (en)2010-06-282017-10-24Huawei Technologies Co., Ltd.Handover method, communication device and communication system
CN103139853B (en)*2010-06-282015-04-08华为技术有限公司Switching method and communication device
US8913588B2 (en)2010-06-282014-12-16Huawei Technologies Co., Ltd.Handover method, communication device and communication system
US9769709B2 (en)2010-06-282017-09-19Huawei Technologies Co., Ltd.Handover method, communication device and communication system
WO2012019471A1 (en)*2010-08-122012-02-16华为技术有限公司Handover method, access node and donor station
CN102378145A (en)*2010-08-122012-03-14华为技术有限公司Switching method, access node and host site
CN102378145B (en)*2010-08-122014-08-20华为技术有限公司Switching method, access node and host site
WO2012041131A1 (en)*2010-09-292012-04-05中兴通讯股份有限公司Method and system for subscriber to participate in establishment of local access connection
CN102892211A (en)*2011-07-222013-01-23华为终端有限公司Traffic offloading method and mobile management entity
CN102892211B (en)*2011-07-222015-07-22华为终端有限公司Traffic offloading method and mobile management entity
CN108810867A (en)*2011-09-302018-11-13日本电气株式会社System, core network node, terminal, radio access network node and method
CN102395121B (en)*2011-10-272014-06-04大唐移动通信设备有限公司Method, system and device for resending update-location-request information
CN102395121A (en)*2011-10-272012-03-28大唐移动通信设备有限公司Method, system and device for resending Update-Location-Request information
CN104105214A (en)*2013-04-012014-10-15电信科学技术研究院Data transmission method and device
CN104105214B (en)*2013-04-012017-08-18电信科学技术研究院A kind of data transmission method and device
CN105874828A (en)*2013-09-262016-08-17华为技术有限公司Information determination method and related device
CN105874828B (en)*2013-09-262020-04-28华为技术有限公司Information determination method and related equipment
CN105338557A (en)*2014-07-102016-02-17成都鼎桥通信技术有限公司User migration method and apparatus
WO2017101045A1 (en)*2015-12-162017-06-22华为技术有限公司Network element selection method and network element selector
EP3364694A4 (en)*2015-12-162018-09-12Huawei Technologies Co., Ltd.Network element selection method and network element selector
US10349344B2 (en)2015-12-162019-07-09Huawei Technologies Co., Ltd.Network element selection method and network element selector

Similar Documents

PublicationPublication DateTitle
CN101400084A (en)Method for changing service core network node of UE
CN101400160B (en)Method for establishing connection by HNB
CN101656990B (en)Method for supporting switching in mobile communication system
CN101188861B (en)Switching method inside the system
US7724707B2 (en)Network for a cellular communication system and a method of operation therefor
CN104936237B (en)The method for being responsible for the network entity of control plane and its control session of execution
KR101509837B1 (en)Method for establishing connection by home node b in a communication system
EP2665308A1 (en)Method apparatus and system for handover between h(e)nbs
CN102300191A (en)Method and system for idle mode signaling reduction
CN101677455A (en)Method for assisting network to find destination node
JP2022511597A (en) Network service control method and communication equipment
CN107211337A (en)Communication means, core network control surface node device and base station
RU2472315C1 (en)Method of processing based on mode of femto cell access
CN111225427A (en) A method of establishing X2 through gateway
JP4768807B2 (en) Wireless communication method and system
CN101808363B (en)Overload control method for access network element and related devices
CN101841874A (en)Method for supporting switching in mobile communication system
CN102244890B (en) Method, device and system for sending measurement report
US20140349635A1 (en)Method and Device for Implementing Multi-Cell Service on Base Station Device
CN101330425A (en)Method for establishing tunnel from SGSN to service gateway
CN101742735A (en)Method and system for realizing configuration information update
KR101495466B1 (en)Communication system
CN103220743B (en)The processing method of Route Distinguisher, Apparatus and system in via node moving process
CN102131252A (en) Service quality information processing method, device and system
CN101188803B (en)Notification method for enabling no-signaling mobile mechanism

Legal Events

DateCodeTitleDescription
C06Publication
PB01Publication
C02Deemed withdrawal of patent application after publication (patent law 2001)
WD01Invention patent application deemed withdrawn after publication

Open date:20090401


[8]ページ先頭

©2009-2025 Movatter.jp