Movatterモバイル変換


[0]ホーム

URL:


CN101342092B - Wireless sensing monitoring system - Google Patents

Wireless sensing monitoring system
Download PDF

Info

Publication number
CN101342092B
CN101342092BCN200810142385XACN200810142385ACN101342092BCN 101342092 BCN101342092 BCN 101342092BCN 200810142385X ACN200810142385X ACN 200810142385XACN 200810142385 ACN200810142385 ACN 200810142385ACN 101342092 BCN101342092 BCN 101342092B
Authority
CN
China
Prior art keywords
wireless
sensor
display
radio display
urine
Prior art date
Legal status (The legal status is an assumption and is not a legal conclusion. Google has not performed a legal analysis and makes no representation as to the accuracy of the status listed.)
Expired - Fee Related
Application number
CN200810142385XA
Other languages
Chinese (zh)
Other versions
CN101342092A (en
Inventor
黄更
徐菲
Current Assignee (The listed assignees may be inaccurate. Google has not performed a legal analysis and makes no representation or warranty as to the accuracy of the list.)
Individual
Original Assignee
Individual
Priority date (The priority date is an assumption and is not a legal conclusion. Google has not performed a legal analysis and makes no representation as to the accuracy of the date listed.)
Filing date
Publication date
Application filed by IndividualfiledCriticalIndividual
Priority to CN200810142385XApriorityCriticalpatent/CN101342092B/en
Publication of CN101342092ApublicationCriticalpatent/CN101342092A/en
Priority to HK09105934.9Aprioritypatent/HK1130169B/en
Priority to US12/995,188prioritypatent/US20110095884A1/en
Priority to PCT/CN2009/072938prioritypatent/WO2010012217A1/en
Priority to EP09802410.2Aprioritypatent/EP2308435B8/en
Application grantedgrantedCritical
Publication of CN101342092BpublicationCriticalpatent/CN101342092B/en
Expired - Fee Relatedlegal-statusCriticalCurrent
Anticipated expirationlegal-statusCritical

Links

Images

Landscapes

Abstract

The embodiment of the invention provides a wireless sensing monitor system, which comprises a wireless sensor and a wireless display device; the wireless sensor comprises a sensing input device, a sensor ID and a wireless emitting device. When the sensor enters into the triggering state, the sensor ID is sent by the wireless emitting device. The wireless display device comprises a wireless receiving device, a sensor ID synchronous list, a data processing device and a display device; when the display device makes comparison with the ID in the synchronous list after receiving the sensor ID which is sent by the sensor, the triggering sensor information is displayed on the display device if the sensor ID is correlated with the ID in the synchronous list. The embodiment of the invention realizes low cost and the function of networking system monitor through the wireless sensing and wireless communication technology, and especially provides an electronic urine induction and monitor system suitable for the institutions such as the hospitals, the homes for the aged, the nursing centers and the like.

Description

A kind of wireless sensing monitoring system
Technical field
The present invention relates to a kind of wireless sensing monitoring system, particularly a kind of wireless monitoring network system device of realizing wet induction of wireless urine and warning function in the disposable diaper that is applicable to.
Background technology
Disposable diaper is a kind of hygienic article, and it is still all very popular in hospital and care centre in family.Disposable diaper both used up and abandoned, and was more healthy and convenient undoubtedly with respect to traditional diaper.Disposable diaper is made up of dry and comfortable layer (internal layer), moisture absorption layer (interlayer) and impervious barrier (skin) usually, dry and comfortable layer is the innermost layer of diaper, when user drew urine in diaper, urine can be passed dry and comfortable layer and be absorbed by moisture absorption layer, thereby made dry and comfortable layer be kept dry and comfortable.Yet this dry and comfortable be relative, the wettability power that is moisture absorption layer on the one hand is limited, be that urine also can be distributed moisture at moisture absorption layer on the other hand, impervious barrier is ventilative inadequately because will prevent urine from leaking simultaneously, the gas that urine is decomposed in moisture absorption layer can be retained within the diaper for a long time, this has stimulation to user skin, so diaper urine should change after wet as early as possible, to keep the health of user skin.
Because disposable diaper denser comparatively speaking, be not easy to observe diaper generally speaking and whether urinated wetly, particularly when the ward is busier, often ignore the replacing of wet diaper easily, cause the problem of user skin.Therefore in real life, need a kind of effective prompting mode really, when diaper urine is wet, remind the ward to carry out the replacing of diaper, make the skin health of user more secure.Disposable diaper all is suitable for adult and baby, and particularly old man or the patient to gatism is indispensable especially, so disposable diaper is used in a large number in mechanisms such as hospital, sanatorium, nursing homes, care centres.For service quality and the nursing level that improves associated mechanisms, and reduce the problem that is short of hands and brings, have really and need set up the effectively wet induction of urine and the monitoring and alarming system of networking.
Yet the present existing independent wet acoustic-optic alarm of electronics urine that uses can not address that need, because in most cases diaper all can be through nexine, sound and light alarm often is left in the basket among a more noisy and busy environment easily, if simultaneously too loudly, disturb other patient's rest again easily, impracticable often in the middle of reality.
Summary of the invention
Technical problem to be solved by this invention is, deficiency at above-mentioned existing product technology, a kind of wireless sensing monitoring system is provided, particularly a kind of monitor system device that real-time wetting state detects and reports to the police that carries out that is suitable for large-scale application, can remind the monitoring personnel to carry out necessary nursing effectively, and the work and rest of stopping that does not influence other people, convenience, reliability in the use also will be solved simultaneously, and require both clean hygienes, lower problems such as use cost are arranged again simultaneously.
In order to solve the problems of the technologies described above, the embodiment of the invention provides a kind of wireless sensing monitoring system, comprise wireless senser, radio display, and wireless senser comprises sensing input equipment, sensor ID, wireless launcher, when pick off enters the triggering state, can send sensor ID by wireless launcher; Described sensing input equipment is disposable urine wet sensor, and it comprises sensing electrode, insulation spacer, positioner; Described sensor ID, wireless launcher all are contained within the urine-wet alarm apparatus of separable reuse, and this separable alarm apparatus comprises contact electrode, positioner; Described separable urine-wet alarm apparatus can be implemented combination and separate with described contact electrode with disposable urine wet sensor by described sensing electrode, when both are in assembled state, has electric connecting relation; And radio display comprises radio receiver, data processing equipment, display device, after receiving the sensor ID that sends by pick off when display, data processing equipment can be judged the dependency of itself and display, if relevant then show the relevant information of the pick off that is triggered in display device.
The beneficial effect that the present invention has is: the one, and it is wireless sensing monitoring system device, and the position that pick off is placed can not influence the effect of warning, and this has solved the problem that general acoustooptic alarm system is not suitable for hospital and care centre use effectively; The 2nd, it can conveniently set up a networking and centralized sensing monitoring system, also has the location tracking function simultaneously, is suitable for the application of institutional and scale; The 3rd, also have call function in sensor side, with the special requirement that solves different patients or in emergency circumstances using; The 4th, the radio display in the ward also has the speech talkback function with data terminal in the monitoring center, and this is a kind ofly directly and effectively to link up maneuver, is replenishing necessity of sensing monitoring system; The 5th, data terminal can also further be connected with computer, intrasystem all the sensors is unified to realize and make Journaled record and put on record, to improve the quality and the service level of monitor system.
Description of drawings
Fig. 1 is the schematic network structure of embodiment of the invention wireless sensing monitoring system;
Fig. 2 is that the wet induction alarm device of wireless senser embodiment one urine of the present invention is used sketch map;
Fig. 3 is the wet induction alarm device side view of embodiment one urine (before the assembling) of wireless senser of the present invention;
Fig. 4 is the wet induction alarm device side view of embodiment one urine (assembling back) of wireless senser of the present invention;
Fig. 5 is the wet induction alarm device front view of embodiment one urine and the dorsal view of wireless senser of the present invention;
Fig. 6 is that the embodiment two sensing input equipment and the separable urine-wet alarm device side-looking of wireless senser of the present invention reaches then cutaway view;
Fig. 7 is that the embodiment two sensing input equipment front views and the separable urine-wet alarm device of wireless senser of the present invention carried on the back, front view;
Fig. 8 is that the embodiment of wireless senser of the present invention urinates wet induction alarm device circuit theory diagrams;
Fig. 9 is the embodiment wireless sensing warning circuit block chart of wireless senser of the present invention;
Figure 10 is the embodiment radio display circuit block diagram of radio display of the present invention;
Figure 11 is the embodiment display mode and the function switching flow figure of radio display of the present invention;
Figure 12 is the synchronous flow chart of embodiment sensor ID of radio display of the present invention;
Figure 13 is the embodiment address code setting process figure of radio display of the present invention;
Figure 14 is the embodiment remote data terminal circuit block diagram of remote data terminal of the present invention.
The specific embodiment
The invention will be further described below in conjunction with accompanying drawing.
Please refer to shown in Figure 1ly, this is the schematic network structure of embodiment of the invention wireless sensing monitoring system device.In general, a monitor system has a care centre and a plurality of ward (room), and one or more sick bed (berth) is arranged in a room usually, N room arranged in the present embodiment, and there are three berths in each room.In the present embodiment for each berth has disposed a wireless senser 01, and be radio display 02 of each room configuration, and for one of care centre configuration remote data terminal 03.Adopt wireless radiofrequency to be connected between wireless senser 01 and the radio display 02, and radio display 02 both can adopt wireless radiofrequency to be connected (band antenna) with the remote data terminal, also can adopt wired connection or power line carrier connection 05.The remote data terminal can be made the usefulness of data reception and demonstration separately, also can further be connected with computer 04, to realize networking and computerized real time data demonstration, monitoring and record.
Can see that from said structure figure there are three key components in system of the present invention, be respectively wireless senser 01, radio display 02, remote data terminal 03, below with reference to each ingredient of accompanying drawing labor, make it can constitute a complete monitor system.
Please refer to shown in Figure 2ly, this is that the wet induction alarm device of wireless senser embodiment of the present invention one urine is used sketch map.It is to set up wet induction of a wireless urine and warning system for hospital's (at baby and uracratia patients), nursing homes, care centre that one of them of wireless sensing monitoring system of the present invention mainly used, therefore wet induction of this wireless urine and warning monitor system have mainly been introduced in an embodiment of the present invention, this is a bright concrete application of this law, in addition, the present invention also is suitable for other wireless monitoring and uses, as long as just become for the required sensing input equipment of corresponding system configuration.For example can be applied to garter (transfusion) monitoring or the patient location monitoring of hospital, as long as the medicinal liquid pick off is gone up in configuration or position sensor is just passable, this can prevent effectively that the garter medicinal liquid is totally lost and the backflow of blood situation that produces, and prevents that patient from arrogating to oneself from the lesion, and is healthy and safe to guarantee patient's.
In Fig. 2,10 are (special use) of the present invention disposable diaper (hospital and care centre mainly adopt disposable diaper), its the basic outward appearance and the mode of wearing are the same with traditional diaper, certain position (being the place ahead of diaper or rear in the drawings) that different is outside diaper is provided with an independently dry andcomfortable space 12, an opening (inlet) 13 is arranged on dry and comfortable space, can insertincorporate alarm 20 from the porch, a display lamp (light emitting diode is arranged on alarm, LED) 21, can do the indication of work state or wetting state, and acall button 28 is arranged on the display lamp side, can call out nursing staff on duty when needed by the user of diaper.Also further include anelasticity folder 22 on alarm, this elasticity folder can be clipped on the independent dry and comfortable spatial outward flange, so that alarm is fixed on the diaper.
The design of Fig. 2 has been mainly the technical deficiency that solves wet induction of existing urine and acoustooptic alarm system and has put forward.At first it is the wet induction alarm device of a wireless urine, and the position that pick off is placed can not influence the effect of warning, and this has just solved the problem that general audible-visual annunciator is not suitable for hospital and care centre use effectively; Secondly it is the system and device that can conveniently set up centralized monitoring, and the monitoring that is particularly suitable for institutional and scale is used; The 3rd, also have call function in sensor side, with the special needs that solve different patients or in emergency circumstances using; The 4th, radio display in the ward and the data terminal in the monitoring center also have the speech talkback function, and this is a kind ofly directly and effectively to link up maneuver, are replenishing necessity of network sensing monitoring system.
Please refer to shown in Figure 3ly again, this is the wet induction alarm device side view of embodiment one urine (before the assembling) of wireless senser 01 of the present invention.11 is the diaper waistline among the figure, and 15 is diaper skin (impervious barrier), and 16 is diaper moisture absorption layer (interlayer), and 17 is diaper internal layer (dry and comfortable layer).Skin at diaper has anopening 13, and an antiseepageprotective layer 18 is arranged under the opening, and protective layer is covered under the diaper opening, and its four limit is pasted on the outer inner edge of diaper, can prevent that urine is in the opening part seepage.Meanwhile, protective layer also forms independently dry and comfortable (ne-leakage)space 12 with the outer inner edge of diaper is common, and this space can directly be touched by the outer opening of diaper from the outside of diaper, and can be used in the outside by the user.In the present invention, the dry and comfortable space of this independence is mainly used in and lays the wet induction alarm apparatus of (placement) urine.In addition, the wet induction alarm device of 20 integrated (for embodiment two of wireless senser) urine among the figure (or alarm body device, in comprise the wet induction alarm circuit of urine), 22 press from both sides for elasticity, 23 is contact electrode, specifically will further specify in following relevant legend.
Please refer to shown in Figure 4ly again, this is a then cutaway view (assembling back) of the wet induction alarm device side view of urine of wireless senser 01 embodiment one of the present invention and diaper.Each accompanying drawing mark is the same with Fig. 3 among the figure, here will not praise and state, different is thatalarm 20 is placed within the dry andcomfortable space 12 of diaper, alarm elasticity folder is then clamped dry and comfortable spatial outward flange 14 (for the part of diaper skin 15) from diaper is outside, this is used for fixing between alarm and the diaper on the one hand, makes the conduction line of induction that depends on the outer inner edge of diaper and contact electrode on the alarm have one on the other hand and contacts (increase contacts elastic force) reliably.
Please refer to shown in Figure 5ly again, this is the wet induction alarm device front view (20a) of embodiment one urine and the dorsal view (20c) of wireless senser 01 of the present invention, and wherein 20 is the urine-wet alarm device agent set, inside comprises warning circuit, 21 are the led state indication, and 22 are the elasticity folder, and 28 for calling out by strong.The front view that 20b is an alarm after removing the elasticity folder can have been found twocontact electrodes 23 among the figure and since contact electrode be positioned at the elasticity folder below, so in the alarm front view shown in the 20a, can't see.Among the figure 24 is a button, can make the switch of alarm power supply, or make function and test, or make the synchronous usefulness of sensor ID described later and (can adopt the time length of pressing to distinguish different functions, for example long by being ON/OFF, short in being test, continuously by be used for for twice or three times pick off at random ID generation and carry out synchronously with radio display).Also have areset key 25 in addition in the drawings, can make the usefulness that resets of alarm circuit.
Please refer to shown in Figure 6ly again, this is the embodiment two sensing input equipment of wireless senser 01 of the present invention and separable urine-wet alarm device side-looking and cutaway view then.Be that with wireless senser embodiment one difference Shi Liyi is incorporate, not independently sensing input equipment, its sensing input equipment is comprised within the wet sensor alarm of urine, and the sensing input equipment of embodiment two and urine-wet alarm device are separable, sensing input equipment is disposable product, can stick on the disposable diaper in use, and disposable with disposable diaper, and separable urine-wet alarm device then uses because of separation can reach repeatedly repeatedly.The diaper that embodiment two is suitable for is different with embodiment one, the diaper of embodiment one is a specialized diapers, the dry and comfortable space of independence that has the built-in conduction line of induction and can place the wet induction alarm device of urine, and the property diaper that embodiment two uses is common disposable diaper, because common diaper does not have the built-in conduction line of induction, therefore need external sensing input equipment and sensing electrode is injected within the diaper and with the moisture absorption layer of diaper and contact by the otch of on the diaper skin, opening, therefore can in use be polluted inevitably, promptly be abandoned after so just causing needs to reinstate with diaper one.
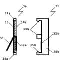
Analyze the structure of Fig. 6 below, see how it works.3a is sensing input equipment among the figure, includes sensingelectrode 31, and is fixed byinsulation spacer 30a, passes the another side that 30a arrives pad then, and the sensing electrode in this one side is marked as 32a, and depends on the 30a.Insulation spacer further includesadhesive sticker coating 33, and locating notch 34a and 35a.3b among the figure then is separable urine-wet alarm device, and wherein 30b is the agent set of alarm, in comprise warning circuit, and 32b is a contact electrode, 34b and 35b are the location back-off device.Product among the figure uses step as follows: one, need do to urinate the wet position of detecting (for example diaper the place ahead) in diaper and open an otch; Two,sensing electrode 31 is inserted within this otch, it is contacted with the moisture absorption layer of diaper; Three, by adhesive sticker coating 33 that insulation spacer and diaper is bonding, this plays fixation on the one hand, can prevent that on the other hand urine is in diaper incision seepage; Four, bybarb 34b and 35balarm body device 30b is buckled on theinsulation spacer 30a, to realize the fixing and combination of sensing input equipment 3a and urine-wet alarm device 3b, under assembled state,contact electrode 32b contacts withsensing electrode 32a, thereby realizes being electrically connected between diaper moisture absorption layer and alarm.
Please refer to shown in Figure 7ly again, this is the embodiment two sensing input equipment front views (3a1) of wireless senser 01 of the present invention and separable urine-wet alarm device dorsal view (3b1), front view (3b2).Can know the outward flange locating notch 34a and the 35a that see insulation spacer in the drawings, and the location back-off 34b and the 35b of alarm.34 is different (35 is bigger) with 35 size, and this diversity structure can prevent the composition error that may occur between sensing input equipment and urine-wet alarmdevice.Sensing electrode 32a andcontact electrode 32b are corresponding among the figure, and when sensing input equipment and urine-wet alarm device were in assembled state, 32a contacted with 32b and realizes electric being connected.In urine-wet alarm device dorsal view (3b1), can also see abutton 36 is arranged, as on and off switch, or wireless test, or the synchronous usefulness of sensor ID (can adopt the time length of pressing to distinguish different functions, for example long by being ON/OFF, short in being test, continuously by be used for for twice or three times pick off at random ID generation and carry out synchronously with radio display).Can also see then that in urine-wet alarm device front view (3b2) a ledstate indication 37 is arranged, and a calling can be done the state indication and realize the wireless calling function by being good for 38.
Please refer to shown in Figure 8ly again, this is that the embodiment of wireless senser 01 of the present invention urinates wet induction alarm device circuit theory diagrams.The core of Fig. 8 is a processor, or comprises the device of processor, for example single-chip microcomputer or special digital integrated circuit etc.Adopted the sensing input circuit that holds the resistance formula among the figure, this loop can detect not only whether urine is wet takes place, and can also detect the wet degree of urine, because it can produce a quantized input.The key of this circuit is the capacitor C 1 of input termination at the conduction line of induction, this capacitances in series is among conduction line of induction loop, battery can charge to this electric capacity by the line resistance of the conduction line of induction, when charging reaches a certain level, the sampling input circuit is triggered, the time that processor triggers according to charging judges whether diaper is wet by urine, and the wet degree of urine etc., because should the time and the line resistance relevant (being inversely proportional to relation) of the conduction line of induction, and the line resistance of the conduction line of induction be with to urinate the degree of wetting relevant.Also have a controlling of sampling loop among the figure, this loop is connected to processor and is subject to processing device control.In the time will urinating wet induction (sampling), processor makes capacitor C 1 discharge by diode D1 by controlling of sampling loop low level of output, and the input circuit of at this moment sampling is a low level.Processor stops (the control loop diode in series is oppositely ended) by a high level order of controlling of sampling loop output discharge more then, this moment, battery just can charge to capacitor C 1 by above-mentioned loop, till the sampling input circuit becomes high level and triggers processor.If diaper is in dry and comfortable state, the resistance between the conduction line of induction presents high impedance, and the charging rate of C1 is just very slow, and it is longer relatively that the input circuit of just sampling becomes the required time of high level from low level; If instead diaper is in wetting state, resistance between the conduction line of induction presents Low ESR, the charging rate of C1 just becomes than very fast, it is shorter relatively that the input circuit of just sampling becomes the required time of high level from low level, at this moment can confirm just that diaper is in wetting state, and the above-mentioned time is short more, shows that the wet situation of urine is serious more.Owing to have the participation of processor that quantized signal input is achieved, and make wet detection of its urine have higher accuracy and reliability.Also has a led state indication among the figure, can do the indication of work state and alarm condition, for example dodging green light is the dry and comfortable state of diaper, and dodging red colored lamp is the diaper wetting state, dodging orange lamp (traffic lights are simultaneously glittering) is low-voltage state etc., and these states just can effectively be realized with a dual-colored LED.
Also further include a wireless launcher among Fig. 8, this device can be launched wireless alarm signal, the demonstration output that makes supporting with it radio display 02 can receive corresponding wireless alarm signal and do to be correlated with.Because system of the present invention has not only wireless senser, send by that wireless senser in order to make radio display can effectively discern the wireless signal that is received, must include the address or the identity code (sensor ID) of pick off in the wireless signal of pick off.Processor inside in the present embodiment just is provided with such ID, will comprise sensor ID by processor and send wireless launcher at interior warning message, and realize this digitized information transmission by wireless launcher.Can also see that in the drawings a switch/test button is arranged, should also can be used as the transmission test purposes of alarm by the strong switch purposes that both can be used as alarm device, it is synchronous to rely on this button to realize with the ID of radio display.
Please refer to shown in Figure 9ly again, this is the embodiment wireless sensing warning circuit block chart of wireless senser 01 of the present invention, is that to circuit shown in Figure 8 summarizes and replenishes.Include a processor among the figure, and the various unit/device that links to each other with processor, for example sensing input equipment, sensor ID unit, wireless launcher etc.When sensing input equipment was triggered, processor just sent sensor ID by wireless launcher.Described sensor ID unit comprises the outer ID setting device (for example toggle switch) of processor, memory I D (being stored in the nonvolatile memory).Then include fixedly ID and ID at random as for the ID in the processor, fixedly ID is meant the ID that is preset in the processor before product export, ID is produced when using by more every methods or algorithm by processor at random, for example can power on for the first time at pick off is to produce (for example adopt the random number of internal memory makes up when powering on), also can carry out generation when synchronous by synchronous button and radio display at wireless senser.ID value itself is unimportant in native system, and importantly the difference that all will try one's best of the ID of each pick off can make a distinction different pick offs like this.Suppose that pick off adopts continuously by two and subsynchronously undertaken synchronously by strong mode and display, and the interval of twice button sent to display as sensor ID, the interval of supposing twice button again again is 0 to 1 second, the precision of enumerator is per second 1,000,000 times, then the repetition probability of the sensor ID that produces based on above-mentioned hypothesis be 1,000,000/, this acceptable still not concerning native system, and relatively near ideal situation.
Pick off input equipment among the figure comprises that the wet sensing input of urine, the input of medicinal liquid sensing, location triggered input, wireless trigger input, magnetic field triggers input, other pick off input etc., it is a kind of of location triggered input that input is triggered in wireless trigger input and magnetic field, when entering wireless trigger or magnetic field toggle area, (for example relevant triggering discharger is installed in specific gateway), wireless senser just is triggered and launches its ID code, monitor system is just known the position of wireless senser like this, thereby realizes the location tracking function to wireless senser.
Also have among the figure and call out by strong input and test/button input synchronously, wherein call out by strong input and can make the system calling purposes, when call button is pressed, wireless senser can send the call signal of belt sensor ID, and can on radio display, show the information relevant with pick off, also further call signal is sent on the remote data terminal of care centre simultaneously and shows by network system.Also have state indicating device in addition in the drawings, can be used as the duty indication or the indication of its alarm condition of pick off.Be meant the specific packet that sends with sensor ID as for triggering status command that is included in processor inside and normal condition instruction, can make radio display not only know the sensor ID that sends signal, simultaneously also know the state that it is current, and the variation of its state is upgraded.For example when system had diaper urine wet, wireless senser sent the wet alarm command that triggers of urine, and the red led that order receives the radio display of coherent signal flashes; And after wet diaper was replaced, diaper was dry and comfortable, and wireless senser just sends normal condition instruction, make flashing on the radio display red led stop to flash, and light green display lamp and reverted to normal condition to show system.
Please refer to shown in Figure 10ly again, this is the embodiment radio display circuit block diagram of radio display 02 of the present invention.The same with wireless senser, the core of radio display also is a processor, what be connected with processor at first is radio receiver, be used to receive the wireless signal of wireless senser emission, and the signal that is received analyzed, if the ID during the sensor ID that comprises in the signal is tabulated with the sensor ID in being stored in radio display is synchronous is relevant, then relevant sensor information just can show by the display device that is connected with processor, with wireless transmission and the long-range Presentation Function of realizing relevant system monitoring/alarm signal.What be connected with processor has an ID synchronizer (the synchronous button of ID), ID is the requisite link that wireless senser and radio display are set up the relation of demonstration synchronously, radio display must be earlier to carry out ID synchronous with wireless senser, could effectively discern relevant pick off then.In an embodiment of the present invention, sensor ID preferentially adopts at random, and ID (can save the trouble of default ID when producing, and need not external ID memorizer and ID setting device), but being originally, radio display is not familiar with (do not know) this ID at random, do not know when receiving this ID, will show what content yet, therefore must carry out the synchronous of ID earlier.
In Figure 10, also have a clock crystal oscillator and clock key-press module, make the radio display of present embodiment also possess the function of digital dock simultaneously.Wherein clock crystal oscillator is the signal source of time, processor is the enumerator of time, and do the driving of time showing, and clock then is used for the input of initial time and carries out the adjustment of time when needed by strong, and display device then is used for the output (show hour/minute) of time showing.In the present embodiment, time showing is made in the display device meeting in clock module, and reach synchronously in pick off and to make pick off relevant information (room number at pick off place and berth number) in the urine-wet alarm pattern and show that concrete display mode and function switching flow thereof are seen shown in Figure 11.
Figure 11 is the display mode and the function switching flow figure of radio display, and it comprises the steps:
Step S1101: differentiate whether all (it is synchronous to have made ID) pick offs all are in normal condition (being non-alarm condition), if "Yes" then enter step S1102, if "No" then enter S1103;
Step S1102: the state indicating device of radio display gives a green light to show that all pick offs all are in normal condition, and the display device of radio display simultaneously shows temporal information;
Step S1103: when pick off was in alarm condition, radio display can check earlier whether its display button is pressed, if "Yes" then enter step S1104, if "No" then enter S1105;
Step S1104: the room number and the berth number at the display device display alarm pick off place of radio display, and state indicating device sends out a warning to show that what showing is warning message; Report to the police if having in the system more than a pick off, then display can show relevant sensor information in turn;
Step S1105: if display button is not pressed, then radio display can continue to show temporal information, its state indicating device can dodge red light to be shown with existing of pick off alarm signal simultaneously, enters step S1101 simultaneously, continues to do cycle detection and relevant demonstration.
The synchronous flow chart of the sensor ID of radio display is then seen shown in Figure 12, may further comprise the steps:
Step S1201: press pressing synchronously on the radio display and be good for (>=2 seconds), synchronously the button time slightly length be in order to prevent false triggering, because synchronizing process is not the operation of a routine, pick off and display only need once just can set up nonvolatil relation synchronously.Set up the relation of a correspondence between the sensor information (room number and berth number) that the synchronous meaning of ID is to show for pick off 1D and display;
Step S1202: show and the setting room number that this room number will show when radio display receives the alarm signal that comprises sensor ID, above-mentioned room number can be set or adjust by clock button (multiplexing);
Step S1203: by synchronously by strong once with the room number of confirming and storage sets;
Step S1204: show and setting berth number that this berth number will show when radio display receives the alarm signal that comprises sensor ID, above-mentioned berth number can be set or adjust by clock button (multiplexing);
Step S1205: by synchronously by strong once to confirm and to store the berth number of above-mentioned setting;
Step S1206: after room number and berth number had all configured, radio display was just waited for and is received the sensor ID synchronizing signal that wireless senser sends;
Step S1207: judged whether that the sensor ID synchronizing signal enters, if "No" then return S1206 and continue to wait for that relevant signal enters, if "Yes" then enter S1208;
Step S1208: pick off 1D is deposited among the synchronous tabulation of radio display, and itself and the room number and the berth number that set are mapped.
The radio display of the embodiment of the invention can be synchronous with a plurality of wireless senser ID, as long as receive any through synchronous sensor ID, just the room that it can be set in synchronizing process and berth number show (when showing by strong pressing).
Radio display in the embodiment of the invention also has teledata and remote speech transfer function (carrying out intercommunication and exchanges data/transmission with the remote data terminal in the system).What link to each other with processor in Figure 10 has a remote transmitting device and a long-range receiving system, and wherein remote transmitting device comprises teledata dispensing device, remote speech dispensing device and mike; Long-range receiving system then includes teledata receiving system, remote speech receiving system and speaker respectively.In addition, one group of intercommunication control button is arranged, in order to implement the control of intercommunication.Also further include state in the drawings and remove button, be used for when pick off report to the police or call signal dispose after with relevant warning/call state removing.As for what be connected antenna and electric lines of force arranged, can communicate, in practical situation, also can also connect by the connecting line of special use by radio frequency or power line carrier and remote data terminal with remote transmitting device, long-range receiving system.
In order to realize the needed addressing function of intercom system, in Figure 10, also has an address setting device, address that can the setting wireless display makes the remote data terminal carry out addressing to this radio display, and can effectively discern the source of the wireless data that is received.As for this address setting device, both can be hardware setting device (for example binary system toggle switch etc.), also can adopt software setting to realize.In the software set-up mode, address setting device is an address setting button, can realize the address setting of radio display with reference to step shown in Figure 13.
Figure 13 is the embodiment address code setting process figure of radio display of the present invention, comprises the steps:
Step S1301: press address setting button (>=2 seconds), make radio display enter the address setting state;
Step S1302: radio display shows its address code (room number);
Step S1303: the room number of adjustment/setting wireless display, strong can be good for pressing of other (for example clock is by being good for) of setting/adjustment wherein is multiplexing;
Step S1304: press address setting button (<2 seconds), to confirm the input of address;
Step S1305: the address code (room number) that the radio display storage sets.
Please refer to shown in Figure 14ly again, this is the embodiment remote data terminal circuit block diagram of remote data terminal 03 of the present invention.Be useful among the figure and realize the remote transmitting device (comprising teledata dispensing device, remote speech dispensing device, mike) and the long-range receiving system (comprising teledata receiving system, remote speech receiving system, speaker) that carry out data and voice communication with radio display, and implement the intercommunication extension set selection key (selecting to carry out intercommunication) of speech talkback function and intercommunication control and press and be good for that radio display.The same with radio display, the remote data terminal of the embodiment of the invention also has time clock feature simultaneously, therefore also includes clock crystal oscillator and clock by strong, and shows output device etc.The remote data terminal also includes state indicating device in addition, to indicate whole monitoring and alarming system state, comprises the urine-wet alarm state.The same with radio display, when system is in alarm condition, can show room and the berth number that sends the alarm signal pick off, and can remove by the strong alarm condition of being correlated with of removing by state by display button.Because these several functions are similar to radio display, so its operating process can be with reference to Figure 11 and shown in Figure 12.
The special feature of remote data terminal is that it further includes the compunlcation interface, can be connected with computer and realize the exchange of data message with computer, for example can be on computer screen in the display system all the sensors status information, can also preserve as daily record these status informations in addition, to note down and to put on record, can also control the state indication and the displaying contents of radio display and remote data terminal by computer simultaneously, for example carry out the removing of alarm condition etc., can carry out the setting of time or synchronously to radio display and remote data terminal by computer in addition.
The above only is a preferred implementation of the present invention; should be pointed out that for those skilled in the art, under the prerequisite that does not break away from the principle of the invention; can also make some improvements and modifications, these improvements and modifications also should be considered as protection scope of the present invention.

Claims (8)

Comprise wireless senser, radio display, and described wireless senser comprises sensing input equipment, sensor ID, wireless launcher, when pick off enters the triggering state, can send described sensor ID by wireless launcher; Described sensing input equipment is disposable urine wet sensor, and it comprises sensing electrode, insulation spacer, positioner; Described sensor ID, wireless launcher all are contained within the urine-wet alarm apparatus of separable reuse, and this separable alarm apparatus comprises contact electrode, positioner; Described separable urine-wet alarm apparatus can be implemented combination and separate with described contact electrode with disposable urine wet sensor by described sensing electrode, when both are in assembled state, has electric connecting relation; And
CN200810142385XA2008-07-282008-08-18Wireless sensing monitoring systemExpired - Fee RelatedCN101342092B (en)

Priority Applications (5)

Application NumberPriority DateFiling DateTitle
CN200810142385XACN101342092B (en)2008-08-182008-08-18Wireless sensing monitoring system
HK09105934.9AHK1130169B (en)2009-07-02A wireless sensing network system for guardianship
US12/995,188US20110095884A1 (en)2008-07-282009-07-27Disposable diaper state detecting device and disposable diaper state monitoring system
PCT/CN2009/072938WO2010012217A1 (en)2008-07-282009-07-27Disposable idaper state detecting device and disposable idaper state monitoring system
EP09802410.2AEP2308435B8 (en)2008-07-282009-07-27Disposable diaper state detecting device and disposable diaper state monitoring system

Applications Claiming Priority (1)

Application NumberPriority DateFiling DateTitle
CN200810142385XACN101342092B (en)2008-08-182008-08-18Wireless sensing monitoring system

Publications (2)

Publication NumberPublication Date
CN101342092A CN101342092A (en)2009-01-14
CN101342092Btrue CN101342092B (en)2011-11-02

Family

ID=40244289

Family Applications (1)

Application NumberTitlePriority DateFiling Date
CN200810142385XAExpired - Fee RelatedCN101342092B (en)2008-07-282008-08-18Wireless sensing monitoring system

Country Status (1)

CountryLink
CN (1)CN101342092B (en)

Cited By (1)

* Cited by examiner, † Cited by third party
Publication numberPriority datePublication dateAssigneeTitle
CN102727344A (en)*2012-06-142012-10-17上海伟赛智能科技有限公司Intelligent incontinence alarm device

Families Citing this family (23)

* Cited by examiner, † Cited by third party
Publication numberPriority datePublication dateAssigneeTitle
US7977529B2 (en)2004-11-032011-07-12Fred Bergman Healthcare Pty Ltd.Incontinence management system and diaper
JP2012075854A (en)2010-09-102012-04-19Nippon Koden CorpMedical telemetry system and medical telemeter
JP5661563B2 (en)*2010-09-212015-01-28日本光電工業株式会社 Medical telemeter system and medical telemeter
CN102054334A (en)*2011-01-062011-05-11启通科技有限公司Wireless urine wet state detection system and method
CN102496247A (en)*2011-11-192012-06-13潘荣华Remote button and urine-wet integrated alarming system for hospitals
SG10201701487YA (en)*2012-08-282017-03-30Agency Science Tech & ResAn apparatus for a diaper, a system, a diaper and a method of manufacturing an electrode
CN103618561A (en)*2013-11-222014-03-05青岛海尔软件有限公司Sickbed calling system based on power line carrier communication
CN103701483A (en)*2013-12-302014-04-02金陵科技学院Wireless paging system
CN109938921B (en)*2014-03-122021-08-17希尔-罗姆服务公司Wireless incontinence detection device
CN105125348B (en)*2014-06-052022-10-14北京大学 A kind of intelligent urine wet alarm method and system
CN104257455A (en)*2014-10-282015-01-07吴有财Digital baby diaper
CN104257460A (en)*2014-10-282015-01-07吴有财Digital baby diaper
CN104318724A (en)*2014-11-032015-01-28李涛Intelligent defecation detection method and intelligent defecation detection system
CN104579874A (en)*2015-01-302015-04-29冯鹏程Remote networking system of diaper monitor
CN105204413A (en)*2015-08-192015-12-30武汉联中科技有限公司Information processing system and method used for wearable device
CN105259317B (en)*2015-11-172017-04-12哈尔滨东方报警设备开发有限公司Gas detector with talkback function
CN105476753A (en)*2016-01-272016-04-13江苏艾慧康医疗科技有限公司Paper diaper with alarm prompt function
CN107682081B (en)*2017-09-242019-07-09江苏汉德森智能科技有限责任公司A kind of wireless display method
CN107505989B (en)*2017-09-242019-10-15肇庆高新区长光智能技术开发有限公司Wireless display screen and computer comprising wireless display screen
EP4342365A3 (en)*2018-06-152024-04-03Coloplast A/SAccessory device of a wound dressing system, and related methods for communicating operating state
WO2020097543A1 (en)*2018-11-092020-05-14Mavin Wear Inc.Methods and apparatus for monitoring presence of urine or feces
CN110063841A (en)*2019-03-272019-07-30苏州威斯德医疗科技有限公司A kind of excreta existence alarm method and alarm system
CN116585103B (en)*2023-05-252025-07-25醴陵润蕾康卫生用品有限公司Leak protection intellectual detection system of panty-shape diapers

Citations (2)

* Cited by examiner, † Cited by third party
Publication numberPriority datePublication dateAssigneeTitle
CN1489983A (en)*2002-08-152004-04-21黄健堂Electronic diaper and manufacturing method thereof
CN101161195A (en)*2006-10-112008-04-16国立阳明大学Information acquisition device and method for collecting physiological parameters

Patent Citations (2)

* Cited by examiner, † Cited by third party
Publication numberPriority datePublication dateAssigneeTitle
CN1489983A (en)*2002-08-152004-04-21黄健堂Electronic diaper and manufacturing method thereof
CN101161195A (en)*2006-10-112008-04-16国立阳明大学Information acquisition device and method for collecting physiological parameters

Cited By (1)

* Cited by examiner, † Cited by third party
Publication numberPriority datePublication dateAssigneeTitle
CN102727344A (en)*2012-06-142012-10-17上海伟赛智能科技有限公司Intelligent incontinence alarm device

Also Published As

Publication numberPublication date
CN101342092A (en)2009-01-14
HK1130169A1 (en)2009-12-24

Similar Documents

PublicationPublication DateTitle
CN101342092B (en)Wireless sensing monitoring system
EP2308435B1 (en)Disposable diaper state detecting device and disposable idaper state monitoring system
US8421636B2 (en)Patient monitoring system
US5036859A (en)Moisture detector and indicator
US7071820B2 (en)Wireless patient ambulation motion detector and second call system
US20090040052A1 (en)Assistance alert method and device
CN201414881Y (en)Electronic sensing diaper and wireless warning system device with color state indicating function
CN101336857A (en)Disposable electric humidity sensing napkin and separable reusable urine-humidity alarm
CN102054334A (en)Wireless urine wet state detection system and method
CN115804691A (en)Intelligent wearable paper diaper with remote monitoring function
CN203953961U (en)A kind of Intelligent urine wetting alarm device
WO2005091818A2 (en)Remote cardiac arrest monitor
WO1999045516A1 (en)Emergency signaling or diagnostic device
CN206773459U (en)Intelligent home endowment monitoring system based on Internet of Things
CN110268645A (en)Sensing data quality is existed on body as being used to check and promotes to release the trigger matched
NL1043034B1 (en)A self-powered system for monitoring incontinence
CN203138466U (en)Medical help calling device
NL1044301B1 (en)A system for monitoring bodily health functions self-powered by renewable energy source
CN208404546U (en)patient monitoring bracelet and medical monitoring system
WO2023116372A1 (en)Implantable biosensor delivery system and implantation activation method
CN213241413U (en)Multifunctional monitoring device
CN210095712U (en)Old man guards device
CN210294877U (en) An intelligent PAI first aid card
CN207638783U (en)A kind of remote household security protection nursing system
HK1130169B (en)A wireless sensing network system for guardianship

Legal Events

DateCodeTitleDescription
C06Publication
PB01Publication
REGReference to a national code

Ref country code:HK

Ref legal event code:DE

Ref document number:1130169

Country of ref document:HK

C10Entry into substantive examination
SE01Entry into force of request for substantive examination
C14Grant of patent or utility model
GR01Patent grant
REGReference to a national code

Ref country code:HK

Ref legal event code:GR

Ref document number:1130169

Country of ref document:HK

CF01Termination of patent right due to non-payment of annual fee
CF01Termination of patent right due to non-payment of annual fee

Granted publication date:20111102

Termination date:20160818


[8]ページ先頭

©2009-2025 Movatter.jp