Movatterモバイル変換


[0]ホーム

URL:


CN101308453B - How-To with User Interface - Google Patents

How-To with User Interface
Download PDF

Info

Publication number
CN101308453B
CN101308453BCN2007101040222ACN200710104022ACN101308453BCN 101308453 BCN101308453 BCN 101308453BCN 2007101040222 ACN2007101040222 ACN 2007101040222ACN 200710104022 ACN200710104022 ACN 200710104022ACN 101308453 BCN101308453 BCN 101308453B
Authority
CN
China
Prior art keywords
input tool
user interface
tool
operating
input
Prior art date
Legal status (The legal status is an assumption and is not a legal conclusion. Google has not performed a legal analysis and makes no representation as to the accuracy of the status listed.)
Expired - Fee Related
Application number
CN2007101040222A
Other languages
Chinese (zh)
Other versions
CN101308453A (en
Inventor
许志风
高翊峰
王景弘
Current Assignee (The listed assignees may be inaccurate. Google has not performed a legal analysis and makes no representation or warranty as to the accuracy of the list.)
HTC Corp
Original Assignee
HTC Corp
Priority date (The priority date is an assumption and is not a legal conclusion. Google has not performed a legal analysis and makes no representation as to the accuracy of the date listed.)
Filing date
Publication date
Application filed by HTC CorpfiledCriticalHTC Corp
Priority to CN2007101040222ApriorityCriticalpatent/CN101308453B/en
Publication of CN101308453ApublicationCriticalpatent/CN101308453A/en
Application grantedgrantedCritical
Publication of CN101308453BpublicationCriticalpatent/CN101308453B/en
Expired - Fee Relatedlegal-statusCriticalCurrent
Anticipated expirationlegal-statusCritical

Links

Images

Landscapes

Abstract

The invention discloses an operation method with a user interface, which is used for identifying the type of an input tool of an input signal. The operation method comprises the following steps: receiving an input signal, wherein the input signal is generated when an input tool operates a touch control sensing device; judging the type of the input tool according to the temperature or the image of the input tool when the touch sensing device is operated; and converting the corresponding user interface according to the tool type. In addition, the operation method can also automatically turn on or off the specific function according to the type of the input tool. Therefore, the efficiency of converting the user interface is improved, and the convenience of operation is improved.

Description

Method of operating with user interface
Technical field
The invention relates to the input tool kind discrimination method at a kind of user interface, and particularly use relevant for every extension of above-mentioned discrimination method.
Background technology
In the middle of the life of the busy compactness of modern, everything stresses convenient and efficient has just like become a kind of very general habits and customs.With hand-held devices such as mobile phone or personal digital assistants is example, and except characteristics such as must having and build is light and handy simultaneously concurrently powerful, the user also can wish to open and to carry out needed function mostly in the extremely short time.Then all the more so for the function (for example writing news in brief or inquiring call history) that the user more often uses.The user if can open some common function apace, certainly will can improve hand-held device convenience in the use when the operation hand-held device.
In order to meet the demand, the hot key that corresponding specific common function is set on the keyboard of device or the shell is all being held at hand at the beginning of the design one after another by the manufacturer of hand-held device.In view of the above, when the user presses hot key, just can open corresponding common function rapidly, and then shorten and search and the needed time of open function.For example, some chamber of commerce of mobile phone manufacturing plant is provided with a button of opening camera function at the mobile phone side, when the user presses this button, just can start the camera function of mobile phone immediately.
Yet, heal light and handy trend in the volume day of hand-held device under, manufacturer can be very limited in order to the space that hot key is set.In addition, the user more can not be ignored the requirement of hand-held device external form, external form in order to ensure hand-held device meets the succinct requirement that waits attractive in appearance, and the number of manufacturer's more necessary control hot key when design is so only can reach the demand of quick connection common function by hot key few in number.
Just because of this, in hand-held device, only there is the function of few part to have corresponding hot key and is available for users to quick unlatching.But when user's desire is carried out the function that does not have corresponding hot key, then must carry out breakdown action by the mode of operation menu.Because the menu of hand-held device is tree structure mostly, wherein menu shows that mostly meeting is on the display of hand-held device, therefore the user may with the overlapping touch control induction device of display on to display shown user interface click enter a plurality of submenus after, can find the function choosing-item that needs.For some normal function of using, if all must open execution by the way at every turn, will certainly expend many running times, will cause the inconvenience in the use in view of the above.
Generally speaking, at present the user utilizes contacting of being produced between finger or pointer and the touch control induction device or the induction behavior clicks action, but on general hand-held device, no matter be to click by finger or pointer, the user interface that is provided on the hand-held device there is no corresponding difference (user interface as shown in Figure 6).But when the user can have different input feature vectors respectively when utilizing finger and pointer that touch control induction device is imported; In general pointer can be come precisely than user's finger, thus can on the user interface, carry out comparatively accurate controlling, for example in typewriting on the shown dummy keyboard that goes out of display or arranging on the menu of comparatively dense and choosing.But then, directly moving to the user with finger on touch control induction device is intuition, fast and easily comparatively, because can save the action of extracting pointer and just can operate with one hand, although finger can be bigger with the contact area of touch control induction device, also be easier to thereby false touch user interface on other option.
In sum, general hand-held device has some shortcomings at present, and one is that the menu that some specific function of hand-held device needs the user to launch layer by layer afterwards could be chosen startup.Its two person of being to use is on general hand-held device during the enterprising line operate in shown user interface, utilizing pointer to control can be comparatively flexible, concerning the user, comparatively bother, and the words of utilizing finger to operate, comparatively convenient concerning the user, but the flexibility ratio of controlling decline is easy to generate false touch, concerning the user, use pointer still to point and all be difficult to reach make the best of both worlds.
Therefore, if hand-held device can be at different input tools, give application different or mode of operation with the user, when for example using pointer, hand-held device has a kind of application or the mode of operation that is suitable for the pointer use, and when using finger, hand-held device has another kind application or the mode of operation that is suitable for pointing use, and then the user can feel more convenient when using hand-held device.In addition, how in these different application or mode of operation, to select the problem that also is thus to be extended out.
In addition, the shell of traditional hand-held device is close to the edge of display area that display is touched in control usually, and it is many to control the touch-control sensing plane protrusion that touches display.Because shell protuberance branch stops the control of input tool (comprising finger or pointer) and touches operation and easy scratch finger; therefore the user can not be fast and is effectively touched the pixel that the edge of display area of display is touched in control; and can't carry out very smooth-going touch control operation; in addition; the non-display area that display is touched in control still has the ability of touch-control sensing; and the shell of general hand-held device can cover this zone usually; except that the touch control operation that hinders the user, and the application that allows control touch the touch-control sensing of display is restricted.
Summary of the invention
In view of this, the invention provides a kind of method of operating, have a user interface.This method of operating is in order to the input tool kind of identification one input signal.This method of operating comprises: receiving inputted signal produces when operating a touch control induction device and input signal is an input tool; Temperature or image during according to input tool operation touch control induction device are judged input tool kind; And change corresponding user interface according to input tool kind.Method of operating of the present invention can be the performed method of the Windows of Microsoft series operation.
In an embodiment of the present invention, the aforesaid operations method has the user interface of two kinds of kenels at least, and the more comparatively dense of option that can Gong click in the middle of is fit to click use to pointer, the option that can Gong click in the middle of another person is less bigger, is fit to click use to finger.
The present invention can according to this according to different input tools, carry out preset functions such as conversion user interface by different way by distinguishing the kind of input tool.
In an embodiment of the present invention, the step of above-mentioned judgement tool kind comprises the following steps.The information that input signal is comprised in record one special time is calculated the mobility scale of this information in special time earlier, and judges tool kind according to the size of mobility scale.This information can be input tool contact or near the position or the pressure of touch control induction device, or other relevant informations.
In an embodiment of the present invention, the step of above-mentioned judgement tool kind comprises the following steps.In a special time, calculate the sensing pad number that produces induction on the touch control induction device earlier, judge tool kind according to the sensing pad number that produces induction then.
In an embodiment of the present invention, above-mentioned preset function can be according to the user interface of tool kind conversion correspondence or according to tool kind and opens or close certain function.
The present invention can judge the tool kind of input tool according to the characteristics such as contact area, contact pressure, induction area, tool temperature or image of input tool during in input tool contact or near the touch control induction device of electronic installation.And, change and show the user interface of correspondence automatically according to the difference of tool kind.In addition also can be according to tool kind with automatic unlatching or close specific function.Improve the efficient at conversion user interface in view of the above, increase convenience in operating electronic devices simultaneously.
State feature and advantage on the present invention and can become apparent for allowing, preferred embodiment cited below particularly, and cooperate appended graphicly, be described in detail below.
Description of drawings
Fig. 1 is the process flow diagram of the method for operating at the user interface that illustrates according to one embodiment of the invention.
Fig. 2 A to Fig. 2 D is the calcspar of the hand-held device at the convertible user interface that illustrates according to the embodiment of the invention.
Fig. 3 A and Fig. 3 B are the input tool contact area synoptic diagram that illustrates according to one embodiment of the invention.
Fig. 4 A to Fig. 4 C is the input tool kind discrimination method process flow diagram that illustrates according to the embodiment of the invention.
Fig. 5 is the input tool kind discrimination method process flow diagram that illustrates according to another embodiment of the present invention.
Fig. 6 and Fig. 7 are the synoptic diagram at the user interface of the hand-held device that illustrates according to the embodiment of the invention.
Fig. 8 A to Fig. 8 C is the process flow diagram of the method for operating at the user interface that illustrates according to one embodiment of the invention.
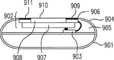
Fig. 9 A is the stereographic map of a kind of electronic installation of illustrating according to one embodiment of the invention.
Fig. 9 B is the sectional view of the electronic installation of Fig. 9 A.
Embodiment
With present hand-held device, the user only can open some specific function fast by the mode of pushing hot key, yet the hot key limited amount on the hand-held device, if the user interface that can provide a kind of user of allowing to be entered fast to show a plurality of common functions simultaneously, certainly will be able to increase the convenience of operation hand-held device.The present invention is based on above-mentioned viewpoint and then develops the method for operating at a kind of user interface that and the hand-held device that uses the method.In order to make content of the present invention more clear, below the example that can implement according to this really as the present invention especially exemplified by embodiment.
Fig. 1 is the process flow diagram of the method for operating at the user interface that illustrates according to one embodiment of the invention.See also Fig. 1, present embodiment be explanation when the user in operation during hand-hold device, hand-held device is how according to the difference of input tool, and then the detailed step at the user interface of conversion correspondence automatically.Wherein, hand-held device comprises mobile phone, personal digital assistant or smart mobile phone or the like, does not limit its scope at this.
When the user utilized input tool that hand-held device is operated, at first shown instep 110, hand-held device is receiving inputted signal in a user interface.Then instep 120, during according to the input tool contact or near touch control induction device, the area that touch control induction device is responded to, pressure, temperature or image are judged the tool kind of input tool according to this.Shown instep 130, hand-held device is according to the difference of tool kind at last, and conversion also shows corresponding user interface.
Be noted that the aforesaid operations method can be divided into two parts, its part is the method (beingstep 110 and step 120) of the kind of identification input tool, and its two part is a method (being step 130) of utilizing identification result to use.That is to say that in the middle of method flow shown in Figure 1, the present invention provides the discrimination method that comprisesstep 110 andstep 120 at least, the then visual practical application request of the step afterstep 120 is designed.Step 130 among Fig. 1 is only in order to a kind of embodiment (conversion at user interface) on expression is used respectively.In the present embodiment, hand-held device can show corresponding user interface according to different tool kinds.For convenience of description, be to distinguish that two kinds of different input tools are example in following embodiment, pointer (stylus) and user's finger for example, and come the present invention is done further explanation with the flow process of changing corresponding user interface according to two kinds of different tool kinds respectively.In the scope of the invention, then can comprise the tool kind of any amount.
In the following embodiments, the user interface of corresponding pointer is the general user interface that comprises the repertoire of hand-held device, and the user interface of corresponding finger then is the common function interface that shows the partial function of hand-held device.The function that is presented on the common function interface can be preestablished according to its custom or demand by the user.
Present embodiment has several different methods can judge the kind of input tool, and different determination methods needs different hardware design, shown in the hand-held device calcspar of Fig. 2 A to 2D, below explanation in regular turn.
The hand-held device of Fig. 2 A comprisesdisplay 210, touchcontrol induction device 220 and processor 230.Display 210 is in order to show the user interface, and touchcontrol induction device 220 for example be contact panel (touch panel), in order to the operation of detection input tool, and produces an input signal according to the operation ofinput tool.Processor 230 is coupled to display 210 and touchcontrol induction device 220, in order to the tool kind of judgement input tool, and according to the corresponding user interface of tool kind conversion.
The touchcontrol induction device 220 of Fig. 2 A comprises resistance sensor (resistive sensor device) 240.Contact position and pressure when resistance sensor can be responded to the input tool operation, so the input signal that touchcontrol induction device 220 provides comprises information such as input tool position contacting and pressure.It should be noted that resistance sensor can only provide the input signal of a contact point at one time, and contact point can be distributed in the contact area of input tool and resistance sensor, shown in Fig. 3 A and 3B.Resistance sensor itself only can judge whether to contact with the input tool generation, and can't distinguish the classification of input tool, therefore need to cooperate method provided by the present invention, judge the kind of input tool by the input signal of a plurality of contact points of being collected in during certain.The contact point t-1 to t-4 of the pointer that illustrates as Fig. 3 A, because the contact area of pointer is less, so contact point is more concentrated, can judge the input tool that contacts with resistance sensor by method provided by the present invention is pointer.Fig. 3 B illustrates the contact point t-1 to t-4 of finger, because the contact area of finger is bigger, so contact point disperses, can judges the input tool that contacts with resistance sensor by method provided by the present invention and be finger.Because resistance sensor can only provide the input signal of a contact point at one time, theprocessor 230 of carrying out method provided by the present invention (being described in detail in the following) can continue the information of write input in one section special time, calculate its mobility scale, judge input tool kind according to the size of this mobility scale then.
Four contact points with Fig. 3 A and 3B are example, suppose that the input signal that contact point t-i produces is that (Pi), wherein i can be 1,2,3,4 for Xi, Yi.Xi is the Building X mark of the contact position of t-i, and Yi is the Building Y mark of the contact position of t-i, and Pi is the contact pressure of t-i.It is as follows thatprocessor 230 can be distinguished the mean value of calculating location and pressure:
Building X mark mean value: Xa=(X1+X2+X3+X4)/4
Building Y mark mean value: Ya=(Y1+Y2+Y3+Y4)/4
Pressure mean values: Pa=(P1+P2+P3+P4)/4
The mobility scale that can distinguish calculating location and pressure then is as follows:
Building X mark mobility scale: Xd=|Xa-X1|+|Xa-X2|+|Xa-X3|+|Xa-X4|
Building Y mark mobility scale: Yd=|Ya-Y1|+|Ya-Y2|+|Ya-Y3|+|Ya-Y4|
Pressure variation scope: Pd=|Pa-P1|+|Pa-P2|+|Pa-P3|+|Pa-P4|
Mobility scale as for how according to position and pressure is judged tool kind, details shown in the flow process of Fig. 4 A to 4C, below explanation in regular turn.
Fig. 4 A is the performed input tool kind discrimination method process flow diagram of theprocessor 230 of Fig. 2 A, and the flow process of Fig. 4 A is to judge tool kind according to the mobility scale of contact position.At first begin to detect the contact of input tool, mark every one section X, Building Y of writing down contact point default sample time instep 420 in step 410.Then check instep 430 whether sample size is enough, if satisfied the predetermined number ofprocessor 230, flow process entersstep 440, continues record otherwise get back tostep 420.
Next, calculate mobility scale Xd, the Yd of contact position instep 440, whether check Xd<Vx and Yd<Vy instep 450, wherein Vx and Vy are the preset range of processor 230.If the mobility scale of two coordinates is all less than the corresponding preset scope,processor 230 judges that instep 460 input tool kind is a pointer, and the user interface is converted to corresponding common user interface.Failingprocessor 230 judges that instep 470 input tool kind is finger, is converted to corresponding common function interface with the user interface.
Fig. 4 B is the process flow diagram of the performed another kind of input tool kind discrimination method ofprocessor 230, and the flow process of Fig. 4 B is to judge tool kind according to the mobility scale ofcontact pressure.Processor 230 every one section contact pressure that writes down input tool sample time, calculates the mobility scale Pd of contact pressure in step 441 in step 421, whether checks Pd<Vp in step 451 then, and wherein Vp is the preset range of processor 230.If Pd<Vp,processor 230 judges that instep 460 input tool kind is a pointer, and the user interface is converted to corresponding common user interface.Failingprocessor 230 judges that instep 470 input tool kind is finger, is converted to corresponding common function interface with the user interface.All the other steps of Fig. 4 B are identical with Fig. 4 A, repeat no more.
Fig. 4 C is the process flow diagram of the performed another kind of input tool kind discrimination method ofprocessor 230, and the flow process of Fig. 4 C is simultaneously according to the mobility scale judgement tool kind of contact position andpressure.Processor 230 instep 422 every one section contact position and pressure that writes down input tool sample time, calculate mobility scale Xd, the Yd of contact position and the mobility scale Pd of contact pressure instep 442, whether check Xd<Vx, Yd<Vy and Pd<Vp instep 452 then.Ifprocessor 230 judges that instep 460 input tool kind is a pointer, and the user interface is converted to corresponding common user interface.Failingprocessor 230 judges that instep 470 input tool kind is finger, is converted to corresponding common function interface with the user interface.All the other steps of Fig. 4 C are identical with Fig. 4 A, repeat no more.
Next be the input tool kind discrimination method under the another kind of hardware design, please refer to Fig. 2 B and Fig. 5.Fig. 2 B is the hand-held device calcspar of another embodiment of the present invention, and the main difference of Fig. 2 B and Fig. 2 A is that the touchcontrol induction device 220 with Fig. 2 A changes the touchcontrol induction device 221 that comprises capacitance type sensor (capacitive sensor device) 250 into.Capacitance type sensor is at textural sensing pad (sensorpad) with a plurality of arrayed.Sensing pad only can produce capacity effect and sense the contact of conductor or approaching enough big conductor.Finger is a conductor, can make sensing pad produce induction.If pointer is made of conductor, size is enough big, also can allow sensing pad produce induction.Therefore capacitance type sensor generally is to utilize scan mode to respond to, can be at the same time or have a plurality of sensing pads to produce induction in a short period of time.Because capacitance type sensor itself only can judge whether to contact with the input tool generation, and can't distinguish the classification of input tool, therefore need to cooperate method provided by the present invention, the input signal of sensing by a plurality of contact mat is in a short time judged the kind of input tool.Theprocessor 230 of Fig. 2 B can calculate the size of induction area according to the quantity of the sensing pad that induction takes place when carrying out method provided by the present invention (being described in detail in the following), be finger or pointer and tell input tool.
Fig. 5 is the performed input tool kind discrimination method process flow diagram of theprocessor 230 of Fig. 2 B.At first in step 510 every one section contact that detects input tool sample time or approaching, whether have sensing pad to produce induction step 520 inspection then.If no, getting back to step 510 continues to detect.If have, enter step 530, when in one section default special time, calculating input tool operation touchcontrol induction device 221, produce the sensing pad number of induction among the capacitance type sensor 250.Check that in step 540 above-mentioned sensing pad number is whether less than the preset value ofprocessor 230 then.If the sensing pad number is less than preset value,processor 230 judges that in step 550 input tool kind is a pointer, and the user interface is converted to corresponding common user interface.Failingprocessor 230 judges that in step 560 input tool kind is finger, is converted to corresponding common function interface with the user interface.Above-mentioned preset value can be set according to the density of sensing pad unit area.
Fig. 2 C is the hand-held device calcspar of another embodiment of the present invention, and the main difference of Fig. 2 C and Fig. 2 A is that the touchcontrol induction device 220 with Fig. 2 A changes the touchcontrol induction device 222 that comprisestemperature sensor 260 into.In the present embodiment,processor 230 is that tool temperature during according to input tool contact or near touchcontrol induction device 222 is judged tool kind.Please consult Fig. 1 and Fig. 2 C simultaneously, when the user utilizes input tool at touchcontrol induction device 222 enterprising line operates,processor 230 will receive corresponding input signal (step 110).At this moment,processor 230 is understood the tool temperature when passing throughtemperature sensor 260 detection input tools operations, and tool temperature and preset temperature (for example mean value of room temperature and body temperature) are compared.If tool temperature is less than preset temperature, thenprocessor 230 judges that input tool is a pointer, otherwise judges that then input tool is a finger (step 120).Next,processor 230 shows corresponding common user interface or common function interface, (step 130) as previously described in the embodiment according to tool kind ondisplay 210.
Except utilizing area, pressure to judge the tool kind with the different of temperature, in the embodiment of Fig. 2 D,processor 230 also can utilize the image recognition technology to judge tool kind.Please consult Fig. 1 and Fig. 2 D simultaneously, Fig. 2 D is that the main difference of the hand-held device calcspar of another embodiment of the present invention and Fig. 2 A is that touchcontrol induction device 220 with Fig. 2 A changes the touchcontrol induction device 223 that comprisesimage capture unit 270 into.When the user utilized input tool at touchcontrol induction device 223 enterprising line operates, instep 110,processor 230 received an input signal by touch control induction device 223.Then in step 120,270 acquisitions ofprocessor 230 control image capture units have comprised the image of input tool, and judge its tool kind according to the feature or the size (dimension) of input tool in image.For instance,processor 230 can be obtained the features such as edge contour of input tool by the image recognition technology in image, judge its tool kind according to this.Or be to calculate the size of input tool in image, and the size of itself and reference substance compared judge tool kind.Ifprocessor 230 judges that input tool is a pointer, just show common user interface bydisplay 210 in step 130.Ifprocessor 230 is judged input tool and is finger, just shows common function interface instep 130 bydisplay 210.
What deserves to be mentioned is that the processor in the hand-held device can be adjusted the size of the option at user interface according to the difference of tool kind when conversion and demonstration user interface.For instance, when processor judged that input tool is pointer, as shown in Figure 6, the option on theuser interface 600 was to show with stock size.Yet, after processor judges that input tool is user's finger, the option at user interface can be amplified to entirely the exercisable size of finger, shown in the user interface 700 of Fig. 7, make things convenient for the user user interface to be operated according to this by finger.Above-mentioned option comprises image (icon) or the image projects such as (image) that available input tool is chosen.
Hand-held device of the present invention also can be carried out various preset functions according to input tool kind, shown in the flow process of Fig. 8 A by different way except change different user interfaces according to input tool kind.Fig. 8 A is according to the performed user's interface operation method process flow diagram of the hand-held device of one embodiment of the invention.Flow process is described in detail as follows.At first, the processor of hand-held device is judged the kind (step 820) of the input tool that produces input signal by touch control induction device receiving inputted signal (step 810), carries out preset function (step 830) according to tool kind then.For example, this preset function can be that its correlative detail has been contained in the embodiment of front, repeats no more according to the corresponding user interface (step 840) of tool kind conversion.The preset function ofstep 830 also can be to open or close specific function (step 850) according to tool kind.Processor also can be carried out other preset functions according to tool kind, is not limited to above example.
The specific function ofstep 850 can the person's of being to use interface guiding and browsing (browsing) function.Above-mentioned user's interface guiding and browsing function can comprise user interface translation functions (panning), user interface rolling function (scrolling), genetic system (step 860).For example when input tool is pointer, close translation of user interface and rolling function, and input tool is to open user's interface translation and rolling function in when finger, allows the user can be by the displaying contents at moveable finger translation or scrolling user interface.
The detailed process ofstep 860 is shown in Fig. 8 B.At first judge that instep 861 input tool kind is finger, opens user's interface translation and rolling function.Whether remove in the contact ofstep 862 inspection finger or near state, that is to say whether finger has left touch control induction device.If do not leave as yet, carry out user interface translation functions instep 863, allow the user interface move with user's finger and translation.On the other hand, if finger has left touch control induction device, just whenstep 864 inspection finger leaves, whether have mobile.Do not move if having, flow process so far finishes.If have mobilely, then enterstep 865, carry out user interface rolling function, allow the user interface with the moving direction of finger scrolling.
On the other hand, the specific function ofstep 850 can be a multiple selection function (step 870).For example when being pointer, opens input tool multiple selection function, allow the user choose a plurality of data items or functional item on the user interface simultaneously with pointer, and input tool to be finger the time close multiple selection function, allow the user once can only choose unitem.Because the precision of finger is falsely dropped easily not as pointer, so can promote the accurate and efficient of use.
The detailed process ofstep 870 is shown in Fig. 8 C.At first judge that instep 871 input tool kind is a pointer, open multiple selection function.Check the pointer contact or whether any option of covering is arranged instep 872 then near the zone of touch control induction device.If no, flow process so far finishes.If have, just choose and be touched the Total Options that the zone covers instep 873.
In addition, processor also can open or cut out other specific functions according to the kind of input tool after execution discrimination method provided by the present invention is judged the kind of input tool, be not limited to above example.That is to say that in the middle of the method flow shown in Fig. 8 A, discrimination method provided by the present invention has comprisedstep 810 and step 820 at least, the then visual practical application request of the step after step 820 is designed.Step 830 among Fig. 8 A is only multiple at the embodiment that uses in order to represent respectively tostep 870.
The hand-held device of above embodiment is extensible to be general electronic installation, and every method flow of above embodiment also can be carried out function with hardware such as integrated electronic devices by the method for operating of hand-held device or electronic installation or application program.Aforesaid operations method or application program can be stored in the recording medium that computer-readable is got, and can be carried out by the processor of electronic installation, and its operation is basic identical, repeats no more.
In the embodiment of Fig. 2 A to 2D, display and touch control induction device are two elements independently, and wherein display is in order to show the user interface, and touch control induction device is in order to receiving inputted signal.In other embodiments of the invention, display and touch control induction device can constitute a touch-sensitive display, shown in Fig. 9 A and 9B.
Fig. 9 A is the stereographic map according to the hand-hold electronic device of a kind of block-free touch control operation of one embodiment of the invention, and Fig. 9 B is the sectional view of the electronic installation of Fig. 9 A.This electronic installation comprises housing 901, touch-sensitive display 902 and processor 903.Housing 901 has an outside surface 904 and an accommodation space 905, and accommodation space is in communication with the outside by the opening on the outside surface 904 906.Touch-sensitive display 902 comprises display 907 and touch control induction device 908.Display 907 is arranged in the accommodation space 905 of housing 901.Touch control induction device 908 is arranged in the opening 906 of outside surface 904 of housing 901, in order to receive the operation of an input tool.Touch control induction device 908 has a touch-control sensing plane 909, and touch-control sensing plane 909 comprises viewing area 910 and non-display area 911.Opening 906 edges and the touch-control sensing plane 909 of housing 901 join continuously, and the outside surface 904 of housing 901 do not protrude from touch-control sensing plane 909, and the housing 901 of indication does not comprise hot key or button on the hand-hold electronic device here.Processor 903 is coupled to display 907 and touch control induction device 908, in order to the kind of judgement input tool, and according to tool kind execution preset function.
It should be noted that surface ofshell 904 and touch-control sensing plane 909 are equivalent to a continuously smooth surface because theoutside surface 904 ofhousing 901 does not protrude from touch-control sensing plane 909, can allow input tool have no the ground of obstruction move operation.Moreover, because thenon-display area 911 that expose on touch-control sensing plane 909 is not covered byhousing 901 as tradition, therefore in the design of hand-hold electronic device, except allowing input tool have no the ground of the obstruction move operation, can fill and part utilize thisnon-display area 911, increase the users of allowing more and feel the application of convenient touch control operation.
As the embodiment of front, the area whenprocessor 903 can be operated touchcontrol induction device 908 according to input tool, pressure, temperature or image are judged input tool kind.As for judging flow process and carrying out the embodiment that details such as preset function has seen the front, no longer repeat specification.
In sum, the present invention can judge the tool kind of input tool, and changes corresponding user interface according to the difference of tool kind, or carries out multiple preset function by different way.Thus, not only provide the method at the dissimilar user interface of a kind of quick conversion, also allowed the user be used more convenient mode to come hand-held device is operated, improved efficient and convenience on using in view of the above.
Though the present invention discloses as above with preferred embodiment; right its is not in order to limit the present invention; have in the technical field under any and know the knowledgeable usually; without departing from the spirit and scope of the present invention; when can doing a little change and retouching, so protection scope of the present invention is when with being as the criterion that claim was defined.

Claims (8)

CN2007101040222A2007-05-152007-05-15 How-To with User InterfaceExpired - Fee RelatedCN101308453B (en)

Priority Applications (1)

Application NumberPriority DateFiling DateTitle
CN2007101040222ACN101308453B (en)2007-05-152007-05-15 How-To with User Interface

Applications Claiming Priority (1)

Application NumberPriority DateFiling DateTitle
CN2007101040222ACN101308453B (en)2007-05-152007-05-15 How-To with User Interface

Publications (2)

Publication NumberPublication Date
CN101308453A CN101308453A (en)2008-11-19
CN101308453Btrue CN101308453B (en)2011-03-30

Family

ID=40124922

Family Applications (1)

Application NumberTitlePriority DateFiling Date
CN2007101040222AExpired - Fee RelatedCN101308453B (en)2007-05-152007-05-15 How-To with User Interface

Country Status (1)

CountryLink
CN (1)CN101308453B (en)

Families Citing this family (4)

* Cited by examiner, † Cited by third party
Publication numberPriority datePublication dateAssigneeTitle
CN102253709A (en)*2010-05-192011-11-23禾瑞亚科技股份有限公司Gesture judgment method and device
US8907910B2 (en)*2012-06-072014-12-09Keysight Technologies, Inc.Context based gesture-controlled instrument interface
CN110096319A (en)*2013-03-112019-08-06联想(北京)有限公司A kind of method and electronic equipment for opening camera applications
CN104267882B (en)*2014-10-232017-12-15中国建设银行股份有限公司A kind of page suspended frame display methods and device

Citations (2)

* Cited by examiner, † Cited by third party
Publication numberPriority datePublication dateAssigneeTitle
US5610629A (en)*1991-12-061997-03-11Ncr CorporationPen input to liquid crystal display
CN1801059A (en)*2004-12-312006-07-12联想(北京)有限公司Information input device of portable electronic device and control method thereof

Patent Citations (2)

* Cited by examiner, † Cited by third party
Publication numberPriority datePublication dateAssigneeTitle
US5610629A (en)*1991-12-061997-03-11Ncr CorporationPen input to liquid crystal display
CN1801059A (en)*2004-12-312006-07-12联想(北京)有限公司Information input device of portable electronic device and control method thereof

Also Published As

Publication numberPublication date
CN101308453A (en)2008-11-19

Similar Documents

PublicationPublication DateTitle
EP1993030B1 (en)Method for browsing a user interface for an electronic device and the software thereof
US8134536B2 (en)Electronic device with no-hindrance touch operation
US7777732B2 (en)Multi-event input system
JP3143477U (en) Electronic devices
CN101098533B (en)Keypad touch user interface method and mobile terminal using the same
US20080284749A1 (en)Method for operating a user interface for an electronic device and the software thereof
US20080284751A1 (en)Method for identifying the type of an input tool for a handheld device
US20100302144A1 (en)Creating a virtual mouse input device
US5812118A (en)Method, apparatus, and memory for creating at least two virtual pointing devices
WO2009109014A1 (en)Methods for operation of a touch input device
EP1993023B1 (en)Electronic device with no-hindrance touch operation
CN101636711A (en)Gesturing with a multipoint sensing device
CN101308417A (en)Electronic device and user interface operation method of software thereof
JP3143474U (en) Electronic devices
US8947378B2 (en)Portable electronic apparatus and touch sensing method
CN101308453B (en) How-To with User Interface
CN101308421B (en) Electronic devices that do not hinder touch operation
CN101308434B (en) How to operate the user interface
CN101308420A (en)Hand-held device and electronic device capable of converting user interface
TW200844819A (en)Method for operating user interfaces of handheld device
CN201117000Y (en)Electronic device of non-obstacle touch control operation
CN101308418A (en)Operation method of user interface of handheld device
CN101308419A (en)Method for identifying input tool type of handheld device
EP1993029A1 (en)Method for operating a user interface for an electronic device and the software thereof
TWI460647B (en)Method for multi-selection for an electronic device and the software thereof

Legal Events

DateCodeTitleDescription
C06Publication
PB01Publication
C10Entry into substantive examination
SE01Entry into force of request for substantive examination
C14Grant of patent or utility model
GR01Patent grant
CF01Termination of patent right due to non-payment of annual fee
CF01Termination of patent right due to non-payment of annual fee

Granted publication date:20110330


[8]ページ先頭

©2009-2025 Movatter.jp