Movatterモバイル変換


[0]ホーム

URL:


CN101290754B - LCD Backlight Dimming, LCD/Image Signal Compensation and Method for Controlling LCD Display - Google Patents

LCD Backlight Dimming, LCD/Image Signal Compensation and Method for Controlling LCD Display
Download PDF

Info

Publication number
CN101290754B
CN101290754BCN2008101100618ACN200810110061ACN101290754BCN 101290754 BCN101290754 BCN 101290754BCN 2008101100618 ACN2008101100618 ACN 2008101100618ACN 200810110061 ACN200810110061 ACN 200810110061ACN 101290754 BCN101290754 BCN 101290754B
Authority
CN
China
Prior art keywords
brightness
lcd
value
picture signal
pixel
Prior art date
Legal status (The legal status is an assumption and is not a legal conclusion. Google has not performed a legal analysis and makes no representation as to the accuracy of the status listed.)
Active
Application number
CN2008101100618A
Other languages
Chinese (zh)
Other versions
CN101290754A (en
Inventor
陈珉
彭华军
邱国平
洪俊傑
张玮
Current Assignee (The listed assignees may be inaccurate. Google has not performed a legal analysis and makes no representation or warranty as to the accuracy of the list.)
Hong Kong Applied Science and Technology Research Institute ASTRI
Original Assignee
Hong Kong Applied Science and Technology Research Institute ASTRI
Priority date (The priority date is an assumption and is not a legal conclusion. Google has not performed a legal analysis and makes no representation as to the accuracy of the date listed.)
Filing date
Publication date
Application filed by Hong Kong Applied Science and Technology Research Institute ASTRIfiledCriticalHong Kong Applied Science and Technology Research Institute ASTRI
Priority to CN2008101100618ApriorityCriticalpatent/CN101290754B/en
Publication of CN101290754ApublicationCriticalpatent/CN101290754A/en
Application grantedgrantedCritical
Publication of CN101290754BpublicationCriticalpatent/CN101290754B/en
Activelegal-statusCriticalCurrent
Anticipated expirationlegal-statusCritical

Links

Images

Landscapes

Abstract

Translated fromChinese

一种在由背光设备照明的液晶显示器内降低能耗的方法包括,调暗背光并调整图像亮度来补偿调暗的背光。根据一个限幅点确定一个背光调暗因子,限幅点是根据图像信号的像素亮度分布确定的。根据调暗因子来调整图像亮度,其中使用第一图像信号映射函数来调整在亮度阈值以下的像素亮度,使用第二图像信号映射函数来调整在亮度阈值以上的像素亮度。

A method for reducing energy consumption in a liquid crystal display illuminated by a backlight device includes dimming the backlight and adjusting image brightness to compensate for the dimmed backlight. A backlight dimming factor is determined based on a clipping point, the clipping point being determined based on a pixel brightness distribution of an image signal. The image brightness is adjusted based on the dimming factor, wherein a first image signal mapping function is used to adjust the brightness of pixels below a brightness threshold, and a second image signal mapping function is used to adjust the brightness of pixels above the brightness threshold.

Description

LCD is backlight to dim, the method for LCD/ image signal compensating and control LCD display
Technical field
The present invention relates to liquid crystal display (LCD) equipment that uses backlight to illuminate display image.The present invention be more particularly directed to dim backlight to cut down the consumption of energy, and to adjust LCD printing opacity value (transmittance value) simultaneously or brightness of image value (image intensity value) dims backlight with compensation.
Background of invention
Various liquid crystal displays (LCD) equipment use a light source with image projection to display surface (as screen), or light source is placed on the LCD panel back so as direct viewing to the image that on the LCD panel, produces.The expectation that cuts down the consumption of energy and increase LCD display image contrast (contrast of image) has expedited the emergence of multiple technologies, dynamically changes light source and/or this LCD equipment luminance brightness (light intensity) backlight.The variation of common this light-source brightness can cause being darkened to below the luminance brightness that can watch display image is whole.
In order to overcome this problem, many compensation techniques have been suggested and have been used for backlight dimming.In the United States Patent (USP) 5,717,422 that licenses to Fergasson, the United States Patent (USP) 7,053,881 that licenses to Itoh, the United States Patent (USP) 7,176,878 that licenses to Lew etc. and U.S. Patent application 2007/0092139, various technical examples have been disclosed.United States Patent (USP) 5,717,422 propose one dims the factor and expands the LCD transmittance simply based on the backlight of picture signal mean flow rate, and this can cause blocking of high luminance values.United States Patent (USP) 7,053,881 propose the factor that dims backlight of an and highest brightness value average based on picture signal, compensate and do not carry out LCD, and this can cause the perception of display image to dim.United States Patent (USP) 7,176, the 878 linear amplitudes growths that propose a LCD signal dim with compensate for backlight, but the method that dims are not discussed.At last, U.S. Patent application 2007/0092139 has proposed one and has dimmed the factor and expand the LCD transmittance simply based on the backlight of picture signal highest brightness value, and this can cause high luminance values to be blocked.
Summary of the invention
So, an object of the present invention is to provide a kind of method of LCD display backlight that dim to cut down the consumption of energy.Another object of the present invention provides the method that a kind of LCD of adjustment printing opacity value or brightness of image value dim with compensate for backlight.
Disclosed a kind of method that keeps the visual image perceived brightness on the LCD backlight that dimming at this, this method may further comprise the steps:
According to one dim that the factor dims backlight liquid crystal display and
Dim the factor based on this and determine a compensation range and a luminance threshold in compensation range, luminance threshold is about the function of clipping point and less than clipping point,
Below luminance threshold, use the brightness range of the first picture signal mapping function (tone mapping) spread signal, more than luminance threshold, use the brightness range of the second picture signal mapping function restricting signal.
Preferably, the method that dims LCD backlight may further comprise the steps:
Determine a clipping point (clipping point) based on the pixel brightness contribution of picture signal,
Based on clipping point determine one backlight dim the factor and
Illuminate backlight on the factor in definite dimming.
Preferably, clipping point is between 60% and 99% percentage point of pixel brightness contribution.
Preferably, pixel brightness contribution is based on the no colour brightness (achromatic intensity) of picture signal interior pixel.
Preferably, pixel brightness contribution is based on the maximal value of redness, green and the blue channel brightness of picture signal interior pixel.
Preferably, dimming the factor is to be determined by following equation:
BLdim=(CPImax)P
Wherein CP is the amplitude limit point value, and Imax is the maximal value of pixel intensity, and p is one and is not less than 1 constant.The p value is to determine according to LCD input and output feature, common gamma value near display.
Preferably, luminance threshold is less than clipping point.
Preferably, threshold value is to be determined by following equation: | FP-CP|=|CP-Imax|.Wherein FP is a threshold value, and CP is a clipping point, and Imax is the maximal value of pixel intensity.
Preferably, a function in the first and second picture signal mapping functions is non-linear.
Preferably, second mapping function is a Nonlinear Mapping function.
Preferably, the non-linear second picture signal mapping function produces according to pixel brightness contribution.
Description of drawings
Now by example also with reference to the accompanying drawings, an exemplary embodiment of the present invention is described, wherein:
Fig. 1 describes the module map that dims with the LCD/ image signal compensating backlight according to the present invention;
Fig. 2 is the brightness histogram of a LCD or image, signal, is used to describe determine the clipping point that dims backlight.
Fig. 3 is a luminance signals histogram, and the expansion that is used to describe the luminance signals scope dims with compensate for backlight.
Fig. 4 be illustrated in Fig. 2 original signal brightness range and Fig. 3 expand between the brightness range the picture signal mapping and
Fig. 5 graphic extension is shone upon to improve more blocking of high luminance values according to picture signal of the present invention.
Exemplary embodiments describes in detail
Now will be in detail with reference to an exemplary embodiments of the present invention, its example will be described in corresponding accompanying drawing.
According to the present invention, a kind of method of controlling the brightness of LCD display device such as LCD TV comprises dimming the pixel transmittance that improves simultaneously on the LCD panel backlight, thereby keeps or improve the original visual brightness feature of display image.The present invention includes two aspects.First aspect is a kind ofly to determine the factor, an and adaptation method of carrying out the picture carrier distributional analysis especially of dimming backlight based on the brightness of image feature.Thereby the brightness of the image that a second aspect of the present invention is a kind of brightness value of adjusting the LCD transmittance adaptively or adjusting picture signal equally sees with the reduction of compensation on backlight illumination can be because of the method that changes that dims backlight.In second aspect, determine a compensation range based on the factor that dims backlight.Find out the threshold value (Fidelity Point) in compensation range, use different picture signal mapping algorithms more than threshold value, to shine upon then, strengthen the brightness of display image with following compensation range.When these two aspects of the present invention were used to the backlight LCD display device, the present invention had lower energy consumption, but but did not damage the apparent brightness of display image.
To describe method of the present invention in detail now.When describing, term brightness (brightness), brightness (1uminance) and signal intensity (intensity) can be exchanged, be meant the visible light of the relative populations of sending from image or each image pixel, it can be felt when the people watches image.The brightness value of each pixel is that 1uma passage by picture signal provides in the image.In a LCD display, the 1uma channel value is determined the transmittance of LCD pixel.A second aspect of the present invention is illustrated by the compensation of LCD printing opacity, but this is not intended to limit the scope of the invention or function.It will be understood to those of skill in the art that by direct compensation LCD drive signal or by the 1uma value in the compensating image signals, can implement the present invention.Relation between the perceived brightness of image (B), backlight illumination (L) and the LCD transmittance (T) is B=L * T.
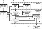
The key step of a preferred embodiment of the invention as shown in Figure 1.An input LCD signal inputs toLuminance Distribution analysis 2 to find out luminance signals Nogata Figure 10.Aspect backlight control of the present invention, in brightness histogram, determine a clipping point (Clipping Point), determine that according to clipping point dims a factor 4 then.Aspect LCD control of the present invention (as image compensation), atfirst step 5 is to determine compensation range and a threshold value of a LCD (or image) signal.Thenstep 6,7 is determined picture signal mapping curve separately, is used for being mapped to more than the threshold value original LCD range of signal and following compensating signal scope.These two picture signal mapping curves are incorporated intostep 8, and to form a final picture signal mapping curve, it producesoutput LCD signal 9.
Fig. 2 describes a kind ofbrightness histogram 10 ofinput LCD signal 1 that utilizes and finds out clipping point and the method for optimizing that dims the factor backlight.In image histogram shown in Figure 2, X or transverse axis are represented the original signal brightness value (as the white gray-Y channel code value of image) from minimum value (Imin) to maximal value (Imax).Y or Z-axis represent to have in thesignal 1 number of pixels of that brightness value.The peak value of pixel intensity in the piece image, Ip is equal to or less than Imax; In the signal of a typical 8-bit, minimum luminance value Imin is 0 to Ip less than Imax. in this figure, and maximum brightness value Imax is 255.For the purpose of the present invention, these occurrences are optional, also can be that arbitrary value is represented minimum and high-high brightness level.
For the ease of explaining the present invention, the inventor has introduced the notion of a clipping point 11 (Clipping Point).Clipping point 11 is positioned at 95% percentage point of Luminance Distribution scope, only has 5% pixel to drop in signal Nogata Figure 11 on it.5% this value be the inventor find out so that optimal results to be provided, but be not essential to the present invention.Usually, clipping point will be between 60% and 99% percentage point of Luminance Distribution scope, but according to specific image type, higher or lower value may produce better or same acceptable result.A key character ofclipping point 11 is: to a darker image,clipping point 11 will be a low value (low value), because most of pixel has a low brightness values, but to a bright image,clipping point 11 will be a high value, because more pixels have higher brightness value.The position that it should be appreciated by those skilled in the art thatclipping point 11 in video image will dynamically change frame by frame.
The factor (BLdim) that dims backlight is the function of a backlight illumination that dims about an amplitude limit point value, that is:
BLdim=(CPImax)P
Wherein CP is the amplitude limit point value, and Imax is the maximum pixel brightness value, and p is one and is not less than 1 constant.The p value is to determine according to LCD input and output feature, and the gamma (gamma) near display is worth usually.
In preferred embodiment, the factor (BLdim) that dims backlight is limited between the upper and lower bound.Maximum dims the factor, and promptly dimming of minimum is 85%, and the minimum dim factor, promptly dimming of maximum is 55%.If the factor that dims backlight is higher than the upper limit, the factor that dims then backlight promptly becomes the upper limit or 85%.Be lower than lower limit if dim the factor, then dim the factor and promptly become lower limit or 55%.This boundary can be represented by following equation.
If BLdim>85%, then BLdim=85%
If BLdim<55%, then BLdim=55%
The upper and lower bound that dims the factor backlight is not to be used for limiting the scope of the invention or function.The inventor believes that 55% and 85% boundary can produce best result in according to method of the present invention.But also can find out other boundary provides same acceptable or possibility even better result.In one particular embodiment of the present invention, this boundary can be adjusted by spectators, produces that value of best result so that satisfy individual subjectivity to watch.
For fear of totally dimming on the image perceived brightness, must before display image, adjust LCD printing opacity value or brightness of image value.But this is not a most critical to a first aspect of the present invention, determines that a method that dims the factor backlight can be used in the LCD display, and does not need to compensate LCD or picture signal and allow backlight dimming.Determine that the method that dims level backlight is dynamic, and consider the brightness of picture signal, so this is an improvement that dims method backlight as used herein.
The compensation ofLCD signal input 1 is shown in Figure 12 by the Nogata of Fig. 3, and wherein the brightness of image scope expands to Imax/ (BLdim) from Ip1/pThe method of another kind of range expansion is toelongate image histogram 12, makesclipping point 11 move to Imax, thereby the brightness of 5% pixel in the image is greater than Imax.
Fig. 4 only is used as explanation, the compensating image signals mapping of describing in its displayed map 3.The horizontal X axle is represented the original brightness scope of LCD signal, and the vertical Y axle is represented the up-to-date or subject brightness range of signal.The mapping that dotted line 15 expressions are one 1pair 1, wherein original scope does not change.Linear mapping ofdotted line 16 expressions, and Nonlinear Mapping ofsolid line 17 expressions from the original brightness scope to up-to-date brightness range from the original brightness scope to up-to-date brightness range.The map type that uses in the present invention is not most important, can use any linearity well known in the art or nonlinear images signal map algorithm.Those skilled in the art can prove, in fact can not be with the brightness of image range expansion to more than the Imax value, and will be shown device hardware and block because be higher than the brightness value of Imax.In order to overcome this problem, the present invention introduces a threshold concept, and below threshold value, by the brightness range of the first picture signal mapping function spread signal, thereby the transmittance that improves the LCD crystalline substance dims with compensate for backlight.More than threshold value, use the brightness range of the second picture signal mapping function compressed signal, so that the brightness of image value is limited in the actual maximum brightness value Imax.
Fig. 5 describe a kind of with picture signal mapping be limited in threshold value more than 18 to minimize the method that high luminance values is blocked.On an appropriate brightness value that is lower thanclipping point 11, select threshold value 18.In preferred embodiment, threshold value is according to equation | FP-CP|=|CP-Imax| selects, and still, this is not essential for the purpose of the present invention, those of skill in the art will recognize that to select the whole bag of tricks of an appropriate threshold will produce suitable result.Below threshold value, use first linearity or nonlinear images signal map function that signal map is arrived up-to-date brightness range.The first picture signal mapping function is bysolid line 19 expressions.Guarantee like this that below threshold value LCD transmittance or picture carrier increase dim with compensate for backlight.But more than threshold value, a different picture signal mapping function is used to limit brightness value, makes maximum brightness value can not surpass Imax, the i.e. actual maximal value of brightness.The second picture signal mapping function is by shown in the line 20.In fact, be that the brightness range at the following expanded images signal of threshold value dims with compensate for backlight, and block avoiding in the brightness range of the above limited images signal of threshold value.
An example of the present invention and exemplary embodiments have below been described.This is not intended to limit usable range of the present invention or function.Should be appreciated that correction that it will be apparent to those skilled in the art and change should not be counted as exceeding outside the scope of the present invention.

Claims (9)

CN2008101100618A2008-05-282008-05-28 LCD Backlight Dimming, LCD/Image Signal Compensation and Method for Controlling LCD DisplayActiveCN101290754B (en)

Priority Applications (1)

Application NumberPriority DateFiling DateTitle
CN2008101100618ACN101290754B (en)2008-05-282008-05-28 LCD Backlight Dimming, LCD/Image Signal Compensation and Method for Controlling LCD Display

Applications Claiming Priority (1)

Application NumberPriority DateFiling DateTitle
CN2008101100618ACN101290754B (en)2008-05-282008-05-28 LCD Backlight Dimming, LCD/Image Signal Compensation and Method for Controlling LCD Display

Publications (2)

Publication NumberPublication Date
CN101290754A CN101290754A (en)2008-10-22
CN101290754Btrue CN101290754B (en)2011-02-02

Family

ID=40034984

Family Applications (1)

Application NumberTitlePriority DateFiling Date
CN2008101100618AActiveCN101290754B (en)2008-05-282008-05-28 LCD Backlight Dimming, LCD/Image Signal Compensation and Method for Controlling LCD Display

Country Status (1)

CountryLink
CN (1)CN101290754B (en)

Families Citing this family (12)

* Cited by examiner, † Cited by third party
Publication numberPriority datePublication dateAssigneeTitle
CN101667406B (en)*2009-08-142011-08-31西安龙腾微电子科技发展有限公司Backlight dynamical adjusting method of TFT-LCD
CN102377956B (en)*2010-08-092014-03-12厦门华侨电子股份有限公司Dynamic backlight regulation method of LCD (liquid crystal display) television
JP5088408B2 (en)*2010-09-222012-12-05株式会社ニコン Image processing apparatus, image processing program, and electronic camera
CN102820008B (en)*2011-06-102015-04-01晨星软件研发(深圳)有限公司Display control circuit and method
JP2013238693A (en)*2012-05-142013-11-28Sharp CorpImage display apparatus, image display method, and program
KR102023930B1 (en)*2012-12-042019-09-23엘지디스플레이 주식회사Liquid crystal display device and method for driving the same
CN106448578A (en)*2016-12-222017-02-22广东欧珀移动通信有限公司 Display backlight control method, device and computer equipment
CN106997750B (en)*2017-04-282020-06-09南京白下高新技术产业园区投资发展有限责任公司Terminal screen backlight adjusting method, mobile terminal and computer readable storage medium
CN107342056B (en)*2017-07-312019-05-31天津大学A kind of region backlight dynamic light adjustment method for shuffling the algorithm that leapfrogs based on improvement
JP7075271B2 (en)*2018-04-202022-05-25キヤノン株式会社 Image processing equipment, information display equipment, control methods, and programs
JP7075272B2 (en)2018-04-202022-05-25キヤノン株式会社 Image processing equipment, information display equipment, control methods, and programs
CN109166533A (en)*2018-09-292019-01-08重庆石墨烯研究院有限公司A method of display backlight is adjusted according to image brightness values

Also Published As

Publication numberPublication date
CN101290754A (en)2008-10-22

Similar Documents

PublicationPublication DateTitle
CN101290754B (en) LCD Backlight Dimming, LCD/Image Signal Compensation and Method for Controlling LCD Display
US8514166B2 (en)LCD backlight dimming, LCD/image signal compensation and method of controlling an LCD display
US8400385B2 (en)Method for enhancing an image displayed on an LCD device
KR100954911B1 (en) Liquid crystal display
US8860657B2 (en)Liquid crystal display backlight control
EP1831752B1 (en)Field sequential display of color images
CN100510856C (en)Liquid crystal display device
US9595229B2 (en)Local dimming method and liquid crystal display
EP2702445B1 (en)Dual lcd display with color correction to compensate for varying achromatic lcd panel drive conditions
US20090167670A1 (en)Method of determining luminance values for a backlight of an lcd panel displaying an image
CN100547457C (en) LCD brightness automatic adjustment device
EP2474970A1 (en)Liquid crystal display device and television receiver
US20100225574A1 (en)Image display device and image display method
US20080238840A1 (en)Display Device Comprising an Ajustable Light Source
JP5125215B2 (en) Video display device and video display method
US20090122087A1 (en)Display device
CN102355561A (en)Method and device for improving image contrast, LCD TV (liquid crystal display television) set
US20210012727A1 (en)Method for controlling light source of display device and lcd device
CN104011786A (en) video display device
US7924254B2 (en)Backlight processing system and method thereof
CN101142610B (en)Method and/or apparatus to improve the visual perception of an image displayed on a screen
CN101098394A (en)Image adjusting method and device
CN101568956B (en)Method and apparatus for enhancing display image on LCD device
CN101568955B (en)Method for determining backlight color and brightness of LCD panel for displaying image

Legal Events

DateCodeTitleDescription
C06Publication
PB01Publication
C10Entry into substantive examination
SE01Entry into force of request for substantive examination
C14Grant of patent or utility model
GR01Patent grant

[8]ページ先頭

©2009-2025 Movatter.jp